JP4986599B2 - インクジェット記録装置およびインクジェット記録方法 - Google Patents
インクジェット記録装置およびインクジェット記録方法 Download PDFInfo
- Publication number
- JP4986599B2 JP4986599B2 JP2006339953A JP2006339953A JP4986599B2 JP 4986599 B2 JP4986599 B2 JP 4986599B2 JP 2006339953 A JP2006339953 A JP 2006339953A JP 2006339953 A JP2006339953 A JP 2006339953A JP 4986599 B2 JP4986599 B2 JP 4986599B2
- Authority
- JP
- Japan
- Prior art keywords
- recording
- patch
- patches
- ink
- recording medium
- Prior art date
- Legal status (The legal status is an assumption and is not a legal conclusion. Google has not performed a legal analysis and makes no representation as to the accuracy of the status listed.)
- Expired - Fee Related
Links
Images
Classifications
-
- B—PERFORMING OPERATIONS; TRANSPORTING
- B41—PRINTING; LINING MACHINES; TYPEWRITERS; STAMPS
- B41J—TYPEWRITERS; SELECTIVE PRINTING MECHANISMS, i.e. MECHANISMS PRINTING OTHERWISE THAN FROM A FORME; CORRECTION OF TYPOGRAPHICAL ERRORS
- B41J29/00—Details of, or accessories for, typewriters or selective printing mechanisms not otherwise provided for
- B41J29/38—Drives, motors, controls or automatic cut-off devices for the entire printing mechanism
- B41J29/393—Devices for controlling or analysing the entire machine ; Controlling or analysing mechanical parameters involving printing of test patterns
-
- B—PERFORMING OPERATIONS; TRANSPORTING
- B41—PRINTING; LINING MACHINES; TYPEWRITERS; STAMPS
- B41J—TYPEWRITERS; SELECTIVE PRINTING MECHANISMS, i.e. MECHANISMS PRINTING OTHERWISE THAN FROM A FORME; CORRECTION OF TYPOGRAPHICAL ERRORS
- B41J2/00—Typewriters or selective printing mechanisms characterised by the printing or marking process for which they are designed
- B41J2/005—Typewriters or selective printing mechanisms characterised by the printing or marking process for which they are designed characterised by bringing liquid or particles selectively into contact with a printing material
- B41J2/01—Ink jet
- B41J2/21—Ink jet for multi-colour printing
- B41J2/2132—Print quality control characterised by dot disposition, e.g. for reducing white stripes or banding
-
- H—ELECTRICITY
- H04—ELECTRIC COMMUNICATION TECHNIQUE
- H04N—PICTORIAL COMMUNICATION, e.g. TELEVISION
- H04N1/00—Scanning, transmission or reproduction of documents or the like, e.g. facsimile transmission; Details thereof
- H04N1/46—Colour picture communication systems
- H04N1/56—Processing of colour picture signals
- H04N1/60—Colour correction or control
- H04N1/6011—Colour correction or control with simulation on a subsidiary picture reproducer
- H04N1/6013—Colour correction or control with simulation on a subsidiary picture reproducer by simulating several colour corrected versions of the same image simultaneously on the same picture reproducer
Landscapes
- Engineering & Computer Science (AREA)
- Quality & Reliability (AREA)
- Multimedia (AREA)
- Signal Processing (AREA)
- Ink Jet (AREA)
- Accessory Devices And Overall Control Thereof (AREA)
Description
(実施形態1)
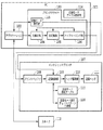
図1は、本発明の第一の実施形態に係るインクジェットプリンタを用いた記録システムの構成を示すブロック図である。このシステムは、ホスト装置としてのパーソナルコンピュータ(PC)101、インクジェット記録装置としてのプリンタ107、およびスキャナ112を有して構成される。
本発明の第二の実施形態は、上述した第一の実施形態と異なり、ユーザがあらかじめ記録媒体の種類のカテゴリを選択し、そのカテゴリの中から最適な記録モードを自動的に選択するものである。基本的な処理構成および処理は上述の第一の実施形態に係る図1に示す構成や図2に示す処理と同様であるため、図1、図2を参照して本実施形態を説明する。
本発明の第三の実施形態は、第一の実施形態に対して、粒状性とバンディングが問題ないと判定された総ての記録モードでグレーチャートを記録し、再度そのグレーチャートをスキャナで読み込んで最もグレーバランスの良い記録モードを選択するものである。
本発明の第四の実施形態は、第一の実施形態と異なり、ユーザに記録モードの複数の候補を提示し、ユーザに所望の記録モードを選択させるものである。基本的な処理構成および処理は第一の実施形態のものと同様である。異なる部分のみ図2とは異なる番号を付した図25を参照して本実施形態の記録モード選択処理を説明する。
上述した実施形態1〜3では、スキャナを使用したシステムで説明した。しかし、これに限らず、図24(a)および(b)に示すようなインクジェットプリンタとスキャナが組み合わされた複合機(マルチファンクションプリンタ、以下MFPと略す)では、MFPに搭載されているスキャナを利用することができる。その際には、上記各実施形態のようにPCがなくても、MFPを制御するパネル上からの操作および、MFP内部コントローラを用いて、図2などに示した一連の処理を実行することができる。このような複合機も、本発明のインクジェット記録装置に含まれる。
102 アプリケーション
103 プリンタドライバ
104 色補正部
105 色変換部
106 ハーフトーニング部
107 インクジェットプリンタ
108 プリントバッファ
109 記録制御部
110 ヘッド駆動部
111 記録ヘッド
112 スキャナ
113 記録モード設定テーブル
114 記録モード選択チェックパターン生成部
115 記録モード制御部
116 記録モードテーブル格納部
109 記録制御部
Claims (8)
- インクを吐出する記録ヘッドを走査させることにより記録媒体に画像を記録するインクジェット記録装置であって、
記録媒体の単位領域に対する前記記録ヘッドの走査回数とインクの最大打ち込み量との組み合わせが異なる複数のパッチを前記記録媒体に記録するパッチ記録手段と、
前記記録された複数のパッチの測定結果に基づいて、粒状度およびバンディング値に関する画像評価情報を前記パッチ毎に取得し、前記画像評価情報が示す評価が所定の閾値以上であるパッチに対応する前記組み合わせを、前記複数のパッチを記録した記録媒体と同じ種類の記録媒体を記録するための前記組み合わせとして決定する決定手段と、
を具えたことを特徴とするインクジェット記録装置。 - 前記決定手段は、前記画像評価情報が示す評価が所定の閾値以上であるパッチの中から前記インクの最大打ち込み量が最も多いパッチを選択し、前記インクの最大打ち込み量が最も多いパッチが複数の場合にはその中から前記走査回数が最も少ないパッチに対応する前記組み合わせを決定することを特徴とする請求項1に記載のインクジェット記録装置。
- 前記走査回数及び前記インクの最大打ち込み量の組み合わせを複数記憶する記憶手段と、
前記記憶手段に記憶された複数の前記組み合わせのうち、前記決定手段により決定された前記組み合わせに最も近い組み合わせを決定する第2決定手段と、
をさらに具えることを特徴とする請求項1または2に記載のインクジェット記録装置。 - 前記第2決定手段は、前記記憶手段に記憶された複数の前記組み合わせのうち、前記決定手段により決定された前記組み合わせに最も近い組み合わせが複数ある場合、前記インクの最大打ち込み量がより少ない組み合わせに決定することを特徴とする請求項3に記載のインクジェット記録装置。
- 前記複数のパッチは、前記単位領域に対する前記記録ヘッドの前記走査回数が異なり且つ前記単位領域に対するインクの最大打ち込み量が同じである複数のパッチを含むことを特徴とする請求項1から4のいずれか1項に記載のインクジェット記録装置。
- 前記パッチ記録手段は、前記記録媒体が複数種類の記録媒体を同一のもとしてまとめるカテゴリーのいずれに属するかを示すカテゴリー情報を取得する手段を備え、該取得した情報のカテゴリーに対応する範囲で前記走査回数の異なる複数のパッチを記録することを特徴とする請求項1から5のいずれか1項に記載のインクジェット記録装置。
- 前記複数のパッチは、複数回の走査回数で記録されたパッチを複数含むことを特徴とする請求項1から6のいずれか1項に記載のインクジェット記録装置。
- インクを吐出する記録ヘッドを走査させることにより記録媒体に画像を記録するインクジェット記録方法であって、
記録媒体の単位領域に対する前記記録ヘッドの走査回数とインクの最大打ち込み量との組み合わせが異なる複数のパッチを前記記録媒体に記録するパッチ記録工程と、
前記記録された複数のパッチの測定結果に基づき、粒状度およびバンディング値に関する画像評価情報を前記パッチ毎に取得し、前記画像評価情報が示す評価が所定の閾値以上であるパッチに対応する前記組み合わせを、前記複数のパッチを記録した記録媒体と同じ種類の記録媒体を記録するための前記組み合わせとして決定する決定工程と、
を有したことを特徴とするインクジェット記録方法。
Priority Applications (5)
| Application Number | Priority Date | Filing Date | Title |
|---|---|---|---|
| JP2006339953A JP4986599B2 (ja) | 2006-12-18 | 2006-12-18 | インクジェット記録装置およびインクジェット記録方法 |
| US11/954,793 US7819497B2 (en) | 2006-12-18 | 2007-12-12 | Ink jet printing apparatus and method for selecting print mode |
| EP07024292A EP1935658A3 (en) | 2006-12-18 | 2007-12-14 | Ink jet printing apparatus and method for selecting print mode |
| RU2007147019/12A RU2372202C2 (ru) | 2006-12-18 | 2007-12-17 | Устройство струйной печати и способ выбора режима печати |
| CN2007101998994A CN101204873B (zh) | 2006-12-18 | 2007-12-18 | 喷墨打印设备及选择打印模式的方法 |
Applications Claiming Priority (1)
| Application Number | Priority Date | Filing Date | Title |
|---|---|---|---|
| JP2006339953A JP4986599B2 (ja) | 2006-12-18 | 2006-12-18 | インクジェット記録装置およびインクジェット記録方法 |
Publications (2)
| Publication Number | Publication Date |
|---|---|
| JP2008149564A JP2008149564A (ja) | 2008-07-03 |
| JP4986599B2 true JP4986599B2 (ja) | 2012-07-25 |
Family
ID=39205284
Family Applications (1)
| Application Number | Title | Priority Date | Filing Date |
|---|---|---|---|
| JP2006339953A Expired - Fee Related JP4986599B2 (ja) | 2006-12-18 | 2006-12-18 | インクジェット記録装置およびインクジェット記録方法 |
Country Status (5)
| Country | Link |
|---|---|
| US (1) | US7819497B2 (ja) |
| EP (1) | EP1935658A3 (ja) |
| JP (1) | JP4986599B2 (ja) |
| CN (1) | CN101204873B (ja) |
| RU (1) | RU2372202C2 (ja) |
Families Citing this family (37)
| Publication number | Priority date | Publication date | Assignee | Title |
|---|---|---|---|---|
| JP2008080725A (ja) | 2006-09-28 | 2008-04-10 | Canon Inc | インクジェット記録装置 |
| JP4953791B2 (ja) * | 2006-12-15 | 2012-06-13 | キヤノン株式会社 | インクジェット記録装置およびインクジェット記録方法 |
| US20080218547A1 (en) * | 2007-03-06 | 2008-09-11 | Canon Kabushiki Kaisha | Ink jet printing apparatus and ink jet printing method |
| US8264930B2 (en) * | 2007-03-23 | 2012-09-11 | Mitsubishi Electric Corporation | Optical disc discriminating method and optical disc discriminating apparatus |
| JP5084333B2 (ja) | 2007-04-10 | 2012-11-28 | キヤノン株式会社 | 記録装置および搬送誤差補正値取得方法 |
| JP5288721B2 (ja) * | 2007-04-10 | 2013-09-11 | キヤノン株式会社 | 記録装置および搬送制御方法 |
| JP5224968B2 (ja) * | 2007-08-14 | 2013-07-03 | キヤノン株式会社 | インクジェット記録装置およびインクジェット記録方法 |
| JP5574689B2 (ja) * | 2009-12-11 | 2014-08-20 | キヤノン株式会社 | 画像処理方法および画像処理装置 |
| JP2012080505A (ja) * | 2010-10-06 | 2012-04-19 | Konica Minolta Business Technologies Inc | 画像処理装置および印刷装置、画像処理方法 |
| JP5701089B2 (ja) * | 2011-02-10 | 2015-04-15 | キヤノン株式会社 | インクジェット記録装置および予備吐出方法 |
| JP5901200B2 (ja) | 2011-09-29 | 2016-04-06 | キヤノン株式会社 | 画像処理装置、画像処理方法および記録物 |
| JP5963457B2 (ja) * | 2012-01-31 | 2016-08-03 | キヤノン株式会社 | 画像処理方法および画像処理装置 |
| US20170111540A1 (en) * | 2014-04-08 | 2017-04-20 | Hewlett-Packard Development Company, L.P. | To select a print mode |
| WO2015194177A1 (en) | 2014-06-18 | 2015-12-23 | Canon Kabushiki Kaisha | Printing apparatus, printing method and storage medium |
| US9409390B1 (en) | 2015-03-06 | 2016-08-09 | Canon Kabushiki Kaisha | Printing apparatus and control method therefor |
| JP6424275B2 (ja) | 2015-05-15 | 2018-11-14 | ヒューレット−パッカード デベロップメント カンパニー エル.ピー.Hewlett‐Packard Development Company, L.P. | 圧縮された多次元カラーテーブルを含むプリンタカートリッジ及び記憶装置 |
| CN108475033B (zh) * | 2016-01-22 | 2022-04-19 | 惠普发展公司,有限责任合伙企业 | 成像设备 |
| JP6772767B2 (ja) * | 2016-11-09 | 2020-10-21 | セイコーエプソン株式会社 | データ構造、サーバー、データ生成方法 |
| JP6825314B2 (ja) * | 2016-11-09 | 2021-02-03 | セイコーエプソン株式会社 | 印刷装置、印刷方法、印刷媒体品 |
| CN108394180B (zh) * | 2017-02-06 | 2021-06-15 | 精工爱普生株式会社 | 印刷装置 |
| WO2019160530A1 (en) * | 2018-02-13 | 2019-08-22 | Hewlett-Packard Development Company, L.P. | Select print mode configurations |
| JP7073822B2 (ja) * | 2018-03-19 | 2022-05-24 | 株式会社リコー | 液体吐出装置、処理方法決定装置及び処理方法決定プログラム |
| JP7146529B2 (ja) | 2018-08-29 | 2022-10-04 | キヤノン株式会社 | インクジェット記録装置、その制御方法、及びプログラム |
| JP7406879B2 (ja) * | 2019-04-05 | 2023-12-28 | キヤノン株式会社 | 記録装置、制御方法及びプログラム |
| JP7326886B2 (ja) * | 2019-06-03 | 2023-08-16 | 株式会社リコー | 液体吐出装置、液体吐出方法及び液体吐出プログラム |
| US20220004828A1 (en) * | 2019-07-18 | 2022-01-06 | Hewlett-Packard Development Company, L.P. | Configuring color concentrations based on a white-point of print material |
| WO2021126266A1 (en) * | 2019-12-20 | 2021-06-24 | Hewlett-Packard Development Company, L.P. | Imaging and fluid ejection control |
| WO2021126289A1 (en) | 2019-12-20 | 2021-06-24 | Hewlett-Packard Development Company, L.P. | Integrated fluid ejection and imaging |
| JP2021126794A (ja) * | 2020-02-12 | 2021-09-02 | 富士フイルムビジネスイノベーション株式会社 | 情報処理装置、及び情報処理プログラム |
| JP7682616B2 (ja) | 2020-09-17 | 2025-05-26 | キヤノン株式会社 | 記録装置 |
| HRP20251625T1 (hr) * | 2020-10-16 | 2026-02-13 | Jesús Francisco Barberan Latorre | Sustav za proizvodnju podloge s ukrasnim uzorkom |
| US12346755B2 (en) | 2021-01-29 | 2025-07-01 | Hewlett-Packard Development Company, L.P. | Determining print modes of print apparatuses |
| JP7771551B2 (ja) * | 2021-08-02 | 2025-11-18 | コニカミノルタ株式会社 | 画像形成装置、方法およびプログラム |
| US11528386B1 (en) | 2021-08-30 | 2022-12-13 | Xerox Corporation | Printing color separation and fiducials on substrates in an inkjet printer to register and print remaning color separations |
| US11613116B1 (en) | 2021-10-01 | 2023-03-28 | Xerox Corporation | System and method for printing color images on substrates in an inkjet printer |
| US12291028B2 (en) * | 2021-12-22 | 2025-05-06 | Casio Computer Co., Ltd. | Printing apparatus, printing control method, and non-transitory computer-readable recording medium |
| US11912045B2 (en) | 2022-03-24 | 2024-02-27 | Xerox Corporation | System and method for printing color images on substrates in an inkjet printer |
Family Cites Families (27)
| Publication number | Priority date | Publication date | Assignee | Title |
|---|---|---|---|---|
| US5712666A (en) | 1991-08-09 | 1998-01-27 | Canon Kabushiki Kaisha | Recording apparatus |
| JPH0948166A (ja) * | 1995-08-08 | 1997-02-18 | Canon Inc | スキャナユニット搭載記録装置 |
| US6260938B1 (en) | 1996-04-23 | 2001-07-17 | Canon Kabushiki Kaisha | Ink-jet printing method and apparatus for printing with inks of different densities |
| US6039426A (en) * | 1996-08-09 | 2000-03-21 | Hewlett-Packard Company | Simplified print mode selection method and apparatus |
| JP3498571B2 (ja) * | 1997-04-08 | 2004-02-16 | セイコーエプソン株式会社 | ドット記録方法およびドット記録装置、並びに、そのためのプログラムを記録した記録媒体 |
| HUP0003738A3 (en) | 1997-09-23 | 2003-06-30 | Erastov Igor Dmitrievich | Large format ink-jet colour printer |
| NL1012622C2 (nl) | 1999-07-16 | 2001-01-17 | Stork Digital Imaging Bv | Werkwijze voor het vormen van gekleurde beeldpunten, alsmede drukkop en inktstraaldrukinrichting voor toepassing van de werkwijze. |
| US6254217B1 (en) | 1999-07-29 | 2001-07-03 | Hewlett-Packard Company | Apparatus and method for hue shift compensation in a bidirectional printer |
| JP2002036514A (ja) | 2000-07-19 | 2002-02-05 | Canon Inc | インクジェット記録方法及び装置 |
| US6547362B2 (en) * | 2001-01-19 | 2003-04-15 | Hewlett-Packard Company | Test-based advance optimization in incremental printing: median, sensitivity-weighted mean, normal random variation |
| JP4646445B2 (ja) * | 2001-06-20 | 2011-03-09 | キヤノン株式会社 | 記録装置および記録方法 |
| JP2003034022A (ja) * | 2001-07-25 | 2003-02-04 | Seiko Epson Corp | テストパッチの印刷結果に基づく副走査送りの選択 |
| JP2003034063A (ja) * | 2001-07-25 | 2003-02-04 | Canon Inc | 記録装置、記録方法および記録制御装置 |
| JP2003039693A (ja) | 2001-07-31 | 2003-02-13 | Canon Inc | インクジェット記録装置及びインクジェット記録方法 |
| JP2003039651A (ja) * | 2001-08-02 | 2003-02-13 | Seiko Epson Corp | 主走査ラインを複数回の主走査で記録する印刷におけるドット記録モードの選択 |
| JP4467922B2 (ja) | 2002-08-28 | 2010-05-26 | キヤノン株式会社 | インクジェット記録装置およびインクジェット記録ヘッド |
| JP2004106367A (ja) | 2002-09-19 | 2004-04-08 | Ricoh Co Ltd | カラープリンタ |
| JP2004142206A (ja) * | 2002-10-23 | 2004-05-20 | Canon Inc | 画像処理装置 |
| JP4574141B2 (ja) | 2003-08-29 | 2010-11-04 | キヤノン株式会社 | プリント装置および調整方法 |
| JP2005138553A (ja) * | 2003-11-10 | 2005-06-02 | Seiko Epson Corp | 印刷制御装置、印刷制御システム、及び、印刷制御方法 |
| JP4250542B2 (ja) * | 2004-01-30 | 2009-04-08 | キヤノン株式会社 | インクジェット記録装置およびインクジェット記録方法 |
| JP2005326738A (ja) * | 2004-05-17 | 2005-11-24 | Fuji Xerox Co Ltd | 交換ユニットが装着された画像形成装置 |
| JP4590231B2 (ja) | 2004-08-30 | 2010-12-01 | キヤノン株式会社 | インクジェット記録装置およびインクジェット記録方法 |
| JP2006088373A (ja) * | 2004-09-21 | 2006-04-06 | Seiko Epson Corp | 印刷画像に含まれるノイズを抑制する印刷 |
| JP4720274B2 (ja) * | 2005-04-26 | 2011-07-13 | セイコーエプソン株式会社 | インクドットの形状をシミュレーションする装置、インクドットの形状をシミュレーションする方法、及び、コンピュータプログラム |
| JP2006305993A (ja) * | 2005-05-02 | 2006-11-09 | Canon Inc | インクジェット記録装置、該装置に対する画像データ供給装置および前記記録装置を制御するための方法 |
| JP4953791B2 (ja) | 2006-12-15 | 2012-06-13 | キヤノン株式会社 | インクジェット記録装置およびインクジェット記録方法 |
-
2006
- 2006-12-18 JP JP2006339953A patent/JP4986599B2/ja not_active Expired - Fee Related
-
2007
- 2007-12-12 US US11/954,793 patent/US7819497B2/en active Active
- 2007-12-14 EP EP07024292A patent/EP1935658A3/en not_active Withdrawn
- 2007-12-17 RU RU2007147019/12A patent/RU2372202C2/ru not_active IP Right Cessation
- 2007-12-18 CN CN2007101998994A patent/CN101204873B/zh not_active Expired - Fee Related
Also Published As
| Publication number | Publication date |
|---|---|
| US20080143776A1 (en) | 2008-06-19 |
| EP1935658A3 (en) | 2009-11-25 |
| US7819497B2 (en) | 2010-10-26 |
| CN101204873B (zh) | 2013-01-30 |
| JP2008149564A (ja) | 2008-07-03 |
| RU2372202C2 (ru) | 2009-11-10 |
| RU2007147019A (ru) | 2009-06-27 |
| CN101204873A (zh) | 2008-06-25 |
| EP1935658A2 (en) | 2008-06-25 |
Similar Documents
| Publication | Publication Date | Title |
|---|---|---|
| JP4986599B2 (ja) | インクジェット記録装置およびインクジェット記録方法 | |
| US6669319B2 (en) | Ink Jet printer and printing method | |
| JP2010162708A (ja) | 印刷装置、ルックアップテーブルの作成方法、ルックアップテーブル、印刷方法及び印刷物 | |
| JP2012051211A (ja) | インクジェット記録装置およびインクジェット記録方法 | |
| US9674401B2 (en) | Printing control method and printing control device | |
| JP4258643B2 (ja) | カラーチャート判別プログラムおよび色修正プログラム | |
| US8550588B2 (en) | Printing using plurality of color ink including white ink | |
| JP4720274B2 (ja) | インクドットの形状をシミュレーションする装置、インクドットの形状をシミュレーションする方法、及び、コンピュータプログラム | |
| JP3925018B2 (ja) | 印刷制御装置、印刷装置、印刷制御方法、および記録媒体 | |
| JP4424468B2 (ja) | 画像処理装置、画像処理方法、画像処理プログラムおよび印刷制御装置 | |
| US10850543B2 (en) | Recording control device, recording apparatus, and recording control method | |
| JP6755739B2 (ja) | 画像処理装置、画像処理方法及びプログラム | |
| JP7388025B2 (ja) | 補正値設定方法、記録方法、及び記録装置 | |
| JP2005231179A (ja) | インクジェット記録装置及び画像処理装置 | |
| JP4186486B2 (ja) | 色調を付与可能な単色プリンタ、および画像処理装置 | |
| JP6372410B2 (ja) | データ補正方法、補正関数取得方法、及び、インクジェットプリンタ。 | |
| JP2023052886A (ja) | 画像処理装置、画像処理方法およびプログラム | |
| JP2022129159A (ja) | 画像処理装置、画像形成システム、画像処理方法及びプログラム | |
| JP2005184144A (ja) | 色画像データ修正方法、色画像データ修正装置および色修正テーブル作成プログラム。 | |
| JP4457585B2 (ja) | 印刷装置、印刷制御装置、印刷方法、およびプログラム | |
| JP5655353B2 (ja) | 印刷制御装置及び印刷制御プログラム | |
| JP7463760B2 (ja) | 画像処理方法、印刷方法、印刷システム | |
| JP2007111952A (ja) | 画像の濃度補正の実行可否の判定方法 | |
| JP4650300B2 (ja) | 補正精度予測装置、補正精度予測方法および補正精度予測プログラム | |
| JP2023165244A (ja) | 画像解析装置 |
Legal Events
| Date | Code | Title | Description |
|---|---|---|---|
| A621 | Written request for application examination |
Free format text: JAPANESE INTERMEDIATE CODE: A621 Effective date: 20091204 |
|
| RD02 | Notification of acceptance of power of attorney |
Free format text: JAPANESE INTERMEDIATE CODE: A7422 Effective date: 20101106 |
|
| A977 | Report on retrieval |
Free format text: JAPANESE INTERMEDIATE CODE: A971007 Effective date: 20111012 |
|
| A131 | Notification of reasons for refusal |
Free format text: JAPANESE INTERMEDIATE CODE: A131 Effective date: 20111111 |
|
| A521 | Request for written amendment filed |
Free format text: JAPANESE INTERMEDIATE CODE: A523 Effective date: 20120110 |
|
| A131 | Notification of reasons for refusal |
Free format text: JAPANESE INTERMEDIATE CODE: A131 Effective date: 20120203 |
|
| A521 | Request for written amendment filed |
Free format text: JAPANESE INTERMEDIATE CODE: A523 Effective date: 20120403 |
|
| TRDD | Decision of grant or rejection written | ||
| A01 | Written decision to grant a patent or to grant a registration (utility model) |
Free format text: JAPANESE INTERMEDIATE CODE: A01 Effective date: 20120420 |
|
| A01 | Written decision to grant a patent or to grant a registration (utility model) |
Free format text: JAPANESE INTERMEDIATE CODE: A01 |
|
| A61 | First payment of annual fees (during grant procedure) |
Free format text: JAPANESE INTERMEDIATE CODE: A61 Effective date: 20120424 |
|
| R151 | Written notification of patent or utility model registration |
Ref document number: 4986599 Country of ref document: JP Free format text: JAPANESE INTERMEDIATE CODE: R151 |
|
| FPAY | Renewal fee payment (event date is renewal date of database) |
Free format text: PAYMENT UNTIL: 20150511 Year of fee payment: 3 |
|
| LAPS | Cancellation because of no payment of annual fees |
