JP4928343B2 - 基板処理装置 - Google Patents

基板処理装置 Download PDF

Info

Publication number
JP4928343B2
JP4928343B2 JP2007120078A JP2007120078A JP4928343B2 JP 4928343 B2 JP4928343 B2 JP 4928343B2 JP 2007120078 A JP2007120078 A JP 2007120078A JP 2007120078 A JP2007120078 A JP 2007120078A JP 4928343 B2 JP4928343 B2 JP 4928343B2
Authority
JP
Japan
Prior art keywords
brush
load
substrate
wafer
cleaning
Prior art date
Legal status (The legal status is an assumption and is not a legal conclusion. Google has not performed a legal analysis and makes no representation as to the accuracy of the status listed.)
Active
Application number
JP2007120078A
Other languages
English (en)
Other versions
JP2008277577A (ja
Inventor
彰義 仲野
孝一 迎垣
由一 加護
博之 上野
Current Assignee (The listed assignees may be inaccurate. Google has not performed a legal analysis and makes no representation or warranty as to the accuracy of the list.)
Screen Holdings Co Ltd
Dainippon Screen Manufacturing Co Ltd
Original Assignee
Screen Holdings Co Ltd
Dainippon Screen Manufacturing Co Ltd
Priority date (The priority date is an assumption and is not a legal conclusion. Google has not performed a legal analysis and makes no representation as to the accuracy of the date listed.)
Filing date
Publication date
Application filed by Screen Holdings Co Ltd, Dainippon Screen Manufacturing Co Ltd filed Critical Screen Holdings Co Ltd
Priority to JP2007120078A priority Critical patent/JP4928343B2/ja
Priority to KR1020080035969A priority patent/KR100937544B1/ko
Priority to US12/109,059 priority patent/US8051522B2/en
Priority to TW097115266A priority patent/TWI366224B/zh
Priority to CN200810094841.8A priority patent/CN101295630B/zh
Publication of JP2008277577A publication Critical patent/JP2008277577A/ja
Application granted granted Critical
Publication of JP4928343B2 publication Critical patent/JP4928343B2/ja
Active legal-status Critical Current
Anticipated expiration legal-status Critical

Links

Images

Classifications

    • HELECTRICITY
    • H01ELECTRIC ELEMENTS
    • H01LSEMICONDUCTOR DEVICES NOT COVERED BY CLASS H10
    • H01L21/00Processes or apparatus adapted for the manufacture or treatment of semiconductor or solid state devices or of parts thereof
    • H01L21/67Apparatus specially adapted for handling semiconductor or electric solid state devices during manufacture or treatment thereof; Apparatus specially adapted for handling wafers during manufacture or treatment of semiconductor or electric solid state devices or components ; Apparatus not specifically provided for elsewhere
    • H01L21/67005Apparatus not specifically provided for elsewhere
    • H01L21/67011Apparatus for manufacture or treatment
    • H01L21/67017Apparatus for fluid treatment
    • H01L21/67028Apparatus for fluid treatment for cleaning followed by drying, rinsing, stripping, blasting or the like
    • H01L21/6704Apparatus for fluid treatment for cleaning followed by drying, rinsing, stripping, blasting or the like for wet cleaning or washing
    • H01L21/67046Apparatus for fluid treatment for cleaning followed by drying, rinsing, stripping, blasting or the like for wet cleaning or washing using mainly scrubbing means, e.g. brushes
    • BPERFORMING OPERATIONS; TRANSPORTING
    • B08CLEANING
    • B08BCLEANING IN GENERAL; PREVENTION OF FOULING IN GENERAL
    • B08B1/00Cleaning by methods involving the use of tools
    • B08B1/30Cleaning by methods involving the use of tools by movement of cleaning members over a surface
    • B08B1/32Cleaning by methods involving the use of tools by movement of cleaning members over a surface using rotary cleaning members
    • B08B1/36Cleaning by methods involving the use of tools by movement of cleaning members over a surface using rotary cleaning members rotating about an axis orthogonal to the surface
    • HELECTRICITY
    • H01ELECTRIC ELEMENTS
    • H01LSEMICONDUCTOR DEVICES NOT COVERED BY CLASS H10
    • H01L21/00Processes or apparatus adapted for the manufacture or treatment of semiconductor or solid state devices or of parts thereof
    • H01L21/67Apparatus specially adapted for handling semiconductor or electric solid state devices during manufacture or treatment thereof; Apparatus specially adapted for handling wafers during manufacture or treatment of semiconductor or electric solid state devices or components ; Apparatus not specifically provided for elsewhere
    • H01L21/67005Apparatus not specifically provided for elsewhere
    • H01L21/67242Apparatus for monitoring, sorting or marking
    • H01L21/67259Position monitoring, e.g. misposition detection or presence detection

Landscapes

  • Engineering & Computer Science (AREA)
  • Microelectronics & Electronic Packaging (AREA)
  • Condensed Matter Physics & Semiconductors (AREA)
  • General Physics & Mathematics (AREA)
  • Manufacturing & Machinery (AREA)
  • Computer Hardware Design (AREA)
  • Physics & Mathematics (AREA)
  • Power Engineering (AREA)
  • Cleaning Or Drying Semiconductors (AREA)
  • Manufacturing Of Magnetic Record Carriers (AREA)
  • Manufacturing Optical Record Carriers (AREA)
  • Liquid Crystal (AREA)
  • Preparing Plates And Mask In Photomechanical Process (AREA)
  • Cleaning In General (AREA)

Description

本発明は、基板の周縁部に対する洗浄処理のための基板処理装置に関する。処理対象となる基板には、たとえば、半導体ウエハ、液晶表示装置用基板、プラズマディスプレイ用基板、FED(Field Emission Display)用基板、光ディスク用基板、磁気ディスク用基板、光磁気ディスク用基板、フォトマスク用基板などが含まれる。
半導体装置の製造工程において、半導体ウエハの周縁部の汚染が、半導体ウエハの処理品質に対して無視できない影響を与える場合がある。たとえば、いわゆるバッチ処理工程では、複数枚の半導体ウエハが、鉛直姿勢(鉛直方向に沿った姿勢)で処理液中に浸漬される。そのため、半導体ウエハの周縁部に汚染物質が付着していると、その汚染物質が、処理液中を浮上して、半導体ウエハの表面のデバイス形成領域に付着することにより、デバイス形成領域の汚染を生じるおそれがある。
そのため、最近では、半導体ウエハなどの基板の周縁部の洗浄に対する要求が高まっている。
基板の周縁部の洗浄に関する先行技術として、たとえば、特許文献1で提案されている装置を挙げることができる。この装置には、基板を保持して回転する回転台と、基板の端面を洗浄するための円筒状のブラシとが備えられている。洗浄処理の開始前は、回転台から離れた待機位置にブラシが配置されている。洗浄処理が開始されると、ブラシは、待機位置から回転台に保持されている基板の周端面に当接する位置に移動される。そして、基板の端面にブラシの周面が当接した状態で、その基板を保持している回転台が回転される。これにより、基板の端面とブラシとが摺擦し、ブラシによって基板の端面が洗浄される。
特開2003−197592号公報
ところが、この提案にかかる装置では、洗浄処理時にブラシが基板の端面に当接している保証はない。洗浄処理時に、ブラシの位置が正しい位置からずれていたり、ブラシを保持する部材からブラシが脱落したりしているために、ブラシが基板の端面に当接していない事態も考えられる。このような状態では、当然、基板の端面(周縁部)を洗浄することはできない。
そこで、本発明の目的は、基板の周縁部を確実に洗浄することができる、基板処理装置を提供することである。
前記の目的を達成するための本発明の基板処理装置は、基板(W)の周縁部に対する洗浄処理のための基板処理装置(1)であって、基板を保持する基板保持手段(3)と、前記基板保持手段に保持された基板の表面に垂直な縦方向に対して傾斜する洗浄面(28,29)を有するブラシ(16)と、前記ブラシを前記縦方向およびこれと直交する横方向に移動させるためのブラシ移動手段(18,19)と、前記ブラシに対して前記縦方向に加わる荷重を検出するための荷重検出手段(65,66)と、前記荷重検出手段の出力に基づいて、洗浄処理時に前記ブラシが配置されるべき処理時位置へ前記ブラシを導く際の基準となる基準位置に、前記ブラシが配置されたか否かを判断する第1判断手段(68,S14)と、前記ブラシが前記基板保持手段に保持された基板と接触していない状態で、前記ブラシに所定の初期荷重を加える初期荷重付加手段(33)とを含み、前記基準位置は、前記ブラシが当該基準位置に配置された状態で、前記基板保持手段に保持された基板の表面または裏面と周端面とがなす角部が前記洗浄面に所定量だけ食い込むような位置であり、前記第1判断手段は、前記初期荷重付加手段が前記初期荷重を加えている状態で前記ブラシ移動手段によって前記ブラシが前記基準位置に向けて移動されると、前記荷重検出手段により検出される荷重の前記初期荷重に対する変化量に基づいて、前記ブラシが前記基準位置に配置されたか否かを判断する
なお、括弧内の英数字は、後述の実施形態における対応構成要素等を表す。以下、この項において同じ。
この構成によれば、ブラシは、基板保持手段に保持された基板の表面に垂直な縦方向に対して傾斜する洗浄面を有している。そのため、この洗浄面が基板の表面または裏面と周端面とに跨って接触すると、この接触による基板の表面または裏面からの反力をブラシが受けるので、接触の前後でブラシに対して縦方向に加わる荷重が変化する。したがって、基準位置に配置されたブラシが基板保持手段に保持された基板と接触するように、その基準位置が設定されていれば、ブラシに対して縦方向に加わる荷重を検出するための荷重検出手段の出力に基づいて、ブラシが基準位置に配置されたか否かを判断することができ、基板の周縁部に対するブラシの接触を検出することができる。
基板の周縁部に対するブラシの接触を検出することができるので、基板の周縁部にブラシが確実に接触した状態で、ブラシによる基板の周縁部の洗浄を実施することができる。これにより、基板の周縁部を確実に洗浄することができる。
この発明では、前記基準位置は、前記ブラシが当該基準位置に配置された状態で、前記基板保持手段に保持された基板の表面または裏面と周端面とがなす角部が前記洗浄面に所定量だけ食い込むような位置であ
このような位置に基準位置が設定される場合、ブラシが基準位置に配置されると、基板の表面または裏面と周端面とがなす角部が洗浄面に所定量(好ましくは、荷重検出手段が安定して確実に荷重を検出できる程度の微小な食い込み量)だけ食い込むことにより、ブラシに対して縦方向に加わる荷重が確実に変化するので、荷重検出手段の出力に基づいて、ブラシが基準位置に配置されたか否かを正確に判断することができる。
また、この発明では、前記基板処理装置は、前記ブラシが前記基板保持手段に保持された基板と接触していない状態で、前記ブラシに所定の初期荷重を加える初期荷重付加手段(33)を備えていそして、前記第1判断手段は、前記初期荷重付加手段が前記初期荷重を加えている状態で前記ブラシ移動手段によって前記ブラシが前記基準位置に向けて移動されると、前記荷重検出手段により検出される荷重の前記初期荷重に対する変化量に基づいて、前記ブラシが前記基準位置に配置されたか否かを判断する
たとえば、荷重検出手段が、ブラシに一定の荷重以上の荷重が加わった状態で、その荷重を検出する構成のものである場合、ブラシが基板と接触する前に初期荷重をブラシに加えておくことにより、荷重検出手段によって、ブラシが基板に接触することによる荷重変化を、その接触直後から検出することができる。
請求項に記載のように、前記基板処理装置は、前記ブラシが前記処理時位置に配置されているときに、前記荷重検出手段により検出される荷重が所定の荷重範囲内であるか否かを判断する第2判断手段(68,S21)を備えていることが好ましい。
ブラシが処理時位置に配置されているとき、つまり洗浄処理中において、荷重検出手段により検出される荷重が所定の荷重範囲内であれば、ブラシが基板に対して適当な押し圧で接触していると判断することができる。一方、荷重検出手段により検出される荷重が所定の荷重範囲を逸脱していれば、ブラシが基板に対して適当な押し圧で接触していないと判断することができる。そして、ブラシが基板に対して適当な押し圧で接触していないと判断された場合に、警報を出力して、そのブラシの接触不良状態をオペレータなどに認知させることができ、あるいは、荷重検出手段により検出される荷重が所定の荷重範囲内に入るようにブラシ移動手段をフィードバック制御して、ブラシ位置を補正することもできる。
また、請求項に記載のように、前記基板処理装置は、前記ブラシ移動手段を制御して、前記ブラシを前記基板保持手段に保持された基板に向けて移動させつつ、前記荷重検出手段の出力を監視し、前記ブラシが当該基板に接触したことにより、前記荷重検出手段により検出される荷重が予め定める閾値を超えたことに応答して、そのときの前記ブラシの位置を前記基準位置に設定する基準位置設定手段(68,S32〜S34)を備えていることが好ましい。
ブラシを処理時位置まで移動させるためには、その移動の際の基準となる基準位置を、ブラシ移動手段を制御するための制御部に予め教示(ティーチング)しておく必要がある。このティーチングは、従来、オペレータの手作業によって行われていた。すなわち、オペレータは、ブラシを少しずつ移動させながら、目視によって、そのブラシが基板の周端面に接触しているか否かを確認する。そして、オペレータは、ブラシが基板の周端面に接触したことを確認したときのブラシの位置を、処理時位置にブラシを導くための基準となる基準位置として制御部に入力する。しかしながら、このようなティーチングの手法では、オペレータの経験や技術力によって、基準位置にずれが生じ、これに応じて処理時位置にずれが生じてしまう。
基板保持手段に保持されている基板(処理対象基板、ダミー基板)にブラシが近づけられ、ブラシが基板の周縁部に接触したことにより、荷重検出手段により検出される荷重が予め定める閾値を超えると、このときのブラシ位置が基準位置とされる。これにより、従来の基準位置の設定方法とは異なり、オペレータの経験や技術力に関係なく、基準位置を一定位置に設定することができる。
さらに、前記基板処理装置は、前記処理時位置に配置された前記ブラシに対して前記縦方向に加わる荷重を記憶する荷重記憶手段(69)と、前記ブラシ移動手段を制御して、前記ブラシを前記基準位置から前記処理時位置へ移動させ、前記ブラシが前記処理時位置に配置されたときに前記荷重検出手段により検出される荷重を、前記基準位置から前記処理時位置までの距離と対応づけて、前記荷重記憶手段に記憶させる記憶制御手段(68,S35〜S38)とを備えていることが好ましい。
この構成によれば、ブラシが処理時位置にブラシが配置されたときに、そのブラシに加わる荷重が検出され、この検出された荷重が基準位置から処理時位置までの距離(押込量)と対応づけて荷重記憶手段に自動的に格納される。したがって、荷重と基準位置から処理時位置までの距離との関係が制御上必要である構成、たとえば、前記第2判断手段を有する構成である場合に、その関係をオペレータが手動入力する必要がなく、オペレータの手間を軽減することができる。
また、請求項に記載のように、前記処理時位置は、前記基準位置からの距離が互いに異なる複数の位置に設定されていてもよい。この場合、前記基板処理装置は、前記処理時位置ごとに、前記基準位置から前記処理時位置までの距離(押込量)と、当該処理時位置に前記ブラシが配置されたときの基板の表面に対する前記ブラシの接触幅とを対応づけて記憶する接触幅記憶手段(69)を備えていることが好ましい。
このような接触幅記憶手段を備える構成では、オペレータが基板の表面に対するブラシの接触幅をレシピ(洗浄処理のための各種条件)に入力すれば、ブラシ移動手段を制御するための制御部によって、その接触幅に応じた押込量が自動的に取得され、この取得した押込量に基づいてブラシ移動手段が制御される。その結果、ブラシを基板の表面に対してオペレータが入力した接触幅で接触させることができる。
請求項に記載のように、前記洗浄面は、前記縦方向に延びる中心軸線まわりに回転対称な形状を有していることが好ましい。
洗浄面が縦方向に延びる中心軸線まわりに回転対称な形状を有しているので、基板の周縁部に洗浄面を接触させた状態で、ブラシを中心軸線まわりに回転させることができる。そして、ブラシを回転させることにより、基板の周縁部をスクラブすることができる。その結果、基板の周縁部を一層良好に洗浄することができる。
また、請求項に記載のように、前記洗浄面は、前記縦方向の一方側に向けて狭まる形状の第1部分(28:77)と、この第1部分の前記一方側の端縁から前記縦方向の前記一方側に向けて拡がる形状の第2部分(29:76)とを備えていることがより好ましい。
このような第1部分および第2部分を洗浄面に有する構成では、第1部分を基板の表面の周縁領域および周端面に接触させることができ、また、第2部分を基板の裏面の周縁領域および周端面に接触させることができる。これにより、基板の両面の周縁領域および周端面を洗浄することができる。
以下では、本発明の実施の形態を、添付図面を参照して詳細に説明する。
図1は、本発明の一実施形態に係る基板処理装置の概略構成を示す平面図である。また、図2は、図1に示す基板処理装置の内部の図解的な側面図である。
この基板処理装置1は、基板の一例としての半導体ウエハ(以下、単に「ウエハ]という。)Wを1枚ずつ処理する枚葉型の装置である。基板処理装置1は、隔壁で区画された処理室2内に、ウエハWをほぼ水平に保持して回転させるためのスピンチャック3と、ウエハWの表面(デバイスが形成される側の表面)に処理液を供給するための表面ノズル4と、ウエハWの裏面に処理液を供給するための裏面ノズル5と、ウエハWの周縁部を洗浄するためのブラシ機構6とを備えている。
ウエハWの周縁部とは、ウエハWの表面および裏面の各周縁領域13,14(たとえば、ウエハWの周端縁から幅0.5〜5mmの環状領域)ならびに周端面15を含む部分をいう。
スピンチャック3は、真空吸着式チャックである。このスピンチャック3は、ほぼ鉛直な方向に延びたスピン軸7と、このスピン軸7の上端に取り付けられて、ウエハWをほぼ水平な姿勢でその裏面(下面)を吸着して保持する吸着ベース8と、スピン軸7と同軸に結合された回転軸を有するスピンモータ9とを備えている。これにより、ウエハWの裏面が吸着ベース8に吸着保持された状態で、スピンモータ9が駆動されると、ウエハWがスピン軸7の中心軸線まわりに回転する。
表面ノズル4には、処理液供給管10が接続されている。裏面ノズル5には、処理液供給管11が接続されている。これらの処理液供給管10,11には、処理液バルブ12を介して、図示しない処理液供給源からの処理液が供給されるようになっている。表面ノズル4は、処理液供給管10を通して供給される処理液を、スピンチャック3に保持されたウエハWの表面の中央に向けて吐出する。裏面ノズル5は、処理液供給管11を通して供給される処理液を、スピンチャック3に保持されたウエハWの裏面の周端縁と吸着ベース8との間に向けて吐出する。
なお、処理液としては、純水が用いられる。純水に限らず、炭酸水、イオン水、オゾン水、還元水(水素水)または磁気水などの機能水を処理液として用いてもよい。また、処理液として、アンモニア水またはアンモニア水と過酸化水素水との混合液などの薬液を用いることもできる。
ブラシ機構6は、ブラシ16と、このブラシ16を先端に保持した揺動アーム17と、この揺動アーム17をウエハWの回転範囲外に設定した鉛直軸線まわりに水平方向に沿って揺動させる揺動駆動機構18と、揺動アーム17を昇降させる昇降駆動機構19とを備えている。
図3は、ブラシ16および揺動アーム17の構成を示す断面図である。
ブラシ16は、ブラシホルダ20に保持されている。このブラシホルダ20は、後述するホルダ取付部36に取り付けられている。ブラシホルダ20は、略円柱状の樹脂ブロック21と、樹脂ブロック21の中心軸線上に配置され、上端部が樹脂ブロック21の下面に挿入されて固定された芯材22と、この芯材22の下端に取り付けられたプレート23とを備えている。樹脂ブロック21の上面には、周面にねじが切られたねじ部24が一体的に形成されている。また、芯材22の下端部には、ねじ孔が形成されている。このねじ孔にプレート23の中心を貫通するボルト25がねじ込まれることによって、プレート23が芯材22に着脱可能に取り付けられている。
ブラシ16は、芯材22に外嵌されて、樹脂ブロック21とプレート23との間に挟持されている。このブラシ16は、PVA(ポリビニルアルコール)からなる。また、ブラシ16は、ウエハWの表面の周縁領域13および周端面15を洗浄するための第1洗浄部26と、ウエハWの裏面の周縁領域14および周端面15を洗浄するための第2洗浄部27とを上下に一体的に備え、全体として、鉛直軸線まわりに回転対称な略鼓状に形成されている。
第1洗浄部26は、その上部26aが略円筒状をなし、下部26bが下方に向けて狭まる略円錐台状をなしている。下部26bの側面は、上端縁が上部26aの側面の下端縁に連続し、その中心軸線に対して45度の傾斜角度を有して、下方ほど中心軸線に近づくように傾斜している。そして、この下部26bの側面が、ウエハWの表面の周縁領域13および周端面15に接触する第1洗浄面28となっている。
第2洗浄部27は、第1洗浄部26の下端に一体的に結合されて、第1洗浄部26と中心軸線を共有するように配置されている。この第2洗浄部27は、上部27aが下方に向けて拡がる略円錐台状をなし、下部27bが略円筒状をなしている。上部27aの側面は、上端縁が第1洗浄部26の下部26bの側面の下端縁に連続し、その中心軸線に対して45度の傾斜角度を有して、下方ほど中心軸線から離れるように傾斜している。また、上部27aの側面の下端縁は、下部27bの側面の上端縁に連続している。そして、その上部27aの側面が、ウエハWの裏面の周縁領域14および周端面15に接触する第2洗浄面29となっている。
揺動アーム17は、下ケーシング30と、この下ケーシング30に嵌め合わされた上ケーシング31と、下ケーシング30および上ケーシング31によって形成される内部空間内に配置され、ブラシ16を鉛直軸線まわりに回転(自転)させるためのブラシ自転機構32と、下ケーシング30および上ケーシング31によって形成される内部空間内に配置され、ブラシ16に鉛直下向きの荷重を加えるための荷重付加機構33とを備えている。
下ケーシング30の一端部(基端部)には、鉛直方向に延びるアーム支持軸34の上端部が結合されている。このアーム支持軸34に、揺動駆動機構18(図2参照)の駆動力が入力されるようになっている。揺動駆動機構18の駆動力をアーム支持軸34に入力して、アーム支持軸34を往復回転させることによって、揺動アーム17をアーム支持軸34を支点に揺動させることができる。また、アーム支持軸34に、昇降駆動機構19(図2参照)が結合されている。昇降駆動機構19により、アーム支持軸34を上下動させて、このアーム支持軸34と一体的に揺動アーム17を上下動させることができる。
下ケーシング30の他端部(遊端部)には、鉛直方向に延びる回転軸35が、回転可能かつ上下動可能に設けられている。この回転軸35は、下端が下ケーシング30の他端部から下方に突出し、上端が上ケーシング31の鉛直方向中央付近に達している。
回転軸35の下ケーシング30から突出する下端部には、ブラシホルダ20が取り付けられるホルダ取付部36が設けられている。このホルダ取付部36は、回転軸35が挿通されて、回転軸35に固定された円板状の上面部37と、この上面部37の周縁から下方に向けて延びる円筒状の側面部38とを一体的に備えている。側面部38の内周面には、ねじが切られている。このねじとブラシホルダ20のねじ部24に形成されているねじとを螺合させることによって、ブラシホルダ20をホルダ取付部36に取り付けることができる。
また、回転軸35には、下ガイドローラ支持部材39、上ガイドローラ支持部材40およびばね係止部材41が外嵌されている。
下ガイドローラ支持部材39は、回転軸35の周面との間に微小な間隔を隔てて、回転軸35に非接触状態で外嵌されている。この下ガイドローラ支持部材39は、回転軸35の中心軸線まわりに回転対称な形状を有している。下ガイドローラ支持部材39は、互いに間隔を隔てて配置された2個のベアリング42を介して、下ケーシング30の他端部に回転自在に支持されている。また、下ガイドローラ支持部材39の上端部は、その下方の部分よりも小径な円筒状に形成されており、この円筒状の上端部には、ブラシ自転機構32の後述するプーリ54が相対回転不能に外嵌されている。
上ガイドローラ支持部材40は、下ガイドローラ支持部材39の上方に設けられている。この上ガイドローラ支持部材40は、回転軸35の周面との間に微小な間隔を隔てて、回転軸35に非接触状態で外嵌されている。また、上ガイドローラ支持部材40は、ボルト43によって、プーリ54と連結されている。
ばね係止部材41は、上ガイドローラ支持部材40の上方に、上ガイドローラ支持部材40と間隔を隔てて設けられ、回転軸35に対して固定されている。このばね係止部材41には、コイルばね44の一端(上端)が係止されている。コイルばね44は、ばね係止部材41と上ガイドローラ支持部材40との間に介在されている。コイルばね44の他端(下端)は、上ガイドローラ支持部材40に係止されている。
下ガイドローラ支持部材39および上ガイドローラ支持部材40には、それぞれ1対のガイドローラ45,46が支持されている。各ガイドローラ45,46は、回転軸35と直交する方向に延びる軸を支点として回転自在に設けられ、その周面が回転軸35の周面に接するように配置されている。これにより、各ガイドローラ45,46によって、回転軸35の上下動をガイドすることができる。その結果、回転軸35の上下動の際の抵抗を軽減することができる。
一方、回転軸35の上端部には、ベアリング47が外嵌されている。このベアリング47を介して、キャップ状の当接部材48が、回転軸35に対して相対回転可能に設けられている。
なお、下ガイドローラ支持部材39の外周面と下ケーシング30との間は、磁性流体シール49によりシールされている。また、下ガイドローラ支持部材39の内周面と回転軸35との間は、ベローズ50によりシールされている。これにより、処理室2内の処理液や洗浄液を含む雰囲気が下ケーシング30および上ケーシング31によって形成される内部空間に進入することが防止されている。また、その内部空間内で発生するごみの処理室2側への拡散が防止されている。
ブラシ自転機構32は、ブラシモータ52と、ブラシモータ52の出力軸51に固定されたプーリ53と、下ガイドローラ支持部材39に外嵌されたプーリ54と、プーリ53およびプーリ54の周面に共通に巻回されたベルト55とを備えている。ブラシモータ52は、上ケーシング31内の基端部寄りの位置に、その出力軸51が鉛直下方に向けて延びるように設けられている。
ブラシモータ52が駆動されると、ブラシモータ52からの回転力が、プーリ53およびベルト55を介して、プーリ54に伝達される。これにより、プーリ54とともに下ガイドローラ支持部材39および上ガイドローラ支持部材40が回転する。そして、上ガイドローラ支持部材40の回転に伴って、コイルばね44およびばね係止部材41が回転する。この結果、回転軸35が回転し、回転軸35の下端に取り付けられているブラシ16が回転する。
荷重付加機構33は、エアシリンダ56を備えている。エアシリンダ56は、当接部材48の上方に配置されて、そのロッド57を下方に向けて、ロッド57が鉛直方向に進退するように設けられている。
下ケーシング30の底面から上方に向かって、側面視略L字状の支持板58が延びている。この支持板58には、シリンダ取付板59が支持されている。シリンダ取付板59は、支持板58から当接部材48の上方に向けて延びている。シリンダ取付板59には、ロッド57を挿通させるためのロッド挿通孔60が形成されている。エアシリンダ56は、ロッド57がロッド挿通孔60に挿通された状態で、その本体がシリンダ取付板59の上面に固定されている。ロッド挿通孔60を挿通するロッド57の下端は、当接部材48に当接している。
エアシリンダ56の本体の内部は、ロッド57の基端に固定されたピストン(図示せず)によって、ロッド57の進退方向(鉛直方向)に2つの空間に分割されている。そして、エアシリンダ56の本体内におけるピストンに対してロッド57側の空間には、定量弁(図示せず)が介装された第1エア供給配管61が接続されている。一方、本体内におけるピストンに対してロッド57と反対側の空間には、第2エア供給配管63が接続されている。
シリンダバルブ62の開度を大きくすると、第2エア供給配管63からエアシリンダ56の本体内に供給されるエアの圧力が上がり、ロッド57がエアシリンダ56の本体から進出する。逆に、シリンダバルブ62の開度を小さくすると、第2エア供給配管63からエアシリンダ56の本体内に供給されるエアの圧力が下がり、第1エア供給配管61から本体内に供給されるエアの圧力およびコイルばね44の付勢力によって、ロッド57がエアシリンダ56の本体内に退避する。
また、支持板58には、シリンダ取付板59と反対側に向けて延びるセンサ取付板64が支持されている。このセンサ取付板64の上面には、歪みゲージ型の圧力センサ65が取り付けられている。
一方、当接部材48には、荷重検出用アーム66が固定されている。この荷重検出用アーム66は、当接部材48から圧力センサ65の上方に向けて延びている。第2エア供給配管63からエアシリンダ56の本体内に供給されるエアの圧力により、ロッド57に下方向の一定荷重以上の荷重が付加された状態(ロッド57がエアシリンダ56から一定量以上進出した状態)で、圧力センサ65に対して、そのロッド57に付加されている荷重に相当する圧で接触する。これにより、圧力センサ65は、エアシリンダ56から回転軸35などを介してブラシ16に付加される鉛直方向の荷重を検出することができる。
図4は、基板処理装置1の電気的構成を示すブロック図である。
基板処理装置1は、たとえば、マイクロコンピュータで構成される制御部67を備えている。マイクロコンピュータには、CPU68およびメモリ69などが含まれる。メモリ69には、後述する洗浄幅−押込量−荷重テーブルが格納されている。
制御部67には、圧力センサ65の検出信号が入力されるようになっている。また、制御部67には、レシピ(ウエハWの処理のための各種条件)を入力するためのレシピ入力キー70が接続されている。そして、制御部67には、スピンモータ9、処理液バルブ12、揺動駆動機構18、昇降駆動機構19、ブラシモータ52およびシリンダバルブ62などが制御対象として接続されている。
図5は、メモリ69に格納されている洗浄幅−押込量−荷重テーブルの一例を示す図である。
洗浄幅−押込量−荷重テーブルは、各処理時位置ごとに、ウエハWの裏面の周縁領域14におけるブラシ16による洗浄幅、基準位置から処理時位置までブラシ16を移動させたときのウエハWに対するブラシ16の押込量、およびブラシ16がウエハWに接触していない状態でブラシ16に加えられている荷重(後述する初期荷重)と処理時位置においてブラシ16に加わる荷重との差(以下、単に「荷重変化量」という。)とを対応づけて作成されたテーブルである。
ここで、処理時位置とは、洗浄処理時にブラシ16が配置されるべき位置をいう。基準位置とは、ブラシ16を処理時位置(裏面側洗浄処理時のブラシ16の位置)へ導く際の基準となる位置をいい、ブラシ16が基準位置に配置された状態で、スピンチャック3に保持されたウエハWの裏面と周端面15との角部が第2洗浄面29に微小な所定量(好ましくは、圧力センサ65が安定して確実に荷重を検出できる程度の微小な食い込み量)だけ食い込むような位置に設定されている。したがって、第2洗浄面29へのウエハWの押込量は、基準位置と処理時位置との間の水平方向の距離、つまり基準位置から処理時位置までのブラシ16の水平方向の移動量にほぼ等しい。
第2洗浄面29は、鉛直方向(スピンチャック3に保持されたウエハWの表面に垂直な縦方向)に対して45度の傾斜角度を有して、下方ほどその中心軸線から離れるように傾斜している。そのため、第2洗浄面29にウエハWが押し込まれると、ブラシ16がウエハWの裏面から鉛直方向の反力を受ける。第2洗浄面29に対するウエハWの押込量が大きいほど、その反力の大きさは大きいので、洗浄幅−押込量−荷重テーブルに示されるように、第2洗浄面29に対するウエハWの押込量が大きいほど、荷重変化量は大きい。
また、ウエハWの裏面の周縁領域14におけるブラシ16による洗浄幅とは、ウエハWの裏面の周縁領域14において第2洗浄面29が接触する領域のウエハWの径方向の幅をいう。したがって、この洗浄幅−押込量−荷重テーブルに示されるように、第2洗浄面29に対するウエハWの押込量が大きいほど、ウエハWの裏面の周縁領域14におけるブラシ16による洗浄幅(ウエハWの裏面の周縁領域14におけるブラシ16の接触幅)は大きい。
そして、ブラシ16が処理時位置に配置された状態から、昇降駆動機構19が制御されて、そのブラシ16が所定量(鉛直方向におけるウエハWの中心と処理時位置との間の距離の2倍の距離)だけ上昇されると、第2洗浄面29に対するウエハWの押込量と同じ押込量で、ウエハWの表面と周端面15との角部が第1洗浄面28に押し込まれる。その結果、第1洗浄面28は、ウエハWの表面の周縁領域13に対して、ウエハWの裏面の周縁領域14におけるブラシ16の接触幅と同じ接触幅で接触する。そのため、この洗浄幅−押込量−荷重テーブルにおいて、ウエハWの裏面の周縁領域14におけるブラシ16による洗浄幅は、ウエハWの表面の周縁領域13におけるブラシ16による洗浄幅と一致し、これらは同一視することができる。また、このときの荷重変化量は、第2洗浄面29にウエハWが押し込まれたときの荷重変化量と一致し、これらは同一視することができる。
なお、この図5に示すテーブルは、ウエハWを100rpmの回転速度で回転させるとともに、ブラシ16を75rpmの回転速度で回転させて、各押込量ごとに洗浄幅および荷重変化量を計測することにより作成されている。
図6は、基板処理装置1におけるウエハWの周縁部の洗浄処理を説明するための工程図である。また、図7、図8および図9は、ウエハWの処理中におけるブラシ16の状態を示す側面図である。
処理対象のウエハWは、処理室2内に搬入され、スピンチャック3に保持される(ステップS1)。ウエハWがスピンチャック3に保持されると、制御部67(CPU68)によりスピンモータ9が制御されて、スピンチャック3によるウエハWの回転が開始される(ステップS2)。その後、制御部67により処理液バルブ12が開かれて、表面ノズル4および裏面ノズル5からそれぞれウエハWの表面および裏面への処理液の供給が開始される(ステップS3)。
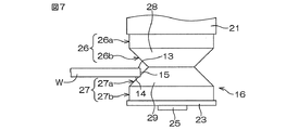
その一方で、制御部67によりシリンダバルブ62の開度が制御され、エアシリンダ56によって、ブラシ16に予め定める初期荷重(たとえば、800mN)が加えられる。この初期荷重がブラシ16に加えられることにより、荷重検出用アーム66(図3参照)が圧力センサ65に接触する。したがって、これ以降、圧力センサ65は、ブラシ16に加わる鉛直方向の荷重を検出することができる。そして、制御部67によりブラシモータ52が制御されて、ブラシ16がウエハWの回転方向と同方向に回転される。その後、制御部67により揺動駆動機構18および昇降駆動機構19が制御されて、ブラシ16が基準位置に移動される。ブラシ16が基準位置に配置された状態では、図7に示すように、ブラシ16の第2洗浄面29に、スピンチャック3に保持されたウエハWの裏面と周端面15との角部が微小な所定量だけ食い込む。
この後、制御部67により揺動駆動機構18が制御され、ブラシ16が基準位置から処理時位置に移動される。オペレータがレシピ入力キー70を操作することによって、ウエハWの表面の周縁領域13におけるブラシ16による洗浄幅が、制御部67に予め入力されている。制御部67では、その入力されている洗浄幅に対応する押込量が洗浄幅−押込量−荷重テーブルから読み出される。そして、その読み出された押込量分だけ、ブラシ16が基準位置から移動される。たとえば、所望する洗浄幅として2.0mmが入力されている場合には、その洗浄幅に対応する押込量である2.1mmが洗浄幅−押込量−荷重テーブルから読み出されて、ブラシ16が基準位置からウエハWの中心側へ2.1mmだけ移動される。これにより、ブラシ16が処理時位置に配置されて、図8に示すように、第2洗浄面29がウエハWの裏面の周縁領域14および周端面15に接触する(ステップS4)。このとき、ウエハWの裏面の周縁領域14に対しては、レシピ入力キー70から入力された洗浄幅で第2洗浄面29が接触する。
この状態でウエハWおよびブラシ16が同方向に回転されることにより、ウエハWの裏面の周縁領域14および周端面15と第2洗浄面29とが摺擦し、ウエハWの裏面の周縁領域14および周端面15が洗浄される。
ウエハWの裏面の周縁領域14および周端面15に対する裏面側洗浄処理が所定時間にわたって続けられると、制御部67により昇降駆動機構19が制御されて、ブラシ16が所定量だけ上昇される。このブラシ16の上昇により、図9に示すように、ブラシ16が表面側洗浄処理時の処理時位置に配置され、ブラシ16の第1洗浄面28がウエハWに接触し、第2洗浄面29に対するウエハWの押込量と同じ押込量で、ウエハWの表面と周端面15との角部が第1洗浄面28に押し込まれる。その結果、第1洗浄面28は、ウエハWの表面の周縁領域13および周端面15に接触する(ステップS5)。このとき、ウエハWの表面の周縁領域13に対しては、レシピ入力キー70から入力された洗浄幅で第1洗浄面28が接触する。
この状態でウエハWおよびブラシ16が同方向に回転されることにより、ウエハWの表面の周縁領域13および周端面15と第1洗浄面28とが摺擦し、ウエハWの表面の周縁領域13および周端面15が洗浄される。
こうしてウエハWの周縁部が洗浄されている間、ウエハWの表面に供給される処理液により、ウエハWの表面の中央領域(デバイス形成領域)に付着した汚染を洗い流すことができる。
ウエハWの表面の周縁領域13および周端面15に対する表面側洗浄処理が所定時間にわたって続けられると、制御部67により揺動駆動機構18および昇降駆動機構19が制御されて、ブラシ16が処理開始前のホームポジションに退避される(ステップS6)。また、ブラシ16がホームポジションに戻される間に、ブラシモータ52が停止されて、ブラシ16の回転が停止される。さらに、制御部67により処理液バルブ12が閉じられて、表面ノズル4および裏面ノズル5からの処理液の供給が停止される(ステップS7)。
その後は、制御部67によりスピンモータ9が制御されて、ウエハWが高速(たとえば、3000rpm)で回転される(ステップS8)。これにより、ウエハWに付着している処理液を振り切って、ウエハWを乾燥させることができる。
ウエハWの高速回転が所定時間にわたって続けられると、スピンモータ9が停止されて、スピンチャック3によるウエハWの回転が停止される(ステップS9)。そして、ウエハWが静止した後、その処理済みのウエハWが処理室2から搬出されていく(ステップS10)。
図10は、洗浄処理時に実行されるブラシ配置判断処理の流れを示すフローチャートである。
ブラシ配置判断処理は、制御部67によって、前述の洗浄処理時(裏面側洗浄処理の初期段階)に実行される。このブラシ配置判断処理では、ブラシ16が基準位置に適切に配置されたか否かが判断される。
裏面側洗浄処理の開始時にブラシ16に対して初期荷重が加えられた後(ステップS11)、その初期荷重が加えられている状態で、ブラシ16がホームポジションから基準位置に向けて予めプログラムされた移動量だけ移動されると(ステップS12)、制御部67により、圧力センサ65の出力が参照されて、ブラシ16に加わる鉛直方向の荷重が取得される。
ブラシ16が基準位置に配置されると、ブラシ16の第2洗浄面29にウエハWが微小な所定量だけ食い込み、ブラシ16がウエハWの裏面から鉛直下向きの反力を受けるので、その前後でブラシ16に対して鉛直方向に加わる荷重が変化する。
そこで、ブラシ16の基準位置への移動が完了した時点で、ブラシ16に加わる鉛直方向の荷重が初期荷重から所定量以上変化していれば、制御部67により、ブラシ16が基準位置に正常に配置されたと判断される(ステップS13のYES)。この場合、つづいて、ブラシ16が基準位置から処理時位置へと移動される(ステップS14)。
一方、ブラシ16の基準位置への移動が完了した時点で、ブラシ16に加わる鉛直方向の荷重が初期荷重から所定量以上変化していなければ(ステップS13のNO)、制御部67により、ブラシ16が基準位置に正常に配置されていないと判断される。この場合、その旨の警報が出力される(ステップS15)。警報出力後は、たとえば、洗浄処理が直ちに終了されてもよいし、処理中のウエハWに対する洗浄処理が終了まで続けられてもよい。
このように、基板処理装置1では、圧力センサ65の出力に基づいて、ブラシ16が基準位置に配置されたか否かを判断することができ、ウエハWの周縁部に対するブラシ16の接触を検出することができる。そして、ウエハWの周縁部に対するブラシ16の接触を検出することができるので、ウエハWの周縁部にブラシ16が確実に接触した状態で、ブラシ16によるウエハWの周縁部の洗浄を実施することができる。これにより、ウエハWの周縁部を確実に洗浄することができる。
図11は、洗浄処理時に実行される荷重監視処理の流れを示すフローチャートである。
荷重監視処理は、前述の裏面側洗浄処理および表面側洗浄処理中に、制御部67により実行される。
この荷重監視処理では、圧力センサ65の出力が参照されて、ブラシ16に加わる鉛直方向の荷重が取得される。そして、その荷重が所定荷重範囲内であるか否かが判断される(ステップS21)。
ブラシ16に加わる鉛直方向の荷重は、ウエハWに対するブラシ16の押込量に応じて異なる。たとえば、図5に示す洗浄幅−押込量−荷重テーブルによれば、所望する洗浄幅として2.0mmが入力されている場合には、ブラシ16が基準位置からウエハWの中心側へ2.1mmだけ移動され、このときの荷重変化量は190mNである。したがって、初期荷重が800mNであり、所望する洗浄幅として2.0mmが入力されている場合、裏面側洗浄処理時には、ブラシ16がウエハWに適切に接触していれば、初期荷重800mNに荷重変化量190mNを加えた990mNの荷重がブラシ16に加わるはずである。また、表面側洗浄処理時には、ブラシ16がウエハWに適切に接触していれば、初期荷重800mNから荷重変化量190mNを減じた610mNの荷重がブラシ16に加わるはずである。
そこで、裏面側洗浄処理中は、洗浄幅に応じた荷重変化量を初期荷重に加えて得られる値を基準とし、たとえば、この基準値に対して±5%を加えた各値を最大値および最小値とする範囲を所定範囲として、ブラシ16に加わる鉛直方向の荷重が所定範囲内であるか否かが判断される。この判断は、裏面側洗浄処理が終了するまで繰り返し行われる(ステップS22のNO)。
裏面側洗浄処理が終了するまで(ステップS22のYES)、ブラシ16に加わる鉛直方向の荷重が所定範囲を逸脱することがなければ、この裏面側洗浄処理中の荷重監視処理は終了となる。
一方、裏面側洗浄処理中に、ブラシ16に加わる鉛直方向の荷重が所定範囲を逸脱すると(ステップS21のNO)、制御部67により、ウエハWの偏心回転などの異常が生じていると判断され、警報が出力される(ステップS23)。警報出力後は、たとえば、裏面側洗浄処理が直ちに終了されてもよいし、処理中のウエハWに対する一連の洗浄処理が終了まで続けられてもよい。
表面側洗浄処理中は、洗浄幅に応じた荷重変化量を初期荷重から減じて得られる値を基準とし、たとえば、この基準値に対して±5%を加えた各値を最大値および最小値とする範囲を所定範囲として、ブラシ16に加わる鉛直方向の荷重が所定範囲内であるか否かが判断される。この判断は、表面側洗浄処理が終了するまで繰り返し行われる(ステップS22のNO)。
表面側洗浄処理が終了するまで(ステップS22のYES)、ブラシ16に加わる鉛直方向の荷重が所定範囲を逸脱することがなければ、この表面側洗浄処理中の荷重監視処理は終了となる。
一方、表面側洗浄処理中に、ブラシ16に加わる鉛直方向の荷重が所定範囲を逸脱すると(ステップS21のNO)、制御部67により、ウエハWの偏心回転などの異常が生じていると判断され、警報が出力される(ステップS23)。警報出力後は、たとえば、表面側洗浄処理が直ちに終了されてもよいし、処理中のウエハWに対する一連の洗浄処理が終了まで続けられてもよい。あるいは、ステップS23に代えて(警報を出力することなく)、圧力センサ65により検出される荷重が所定の荷重範囲内に入るように、圧力センサ65からの検出信号に基づいて制御部67が揺動駆動機構18および昇降駆動機構19をフィードバック制御し、ブラシ16の位置を適切な位置に補正するステップとすることもできる。こうすることにより、ウエハWの偏心回転やウエハWの反り変形の有無にかかわらず、ウエハWの周縁部に対してブラシ16を適切に接触させることができる。
このように、裏面側洗浄処理中および表面側洗浄処理中において、圧力センサ65により検出される荷重が所定範囲内であれば、ブラシ16がウエハWに対して適切に(適当な押し圧で)接触していると判断することができる。一方、圧力センサ65により検出される荷重が所定範囲を逸脱していれば、ブラシ16がウエハWに対して適切に接触していないと判断することができる。そして、ブラシ16がウエハWに対して適切に接触していないと判断された場合には、警報が出力されるので、そのブラシ16の接触不良状態をオペレータなどに認知させることができる。
また、この基板処理装置1では、メモリ69に洗浄幅−押込量−荷重テーブルが格納されているので、オペレータが所望する洗浄幅(ウエハWの表面の周縁領域13に対するブラシの接触幅)をレシピ上で入力すれば、その洗浄幅に応じた押込量が自動的に取得され、この取得した押込量に基づいて、ブラシ16の処理時位置への移動が制御される。その結果、ブラシ16をウエハWの表面の周縁領域13に対してオペレータが入力した接触幅で接触させることができる。
また、ブラシ6の第1洗浄面28および第2洗浄面29が、鉛直方向に延びる中心軸線まわりに回転対称な形状を有しているので、ウエハWの周縁部に第1洗浄面28および第2洗浄面29を接触させた状態で、ブラシ6を中心軸線まわりに回転させることができる。そして、ブラシ6を回転させることにより、ウエハWの周縁部をスクラブすることができる。その結果、ウエハWの周縁部を一層良好に洗浄することができる。
さらに、第1洗浄面28をウエハWの表面の周縁領域13および周端面15に接触させることができ、第2洗浄面29をウエハWの裏面の周縁領域14および周端面15に接触させることができる。これにより、1つのブラシ16によって、ウエハWの両面の周縁領域13,14および周端面15をスクラブ洗浄することができる。
なお、基準位置の設定、および洗浄幅−押込量−荷重テーブルの一部の作成は、図12に示すティーチング処理によって自動的に行われてもよい。
図12は、ティーチング処理の流れを示すフローチャートである。
ティーチング処理では、たとえば、スピンチャック3にウエハWと同一形状のダミーウエハが保持される。もちろん、ダミーウエハではなく、洗浄処理の対象であるウエハWがスピンチャック3に保持されてもよい。ここでは、ダミーウエハを用いた場合を例にとる。
ブラシ16に対して初期荷重が加えられた後(ステップS31)、ブラシ16がホームポジションからダミーウエハに向けて移動される(ステップS32)。具体的には、第2洗浄面29がダミーウエハの裏面および端面に接触するように、ブラシ16の高さ位置が調節され、その高さ位置で、ブラシ16がダミーウエハに向けて水平移動される。
ブラシ16が移動している間、制御部67により、圧力センサ65の出力が常に参照されて、ブラシ16に加わる鉛直方向の荷重が監視されている。そして、ブラシ16に加わる鉛直方向の荷重が予め定める閾値以上になったか否かが繰り返し調べられる(ステップS33)。ブラシ16がダミーウエハに接触すると、ブラシ16がダミーウエハの裏面からの反力を受けるので、その前後でブラシ16に対して鉛直方向に加わる荷重が変化する。閾値は、そのブラシ16がダミーウエハに接触する前後における荷重の変化量に基づいて設定(たとえば、その荷重の変化量を初期荷重に加えて得られる値に設定)されている。したがって、ブラシ16に加わる鉛直方向の荷重が閾値以上になったことに基づいて、ブラシ16がダミーウエハに接触したと判断することができる。
そこで、ブラシ16に加わる鉛直方向の荷重が閾値以上になると(ステップS33のYES)、そのときのブラシ16の位置が基準位置に設定され、この基準位置がメモリ69に記憶される(ステップS34)。これにより、基準位置は、スピンチャック3に保持されたダミーウエハ(ウエハW)の裏面と周端面とがなす角部が第2洗浄面29に所定量だけ食い込むような位置に設定され、基準位置の自動設定が達成される。
その後、ブラシ16が基準位置から所定量だけダミーウエハの中心側に移動される(ステップS35)。そして、移動後のブラシ16に加わる鉛直方向の荷重が検出され(ステップS36)、その荷重とブラシ16の基準位置からの移動量である押込量とが対応づけられてメモリ69に記憶される(ステップS37)。このステップS35〜S37の処理は、洗浄幅−押込量−荷重テーブルに含まれるすべての押込量に対応する荷重が取得されるまで繰り返し行われる(ステップS38のNO)。そして、すべての押込量に対する荷重が取得されると(ステップS3のYES)、洗浄幅−押込量−荷重テーブルにおける押込量−荷重の対応を記憶する部分の自動作成が達成される。
ブラシ16を処理時位置まで移動させるためには、その移動の際の基準となる基準位置を、制御部67に予め教示(ティーチング)しておく必要がある。このティーチングは、従来、オペレータの手作業によって行われていた。すなわち、オペレータは、ブラシ16を少しずつ移動させながら、目視によって、そのブラシ16がダミーウエハの周端面に接触しているか否かを確認する。そして、オペレータは、ブラシ16がダミーウエハの周端面に接触したことを確認したときのブラシの位置を、処理時位置にブラシを導くための基準となる基準位置として制御部67に入力する。しかしながら、このようなティーチングの手法では、オペレータの経験や技術力によって、基準位置にずれが生じ、これに応じて処理時位置にずれが生じてしまう。
このティーチング処理では、スピンチャック3に保持されているダミーウエハにブラシ16が近づけられて、ブラシ16がダミーウエハに接触し、圧力センサ65により検出される荷重が予め定める閾値を超えると、このときのブラシ16の位置が基準位置とされる。これにより、従来の基準位置の設定方法とは異なり、オペレータの経験や技術力に関係なく、基準位置を一定位置に設定することができる。
また、ブラシ16が各処理時位置に配置されて、各処理時位置でブラシに加わる荷重が検出される。そして、この検出された荷重が基準位置から処理時位置までの距離(押込量)と対応づけてメモリ(洗浄幅−押込量−荷重テーブル)に自動的に記憶される。したがって、それらの関係をオペレータが手動入力する必要がなく、オペレータの手間を軽減することができる。
なお、ブラシ16としては、図3に示す形状のものに限らず、種々の形状のものを採用することができる。
たとえば、図13に示すように、ブラシ16は、第1洗浄部26と第2洗浄部27との間に、円筒状の連結部71を一体的に有していてもよい。この形状のブラシ16が採用される場合、連結部71の周面にウエハWの端面が接触するような位置を基準位置としてもよい。このような基準位置は、ウエハWの周縁部付近でブラシ16を上下動させて、第1洗浄面28および第2洗浄面29にウエハWの周縁部を交互に接触させつつ、ブラシ16をウエハWに近づけていき、ブラシ16に加わる鉛直方向の荷重が初期荷重に一致した時点のブラシ16の位置をメモリ69に記憶させることにより自動的に設定することもできる。
また、図14に示すように、ブラシ16は、図3に示す第2洗浄部27に代えて、扁平な円筒状の第2洗浄部72を備えるものであってもよい。この場合、ウエハWの表面の周縁領域13および周端面に第1洗浄面28が接触し、ウエハWの裏面の周縁領域14に第2洗浄部72の上面の周縁部73が接触する。これにより、ウエハWに対するブラシ16の押込量に応じた正確な洗浄幅でウエハWの表面の周縁領域13を洗浄することができながら、その洗浄と同時に、ウエハWの裏面の周縁領域14を洗浄することができる。
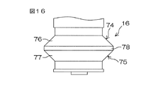
さらにまた、図15に示すように、ブラシ16は、下方に向けて拡がる略円錐台状の第1洗浄部74と、下方に向けて狭まる略円錐台状の第2洗浄部75とを上下に有するものであってもよい。第1洗浄部74の側面76は、鉛直方向に対して45度の傾斜角度を有して、下方ほど中心軸線から離れるように傾斜している。一方、第2洗浄部75の側面77は、その上端縁が側面76の下端縁に連続し、鉛直方向に対して45度の傾斜角度を有して、下方ほど中心軸線に近づくように傾斜している。そして、このブラシ16では、第1洗浄部74の側面76が、ウエハWの裏面の周縁領域14および周端面15を洗浄するための洗浄面として使用され、第2洗浄部75の側面77が、ウエハWの表面の周縁領域13および周端面15を洗浄するための洗浄面として使用される。
また、図16に示すように、ブラシ16は、第1洗浄部74と第2洗浄部75との間に、円筒状の連結部78を一体的に有していてもよい。この形状のブラシ16が採用される場合、連結部78の周面にウエハWの端面が接触するような位置を基準位置としてもよい。
さらにまた、ブラシ16を必ずしも回転させる必要はない。ブラシ16を回転させない構成が採用される場合には、図17に示す形状のブラシ16が採用されてもよい。この図17に示すブラシ16は、水平方向に突出する側面視三角形状の突起部79を有している。突起部79は、図17の紙面に垂直な方向に長く形成され、その上面80および下面81は、それぞれ鉛直方向に対して45度の傾斜角度で傾斜している。このブラシ16では、突起部79の上面80が、ウエハWの裏面の周縁領域14および周端面15を洗浄するための洗浄面として使用され、突起部79の下面81が、ウエハWの表面の周縁領域13および周端面15を洗浄するための洗浄面として使用される。
また、図18に示すように、ブラシ16として、周面が洗浄面として使用される円柱状ブラシが採用されてもよい。このブラシ16をその中心軸線が鉛直方向に対して傾斜するように配置し、ブラシ16の周面をウエハWの表面の周縁領域13および周端面15に接触させることにより、ウエハWの表面の周縁領域13および周端面15を洗浄することができる。また、ブラシ16の周面をウエハWの裏面の周縁領域14および周端面15に接触させることにより、ウエハWの裏面の周縁領域14および周端面15を洗浄することができる。
以上、本発明の実施形態を説明したが、これらの実施形態には、特許請求の範囲に記載された事項の範囲で種々の設計変更を施すことが可能である。たとえば、洗浄処理中にブラシ16に加わる荷重に基づいて、ブラシ16の摩耗状態を判断し、その摩耗状態にかかわらず、ブラシ16がウエハWに対して適切に(適当な押し圧で)接触するように、ブラシ16の位置(処理時位置)が自動的に変更されてもよい。たとえば、ブラシ16が同じ処理時位置に配置されていても、ブラシ16が摩耗した状態と摩耗していない状態とでは、ウエハWに対するブラシ16の接触状態が異なり、ウエハWの表面または裏面におけるブラシ16の接触幅も異なる。そこで、予め定める枚数(1枚以上)のウエハWが処理されるごとに、処理時位置においてブラシ16に加わる鉛直方向の荷重を検出し、この検出される荷重が処理時位置に応じた荷重となるように、その処理時位置が自動的に変更されてもよい。
本発明の一実施形態に係る基板処理装置の概略構成を示す平面図である。 基板処理装置の内部の図解的な側面図である。 ブラシおよび揺動アームの構成を示す断面図である。 基板処理装置の電気的構成を示すブロック図である。 洗浄幅−押込量−荷重テーブルの一例を示す図である。 基板処理装置におけるウエハの周縁部の洗浄処理を説明するための工程図である。 基準位置におけるブラシの状態を示す側面図である。 裏面側洗浄処理中におけるブラシの状態を示す側面図である。 表面側洗浄処理中におけるブラシの状態を示す側面図である。 洗浄処理時に実行されるブラシ配置判断処理の流れを示すフローチャートである。 洗浄処理時に実行される荷重監視処理の流れを示すフローチャートである。 ティーチング処理の流れを示すフローチャートである。 ブラシの第1変形例を示す側面図である。 ブラシの第2変形例を示す側面図である。 ブラシの第3変形例を示す側面図である。 ブラシの第4変形例を示す側面図である。 ブラシの第5変形例を示す側面図である。 ブラシの第6変形例を示す側面図である。
符号の説明
1 基板処理装置
3 スピンチャック
16 ブラシ
18 揺動駆動機構
19 昇降駆動機構
28 第1洗浄面
29 第2洗浄面
33 荷重付加機構
65 圧力センサ
66 押し圧検出用アーム
67 制御部
68 CPU
69 メモリ
76 側面
77 側面
W ウエハ

Claims (7)

  1. 基板の周縁部に対する洗浄処理のための基板処理装置であって、
    基板を保持する基板保持手段と、
    前記基板保持手段に保持された基板の表面に垂直な縦方向に対して傾斜する洗浄面を有するブラシと、
    前記ブラシを前記縦方向およびこれと直交する横方向に移動させるためのブラシ移動手段と、
    前記ブラシに対して前記縦方向に加わる荷重を検出するための荷重検出手段と、
    前記荷重検出手段の出力に基づいて、洗浄処理時に前記ブラシが配置されるべき処理時位置へ前記ブラシを導く際の基準となる基準位置に、前記ブラシが配置されたか否かを判断する第1判断手段と
    前記ブラシが前記基板保持手段に保持された基板と接触していない状態で、前記ブラシに所定の初期荷重を加える初期荷重付加手段とを含み、
    前記基準位置は、前記ブラシが当該基準位置に配置された状態で、前記基板保持手段に保持された基板の表面または裏面と周端面とがなす角部が前記洗浄面に所定量だけ食い込むような位置であり、
    前記第1判断手段は、前記初期荷重付加手段が前記初期荷重を加えている状態で前記ブラシ移動手段によって前記ブラシが前記基準位置に向けて移動されると、前記荷重検出手段により検出される荷重の前記初期荷重に対する変化量に基づいて、前記ブラシが前記基準位置に配置されたか否かを判断する、基板処理装置。
  2. 前記ブラシが前記処理時位置に配置されているときに、前記荷重検出手段により検出される荷重が所定の荷重範囲内であるか否かを判断する第2判断手段を含む、請求項に記載の基板処理装置。
  3. 前記ブラシ移動手段を制御して、前記ブラシを前記基板保持手段に保持された基板に向けて移動させつつ、前記荷重検出手段の出力を監視し、前記ブラシが当該基板に接触したことにより、前記荷重検出手段により検出される荷重が予め定める閾値を超えたことに応答して、そのときの前記ブラシの位置を前記基準位置に設定する基準位置設定手段を含む、請求項1または2に記載の基板処理装置。
  4. 前記処理時位置に配置された前記ブラシに対して前記縦方向に加わる荷重を記憶する荷重記憶手段と、
    前記ブラシ移動手段を制御して、前記ブラシを前記基準位置から前記処理時位置へ移動させ、前記ブラシが前記処理時位置に配置されたときに前記荷重検出手段により検出される荷重を、前記基準位置から前記処理時位置までの距離と対応づけて、前記荷重記憶手段に記憶させる記憶制御手段とを含む、請求項に記載の基板処理装置。
  5. 前記処理時位置は、前記基準位置からの距離が互いに異なる複数の位置に設定されており、
    前記処理時位置ごとに、前記基準位置から前記処理時位置までの距離と、当該処理時位置に前記ブラシが配置されたときの基板の表面に対する前記ブラシの接触幅とを対応づけて記憶する接触幅記憶手段を含む、請求項1ないしのいずれかに記載の基板処理装置。
  6. 前記洗浄面は、前記縦方向に延びる中心軸線まわりに回転対称な形状を有している、請求項1ないしのいずれかに記載の基板処理装置。
  7. 前記洗浄面は、前記縦方向の一方側に向けて狭まる形状の第1部分と、この第1部分の前記一方側の端縁から前記縦方向の前記一方側に向けて拡がる形状の第2部分とを備えている、請求項に記載の基板処理装置。
JP2007120078A 2007-04-27 2007-04-27 基板処理装置 Active JP4928343B2 (ja)

Priority Applications (5)

Application Number Priority Date Filing Date Title
JP2007120078A JP4928343B2 (ja) 2007-04-27 2007-04-27 基板処理装置
KR1020080035969A KR100937544B1 (ko) 2007-04-27 2008-04-18 기판처리장치
US12/109,059 US8051522B2 (en) 2007-04-27 2008-04-24 Substrate treatment apparatus
TW097115266A TWI366224B (en) 2007-04-27 2008-04-25 Substrate treatment apparatus
CN200810094841.8A CN101295630B (zh) 2007-04-27 2008-04-28 基板处理装置

Applications Claiming Priority (1)

Application Number Priority Date Filing Date Title
JP2007120078A JP4928343B2 (ja) 2007-04-27 2007-04-27 基板処理装置

Publications (2)

Publication Number Publication Date
JP2008277577A JP2008277577A (ja) 2008-11-13
JP4928343B2 true JP4928343B2 (ja) 2012-05-09

Family

ID=39885268

Family Applications (1)

Application Number Title Priority Date Filing Date
JP2007120078A Active JP4928343B2 (ja) 2007-04-27 2007-04-27 基板処理装置

Country Status (5)

Country Link
US (1) US8051522B2 (ja)
JP (1) JP4928343B2 (ja)
KR (1) KR100937544B1 (ja)
CN (1) CN101295630B (ja)
TW (1) TWI366224B (ja)

Families Citing this family (26)

* Cited by examiner, † Cited by third party
Publication number Priority date Publication date Assignee Title
JP5096849B2 (ja) * 2007-09-13 2012-12-12 株式会社Sokudo 基板処理装置および基板処理方法
JP2009088244A (ja) * 2007-09-28 2009-04-23 Tokyo Electron Ltd 基板クリーニング装置、基板処理装置、基板クリーニング方法、基板処理方法及び記憶媒体
US8356376B2 (en) * 2008-06-18 2013-01-22 Tokyo Electron Limited Substrate cleaning apparatus, substrate cleaning method, and storage medium
JP2010003739A (ja) * 2008-06-18 2010-01-07 Tokyo Electron Ltd 基板洗浄装置
TW201039398A (en) * 2009-04-24 2010-11-01 Inotera Memories Inc A wafer cleaning equipment and a cleaning method thereof
CN103799939A (zh) * 2012-11-12 2014-05-21 青岛理工大学琴岛学院 迅速清洗设备
US20140310895A1 (en) * 2013-04-19 2014-10-23 Applied Materials, Inc. Scrubber brush force control assemblies, apparatus and methods for chemical mechanical polishing
TWI636518B (zh) * 2013-04-23 2018-09-21 荏原製作所股份有限公司 基板處理裝置及處理基板之製造方法
EP2809089B1 (en) 2013-05-31 2016-09-28 ST-Ericsson SA Method to determine an appropriate waiting time extension in a listen mode device
JP6279276B2 (ja) * 2013-10-03 2018-02-14 株式会社荏原製作所 基板洗浄装置及び基板処理装置
CN105304523B (zh) * 2014-07-29 2019-12-24 盛美半导体设备(上海)有限公司 半导体清洗设备的刷子运动装置
JP6386424B2 (ja) * 2015-08-06 2018-09-05 東芝メモリ株式会社 半導体製造装置および半導体装置の製造方法
JP6751634B2 (ja) * 2016-09-21 2020-09-09 株式会社Screenホールディングス 基板処理装置
CN107758275A (zh) * 2017-12-01 2018-03-06 湖北友花茶业科技有限公司 带自动扫刷装置的茶叶带式输送机
JP7122192B2 (ja) * 2018-08-21 2022-08-19 株式会社Screenホールディングス 基板処理方法、基板処理装置および基板処理システム
CN108971174A (zh) * 2018-08-30 2018-12-11 山东淄博汉能薄膜太阳能有限公司 清洗装置及方法
CN110095890A (zh) * 2019-05-05 2019-08-06 深圳市华星光电半导体显示技术有限公司 清洗装置及清洗方法
JP7348021B2 (ja) * 2019-10-15 2023-09-20 株式会社荏原製作所 基板洗浄装置及び基板洗浄方法
CN111554569A (zh) * 2020-05-21 2020-08-18 华海清科股份有限公司 一种晶圆清洗装置和晶圆清洗方法
CN111558559A (zh) * 2020-05-21 2020-08-21 华海清科股份有限公司 一种晶圆清洗装置和晶圆清洗方法
TWI814077B (zh) * 2020-09-18 2023-09-01 日商斯庫林集團股份有限公司 基板洗淨裝置
JP7653785B2 (ja) * 2020-12-28 2025-03-31 株式会社Screenホールディングス 基板洗浄装置および基板洗浄方法
KR102489796B1 (ko) 2022-06-15 2023-01-18 엔씨케이티 주식회사 반도체 웨이퍼 세정장비의 브러시 감지장치 및 압력제어방법
JP2024106671A (ja) * 2023-01-27 2024-08-08 株式会社Screenホールディングス 基板処理装置
CN119738075A (zh) * 2023-09-27 2025-04-01 盛美半导体设备(上海)股份有限公司 压力监测装置、半导体清洗设备及其监测方法
CN118162596B (zh) * 2024-05-14 2024-08-23 沂源旭光机械有限公司 一种混凝土泵车双层内管离心铸造装置及工艺

Family Cites Families (19)

* Cited by examiner, † Cited by third party
Publication number Priority date Publication date Assignee Title
JP3515825B2 (ja) 1995-02-03 2004-04-05 大日本スクリーン製造株式会社 ブラシ回転式基板洗浄装置
KR0175278B1 (ko) * 1996-02-13 1999-04-01 김광호 웨이퍼 세정장치
JP2875201B2 (ja) * 1996-02-19 1999-03-31 芝浦メカトロニクス株式会社 洗浄処理装置およびその方法
US5861066A (en) * 1996-05-01 1999-01-19 Ontrak Systems, Inc. Method and apparatus for cleaning edges of contaminated substrates
JP3463908B2 (ja) * 1997-02-17 2003-11-05 大日本スクリーン製造株式会社 基板洗浄方法および基板洗浄装置
JPH11625A (ja) * 1997-06-13 1999-01-06 Mitsubishi Materials Corp ウェーハの洗浄装置
JPH11260783A (ja) * 1998-03-11 1999-09-24 Oki Electric Ind Co Ltd 基板洗浄装置
US6290780B1 (en) * 1999-03-19 2001-09-18 Lam Research Corporation Method and apparatus for processing a wafer
KR100436361B1 (ko) * 2000-12-15 2004-06-18 (주)케이.씨.텍 기판 가장자리를 세정하기 위한 장치
JP2002313765A (ja) * 2001-04-17 2002-10-25 Sony Corp ブラシ洗浄装置及びその制御方法
JP2003197592A (ja) 2001-12-27 2003-07-11 Dainippon Screen Mfg Co Ltd 基板端面洗浄装置および基板処理装置
JP2005317576A (ja) 2004-04-27 2005-11-10 Nikon Corp 基板洗浄装置、及び基板洗浄装置における洗浄ブラシの基準位置の決定方法
JP4395012B2 (ja) * 2004-06-09 2010-01-06 三菱電機株式会社 パネル洗浄装置およびパネルの製造方法
JP3933670B2 (ja) * 2005-03-29 2007-06-20 東京エレクトロン株式会社 基板洗浄方法及び基板洗浄装置
JP4486003B2 (ja) 2005-07-07 2010-06-23 大日本スクリーン製造株式会社 基板洗浄ブラシ、ならびにこれを用いた基板処理装置および基板処理方法
KR100916687B1 (ko) * 2006-03-30 2009-09-11 다이닛뽕스크린 세이조오 가부시키가이샤 기판처리장치 및 기판처리방법
JP2007273608A (ja) * 2006-03-30 2007-10-18 Dainippon Screen Mfg Co Ltd 基板処理装置および基板処理方法
KR100892809B1 (ko) * 2006-03-30 2009-04-10 다이닛뽕스크린 세이조오 가부시키가이샤 기판처리장치 및 기판처리방법
JP4451429B2 (ja) 2006-10-17 2010-04-14 大日本スクリーン製造株式会社 洗浄装置

Also Published As

Publication number Publication date
TW200901295A (en) 2009-01-01
CN101295630B (zh) 2010-07-14
KR100937544B1 (ko) 2010-01-19
CN101295630A (zh) 2008-10-29
TWI366224B (en) 2012-06-11
KR20080096394A (ko) 2008-10-30
JP2008277577A (ja) 2008-11-13
US20080263793A1 (en) 2008-10-30
US8051522B2 (en) 2011-11-08

Similar Documents

Publication Publication Date Title
JP4928343B2 (ja) 基板処理装置
JP4719051B2 (ja) 基板処理装置および基板処理方法
US7979942B2 (en) Substrate treatment apparatus and substrate treatment method
JP5009253B2 (ja) 基板洗浄装置
KR20150109260A (ko) 기판 처리 장치 및 기판 처리 방법
US20250079220A1 (en) Substrate processing apparatus and substrate processing method
KR20100013124A (ko) 기판 처리 장치
JP5031525B2 (ja) 基板処理装置
KR102114430B1 (ko) 기판 세정 장치 및 기판 세정 방법
JP4719052B2 (ja) 基板処理装置および基板処理方法
TWI654036B (zh) Substrate processing method, substrate processing apparatus, and recording medium
JP2009206360A (ja) 基板処理装置
JP2007294490A (ja) 基板の洗浄装置およびこれを用いた基板の洗浄方法
KR102779463B1 (ko) 기판 처리 장치 및 브러시의 탈락 검지 방법
JP2009059795A (ja) 基板処理装置および基板処理方法
TWI885447B (zh) 基板處理裝置及基板處理方法
JP7541938B2 (ja) 基板処理装置、基板処理方法及びコンピュータ読み取り可能な記録媒体
KR102643412B1 (ko) 기판 처리 방법
KR102893281B1 (ko) 기판 처리 장치, 기판 처리 방법 및 컴퓨터 판독 가능한 기록 매체
JP2024064209A (ja) ブラシ及びそれを備えた基板処理装置並びにブラシの押し圧制御方法
JP2012222240A (ja) 基板保持装置、基板処理装置、基板処理方法、及び基板処理プログラムを記録したコンピュータ読み取り可能な記録媒体
JP2024045835A (ja) ウェーハ洗浄装置
JP2025157779A (ja) 基板処理装置及び基板処理方法
KR20070070901A (ko) 반도체 소자 제조용 장비 및 제어 방법

Legal Events

Date Code Title Description
A621 Written request for application examination

Free format text: JAPANESE INTERMEDIATE CODE: A621

Effective date: 20091216

A521 Request for written amendment filed

Free format text: JAPANESE INTERMEDIATE CODE: A523

Effective date: 20101028

A977 Report on retrieval

Free format text: JAPANESE INTERMEDIATE CODE: A971007

Effective date: 20110608

A131 Notification of reasons for refusal

Free format text: JAPANESE INTERMEDIATE CODE: A131

Effective date: 20110630

A521 Request for written amendment filed

Free format text: JAPANESE INTERMEDIATE CODE: A523

Effective date: 20110825

TRDD Decision of grant or rejection written
A01 Written decision to grant a patent or to grant a registration (utility model)

Free format text: JAPANESE INTERMEDIATE CODE: A01

Effective date: 20120202

A01 Written decision to grant a patent or to grant a registration (utility model)

Free format text: JAPANESE INTERMEDIATE CODE: A01

A61 First payment of annual fees (during grant procedure)

Free format text: JAPANESE INTERMEDIATE CODE: A61

Effective date: 20120210

FPAY Renewal fee payment (event date is renewal date of database)

Free format text: PAYMENT UNTIL: 20150217

Year of fee payment: 3

R150 Certificate of patent or registration of utility model

Ref document number: 4928343

Country of ref document: JP

Free format text: JAPANESE INTERMEDIATE CODE: R150

Free format text: JAPANESE INTERMEDIATE CODE: R150

R250 Receipt of annual fees

Free format text: JAPANESE INTERMEDIATE CODE: R250

S533 Written request for registration of change of name

Free format text: JAPANESE INTERMEDIATE CODE: R313533

R350 Written notification of registration of transfer

Free format text: JAPANESE INTERMEDIATE CODE: R350

R250 Receipt of annual fees

Free format text: JAPANESE INTERMEDIATE CODE: R250

R250 Receipt of annual fees

Free format text: JAPANESE INTERMEDIATE CODE: R250

R250 Receipt of annual fees

Free format text: JAPANESE INTERMEDIATE CODE: R250

R250 Receipt of annual fees

Free format text: JAPANESE INTERMEDIATE CODE: R250

R250 Receipt of annual fees

Free format text: JAPANESE INTERMEDIATE CODE: R250

R250 Receipt of annual fees

Free format text: JAPANESE INTERMEDIATE CODE: R250

R250 Receipt of annual fees

Free format text: JAPANESE INTERMEDIATE CODE: R250

R250 Receipt of annual fees

Free format text: JAPANESE INTERMEDIATE CODE: R250

R250 Receipt of annual fees

Free format text: JAPANESE INTERMEDIATE CODE: R250

R250 Receipt of annual fees

Free format text: JAPANESE INTERMEDIATE CODE: R250