JP4749568B2 - 易開封包装袋 - Google Patents
易開封包装袋 Download PDFInfo
- Publication number
- JP4749568B2 JP4749568B2 JP2001056933A JP2001056933A JP4749568B2 JP 4749568 B2 JP4749568 B2 JP 4749568B2 JP 2001056933 A JP2001056933 A JP 2001056933A JP 2001056933 A JP2001056933 A JP 2001056933A JP 4749568 B2 JP4749568 B2 JP 4749568B2
- Authority
- JP
- Japan
- Prior art keywords
- packaging bag
- side end
- seal
- cut tape
- unsealed
- Prior art date
- Legal status (The legal status is an assumption and is not a legal conclusion. Google has not performed a legal analysis and makes no representation as to the accuracy of the status listed.)
- Expired - Fee Related
Links
- 238000004806 packaging method and process Methods 0.000 title claims description 55
- 239000005022 packaging material Substances 0.000 claims description 25
- 238000007789 sealing Methods 0.000 claims description 10
- 239000010410 layer Substances 0.000 description 26
- 239000012790 adhesive layer Substances 0.000 description 5
- 239000005001 laminate film Substances 0.000 description 5
- 229920000092 linear low density polyethylene Polymers 0.000 description 5
- 239000004707 linear low-density polyethylene Substances 0.000 description 5
- 229920000728 polyester Polymers 0.000 description 5
- 229920006267 polyester film Polymers 0.000 description 4
- -1 polypropylene Polymers 0.000 description 4
- 239000004743 Polypropylene Substances 0.000 description 3
- 229920001155 polypropylene Polymers 0.000 description 3
- XAGFODPZIPBFFR-UHFFFAOYSA-N aluminium Chemical compound [Al] XAGFODPZIPBFFR-UHFFFAOYSA-N 0.000 description 2
- 229910052782 aluminium Inorganic materials 0.000 description 2
- 239000005025 cast polypropylene Substances 0.000 description 2
- 229920001684 low density polyethylene Polymers 0.000 description 2
- 239000004702 low-density polyethylene Substances 0.000 description 2
- 229920001862 ultra low molecular weight polyethylene Polymers 0.000 description 2
- 239000004698 Polyethylene Substances 0.000 description 1
- 238000005452 bending Methods 0.000 description 1
- 238000010586 diagram Methods 0.000 description 1
- 230000000694 effects Effects 0.000 description 1
- 239000011888 foil Substances 0.000 description 1
- 239000012943 hotmelt Substances 0.000 description 1
- 238000010030 laminating Methods 0.000 description 1
- 238000004519 manufacturing process Methods 0.000 description 1
- 229920006284 nylon film Polymers 0.000 description 1
- 229920006255 plastic film Polymers 0.000 description 1
- 239000002985 plastic film Substances 0.000 description 1
- 229920000573 polyethylene Polymers 0.000 description 1
Images
Landscapes
- Bag Frames (AREA)
- Packages (AREA)
- Wrappers (AREA)
Description
【発明の属する技術分野】
本発明は、カットテープにより開封する易開封包装袋に関する。
【0002】
【従来の技術】
近年、包装袋に開封容易性が要求されることが多くなっており、特に、内容物の充填と包装を同時に行う自動充填包装分野において、開封が容易な包装袋が求められている。
【0003】
2枚の包材の一方にカットテープを接着し、2枚の包材を重ね合わせてヒートシールし、ヒートシール部に切り欠きを設けて形成される易開封包装袋は知られている。
【0004】
【発明が解決しようとする課題】
上記易開封包装袋は、2枚の包材をヒートシールし、ヒートシール部に切り欠きを設けて形成されるため、内容物の充填と包装を同時に行う自動充填包装機により製造する場合、その作業が複雑化してしまう。
【0005】
本発明は上記した点に鑑みてなされたもので、自動充填包装機による自動充填ができる易開封包装袋を提供することを目的とする。
【0006】
【課題を解決するための手段】
本発明の易開封包装紙は、1枚の包材を一面中央部でヒートシールするとともに、両側端をヒートシールした包装袋において、包装袋の内面に一側端ヒートシール部から他側端ヒートシール部まで延びるカットテープを接着し、少なくとも一方の側端ヒートシール部にカットテープを接着した部分を含む未シール部を形成し、未シール部につまみ部を形成するカットラインを設け、前記側端ヒートシール部のシール目は、カットテープの長手方向に直交する方向のシール線であり、未シール部より内側のヒートシール部のシール目は、カットテープの長手方向のシール線であることを特徴としている。
また、本発明の易開封包装紙は、1枚の包材を一面中央部でヒートシールするとともに、両側端をヒートシールした包装袋において、包装袋の内面に一側端ヒートシール部から他側端ヒートシール部まで延びるカットテープを接着し、少なくとも一方の側端ヒートシール部にカットテープを接着した部分を含む未シール部を形成し、未シール部につまみ部を形成するカットラインを設け、前記側端ヒートシール部のシール目は、碁盤目状シール線であり、未シール部より内側のヒートシール部のシール目は、カットテープの長手方向に直交する方向のシール線であることを特徴としている。
また、本発明の易開封包装紙は、1枚の包材を一面中央部でヒートシールするとともに、両側端をヒートシールした包装袋において、包装袋の内面に一側端ヒートシール部から他側端ヒートシール部まで延びるカットテープを接着し、少なくとも一方の側端ヒートシール部にカットテープを接着した部分を含む未シール部を形成し、未シール部につまみ部を形成するカットラインを設け、前記側端ヒートシール部のシール目は、カットテープの長手方向に直交する方向のシール線であり、未シール部より内側のヒートシール部のシール目は、カットテープの長手方向に直交する方向のシール線であることを特徴としている。
【0007】
【発明の実施の形態】
以下本発明の実施の形態を図面を参照して説明する。
図1は本発明による易開封包装袋1を示し、この易開封包装袋1は、背面中央部に背シール部2を有するピロー形包装袋3と、この包装袋3の内面の折り曲げ端4に近い位置に背シール部2に平行に接着されたカットテープ5とから構成されている。ここで、ピロー形包装袋は、両端を突き合わせて背シール部を形成した合掌貼り包装袋と両端を重ね合わせて背シール部を形成した封筒貼り包装袋を含む。
【0008】
ピロー形包装袋3は、包材の送り方向Aに直交する方向に裁断した矩形状包材を前端2aと後端2bを一面中央位置で突き合わすように折り曲げ成形し、突き合わせた前端2aと後端2bをヒートシールして背シール部2を有する筒状体を形成し、この筒状体の両側端をヒートシールして側端ヒートシール部6,7を形成することで作られる。
【0009】
上記包材は、好ましくはラミネートフィルムであるが単体のフィルムであってもよい。
【0010】
包材を透明ラミネートフィルムで構成する場合、厚さ20〜50ミクロンの2軸延伸ポリプロピレンフィルムと厚さ20〜60ミクロンの無延伸ポリプロピレンフィルムを厚さ2〜3ミクロンのドライ接着層によりラミネートしたラミネートフィルム、厚さ9〜25ミクロンのポリエステルフィルムと厚さ25〜120ミクロンの直鎖状低密度ポリエチレンフィルムを厚さ2〜3ミクロンのドライ接着層によりラミネートしたラミネートフィルム、厚さ9〜20ミクロンの2軸延伸ナイロンフィルムと厚さ25〜120ミクロンのポリエチレンフィルムを厚さ2〜3ミクロンのドライ接着層によりラミネートしたラミネートフィルムが適当である。
【0011】
包材を不透明ラミネートフィルムで構成する場合、厚さ9〜25ミクロンのポリエステルフィルムと厚さ6〜30ミクロンのアルミニウム箔と厚さ25〜120ミクロンの直鎖状低密度ポリエチレンフィルムを厚さ2〜3ミクロンのドライ接着層によりラミネートしたラミネートフィルム、厚さ9〜25ミクロンのポリエステルフィルムと厚さ12ミクロンのアルミ蒸着ポリエステルフィルムと厚さ20〜60ミクロンの無延伸ポリプロピレンフィルムを厚さ2〜3ミクロンのドライ接着層によりラミネートしたラミネートフィルムが適当である。
【0012】
上記カットテープ5は、1mm〜5mm幅の延伸プラスチックフィルムで作られている。カットテープ5の一例を図2に示す。
図2に示すカットテープ5は、直鎖状低密度ポリエチレン層8と、ポリエステル層9と、イージーピール層10との3層構造である。イージーピール層10は、塩素化ポリプロピンやEVA、あるいはホットメルト層で形成されている。
【0013】
上記カットテープ5は、低密度ポリエチレン層とポリエステル層と低密度ポリエチレン層とイージーピール層との4層構造、直鎖状低密度ポリエチレン層とポリエステル層と直鎖状低密度ポリエチレン層とイージーピール層との4層構造、、超低密度ポリエチレン層とポリエステル層と超低密度ポリエチレン層とイージーピール層との4層構造、キャストポリプロピレン層とポリエステル層とキャストポリプロピレン層とイージーピール層との4層構造であってもよい。
【0014】
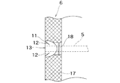
上記易開封包装袋1は、図1および図3に示すように、ピロー形包装袋3の一方の側端ヒートシール部6に、カットテープ5を含んだ未シール区域11を形成して構成されている。未シール区域11は、略半円形をなし、側端ヒートシール部6の側縁6aから内方に側端ヒートシール部6の幅の半分程度延びている。未シール部を形成する包材には、側端ヒートシール部6の側縁6aからカットテープ5の端縁まで延びるカットライン12,12が形成されている。未シール部の包材をカットライン12,12により切断することでカットテープ5を含むつまみ部13が形成される。
【0015】
上記ピロー形包装袋3の側端ヒートシール部6は、図3に示すように、側端ヒートシール部6のシール目がカットテープ5の長手方向に直交する方向に延びるシール線14であり、側端から内方に延びる未シール部11の内端より内側の側端ヒートシール部6のシール目がカットテープ5の長手方向に平行に延びるシール線15である。
【0016】
上記実施の形態では、ピロー形包装袋3の一方の側端ヒートシール部6にカットテープ5を含んだ未シール区域11を形成しているが、ピロー形包装袋3の両方の側端ヒートシール部6,7にカットテープ5を含んだ未シール区域11を形成することもできる。
【0017】
つぎに、易開封包装袋1の製造方法を説明する。
ロール状に巻かれた包材から引き出される包材を包材の送り方向Aに直交する方向に裁断して矩形状包材を形成する。
【0018】
つぎに、矩形状包材を前端2aと後端2bが一面中央位置で突き合わすように折り曲げ成形する。
【0019】
つぎに、矩形状包材の突き合わせた前端2aと後端2bをヒートシールして背シール部2を有する筒状体を形成する。これと同時に、矩形状包材の内面の折り曲げ端4に近い位置に背シール部2に平行にカットテープ5を接着する。
【0020】
つぎに、カットテープ5を接着した筒状体の両側端をヒートシールして側端ヒートシール部6,7を形成する。この際、一方の側端ヒートシール部6に、カットテープ5を含んだ未シール区域11を形成する。
【0021】
側端ヒートシール部6のシール目は、カットテープの長手方向に直交する方向のシール線14であり、未シール部11より内側のヒートシール部のシール目は、カットテープの長手方向のシール線15である。
【0022】
未シール区域11は、略半円形をなし、側端ヒートシール部6の側縁6aから内方に側端ヒートシール部6の幅の半分程度延びている。未シール部11を形成する包材に、側端ヒートシール部6の側縁6aからカットテープ5の端縁まで延びるカットライン12,12を形成する。このカットライン12,12は、未シール部11を形成する際に形成される。
【0023】
これにより、易開封包装袋1が作られる。
【0024】
上記易開封包装袋1は、未シール部の包材をカットライン12,12により切断することでカットテープ5を含むつまみ13が形成される。易開封包装袋1は、つまみ13を引っ張ることで、カットテープ5に沿って開封される。
【0025】
図4ないし図6は、本発明の易開封包装袋1の他の実施の形態を示す。
図4に示す易開封包装袋1は、図3に示す易開封包装袋1と比較すると、側端ヒートシール部6のシール目は同じであるが、未シール部11の内端より内側の側端ヒートシール部6のシール目が、2方向のシール線が直角に交差した碁盤目状シール線16である点で相違している。
【0026】
図5に示す易開封包装袋1は、側端ヒートシール部6のシール目が2方向のシール線が直角に交差した碁盤目状シール線17であり、未シール部11の内端より内側の側端ヒートシール部6のシール目が、カットテープ5の長手方向に直交する方向のシール線18である。
【0027】
図6に示す易開封包装袋1は、側端ヒートシール部6のシール目が、カットテープ5の長手方向に直交する方向のシール線14aであり、側端ヒートシール部6のカットテープ5に対応する部位の内端は内側に突出し、この突出部分19に未シール部11aを形成し、この未シール部11aにカットテープ5を横断しつまみ部を形成するカットライン12aが設けられ、未シール部11aの内端より内側の側端ヒートシール部6のシール目がカットテープ5の長手方向に直交する方向のシール線20である。
【0028】
【発明の効果】
以上述べたように本発明によれば、包装袋の内面に一側端ヒートシール部から他側端ヒートシール部まで延びるカットテープを接着し、少なくとも一方の側端ヒートシール部にカットテープを接着した部分を含む未シール部を形成し、未シール部につまみ部を形成するカットラインを設けたことで、側端ヒートシール部に形成されるつまみを起点として、カットテープに沿って容易に開封することができる。
また、本発明による易開封包装袋は、特殊な装置を必要としない一般の自動充填包装機により作ることができる。
【図面の簡単な説明】
【図1】本発明による易開封包装袋の背面図。
【図2】カットテープの構成を示す図。
【図3】本発明による易開封包装袋の側端ヒートシール部を示す図。
【図4】本発明による易開封包装袋の他の実施の形態を示す図。
【図5】本発明による易開封包装袋の他の実施の形態を示す図。
【図6】本発明による易開封包装袋の他の実施の形態を示す図。
【符号の説明】
1 易開封包装袋
2 背シール部
3 ピロー形包装袋
5 カットテープ
6 側端ヒートシール部
7 側端ヒートシール部
11 未シール区域
12 カットライン
13 つまみ
Claims (3)
- 1枚の包材を一面中央部でヒートシールするとともに、両側端をヒートシールした包装袋において、包装袋の内面に一側端ヒートシール部から他側端ヒートシール部まで延びるカットテープを接着し、少なくとも一方の側端ヒートシール部にカットテープを接着した部分を含む未シール部を形成し、未シール部につまみ部を形成するカットラインを設け、
前記側端ヒートシール部のシール目は、カットテープの長手方向に直交する方向のシール線であり、未シール部より内側のヒートシール部のシール目は、カットテープの長手方向のシール線であることを特徴とする易開封包装袋。 - 1枚の包材を一面中央部でヒートシールするとともに、両側端をヒートシールした包装袋において、包装袋の内面に一側端ヒートシール部から他側端ヒートシール部まで延びるカットテープを接着し、少なくとも一方の側端ヒートシール部にカットテープを接着した部分を含む未シール部を形成し、未シール部につまみ部を形成するカットラインを設け、
前記側端ヒートシール部のシール目は、碁盤目状シール線であり、未シール部より内側のヒートシール部のシール目は、カットテープの長手方向に直交する方向のシール線であることを特徴とする易開封包装袋。 - 1枚の包材を一面中央部でヒートシールするとともに、両側端をヒートシールした包装袋において、包装袋の内面に一側端ヒートシール部から他側端ヒートシール部まで延びるカットテープを接着し、少なくとも一方の側端ヒートシール部にカットテープを接着した部分を含む未シール部を形成し、未シール部につまみ部を形成するカットラインを設け、
前記側端ヒートシール部のシール目は、カットテープの長手方向に直交する方向のシール線であり、未シール部より内側のヒートシール部のシール目は、カットテープの長手方向に直交する方向のシール線であることを特徴とする易開封包装袋。
Priority Applications (1)
| Application Number | Priority Date | Filing Date | Title |
|---|---|---|---|
| JP2001056933A JP4749568B2 (ja) | 2001-03-01 | 2001-03-01 | 易開封包装袋 |
Applications Claiming Priority (1)
| Application Number | Priority Date | Filing Date | Title |
|---|---|---|---|
| JP2001056933A JP4749568B2 (ja) | 2001-03-01 | 2001-03-01 | 易開封包装袋 |
Publications (2)
| Publication Number | Publication Date |
|---|---|
| JP2002255237A JP2002255237A (ja) | 2002-09-11 |
| JP4749568B2 true JP4749568B2 (ja) | 2011-08-17 |
Family
ID=18916882
Family Applications (1)
| Application Number | Title | Priority Date | Filing Date |
|---|---|---|---|
| JP2001056933A Expired - Fee Related JP4749568B2 (ja) | 2001-03-01 | 2001-03-01 | 易開封包装袋 |
Country Status (1)
| Country | Link |
|---|---|
| JP (1) | JP4749568B2 (ja) |
Families Citing this family (6)
| Publication number | Priority date | Publication date | Assignee | Title |
|---|---|---|---|---|
| JP4824951B2 (ja) * | 2005-06-16 | 2011-11-30 | オリヒロエンジニアリング株式会社 | 充填包装袋 |
| JP2009173313A (ja) * | 2008-01-25 | 2009-08-06 | Toppan Printing Co Ltd | 包装袋及びその包装機と包装方法 |
| JP6219657B2 (ja) * | 2013-10-01 | 2017-10-25 | ユニ・チャーム株式会社 | パッケージ及び製造方法 |
| JP6633436B2 (ja) * | 2016-03-22 | 2020-01-22 | テルモ株式会社 | ピロータイプ包装袋 |
| CN108274842A (zh) * | 2018-02-22 | 2018-07-13 | 江苏申凯包装高新技术股份有限公司 | 一种可自动灌装的粒子阀口袋 |
| JP7104567B2 (ja) * | 2018-06-21 | 2022-07-21 | 朋和産業株式会社 | 米飯加工食品用包装材 |
Family Cites Families (7)
| Publication number | Priority date | Publication date | Assignee | Title |
|---|---|---|---|---|
| JPS5428670A (en) * | 1977-08-05 | 1979-03-03 | Toyota Motor Co Ltd | Device for measuring flow rate within engine cylinder |
| JPS5795360A (en) * | 1980-12-02 | 1982-06-14 | Toray Industries | Padding structure having sun light restoring property |
| JPH07121748B2 (ja) * | 1986-10-03 | 1995-12-25 | トタニ技研工業株式会社 | プラスチツク袋 |
| JPH0743740B2 (ja) * | 1988-09-27 | 1995-05-15 | 日本電気株式会社 | 印刷配線板自動配線設計装置 |
| JPH0656171A (ja) * | 1992-07-31 | 1994-03-01 | Sony Corp | 包装用フィルム |
| JPH1017030A (ja) * | 1996-03-19 | 1998-01-20 | Fujimori Purakemikaru Kk | 包装袋 |
| JPH10250764A (ja) * | 1997-03-07 | 1998-09-22 | Dainippon Printing Co Ltd | ピロ−包装用袋 |
-
2001
- 2001-03-01 JP JP2001056933A patent/JP4749568B2/ja not_active Expired - Fee Related
Also Published As
| Publication number | Publication date |
|---|---|
| JP2002255237A (ja) | 2002-09-11 |
Similar Documents
| Publication | Publication Date | Title |
|---|---|---|
| NZ531776A (en) | Packaging member with easy-opening means | |
| JP4296858B2 (ja) | 易開封性ガセット貼り袋 | |
| US7476030B1 (en) | Fastener bag and fastener device | |
| JP4749568B2 (ja) | 易開封包装袋 | |
| US20070116388A1 (en) | Fastener bag and fastening device | |
| JP3759683B2 (ja) | ファスナーバッグ | |
| JP2002154555A (ja) | 易開封性包装袋 | |
| JP2015013653A (ja) | 袋体および包装体 | |
| JP3916942B2 (ja) | 包装容器 | |
| JP5624919B2 (ja) | 袋体および内容物入り袋体 | |
| JP2002179091A (ja) | 易開封包装袋 | |
| JP2023150965A (ja) | 再封可能な包装袋の製袋方法 | |
| JPH046049A (ja) | 包装袋 | |
| JP3761745B2 (ja) | ファスナーバッグ | |
| JP2019006407A (ja) | パウチ | |
| JP2003095287A (ja) | 詰め替え用袋包装品 | |
| JP4043592B2 (ja) | 易開封袋 | |
| JP2017128361A (ja) | 包装袋 | |
| JPH0812947A (ja) | 隠蔽型粘着テープ及びこれを用いた密封袋 | |
| JP2007091265A (ja) | 易開封性包装袋 | |
| JP4156070B2 (ja) | 易開封袋およびその製造方法 | |
| JP3325747B2 (ja) | 包装袋およびスライスチーズ包装体 | |
| JP7400203B2 (ja) | パウチ | |
| JP2004122730A (ja) | パウチ容器の製袋方法及びパウチ容器製袋用基材 | |
| JPH0930537A (ja) | 易開封袋 |
Legal Events
| Date | Code | Title | Description |
|---|---|---|---|
| A621 | Written request for application examination |
Free format text: JAPANESE INTERMEDIATE CODE: A621 Effective date: 20071211 |
|
| A977 | Report on retrieval |
Free format text: JAPANESE INTERMEDIATE CODE: A971007 Effective date: 20091028 |
|
| A131 | Notification of reasons for refusal |
Free format text: JAPANESE INTERMEDIATE CODE: A131 Effective date: 20101102 |
|
| A521 | Written amendment |
Free format text: JAPANESE INTERMEDIATE CODE: A523 Effective date: 20101220 |
|
| A01 | Written decision to grant a patent or to grant a registration (utility model) |
Free format text: JAPANESE INTERMEDIATE CODE: A01 Effective date: 20110422 |
|
| A61 | First payment of annual fees (during grant procedure) |
Free format text: JAPANESE INTERMEDIATE CODE: A61 Effective date: 20110518 |
|
| R150 | Certificate of patent or registration of utility model |
Free format text: JAPANESE INTERMEDIATE CODE: R150 |
|
| FPAY | Renewal fee payment (event date is renewal date of database) |
Free format text: PAYMENT UNTIL: 20140527 Year of fee payment: 3 |
|
| LAPS | Cancellation because of no payment of annual fees |