JP4635124B2 - バリアブルリラクタンス型角度検出器用ロータ構造 - Google Patents

バリアブルリラクタンス型角度検出器用ロータ構造 Download PDF

Info

Publication number
JP4635124B2
JP4635124B2 JP2000374590A JP2000374590A JP4635124B2 JP 4635124 B2 JP4635124 B2 JP 4635124B2 JP 2000374590 A JP2000374590 A JP 2000374590A JP 2000374590 A JP2000374590 A JP 2000374590A JP 4635124 B2 JP4635124 B2 JP 4635124B2
Authority
JP
Japan
Prior art keywords
rotor
shaft
recess
angle detector
inner diameter
Prior art date
Legal status (The legal status is an assumption and is not a legal conclusion. Google has not performed a legal analysis and makes no representation as to the accuracy of the status listed.)
Expired - Fee Related
Application number
JP2000374590A
Other languages
English (en)
Other versions
JP2002174535A (ja
Inventor
浩三 牧内
Current Assignee (The listed assignees may be inaccurate. Google has not performed a legal analysis and makes no representation or warranty as to the accuracy of the list.)
Tamagawa Seiki Co Ltd
Original Assignee
Tamagawa Seiki Co Ltd
Priority date (The priority date is an assumption and is not a legal conclusion. Google has not performed a legal analysis and makes no representation as to the accuracy of the date listed.)
Filing date
Publication date
Application filed by Tamagawa Seiki Co Ltd filed Critical Tamagawa Seiki Co Ltd
Priority to JP2000374590A priority Critical patent/JP4635124B2/ja
Publication of JP2002174535A publication Critical patent/JP2002174535A/ja
Application granted granted Critical
Publication of JP4635124B2 publication Critical patent/JP4635124B2/ja
Anticipated expiration legal-status Critical
Expired - Fee Related legal-status Critical Current

Links

Images

Landscapes

  • Measurement Of Length, Angles, Or The Like Using Electric Or Magnetic Means (AREA)
  • Transmission And Conversion Of Sensor Element Output (AREA)

Description

【0001】
【発明の属する技術分野】
本発明は、バリアブルリラクタンス型角度検出器用ロータ構造に関し、特に、輪状鉄心からなるロータの内径壁に突起を設け、固定用キーを用いることなく回転軸に固定することにより、ロータと回転軸との結合強度を向上させると共にコストダウンを達成するための新規な改良に関する。
【0002】
【従来の技術】
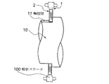
従来、用いられていたこの種のバリアブルリラクタンス型角度検出器用ロータ構造としては、一般に、図5から図8で示される構成が採用されていた。
すなわち、図5において符号1で示されるものは、輪状鉄心2からなるロータであり、このロータ1の外側形状は、図示しないスロット内に励磁巻線とn相の出力巻線を有する輪状ステータとの間のギャップパーミアンスが角度θに対して正弦波状に変化することができるように非真円形状で構成されている。
前記ロータ1は、その回転によって前記ギャップパーミアンスが変化する周知のバリアブルリラクタンス型角度検出器を構成するために用いられており、このロータ1の内孔1Aの内径を形成する内径壁1Aaには複数の凹部3が形成されている。
【0003】
前記ロータ1の内孔1A内には、図7及び図8で示される相手側の回転軸10が嵌合されており、この回転軸10の外周には、前記各凹部3に対応して軸凹部11が形成されている。
前記軸凹部11内に設けられた角型キー12は、前記ロータ1の凹部3内に嵌合していることにより、回転軸10とロータ1とは一体状に構成されている。
なお、前述のロータ1に対峙するステータは、図8に仮想線の符号100にて示される通りである。
【0004】
【発明が解決しようとする課題】
従来のバリアブルリラクタンス型角度検出器用ロータ構造は、以上のように構成されていたため、次のような課題が存在していた。
すなわち、ロータの内径壁に形成した凹部と回転軸の外周面に形成した軸凹部とを角型キーによって結合しなければならず、ロータを薄型とした場合(特に、近年は小型化及び薄型化の傾向にある)、この凹部の強度が低下し、薄型化への大きい障害となっていた。
【0005】
本発明は、以上のような課題を解決するためになされたもので、特に、輪状鉄心からなるロータの内径壁に突起を設け、固定用キーを用いることなく回転軸に固定することにより、ロータと回転軸との結合強度を向上させると共にコストダウンを達成するようにしたバリアブルリラクタンス型角度検出器用ロータ構造を提供することを目的とする。
【0006】
【課題を解決するための手段】
本発明によるバリアブルリラクタンス型角度検出器用ロータ構造は、輪状ステータのスロット内に励磁巻線とn相の出力巻線を設け、前記輪状ステータに対して回転自在に設けられ、前記輪状ステータとの間のギャップパーミアンスが角度θに対して正弦波状に変化する形状を有すると共に輪状鉄心のみで巻線を有しない構成のロータを用い、前記ロータの内孔の内径を形成する内径壁に形成され軸心側へ突出する突起を有する構成からなるバリアブルリラクタンス型角度検出器用ロータ構造において、前記突起は、前記突起が係合するキー溝としての軸凹部を有する回転軸の円周に沿って1個又は複数個形成され、前記突起の両側には、前記内径壁に連続して形成された逃げ用凹部が設けられ、前記内孔内に前記回転軸を嵌合させた場合、前記回転軸の外周面より外側に前記各逃げ用凹部が位置し、前記軸凹部の両側に形成された角部及び前記各角部に残っているバリが前記各逃げ用凹部内に逃げて位置する構成である。
【0007】
【発明の実施の形態】
以下、図面と共に本発明によるバリアブルリラクタンス型角度検出器用ロータ構造の好適な実施の形態について説明する。なお、従来例と同一又は同等部分には同一符号を用いて説明する。
すなわち、図1において符号1で示されるものは、輪状鉄心2からなるロータであり、このロータ1の外側形状は、図示しないスロット内に励磁巻線とn相の出力巻線を有する輪状ステータとの間のギャップパーミアンスが角度θに対して正弦波状に変化することができるように非真円形状で構成されている。
【0008】
前記ロータ1は、その回転によって前記ギャップパーミアンスが変化する周知のバリアブルリラクタンス型角度検出器を構成するために用いられており、このロータ1の内孔1Aの内径を形成する内径壁1Aaには1個もしくは複数の突起3Aが軸心P側へ突出して形成されている。
【0009】
前記ロータ1の内孔1A内には、図3及び図4で示される相手側の回転軸10が嵌合されており、この回転軸10の外周には、前記各凹部3に対応してキー溝としての軸凹部11が形成されている。
前記内孔1A内に回転軸10を嵌合させた場合には、図3で示されるように、前記突起3Aと軸凹部11とが嵌合すると共に、前記軸凹部11の両側に形成された各角部11a、11bが入り込んで逃げることができるように、前記突起3Aの両側に逃げ用凹部3Aa、3Abが形成されている。尚、前記各逃げ用凹部3Aa,3Abは、前記回転軸10の外周面10aより外側に位置している。
【0010】
前記各逃げ用凹部3Aa、3Abは、前記内径壁1Aaよりもわずかに外側へ喰い込んだ形状(すなわち、従来用いられていた前記凹部3の深さに比べれば全く無視できる程度の深さである)で構成されている。
従って、前記回転軸10に前記軸凹部11を切削加工等によって形成した場合に、この軸凹部11の両側の各角部11a、11bにバリ等が残っている場合でも、このバリ等は前記各逃げ用凹部3Aa、3Ab内に逃げて位置することができ、前記突起3Aと軸凹部11との嵌合が容易かつ確実となるように構成されている。
なお、通常、ロータ1は積層型と焼結による一体型とが用いられ、積層型の場合には、この凹部3の数と転積(周知のように積層時の円周方向における磁気的特性を均一化するために1枚毎の積層片を所定角度(周知の軸倍角による)ずつ回転させる構成)とを連動させている。
また、前記突起3Aを1ケ所とした場合には、転積を行うことはないが、例えば、軸倍角が2倍角(2X)の場合(ロータ外径が2ケ所凸状となっている)は2ケ所の突起3Aを用いて180°毎各積層片を回転させて転積を行い、軸倍角が3倍角(3X)の場合(ロータ外径が3ケ所凸状となっている)は3ケ所の突起3Aを用いて120°毎各積層片を回転させて転積を行い、軸倍角が4倍角(4X)の場合(ロータ外径が4ケ所凸状となっている)は4ケ所の突起3Aを用いて90°毎各積層片を回転させて転積を行うように構成することもできる。
【0011】
【発明の効果】
本発明によるバリアブルリラクタンス型角度検出器用ロータ構造は、以上のように構成されているため、次のような効果を得ることができる。
すなわち、ロータの内径壁に形成された突起を回転軸の外周面の凹部に嵌合させることにより、ロータと回転軸との位置決め接続を達成しているため、従来の角型キーを必要とせず、構成が簡略化できる。
また、ロータには突起を設けているだけであるため、ロータの肉厚が薄肉化した場合でも、十分な強度を保つことができ、より薄肉化したレゾルバ等を得ることができる。
【図面の簡単な説明】
【図1】 本発明によるバリアブルリラクタンス型角度検出器用ロータ構造を示す正面図である。
【図2】 図1のA−A線による断面図である。
【図3】 図1のロータに回転軸を嵌合した状態を示す正面図である。
【図4】 図3の一部断面付き側面図である。
【図5】 従来のバリアブルリラクタンス型角度検出器用ロータ構造を示す正面図である。
【図6】 図5のB−B断面図である。
【図7】 図5のロータに回転軸を嵌合した状態を示す一部断面付き正面図である。
【図8】 図7の一部断面付き側面図である。
【符号の説明】
1 ロータ
2 輪状鉄心
1A 内孔
1Aa 内径壁
3A 突起
3Aa、3Ab 逃げ用凹部
P 軸心
10 回転軸
10a 外周面
11 軸凹部
11a、11b 逃げ用凹部

Claims (1)

  1. 輪状ステータ(100)のスロット内に励磁巻線とn相の出力巻線を設け、前記輪状ステータ(100)に対して回転自在に設けられ、前記輪状ステータとの間のギャップパーミアンスが角度θに対して正弦波状に変化する形状を有すると共に輪状鉄心(2)のみで巻線を有しない構成のロータ(1)を用い、前記ロータ(1)の内孔(1A)の内径を形成する内径壁(1Aa)に形成され軸心(P)側へ突出する突起(3A)を有する構成からなるバリアブルリラクタンス型角度検出器用ロータ構造において、
    前記突起(3A)は、前記突起(3A)が係合するキー溝としての軸凹部(11)を有する回転軸(10)の円周に沿って1個又は複数個形成され
    前記突起(3A)の両側には、前記内径壁(1Aa)に連続して形成された逃げ用凹部(3Aa,3Ab)が設けられ、前記内孔(1A)内に前記回転軸(10)を嵌合させた場合、前記回転軸(10)の外周面(10a)より外側に前記各逃げ用凹部(3Aa,3Ab)が位置し、前記軸凹部(11)の両側に形成された角部(11a,11b)及び前記各角部(11a,11b)に残っているバリが前記各逃げ用凹部(3Aa,3Ab)内に逃げて位置することを特徴とするバリアブルリラクタンス型角度検出器。
JP2000374590A 2000-12-08 2000-12-08 バリアブルリラクタンス型角度検出器用ロータ構造 Expired - Fee Related JP4635124B2 (ja)

Priority Applications (1)

Application Number Priority Date Filing Date Title
JP2000374590A JP4635124B2 (ja) 2000-12-08 2000-12-08 バリアブルリラクタンス型角度検出器用ロータ構造

Applications Claiming Priority (1)

Application Number Priority Date Filing Date Title
JP2000374590A JP4635124B2 (ja) 2000-12-08 2000-12-08 バリアブルリラクタンス型角度検出器用ロータ構造

Publications (2)

Publication Number Publication Date
JP2002174535A JP2002174535A (ja) 2002-06-21
JP4635124B2 true JP4635124B2 (ja) 2011-02-16

Family

ID=18843749

Family Applications (1)

Application Number Title Priority Date Filing Date
JP2000374590A Expired - Fee Related JP4635124B2 (ja) 2000-12-08 2000-12-08 バリアブルリラクタンス型角度検出器用ロータ構造

Country Status (1)

Country Link
JP (1) JP4635124B2 (ja)

Cited By (1)

* Cited by examiner, † Cited by third party
Publication number Priority date Publication date Assignee Title
CN108631533A (zh) * 2017-03-17 2018-10-09 美蓓亚三美株式会社 转子以及旋转变压器

Families Citing this family (13)

* Cited by examiner, † Cited by third party
Publication number Priority date Publication date Assignee Title
JP4070674B2 (ja) * 2003-07-31 2008-04-02 株式会社東芝 リラクタンス型回転電機の回転子
JP2008187804A (ja) 2007-01-29 2008-08-14 Toyota Motor Corp 回転子およびこの回転子を備えた回転電機
JP5012169B2 (ja) * 2007-04-23 2012-08-29 日本電産株式会社 レゾルバ
JP5262583B2 (ja) * 2008-10-30 2013-08-14 トヨタ自動車株式会社 レゾルバ一体型回転電機及びロータコア
JP5567775B2 (ja) * 2008-11-14 2014-08-06 トヨタ自動車株式会社 ロータおよび回転電機
JP5162536B2 (ja) * 2009-08-04 2013-03-13 日立オートモティブシステムズ株式会社 ロータコアおよび回転電機
JP5490559B2 (ja) 2010-02-16 2014-05-14 日立オートモティブシステムズ株式会社 回転子およびその回転子を用いた回転電機
CN203511676U (zh) * 2011-01-20 2014-04-02 新日铁住金株式会社 铁道车辆用的带旋转变压器的车身高度调整阀
JP2012254747A (ja) * 2011-06-10 2012-12-27 Toyota Motor Corp 後輪転舵装置
JP6136477B2 (ja) * 2013-04-02 2017-05-31 株式会社ジェイテクト 回転電機およびその製造方法
JP6381745B1 (ja) * 2017-06-16 2018-08-29 三菱電機株式会社 回転角度検出装置、および回転角度検出装置を備えた車両用駆動モータ
JP6674931B2 (ja) * 2017-08-10 2020-04-01 ミネベアミツミ株式会社 レゾルバおよびモータ
JP2024053322A (ja) * 2022-10-03 2024-04-15 ミネベアミツミ株式会社 レゾルバのロータおよびレゾルバ

Family Cites Families (2)

* Cited by examiner, † Cited by third party
Publication number Priority date Publication date Assignee Title
JPH08308196A (ja) * 1995-05-02 1996-11-22 Otsupama Kogyo Kk 磁石発電機の回転子
JPH0932813A (ja) * 1995-07-20 1997-02-04 Kobe Steel Ltd 回転体の動力伝達溝

Cited By (3)

* Cited by examiner, † Cited by third party
Publication number Priority date Publication date Assignee Title
CN108631533A (zh) * 2017-03-17 2018-10-09 美蓓亚三美株式会社 转子以及旋转变压器
US10971980B2 (en) 2017-03-17 2021-04-06 Minebea Mitsumi Inc. Rotor and resolver
CN108631533B (zh) * 2017-03-17 2022-03-01 美蓓亚三美株式会社 转子以及旋转变压器

Also Published As

Publication number Publication date
JP2002174535A (ja) 2002-06-21

Similar Documents

Publication Publication Date Title
JP4635124B2 (ja) バリアブルリラクタンス型角度検出器用ロータ構造
KR100274113B1 (ko) 모우터의 고정자
JP2000270503A (ja) 永久磁石電動機
JP2005033941A (ja) 永久磁石モータの固定子鉄心及び永久磁石モータ
JP2012217283A (ja) 回転電機のロータおよびその製造方法
US4881002A (en) Miniature motor
JP5067365B2 (ja) モータ
JP2000050540A (ja) 回転電機の組み立てティース式固定子コア
JPH0686524A (ja) ブラシレスモータ
JP4244111B2 (ja) 永久磁石形同期電動機のロータ
JP2009118687A (ja) 永久磁石式回転機
JP3487180B2 (ja) 永久磁石形同期回転電機のロータ
JP2002315237A (ja) 回転電機の積層鉄心
JP3821185B2 (ja) 永久磁石電動機
JPH09233744A (ja) 同期電動機
JP2008178189A (ja) トロイダル巻線モータ及びそれを用いたエレベータ用巻上機
JP2003052140A (ja) Dcブラシレスモータの回転子
JP2005051826A (ja) 回転電機のロータにおける永久磁石の固定構造
JP7718258B2 (ja) ロータ及び回転電機
JPH08116632A (ja) 回転電機の固定子
JP2003333812A (ja) インダクションモータのロータ
JP2741937B2 (ja) かご型回転子
KR20010061839A (ko) 서보 모터용 로터의 조립구조
JP2002010539A (ja) 電機子
JP2001218392A (ja) ブラシレスdcモータ

Legal Events

Date Code Title Description
RD04 Notification of resignation of power of attorney

Free format text: JAPANESE INTERMEDIATE CODE: A7424

Effective date: 20060615

A621 Written request for application examination

Free format text: JAPANESE INTERMEDIATE CODE: A621

Effective date: 20070703

RD04 Notification of resignation of power of attorney

Free format text: JAPANESE INTERMEDIATE CODE: A7424

Effective date: 20070717

A131 Notification of reasons for refusal

Free format text: JAPANESE INTERMEDIATE CODE: A131

Effective date: 20100406

A521 Request for written amendment filed

Free format text: JAPANESE INTERMEDIATE CODE: A523

Effective date: 20100531

TRDD Decision of grant or rejection written
A01 Written decision to grant a patent or to grant a registration (utility model)

Free format text: JAPANESE INTERMEDIATE CODE: A01

Effective date: 20100907

A01 Written decision to grant a patent or to grant a registration (utility model)

Free format text: JAPANESE INTERMEDIATE CODE: A01

A61 First payment of annual fees (during grant procedure)

Free format text: JAPANESE INTERMEDIATE CODE: A61

Effective date: 20100910

FPAY Renewal fee payment (event date is renewal date of database)

Free format text: PAYMENT UNTIL: 20131203

Year of fee payment: 3

R150 Certificate of patent or registration of utility model

Ref document number: 4635124

Country of ref document: JP

Free format text: JAPANESE INTERMEDIATE CODE: R150

Free format text: JAPANESE INTERMEDIATE CODE: R150

R250 Receipt of annual fees

Free format text: JAPANESE INTERMEDIATE CODE: R250

R250 Receipt of annual fees

Free format text: JAPANESE INTERMEDIATE CODE: R250

R250 Receipt of annual fees

Free format text: JAPANESE INTERMEDIATE CODE: R250

R250 Receipt of annual fees

Free format text: JAPANESE INTERMEDIATE CODE: R250

R250 Receipt of annual fees

Free format text: JAPANESE INTERMEDIATE CODE: R250

R250 Receipt of annual fees

Free format text: JAPANESE INTERMEDIATE CODE: R250

R250 Receipt of annual fees

Free format text: JAPANESE INTERMEDIATE CODE: R250

LAPS Cancellation because of no payment of annual fees