JP4502204B2 - 半導体装置 - Google Patents

半導体装置 Download PDF

Info

Publication number
JP4502204B2
JP4502204B2 JP2005082374A JP2005082374A JP4502204B2 JP 4502204 B2 JP4502204 B2 JP 4502204B2 JP 2005082374 A JP2005082374 A JP 2005082374A JP 2005082374 A JP2005082374 A JP 2005082374A JP 4502204 B2 JP4502204 B2 JP 4502204B2
Authority
JP
Japan
Prior art keywords
semiconductor chip
opening
semiconductor device
semiconductor
bump
Prior art date
Legal status (The legal status is an assumption and is not a legal conclusion. Google has not performed a legal analysis and makes no representation as to the accuracy of the status listed.)
Expired - Fee Related
Application number
JP2005082374A
Other languages
English (en)
Other versions
JP2006269541A (ja
Inventor
崇誌 宮崎
Current Assignee (The listed assignees may be inaccurate. Google has not performed a legal analysis and makes no representation or warranty as to the accuracy of the list.)
Renesas Electronics Corp
Original Assignee
Renesas Electronics Corp
Priority date (The priority date is an assumption and is not a legal conclusion. Google has not performed a legal analysis and makes no representation as to the accuracy of the date listed.)
Filing date
Publication date
Application filed by Renesas Electronics Corp filed Critical Renesas Electronics Corp
Priority to JP2005082374A priority Critical patent/JP4502204B2/ja
Priority to US11/378,651 priority patent/US7205669B2/en
Publication of JP2006269541A publication Critical patent/JP2006269541A/ja
Application granted granted Critical
Publication of JP4502204B2 publication Critical patent/JP4502204B2/ja
Anticipated expiration legal-status Critical
Expired - Fee Related legal-status Critical Current

Links

Images

Classifications

    • HELECTRICITY
    • H01ELECTRIC ELEMENTS
    • H01LSEMICONDUCTOR DEVICES NOT COVERED BY CLASS H10
    • H01L21/00Processes or apparatus adapted for the manufacture or treatment of semiconductor or solid state devices or of parts thereof
    • H01L21/02Manufacture or treatment of semiconductor devices or of parts thereof
    • H01L21/04Manufacture or treatment of semiconductor devices or of parts thereof the devices having potential barriers, e.g. a PN junction, depletion layer or carrier concentration layer
    • H01L21/50Assembly of semiconductor devices using processes or apparatus not provided for in a single one of the groups H01L21/18 - H01L21/326 or H10D48/04 - H10D48/07 e.g. sealing of a cap to a base of a container
    • H01L21/56Encapsulations, e.g. encapsulation layers, coatings
    • H01L21/563Encapsulation of active face of flip-chip device, e.g. underfilling or underencapsulation of flip-chip, encapsulation preform on chip or mounting substrate
    • HELECTRICITY
    • H01ELECTRIC ELEMENTS
    • H01LSEMICONDUCTOR DEVICES NOT COVERED BY CLASS H10
    • H01L23/00Details of semiconductor or other solid state devices
    • H01L23/28Encapsulations, e.g. encapsulating layers, coatings, e.g. for protection
    • H01L23/31Encapsulations, e.g. encapsulating layers, coatings, e.g. for protection characterised by the arrangement or shape
    • H01L23/3157Partial encapsulation or coating
    • HELECTRICITY
    • H01ELECTRIC ELEMENTS
    • H01LSEMICONDUCTOR DEVICES NOT COVERED BY CLASS H10
    • H01L24/00Arrangements for connecting or disconnecting semiconductor or solid-state bodies; Methods or apparatus related thereto
    • H01L24/01Means for bonding being attached to, or being formed on, the surface to be connected, e.g. chip-to-package, die-attach, "first-level" interconnects; Manufacturing methods related thereto
    • H01L24/26Layer connectors, e.g. plate connectors, solder or adhesive layers; Manufacturing methods related thereto
    • H01L24/28Structure, shape, material or disposition of the layer connectors prior to the connecting process
    • HELECTRICITY
    • H01ELECTRIC ELEMENTS
    • H01LSEMICONDUCTOR DEVICES NOT COVERED BY CLASS H10
    • H01L24/00Arrangements for connecting or disconnecting semiconductor or solid-state bodies; Methods or apparatus related thereto
    • H01L24/80Methods for connecting semiconductor or other solid state bodies using means for bonding being attached to, or being formed on, the surface to be connected
    • H01L24/81Methods for connecting semiconductor or other solid state bodies using means for bonding being attached to, or being formed on, the surface to be connected using a bump connector
    • HELECTRICITY
    • H01ELECTRIC ELEMENTS
    • H01LSEMICONDUCTOR DEVICES NOT COVERED BY CLASS H10
    • H01L25/00Assemblies consisting of a plurality of semiconductor or other solid state devices
    • H01L25/03Assemblies consisting of a plurality of semiconductor or other solid state devices all the devices being of a type provided for in a single subclass of subclasses H10B, H10D, H10F, H10H, H10K or H10N, e.g. assemblies of rectifier diodes
    • H01L25/04Assemblies consisting of a plurality of semiconductor or other solid state devices all the devices being of a type provided for in a single subclass of subclasses H10B, H10D, H10F, H10H, H10K or H10N, e.g. assemblies of rectifier diodes the devices not having separate containers
    • H01L25/065Assemblies consisting of a plurality of semiconductor or other solid state devices all the devices being of a type provided for in a single subclass of subclasses H10B, H10D, H10F, H10H, H10K or H10N, e.g. assemblies of rectifier diodes the devices not having separate containers the devices being of a type provided for in group H10D89/00
    • H01L25/0657Stacked arrangements of devices
    • HELECTRICITY
    • H01ELECTRIC ELEMENTS
    • H01LSEMICONDUCTOR DEVICES NOT COVERED BY CLASS H10
    • H01L2224/00Indexing scheme for arrangements for connecting or disconnecting semiconductor or solid-state bodies and methods related thereto as covered by H01L24/00
    • H01L2224/01Means for bonding being attached to, or being formed on, the surface to be connected, e.g. chip-to-package, die-attach, "first-level" interconnects; Manufacturing methods related thereto
    • H01L2224/10Bump connectors; Manufacturing methods related thereto
    • H01L2224/15Structure, shape, material or disposition of the bump connectors after the connecting process
    • H01L2224/16Structure, shape, material or disposition of the bump connectors after the connecting process of an individual bump connector
    • H01L2224/161Disposition
    • H01L2224/16135Disposition the bump connector connecting between different semiconductor or solid-state bodies, i.e. chip-to-chip
    • H01L2224/16145Disposition the bump connector connecting between different semiconductor or solid-state bodies, i.e. chip-to-chip the bodies being stacked
    • HELECTRICITY
    • H01ELECTRIC ELEMENTS
    • H01LSEMICONDUCTOR DEVICES NOT COVERED BY CLASS H10
    • H01L2224/00Indexing scheme for arrangements for connecting or disconnecting semiconductor or solid-state bodies and methods related thereto as covered by H01L24/00
    • H01L2224/01Means for bonding being attached to, or being formed on, the surface to be connected, e.g. chip-to-package, die-attach, "first-level" interconnects; Manufacturing methods related thereto
    • H01L2224/10Bump connectors; Manufacturing methods related thereto
    • H01L2224/15Structure, shape, material or disposition of the bump connectors after the connecting process
    • H01L2224/16Structure, shape, material or disposition of the bump connectors after the connecting process of an individual bump connector
    • H01L2224/161Disposition
    • H01L2224/16151Disposition the bump connector connecting between a semiconductor or solid-state body and an item not being a semiconductor or solid-state body, e.g. chip-to-substrate, chip-to-passive
    • H01L2224/16221Disposition the bump connector connecting between a semiconductor or solid-state body and an item not being a semiconductor or solid-state body, e.g. chip-to-substrate, chip-to-passive the body and the item being stacked
    • H01L2224/16225Disposition the bump connector connecting between a semiconductor or solid-state body and an item not being a semiconductor or solid-state body, e.g. chip-to-substrate, chip-to-passive the body and the item being stacked the item being non-metallic, e.g. insulating substrate with or without metallisation
    • HELECTRICITY
    • H01ELECTRIC ELEMENTS
    • H01LSEMICONDUCTOR DEVICES NOT COVERED BY CLASS H10
    • H01L2224/00Indexing scheme for arrangements for connecting or disconnecting semiconductor or solid-state bodies and methods related thereto as covered by H01L24/00
    • H01L2224/73Means for bonding being of different types provided for in two or more of groups H01L2224/10, H01L2224/18, H01L2224/26, H01L2224/34, H01L2224/42, H01L2224/50, H01L2224/63, H01L2224/71
    • H01L2224/732Location after the connecting process
    • H01L2224/73201Location after the connecting process on the same surface
    • H01L2224/73203Bump and layer connectors
    • HELECTRICITY
    • H01ELECTRIC ELEMENTS
    • H01LSEMICONDUCTOR DEVICES NOT COVERED BY CLASS H10
    • H01L2224/00Indexing scheme for arrangements for connecting or disconnecting semiconductor or solid-state bodies and methods related thereto as covered by H01L24/00
    • H01L2224/73Means for bonding being of different types provided for in two or more of groups H01L2224/10, H01L2224/18, H01L2224/26, H01L2224/34, H01L2224/42, H01L2224/50, H01L2224/63, H01L2224/71
    • H01L2224/732Location after the connecting process
    • H01L2224/73201Location after the connecting process on the same surface
    • H01L2224/73203Bump and layer connectors
    • H01L2224/73204Bump and layer connectors the bump connector being embedded into the layer connector
    • HELECTRICITY
    • H01ELECTRIC ELEMENTS
    • H01LSEMICONDUCTOR DEVICES NOT COVERED BY CLASS H10
    • H01L2224/00Indexing scheme for arrangements for connecting or disconnecting semiconductor or solid-state bodies and methods related thereto as covered by H01L24/00
    • H01L2224/80Methods for connecting semiconductor or other solid state bodies using means for bonding being attached to, or being formed on, the surface to be connected
    • H01L2224/81Methods for connecting semiconductor or other solid state bodies using means for bonding being attached to, or being formed on, the surface to be connected using a bump connector
    • H01L2224/818Bonding techniques
    • H01L2224/81801Soldering or alloying
    • HELECTRICITY
    • H01ELECTRIC ELEMENTS
    • H01LSEMICONDUCTOR DEVICES NOT COVERED BY CLASS H10
    • H01L2224/00Indexing scheme for arrangements for connecting or disconnecting semiconductor or solid-state bodies and methods related thereto as covered by H01L24/00
    • H01L2224/80Methods for connecting semiconductor or other solid state bodies using means for bonding being attached to, or being formed on, the surface to be connected
    • H01L2224/83Methods for connecting semiconductor or other solid state bodies using means for bonding being attached to, or being formed on, the surface to be connected using a layer connector
    • H01L2224/831Methods for connecting semiconductor or other solid state bodies using means for bonding being attached to, or being formed on, the surface to be connected using a layer connector the layer connector being supplied to the parts to be connected in the bonding apparatus
    • H01L2224/83102Methods for connecting semiconductor or other solid state bodies using means for bonding being attached to, or being formed on, the surface to be connected using a layer connector the layer connector being supplied to the parts to be connected in the bonding apparatus using surface energy, e.g. capillary forces
    • HELECTRICITY
    • H01ELECTRIC ELEMENTS
    • H01LSEMICONDUCTOR DEVICES NOT COVERED BY CLASS H10
    • H01L2224/00Indexing scheme for arrangements for connecting or disconnecting semiconductor or solid-state bodies and methods related thereto as covered by H01L24/00
    • H01L2224/91Methods for connecting semiconductor or solid state bodies including different methods provided for in two or more of groups H01L2224/80 - H01L2224/90
    • H01L2224/92Specific sequence of method steps
    • H01L2224/921Connecting a surface with connectors of different types
    • H01L2224/9212Sequential connecting processes
    • H01L2224/92122Sequential connecting processes the first connecting process involving a bump connector
    • H01L2224/92125Sequential connecting processes the first connecting process involving a bump connector the second connecting process involving a layer connector
    • HELECTRICITY
    • H01ELECTRIC ELEMENTS
    • H01LSEMICONDUCTOR DEVICES NOT COVERED BY CLASS H10
    • H01L2225/00Details relating to assemblies covered by the group H01L25/00 but not provided for in its subgroups
    • H01L2225/03All the devices being of a type provided for in the same main group of the same subclass of class H10, e.g. assemblies of rectifier diodes
    • H01L2225/04All the devices being of a type provided for in the same main group of the same subclass of class H10, e.g. assemblies of rectifier diodes the devices not having separate containers
    • H01L2225/065All the devices being of a type provided for in the same main group of the same subclass of class H10
    • H01L2225/06503Stacked arrangements of devices
    • H01L2225/06513Bump or bump-like direct electrical connections between devices, e.g. flip-chip connection, solder bumps
    • HELECTRICITY
    • H01ELECTRIC ELEMENTS
    • H01LSEMICONDUCTOR DEVICES NOT COVERED BY CLASS H10
    • H01L2225/00Details relating to assemblies covered by the group H01L25/00 but not provided for in its subgroups
    • H01L2225/03All the devices being of a type provided for in the same main group of the same subclass of class H10, e.g. assemblies of rectifier diodes
    • H01L2225/04All the devices being of a type provided for in the same main group of the same subclass of class H10, e.g. assemblies of rectifier diodes the devices not having separate containers
    • H01L2225/065All the devices being of a type provided for in the same main group of the same subclass of class H10
    • H01L2225/06503Stacked arrangements of devices
    • H01L2225/06582Housing for the assembly, e.g. chip scale package [CSP]
    • HELECTRICITY
    • H01ELECTRIC ELEMENTS
    • H01LSEMICONDUCTOR DEVICES NOT COVERED BY CLASS H10
    • H01L2924/00Indexing scheme for arrangements or methods for connecting or disconnecting semiconductor or solid-state bodies as covered by H01L24/00
    • H01L2924/0001Technical content checked by a classifier
    • H01L2924/00011Not relevant to the scope of the group, the symbol of which is combined with the symbol of this group
    • HELECTRICITY
    • H01ELECTRIC ELEMENTS
    • H01LSEMICONDUCTOR DEVICES NOT COVERED BY CLASS H10
    • H01L2924/00Indexing scheme for arrangements or methods for connecting or disconnecting semiconductor or solid-state bodies as covered by H01L24/00
    • H01L2924/0001Technical content checked by a classifier
    • H01L2924/00014Technical content checked by a classifier the subject-matter covered by the group, the symbol of which is combined with the symbol of this group, being disclosed without further technical details
    • HELECTRICITY
    • H01ELECTRIC ELEMENTS
    • H01LSEMICONDUCTOR DEVICES NOT COVERED BY CLASS H10
    • H01L2924/00Indexing scheme for arrangements or methods for connecting or disconnecting semiconductor or solid-state bodies as covered by H01L24/00
    • H01L2924/01Chemical elements
    • H01L2924/01005Boron [B]
    • HELECTRICITY
    • H01ELECTRIC ELEMENTS
    • H01LSEMICONDUCTOR DEVICES NOT COVERED BY CLASS H10
    • H01L2924/00Indexing scheme for arrangements or methods for connecting or disconnecting semiconductor or solid-state bodies as covered by H01L24/00
    • H01L2924/01Chemical elements
    • H01L2924/01006Carbon [C]
    • HELECTRICITY
    • H01ELECTRIC ELEMENTS
    • H01LSEMICONDUCTOR DEVICES NOT COVERED BY CLASS H10
    • H01L2924/00Indexing scheme for arrangements or methods for connecting or disconnecting semiconductor or solid-state bodies as covered by H01L24/00
    • H01L2924/01Chemical elements
    • H01L2924/01033Arsenic [As]

Landscapes

  • Engineering & Computer Science (AREA)
  • Microelectronics & Electronic Packaging (AREA)
  • Power Engineering (AREA)
  • Computer Hardware Design (AREA)
  • Physics & Mathematics (AREA)
  • Condensed Matter Physics & Semiconductors (AREA)
  • General Physics & Mathematics (AREA)
  • Manufacturing & Machinery (AREA)
  • Wire Bonding (AREA)
  • Encapsulation Of And Coatings For Semiconductor Or Solid State Devices (AREA)
  • Structures Or Materials For Encapsulating Or Coating Semiconductor Devices Or Solid State Devices (AREA)

Description

本発明は、半導体装置に関し、特に、バンプ電極によって半導体チップと半導体チップを含む電子部品とを対向させて接続し、バンプ電極部を絶縁性樹脂であるアンダーフィルによって封止する半導体装置に関する。
近年、半導体装置の高集積化、高速化に伴って、異なるチップ同士をバンプ電極によって最短距離で接続するチップオンチップ(Chip-On-Chip:以後COC)接続技術が、異なるLSIデバイス同士を、短開発期間かつ低コストで高速システム化することが可能な技術として、実用化が期待されている。
また、COC接続に使用されるチップにおいても、半導体装置の小型化、高機能化の需要に伴い、他の素子への接続のためのピン数の増加が要求され、このことにより狭ピッチ化、およびバンプサイズの縮小がなされている。このことは同時に、上下チップ間のギャップ、バンプ同士の隙間のサイズが小さくなる為、バンプ、チップ間に封止する絶縁性のアンダーフィル樹脂を注入する事が困難となる。また、樹脂内部に気泡(ボイド)が発生しやすく、外部へ排出され難い、などの問題も生じてくる。
更に、チップ表面を外部から保護する為にポリイミド(PI)などの絶縁膜を、バンプ形成部以外のエリアに形成するが、この絶縁膜により上下チップ間のギャップが小さくなってしまうことや、絶縁膜に接するアンダーフィル樹脂の流動性が低くなることにより、特に絶縁膜の段差部分でアンダーフィル樹脂の進入が止まってしまい、バンプ周囲にアンダーフィル樹脂が充填されないおそれがある。
特許文献1には、互いに接続される上下チップ間にアンダーフィル樹脂が充填されるCOC構造に関し、樹脂充填時にこのアンダーフィル樹脂内にボイドが発生することを防止することを目的とした技術が開示されている。この技術によれば、通常、上下チップの間隔が小さくなると、場所によりアンダーフィル樹脂の進入速度の分布が大きくなり、特にチップ中央の領域ほど流れが遅く、外側の領域ほど流れが早くなる傾向にあるため、外側の領域を進入するアンダーフィル樹脂の中央の領域への回り込みが発生し、空気を閉じこめてしまい、ボイドが発生するおそれがあるところ、各領域での樹脂の進行速度を揃えるように調節し、ボイドの発生を防ぐことができる。
特開2003−324182号公報
ところで、半導体装置を高度に小型化するためにさらに上下チップの間隔を小さくすると、アンダーフィル樹脂の充填の際に、バンプ形成領域周囲での樹脂の流れが特に遅くなり、バンプ形成領域周辺で気泡が混入してボイドが生じることがある。また、このバンプ形成領域周辺に生じたボイドが、信頼性を評価するための温度サイクル試験などを行う際に、膨張、収縮を繰り返してバンプ形成領域においてストレスをかけやすくなり、バンプ形成領域の部分で接合された両半導体チップ同士が外れてしまうおそれがあることが本発明者により確認された。
この点につき、特許文献1に記載の技術では、COC構造中央の素子形成領域に閉じ込められるボイドを回避することについては一定の解決がなされているが、バンプ形成領域周辺で気泡が混入して生じるおそれのあるボイドについては何ら解決するものではなかった。
本発明に係る半導体装置は、表面に多行多列に配列された複数の第1のバンプを有する第1の半導体チップおよび表面に多行多列に配列された複数の第2のバンプを有する第2の半導体チップのそれぞれのバンプ形成面を対向させて形成される半導体装置において、
前記第2の半導体チップは前記第1の半導体チップよりも平面形状が大きく、
前記第1の半導体チップおよび前記第2の半導体チップのそれぞれの最表面に形成された保護膜の少なくとも一方は、平面視で前記第1の半導体チップの一部のみと重なっている開口部を有しており、
前記開口部は、平面視で、前記複数の第1のバンプ及び前記複数の第2のバンプが形成されているバンプ形成領域を内側に含んでおり、かつ前記第1の半導体チップの一方の端部から他方の端部まで延伸していることを特徴としている。
本発明の半導体装置によれば、第1の半導体チップ、電子部品のいずれか一方の保護膜上のバンプ形成領域近傍に、第1の半導体チップおよび前記電子部品の間にアンダーフィル樹脂を流し込むための開口部を設けることによって、バンプ形成領域においてアンダーフィル樹脂が流れやすくなるので、半導体チップと電子部品との間に封止されるアンダーフィル樹脂中のボイドの発生を抑制することができる。
この半導体装置において、開口部を、バンプ形成領域を経由するとともに、この開口部が設けられた半導体チップまたは電子部品の一方の端部から他方の端部まで設けることができる。
この構成によって、バンプ形成領域においてアンダーフィル樹脂がさらに流れやすくなるので、半導体チップと電子部品との間に封止されるアンダーフィル樹脂中のボイドがさらに発生しにくくなる。
また、開口部を、バンプ形成領域を経由するとともに、この開口部が設けられた半導体チップまたは電子部品の相手方の一方の端部から他方の端部までの領域に対応する領域よりも大きい範囲で設けるようにしてもよく、半導体チップおよび電子部品の両方に開口部を設けてもよい。
この構成によって、バンプ形成領域においてアンダーフィル樹脂がさらに流れやすくなるので、半導体チップと電子部品との間に封止されるアンダーフィル樹脂中のボイドがさらに発生しにくくなる。
本発明によれば、バンプ電極によって接続される半導体チップおよび電子部品の間に封止されるアンダーフィル樹脂中においてボイドの発生を抑止した半導体装置を提供することができる。
以下、本発明に係る半導体装置の製造方法の実施形態について、図面を参照しながら詳細に説明する。
なお、図面の説明においては、同一要素には同一符号を付し、重複する説明を省略する。
(第一実施形態)
図1は、第一実施形態にかかる半導体装置の要部を示す図である。図1(a)は第1の半導体チップの接合前のバンプ形成領域近傍を拡大して示す平面図であり、図1(b)は電子部品としての第2の半導体チップの接合前のバンプ形成領域近傍を拡大して示す平面図である。
本実施形態の半導体装置は、表面にバンプを有する第1の半導体チップ10および表面にバンプを有する電子部品としての第2の半導体チップ20のそれぞれのバンプ形成面を対向させて形成される半導体装置において、第1の半導体チップ10および前記電子部品のそれぞれの最表面に形成された保護膜である絶縁膜14,24の少なくとも一方の中であって、バンプ形成領域12,22の近傍に、第1の半導体チップ10と第2の半導体チップ20との間にアンダーフィル樹脂を流し込むための開口部16,26を設けたものである。
第1の半導体チップ10および第2の半導体チップ20は、図示しないが素子形成領域(不図示)およびバンプ形成領域12,22を有し、それら領域を覆うように、層間絶縁膜(不図示)が設けられて、さらにポリイミドなどの絶縁膜14,24を設けたものである。
図1(a)に示したように、開口部16はバンプ形成領域12を経由するとともに、開口部16が設けられた第1の半導体チップ10の一方の端部から他方の端部まで設けられるものである。一方、図1(b)に示したように、開口部26はバンプ形成領域22を経由するとともに、開口部26が設けられた第2の半導体チップ20の相手方である第1の半導体チップ10の一方の端部から他方の端部までの領域に対応する領域よりも大きい範囲で設けられるものである。また、第1の半導体チップ10は、第2の半導体チップ20の素子搭載領域28において、互いのバンプ形成領域12,22を重ね合わせるようにして接続される。
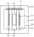
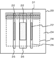
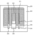
図2は、本実施形態の半導体装置において両半導体チップ同士を接続してCOC構造としたときの要部を示す平面図である。図2において、半導体装置は、第2の半導体チップ20の上の素子搭載領域28上に、バンプ形成面が対向するように、第1の半導体チップ10が搭載されており、アンダーフィル樹脂30によって封止されているバンプ形成領域32と、アンダーフィル樹脂30によって封止されている開口部36とを有している。また、図3(a)は図2のCOC構造におけるA−A’断面図であり、図3(b)は図2のCOC構造におけるB−B’断面図である。
このCOC構造において、第1の半導体チップ10および第2の半導体チップ20の間には、アンダーフィル樹脂30が封止される。より詳細には、図3(a)および図3(b)に示したように、第1の半導体チップ10の絶縁膜14と第2の半導体チップ20の絶縁膜24との間はアンダーフィル樹脂30によって封止される。また、第1の半導体チップ10の開口部16および第2の半導体チップ20の開口部26の両方で重なることにより形成される開口部36では、前記バンプ形成領域12,22においては第1の半導体チップ10に形成されるバンプ13および第2の半導体チップ20に形成されるバンプ23が対向するとともに、バンプが形成されない部分では空間ができるため、アンダーフィル樹脂30が封止される。図3(a)において、バンプ23は、2列、3列、2列の構成で配列されているが、特にこの配列に限定されるわけではなく、必要に応じて所望の配列で構成することができる。
ここで、バンプ同士が接続された第1の半導体チップ10および第2の半導体チップ20の間へのアンダーフィル樹脂30の封止について説明する。
図4〜図7は、アンダーフィル樹脂が封入される様子を段階的に示す図である。なお、図中では、説明を簡略するために、第1の半導体チップ10の表記を省略して、第2の半導体チップ20の表面に樹脂を流し込むように表記するが、実際には第1の半導体チップ10側でも同様に樹脂が流れ込んでいく。
図4では、樹脂31が素子搭載領域28の一つの端部の絶縁膜に設けられる樹脂流入部に塗布され、樹脂の導入が開始される。なお、この際、樹脂31が溶融状態になる程度に加熱することで樹脂31の流し込みが容易になる。図5では、樹脂31が毛細管現象により素子搭載領域28の反対側の端部に向かって流れ出し、絶縁膜24の表面および開口部26には樹脂31が充填していく。図6では、樹脂31はバンプ形成領域22にも流動し、さらに素子搭載領域28内の絶縁膜24および開口部26を樹脂31が充填していく。図7では、樹脂31が素子搭載領域28全体を充填して、樹脂の導入は終了し、この樹脂を加熱硬化処理することによりアンダーフィル樹脂30になる。
なお、樹脂31が素子搭載領域28の中を流動する際に、特にバンプ配列間隔が狭ピッチである場合に、開口部26の樹脂の進行方向の下流側に空気が残存することがあるが、開口部26の端部が素子搭載領域28の内部に埋もれているのではなく、素子搭載領域28の端部まで到達しており、第1および第2の半導体チップの接続面の端部に対して開放状態にあるため、この空気は加熱硬化処理する前に、脱法処理、例えば真空脱法処理を行うことで容易に取り除くことができる。また、図示しないが、第1の半導体チップ10の開口部16の中に空気が閉じこめられたときも同様に、この空気を加熱硬化処理前の脱法処理にて容易に取り除くことができる。
上述した本実施形態の構成によって、バンプ形成領域においてアンダーフィル樹脂が流れやすくなるので、半導体チップと電子部品との間に封止されるアンダーフィル樹脂中のボイドの発生を抑制することができる。
(第二実施形態)
図8は、第二実施形態にかかる半導体装置の要部を示す図である。図8(a)は第1の半導体チップの接合前のバンプ形成領域近傍を拡大して示す平面図であり、図8(b)は電子部品としての第2の半導体チップの接合前のバンプ形成領域近傍を拡大して示す平面図である。
本実施形態の半導体装置では、前記第一実施形態にかかる半導体装置において、図8(a)に示した第1の半導体チップ10の絶縁膜14の中に設けられた開口部17が、バンプ形成領域12を経由して第1の半導体チップ10の端部から端部まで設けられているのではなく、バンプ形成領域12の上のみに設けられた以外は、第2の半導体チップ20などの他の構成およびアンダーフィル樹脂の封止は第一実施形態と同様である。
このように構成しても、図8(b)に示したように、第2の半導体チップ20に形成された開口部26が、バンプ形成領域22を経由するとともに、この開口部26が設けられた第2の半導体チップ20の相手方、すなわち第1の半導体チップ10の一方の端部から他方の端部よりも大きい範囲で設けられている。したがって、開口部26の端部が素子搭載領域28の内部に埋もれているのではなく、素子搭載領域28の端部まで到達しており、第一実施形態と同様に、第1および第2の半導体チップの接続面の端部に対して開放状態にあるため、開口部17,26のいずれの領域において空気が閉じこめられたとしても、この空気は加熱硬化処理する前に、脱法処理、例えば真空脱法処理を行うことで容易に取り除くことができる。また、第一実施形態の半導体装置と比べて、保護膜となる絶縁膜の開口部分が小さくなるため、保護される面積を増やすことができ、半導体装置の信頼性がさらに向上する。
(第三実施形態)
図9は、第三実施形態にかかる半導体装置の要部を示す図である。図9(a)は第1の半導体チップの接合前のバンプ形成領域近傍を拡大して示す平面図であり、図9(b)は電子部品としての第2の半導体チップの接合前のバンプ形成領域近傍を拡大して示す平面図である。
本実施形態の半導体装置では、前記第一実施形態にかかる半導体装置において、図9(b)に示した第2の半導体チップ20の絶縁膜24の中に設けられた開口部27が、バンプ形成領域22を経由して、相手方である第1の半導体チップ10(図9(a))の端部から端部までより大きな幅で設けられているのではなく、バンプ形成領域22の上のみに設けられた以外は、第1の半導体チップ10などの他の構成およびアンダーフィル樹脂の封止は第一実施形態と同様である。
このように構成しても、第1の半導体チップ10に形成された開口部16が、バンプ形成領域12を経由するとともに、この開口部16が設けられた第1の半導体チップ10の一方の端部から他方の端部までの範囲で設けられているため、開口部16の端部が第2の半導体チップ20の素子搭載領域28の内部に埋もれているのではなく、素子搭載領域28の端部まで到達することになり、第一実施形態と同様に、第1および第2の半導体チップの接続面の端部に対して開放状態にあるため、開口部16,27のいずれの領域において空気が閉じこめられたとしても、この空気は加熱硬化処理する前に、脱法処理、例えば真空脱法処理を行うことで容易に取り除くことができる。また、第一実施形態の半導体装置と比べて、保護膜となる絶縁膜の開口部分が小さくなるため、保護される面積を増やすことができ、半導体装置の信頼性がさらに向上する。
本発明によれば、微細で狭ピッチなバンプ配列を持ち、均一な速度でアンダーフィル樹脂を充填することが困難なCOC構造を有する半導体装置であっても、接続する半導体チップおよび電子部品の間に封止されるアンダーフィル樹脂中においてボイドの発生を抑止した半導体装置を提供することができる。
なお、前述した実施形態では、第1の半導体チップとは異なる第2の半導体チップを電子部品として含み、かつ、半導体チップ同士でCOC構造を形成する半導体装置について説明したが、これに限定されるものではなく、一方が半導体チップ以外の電子部品、例えば電極を備えたインターポーザ、回路基板などのバンプが表面に形成され、最表面に保護膜が形成されるものと、半導体チップとの積層構造で形成される半導体装置においても、同様の効果が得られる。
第一実施形態にかかる半導体装置の要部を示す図である。 本実施形態の半導体装置において両半導体チップ同士を接続してCOC構造の要部を示す平面図である。 図2のCOC構造におけるA−A’およびB−B’断面図である。 アンダーフィル樹脂が封入される様子を示す図である。 アンダーフィル樹脂が封入される様子を示す図である。 アンダーフィル樹脂が封入される様子を示す図である。 アンダーフィル樹脂が封入される様子を示す図である。 第二実施形態にかかる半導体装置の要部を示す図である。 第三実施形態にかかる半導体装置の要部を示す図である。
符号の説明
10 第1の半導体チップ
12 バンプ形成領域
13 バンプ
14 絶縁膜
16,17 開口部
20 第2の半導体チップ
22 バンプ形成領域
23 バンプ
24 絶縁膜
26.27 開口部
28 素子搭載領域
30 アンダーフィル樹脂
31 樹脂
32 バンプ形成領域
36 開口部

Claims (3)

  1. 表面に多行多列に配列された複数の第1のバンプを有する第1の半導体チップおよび表面に多行多列に配列された複数の第2のバンプを有する第2の半導体チップのそれぞれのバンプ形成面を対向させて形成される半導体装置において、
    前記第2の半導体チップは前記第1の半導体チップよりも平面形状が大きく、
    前記第1の半導体チップおよび前記第2の半導体チップのそれぞれの最表面に形成された保護膜の少なくとも一方は、平面視で前記第1の半導体チップの一部のみと重なっている開口部を有しており、
    前記開口部は、平面視で、前記複数の第1のバンプ及び前記複数の第2のバンプが形成されているバンプ形成領域を内側に含んでおり、かつ前記第1の半導体チップの一方の端部から他方の端部まで延伸していることを特徴とする半導体装置。
  2. 請求項1に記載の半導体装置において、
    前記第1の半導体チップに前記開口部が形成されている半導体装置。
  3. 請求項1または2に記載の半導体装置において、
    前記第2の半導体チップに前記開口部が形成されており、
    前記第2の半導体チップに形成された前記開口部は、平面視で前記第1の半導体チップの外側まで延伸していることを特徴とする半導体装置。
JP2005082374A 2005-03-22 2005-03-22 半導体装置 Expired - Fee Related JP4502204B2 (ja)

Priority Applications (2)

Application Number Priority Date Filing Date Title
JP2005082374A JP4502204B2 (ja) 2005-03-22 2005-03-22 半導体装置
US11/378,651 US7205669B2 (en) 2005-03-22 2006-03-20 Semiconductor device

Applications Claiming Priority (1)

Application Number Priority Date Filing Date Title
JP2005082374A JP4502204B2 (ja) 2005-03-22 2005-03-22 半導体装置

Publications (2)

Publication Number Publication Date
JP2006269541A JP2006269541A (ja) 2006-10-05
JP4502204B2 true JP4502204B2 (ja) 2010-07-14

Family

ID=37034368

Family Applications (1)

Application Number Title Priority Date Filing Date
JP2005082374A Expired - Fee Related JP4502204B2 (ja) 2005-03-22 2005-03-22 半導体装置

Country Status (2)

Country Link
US (1) US7205669B2 (ja)
JP (1) JP4502204B2 (ja)

Families Citing this family (8)

* Cited by examiner, † Cited by third party
Publication number Priority date Publication date Assignee Title
US7994686B2 (en) * 2004-06-14 2011-08-09 Massachusetts Institute Of Technology Electrochemical methods, devices, and structures
EP1784890A4 (en) 2004-06-14 2010-04-07 Massachusetts Inst Technology ELECTROCHEMICAL PROCESSES, FACILITIES AND STRUCTURES
US8247946B2 (en) 2004-06-14 2012-08-21 Massachusetts Institute Of Technology Electrochemical actuator
US7872396B2 (en) 2004-06-14 2011-01-18 Massachusetts Institute Of Technology Electrochemical actuator
US20080124835A1 (en) * 2006-11-03 2008-05-29 International Business Machines Corporation Hermetic seal and reliable bonding structures for 3d applications
JP2012119368A (ja) * 2010-11-29 2012-06-21 Elpida Memory Inc 半導体装置の製造方法
WO2012083174A2 (en) 2010-12-17 2012-06-21 Massachusetts Institute Of Technology Electrochemical actuators
JP5954075B2 (ja) * 2012-09-21 2016-07-20 ソニー株式会社 半導体装置及び半導体装置の製造方法

Family Cites Families (12)

* Cited by examiner, † Cited by third party
Publication number Priority date Publication date Assignee Title
JPH07112041B2 (ja) * 1986-12-03 1995-11-29 シャープ株式会社 半導体装置の製造方法
JP2571024B2 (ja) * 1994-09-28 1997-01-16 日本電気株式会社 マルチチップモジュール
JP2825083B2 (ja) * 1996-08-20 1998-11-18 日本電気株式会社 半導体素子の実装構造
US5898223A (en) * 1997-10-08 1999-04-27 Lucent Technologies Inc. Chip-on-chip IC packages
JPH11284032A (ja) * 1998-03-26 1999-10-15 Ricoh Co Ltd フリップチップ接続方法とフリップチップ接続構造
JP2000311921A (ja) * 1999-04-27 2000-11-07 Sony Corp 半導体装置およびその製造方法
JP3520976B2 (ja) * 2000-01-18 2004-04-19 カシオマイクロニクス株式会社 半導体装置の接合構造
US6555917B1 (en) * 2001-10-09 2003-04-29 Amkor Technology, Inc. Semiconductor package having stacked semiconductor chips and method of making the same
JP2003324182A (ja) * 2002-04-30 2003-11-14 Fujitsu Ltd フリップチップ接合方法及びフリップチップ接合構造
JP2005085931A (ja) * 2003-09-08 2005-03-31 Nec Semicon Package Solutions Ltd 半導体チップ及びその実装回路基板
TWI273664B (en) * 2004-03-26 2007-02-11 Advanced Semiconductor Eng Bumping process, bump structure, packaging process and package structure
JP4971769B2 (ja) * 2005-12-22 2012-07-11 新光電気工業株式会社 フリップチップ実装構造及びフリップチップ実装構造の製造方法

Also Published As

Publication number Publication date
US7205669B2 (en) 2007-04-17
US20060214275A1 (en) 2006-09-28
JP2006269541A (ja) 2006-10-05

Similar Documents

Publication Publication Date Title
JP3797992B2 (ja) 半導体装置
CN108231716B (zh) 封装结构及其制造方法
JP4441545B2 (ja) 半導体装置
US9318460B2 (en) Substrate and assembly thereof with dielectric removal for increased post height
JP2014045051A (ja) 電子部品内蔵基板及びその製造方法
TWI550737B (zh) 晶片封裝體及其製造方法
JP4536603B2 (ja) 半導体装置の製造方法及び半導体装置用実装基板及び半導体装置
KR20210001929U (ko) 칩 패키지 구조 및 그 회로 기판
JP4740765B2 (ja) 半導体装置及びその製造方法
JP4502204B2 (ja) 半導体装置
CN105374777A (zh) 倒装芯片封装件及其制造方法
TWI575672B (zh) 晶片封裝體及其製造方法
JP4899406B2 (ja) フリップチップ型半導体装置
TW201719828A (zh) 半導體裝置
JP4435187B2 (ja) 積層型半導体装置
JP2005085931A (ja) 半導体チップ及びその実装回路基板
KR100963151B1 (ko) 반도체 패키지 몰딩용 금형 및 이를 이용한 몰딩 방법
JP4324773B2 (ja) 半導体装置の製造方法
JP4128945B2 (ja) 半導体装置
JP2007103733A (ja) 基板およびそれを用いた半導体装置
JP2007189005A (ja) 半導体装置の実装構造
JP5284125B2 (ja) 半導体装置およびその製造方法
CN100521170C (zh) 电路组件
JP2004228117A (ja) 半導体装置および半導体パッケージ
JP2006229018A (ja) テープキャリア基板およびその製造方法および半導体装置

Legal Events

Date Code Title Description
A621 Written request for application examination

Free format text: JAPANESE INTERMEDIATE CODE: A621

Effective date: 20071217

A977 Report on retrieval

Free format text: JAPANESE INTERMEDIATE CODE: A971007

Effective date: 20091118

A131 Notification of reasons for refusal

Free format text: JAPANESE INTERMEDIATE CODE: A131

Effective date: 20091124

A521 Request for written amendment filed

Free format text: JAPANESE INTERMEDIATE CODE: A523

Effective date: 20100122

TRDD Decision of grant or rejection written
A01 Written decision to grant a patent or to grant a registration (utility model)

Free format text: JAPANESE INTERMEDIATE CODE: A01

Effective date: 20100323

A01 Written decision to grant a patent or to grant a registration (utility model)

Free format text: JAPANESE INTERMEDIATE CODE: A01

A61 First payment of annual fees (during grant procedure)

Free format text: JAPANESE INTERMEDIATE CODE: A61

Effective date: 20100414

R150 Certificate of patent or registration of utility model

Free format text: JAPANESE INTERMEDIATE CODE: R150

FPAY Renewal fee payment (event date is renewal date of database)

Free format text: PAYMENT UNTIL: 20130430

Year of fee payment: 3

FPAY Renewal fee payment (event date is renewal date of database)

Free format text: PAYMENT UNTIL: 20140430

Year of fee payment: 4

S531 Written request for registration of change of domicile

Free format text: JAPANESE INTERMEDIATE CODE: R313531

R350 Written notification of registration of transfer

Free format text: JAPANESE INTERMEDIATE CODE: R350

LAPS Cancellation because of no payment of annual fees