JP4472968B2 - ロック付きルースリーフ綴具 - Google Patents

ロック付きルースリーフ綴具 Download PDF

Info

Publication number
JP4472968B2
JP4472968B2 JP2003387673A JP2003387673A JP4472968B2 JP 4472968 B2 JP4472968 B2 JP 4472968B2 JP 2003387673 A JP2003387673 A JP 2003387673A JP 2003387673 A JP2003387673 A JP 2003387673A JP 4472968 B2 JP4472968 B2 JP 4472968B2
Authority
JP
Japan
Prior art keywords
locking
operating member
substrate
binding
finger
Prior art date
Legal status (The legal status is an assumption and is not a legal conclusion. Google has not performed a legal analysis and makes no representation as to the accuracy of the status listed.)
Expired - Lifetime
Application number
JP2003387673A
Other languages
English (en)
Other versions
JP2005144928A (ja
Inventor
浩士 金田
Original Assignee
金田 克己
Priority date (The priority date is an assumption and is not a legal conclusion. Google has not performed a legal analysis and makes no representation as to the accuracy of the date listed.)
Filing date
Publication date
Application filed by 金田 克己 filed Critical 金田 克己
Priority to JP2003387673A priority Critical patent/JP4472968B2/ja
Priority to US10/803,423 priority patent/US7134800B2/en
Priority to CNB2004100346364A priority patent/CN100446994C/zh
Priority to EP04291884A priority patent/EP1533136A1/en
Publication of JP2005144928A publication Critical patent/JP2005144928A/ja
Application granted granted Critical
Publication of JP4472968B2 publication Critical patent/JP4472968B2/ja
Anticipated expiration legal-status Critical
Expired - Lifetime legal-status Critical Current

Links

Images

Classifications

    • BPERFORMING OPERATIONS; TRANSPORTING
    • B42BOOKBINDING; ALBUMS; FILES; SPECIAL PRINTED MATTER
    • B42FSHEETS TEMPORARILY ATTACHED TOGETHER; FILING APPLIANCES; FILE CARDS; INDEXING
    • B42F13/00Filing appliances with means for engaging perforations or slots
    • B42F13/16Filing appliances with means for engaging perforations or slots with claws or rings
    • B42F13/20Filing appliances with means for engaging perforations or slots with claws or rings pivotable about an axis or axes parallel to binding edges
    • B42F13/22Filing appliances with means for engaging perforations or slots with claws or rings pivotable about an axis or axes parallel to binding edges in two sections engaging each other when closed
    • B42F13/26Filing appliances with means for engaging perforations or slots with claws or rings pivotable about an axis or axes parallel to binding edges in two sections engaging each other when closed and locked when so engaged, e.g. snap-action

Landscapes

  • Sheet Holders (AREA)
  • Clamps And Clips (AREA)

Description

本発明は操作部材により綴環を弾発的に開閉する型のルースリーフ綴具に関し、さらに詳しくは輸送、展示、保管の際に誤って綴環が解放してルースリーフがはずれる事故をなくすためのロック付きルースリーフ綴具に関する。
輸送、積み替え、展示、保管等の作業中に加わる振動あるいは衝撃により、綴環が誤って開きルースリーフが脱落する事故がしばしば経験される。このような事故をなくすために本発明者はロック付きルースリーフ綴具を特公平5−88680号公報により提案した。簡単に述べると、同公報の綴具は図1〜4に示したように相互に衝合し得る複数の半環状の綴環3、4をそれぞれ有し且つ内辺で互いに衝合した第1基板1及び第2基板2と、両基板1、2の両外辺を拘束して基板1、2の弾発的な上下運動による綴環3、4の開閉を許容する金属製弾性さや7と、両基板1、2の一端部において第1及び第2基板1、2にそれぞれ取り付けられ互いに交差して形成されている指掛け部17を有する第1操作部材10及び指掛け部16を有する第2操作部材11とを有し、第1操作部材10は第1基板1に固定され、第2操作部材11は第2基板2の下端隅の軸14に枢着され、前記第1操作部材10は係止突起15を有し、前記第2操作部材11はそのロック方向への枢動により係止突起15に係止できる一方、開環方向への枢動により係止突起15から解除できる係止部18’を有しているルースリーフ綴具である。
このロック付きの綴具では、両綴環を相互の方向に指で閉鎖した後、第2操作部材11を図4の状態から図1の状態に枢動させて係止突起15及び係止部を係止させておけば、ルースリーフを綴じたバインダーの輸送、積み替え、展示等の作業中に加わる振動あるいは衝撃により、綴環が誤って開きルースリーフが脱落するおそれがない一方、ルースリーフの差し替え等の際には、両操作部材10、11の指掛け部16、17に指を掛けて相互の方向に押して両基板1、2を下側位置から上方位置に移動させ、それにより綴環3、4を解放する際に、係止部18’は上記の指による押圧操作だけで係止突起15から外すことができるので操作性が良好である。
特公平5−88680号公報
ところが、上記のロック機構では、綴環の閉鎖の度に、第2操作部材11を指で押し下げることにより係止部18’を係止突起15に係止させる必要があり、面倒である。
また、上記のロック機構では、第2操作部材11が図1と図4の間で自由に枢動できるため、輸送中等において比較的小さい外力が加わるとロックが外れてしまう問題がある。これに対処するには、係止突起15と係止片とを強く係合させるように設計しておくことが必要であるが綴環の閉鎖の度ごとに強い力で第2操作部材を強く押し下げ、また開放の度ごとに指掛け部16、17に大きい力を加えることが必要となり、望ましくない。
従って、本発明の課題は、綴環の閉鎖の際に自動的にロックがかかり、開放の際に自動的にロックが外れ、しかもロック解除動作に小さい力しか要らない操作性の良いロックを備えたルースリーフ綴具を提供することにある。
本発明のロック付き綴具は、相互に衝合し得る複数の半環状の綴環をそれぞれ有し且つ内辺で互いに衝合した第1基板及び第2基板と、前記両基板の両外辺を拘束して前記基板の弾発的な上下運動による前記綴環の開閉を許容する弾性さやと、前記第2基板の端部から前記第1基板の方へ斜め上方に延び、上端部に第指掛け部を有する第2操作部材と、前記第1基板の端部から前記操作部材に交差して斜め上方に延びる第1操作部材と、前記第1操作部材と前記第2操作部材との間に介在し、前記綴環の閉鎖時に前記第1及び第2操作部をロックするロック部材とを含み、
前記ロック部材は、前記第1操作部材に枢着された枢着部と、前記第2操作部材の係止凹所に係止して前記第2操作部材の移動を阻止する係止突起と、前記第1基板の上面に当接していて前記係止突起を前記係止凹所に向けて付勢している弾性部と、前記第2指掛け部に対向する位置に設けた第1指掛け部とを一体に有する部材よりなり、前記綴環が閉鎖した状態では綴環に加わる開放力に対しては前記両基板の移動を阻止し、前記両指掛け部を相互の方向に押したときに前記弾性部の弾性に抗して前記係止突起を第2操作部から外し次いで両基板を前記綴環の開放方向に開放させるようにした、ルースリーフ綴具を提供する。
本発明の好ましい形態では、前記第2操作部材の前記係止凹所は、前記第2操作部材の移動を阻止する位置に設けられた第1面と前記弾性部の作用下に前記係止突起が係止する第2面とを有し、前記綴環が閉鎖した状態では、前記綴環を開く方向の外力に対しては係止突起先端が前記第1面に係合して第1操作部の移動を阻止し、前記両操作部材を相互方向に押したときには前記係止突起が前記枢着部を中心にして回動して前記係止凹所から外れるようになっている。
本発明の好ましい他の形態では、前記係止突起と前記弾性部は前記枢着部の方からほぼ平行に延びている。
本発明の好ましい更に他の形態では、前記弾性部は係止突起から離間する弧状基部を有している。
上記した本発明の綴具のロック部材は、前記第1操作部材に枢着された枢着部と、前記第2操作部材の係止凹所に係止して前記第2操作部材の移動を阻止する係止突起と、前記第1基板の上面に当接していて前記係止突起を前記係止凹所に向けて付勢している弾性部と、前記第2指掛け部に対向する位置に設けた第1指掛け部とを一体に有する部材よりなる。このロック部材の枢着部は第1操作部材の内面に設けた軸に枢着されている。或いは枢着部は軸からなり、第1操作部材に形成した軸孔に枢着されていても良い。
この構成によると、綴環の開放状態から綴環を指により相互方向に押圧すると、第1基板及び第2基板は弾性さやにより支持されたそれらの外縁部を支点として下方へ弾発移動するので左右の綴環が互いに衝合して閉じると共に、ロック部材の係止突起が第1操作部材の係止凹所の下に整列するに至り、弾性部からの弾性により係止凹所に嵌まり自動的にロックする。係止突起は上記弾性偏倚を受けているから輸送中などで衝撃を受けてもロックは外れない。
前記綴環が閉鎖した状態では、綴環を開放する方向に作用する外力に対しては、係止突起は係止凹所の壁面に抵抗することによりロック状態を維持する。
この状態から綴環を開く際には、両指掛け部を相互の方向に押すと、弾性部の弾性に抗して係止突起は第2操作部の係止凹所から外れ、次いで更に両指掛けを押し続けると第1及び第2操作部材が相互の方向に押されるので、それに伴い両基板が基板上方に押され弾発的に上方位置に移動して綴環が開放される。
このように、ロック施錠及び解除は綴具の通常の開閉操作に従って自動的に行われる便利さがある。
また、好ましくは、前記第2操作部材の前記係止凹所は、前記第2操作部材の移動を阻止する位置に設けられた第1面と前記弾性部の作用下に前記係止突起が係止する第2面とを有し、前記綴環が閉鎖した状態では、前記綴環を開く方向の外力に対しては係止突起先端が前記第1面に係合して第1操作部の移動を阻止し、前記両操作部材を相互方向に押したときには前記係止突起が前記枢着部を中心にして回動して前記係止凹所から外れるようになっている。
これによると、綴環閉鎖状態から綴環を開く作用(例えば綴じ込んだルースリーフの重みに外力が作用する場合など)を受けた場合に第1面の移動が係止突起との衝合により阻止されロック状態が保持される。その間、係止突起は第2面に弾性下に接触して係止されるのでロック状態を保持するのに役立つ。
一方綴環を開放する場合には、両指掛け部を互いの方向に押せば、枢着部を中心にして係止突起が弾性に抗して回動して第2面から離れ第1面に接触しない下方位置まで移動する。このように、この構成ではロックの施錠及び解除が容易に実行できる。
前記係止突起と前記弾性部は前記枢着部の方からほぼ平行に延びている構成では、弾性が係止突起が延びる方向に対して直角に加わるので上記の必要な弾性作用を得ることができる。また、前記弾性部が係止突起から離間する方向に膨出する弧状基部を有していると、ロック部材のうちばね部分を構成する部分が長くなり加わる応力が分散されロック部材の長期使用が可能になる。
次に、図面を参照して本発明の実施例により本発明の実施の形態を詳しく説明する。なお、理解を容易にするために図1〜4に示した従来例の部材と同様な部材は同一の参照数字で示す。
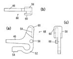
図5は本発明によるロック部材を備えたルースリーフ綴具の平面図、図6は左側面図、図7は正面図である。
図8はロック部材を有する閉鎖状態の綴具端部の拡大正面図であり、図11は同端部の開放状体での拡大正面図である。
内辺で互いに衝合した細長い第1基板1及び第2基板2は、相互に衝合し得る複数の半環状の綴環3、4をそれぞれ一体に有し、両基板1、2の両外辺21、22(図8(a))にはそれらを拘束して基板1、2の弾発的な上下運動による綴環3、4の開閉を許容する弾性さや7が取り付けられる。基板1、2の下方への移動は図8(a)のように綴環3、4が互いに衝合することにより制限される。これが綴環3、4の閉鎖状態である。両外辺を枢軸とする基板1、2の上方への移動は図11、図12(a)、図13(a)のように基板1、2の底面の突合わせ内辺に沿って交互に設けた複数のストッパー部材18、19により制限される。これは綴環3、4の開放状態に相当する。
第1基板1及び第2基板2の長手方向両端部には、第1操作部材10及び第2操作部材11がそれぞれ一体成型で固定されており、これらの操作部材は両基板1、2の長手方向(軸線方向)に対してほぼ直角に伸び且つ互いに交差している。なお各基板の外辺には図8(a)のように凸縁21、22が形成され弾性さや7をそこに挿通して組み立てられるようになっている。
次に図8〜15を参照して本発明のロック機構を説明する。ロック部材は綴具の少なくとも一方の端部に設けられるが、同一又は対称構造なので一端部についてのみ説明する。
図8〜11は本発明のロック機構を有する綴具を示し、そのうち、図9〜10はその動作を説明する図である。
図12はロック機構の一部を備えた第1基板の端部の構造を示し、(a)は正面図、(b)は平面図、及び(c)は右側面図である。
図13はロック機構の他の一部を備えた第2基板の端部の構造を示し、(a)は正面図、(b)は平面図、及び(c)は右側面図である。
図14はロック部材の斜視図である。
図15はロック部材の構造を示し、(a)は正面図、(b)は平面図、及び(c)は右側面図である。
図8を参照するに、第1操作部材10及び第2操作部材11の間に本発明の特徴を備えたロック部材44が配置される。第1操作部材10の上端部は作動突起34を形成し、第2操作部材11の上端部は指掛け部20を構成している。ロック部材44の上部外側の部分は指掛け部58を形成している。第1操作部材10及び第2操作部材11は基板1、2の長手方向にずらして近接状態に配置され、それらの間に形成される隙間にロック部材44が配置される。
指掛け部20と58を相互方向に押圧すると、先ず後述のように第2操作部材11からロックが外れ、次いで更に押圧すると作動突起34も指掛け部58により押されるので基板1、2は上方へ弾発移動して綴環を開く。逆に左右の綴環を指で相互方向へ押すと基板1、2は下方へ移動して綴じ、その際に第2操作部材11に対して自動的にロックがかかる。この動作は詳しくは後で説明する。
第1操作部材の部分の構造
図12を参照して第1操作部材10のロック機構に関連した部分を説明するに、図12(a)のように第1操作部材10の右側辺部近傍には、ロック部材44の軸56を受ける軸孔32が形成されている。またその上端部にはロック部材44の指掛け部58を介して指の力を受けるための作動突起34が設けてある。第1操作部材10に隣接する部分において第1基板1には、ロック部材44の弾性部の当接部54が当接する保持面36が形成されている。
第2操作部材の部分の構造
図13を参照して第2操作部材11のロック機構に関連した部分を説明するに、図18のようにロック部材44の係止突起46の先端と係止して綴環が開放しないように阻止するための第1面40と、弾性部52により偏倚される係止突起46の側面と接触してロック状態を維持するための第2面42とを有する係止凹所38を備えている。
ロック部材の構造
図14〜15を参照してロック部材44の構造を説明する。ロック部材44は第1操作部材10に設けた軸孔32に嵌合する軸56を有し、この軸を中心にして枢動するほぼ板状の部材であり、強靱な合成樹脂等で一体に成型されている。(別法として軸56の代わりに軸孔とし、第1操作部材10側にこれに嵌合する軸を設けても良い。)
ロック部材44は、第2操作部材11の係止凹所38の第1面40に係止して第2操作部材11の移動を阻止する係止突起46と、第1基板1の上面に設けた保持面36に当接部54で当接して係止突起46を係止凹所に向けて付勢する弾性部52と、第2指掛け部20に対向する位置に設けた第1指掛け部58とを一体に有する。第1操作部材10に設けた作動突起34を覆うために指掛け部58にはカバー部60を設けても良い。カバー部60の内壁59と作動突起34(図8(a)において作動突起34の右縁)との間には間隙62を設け、指掛け部20、58を相互方向に押して係止突起46を係止凹所38から外したときに、カバー部60の内壁が作動突起34に係合し、それを第1操作部材10に伝達して綴環の開放を行うようにする。なお、これを使用しなくてもロックを外すことは可能であるが、その場合にはロック部材44の弾性部52が必要以上に変形することによりロック部材の耐用寿命が縮まる。
ルースリーフ等から及ぼされる望ましくない綴環開放力は、第2操作部材11の係止凹所38を経て係止突起46の係止端48に加わるが、係止突起46は固定されている軸56にほぼ直角に加わるので、第2操作部材11は移動できず、ロックは維持される。
係止突起46の先端上面は係止凹所38の対向壁面に接触するように常時弾性部52により上方へ付勢されている。係止突起46と弾性部52はスロット50を挟んでほぼ平行に配置されている。弾性部52の応力集中を避けて寿命を延ばすために弾性部52は大きい弧状基部53を有する。
ロック部材44を組み込んだ綴具端部を示す図である図8、図11及びロック機構の作動状態を示す図である図9及び10を参照する。
綴環の閉鎖状態を示す図8において、ロック部材44の軸56は第1操作部材10の軸孔32にはまり、係止突起46の先端は第2操作部材11の係止凹所38に係止し、弾性部52の当接部54は第1操作部材10の基板1に形成されている保持面36に当接して弾性力により係止突起46を係止凹所38内に維持している。この状態で左右綴環3、4を開放する方向の外力が加わってもロック部材44の係止突起46により第2操作部材11の係止凹所38から外れることが無くロックは維持され、ルースリーフの脱落は防止できる。
次に左右綴環3、4を開放したい場合には、単純に指掛け部20、58を相互の方向に押す。すると図9のように係止突起46は弾性部52から受ける弾性に抗して軸56の周りに回動して係止凹所38から外れる。このとき指掛け部58は第1操作部材10の作動突起34に係合しているので、そのまま押すとこれらの第1及び第2操作部材10、11を介して両基板1、2が上方に移動しはじめ、最後にさや7の弾性により弾発的に上方に移動して綴環3、4を開く。この状態が図10及び図11である。
逆に図11において綴環3、4を相互の方向に押すと、基板1、2は弾性部52から常時作用している偏倚力により図11の状態から図8の状態に自然に戻りロックが自動的にかかる。
以上のように本発明の綴具によると、綴環の開閉状態から閉鎖状態に綴環を閉じると自然にロックがかかり、綴環に加わる望まない外力により綴環が開く問題が無くなり、綴環を開放させるように指掛け部を操作する場合にはロックが容易に外れて綴環を容易に開放することができる。
従来の綴具の正面図である。 従来の綴具の端部の平面図である。 図2のB−B線断面図である。 従来の綴具のロックを外した状態を示す図1と同様な正面図である。 本発明によるロック機構を備えたルースリーフ綴具の平面図である。 本発明によるロック機構を備えたルースリーフ綴具の左側面図である。 本発明によるロック機構を備えたルースリーフ綴具の正面図である。 本発明のロック機構を有する綴具の拡大図であり、(a)は正面図、(b)は平面図、及び(c)は右側面図である。 本発明のロック機構を有する綴具のロックを解除して綴じ環を開放する動作を示す図である。 図9の段階に続く本発明のロック機構の解除動作を示す図である。 本発明の綴具の綴じ環を開放した状態を示す図である。 本発明のロック機構の一部を備えた第1基板の端部の構造を示す図であり、(a)は正面図、(b)は平面図、及び(c)は右側面図である。 本発明のロック機構の他の一部を備えた第2基板の端部の構造を示す図であり、(a)は正面図、(b)は平面図、及び(c)は右側面図である。 本発明のロック部材の斜視図である。 本発明のロック部材の構造を示す図であり、(a)は正面図、(b)は平面図、及び(c)は右側面図である。
符号の説明
1 第1基板
2 第2基板
3、4 綴環
7 弾性さや
10 第1操作部材
11 第2操作部材
15 係止突起
18 係止部
20 指掛け部
21、22 凸縁
32 軸孔
34 作動突起
36 保持面
38 係止凹所
40 第1面
42 第2面
44 ロック部材
46 係止突起
48 係止端
50 スロット
52 弾性部
53 弧状基部
54 当接部
56 枢着部(軸)
58 第1指掛け部
59 内壁
60 カバー部
62 間隙

Claims (4)

  1. 相互に衝合し得る複数の半環状の綴環(3、4)をそれぞれ有し且つ内辺で互いに衝合した第1基板(1)及び第2基板(2)と、前記両基板の両外辺を拘束して前記基板の弾発的な上下運動による前記綴環の開閉を許容する弾性さや(7)と、前記第2基板(2)の端部から前記第1基板(1)の方へ斜め上方に延び、上端部に第指掛け部を有する第2操作部材(11)と、前記第1基板の端部から前記操作部材に交差して斜め上方に延びる第1操作部材(10)と、前記第1操作部材(10)と前記第2操作部材(11)との間に介在し、前記綴環の閉鎖時に前記第1及び第2操作部をロックするロック部材(44)とを含み、
    前記ロック部材(44)は、前記第1操作部材(10)に枢着された枢着部(56)と、前記第2操作部材(11)の係止凹所(38)に係止して前記第2操作部材(11)の移動を阻止する係止突起(46)と、前記第1基板(1)の上面に当接していて前記係止突起(46)を前記係止凹所(38)に向けて付勢している弾性部(52)と、前記第2指掛け部(20)に対向する位置に設けた第1指掛け部(58)とを一体に有する部材よりなり、前記綴環(3、4)が閉鎖した状態では綴環に加わる開放力に対しては前記両基板(1、2)の移動を阻止し、前記両指掛け部(20、58)を相互の方向に押したときに前記弾性部(52)の弾性に抗して前記係止突起(46)を第2操作部材(11)から外し次いで両基板(1、2)を前記綴環の開放方向に移動させるようにした、ルースリーフ綴具。
  2. 前記第2操作部材(11)の前記係止凹所(38)は、前記第2操作部材(11)の移動を阻止する位置に設けられた第1面(40)と前記弾性部の作用下に前記係止突起(46)が係止する第2面(42)とを有し、前記綴環が閉鎖した状態では、前記綴環を開く方向の外力に対しては係止突起(46)の先端が前記第1面(40)に係合して第1操作部(10)の移動を阻止し、前記両操作部材(10、11)を相互方向に押したときには前記係止突起(46)が前記枢着部(56、32)を中心にして回動して前記係止凹所(38)から外れるようになっている請求項のルースリーフ綴具。
  3. 前記係止突起(46)と前記弾性部(52)は前記枢着部(56、32)の方から互いにほぼ平行に延びている請求項1又は2に記載のルースリーフ綴具。
  4. 前記弾性部(52)は弧状基部(53)を有している請求項3に記載のルースリーフ綴具。
JP2003387673A 2003-11-18 2003-11-18 ロック付きルースリーフ綴具 Expired - Lifetime JP4472968B2 (ja)

Priority Applications (4)

Application Number Priority Date Filing Date Title
JP2003387673A JP4472968B2 (ja) 2003-11-18 2003-11-18 ロック付きルースリーフ綴具
US10/803,423 US7134800B2 (en) 2003-11-18 2004-03-18 Loose-leaf binder with lock
CNB2004100346364A CN100446994C (zh) 2003-11-18 2004-04-13 带有锁定机构的活页夹
EP04291884A EP1533136A1 (en) 2003-11-18 2004-07-23 Loose-leaf binder with locking mechanism

Applications Claiming Priority (1)

Application Number Priority Date Filing Date Title
JP2003387673A JP4472968B2 (ja) 2003-11-18 2003-11-18 ロック付きルースリーフ綴具

Publications (2)

Publication Number Publication Date
JP2005144928A JP2005144928A (ja) 2005-06-09
JP4472968B2 true JP4472968B2 (ja) 2010-06-02

Family

ID=34431538

Family Applications (1)

Application Number Title Priority Date Filing Date
JP2003387673A Expired - Lifetime JP4472968B2 (ja) 2003-11-18 2003-11-18 ロック付きルースリーフ綴具

Country Status (4)

Country Link
US (1) US7134800B2 (ja)
EP (1) EP1533136A1 (ja)
JP (1) JP4472968B2 (ja)
CN (1) CN100446994C (ja)

Families Citing this family (9)

* Cited by examiner, † Cited by third party
Publication number Priority date Publication date Assignee Title
US7524127B2 (en) 2005-12-12 2009-04-28 Staples The Office Superstore, Llc Ring binder mechanism
US7527449B2 (en) 2005-12-12 2009-05-05 Staples The Office Superstore, Llc Ring binder mechanism
US7399136B2 (en) 2006-01-06 2008-07-15 Staples The Office Superstore Llc Molded binder
WO2008013037A1 (en) * 2006-07-25 2008-01-31 Lihit Lab., Inc. Binding fastener for file binder
US10086639B2 (en) 2013-03-15 2018-10-02 Hans Johann Horn Binder apparatus
CN104108258B (zh) * 2013-04-16 2017-07-18 国誉株式会社 装订用具以及文件夹
JP5805148B2 (ja) * 2013-07-08 2015-11-04 株式会社カネダ技研 ルーズリーフ綴じ具
KR102774877B1 (ko) * 2023-10-18 2025-02-27 카네다 컴퍼니 리미티드 링식 제본구
JP7402583B1 (ja) * 2023-10-18 2023-12-21 株式会社カネダ技研 リング式綴じ具

Family Cites Families (17)

* Cited by examiner, † Cited by third party
Publication number Priority date Publication date Assignee Title
US1800268A (en) * 1927-06-16 1931-04-14 Trussell Mfg Co Loose-leaf binder
US2183231A (en) * 1938-11-16 1939-12-12 Trussell Mfg Co Loose-leaf binder
US2381040A (en) * 1943-09-02 1945-08-07 Wilson Jones Co Loose-leaf binder
US2871863A (en) * 1956-09-24 1959-02-03 Wilson Jones Co Opening and closing levers for ring binders
US2907332A (en) * 1957-05-08 1959-10-06 Brock And Rankin Inc Loose-leaf binder with floating rings
FR1213489A (fr) * 1959-07-08 1960-04-01 Dispositif relieur à feuillets mobiles
US3205896A (en) * 1962-10-18 1965-09-14 Weichert Willi Fritz Carl Mechanism for a loose-leaf book
US3253603A (en) * 1963-09-16 1966-05-31 Gen Binding Corp Binding element
US3348550A (en) * 1966-01-06 1967-10-24 Feldco Major Inc Ring binder
US3827111A (en) * 1971-12-28 1974-08-06 Connell J O Fastening means for detachably securing together mating ends of a binder ring construction and the like
JPH0592687A (ja) * 1991-06-03 1993-04-16 Katsumi Kaneda バインダー綴具のロツク装置
JPH0799480B2 (ja) 1991-09-25 1995-10-25 株式会社三社電機製作所 複層消音材
US5346325A (en) * 1992-07-24 1994-09-13 Seiichi Yamanoi Paper holder having a locking device
JP2563056B2 (ja) * 1992-09-09 1996-12-11 克己 金田 開閉機構を有するバインダー綴具
JP2000118182A (ja) * 1998-10-19 2000-04-25 Katsumi Kaneda ロック付きルースリーフ綴具
JP2000211282A (ja) * 1999-01-26 2000-08-02 Kaneda Giken:Kk ロック付きル―スリ―フ綴具
JP2001239781A (ja) * 2000-02-25 2001-09-04 Onishi Shoko Kk バインダー綴具の製法

Also Published As

Publication number Publication date
JP2005144928A (ja) 2005-06-09
EP1533136A1 (en) 2005-05-25
US7134800B2 (en) 2006-11-14
CN1618628A (zh) 2005-05-25
CN100446994C (zh) 2008-12-31
US20050105958A1 (en) 2005-05-19

Similar Documents

Publication Publication Date Title
US6688797B2 (en) Hinge for foldable ladders
US6230910B1 (en) Self-locking beam clip
JP4472968B2 (ja) ロック付きルースリーフ綴具
EP1371799A2 (en) A latch assembly for a vehicle door
CN102216548B (zh) 移动体的锁定机构
JP4179622B2 (ja) ラッチ装置
JP7297387B2 (ja) ロック構造
JPS6149128B2 (ja)
JP4506194B2 (ja) 遊技機
JP5419036B2 (ja) 引出し装置及び引出し付家具
US8820573B2 (en) Mechanism to hold cover open or closed
JP4433780B2 (ja) スライドレールの抜け止め解除用操作レバー構造
JP6938429B2 (ja) ショートニングクラッチ
JP5134457B2 (ja) 車両用収納ボックス
JPH0592687A (ja) バインダー綴具のロツク装置
JP5800201B2 (ja) サイドロック装置
JP3135611U (ja) ドアロック構造体
JP2000211282A (ja) ロック付きル―スリ―フ綴具
JP4584802B2 (ja) 自動販売機の扉体ロック装置
JP4555626B2 (ja) フック
JP3763362B2 (ja) 家具における抽斗のロック装置
JP5424687B2 (ja) かばん錠
JP2601356Y2 (ja) キャビネットにおける施錠機構の係止装置
KR100471067B1 (ko) 부착물의 잠금장치
JP2000118182A (ja) ロック付きルースリーフ綴具

Legal Events

Date Code Title Description
A621 Written request for application examination

Free format text: JAPANESE INTERMEDIATE CODE: A621

Effective date: 20061011

A977 Report on retrieval

Free format text: JAPANESE INTERMEDIATE CODE: A971007

Effective date: 20091029

A131 Notification of reasons for refusal

Free format text: JAPANESE INTERMEDIATE CODE: A131

Effective date: 20100119

A521 Request for written amendment filed

Free format text: JAPANESE INTERMEDIATE CODE: A523

Effective date: 20100121

RD02 Notification of acceptance of power of attorney

Free format text: JAPANESE INTERMEDIATE CODE: A7422

Effective date: 20100121

RD04 Notification of resignation of power of attorney

Free format text: JAPANESE INTERMEDIATE CODE: A7424

Effective date: 20100121

TRDD Decision of grant or rejection written
A01 Written decision to grant a patent or to grant a registration (utility model)

Free format text: JAPANESE INTERMEDIATE CODE: A01

Effective date: 20100216

A01 Written decision to grant a patent or to grant a registration (utility model)

Free format text: JAPANESE INTERMEDIATE CODE: A01

A61 First payment of annual fees (during grant procedure)

Free format text: JAPANESE INTERMEDIATE CODE: A61

Effective date: 20100304

FPAY Renewal fee payment (event date is renewal date of database)

Free format text: PAYMENT UNTIL: 20130312

Year of fee payment: 3

R150 Certificate of patent or registration of utility model

Ref document number: 4472968

Country of ref document: JP

Free format text: JAPANESE INTERMEDIATE CODE: R150

Free format text: JAPANESE INTERMEDIATE CODE: R150

R250 Receipt of annual fees

Free format text: JAPANESE INTERMEDIATE CODE: R250

R250 Receipt of annual fees

Free format text: JAPANESE INTERMEDIATE CODE: R250

R250 Receipt of annual fees

Free format text: JAPANESE INTERMEDIATE CODE: R250

R250 Receipt of annual fees

Free format text: JAPANESE INTERMEDIATE CODE: R250

R250 Receipt of annual fees

Free format text: JAPANESE INTERMEDIATE CODE: R250

R250 Receipt of annual fees

Free format text: JAPANESE INTERMEDIATE CODE: R250

R250 Receipt of annual fees

Free format text: JAPANESE INTERMEDIATE CODE: R250

R250 Receipt of annual fees

Free format text: JAPANESE INTERMEDIATE CODE: R250

R250 Receipt of annual fees

Free format text: JAPANESE INTERMEDIATE CODE: R250

R250 Receipt of annual fees

Free format text: JAPANESE INTERMEDIATE CODE: R250

R250 Receipt of annual fees

Free format text: JAPANESE INTERMEDIATE CODE: R250

EXPY Cancellation because of completion of term