JP4306830B2 - 遊技機 - Google Patents
遊技機 Download PDFInfo
- Publication number
- JP4306830B2 JP4306830B2 JP17506698A JP17506698A JP4306830B2 JP 4306830 B2 JP4306830 B2 JP 4306830B2 JP 17506698 A JP17506698 A JP 17506698A JP 17506698 A JP17506698 A JP 17506698A JP 4306830 B2 JP4306830 B2 JP 4306830B2
- Authority
- JP
- Japan
- Prior art keywords
- ball
- payout
- prize
- winning
- error
- Prior art date
- Legal status (The legal status is an assumption and is not a legal conclusion. Google has not performed a legal analysis and makes no representation as to the accuracy of the status listed.)
- Expired - Fee Related
Links
- 238000001514 detection method Methods 0.000 claims description 166
- 238000004080 punching Methods 0.000 claims 2
- 238000000034 method Methods 0.000 description 344
- 230000008569 process Effects 0.000 description 344
- 238000012545 processing Methods 0.000 description 112
- 230000002159 abnormal effect Effects 0.000 description 71
- 238000012544 monitoring process Methods 0.000 description 39
- 238000004891 communication Methods 0.000 description 25
- 230000007246 mechanism Effects 0.000 description 17
- 230000005856 abnormality Effects 0.000 description 16
- 238000012937 correction Methods 0.000 description 15
- 230000004044 response Effects 0.000 description 12
- 230000000694 effects Effects 0.000 description 11
- 230000033001 locomotion Effects 0.000 description 11
- 230000015654 memory Effects 0.000 description 10
- 230000009471 action Effects 0.000 description 9
- 230000007812 deficiency Effects 0.000 description 9
- 238000007599 discharging Methods 0.000 description 9
- 238000011084 recovery Methods 0.000 description 9
- 230000006870 function Effects 0.000 description 8
- 238000003780 insertion Methods 0.000 description 8
- 230000037431 insertion Effects 0.000 description 8
- 101100160255 Saccharomyces cerevisiae (strain ATCC 204508 / S288c) YLR154C-H gene Proteins 0.000 description 6
- 238000010304 firing Methods 0.000 description 6
- 238000005192 partition Methods 0.000 description 6
- 101100365011 Arabidopsis thaliana SCL33 gene Proteins 0.000 description 5
- 230000005284 excitation Effects 0.000 description 5
- 239000011521 glass Substances 0.000 description 5
- 238000011144 upstream manufacturing Methods 0.000 description 5
- 101100478293 Arabidopsis thaliana SR34 gene Proteins 0.000 description 4
- 238000010586 diagram Methods 0.000 description 4
- 101100212791 Saccharomyces cerevisiae (strain ATCC 204508 / S288c) YBL068W-A gene Proteins 0.000 description 3
- 230000003139 buffering effect Effects 0.000 description 3
- 238000012986 modification Methods 0.000 description 3
- 230000004048 modification Effects 0.000 description 3
- 230000009467 reduction Effects 0.000 description 3
- 238000010977 unit operation Methods 0.000 description 3
- 101100478297 Arabidopsis thaliana SR45 gene Proteins 0.000 description 2
- 101100088247 Picea mariana RPL13A gene Proteins 0.000 description 2
- 230000005540 biological transmission Effects 0.000 description 2
- 210000000078 claw Anatomy 0.000 description 2
- 238000005034 decoration Methods 0.000 description 2
- 238000009434 installation Methods 0.000 description 2
- 230000007257 malfunction Effects 0.000 description 2
- 238000002360 preparation method Methods 0.000 description 2
- 101100478290 Arabidopsis thaliana SR30 gene Proteins 0.000 description 1
- 101100202463 Schizophyllum commune SC14 gene Proteins 0.000 description 1
- 230000002411 adverse Effects 0.000 description 1
- 230000008030 elimination Effects 0.000 description 1
- 238000003379 elimination reaction Methods 0.000 description 1
- 230000005281 excited state Effects 0.000 description 1
- 238000012423 maintenance Methods 0.000 description 1
- 238000005259 measurement Methods 0.000 description 1
- 230000003287 optical effect Effects 0.000 description 1
- 230000003014 reinforcing effect Effects 0.000 description 1
- 230000008439 repair process Effects 0.000 description 1
- 239000011435 rock Substances 0.000 description 1
- 239000000758 substrate Substances 0.000 description 1
Images
Landscapes
- Pinball Game Machines (AREA)
Description
【発明の属する技術分野】
本発明は、たとえば、パチンコ遊技機やコイン遊技機等で代表される遊技機に関し、詳しくは、所定の払出条件の成立に応じて景品が払出される遊技機に関する。
【0002】
【従来の技術】
この種の遊技機において、従来から一般的に知られているものに、たとえば、遊技領域に設けられた入賞領域への打玉の入賞に応じて所定個数の景品玉を遊技者に払出すように制御される弾球遊技機があった。
【0003】
そして、このような弾球遊技機においては、弾球遊技機の遊技状態を制御する遊技制御手段と、玉払出手段による玉の払出しを制御する玉払出制御手段とを有しており、これら遊技制御手段および玉払出制御手段が連絡を取り合って各制御を実行することにより、遊技状態の制御(以下、遊技制御と呼ぶ)と玉の払出制御(以下、玉払出制御と呼ぶ)とが連携して行なわれるように構成されていた。
【0004】
このような弾球遊技機においては、たとえば、入賞を検出するスイッチの故障等の遊技制御手段による遊技制御上の異常状態が発生した場合に、異常な制御状態の進行を防ぐために遊技制御の実行が停止されていた。そして、遊技制御と玉払出制御とが連携して行なわれる関係上、前述したような遊技制御上での異常状態の発生に基づいて遊技制御の実行が停止された場合には、玉払出制御も停止されていた。
【0005】
【発明が解決しようとする課題】
しかし、遊技制御上での異常状態の発生に応じて玉払出制御までも停止されてしまうため、遊技制御上での異常状態が、たとえば、ある入賞口への玉の一時的な入賞の集中に基づく大量の入賞玉の発生を原因とした検出スイッチの一時的な異常動作のように、本来的に時間経過により自然復旧可能な軽微な異常であっても、玉払出制御の停止により、景品玉の払出のために処理すべきである入賞玉が処理できずに滞留して自然復旧できなくなってしまう場合がある。
【0006】
このような場合には、景品玉の払出制御上で特に問題がないのにもかかわらず、払出されるべき玉が払出されないので、景品玉の払出しが行なわれなくなっている状態に対して遊技者がイライラして不快感を感じるという問題が生じる。
【0007】
本発明は、係る実情に鑑み考え出されたものであり、その目的は、遊技制御上での異常状態が生じた場合における景品の払出しについての遊技者の不快感を防ぐことが可能な遊技機を提供することである。
【0008】
【課題を解決するための手段】
請求項1に記載の本発明は、打玉が入賞可能な開放状態に変化する可変入賞球装置を有し、所定の払出条件の成立に応じて景品が払出される遊技機であって、
前記景品を払出し可能な払出手段と、
前記所定の払出条件が成立した場合に、前記払出手段により景品を払出す払出制御を行なう払出制御手段と、
前記遊技機の遊技状態を制御することが可能な遊技制御手段と、
前記可変入賞球装置に入賞した打玉を検出する打玉入賞検出手段とを備え、
前記遊技制御手段は、前記可変入賞球装置が開放状態でないのに前記打玉入賞検出手段から検出信号が入力されたときに、所定期間、不正入賞エラー状態に制御する不正入賞エラー制御手段を含み、
前記払出制御手段は、前記不正入賞エラー状態においても、前記払出制御を行なうことを特徴とする。
【0009】
請求項2に記載の本発明は、打玉が入賞可能な入賞球装置を有し、所定の払出条件の成立に応じて景品が払出される遊技機であって、
前記景品を払出し可能な払出手段と、
前記所定の払出条件が成立した場合に、前記払出手段により景品を払出す払出制御を行なう払出制御手段と、
前記遊技機の遊技状態を制御することが可能な遊技制御手段と、
前記入賞球装置に入賞した打玉を検出する打玉入賞検出手段とを備え、
前記遊技制御手段は、前記打玉入賞検出手段から検出信号が所定期間以上継続して入力されているときに、検出信号の入力が途絶えるまで検出エラー状態に制御する検出エラー制御手段を含み、
前記払出制御手段は、前記検出エラー状態においても、前記払出制御を行なうことを特徴とする。
【0012】
請求項3に記載の本発明は、請求項1または請求項2に記載の発明の構成に加えて、前記払出手段による景品の払出しを検出可能な景品検出手段をさらに含み、
前記遊技制御手段は、前記打玉入賞検出手段および前記景品検出手段のそれぞれの検出出力を直接受け、前記打玉入賞検出手段の検出出力があった場合に、所定個数の景品の払出しを要求する指令情報を前記払出制御手段へ与えるとともに、前記景品検出手段の検出出力に基づいて前記所定個数の景品の払出しが正常に行なわれているか否かを判断する制御をさらに行ない、
前記払出制御手段は、前記遊技制御手段から前記指令情報を受けた場合に、景品を前記払出手段により払出す制御をさらに行ない、前記払出制御手段から前記遊技制御手段への情報の通信が行なわれないことを特徴とする。
【0013】
【作用】
請求項1に記載の本発明によれば、次のように作用する。払出手段の働きにより、景品を払出すことが可能である。払出制御手段の働きにより、所定の払出条件が成立した場合に、払出手段により景品を払出す払出制御が行なわれる。遊技制御手段の働きにより、遊技機の遊技状態を制御することが可能である。打玉入賞検出手段の働きにより、可変入賞球装置に入賞した打玉が検出される。遊技制御手段に含まれる不正入賞エラー制御手段の働きにより、可変入賞球装置が開放状態でないのに打玉入賞検出手段から検出信号が入力されたときに、所定期間、不正入賞エラー状態に制御される。払出制御手段のさらなる働きにより、不正入賞エラー状態においても、払出制御が行なわれる。このように、可変入賞球装置が開放状態でないのに入賞した打玉の検出信号が入力されたときに、所定期間、制御される、不正入賞エラー状態においても、払出条件の成立に応じて払出手段により景品を払出す制御が行なわれるので、遊技制御が異常な状態になっても少なくとも払出条件が成立した分については遊技者が景品の払出しを受けることが可能になる。このため、遊技制御上での異常状態が生じた場合における景品の払出しについての遊技者の不快感を防ぐことができる。
【0014】
請求項2に記載の本発明によれば、次のように作用する。払出手段の働きにより、景品を払出すことが可能である。払出制御手段の働きにより、所定の払出条件が成立した場合に、払出手段により景品を払出す払出制御が行なわれる。遊技制御手段の働きにより、遊技機の遊技状態を制御することが可能である。打玉入賞検出手段の働きにより、入賞球装置に入賞した打玉が検出される。遊技制御手段に含まれる検出エラー制御手段の働きにより、打玉入賞検出手段から検出信号が所定期間以上継続して入力されているときに、検出信号の入力が途絶えるまで検出エラー状態に制御される。払出制御手段のさらなる働きにより、検出エラー状態においても、払出制御が行なわれる。このように、入賞球装置に入賞した打玉の検出信号が所定期間以上継続して入力されているときに検出信号の入力が途絶えるまで制御される、検出エラー状態においても、払出条件の成立に応じて払出手段により景品を払出す制御が行なわれるので、遊技制御が異常な状態になっても少なくとも払出条件が成立した分については遊技者が景品の払出しを受けることが可能になる。このため、遊技制御上での異常状態が生じた場合における景品の払出しについての遊技者の不快感を防ぐことができる。
【0017】
請求項3に記載の本発明によれば、請求項1または請求項2に記載の発明の作用に加えて、次のように作用する。景品検出手段の働きにより、払出手段による景品の払出しが検出可能である。遊技制御手段のさらなる働きにより、打玉入賞検出手段および景品検出手段のそれぞれの検出出力を直接受け、打玉入賞検出手段の検出出力があった場合に、所定個数の景品の払出しを要求する指令情報を払出制御手段へ与えるとともに、景品検出手段の検出出力に基づいて所定個数の景品の払出しが正常に行なわれているか否かを判断する制御がさらに行なわれる。払出制御手段のさらなる働きにより、遊技制御手段から指令情報を受けた場合に、景品を払出手段により払出す制御がさらに行なわれる。さらに、払出制御手段から遊技制御手段への情報の通信が行なわれない。このように、払出制御手段から遊技制御手段への情報の通信が行なわれず、打玉入賞検出手段から直接的に遊技制御手段に与えられる入賞玉の検出出力に応じて遊技制御手段から払出制御手段に指令情報が与えられ、その指令情報に基づいて、払出制御手段の制御により景品の払出しが行なわれる。つまり、そのような景品の払出しは、遊技制御手段から払出制御手段への指令情報の一方向通信に基づいて行なわれる。このような一方向通信に基づく景品の払出し制御により、払出制御手段から遊技制御手段への不正なデータの入力による遊技制御手段の不正制御動作を極力防止することが可能になる。さらに、景品検出手段から、払出制御手段を介することなく直接的に遊技制御手段に与えられる景品の検出出力に基づいて所定個数の景品の払出が正常に行なわれているか否かが判別されるため、遊技制御手段において、一方向通信でありながら景品の払出し状態をチェックすることが可能になる。
【0018】
【発明の実施の形態】
次に、本発明の実施の形態を図面に基づいて詳細に説明する。なお、本実施の形態では、弾球遊技機の一例としてパチンコ遊技機を例示するが、本発明はこれに限らず、コイン遊技機等であってもよく、遊技領域に打玉を打込んで遊技が行なわれ、遊技領域に設けられた入賞領域への入賞に応じて景品玉が払出される弾球遊技機であればすべて対象となる。
【0019】
まず、図1〜図5を参照し、実施の形態に係る弾球遊技機の一例のパチンコ遊技機1の全体の構成について説明する。図1は、パチンコ遊技機1の正面図である。図2は、パチンコ遊技機1の一部内部構造を示す全体背面図である。図3は、玉払出装置97の内部構成を示す断面図である。図4は、玉払出流路の切換部の構成を示す断面図である。図5は、機構板60に設けられる入賞玉処理装置115の背面から見た正面図である。
【0020】
図1において、パチンコ遊技機1は、周知のように額縁状に形成された前面枠2を有し、該前面枠2の額縁状の開口には、扉保持枠3が周設され、その扉保持枠3の上部にガラス板を有するガラス扉枠4が、その下部に打球供給皿(上皿)6を有する前面扉板5がそれぞれ開閉自在に設けられている。ガラス扉枠4と扉保持枠3との境界部分の奥側には、ガラス扉枠4の開閉状態を検出するドアスイッチ257が1つ設けられている。また、前面枠2の下部の表面には、前記打球供給皿6からあふれた余剰の景品玉を貯留する余剰玉受皿(下皿)20が設けられているとともに、打球を発射する操作ハンドル21も設けられている。さらに、前面枠2には、その上部に遊技状態が予め定められた特定遊技状態となったときに点灯または点滅する遊技効果ランプ22が設けられているとともに、その開放側側部には、図示しない施錠装置の錠の周囲を装飾する錠飾りが設けられ、その錠飾りの内部に打球の発射動作が行なわれてパチンコ遊技機1が稼働中であることを表示する稼働ランプ23が内蔵されている。
【0021】
前述した打球供給皿6について、さらに詳細に説明すると、打球供給皿6は、その上流側に形成される景品玉払出口7aとその下流側に形成される供給口7bとを連絡するように貯留整列路8が形成されており、その貯留整列路8の中ほど底面裏面に玉検出器9が設けられている。この玉検出器9は、打球供給皿6に残留する打玉を検出するものである。なお、打球供給皿6の上流側下部空間には、効果音を発生するスピーカ19が内蔵されている。また、前記玉検出器9のやや上流側にもう1つの同じ構造の玉検出器9aを設け、前記玉検出器9が打玉の存在の検出をしなくなっても上流側の玉検出器9aが打玉の存在を検出している場合には、玉詰まり等のトラブルが発生していると判定して、前記玉検出器9の打玉不存在の検出出力を無効処理するように構成してもよい。
【0022】
また、打球供給皿6には、パチンコ遊技機1に隣接して設けられるカードユニット(カード処理機)50を介して遊技玉を借り受ける際に操作する操作部が設けられている。操作部として玉貸スイッチ15と返却スイッチ17とモード切換スイッチ18とが設けられ、また、その玉貸スイッチ15と返却スイッチ17の間に度数表示LED16が設けられている。玉貸スイッチ15は、カードユニット50によって遊技玉を借り受ける際に操作するものであり、返却スイッチ17は、遊技終了の際にカードユニット50のカード挿入口55に差し込まれたカードを返却するためのものである。なお、カードがカード挿入口55に差し込まれていることは、カードユニット50に設けられるカード投入表示ランプ54が点灯していることによりわかる。また、度数表示LED16は、カードユニット50のカード挿入口55に差し込まれたカードの残額が表示されるものである。また、モード切換スイッチ18は、借り受けるべき遊技玉を前記玉貸スイッチ15を操作して行なうマニュアルモードと、打球供給皿6の打玉の残量が前記玉検出器9によって検出されなくなったときに自動的に遊技玉を払出す自動モードと、のいずれかのモードに設定するものである。また、11は自動モードを表示する自動玉貸表示器、12は玉貸が可能な旨を表示する玉貸可表示器である。
【0023】
ところで、前記ガラス扉枠5の後方であって前面枠2の裏面には、遊技盤30が着脱自在に取付けられている。この遊技盤30には、打玉を誘導する誘導レール31がほぼ円状に設けられ、その誘導レール31に囲まれる中側範囲が遊技領域32を構成し、その遊技領域32に可変表示装置や可変入賞球装置および入賞口等の遊技装置が配置されるものである。より詳細に説明すると、遊技領域32のほぼ中央には、複数の回転ドラム機構を内蔵する可変表示装置33が配置され、該可変表示装置33の下部に始動入賞口34と可変入賞球装置35とが配置されている。始動入賞口34は、可変表示装置33の回転ドラム機構を回転せしめるためのものであり、このため、始動入賞口34に入賞した入賞玉は、遊技盤30の裏面に導かれて、入賞玉集合カバー体(図示省略)に設けられる始動入賞玉検出器46によって検出されるようになっている。また、可変入賞球装置35は、ソレノイド37によって開閉駆動される開閉板36を有し、該開閉板36の内部が3つに区画され、そのうちの中央が特定入賞領域として設定され、その特定入賞領域に特定入賞玉検出器38(以下V入賞スイッチ38という)が臨み、その下方に可変入賞球装置35に入賞した入賞玉をすべて検出する入賞玉検出器39(以下10カウントスイッチ39という)が臨設されている。可変入賞球装置35において開閉板36が開放状態になった場合に開く入賞口が、大入賞口と呼ばれる。また、遊技盤30には、前記した構成以外にアウト口40が遊技領域32の最下方に設けられ、遊技領域32の中央部左右に入賞口42a,42bが設けられ、遊技領域32の上部外側に賞球ランプ43と玉切れランプ44とが設けられている。
【0024】
遊技領域32内には、さらに、通常の入賞口48,49a,49bが設けられている。始動入賞口34に打玉が入賞した場合には6個の景品玉が払出され、それ以外の通常の入賞口42a,42b,48,49a,49bおよび可変入賞球装置35の開閉板36内部に打玉が入賞した場合には15個の景品玉が払出される。このように、遊技領域32には、打玉の入賞により払出される景品玉が互いに異なる複数種別に分類される複数の入賞領域が設けられている。
【0025】
上記のように構成される遊技盤30の遊技内容は、打玉が始動入賞口34に入賞して始動入賞玉検出器46をONさせると、可変表示装置33の回転ドラム機構が回転を開始し、可変表示が開始される。可変表示装置33の可変表示中に打玉が始動入賞口34に入賞すれば、その入賞が記憶される。このような記憶は、始動入賞記憶と呼ばれる。そして、前回の可変表示が終了した後に、その記憶に基づいた可変表示が開始される。可変表示装置33の回転ドラム機構が回転を開始した後、一定時間(たとえば5秒)が経過したときにその回転を停止する。そして、停止時の可変表示装置33に表示される図柄の組合せが予め定められた大当り図柄の組合せであるときに特定遊技状態(大当り遊技状態とも言う)となって可変入賞球装置35の開閉板36を一定時間(たとえば30秒間)が経過するまで、または所定個数(たとえば10個)の入賞玉が発生するまで開放する。そして、開閉板36の開放中に打玉が特定入賞領域に入賞してV入賞スイッチ38をONすると、継続権が発生し、再度開閉板36の上記した開放動作を繰返す。この継続権の発生は、所定回数(たとえば16回)許容される。このように可変入賞球装置35の開閉板36が開放される状態は所定回数継続可能であり、その開閉板36が開放される各回はラウンドと呼ばれる。そのように開閉板36が開放される状態が繰返継続される場合の現在のラウンド数が、可変表示装置33の上部に設けられた7セグメント表示器よりなるラウンド数表示器33aに表示される。ラウンド数表示器33aは、横並びに配列された2つの7セグメント表示器を含み、これらにより、横並びに2つの数字および英文字を表示可能である。このラウンド数表示器33aは、後述するように、所定のエラー状態が発生した場合には、そのエラー内容を示すエラーコードを表示するために用いられる。
【0026】
前述した継続権の発生が所定回数(たとえば16回)許容されるため、大当り遊技状態になると、短い間に多量の入賞玉を獲得するチャンスがある。このように大当り遊技状態という遊技者にとって極めて大きなチャンスは、可変表示装置33の1回の可変表示結果に基づいて発生するため、打球供給皿6の残留玉がほとんどなくなった時点で発生する場合もあり、このような場合、続けて打玉を発射させて打玉を可変入賞球装置35の特定入賞領域に入賞させる必要があるにもかかわらず、打玉が打球供給皿6に残存していないので、あわてて玉貸スイッチ15を操作して遊技玉を借受けなければならない。しかし、玉貸スイッチ15を操作してから遊技玉が払出され、しかもその玉が発射されて可変入賞球装置35の特定入賞領域に到達するまでに多少の時間がかかるため、その時間の間に有利なチャンス(継続権の成立)を逃してしまうという不都合があるが、本実施の形態においては、モード切換スイッチ18を自動モードに設定しておれば、玉検出器9が打玉の不存在を検出した時点で自動的に遊技玉を打球供給皿6に払出すので、上記したような不都合は生じない。一方、上記したような自動モードに設定してあっても単位時間当たりの景品玉払出度数が高い状態となったとき、たとえば、上記した大当り遊技状態となったときには、その後すぐに景品玉が払出されるので、遊技玉を自動的に払出す必要がなく、磁気カードにおける残余玉貸情報を無駄に消費することがない。
【0027】
ところで、遊技盤30の裏面には、遊技盤30の表面に設けられる前記の各種の入賞口または入賞球装置に入賞した入賞玉を誘導して集合させる入賞玉集合カバー体(図示省略)が設けられている。その入賞玉集合カバー体には、入賞玉を誘導するための複数の誘導通路(図示省略)が設けられている。そして、通常の入賞口48,42a,42b,49a,49bに入賞した入賞玉が1つの誘導通路により集合されて誘導されたのち、通常入賞玉検出器(図示省略)により検出される。始動入賞口34に入賞した入賞玉は、始動入賞玉検出器46により検出される。可変入賞球装置35の開閉板36内部に入賞した入賞玉のうち、特定入賞領域(V入賞領域)に入賞した入賞玉は、V入賞スイッチ38により検出された後、10カウントスイッチ39により検出される。このような特定入賞領域への入賞は、V入賞と呼ばれる。一方、特定入賞領域以外の領域に入賞した入賞玉は、V入賞スイッチ38によって検出されず、10カウントスイッチ39により検出される。この10カウントスイッチ39により、開閉板36が1回開放してから閉塞されるまでの間の入賞玉の個数が検出されるのである。ここで、V入賞スイッチ38と、10カウントスイッチ39との関係を説明する。特定入賞領域に入賞した入賞玉は、すべてV入賞スイッチ38を通って10カウントスイッチ39に導かれる。つまり、V入賞スイッチ38により検出された入賞玉は、すべて10カウントスイッチ39によっても検出される。10カウントスイッチ39に導かれた玉は、そのまま流下される。
【0028】
このパチンコ遊技機1においては、前述したように、入賞領域の種別に応じて景品玉の払出し個数が2種類に分けられており、このような入賞玉の区別をするために、各検出器からの検出信号が、遊技制御基板199(図2参照)に送られ、遊技制御基板199から払出制御回路基板152に賞球個数信号(賞球個数データを表わす信号であり、以下、賞球個数データともいう)が送られるようになっている。また、入賞玉集合カバー体(図示省略)の裏面には、遊技盤30に設けられるスイッチ類、ランプ類、駆動源類等から延びる配線を中継する遊技中継基板47が取付けられている。
【0029】
上記のように構成されるパチンコ遊技機1の側方に設けられるカードユニット50は、図1に示されるように、使用可能状態であるか否かを表示する使用可表示ランプ51と、カード内に記録された残額情報に端数(100円未満の数)が存在する場合にその端数を前記度数表示LED16に表示させるための端数表示スイッチ52と、当該カードユニット50がいずれの側のパチンコ遊技機1に対応しているか否かを表示する連結台方向表示器53と、カードがカードユニット50内に投入中であることを表示するカード投入表示ランプ54と、記録媒体としての磁気カードを挿入するカード挿入口55と、該カード挿入口55の裏面に設けられるカードリーダライタの機構を点検する場合に開放するためのカードユニット錠56と、が設けられている。そして、このように構成されるカードユニット50は、独自の制御回路によって制御されるものであるが、パチンコ遊技機1側に設けられる前記スイッチ15、17、18、表示LED16や、払出制御回路基板152とを接続する必要があるためパチンコ遊技機1の裏面に設けられる後述する機構板60には、インタフェース基板138が設けられている。なお、カードユニット50をパチンコ遊技機1に内蔵してもよい。
【0030】
次に、パチンコ遊技機1の裏面の構造について、図2に基づいて説明する。パチンコ遊技機の機構板60には、その上部に玉タンク65が設けられ、パチンコ遊技機1が遊技機設置島に設置された状態でその上方からパチンコ玉がこの玉タンク65内に供給される。この玉タンク65内に貯留されているパチンコ玉が玉払出装置97に供給され、この玉払出装置97が作動することにより玉が打球供給皿6内に払出される。
【0031】
機構板60には、さらに、払出制御回路基板152用の基板ボックス149と、遊技制御を行なうための遊技制御基板199(主基板ともいう)を収納する遊技制御基板ボックス198とが設けられている。図中33は可変表示装置であり、47は遊技中継基板である。遊技領域に打込まれて入賞領域あるいは可変入賞球装置内に入賞した入賞玉は、入賞玉処理装置115により処理され、その入賞玉1個につき所定個数の景品玉が玉払出装置97から払出される。
【0032】
196は打球発射装置であり、発射モータ197の回転力を利用して打玉が1つずつ遊技領域に発射される。図2において、パチンコ遊技機1の上方隅部分に、ターミナル基板78が設けられている。このターミナル基板は、外部電源と接続するための電源コネクタ80および電源スイッチ81が設けられている。さらに、ターミナル基板78は、玉切れ情報出力端子79a、発射制御信号入力端子79b、玉貸情報出力端子79c、補給情報出力端子79dが設けられている。
【0033】
前記遊技制御基板ボックス198には、前記可変表示装置33が予め定められた特定の表示態様となり前記特定遊技状態が発生する確率を入力設定するためのキースイッチ(図示省略)が設けられており、遊技場の係員が所定のキーをこのキースイッチに挿入した状態で操作することにより、前記確率を、たとえば高確率,中確率,低確率の3段階に設定することができる。そして、その確率の設定状態が設定確率表示LED(図示省略)により表示される。
【0034】
パチンコ遊技機1の側部に設けられているカードユニット50には、玉貸額設定スイッチ213が設けられており、遊技場の係員がこの玉貸額設定スイッチ213を操作することにより、1回の玉貸動作に伴って貸し出される玉貸額が設定される。
【0035】
また、図において、機構板60は、主として景品玉を貯留する玉タンク65とその玉タンク65に貯留された景品玉を下流側に整列しながら誘導する玉整列レール69とが設けられる上部ベースユニット61と、主として入賞に基づく景品玉を払出す玉払出装置97が設けられる中間ベースユニット62と、主として遊技盤30に打込まれた入賞玉を含む打玉を処理する処理機構が設けられる下部ベースユニット63と、に分割形成したものを組付けて構成される。上記したように3つのベースユニット61〜63を組付けて構成した本実施の形態の機構板60においては、背面から見て全体として「コ」字状となっており、機構板60を閉じた状態において遊技盤30の一側辺部が開放された状態となる。このため、遊技盤30の裏面構造が複雑(遊技盤にあっては、入賞装置の後方突出面積および突出量の多いものがあり、また配線の複雑なものもある)なものであっても、機構板60の開閉動作をスムーズに行なうことができる。
【0036】
上部ベースユニット61には、図2に示すように、多量の景品玉を貯留する玉タンク65と、該玉タンク65から供給される景品玉を複数列(本実施の形態の場合2列)に整列して流下させる玉整列レール69と、該玉整列レール69によって誘導された景品玉を後述する玉払出装置97に向けて方向転換するカーブ樋74と、そのカーブ樋74の上方に設けられたターミナル基板78がそれぞれ所定の位置に設けられている。
【0037】
玉タンク65は、その左右両側に突設された取付片によって上部ベースユニット61の所定の位置(この位置には、玉タンク65の側面形状に沿った凹部が形成されている)にビスで取付けられるようになっている。また、玉タンク65は、上面が開放したボックス状に形成されるとともに、その底面下流側に玉整列レール69と連通する落下口68が開設され、その落下口68に向かって傾斜する複数の傾斜底面によって底面が形成されている。また、落下口68の上部の傾斜底面には、揺動自在に軸支される玉欠乏検知レバー(図示省略)が設けられ、その玉欠乏検知レバーの下方に、玉欠乏検出器(図示省略)が固定されている。この玉欠乏検出器(図示省略)は、玉タンク65内に景品玉が不足したときに遊技場に設けられるホール用管理コンピュータ(図示せず)に景品玉補給要求信号を導出する。なお、玉欠乏検知レバーは、玉タンク65内の景品玉が載置しているときに玉欠乏検出器をOFFとし、玉タンク65内の景品玉が不足して載置しなくなったときに玉欠乏検出器をONして上記信号を出力するようになっている。また、玉欠乏検出器から延びる配線は、一旦ターミナル基板78に中継接続された後、ターミナル基板78からホール用管理コンピュータに出力線が接続されるようになっている。
【0038】
上記した玉タンク65の下流側に配置される玉整列レール69は、上部ベースユニット61の一端から他端に向けて傾斜状に取付けられ、その内部中央に仕切壁が立設されている。この仕切壁により、玉タンク65の落下口68から流出した景品玉が下流に向かうに従って確実に左右2列に整列させられる。玉整列レール69により整列され誘導された玉は、前記カーブ樋74によって流下方向を左右に変換される。
【0039】
上部ベースユニット61には、上記した構成以外にターミナル基板78が設けられるが、このターミナル基板78は、外部電源供給線が接続される電源コネクタ80、電源スイッチ81、外部(たとえばホール用管理コンピュータ)とパチンコ遊技機1との間の信号線を接続する玉切れ情報出力端子79aと発射制御信号入力端子79bと玉貸情報出力端子79cと補給情報出力端子79d等が設けられたプリント配線基板によって構成されるものである。
【0040】
中間ベースユニット62には、その上部に通路体84が止着され、該通路体84の下方に玉払出装置97が固着される。より詳細に説明すると、通路体84は、前記カーブ樋74によって流下方向を左右に変換された2列の景品玉を下方向に向かって流下させる景品玉通路86a,86bを有する。その景品玉通路86a,86bの上流側には、玉切れスイッチ87a,87bが臨む態様で設けられている。この玉切れスイッチ87a,87bは、景品玉通路86a,86b内の景品玉の有無を検出するもので、いずれか一方の玉切れスイッチ87a,87bが景品玉を検出しなくなったときには、玉切れランプ44が点灯し、景品玉払出装置97の図示していないステッピングモータよりなる払出モータ189(後述する)の回転を停止して景品玉の払出を不能動化させるようになっている。
【0041】
景品玉通路86a,86bを流下する景品玉は、下流側の玉払出装置97に供給される。玉払出装置97は、中間ベースユニット62の下方に装着される直方体状のケース(後述するケース98)の内部に収納されて構成される。ケース98内に収納された玉払出装置97の具体的な構成は、次に詳細に説明する。玉払出装置97は、ステッピングモータである払出モータ189(後述する)によってスクリュー188(後述する)を回転せしめて、玉を1個ずつ計数しながら払出す形式のものである。そして、この玉払出装置97によって払出される玉は、入賞に基づく景品玉だけではなく、遊技者に貸し出す貸玉(遊技玉)も玉払出装置97によって払出されるようになっている。
【0042】
そこで、玉払出装置97の構成を図3を参照しながら説明する。図3(A)は、玉払出装置97の側面から見た断面図であり、図3(B)は、玉払出装置97の前方から見た断面図である。
【0043】
玉払出装置97のケース98は、図3に示すように、左右2つに分割形成され、それぞれの分割ケース98a,98bに玉供給路181a,181bが形成されている。玉供給路181a,181bのそれぞれは、その内部で湾曲面(図3では玉供給路181aの湾曲面182aのみ図示)となって後方に向かって湾曲している。それらの湾曲面終端のそれぞれの下方に玉送り水平路184a,184bが形成され、さらに玉送り水平路184a,184bのそれぞれの終端に玉排出路(図3では水平路184aにつながる玉排出路183aのみ図示)が形成されている。これらの玉排出路には、玉の払出しのためにそれぞれの玉排出路に排出された玉を検出する玉払出検出器240a,240bが設けられている(図2参照)。
【0044】
これらの玉供給路、玉送り水平路、および玉排出路は、分割ケース98a,98bを前後に区画する区画壁(図3では一方の区画壁195aのみ図示)の前方に形成されている。
【0045】
また、分割ケース98a,98bの前方には、玉圧緩衝部材(図示省略)が挾持されるようになっている。この玉圧緩衝部材は、前記通路体84の景品玉通路86a,86bから供給される景品玉を、左右側方に振り分けて玉供給路181a,181bに誘導するとともに、その下方部に発光素子186(LED)と受光素子187とが設けられている。発光素子186と受光素子187とは、所定の間隔をあけて設けられ、この間隔内に次に説明する回転体の一例のスクリュー188の先端が挿入されるようになっている。なお、玉圧緩衝部材は、分割ケース98a,98bを張り合わせたときに、完全に内部に収納固定されるようになっている。
【0046】
また、前記玉送り水平路184a,184bの間には、払出モータ189によって回転せしめられるスクリュー188が配置されている。すなわち、区画壁の後方に形成される2つの固定溝(図3では一方の固定溝191aのみ図示)に払出モータ189を固定するモータ固定板190を嵌合固定し、払出モータ189のモータ軸を区画壁の前方に突出させて、その突出前方にスクリュー188が固定されるものである。スクリュー188の外周には、払出モータ189の回転により玉送り水平路184a,184bに載置された景品玉を前方に移動せしめるような螺旋突起188aが突設されるとともに、スクリュー188の先端には、前記発光素子186を被覆する凹部が形成され、その凹部に2つの切欠部192が形成されている。この切欠部192は、180度の対称位置に形成されているので、スクリュー188が1回転する間に、発光素子186からの光が切欠部192を介して2回受光素子187によって検出されるようになっている。これら発光素子186および受光素子187によりスクリュー188の回転位置を検出する位置検出器が構成されている。以下の説明においては、位置検出器について、検出信号を出力する受光素子187を代表として位置検出器187と呼ぶ場合がある。なお、前記発光素子186、受光素子187、および払出モータ189からの配線193は、まとめられてケース98の後部下方に形成された引出穴から外部に引出されてコネクタ(図示省略)に結線される。
【0047】
上記のように構成される玉払出装置97においては、玉供給路181a,181bから供給される景品玉が玉送り水平路184a,184bの後端部に供給された位置で停止された状態において、払出モータ189の回転を開始すると、スクリュー188の螺旋突起188aにより景品玉が玉送り水平路184a,184b上を前方に向かって移動し、遂には、玉送り水平路184a,184bの終端から玉排出路に向けて落下する。このとき、左右の玉送り水平路184a,184bからの景品玉の落下は、交互に行なわれるが、この交互の落下は、スクリュー188が半回転する毎に一方から1個の景品玉が落下するので、結局1個の景品玉が落下する毎に発光素子186からの光が受光素子187によって受光されることになり、これにより、スクリュー188の回転位置が検出されることになる。受光素子187によって検出された信号数が予め定められた景品玉数(1個の入賞に対応する)に到達したときに払出モータ189の駆動を停止するように制御する。玉払出装置97における玉の排出側には、スクリュー188による払出しが行なわれた玉を検出するための玉払出検出器240a,240bが設けられている。さらに、払出された玉を玉払出検出器240a,240bで検出するので、正確に入賞に対応する景品玉を払出すことができる。なお、回転体としては、スクリュー188の他に、回転することにより玉を下方に流下させるスプロケット等でもよい。
【0048】
玉払出装置97の玉の払出側の玉の流路は、景品玉払出用の流路201aと、貸玉払出用の流路201bとに分岐して構成されている。流路201a内には、流路201aに導かれた玉である景品玉を検出する賞球個数スイッチ256が設けられている。玉払出装置97から流下する玉を景品玉として払出す場合にはその玉が流路201aに導かれ、玉払出装置97から流下する玉を貸玉として払出す場合にはその玉が流路201bに導かれる。つまり、流路201aと、流路201bとは、選択的に通流可能にされる。これらの流路の分岐点には、玉払出装置97から落下してくる玉の流路を、流路201aと貸玉払出用の流路201bとの間で切換える流路切換部材254が設けられている。流路切換部材254の近傍には、流路切換部材254を駆動するための切換ソレノイド255が設けられている。
【0049】
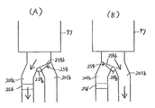
次に、図4を参照して、流路切換部材254による流路の切換態様について説明する。図4においては、玉の流路が景品玉払出用の流路201a側に切換えられた場合の態様が(A)に示されており、玉の流路が貸玉払出用の流路201b側に切換えられた場合の態様が(B)に示されている。
【0050】
流路切換部材254は、支軸部254aを回動中心として本体部254bが回動されるように構成されている。本体部254bは、流路201aおよび流路201bの一方の側に傾動した場合に、その側の流路を玉が通流不可能な状態に閉じる形状に形成されている。
【0051】
切換ソレノイド255が駆動(励磁)されていない通常の状態において、流路切換部材254は、(A)に示されるように、流路201b側に傾動するように位置される。この場合、流路201a側が開放されており、玉が景品玉として流路201a側に導かれる。すなわち、通常状態において、流路切換部材254は、景品玉用の流路201a側に玉を導くようにセットされている。この場合に導かれた景品玉は、賞球個数スイッチ256により検出される。
【0052】
一方、貸玉が払出される場合には、切換ソレノイド255に駆動(励磁)信号が与えられ、(B)に示されるように、切換ソレノイド255により流路切換部材254が流路201a側に傾動するように駆動される。これにより、流路201b側が開放され、玉が貸玉として流路201b側に導かれる。
【0053】
図2において、下部ベースユニット63の前面側(遊技盤5に当接する側)には、そのほぼ中程に前述した入賞玉集合樋(図示省略)が傾斜状に設けられている。この入賞玉集合樋は、遊技盤30の可変入賞球装置35等に入賞した入賞玉を受け止めて後述する入賞玉処理装置115に誘導するものであり、その下流側が入賞玉を1個ずつ流下させる入賞玉誘導通路105となっている。
【0054】
一方、下部ベースユニット63の後面側には、その一側上部に景品玉払出通路108が形成され、その景品玉払出通路108の下端に上皿連通口110が形成されている。この上皿連通口110は、パチンコ遊技機1の前面に設けられる打球供給皿6に景品玉を導くものである。
【0055】
前記上皿連通口110の他の側方には、連絡通路(図示省略)が接続され、その連絡通路の末端に余剰玉通路(図示省略)が接続されている。しかして、入賞に基づく景品玉が多数払出されて打球供給皿6が景品玉で満杯となり、ついには上皿連通口110に到達してさらに景品玉が払出し続けられたときには、景品玉は連絡通路を介して余剰玉通路に導かれ、その後、図示しない接続樋を介して前記余剰玉受皿20に排出される。そして、さらに景品玉が払出し続けられたときには、余剰玉受皿20も満杯になるが、余剰玉通路112の側壁に設けられた満タン検知板(図示省略)部分に到達すると、満タン検知板が景品玉に押圧されて上端の支軸を中心にして外側に向かって揺動し、これによって満タンスイッチ114がONされて、玉払出装置97の払出モータの駆動を停止して景品玉の払出動作を不能動化するとともに、打球発射装置の駆動も停止される。
【0056】
下部ベースユニット63の下部一側には、入賞玉処理装置115および前記玉払出装置97の動作を制御する払出制御回路基板152を収納する基板ボックス149を収納する収納部(図示省略)が形成されている。
【0057】
入賞玉処理装置115には、入賞玉集合樋により集合させられる入賞玉が入賞玉流下路105を通って導かれるようになっている。入賞玉処理装置115で処理された後の入賞玉は、下側に排出されるようになっている。
【0058】
ところで、入賞玉流下路105には、入賞玉検出器122が固定されている。この入賞玉検出器122は、近接型のスイッチであり、その前方部に入賞玉が通過する通過穴が形成されている。
【0059】
次に、入賞玉処理装置115の構成について、図5を参照して説明する。図5に示すように、入賞玉処理装置115は、取付ベース116に集約して形成され、このため、取付ベース116の周囲に形成される取付部118を下部ベースユニット63に突設される取付ボスに嵌入してビスで螺着することにより、簡単に下部ベースユニット63に装着することができる。なお、取付ベース116の周囲は、補強リブ117が形成され、全体の剛性を強化している。また、取付ベース116を下部ベースユニット63に装着したときには、下部ベースユニット63に形成された入賞玉入口119と取付ベース116に形成される入賞玉流下路120の始端部とが合致するようになっており、これにより入賞玉が入賞玉処理装置115に導かれるようになっている。また、入賞玉処理装置115で処理された後の入賞玉は、下部ベースユニット63の玉抜き下部通路107に連通する位置に形成された入賞玉出口121に排出されるようになっている。
【0060】
ところで、取付ベース116の下部側方から中央にかけて直角状の入賞玉流下路120が形成され、その入賞玉流下路120の屈曲部よりやや下方に入賞玉検出器122が係止爪123により固定されている。この入賞玉検出器122は、近接型のスイッチであり、その前方部に入賞玉が通過する通過穴が形成されている。また、この入賞玉検出器122の通過穴を挟むように第1玉係止部材124と第2玉係止部材130とがそれぞれ支軸125、131を中心にして揺動自在に軸支されている。第1玉係止部材124の後端は、リンク杆126を介して入賞玉排出ソレノイド127のプランジャ128に連結されている。入賞玉排出ソレノイド127は、取付ベース116に突設される係止爪によって着脱自在に装着されるとともに、そのプランジャ128にスプリング129が周設され、常にプランジャ128を下方に向けて付勢している。一方、第1玉係止部材124の先端側には、その上部に玉止部124aが形成され、その下部に第2玉止部130と係合する係合片124bが形成され、第2玉止部130には、その前方上部に玉止部130aが形成され、その中程に前記係合片124bと係合する係合凹部130bが形成されている。
【0061】
上記した入賞玉処理装置115の作用について参照して説明すると、まず、入賞玉排出ソレノイド127がOFF(消磁状態)である通常の状態においては、図5(A)に示すように、第1玉係止部124の玉止部124aは、入賞玉流下路120内に突出していないか、第2玉止部材130の玉止部130aは、入賞玉検出器122の下方の入賞玉流下路120に突出した状態となっている。そのような状態で入賞玉が発生して入賞玉が流下路120に流下してきたときには、先頭の入賞玉P1が入賞玉検出器122の通過穴に入った状態で玉止部130aによって停留される。このため、入賞玉検出器122から検出信号が遊技制御基板199の制御回路に送られ、遊技制御基板199からの賞球個数信号を払出制御回路基板152が受信することにより玉払出装置97が駆動制御されて所定個数の景品玉の払出が行なわれる。なお、先頭の入賞玉P1が玉止部130aで停留している状態において、後続の入賞玉を含めたすべての入賞玉の玉圧が第2玉止部材130の玉止部130aにかかるか、その荷重は、玉止部130aのほぼ真下に位置する支軸131で受止められるため、係合凹部130bと係合片124bとの係合による第1玉止部材124への負荷が減少することとなり、これによってプランジャ128がスプリング129の付勢力に抗して上昇することがない。すなわち、多数の入賞玉の荷重によって第1および第2玉止部材124、130が盲動することがなく、確実に入賞玉を1個ずつ処理するものである。
【0062】
そして、所定個数の景品玉の払出しが終了したときには、払出制御回路基板152から入賞玉排出ソレノイド127に駆動信号が送られて入賞玉排出ソレノイド127を所定時間ONする(励磁状態にする)。入賞玉排出ソレノイド127がONすると、図5(B)に示すように、玉止部124aが入賞玉流下路120内に進入して次の入賞玉P2の入賞玉検出器122の通過穴への進入を阻止するとともに、玉止部130aが入賞玉流下路120から退避するので、先頭の入賞玉P1が開放されて下方に向かって流下する。そして、一定時間が経過して入賞玉排出ソレノイド127がOFFになると、再度図5(A)に示す状態に戻って次の入賞玉による景品玉の払出動作が行なわれる。
【0063】
このように、本実施の形態における入賞玉処理装置115は、発生した入賞玉を一旦停留し、所定の景品玉が払出される毎に1個ずつ入賞玉を処理するようにしたので、停電時等においては、発生した入賞玉が証拠玉として残留するので、遊技者との間でトラブルが生じることがない。なお、バックアップ機能がある場合には、このような入賞玉処理装置115を使用することなく、発生した入賞玉をすべて記憶して(たとえば遊技制御基板が記憶)、記憶が終わった入賞玉を弾球遊技機1の外部に排出するようにしてもよい。
【0064】
下部ベースユニット63の一側下部には、払出制御回路基板152を収納した基板ボックス149が設けられている。基板ボックス149の働きにより、外部には、制御動作のプログラム暴走時等に制御処理をリセットするためのリセットスイッチ156が設けられている。このリセットスイッチ156はハードリセットするためのものではなく、エラー状態の解除のためのもので、このリセットスイッチ156の検出信号によりエラーの復旧制御を遊技制御基板199と、払出制御回路基板152との両方で行なえるようになっている。
【0065】
前記基板ボックス149に収納される払出制御回路基板152は、遊技制御基板199から与えられる賞球個数信号を受けて玉払出装置97の払出モータ189に駆動開始信号を出力し、玉払出装置97内に設けられる計数検出手段からの信号を計数してその計数値が予め定められた払出景品玉数となったときに払出モータ189に駆動停止信号を導出して景品玉の払出動作を停止させる。また、前記玉切れスイッチ87a,87bや満タン検出器114からの信号があったときには、その入賞に対する払出動作が終了した時点で払出モータ189に停止信号を導出するようになっている。また、本実施の形態のように払出景品玉数が2種類ある場合には、払出景品玉数の多い方の入賞玉数を記憶しておき、その記憶値の分に相当する払出動作を優先的に実行するようにすればよい。また、少ない方の入賞玉数を記憶するようにすれば、仮に停電等で記憶値が消去されても、遊技者に相対的に多い払出景品玉数で払出すことができるからである。このことを考慮しなければ、いずれを記憶するように設計してもよい。また、同様にカードユニット50からの遊技玉の玉貸要求信号があったときにも上記と同様の動作により所定個数(25個/100円)の遊技玉を玉払出装置97によって払出す。
【0066】
機構板60には、前述した遊技制御基板199を収納した遊技制御基板ボックス198が設けられる。この遊技制御基板ボックス198は、基板ボックス149よりも後側に張出して設けられている。
【0067】
図6は、払出制御回路基板152とカードユニット50に設けられているカードユニット制御基板210aと遊技制御基板199とに設けられている制御回路を示すブロック図である。
【0068】
カードユニット制御基板210aには、RAM,ROM,CPU,I/Oポート等を含むカードユニット制御用マイクロコンピュータ210と、スイッチからの検出信号をカードユニット制御用マイクロコンピュータ210に入力するためのスイッチ回路211と、カードユニット制御用マイクロコンピュータ210からの表示制御信号を各種表示器に出力するための表示回路212と、カードユニット制御用マイクロコンピュータ210と払出制御回路基板152の払出制御用マイクロコンピュータ220との間で信号のやり取りを行なうためのフォトカプラで構成される信号回路214と、電源回路215とが設けられている。このように両マイクロコンピュータ210,220間での信号のやり取りをフォトカプラを介して一旦光信号に変換して行なっているために、両マイクロコンピュータ210,220間が電気的に遮断された状態となり、一方の故障等に起因した異常高電圧等が他方のマイクロコンピュータにまで伝送されないために、一方の故障が他方にまで悪影響を及ぼすことを防止できる。さらに、このカードユニット制御基板210aには、前記スイッチ回路211に接続された端数表示スイッチ52と玉貸額設定スイッチ213とが設けられ、さらに、前記表示回路212に接続された、ユニット使用可表示器51とカード挿入表示器54と連結方向表示器53とが設けられている。また、図2の57は、インターフェイス基板138のコネクタ138aと接続されるコネクタである。なお、インターフェイス基板138は払出制御回路基板152と一体でもよい。
【0069】
さらに、前記スイッチ回路211には、玉貸スイッチ15と返却スイッチ17とが接続されており、前記表示回路212には、カード残額表示器16が接続されている。
【0070】
払出制御回路基板152には、フォトカプラで構成される信号回路216が設けられており、カードユニット制御用マイクロコンピュータ210と払出制御用マイクロコンピュータ220との間で、前記信号回路214,216を介して、ユニット接続信号(VL),ユニット動作信号(B RDY),玉貸要求信号(BRQ),玉貸完了信号(EXS),P機動作信号(P RDY)の各信号が送受信される。すなわち、カードユニット制御用マイクロコンピュータ210と払出制御用マイクロコンピュータ220とが接続されている場合には、カードユニット制御用マイクロコンピュータ210から払出制御用マイクロコンピュータ220に対しユニット接続信号(VL)が伝送される。このユニット接続信号(VL)の入力があることを条件として、パチンコ遊技機が打球発射可能な状態となるとともに、入賞玉に基づいた景品玉の払出制御が可能な状態となる。
【0071】
パチンコ遊技機の電源が投入された段階で払出制御用マイクロコンピュータ220からカードユニット制御用マイクロコンピュータ210に対しP機動作信号(P RDY)が出力される。次に、カードユニット50側においてカードが受付けられて玉貸スイッチ15が操作されてその検出信号が入力された段階で、ユニット動作信号(B RDY)が払出制御用マイクロコンピュータ220に出力される。この時点から所定の遅延時間だけ経過した時点で、玉貸要求信号(BRQ)がカードユニット制御用マイクロコンピュータ210から払出制御用マイクロコンピュータ220に出力される。この所定の遅延時間を設けた理由は、ユニット動作信号(B RDY)が入力されたことをパチンコ遊技機側で判定するのに十分な時間を設けて、ノイズによる誤動作を防止するためである。
【0072】
前記遅延時間が経過した時点から、さらに所定時間が経過した時点で、玉貸準備信号が払出制御用マイクロコンピュータ220からカードユニット制御用マイクロコンピュータ210に出力される。この時点から所定時間が経過した段階で、前記玉貸要求信号(BRQ)がOFFになりこれをもって玉貸指令信号がカードユニット制御用マイクロコンピュータ210から払出制御用マイクロコンピュータ220に出力されたものとされる。この時点から所定時間が経過した段階で、払出制御用マイクロコンピュータ220が前記玉貸指令信号に従って行なった玉貸制御動作が完了したことに基づいて玉貸完了信号(EXS)が払出制御用マイクロコンピュータ220からカードユニット制御用マイクロコンピュータ210に出力される。
【0073】
遊技制御基板199には、ワンチップ化された遊技制御用マイクロコンピュータ202が設けられている。この遊技制御用マイクロコンピュータ202には、CPU203,RAM205,I/Oポート206,セキュリティ回路204等が設けられている。そして、ワンチップ化された遊技制御用マイクロコンピュータ202の外部にROM207と、アドレスデコード回路208と、信号回路209と、スイッチ回路229と、ランプ・ソレノイド回路230とが設けられている。アドレスデコード回路208は、遊技制御用マイクロコンピュータ202からのアドレスデータをデコードし、遊技制御用マイクロコンピュータ202内のRAM205,I/Oポート206、あるいは前記ROM207にそれぞれチップセレクト信号を与える。
【0074】
スイッチ回路229は、入賞玉検出器122からの検出信号、玉切れスイッチ87a,87bからの検出信号、満タンスイッチ114からの検出信号、ドアスイッチ257からの検出信号、賞球個数スイッチ(賞球数検出器)256からの検出信号、V入賞スイッチ38からの検出信号、10カウントスイッチ39からの検出信号、および、後述する払出制御回路基板152用のリセットスイッチ156からのリセット操作信号を受け、それらの信号をI/Oポート206へ与える。それらの信号は、I/Oポート206からCPU203へ与えられる。なお、始動入賞玉検出器46もスイッチ回路229に接続されている。
【0075】
ランプ・ソレノイド回路230は、CPU203からI/Oポート206を介して与えられる入賞玉排出ソレノイド127の駆動信号、賞球ランプ43への駆動信号、玉切れランプ44への駆動信号、および、遊技効果ランプ22への駆動信号をそれぞれ対象の装置へ与える。
【0076】
セキュリティ回路204は、前記ROM207に記憶されているプログラムの不正改造を監視する機能を有するものである。セキュリティ回路204には、ROM207の記憶プログラムに対応するセキュリティデータが記憶されており、電源投入時において、ROM207に記憶されているプログラムを読出してそのプログラムと前記記憶されているセキュリティデータとを比較して両者が整合性を有するか否か判別し、整合性がとれている場合にのみCPU203を正常に動作可能な状態にする。また、パチンコ遊技機の稼動中においては、ROM207に記憶されているプログラムデータに従ってCPU203が動作するのであるが、このROM207に記憶されているプログラムデータのアドレスが正常なアドレス範囲内を超えたものとなっているか否かをセキュリティ回路204が判別し、正常なアドレス範囲を超えているとセキュリティ回路204が判別した場合には、CPU203が正常に制御動作できない状態にする。
【0077】
前記ROM207には、打玉がどの入賞領域に入賞したかに応じて払出すべき景品玉の数である賞球個数データが記憶されている。そして、入賞玉検出器122(図2参照)が入賞玉を検出してその検出信号がスイッチ回路229を介して遊技制御用マイクロコンピュータ202に入力されてくれば、遊技制御用マイクロコンピュータ202は、打玉が入賞した入賞領域に対応する賞球個数データをROM207から読出して、信号回路209(ともにフォトカプラで構成されている)を介して、入賞領域に応じた景品玉の個数の払出しを要求する賞球個数信号を払出制御用マイクロコンピュータ220に送信する。本実施の形態では、賞球個数信号は、図示するように4本の信号線からなる4ビットデータ(D0〜D3)の形で景品玉の個数を示すものであり、払出制御用マイクロコンピュータ220に伝送される。この例では、データD0〜D3は払出しを要求しない通常状態においてON状態であり、OFF状態にされることにより、景品玉の払出の要求およびその個数を示す。したがって、この実施の形態で賞球個数信号を送信(出力)する場合とは、データD0〜D3のいずれかがOFF状態にされることである。
【0078】
また、遊技制御用マイクロコンピュータ202は、後述するように、玉切れスイッチ87a,87bからの検出信号または満タンスイッチ114からの検出信号を受けた場合に、賞球および玉貸をすることが不可能な状態にする賞球玉貸不可信号を信号回路209を介して払出制御用マイクロコンピュータ220に送信する。その場合、払出制御用マイクロコンピュータ220では、賞球および玉貸を行なう処理が禁止される。このように、玉切れになった場合と、余剰玉受皿20が満タンになった場合とのように、景品玉および貸玉の払出しが不可能になった場合には、賞球玉貸不可信号が払出制御用マイクロコンピュータ220に向けて出力されるため、玉の払出しができない状態のまま景品玉の払出動作が行なわれるのを防ぐことができる。
【0079】
また、遊技制御用マイクロコンピュータ202は、I/Oポート206を介して発射モータ197のリレー回路224aに接続されており、後述するように10カウントスイッチエラーが生じた場合に、リレー回路224aを介して発射モータ197に供給される電源を遮断し、打球発射を停止させる制御を行なう。また、遊技制御用マイクロコンピュータ202は、景品玉の払出しが不可能な状態になった場合にも、同様に打球発射を停止させる制御を行なう。
【0080】
また、遊技制御用マイクロコンピュータ202は、I/Oポート206を介して情報出力回路270に接続されており、I/Oポート206および情報出力回路270を介して補給情報を出力する。補給情報とは、払出された景品玉個数を示す情報であり、景品玉を所定個数(たとえば10個)払出す毎にその旨を表わすパルスとして、補給情報出力端子79d(図2参照)を介してパチンコ遊技機1の外部に出力されホール用管理コンピュータに与えられる。
【0081】
また、図示を省略しているが、遊技制御用マイクロコンピュータ202は、I/Oポート206および所定の出力回路を介して、可変表示装置33の表示状態の制御(ドラム駆動制御)を行なうための表示制御データを可変表示装置33に与える。この表示制御データに基づいて、可変表示装置33が可変表示を行なう。さらに、遊技制御用マイクロコンピュータ202は、I/Oポート206および所定の出力回路を介して、ラウンド数表示器33aの表示状態の制御を行なうための表示制御データをラウンド数表示器33aに与える。この表示制御データに基づいて、ラウンド数表示器33aにおいてラウンド数またはエラーコードの表示が行なわれる。
【0082】
払出制御回路基板152に設けられた払出制御用マイクロコンピュータ220は、RAM220a,ROM220b,CPU220c,I/Oポート等を含むものである。払出制御回路基板152においては、払出制御用マイクロコンピュータ220が、賞球個数データおよび賞球玉貸不可信号を信号回路217を介して受信する。
【0083】
払出制御回路基板152には、さらにスイッチ回路218が設けられており、上皿玉検出器9からの検出信号、自動玉貸スイッチ(モード切換スイッチ)18からの検出信号、玉払出検出器240a,240bからの検出信号、位置検出器187からの検出信号、および、リセットスイッチ156からリセット操作信号が、それぞれスイッチ回路218を介して払出制御用マイクロコンピュータ220に入力される。遊技場の係員がリセットスイッチ156を操作してリセット操作を行なえば、そのリセット操作信号がスイッチ回路218を介して払出制御用マイクロコンピュータ220に入力される。なお、このリセットスイッチ156は、前述したように、遊技制御基板199のスイッチ回路にも接続されており、リセット操作がなされた場合に出力されるリセット操作信号が遊技制御基板199にも与えられる。
【0084】
払出制御回路基板152には、さらに電源回路219が設けられており、外部電源AC24Vからの電力がこの電源回路219に供給され、所定の直流電流に変換された状態で各種制御回路や電子機器にこの直流電流が供給される。また、AC24Vの電力が払出制御回路基板152を介してカードユニット制御基板210aに設けられている電源回路215にも供給され、この電源回路215からカードユニット50に設けられている各種制御回路や電子機器に電力が供給される。
【0085】
図7は、払出制御用マイクロコンピュータ220によって制御される各種制御機器を含む制御回路を示すブロック図である。払出制御回路基板152には、前述した回路以外に、LED回路222,モータ回路223,リレー回路224,ソレノイド回路225,情報出力回路226,ブザー・LED回路227が設けられている。
【0086】
払出制御回路基板152には、さらにエラー表示器155が設けられており、このエラー表示器155が前記LED回路222に接続されている。そして、払出制御用マイクロコンピュータ220からのエラーコード表示制御信号がLED回路222を介してエラー表示器155に与えられる。払出制御用マイクロコンピュータ220から、モータ制御信号がモータ回路223を介して払出モータ189に与えられるとともに、リレー回路224を介して発射モータ197に与えられる。さらに、ソレノイド回路225を介してソレノイド駆動信号(励磁用制御信号)が切換ソレノイド255に与えられる。払出制御用マイクロコンピュータ220は、情報出力回路226を介して、玉貸情報および玉貸条件成立情報を出力する。玉貸情報とは、玉貸動作が行なわれたことを表わす情報であり、玉貸情報出力端子79c(図2参照)を介してホール用管理コンピュータに出力される。玉貸条件成立情報とは、打球供給皿6に貸玉を払出すための玉貸条件が成立したことを表わす情報であり、カードユニット50に出力される。
【0087】
払出制御用マイクロコンピュータ220は、さらに、ブザー・LED回路227を介して、ブザー制御信号をブザー10に与え、自動玉貸表示信号を自動玉貸表示器11に与える。
【0088】
次に、玉貸時の動作について説明する。パチンコ遊技機側で単位額(たとえば100円)に相当するパチンコ玉(たとえば25個)が貸出されるごとに払出制御用マイクロコンピュータからカード処理機制御用マイクロコンピュータに玉貸完了信号が出力される。カード処理機制御用マイクロコンピュータではその出力信号を入力するたびに貸玉額分のパチンコ玉がすべて貸出されたか否かの判断を行ない、未だに貸出されていない未貸出分がある場合にはその未貸出分をすべて貸出すまで前記単位額(たとえば100円)のパチンコ玉の貸出を繰返し行なうのである。
【0089】
なお、この実施の形態においては、払出制御回路基板152における制御処理をリセットするリセットスイッチ156を設けた例を示した。しかし、これに限らず、遊技制御基板199における制御処理をリセットするためのリセットスイッチを設けてもよい。
【0090】
次に、遊技制御用マイクロコンピュータ202で実行される処理について説明する。図8〜図17は、遊技制御用マイクロコンピュータ202の動作を説明するためのフローチャートである。
【0091】
図8は、遊技制御用マイクロコンピュータ202で実行される遊技制御プログラムのメインルーチンが示されている。このメインルーチンは、たとえば2msec毎に1回実行される。まず、ステップS(以下、単にSと呼ぶ)1により、スタックポインタを指定する処理が行なわれる。次に、S2により、遊技制御の実行に用いられるRAM205の作業領域を、初期化し、チェックする処理が行なわれる。次に、S3により、遊技制御に用いられる汎用カウンタを更新(+1)する処理が行なわれる。
【0092】
次に、S4により、判定用乱数更新処理が実行される。この判定用乱数更新処理においては、次のような処理が行なわれる。ここで、判定用乱数とは、大当りを発生させるか否かを判定するために用いられる大当り判定用のランダムカウンタのカウンタ値を意味する。このランダムカウンタのカウンタ値は始動入賞に応じて所定のタイミングで抽出され、その抽出されたカウンタ値が予め定められた大当り判定値と一致した場合には、大当りを発生させることが決定される。そして、この判定用乱数更新処理においては、大当り判定用のランダムカウンタのカウンタ値を更新する処理がなされる。
【0093】
次に、S5により、表示用乱数更新処理が実行される。この表示用乱数更新処理においては、次のような処理が行なわれる。ここで、表示用乱数とは、大当りを発生させることが決定された場合および外れが決定された場合における可変表示装置33の可変表示の際の予定停止図柄を決定するために用いられる図柄決定用ランダムカウンタのカウンタ値を意味する。この図柄決定用ランダムカウンタは複数設けられており、それらのランダムカウンタのカウンタ値は始動入賞に応じて所定のタイミングで抽出され、その抽出されたカウンタ値に基づいて予定停止図柄が決定され、その決定された図柄が可変表示停止時に表示される。この表示用乱数更新処理においては、図柄決定用ランダムカウンタのカウンタ値を更新する処理がなされる。
【0094】
次に、S6により、パチンコ遊技機1に設けられている各種LEDを動作させるためのデータを作成するLEDデータ作成出力処理が行なわれる。次に、S7により、可変表示装置33において可変表示を行なわせるために表示制御データを可変表示装置33に向けて出力する処理が行なわれる。次に、S8により、V入賞スイッチ38および10カウントスイッチ39等の各種検出用スイッチの出力信号を読み込むための処理が行なわれる。次に、S9により、V入賞スイッチ38および10カウントスイッチ39の短絡等の監視を行なうとともに、それらの監視に基づいてエラーが生じていることが検出された場合にエラーフラグの設定を行なうカウントスイッチ監視処理が行なわれる。
【0095】
次に、S10により、パチンコ遊技機1に設けられている各種ランプを動作させるためのデータを作成するランプデータ作成処理が行なわれる。次に、S11により、所定条件下でのエラーフラグのクリアおよびエラー表示の設定等のエラーに関する所定を行なうエラー処理が行なわれる。次に、S12により、エラーフラグに基づいて、前述したようなエラーが生じているか否かを判断する処理が行なわれる。S12によりエラーが生じていると判断された場合は、後述するS15に進む。
【0096】
一方、S12によりエラーが生じていないと判断された場合は、S13に進み、可変表示装置33の図柄(特別図柄)の表示に関する処理である特別図柄処理が行なわれる。この特別図柄処理には、可変表示、大当り判定、および、大当りのラウンド処理等の大当り制御に関する各種処理も含まれる。S13の後、S15に進む。このように、遊技制御上でエラーが生じていない場合には特別図柄処理が実行されることにより、可変表示制御および大当り制御等の遊技制御が進行される。一方、遊技制御上でエラーが生じた場合には特別図柄処理が実行されないことにより、可変表示制御および大当り制御等の遊技制御の進行が停止される。このように、遊技制御上でエラーが生じた場合には遊技制御の主要部分である特別図柄処理が実行されないように制御されるため、遊技制御上の異常状態の発生に起因してパチンコ遊技機1が異なる異常な遊技状態に制御されることや、異常状態が継続されることなどを防ぐことができる。
【0097】
S15では、遊技における効果音等の音を作成する音作成処理が行なわれる。次に、S16により、ホール用管理コンピュータに向けて送信する所定の情報信号を作成する情報信号作成処理が行なわれる。次に、S17により、入賞玉の検出およびそれに伴う景品玉の払出しのデータ設定等の入賞玉に関連する各種処理を行なう入賞球信号処理が行なわれる。次に、S18により、賞球、すなわち、景品玉の払出しのための処理が行なわれる。次に、S19により、S5と同様の表示用乱数更新処理が繰返し実行される。
【0098】
図9は、図8のS9に示したカウントスイッチ監視処理のサブルーチンプログラムを示すフローチャートである。この処理において、特定領域スイッチはV入賞スイッチ38を意味し、カウントスイッチは10カウントスイッチ39を意味する。
【0099】
まず、ステップSA(以下、単にSAと呼ぶ)1により、カウントスイッチ監視タイマに初期値を指定する処理がなされる。ここで、カウントスイッチ監視タイマとは、10カウントスイッチ39の状態の監視のために用いられるタイマであって、所定値からのダウンカウントを行なうものであり、そのダウンカウントにより所定期間を計時する。カウントスイッチ監視タイマのデータは、RAM205の作業領域の所定のアドレスに格納されるようになっており、タイマ値の更新時に読出されて減算更新され得る。このSA1では、カウントスイッチ監視タイマの値にダウンカウントのための初期値が設定される。
【0100】
次に、SA2に進み、カウントスイッチカウンタのカウンタ値が「2」よりも小さいか否かの判断がなされる。ここで、カウントスイッチカウンタとは、10カウントスイッチ39が玉を検出した状態になっている期間をカウントするためのカウンタである。
【0101】
カウントスイッチカウンタは、10カウントスイッチ39が玉を検出した状態(オン状態)になっている場合に、前述したS8のスイッチ読み込み処理のプログラムが1回実行されるごとに加算更新されるようになっている。カウントスイッチカウンタのカウンタ値は、遊技制御用のプログラムの実行タイミングとの関係で、カウントスイッチカウンタのカウンタ値が「2」の場合が、10カウントスイッチ39の検出領域を通過する玉が検出されたものとみなすスイッチオン判定値として定められている。
【0102】
また、通常状態において玉は、10カウントスイッチ39の検出領域を短時間で通過していくため、カウントスイッチカウンタのカウンタ値が「2」を大きく超える場合は、10カウントスイッチ39が短絡状態または玉詰まり状態等の異常状態が生じている可能性がある。このため、SA2においては、10カウントスイッチ39に異常状態が生じているか否かを監視することが必要であるかどうかを判断しているのである。
【0103】
SA2によりカウンタ値が「2」よりも小さいと判断された場合は、10カウントスイッチ39の監視を行なう必要がないとみなし、後述するSA7に進む。一方、SA2によりカウンタ値が「2」よりも小さくない(2以上)と判断された場合は、10カウントスイッチ39の監視を行なう必要があるとみなし、SA3に進む。SA3では、RAM205の作業領域において、カウントスイッチ監視タイマを指定する処理がなされる。次に、SA4に進み、カウントスイッチ監視タイマの値を「1」だけ減算更新(−1)する処理がなされる。このように、カウントスイッチカウンタのカウンタ値が「2」以上になっている場合には、カウントスイッチ監視タイマにより10カウントスイッチ39の状態を監視する。
【0104】
次に、SA5に進み、カウントスイッチ監視タイマの値が「0」になっているか否かの判断がなされる。つまり、ここでは、カウントスイッチカウンタのカウンタ値がオン判定値になってからカウントスイッチ監視タイマにより定められている監視期間以上にわたって10カウントスイッチ39が玉を検出した状態になっているか否かを判断しているのである。
【0105】
SA5により「0」になっていないと判断された場合は、後述するSA7に進む。一方、SA5により「0」になったと判断された場合は、10カウントスイッチ39が短絡状態等の異常状態になっていると判断されるため、SA6に進み、カウントスイッチ短絡エラーフラグを設定する処理がなされる。これにより、10カウントスイッチ39が短絡状態になっているエラー状態が発生したことが示される。SA6の後、SA7に進む。SA7では、現在のカウントスイッチ監視タイマの値をRAM205に格納する処理がなされる。
次に、SA8に進み、特定領域スイッチ監視タイマに初期値を指定する処理がなされる。ここで、特定領域スイッチ監視タイマとは、V入賞スイッチ38の状態の監視のために用いられるタイマであって、所定値からのダウンカウントを行なうものであり、そのダウンカウントにより所定期間を計時する。特定領域スイッチ監視タイマのデータは、RAM205の作業領域の所定のアドレスに格納されるようになっており、タイマ値の更新時に読出されて減算更新され得る。このSA8では、特定領域スイッチ監視タイマの値にダウンカウントの初期値が設定される。
【0106】
次に、SA9に進み、特定領域スイッチカウンタのカウンタ値が「2」よりも小さいか否かの判断がなされる。ここで、特定領域スイッチカウンタとは、V入賞スイッチ38が玉を検出した状態になっている期間をカウントするためのカウンタである。
【0107】
特定領域スイッチカウンタは、V入賞スイッチ38が玉を検出した状態(オン状態)になっている場合に、前述したS8のスイッチ読み込み処理のプログラムが1回実行されるごとに加算更新されるようになっている。特定領域スイッチカウンタのカウンタ値は、遊技制御用のプログラムの実行タイミングとの関係で、特定領域スイッチカウンタのカウンタ値が「2」の場合が、V入賞スイッチ38の検出領域を通過する玉が検出されたものとみなすスイッチオン判定値として定められている。
【0108】
また、通常状態において玉は、V入賞スイッチ38の検出領域を短時間で通過していくため、特定領域スイッチカウンタのカウンタ値が「2」を大きく超える場合は、V入賞スイッチ38が短絡状態または玉詰まり状態等の異常状態が生じている可能性がある。このため、SA9においては、V入賞スイッチ38に異常状態が生じているか否かを監視することが必要であるかどうかを判断しているのである。
【0109】
SA9によりカウンタ値が「2」よりも小さいと判断された場合は、監視を行なう必要がないとみなし、後述するSA14に進む。一方、SA2によりカウンタ値が「2」よりも小さくない(2以上)と判断された場合は、監視を行なう必要があるとみなし、SA10に進む。SA10では、RAM205の作業領域において、特定領域スイッチ監視タイマを指定する処理がなされる。次に、SA11に進み、特定領域スイッチ監視タイマの値を「1」だけ減算更新(−1)する処理がなされる。このように、特定領域スイッチカウンタのカウンタ値が「2」以上になっている場合には、特定領域スイッチ監視タイマによりV入賞スイッチ38の状態を監視する。
【0110】
次に、SA12に進み、特定領域スイッチ監視タイマの値が「0」になっているか否かの判断がなされる。つまり、ここでは、特定領域スイッチカウンタのカウンタ値がオン判定値になってから特定領域スイッチ監視タイマにより定められている監視期間以上にわたってV入賞スイッチ38が玉を検出した状態になっているか否かを判断しているのである。
【0111】
SA12により「0」になっていないと判断された場合は、後述するSA14に進む。一方、SA12により「0」になったと判断された場合は、V入賞スイッチ38が短絡状態等の異常状態になっていると判断されるため、SA13に進み、特定領域スイッチ短絡エラーフラグを設定する処理がなされる。これにより、V入賞スイッチ38が短絡状態になっているエラー状態が発生したことが示される。SA13の後、SA14に進む。SA14では、現在の特定領域スイッチ監視タイマの値をRAM205に格納する処理がなされる。
【0112】
次に、SA15に進み、不正入賞監視カウンタのカウンタ値が「0」になっているか否かの判断がなされる。ここで、不正入賞監視カウンタとは、不正入賞監視期間の開始時期を規定するために用いられるカウンタであり、この不正入賞監視カウンタの値が「0」になっている場合には、開閉板36が閉塞状態になっており、かつ、入賞玉が大入賞口内に進入し得ない状態になっている。したがって、SA15によりカウンタ値が「0」になっていないと判断された場合は、不正入賞を監視する必要がない時期(正規の入賞玉が得られる時期)であるため、このカウントスイッチ監視処理が終了する。一方、SA15によりカウンタ値が「0」になっていると判断された場合は、不正入賞を監視する必要がある時期(正規の入賞玉が得られない時期)であり、SA16に進む。
【0113】
SA16では、特定領域スイッチカウンタのカウンタ値が前述したスイッチオン判定値(「2」)であるか否かの判断がなされる。すなわち、ここでは、V入賞スイッチ38が入賞玉を検出したか否かの判断がなされる。SA16によりスイッチオン判定値であると判定された場合は、SA18に進み、不正入賞エラーが発生した旨を示す不正入賞エラーフラグを設定する処理がなされる。これにより、不正入賞によるエラー状態が発生したことが示される。
【0114】
一方、SA16によりスイッチオン判定値ではないと判定された場合は、SA17に進み、カウントスイッチカウンタのカウンタ値が前述したスイッチオン判定値(「2」)であるか否かの判断がなされる。すなわち、ここでは、10カウントスイッチ39が入賞玉を検出したか否かの判断がなされる。SA17によりスイッチオン判定値ではないと判定された場合は、このカウントスイッチ監視処理が終了する。つまり、不正入賞監視期間において、V入賞スイッチ38および10カウントスイッチ39のいずれもがオン状態になっていない場合には、不正入賞が行なわれていないと判断される。一方、SA17によりスイッチオン判定値であると判定された場合は、SA18に進み、不正入賞エラーが発生した旨を示す不正入賞エラーフラグを設定する処理がなされる。これにより、不正入賞によるエラー状態が発生したことが示される。
【0115】
このように、不正入賞監視期間において、V入賞スイッチ38または10カウントスイッチ39がオン状態になった場合には、不正入賞が生じたと判断されるのである。
【0116】
SA18の後、SA19に進み、不正入賞エラー復旧タイマに初期値を設定する処理がなされる。この不正入賞エラー復旧タイマとは、不正入賞エラーが発生した場合に、所定時間後にそのエラー状態を自動解除するために用いられるタイマであり、所定値からダウンカウントされる。このSA19では、不正入賞エラー復旧タイマをダウンカウントする場合の初期値が設定されるのである。SA19の後、このカウントスイッチ監視処理が終了する。
【0117】
図10は、図8のS11に示したエラー処理のサブルーチンプログラムを示すフローチャートである。
【0118】
まず、ステップSB(以下、単にSBと呼ぶ)1により、エラーフラグがエラーなしの状態になっているか否かの判断がなされる。SB1によりエラーフラグがエラーなしの状態になっていると判断された場合は、エラーがまったく生じていない状態であるので、このエラー処理が終了する。一方、SB1によりエラーフラグがエラーなしの状態になっていないと判断された場合は、いずれかの種類のエラーが生じている状態であり、SB2に進む。
【0119】
SB2では、RAM205の作業領域において、DG3対応データおよびDG1対応データと呼ばれるラウンド数表示器33a用の通常時表示データをクリアする処理がなされる。次に、SB3に進み、RAM205の作業領域において、DG3対応データEと呼ばれるラウンド数表示器33a用のエラー発生時表示データを指定する処理がなされる。ここで指定されるエラー発生時表示データは、エラーが発生した旨を表示するためのデータである。
【0120】
次に、SB4に進み、現在設定されているエラーが不正入賞エラーフラグであるか否かの判断がなされる。SB4により不正入賞エラーフラグであると判断された場合には、後述するSB8に進む。一方、SB4により不正入賞エラーフラグではないと判断された場合には、SB5に進み、汎用カウンタのビット7(第7ビット)の値が「1」であるか否かの判断がなされる。ここで、エラーの種類が特定されない場合には、汎用カウンタのビット7が「1」にされるようになっている。したがって、SB5により汎用カウンタのビット7の値が「1」であると判断された場合は、エラーの種類を特定せずに、後述するSB8に進む。
【0121】
一方、SB5により汎用カウンタのビット7の値が「1」ではないと判断された場合は、SB6に進み、エラーフラグの種類に対応するエラー時DG2対応データのアドレスを予め定められた算出手順にしたがって算出する処理がなされる。
【0122】
次に、SB7に進み、RAM205の作業領域において、B6により算出されたアドレスに対応するエラー時DG2対応データを指定する処理がなされる。その後、SB8に進む。
【0123】
SB8では、SB3またはSB8により指定されたDG2対応データをRAM205の作業領域に格納する処理がなされる。これにより、格納されたDG2対応データに対応するエラー時表示データに基づき、数字等の表示情報を用いて、エラーが発生した旨を示すエラーコードがラウンド数表示器33aにおいて表示される。そのようなエラー表示は、別のルーチンにおいて、遊技制御用マイクロコンピュータ202からラウンド数表示器33aにエラー時表示データが送られることにより行なわれる。その場合、SB7において指定されたデータに基づいて、エラーの種類が特定されるエラーコードの表示が行なわれる。
【0124】
次に、SB9に進み、カウントスイッチカウンタのカウンタ値が「0」であるか否かの判断がなされる。SB9によりカウンタ値が「0」であると判断された場合は、SB10に進み、カウントスイッチ短絡エラーをクリアする処理がなされる。この場合は、カウントスイッチカウンタの値が「0」になっているので、カウントスイッチ短絡エラー状態が復旧したものとみなしてカウントスイッチ短絡エラーフラグをクリアし、カウントスイッチ短絡エラーを解除するのである。SB10の後、SB12に進む。
【0125】
一方、SB9によりカウンタ値が「0」ではないと判断された場合は、SB11に進み、カウントスイッチ移動エラーフラグをクリアする処理がなされる。ここで、カウントスイッチ移動エラーとは、所定のサブルーチンにおいて検出されてエラーフラグが設定されるエラー状態であり、10カウントスイッチ39の位置が移動されたことに起因して10カウントスイッチ39が入賞玉を検出しなくなったエラー状態をいう。この場合は、カウントスイッチカウンタの値が「0」でない、すなわち、10カウントスイッチ39が入賞玉を検出するようになっているので、カウントスイッチ移動エラー状態が復旧したものとみなしてカウントスイッチ移動エラーフラグをクリアし、カウントスイッチ移動エラーを解除するのである。SB11の後、SB12に進む。
【0126】
SB12においては、特定領域スイッチカウンタのカウンタ値が「0」になっているか否かの判断がなされる。SB12により「0」であると判断された場合は、SB13に進み、特定領域スイッチ短絡エラーをクリアする処理がなされる。この場合は、特定領域スイッチカウンタの値が「0」になっているので、特定領域スイッチ短絡エラー状態が復旧したものとみなして特定領域短絡エラーフラグをクリアし、特定領域短絡エラーを解除するのである。SB13の後、SB14に進む。一方、SB12によりカウンタ値が「0」ではないと判断された場合は、まだ特定領域短絡エラー状態が復旧していないものとみなして、そのままSB14に進む。
【0127】
SB14では、前述した不正入賞エラー復旧タイマを「1」だけ減算更新(−1)する処理がなされる。このように、エラー処理が1回実行されるごとに不正入賞エラー復旧タイマがダウンカウントされる。次に、SB15に進み、不正入賞エラー復旧タイマの値が「0」になっているか否かの判断がなされる。SB15により「0」になっていないと判断された場合は、このエラー処理が終了する。一方、SB15により「0」になっていると判断された場合は、SB16に進み、不正入賞エラーをクリアする処理がなされる。ここでは、不正入賞エラーが発生してから所定期間が経過したことに応じて、そのエラーに対する処置がとられたものとみなして、不正入賞エラーフラグをクリアし、不正入賞エラーの状態を解除するのである。SB16の後、このエラー処理が終了する。
【0128】
図11は、図8のS17に示した入賞球信号処理のサブルーチンプログラムを示すフローチャートである。
【0129】
まず、ステップSC(以下、単にSCと呼ぶ)1により、入賞球信号がオン状態(入賞玉を検出した状態)であるか否かの判断がなされる。ここで、入賞球信号とは、入賞玉検出器122の検出信号を意味する。SC1により入賞球信号がオン状態ではないと判断された場合は、SC2に進み、入賞球信号カウンタをクリアする処理がなされる。ここで、入賞球信号カウンタとは、入賞球信号がオン状態である場合に加算更新されるカウンタである。入賞球信号カウンタのカウンタ値は、遊技制御用のプログラムの実行タイミングとの関係で、入賞球信号カウンタのカウンタ値が「2」の場合が、入賞玉検出器122により玉が検出されたものとみなすスイッチオン判定値として定められている。このSC2では、入賞球信号がオフ状態(入賞玉を検出していない状態)になると、入賞球信号カウンタがクリアされるのである。SC2の後、後述するSC5に進む。
【0130】
一方、SC1により入賞球信号がオン状態であると判断された場合は、SC3に進み、入賞球信号カウンタのカウンタ値が最大値以上であるか否かの判断がなされる。ここで、入賞球信号カウンタには最大値が予め定められており、最大値を超えるカウントができないようになっている。SC3により最大値以上であると判断された場合は、後述するSC5に進む。一方、SC3により最大値以上ではないと判断された場合は、SC4に進み、入賞球信号カウンタを「1」だけ加算更新(+1)する処理がなされる。つまり、入賞球信号がオン状態である場合に、最大値を超えない範囲で入賞球信号カウンタが加算更新されるのである。SC4の後、SC5に進む。
【0131】
SC5では、入賞球信号カウンタをRAM205の作業領域の所定のアドレスに格納する処理がなされる。次に、SC6に進み、入賞玉に応じた賞球個数(景品玉の払出個数)を「0個」に指定するデータを指定する処理がなされる。次に、SC7に進み、入賞玉信号カウンタのカウンタ値が「0」であるか否かの判断がなされる。SC7によりカウンタ値が「0」であると判断された場合は、後述するSC13に進む。この場合には、入賞玉が検出されていないので、賞球個数がSC6で指定された「0個」に確定する。
【0132】
一方、SC7によりカウンタ値が「0」でないと判断された場合は、SC8に進み、入賞玉信号カウンタのカウンタ値が前述した入賞玉検出器122のスイッチオン判定値と一致していないかどうかの判断がなされる。つまり、入賞玉検出器122により入賞玉が検出されたか否かの判断がなされる。SC8によりスイッチオン判定値と一致していないと判断された場合は、この入賞玉信号処理が終了する。
【0133】
一方、SC8によりスイッチオン判定値と一致していると判断された場合は、入賞玉が検出された場合であり、SC9に進み、入賞玉に応じた賞球個数を「15個」に指定するデータ(賞球個数指定データ)を指定する処理がなされる。これにより、前述したSC6で指定された「0個」の指定データは無効になる。次に、SC10に進み、始動口賞球記憶カウンタのカウンタ値が「0」であるか否かの判断がなされる。ここで、始動口賞球記憶カウンタとは、始動入賞記憶があった場合に、その始動入賞記憶数をカウントするカウンタであり、所定のサブルーチンによりカウントされる。SC10によりカウンタ値が「0」であると判断された場合は、後述するSC13に進む。この場合には、始動入賞記憶がないので、賞球個数がSC9で指定された「15個」に確定する。
【0134】
一方、SC10によりカウンタ値が「0」であると判断された場合は、SC11に進み、入賞玉に応じた賞球個数を「6個」に指定するデータ(賞球個数指定データ)を指定する処理がなされる。これにより、前述したSC9で指定された「15個」の指定データは無効になる。この場合には、始動入賞記憶があるので、始動入賞した入賞玉に対する景品玉の払出しを優先して行なう。このため、この場合には、始動入賞記憶があるので、賞球個数がSC11で指定された「6個」に確定する。SC11の後、SC12に進み、始動口賞球記憶カウンタのカウンタ値を「1」だけ減算する処理がなされる。つまり、景品玉の払出しに関する処理が済んだ始動入賞に対応する始動口賞球記憶カウンタのカウンタ値が消化されるのである。
【0135】
このように、入賞玉がない場合には、賞球個数が「0個」に決定される。また、入賞玉があるが、始動入賞記憶がない場合には、賞球個数が「15個」に決定される。また、入賞玉があり、かつ、始動入賞記憶がある場合には、賞球個数が「6個」に決定される。
【0136】
SC12の後、SC13に進み、ポートD出力データと呼ばれるホール用管理コンピュータへの出力データを指定する処理がなされる。次に、SC14に進み、SC13で指定したポートD出力データに、前述したように決定された景品玉の払出個数を示す賞球信号を加算する処理がなされる。これにより、ホール用管理コンピュータには、景品玉の払出個数が送信されることになる。
【0137】
図12は、図8のS18に示した賞球払出処理の処理内容を示すフローチャートである。
【0138】
まず、ステップSI(以下、単にSIという)1により、賞球データ出力フラグがセットされているか否かの判断がなされる。ここで、賞球データ出力フラグとは、払出制御回路基板152の払出制御用マイクロコンピュータ220に賞球個数信号を送信する場合にセットされるフラグである。SI1によりセットされていると判断された場合は、賞球個数信号を送信中であるので、その賞球個数信号が示す賞球個数データに応じた景品玉の払出状態を監視するために、後述するSI6に進む。一方、SI1によりセットされていないと判断された場合は、SI2に進み、10カウントエラーフラグおよび賞球排出エラーフラグ等の景品玉の払出に関するすべてのエラーフラグのうちのいずれかがセットされているか否かの判断がなされる。
【0139】
SI2によりエラーフラグがセットされていると判断された場合は、後述するSI19に進む。一方、SI2によりエラーフラグがセットされていないと判断された場合は、SI3に進み、賞球個数指定データの内容が「15個」または「6個」であるか否かの判断がなされる。すなわち、入賞玉の検出に応じて賞球個数信号の送信が必要であるか否かの判断がなされる。
【0140】
SI3により賞球個数指定データの内容が「15個」または「6個」ではないと判断された場合は、後述するSI12に進む。一方、SI3により賞球個数指定データの内容が「15個」または「6個」であると判断された場合は、SI4に進み、賞球情報出力処理が実行される。これにより、賞球個数信号(賞球個数データ)が出力される。賞球情報出力処理の内容については、図14を用いて後述する。SI2〜SI4に示したように、賞球個数信号の送信中でない場合において、エラーが生じておらず、入賞玉が検出された場合には、その入賞玉に応じた景品玉の払出しを要求するために賞球個数信号(賞球個数データ)が出力される。SI4の後、SI6に進む。
【0141】
SI6に進んだ場合は、賞球払出タイマがセット中(計時中)であるか否かの判断がなされる。ここで、賞球払出タイマとは、後述するSI8でセットされるタイマであり、景品玉の払出の時間間隔を管理するために用いられる。
【0142】
SI6により賞球払出タイマがセット中であると判断された場合は、後述するSI13に進む。一方、SI6により賞球払出タイマがセット中ではないと判断された場合は、SI7に進み、賞球数スイッチフラグがセットされているか否かの判断がなされる。ここで、賞球数スイッチフラグとは、賞球個数スイッチ256により景品玉の払出しが検出された場合にセットされるフラグである。すなわち、景品玉の払出しが検出されたか否かの判断がなされる。SI7により賞球数スイッチフラグがセットされていないと判断された場合は、後述するSI12に進む。一方、SI7により賞球数スイッチフラグがセットされていると判断された場合は、SI8に進み、賞球払出タイマをセットする処理がなされた後、SI9に進む。
【0143】
SI9では、賞球個数カウンタのカウンタ値を「1」だけ加算する処理がなされる。ここで、賞球個数カウンタは、賞球個数スイッチ256により検出された景品玉の個数を計数するためのカウンタである。次に、SI10に進み、補給情報出力用カウンタを「1」だけ加算する処理がなされる。ここで、補給情報出力用カウンタは、玉払出装置97から払出された景品玉の個数を特定する補給情報を出力するために、払出された景品玉の個数を計数するためのカウンタである。次に、SI11に進み、次に検出される景品玉に対応する処理を行なうために、賞球数スイッチフラグをクリアする処理がなされる。SI11の後、SI12に進む。
【0144】
SI7〜SI11に示したように、景品玉の払出しが検出されると、その検出に応じて、賞球払出タイマがセットされて次の景品玉の検出までの時間の管理が開始され、景品玉の払出の制御のために賞球個数カウンタにより景品玉の払出個数が計数され、かつ、景品玉の払出個数の出力のために補給情報出力用カウンタにより景品玉の払出個数が計数される。
【0145】
SI12に進んだ場合は、入賞玉が払出されたか否かをチェックするために、入賞玉排出チェック処理が実行される。この入賞玉排出チェック処理の処理内容は、図15を用いて後述する。
【0146】
また、前述したSI6により賞球払出タイマがセット中であると判断されてSI13に進んだ場合は、前述したSI8によりセットされた賞球払出タイマの計時時間に基づいて、賞球払出タイマの計時開始後に所定時間が経過したか否かの判断がなされる。すなわち、SI13では、ある景品玉が検出されてから所定時間が経過したか否かの判断がなされるのである。この場合の所定時間は、入賞玉の検出に応じて所定個数の景品玉が連続的に払出される場合に要する1個ずつの景品玉の払出間隔よりも長い時間であり、一連の連続的な景品玉の払出しが終了したと判断できる時間に予め定められている。具体的に、SI13で判断される所定時間は、後述する景品玉の払出しの再トライ(図18参照)がない場合の正常な景品玉の払出しに要する時間と、後述する再トライに要する時間と、所定のマージン時間(余裕時間)とを合計した時間に設定されているのである。
【0147】
SI13により所定時間が経過していないと判断された場合は、まだ一連の連続的な景品玉の払出しが継続されている可能性があるとみなされるため、SI7に進み、前述した処理を繰返し行なう。一方、SI13により所定時間が経過したと判断された場合は、まだ一連の連続的な景品玉の払出しが継続されている可能性がないとみなされるため、SI14に進み、賞球払出タイマをクリアする処理がなされる。SI14の後、SI15に進み、賞球個数カウンタにより示される払出された景品玉の個数である賞球数と、送信した賞球個数信号に基づいて記憶された払出すべき景品玉数である賞球個数記憶値(後述する図14のSJ3参照)とが一致するか否かの判断がなされる。
【0148】
SI15により一致しないと判断された場合は、後述するSI22に進む。一方、SI15により一致すると判断された場合は、払出すべき景品玉数の払出しが完了したので、SI16に進み、賞球個数信号の出力を停止させる処理がなされる。次に、SI17に進み、SI16による賞球個数信号の出力の停止に応じて賞球データ出力フラグをクリアする処理がなされる。これにより、景品玉の払出を要求していない状態であることが示される。この賞球データ出力フラグは、後述する賞球情報出力処理により賞球個数信号が出力された場合にセットされるフラグであり、セットされることにより景品玉の払出を要求している状態であることが示される。次に、SI18に進み、次に検出される入賞玉に応じて払出される景品玉を計数するために、賞球個数カウンタをクリアする処理がなされる。SI18の後、SI12に進む。
【0149】
また、前述したSI15により一致しないと判断されてSI22(図13参照)に進んだ場合は、SI15で説明した賞球数が賞球個数記憶値よりも多いか否かの判断がなされる。SI22により賞球数が賞球個数記憶値よりも多くないと判断された場合は、後述するSI27に進む。一方、SI22により賞球数が賞球個数記憶値よりも多いと判断された場合は、SI23に進み、賞球排出エラーフラグ1をセットする処理がなされる。このように賞球排出エラーフラグ1がセットされる異常状態を賞球排出エラー1の状態という。ここで、賞球排出エラーフラグ1は、払出された景品玉の個数が払出予定個数よりも多くなった異常状態を示すフラグである。
【0150】
SI23の後、SI24に進み、賞球個数信号の出力を停止させる(賞球個数信号のデータD0〜D3をすべてON状態にする)処理がなされる。次に、SI25に進み、SI16による賞球個数信号の出力の停止に応じて賞球データ出力フラグをクリアする処理がなされる。これにより、景品玉の払出を要求していない状態であることが示される。次に、SI26に進み、次に検出される入賞玉に応じて払出される景品玉を計数するために、賞球個数カウンタをクリアする処理がなされる。SI26の後、SI12に進む。このように、払出された景品玉の個数が払出予定個数よりも多くなってしまった場合には、エラーフラグをセットするとともに、賞球個数信号の出力を停止させて景品玉の払出しを終了させる。
【0151】
一方、SI22により賞球数が賞球個数記憶値よりも多くないと判断されてSI27に進んだ場合、すなわち、払出された景品玉の個数が払出予定個数よりも少ない場合は、賞球排出エラーフラグ2をセットする処理がなされる。このように賞球排出エラーフラグ2がセットされる異常状態を賞球排出エラー2の状態という。ここで、賞球排出エラーフラグ2は、払出された景品玉の個数が払出予定個数よりも少なくなった異常状態を示すフラグである。SI27の後、SI12に進む。このように、賞球数が賞球個数記憶値よりも少なくなってしまった場合には、エラーフラグをセットするが、残りの景品玉の払出しを要求するために、賞球個数信号の出力を継続させる。
【0152】
また、前述したSI2によりエラーフラグがセットされていると判断されてSI19に進んだ場合は、賞球排出エラーフラグ1がセットされているか否かの判断がなされる。SI19により賞球排出エラーフラグ1がセットされていないと判断がされた場合は、後述するSI12に進む。一方、SI19により賞球排出エラーフラグ1がセットされていると判断がされた場合は、SI20に進み、リセット信号を受信したか否かの判断がなされる。
【0153】
SI20によりリセット信号を受信していないと判断された場合は、SI12に進む。一方、SI20によりリセット信号を受信したと判断された場合は、SI21に進み、賞球排出エラーフラグ1をクリアする処理がなされる。たとえば、賞球排出エラーフラグ1がセットされる場合のように払出された景品玉の個数が払出予定の個数よりも多くなってしまった異常状態が発生すると、後述するようなエラー報知に応じて係員が復旧作業を行なった後、リセットスイッチ156が操作される。このような場合は、SI21によりリセット信号に応じてエラー状態が解除されるのである。SI21の後、SI12に進む。
【0154】
また、この賞球払出処理においては、前述したエラー処理においてエラー状態が検出されてエラーフラグがセットされた場合であっても、入賞玉の検出に応じて景品玉の払出しが必要となったことに応じて、遊技制御上のエラーとは無関係に賞球個数信号を出力する。したがって、前述したエラー処理において検出される遊技上のエラーが発生した場合であっても、景品玉の払出しが可能である。
【0155】
なお、この例では、賞球払出タイマが所定値になったタイミングでSI15による一致の判別を行うようにしたが、これに限らず、賞球払出タイマが所定値になったか否かにかかわらず、賞球個数カウンタが更新されるごとに一致の判別を行うようにしてもよい。ただし、その場合において、賞球個数信号を停止させるステップに進むか、賞球数と賞球個数記憶値との大小関係を判別するステップに進むかの判断は、賞球払出タイマが所定値になってから行なう必要がある。
【0156】
以上に説明した賞球払出処理によれば、遊技制御用マイクロコンピュータ202の側、すなわち、遊技制御基板199の側において、玉払出装置97から払出された景品玉の個数が把握されて賞球個数信号の出力制御が行なわれる。このため、遊技制御基板199から払出制御回路基板152への一方向通信による景品玉の払出制御でありながらも、遊技制御基板199の側において、景品玉の払出し状態をチェックすることができる。
【0157】
さらに、実際に払出された景品玉の個数が払出予定の個数よりも多くなってしまった異常状態および実際に払出された景品玉の個数が払出予定の個数よりも少なくなってしまった異常状態が生じた場合に、それぞれに応じてエラーフラグがセットされるため、そのエラーフラグに基づいて、景品玉の払出状態に異常が生じたことを認識することができる。
【0158】
さらに、実際に払出された景品玉の個数が払出予定の個数よりも少なくなってしまった異常状態が生じた場合には、払出予定個数の景品玉が払出されるまで、景品玉の払出しを要求する賞球個数信号が出力され続けるため、遊技制御用マイクロコンピュータ202の側で把握している景品玉の払出個数を優先することにより、遊技制御用マイクロコンピュータ202と、払出制御用マイクロコンピュータ220との間で、両者が把握している景品玉の払出個数が一致しない場合でも、支障なく払出制御を行なうことができる。
【0159】
さらに、景品玉の検出出力があった後の次の景品玉の検出出力の監視を行なうことにより、所定個数の一連の景品玉の払出終了タイミングを確実に判断することができる。つまり、所定期間次の景品玉の払出しがない場合には、所定個数の一連の払出しが終了しているのである。このようにして確実に判断される一連の景品玉の払出終了タイミングに基づいて、所定個数の景品玉の払出が正常に行なわれているか否かが判別されるため、遊技制御基板199から払出制御回路基板152への一方向通信による景品玉の払出制御でありながらも、遊技制御用マイクロコンピュータ202において、景品玉の払出し状態を確実にチェックすることができる。これにより、特に、遊技場に不利益となるような過剰な個数の払出しを確実にチェックすることができる。
【0160】
次に、前述したSI4の賞球情報出力処理について詳細に説明する。図14は、賞球情報出力処理の処理内容を示すフローチャートである。まず、ステップSJ(以下、単にSJという)1により、景品玉の払出個数に応じた賞球データ出力フラグをセットする処理がなされる。この賞球データ出力フラグがセットされることにより、賞球個数信号の出力中である旨が示される。
【0161】
次に、SJ2に進み、入賞領域の種別に応じて、前述した入賞球信号処理により指定された個数の賞球個数データを示す賞球個数信号を出力する処理(払出制御回路基板152への賞球個数データの送信)がなされる。次に、SJ3に進み、SJ2により出力した賞球個数のデータをRAM205に記憶する処理がなされる。次に、SJ3に進み、入賞玉を排出するための入賞玉排出処理が実行される。この入賞玉排出処理の詳細については図15を用いて後述する。
【0162】
以上に示したように、始動入賞口34への入賞玉については、6個の景品玉の払出し制御が行なわれ、始動入賞口34以外の入賞領域への入賞玉については15個の景品玉の払出し制御が行なわれる。また、出力した賞球個数信号のデータが示す景品玉の個数は、景品玉の払出しが正常に行なわれているか否かのチェック、および、払出制御回路基板152が玉の払出し途中でリセットされた場合の残数の景品玉の払出し等のために、記憶されるのである。
【0163】
なお、この例では、入賞領域の種別に応じて2種類の景品玉数の払出しを行う場合を示したが、これに限らず、入賞領域の種別に応じて3種類以上の景品玉数の払出しを行うようにしてもよい。たとえば3種類の場合には、始動入賞口34と、大入賞口と、それ以外の入賞領域(一般入賞口)との各入賞口に玉検出スイッチを設け、その検出出力に基づいて景品玉数を決定し、たとえば始動入賞口34の場合は6個、大入賞口の場合は15個、一般入賞口の場合は10個というように、景品玉を払出すようにすればよい。
【0164】
次に、入賞玉排出処理の処理内容を説明する。図15は、入賞玉排出処理の処理内容を示すフローチャートである。まず、ステップSK(以下、単にSKという)1により、排出処理フラグをセットする処理がなされる。ここで、排出処理フラグとは、入賞玉の排出が実行されている状態であることを示すフラグである。次に、SK2に進み、入賞玉排出ソレノイド127をON(励磁)状態に駆動する処理がなされる。これにより、入賞玉処理装置115に保持されている入賞玉が解放されて排出される。
【0165】
次に、SK3に進み、入賞玉排出タイマをセットする処理がなされる。これにより、入賞玉排出タイマによる計時が開始される。ここで、入賞玉排出タイマとは、入賞玉を排出するに要する時間を計時するためのタイマである。SK3の後、この入賞玉排出処理が終了する。
【0166】
次に、前述したSI12の入賞玉排出チェック処理について説明する。図16および図17は、入賞玉排出チェック処理の処理内容を示すフローチャートである。まず、ステップSQ(以下、単にSQという)1により、前述した排出処理フラグがセットされているか否かの判断がなされる。すなわち、入賞玉の排出が行なわれているか否かの判断がなされる。
【0167】
SQ1により排出処理フラグがセットされていないと判断された場合は、後述するSQ9に進む。一方、SQ1により排出処理フラグがセットされていると判断された場合は、SQ2に進み、入賞玉を排出した後に次の入賞玉を処理するために入賞玉排出ソレノイド127をOFF(消磁)状態にするタイミングであるソレノイドOFFタイミングであるか否かの判断がなされる。ここで、ソレノイドOFFタイミングは、前述した入賞玉排出タイマにより管理されるタイミングであり、入賞玉排出ソレノイド127がON状態にされた後の所定時間経過後に設定されている。つまり、入賞玉排出ソレノイド127は、入賞玉を排出するためにOFF状態からON状態にされた後に所定時間経過すると、次の入賞玉を処理を処理するためにOFF状態に戻されるのであるが、そのOFF状態にするタイミングが入賞玉排出タイマにより管理されているのである。この場合の所定時間は、入賞玉処理装置115が正常に動作する場合に通常要する入賞玉の排出時間を基準に定められている。
【0168】
SQ2によりソレノイドOFFタイミングではないと判断された場合は、後述するSQ4に進む。一方、SQ2によりソレノイドOFFタイミングであると判断された場合は、SQ3に進み、入賞玉排出ソレノイド127をOFF状態にする処理が行なわれる。これにより、入賞玉処理装置115が入賞玉を保持可能な状態にされる。SQ3の後、この入賞玉排出チェック処理が終了する。
【0169】
前述したSQ2によりソレノイドOFFタイミングではないと判断されてSQ4に進んだ場合は、入賞玉チェックタイミングであるか否かの判断がなされる。この入賞玉チェックタイミングは、前述した入賞玉排出タイマにより管理されるタイミングであり、前述したソレノイドOFFタイミングから所定時間経過後に設定されている。入賞玉が排出されて入賞玉排出ソレノイド127がOFF状態にされると、次の入賞玉を保持可能な状態に戻るのであるが、入賞玉が正常に排出された場合は、そのような入賞玉を保持可能な状態に戻るまで、たとえ次の入賞玉があっても入賞玉が入賞玉検出器122により検出されないはずである。このため、入賞玉チェックタイミングは、入賞玉が正常に排出されたか否かをチェックするためのタイミングとして、そのように入賞玉排出ソレノイド127がOFF状態にされてから入賞玉を保持可能な状態に戻るまでの間の入賞玉が検出さないはずのタイミングに設定されている。
【0170】
SQ4により入賞玉チェックタイミングではないと判断された場合は、この入賞玉排出チェック処理が終了する。一方、SQ4により入賞玉チェックタイミングであると判断された場合は、SQ5に進み、前述した入賞球信号カウンタのカウンタ値がスイッチオン判定値(2)以上であるか否かの判断がなされる。SQ5によりスイッチオン判定値以上であると判断された場合は、入賞玉が正常に排出されていない異常状態であり、後述するSQ12に進む。一方、SQ5によりスイッチオン判定値よりも小さいと判断された場合は、入賞玉が正常に排出されている状態であり、SQ6に進み、SQ6〜SQ8により、次の入賞玉の排出のチェックの準備をするための処理を行なう。
【0171】
SQ6に進んだ場合は、再トライフラグをクリアする処理がなされる。ここで、再トライフラグは、入賞玉が正常に排出されない場合において入賞玉の排出を再度試みる(再トライする)ときにその状態を示すフラグであり、後述するSQ13によりセットされるものである。SQ6では、再トライフラグがセットされているか否かにかかわらず再トライフラグを初期化するのである。次に、SQ7に進み、排出処理フラグをクリアする処理がなされる。これにより、入賞玉の排出状態ではないことが示される。次に、SQ8に進み、入賞玉排出タイマをクリアする処理がなされた後、この入賞玉排出チェック処理が終了する。
また、前述したSQ5によりスイッチオン判定値以上であると判断されてSQ12(図17参照)に進んだ場合は、前述した再トライフラグがセットされているか否かの判断がなされる。SQ12により再トライフラグがセットされていると判断された場合は、後述するSQ16に進む。一方、SQ12により再トライフラグがセットされていないと判断された場合は、SQ13に進み、入賞玉の排出の再トライをするために再トライフラグをセットする。そして、SQ14に進み、入賞玉排出ソレノイド127をON状態にする処理がなされる。これにより、入賞玉の排出が再度試みられる。そして、SQ15に進み、入賞玉排出タイマをセットする処理がなされた後、この入賞玉排出チェック処理が終了する。このように入賞玉の排出の再トライがなされた場合は、その後に、前述したSQ1〜SQ5の処理が同様に実行され、入賞玉の排出がなされたか否か判断されるのである。そのような再トライがなされても、入賞玉の排出が行なわれていないと判断された場合は、SQ12により再トライフラグがセットされていると判断されて、SQ16に進むのである。
【0172】
SQ16では、再トライフラグをクリアする処理がなされる。次に、SQ17に進み、入賞球排出エラーフラグ2をセットする処理がなされる。このように入賞玉排出エラーフラグ2がセットされる状態を入賞玉排出エラー2の状態という。ここで、入賞球排出エラーフラグ2は、入賞玉処理装置115から入賞玉が正常に排出されない異常状態を示すフラグである。次に、SQ18に進み、排出処理フラグをクリアする処理がなされる。次に、SQ19に進み、入賞玉排出タイマをクリアする処理がなされた後、この入賞玉排出チェック処理が終了する。
【0173】
また、前述したSQ1により排出処理フラグがセットされていないと判断されてSQ9に進んだ場合は、前述した入賞玉排出エラーフラグ1がセットされているか否かの判断がなされる。SQ9によりセットされていないと判断された場合は、この入賞玉排出チェック処理が終了する。一方、SQ9によりセットされていると判断された場合は、SQ10に進み、前述したリセット信号を受信したか否かの判断がなされる。SQ10によりリセット信号を受信していないと判断された場合は、この入賞玉排出チェック処理が終了する。一方、SQ10によりリセット信号を受信したと判断された場合は、SQ11に進み、入賞玉排出エラーフラグ1をクリアする処理がなされる。たとえば、入賞玉排出エラーフラグ1がセットされる場合のように入賞玉が入賞玉処理装置115により一旦保持されずに素通りしてしまった異常状態が発生すると、後述するようなエラー報知に応じて係員が復旧作業を行なった後、リセットスイッチ156が操作される。このような場合は、SQ11によりリセット信号に応じてエラー状態が解除されるのである。SQ11の後、この入賞玉排出チェック処理が終了する。
【0174】
以上に示した入賞玉排出チェック処理によれば、入賞玉の排出制御が行なわれたにもかかわらず、入賞玉が正常に排出されない場合には入賞玉の排出の再トライが1回行なわれるので、容易に復旧可能な玉詰まり等の軽微な異常が生じた場合に自動的に異常状態を復旧することが可能になるため、係員の作業負担を軽減することができる。さらに、再トライが成功せず、入賞玉が正常に排出されなかった場合には、入賞玉排出エラーフラグ2がセットされるため、それにより、入賞玉の排出異常状態が生じたことを認識することができる。
【0175】
なお、入賞玉の排出の再トライは、1回に限らず、2回以上行なうようにしてもよい。また、この例では、排出処理状態でないときにリセット信号を受信したことが判断された場合に、入賞玉排出エラーフラグ1を解除するようにしたが、これに限らず、入賞玉排出エラーフラグ1は、そのエラー状態の発生後において、入賞玉検出器122により正常に入賞玉の検出が行なわれたことを条件として、リセット信号によらずに自動的に解除されるようにしてもよい。
【0176】
次に、払出制御回路基板152の払出制御用マイクロコンピュータ220において行なわれる主な制御について説明する。
【0177】
まず、賞球個数信号を受けて景品玉を払出すために実行される賞球払出動作処理について説明する。
【0178】
図18および図19は、賞球払出動作処理の処理内容を示すフローチャートである。まず、ステップSR(以下、単にSRという)1により、払出完了フラグがセットされているか否かの判断がなされる。ここで、払出完了フラグは、払出制御用マイクロコンピュータ220が賞球個数信号に応じた一連の景品玉の払出が完了したと判断した状態にあることを示すフラグであり、後述するSR24によりセットされる。
【0179】
SR1により払出完了フラグがセットされていると判断された場合は、後述するSR27に進む。一方、SR1により払出完了フラグがセットされていないと判断された場合は、SR2に進み、賞球動作エラーフラグ1,2,3のいずれかがセットされているか否かの判断がなされる。
【0180】
ここで、賞球動作エラーフラグ1は、払出モータ189が玉の払出のための正常な回転動作をしない異常状態を示すフラグであり、後述するSR47によりセットされる。また、賞球動作エラーフラグ2は、払出モータ189が玉の払出のための正常な回転動作をしたにもかかわらず、景品玉の払出しが検出されない異常状態を示すフラグであり、後述するSR52によりセットされる。また、賞球動作エラーフラグ3は、賞球個数信号に応じた一連の景品玉の払出が完了したと判断したにもかかわらず賞球個数信号をまだ受けている場合に行なう払出個数の補正の際に払出された景品玉の個数が所定値以上になった異常状態を示すフラグであり、後述するSR39によりセットされる。
【0181】
SR2により賞球動作エラーフラグ1,2,3のいずれかがセットされていると判断された場合は、後述するSR40に進む。一方、SR2により賞球動作エラーフラグ1,2,3のいずれもセットされていないと判断された場合は、SR3に進み、払出中フラグがセットされているか否かの判断がなされる。ここで、払出中フラグは、景品玉の払出しが行なわれている状態を示すフラグであり、後述するSR8によりセットされる。
【0182】
SR3により払出中フラグがセットされていると判断された場合は、後述するSR42に進む。一方、SR3により払出中フラグがセットされていないと判断された場合は、SR4に進み、賞球個数信号の入力を受信したか否かの判断がなされる。SR4により受信していないと判断された場合は、景品玉を払出す必要がないので、この賞球払出動作処理が終了する。一方、SR4により受信したと判断された場合は、SR5に進み、現在の状態が玉貸中であるか否かの判断がなされる。SR5により玉貸中であると判断された場合は、実行中の貸玉動作を優先させるため、この賞球払出動作処理が終了する。一方、SR5により玉貸中ではないと判断された場合は、SR6に進み、賞球玉貸不可信号の入力を受信しているか否かの判断がなされる。
【0183】
SR6により受信していると判断された場合は、賞球および貸玉を禁止するために、この賞球払出動作処理が終了する。一方、SR6により受信していないと判断された場合は、SR7に進み、入力を受けた賞球個数信号が示す景品玉の払出要求個数である入力個数を未払出数としてセットする処理がなされる。ここで、未払出数は、賞球個数信号に応じて払出すべき景品玉の個数の残数を示すデータであり、景品玉が1個払出されるごとに1ずつ減算更新される。この未払出数が「0」になった場合に、賞球個数信号に応じた一連の景品玉の払出しが完了したものと見なされる。この未払出数のデータは、払出制御用マイクロコンピュータ220のRAM220aに記憶される。また、この処理で用いられるその他のフラグおよびカウンタのデータも払出制御用マイクロコンピュータ220のRAM220aにおいて記憶され、更新等がなされる。
【0184】
次に、SR8に進んで前述した払出中フラグをセットした後、SR9に進み、払出モータ189を回転駆動させる処理がなされる。これにより、玉払出装置97による景品玉の払出動作が行なわれる。この場合、後述するように払出制御用マイクロコンピュータ220においては、未払出数を把握して景品玉の払出制御を行うため、払出モータ189を停止させる時期が予め把握でき、遊技制御用マイクロコンピュータ202からの払出の停止要求を待つことなく独自に払出モータ189を停止させるため、できる限り払出モータ189を高速で回転駆動させて高速で景品玉の払出しを行う。次に、SR10に進み、位置チェック用タイマをセットする処理がなされる。ここで、位置チェック用タイマは、払出モータ189のスクリュー188の回転状態(回転位置)を管理するために計時を行なうタイマである。SR10の後、SR11に進む。
【0185】
また、前述したSR3により払出中フラグがセットされていると判断されてSR42に進んだ場合は、賞球個数信号の入力を受信中であるか否かの判断がなされる。SR42により受信中であると判断された場合は、SR11に進む。一方、SR42により受信中ではないと判断された場合は、景品玉の払出しが要求されていないので、SR43に進み、未払出数等の賞球払出動作制御用のデータを初期化する処理がなされた後、この賞球払出動作処理が終了する。そのR43においては、払出モータ189の停止も行なわれる。これにより、実行中の景品玉の払出動作が停止される。このような場合は、遊技制御用マイクロコンピュータ202で把握している景品玉の払出個数と、払出制御用マイクロコンピュータ220で把握している景品玉の払出個数とが一致していない場合であり、遊技制御用マイクロコンピュータ202で把握している景品玉の払出個数が優先的に景品玉の払出制御に用いられる。したがって、この場合には、遊技制御用マイクロコンピュータ202からの要求(賞球個数信号の停止)にしたがって景品玉の払出動作が停止される。
【0186】
SR11に進んだ場合は、1個払出分回転チェックタイミングになったか否かの判断がなされる。ここで、1個払出分回転チェックタイミングは、前述した位置チェック用タイマの計時時間により管理されるタイミングであり、SR9による払出モータ189の回転駆動開始後に、所定時間経過して払出モータ189のスクリュー188が玉を1個払出すに必要な分だけ回転するに要する最大限のタミイングに設定されている。したがって、この1個払出分回転チェックタイミングになった時に払出モータ189が玉を1個払出すに必要な分だけ回転していなければ、異常な状態が生じているものと判断することができる。
【0187】
SR11により1個払出分回転チェックタイミングになったと判断された場合は、後述するSR44に進む。一方、SR11により1個払出分回転チェックタイミングにまだなっていないと判断された場合は、SR12に進み、位置検出器187の検出信号に基づいて、払出モータ189が玉を1個払出すに必要な分だけ回転した位置(1個払出分位置)になっているか否かの判断がなされる。
【0188】
SR12により1個払出分位置になっていないと判断された場合は、後述するSR15に進む。一方、SR12により1個払出分位置になっていると判断された場合は、SR13に進み、位置検出フラグをセットする処理がなされる。ここで、位置検出フラグは、払出モータ189のスクリュー188が1個払出分位置になっていることが検出された旨を示すフラグである。次に、SR14に進み、払出玉検出待ちタイマをセットする処理がなされる。ここで、払出玉検出待ちタイマとは、払出モータ189のスクリュー188が1個払出分位置になった後において、払出モータ189の動作により払出されたはずの景品玉(払出玉)が玉払出検出器240a,240bにより検出されるのを待つ時間を管理するためのタイマである。SR14の後、SR15に進む。
【0189】
また、前述したSR11により1個払出分回転チェックタイミングになったと判断されてSR44に進んだ場合は、前述した位置検出フラグがセットされているか否かの判断がなされる。SR44によりセットされていると判断された場合は、後述するSR48に進む。一方、SR44によりセットされていないと判断された場合は、SR45に進み、払出モータ189のスクリュー188を1個払出分回転させることを再度試みる再トライ処理が実行される。
【0190】
再トライ処理においては、払出モータ189を高速で逆転駆動させた後に、1個払出回転分だけ正転駆動させる処理が行なわれ、その正転駆動時に、前述したSR10〜SR14に示される処理と同様の処理が行なわれる。これにより、再トライ処理において、1個払出分位置になった場合には位置検出フラグおよび払出玉検出待ちタイマがセットされるのである。このように、払出モータ189が正常に駆動しなかった場合に再トライが実行されるので、容易に復旧可能な玉詰まり等の軽微な異常が生じた場合に自動的に異常状態を復旧することが可能になるため、係員の作業負担を軽減することができる。
【0191】
SR45の後、SR46に進み、前述した位置検出フラグがセットされているか否かの判断がなされる。SR46によりセットされていると判断された場合は、後述するSR48に進む。一方、SR46によりセットされていないと判断された場合は、再トライに失敗した場合であり、SR47に進み、賞球動作エラーフラグ1をセットする処理がなされる。ここで、賞球動作エラーフラグ1は、前述したように払出モータ189のスクリュー188が1個払出分回転しない払出モータ189の動作異常状態が生じたことを示すフラグである。そして、SR47aに進み、払出モータ189を停止させる処理がなされる。その後この賞球払出動作処理が終了する。
【0192】
SR48に進んだ場合は、1個払出分回転チェックタイミングにおいてスクリュー188が1個払出分位置になっていることにより、払出モータ189が正常に動作している場合であるので、位置検出フラグをクリアしてSR49に進む。そして、SR49により、次に払出す景品玉の払出し時の払出モータ189の動作チェックを行うために、位置チェック用タイマをセットする処理がなされた後、SR15に進む。このように、景品玉を1個払出すことにより、払出モータ189の動作チェックが行われるのである。
【0193】
SR15に進んだ場合は、玉払出検出器240a,240bにより前記払出玉が検出されたか否かの判断がなされる。SR15により払出玉が検出されていないと判断された場合は、後述するSR18に進む。一方、SR15により払出玉が検出されたと判断された場合は、SR16に進み、前述した未払出数を「1」だけ減算更新する処理がなされる。これにより、景品玉が正常に払出されるごとに1ずつ未払出数が消化されていく。そして、SR17に進み、検出有フラグをセットする処理がなされる。ここで、検出有フラグは、払出玉が検出されたことを示すフラグである。SR17の後、SR18に進む。
【0194】
SR18では、前述した払出玉検出待ちタイマの計時値に基づいて、予め定められた払出玉検出待ち時間が経過したか否かの判断がなされる。ここで、払出玉検出待ち時間とは、払出モータ189のスクリュー188が1個払出分回転して玉が払出された後、その玉が玉払出検出器240a,240bにより検出されるまでに最大限要すると考えられる時間である。さらに具体的に説明すれば、払出玉検出待ち時間とは、位置検出異常による再トライまたは空切り(スクリュー188が正常に玉を送らず空送りした状態)による余分なモータ回転の後に玉が払出されてもその玉を検出可能な時間に設定されている。この場合には、玉払出装置97から実際に玉が払出されたか否かは払出玉検出待ち時間が経過するまで待たなければ正確にわからないため、検出の正確さを期すためにこのように所定時間待つのである。
【0195】
SR18により払出玉検出待ち時間が経過していないと判断された場合は、その時間の経過を待つためにこの賞球払出動作処理が終了する。一方、SR18により払出玉検出待ち時間が経過したと判断された場合は、SR19に進み、前述した検出有フラグがセットされているか否かの判断がなされる。なお、払出玉検出待ち時間が経過すると、払出玉検出待ちタイマはクリアされる。SR19により検出有フラグがセットされていないと判断された場合は、後述するSR50に進む。一方、SR19により検出有フラグがセットされていると判断された場合は、SR20に進み、検出有フラグをクリアする処理がなされる。次に、SR21に進み、払出エラー個数カウンタをクリアする処理がなされる。ここで、払出エラー個数カウンタは、払出モータ189が正常に動作したにもかかわらず払出玉が検出されない状態(たとえば、玉詰まり等によりスクリュー188が玉を送らなかった状態)が生じた回数を計数するためのカウンタであり、後述するSR50により加算更新され得る。この場合は、払出玉が検出された場合であるので、払出エラー個数カウンタが初期化されるのである。
【0196】
次に、SR22に進み、未払出数が「0」になっているか否かの判断がなされる。未払出数が「0」になっていないと判断された場合は、この賞球払出動作処理が終了し、払出制御が継続される。一方、未払出数が「0」になっていると判断された場合は、SR23に進み、払出モータ189の駆動を停止させる処理がなされる。そして、SR24に進み、賞球個数信号に応じた景品玉の払出しが完了したものとみなして、払出完了フラグをセットする処理がなされる。そして、SR25に進み、信号チェックタイマをセットする処理がなされる。ここで、信号チェックタイマは、払出制御用マイクロコンピュータ220側が賞球個数信号に応じた一連の景品玉の払出が完了したと判断した場合において、遊技制御用マイクロコンピュータ202側が一連の景品玉の払出が完了したと判断しているか否かの確認のために賞球個数信号をチェックするタイミングの規定に用いられるタイマである。
【0197】
次に、SR26に進み、払出制御用マイクロコンピュータ220により払出が完了したと判断されたことに応じて、払出中フラグをクリアする処理がなされる。SR26の後、SR26aに進み、位置チェック用タイマをクリアする処理がなされる。その後、この賞球払出動作処理が終了する。
【0198】
また、前述したSR19により検出有フラグがセットされていないと判断されてSR50に進んだ場合は、前述した払出エラー個数カウンタを「1」だけ加算更新する処理がなされる。これにより、払出モータ189が正常に動作したにもかかわらず払出玉が検出されない場合には、払出エラー個数カウンタが加算更新される。次に、SR51に進み、払出エラー個数カウンタのカウンタ値が「3」であるか否かの判断がなされる。この例では、払出モータ189が正常に動作したにもかかわらず払出玉が検出されない異常状態は、一連の景品玉の払出中に2回許容されている。したがってSR51では、そのような許容回数を超えて異常が発生したか否かの判断がなされるのである。
【0199】
SR51により、払出エラー個数カウンタのカウンタ値が「3」ではないと判断された場合は、前述したSR22に進み、前述したような通常の賞球払出動作処理が継続して行なわれる。一方、払出エラー個数カウンタのカウンタ値が「3」であると判断された場合は、SR52に進み、前述した賞球動作エラーフラグ2をセットする処理がなされる。そして、SR53に進み、払出エラー個数カウンタをクリアする処理がなされる。そして、SR54に進み、払出モータ189を停止させる処理がなされた後、この賞球払出動作処理が終了する。このように、払出モータ189が正常に動作したにもかかわらず払出玉が検出されない異常状態は、2回までは再度の玉の払出動作が許容されているが、2回を超えると、エラー状態であると判断される。なお、この例では、払出モータ189が正常に動作したにもかかわらず払出玉が検出されない異常状態の許容回数を2回としたが、これに限らず、その許容回数は、玉の払出制御の円滑な実行に支障がない範囲内で2回以外の回数であってもよい。
【0200】
このように、景品玉が正常に排出されない場合には、再度の払出動作が許容されるので、玉払出装置97において容易に復旧可能な軽微な異常が生じた場合に自動的に異常状態を復旧することが可能になるため、係員の作業負担を軽減することができる。
【0201】
また、前述したSR1により払出完了フラグがセットされていると判断されてSR27に進んだ場合は、前述した信号チェックタイマの計時時間に基づいて、賞球個数信号に関する信号チェックタイミングになったか否かの判断がなされる。
【0202】
この場合の信号チェックタイミングは、払出制御用マイクロコンピュータ220により景品玉の払出しが完了したと判断(払出完了フラグがセット)されてから所定時間経過後のタイミングである。具体的には、払出制御用マイクロコンピュータ220側が景品玉の払出数の確認のために用いる玉払出検出器240a,240bと、遊技制御用マイクロコンピュータ202側が景品玉の払出数の確認のために用いる賞球個数スイッチ256との間には、設置位置間の距離に起因して払出玉の検出タイミング差がある。具体的には、玉払出検出器240a,240bが玉を検出してから所定時間経過後にその玉が賞球個数スイッチ256により検出される。したがって、払出制御用マイクロコンピュータ220側が把握する払出個数と、遊技制御用マイクロコンピュータ202が把握する払出個数とが結果的に一致する状態であっても、前述した払出玉の検出タイミング差に起因して、払出制御用マイクロコンピュータ220側が払出の完了を判断するタイミングと、遊技制御用マイクロコンピュータ202側が払出の完了を判断するタイミングとに時間差が生じる。このため、前述した払出玉の検出タイミング差による払出完了の判断の不一致を防ぐために、払出制御用マイクロコンピュータ220側が払出の完了を判断してから、前述した検出タイミング差に相当する時間だけ待った信号チェックタイミングにより、賞球個数信号のチェックをするのである。
【0203】
SR27の後、SR28に進み、賞球個数信号の受信中であるか否かの判断がなされる。この判断において、賞球個数信号の受信中である場合は、払出制御用マイクロコンピュータ220側が払出が完了したと判断したにもかかわらず、遊技制御用マイクロコンピュータ202側が払出が完了していないと判断している場合である。一方、この判断において、賞球個数信号の受信中でない場合は、払出制御用マイクロコンピュータ220側および遊技制御用マイクロコンピュータ202側がともに払出が完了したと判断した状態である。
【0204】
SR28により賞球個数信号の受信中であると判断された場合は、後述するSR32に進む。一方、SR28により賞球個数信号の受信中ではないと判断された場合は、遊技制御用マイクロコンピュータ202側が払出が完了したと判断しているため、賞球払出動作制御用のデータを初期化するための処理を行なう。具体的には、SR29により信号チェックタイマをクリアした後、SR30により払出完了フラグをクリアし、さらにその後、SR31により補正回数カウンタをクリアする。その後、この賞球払出動作処理が終了する。ここで、補正回数カウンタとは、払出制御用マイクロコンピュータ220側が払出が完了したと判断したにもかかわらず、遊技制御用マイクロコンピュータ202側が払出が完了していないと判断している場合に、賞球個数信号にしたがって、景品玉の払出個数を補正するための払出を行なう際の払出回数を計数するためのカウンタである。
【0205】
前述したSR28により賞球個数信号の受信中であると判断されてSR32に進んだ場合は、信号チェックタイマをクリアする処理がなされる。そして、SR33に進み、補正回数カウンタが最大払出回数と一致したか否かの判断がなされる。ここで、最大払出回数は、前述した景品玉の払出個数を補正するための払出回数の上限値であり、補正回数があまりに多い回数にならないような回数に予め定められている。
【0206】
SR33により一致したと判断された場合は、後述するSR39に進む。一方、SR33により一致していないと判断された場合は、SR34に進み、未払出数を「1」だけ加算更新する処理がなされる。これにより、「0」であった未払出数が「1」になり、その未払出数に基づいて実行される前述したような賞球払出動作により1個だけ景品玉が払出される補正が行なわれることになる。次に、SR35に進み、払出完了フラグをクリアする処理がなされる。そして、SR36に進み、払出中フラグをセットする処理がなされる。これにより、払出中であることが示される。そして、SR37に進み、払出モータ189を回転駆動させる処理がなされる。これにより、玉払出装置97から景品玉の払出しが行なわれる。そして、SR38に進み、補正回数カウンタを「1」だけ加算更新する処理がなされる。SR38の後、SR38aに進み、位置チェック用タイマをセットする処理がなされる。これにより、景品玉の補正のための払出し時における前述した払出モータ189のスクリュー188の位置チェック用に位置チェック用タイマが動作され、補正のための払出し時においても、払出モータ189の動作チェックを行うことが可能になる。その後、この賞球払出動作処理が終了する。
【0207】
また、前述したSR33により一致したと判断されてSR39に進んだ場合は、前述した賞球動作エラーフラグ3がセットされる。そして、SR39aに進み、補正回数カウンタをクリアする処理がなされる。そして、SR39bに進み、払出モータ189を停止させる処理がなされた後、この賞球払出動作処理が終了する。
【0208】
このように、景品玉の個数を補正するための処理がなされる場合には、賞球個数信号の状態を確認しながら1個ずつ景品玉が払出される。景品玉の個数を補正するための払出が行なわる。そして、その補正により遊技制御用マイクロコンピュータ202側が払出しが完了したと判断した場合には、前述したSR28の判断にしたがって、景品玉の補正の払出しが終了する。また、補正のための景品玉が払出されるごとに前述したSR33により一致の判断がなされ、補正回数が最大払出回数に達すると、エラー状態がセットされるのである。
【0209】
前述したような賞球動作エラーフラグ1,2,3の少なくとも1つがセットされた場合には、それぞれのエラーの発生を示すエラー表示をエラー表示器155に行うための処理が別のプログラムにより行われる。これにより、係員は、エラー状態が発生したことを容易に知ることができる。
【0210】
また、前述したSR2により賞球動作エラーフラグがセットされていると判断されてSR40に進んだ場合は、リセットスイッチ156からのリセット信号を受けたか否かの判断がなされる。このようなリセット信号は、前述した賞球動作エラーフラグがセットされてエラー状態になった場合に、係員がエラー解消のための修理等の復旧作業を行なってその復旧作業が終了すると、リセットスイッチ156の操作により出力される。したがって、リセット信号を受けた場合には、エラー状態が実際上解除されていることになる。このため、SR40では、エラー状態が解除されているか否かの判断をするのである。
【0211】
SR40によりリセット信号を受けていないと判断された場合は、まだエラー状態が実際上解除されていないので、この賞球払出動作処理が終了する。これにより、各賞球動作エラーフラグがセットされた場合には、景品玉の払出動作が中断される。その場合、SR4以降の処理に進まないことにより中断されるだけで、未払出数等の各種制御データは、クリアされずにそのまま払出制御用マイクロコンピュータ220のRAM220aに記憶されている。一方、SR40によりリセット信号を受けたと判断された場合は、エラー状態が実際上解除されているので、SR41に進み、セットされていた賞球動作エラーフラグをクリアする処理がなされる。
【0212】
SR41の後、SR41aに進み、賞球個数信号を受信中であるか否かの判断がなされる。SR41aにより受信中ではないと判断された場合は、前述したSR43に進み、払出動作制御用のデータを初期化する処理がなされる。そのR43においては、払出モータ189の停止も行なわれる。これにより、リセットがなされた際に遊技制御用マイクロコンピュータ202からの景品玉の払出し要求がなければ、景品玉の払出しが行なわれない。
【0213】
一方、SR41aにより受信中であると判断された場合は、SR41bに進み、前述した払出完了フラグがセットされているか否かの判断がなされる。SR41bによりセットされていると判断された場合は、払出制御用マイクロコンピュータ220が景品玉の払出しが完了していると判断しているので、前述したSR27以降の処理を行なうために、この賞球払出動作処理が終了する。一方、SR41bによりセットされていないと判断された場合は、前述したSR9に進み、払出モータ189を回転駆動させて、その後に、前述したような一連の処理を行なうことにより、中断された景品玉の払出動作における払い残りの景品玉が払出される。
【0214】
前述したように、各賞球動作エラーフラグがセットされた場合には、景品玉の払出動作が中断される。しかし、未払出数等の制御データは、そのまま記憶されているので、リセット信号に基づく賞球動作エラーフラグがクリアされ、賞球個数信号に基づいて遊技制御用マイクロコンピュータ202からの払出し要求を確認し、さらに、払出制御用マイクロコンピュータ220が払出しが完了していないことを条件として、処理がSR9以降に進み、中断時に記憶されていた制御データに基づいて払出し途中の残りの未払出数の景品玉が確実に払出される。ここで、そのようなエラー解消後の未払出数の払出動作は、SR41aにより賞球個数信号をまだ受信していると判断されたことを条件として行われる。すなわち、遊技制御用マイクロコンピュータ202側の払出要求(所定個数の景品玉の払出しを行なうために必要な指令情報)を確認して残りの景品玉の払出しが引き続き行われるため、残りの景品玉の払出しが実際に必要であるか否かの判断を確かに行えるので、払出動作の中断復帰後に誤った払出動作が行われないようにすることができる。
【0215】
以上に示した賞球払出動作処理によれば、賞球個数信号に応じて景品玉の払出動作が行なわれる。この賞球払出動作処理においては、賞球個数信号を受ければ、遊技制御上でエラーが生じていても、そのエラーとは無関係に景品玉の払出動作を実行する制御が行なわれる。したがって、遊技制御上でエラーが生じていても、賞球個数信号を受ければ、景品玉が遊技者に払出される。
【0216】
景品玉の払出動作においては、払出制御用マイクロコンピュータ220側で、玉払出検出器240a,240bによる玉の払出しの検出に基づいて払出された景品玉の個数を確認しながら景品玉が払出される。このように払出制御用マイクロコンピュータ220側で払出された景品玉の個数を確認しながら景品玉の払出しが行なわれるので、賞球個数信号に応じた景品玉の払出しの完了時期が玉払出制御手段において把握できるため、一方向通信で景品玉の払出状態を遊技制御用マイクロコンピュータ202がチェックするにもかからず、玉払出手段による景品玉の払出中の払出速度の低下を防止することができる。したがって、払出制御を賞球個数信号の一方向通信により行なうことにより遊技制御用マイクロコンピュータ202の不正制御動作を極力防止しながらも、景品玉の払出速度の低下を防止することができる。
【0217】
さらに、払出制御用マイクロコンピュータ220の側で賞球個数信号に応じた一連の景品玉の払出の完了を確認したにもかかわらず、遊技制御用マイクロコンピュータ202の側でその払出が完了していないと判断された場合には、遊技制御用マイクロコンピュータ202の側で把握している景品玉の払出個数が優先され、景品玉の払出個数を補正する制御が行なわれる。このため、払出制御用マイクロコンピュータ220の側で把握している払出個数が遊技制御用マイクロコンピュータ202の側で把握している払出個数よりも多い場合でも、遊技制御用マイクロコンピュータ202の側で把握している景品玉の払出個数を優先することにより支障なく払出制御を行なうことができる。
【0218】
また、景品玉の払出し途中でエラー状態の発生により払出動作が中断された場合に、未払出数等の制御データが記憶されており、後にそのエラー状態が解除されてリセット信号が出力された場合に、エラーフラグのみをクリアして払出制御を続行するようにした。このため、景品玉の払出し途中で異常状態の発生により払出動作が中断された場合でも、異常状態の復旧後において、未払出数等の中断時に記憶されている制御データに基づいて、払出すべき残りの景品玉を確実に払出すことができる。また、そのようなエラー解消後の未払出数の払出動作が、遊技制御用マイクロコンピュータ202側の払出要求を確認して行われるため、払出動作の中断復帰後に誤った払出動作が行われないようにすることができる。つまり、遊技制御用マイクロコンピュータ202において払出要求に応じた景品玉の払出し状態が把握されているので、その遊技制御用マイクロコンピュータ202側の払出要求(所定個数の景品玉の払出しを行なうために必要な指令情報)を確認して中断復帰後の払出動作を引き続き行うことにより、中断復帰後の払出しの誤動作が防げるのである。
【0219】
また、払出モータ189が正常に動作しない場合に、賞球動作エラーフラグ1がセットされるので、そのエラーフラグに基づいて、景品玉の払出状態に異常が生じたことを認識することができる。また、払出モータ189が正常に動作したにもかかわらず払出玉が検出されない場合に、賞球動作エラーフラグ2がセットされるので、そのエラーフラグに基づいて、景品玉の払出状態に異常が生じたことを認識することができる。また、払出制御用マイクロコンピュータ220の側で賞球個数信号に応じた一連の景品玉の払出の完了を確認したにもかかわらず、遊技制御用マイクロコンピュータ202の側でその払出が完了していない場合の払出個数の補正の際においてその補正回数が極端に多くなった場合に、賞球動作エラーフラグ2がセットされるので、そのエラーフラグに基づいて、景品玉の払出状態に異常が生じたことを認識することができる。
【0220】
なお、この例では、前述したように、払出し異常による遊技中断後に異常状態が復帰してリセットがなされたことに応じて景品玉の払出しを再開する場合には、まず、賞球個数信号を受けていることの確認をし、受けていることを条件として払出モータの動作を開始させて残りの景品玉の払出しを行なうようにした。しかし、これに限らず、払出し異常による遊技中断後に異常状態が復帰してリセットがなされたことに応じて景品玉の払出しを再開する場合には、まず、払出モータ189の動作を開始させた後、1個目の景品玉が払出される前に賞球個数信号を受けていることの確認をし、受けていることを条件としてその1個目の玉を含めた中断後の残りの景品玉の払出しを行なうようにしてもよい。つまり、そのような景品玉の払出しを再開する場合の賞球個数信号のチェックは、1個目の景品玉が払出される前であれば、どのようなタイミングであってもよい。
【0221】
次に、払出制御用マイクロコンピュータ220において賞球状態と玉貸状態とで、流路切換部材254の流路切換状態を切換えるために行なわれる賞球玉貸状態切換処理について説明する。図20は、賞球玉貸状態切換処理の処理内容を示すフローチャートである。
【0222】
この流路切換処理の前提として、通常の状態では、流路切換部材254により玉の流路が景品玉払出用の流路201a側に切換えられた状態になっており、玉貸動作中でないときに景品玉の払出しが行なわれる場合には、流路切換部材254はそのままの状態を維持して行なわれる。
【0223】
まず、ステップST(以下、単にSTという)1により、現在が玉貸動作中であるか否かの判断がなされる。ST1により玉貸動作中であると判断された場合は、後述するST5に進む。一方、ST1により玉貸動作中ではないと判断された場合は、ST2に進み、玉貸し要求があるか否かの判断がなされる。
【0224】
ST2により玉貸し要求がないと判断された場合は、この流路切換処理が終了する。一方、ST2により玉貸し要求があると判断された場合は、ST3に進み、現在が玉貸し可能な状態であるか否かの判断がなされる。具体的には、景品玉の払出しが行なわれていない場合が、玉貸し可能な状態である。ST3により玉貸し可能な状態ではないと判断された場合は、この流路切換処理が終了する。一方、ST3により玉貸し可能な状態であると判断された場合は、ST4に進み、前述した切換ソレノイド255に励磁信号を与えて流路切換部材254を前述した図4の(B)に示されるような状態に制御し、流路切換部材254により玉の流路が貸玉払出用の流路201b側に切換えられた状態にする。これにより、玉の流路が玉貸状態にされる。その後、この流路切換処理が終了する。
【0225】
また、前述したST1により玉貸動作中であると判断され、ST5に進んだ場合は、実行されていた玉貸動作が終了したか否かの判断がなされる。ST5により玉貸動作が終了していないと判断された場合は、この流路切換処理が終了する。つまり、実行中の玉貸動作が終了するまで、流路の切換が待たれる。一方、ST5により玉貸動作が終了したと判断された場合は、ST6に進み、前述した切換ソレノイド255に与えられていた励磁信号を停止して流路切換部材254を前述した図4の(A)に示されるような状態に制御し、流路切換部材254により玉の流路が景品玉払出用の流路201a側に切換えられた状態にする。これにより、玉の流路が賞球状態にされる。これにより、賞球状態においては、入賞玉が入賞玉検出器122により検出される。その後、この流路切換処理が終了する。
【0226】
このように、玉貸または景品玉の払出しの動作の最中に別の払出動作の要求があった場合には、現在実行中の払出動作の終了を待って流路が切換えられる。これにより、玉貸または景品玉の払出しの動作の実行時期が重なった場合でも、先に実行中の動作が優先的に進められるため、玉の払出しを確実に行なうことができる。
【0227】
なお、この実施の形態においては、払出モータ189等を含む玉払出装置97、流路切換部材254、切換ソレノイド255、流路201a、および流路201bをユニット化していない例を示したが、それらをユニット化して1つのケース内に設け、着脱交換可能なようにしてもよい。そのようにすれば、組付け作業およびメンテナンス作業が容易になる。
次に、景品玉の払出動作時の具体的な動作例を説明する。図21は、景品玉の払出動作時の具体的な動作例を示すタイミングチャートである。
【0228】
図21には、景品玉の払出動作が正常に行なわれる場合の動作タイミングが示されている。この図21においては、入賞玉検出器122から出力される入賞球信号(正論理)、払出モータ189の動作状態、賞球個数スイッチ256の検出信号(正論理)、入賞玉排出ソレノイド127の動作状態、および、賞球個数信号D0〜D3の出力信号(負論理)が示されている。
【0229】
図21を参照して、入賞玉検出器122により入賞玉の検出が行なわれると、賞球個数信号D0〜D3がOFF状態(払出要求送信状態)になって(図21のSJ2参照)景品玉の払出しが要求されるとともに、入賞玉排出ソレノイド127がON状態にされて(図15のSK2参照)入賞玉が排出される。入賞玉排出ソレノイド127は、所定期間経過後にOFF状態にされる(図16のSQ3参照)。この例では、景品玉の払出要求個数が15個の場合(賞球個数信号D0〜D3がOFF状態)の例が示されている。
【0230】
そして、賞球個数信号D0〜D3に応じて払出モータ189が駆動されて(図18のSR9参照)景品玉が払出される。払出制御用マイクロコンピュータ220において、玉払出検出器240a,240bの検出信号に基づいて15個の景品玉の払出しが完了したものと判断されると、払出モータ189が停止される(図19のSR23参照)。
【0231】
払出された景品玉は、賞球個数スイッチ256によっても順次検出される。遊技制御用マイクロコンピュータ202においては、そのように景品玉の払出しが検出されると、払出しの検出ごとに次の払出し検出までの時間が所定時間T1になるか否かが判別され(図12のSI13参照)、その時間が所定時間T1になった場合に、一連の景品玉(この例では15個)の払出が完了したものものと判断される。それに応じて、賞球個数信号D0〜D3がON状態(払出要求停止状態)にされる。
【0232】
この図21に示された例では、図中Eに示すタイミングでカウントスイッチ短絡エラーが発生している。カウントスイッチ短絡エラーが発生した場合には、前述したように、遊技制御用マイクロコンピュータ202による遊技制御の進行が停止される。しかし、この実施形態の場合、図12〜図17に示されるように、カウントスイッチ短絡エラー等の遊技制御上のエラーが発生しても、入賞玉が検出されて景品玉を払出す必要がある場合には、遊技制御用マイクロコンピュータ202から賞球個数信号が払出制御用マイクロコンピュータ220に与えられる。そして、払出制御用マイクロコンピュータ220では、図18,図19に示されるように、遊技制御用マイクロコンピュータ202側の遊技制御上のエラーに応じた処理を行なわない。つまり、払出制御用マイクロコンピュータ220の制御は、遊技制御上のエラーの発生に何ら影響を受けずに実行される。このため、遊技制御上のエラーが発生しても、景品玉の払出条件が成立している場合には、通常どおり景品玉が払出される。
【0233】
このように、遊技制御上のエラーが発生しても、景品玉の払出条件が成立している場合には、通常どおり景品玉が払出されるようになっていることにより、次のような有利な効果が得られる。遊技制御上のエラーが発生しても、入賞している玉については景品玉の払出しが行なわれるので、遊技制御上のエラーが発生して遊技が進行しなくなった場合でも遊技者が景品玉の払出を受けることができるため、そのような場合に遊技者が不快感を感じるのを防ぐことができる。
【0234】
具体的に、たとえば、あるタイミングで可変入賞球装置35へ大量の入賞玉が集中したこと(入賞玉処理115による入賞玉の処理が追いつかないような大量の入賞玉が発生した場合等)に起因して入賞玉の流路において玉が流れにくくなり、10カウントスイッチ39のエラー(たとえばカウントスイッチ短絡エラー)が発生した場合を考えると、そのようなエラー状態は、入賞玉が入賞玉処理装置115により順次処理されていけばやがて自然に解消され得ると考えられる。しかし、このような場合に、遊技制御上のエラー(たとえばカウントスイッチ短絡エラー)に応じて景品玉の払出しを停止させてしまうと、本来自然に解消できるような軽微な異常状態であっても、入賞玉が処理されないことにより入賞玉が詰まってしまい、景品玉が払出せなくなるとともに、エラー状態が解消不可能になる。このような場合には、遊技者がイライラして状況に不満感を持ってしまう。これに対し、この実施の形態の場合は、そのようなエラー状態が生じた場合でも、入賞玉の処理が通常どおり行なわれるため、景品玉が払い出せなくなってしまうことがなく、さらに、このようなエラー状態を迅速に解消することができる。このため、遊技者は、遊技制御上のエラー状態が生じても、景品玉の払出しが行なわれること、およびエラー状態が迅速に解消できることにより、このような状況においてイライラせず、不満感も持たないようになる。
【0235】
特に、10カウントスイッチ39等の入賞玉を検出するスイッチの異常状態は、遊技制御上発生する異常状態のうち比較的発生する可能性が高いエラーであるので、そのような場合に、遊技者の不満感を防ぐことができるため、遊技制御上の異常状態が発生した際に、より一層確実に遊技者の不快感を防ぐことができる。
【0236】
次に、この実施形態により得られる主な効果をまとめて説明する。
10カウントスイッチ39のエラー等の遊技制御上のエラーが生じても、景品玉の払出制御が行なわれるので、そのようなエラー状態が生じた場合でも、入賞玉の処理が通常どおり行なわれるため、景品玉が払い出せなくなってしまうことがなく、遊技者がそのような状況に対して不満感を持たないようにすることができる。さらに、遊技制御上のエラーが入賞玉の軽微な玉詰まりによる場合には、遊技制御上のエラーとは無関係に景品玉の払出制御が行なわれるため、入賞玉が順次処理されていくことにより、このようなエラー状態を迅速に解消することができる。
【0237】
また、入賞玉検出器122から直接的に遊技制御用マイクロコンピュータ202に与えられる入賞玉の検出出力に応じて遊技制御用マイクロコンピュータ202から払出制御用マイクロコンピュータ220に賞球個数データが与えられ、その賞球個数データに基づいて、遊技制御用マイクロコンピュータ202の制御により景品玉の払出しが行なわれる。つまり、そのような景品玉の払出しは、遊技制御用マイクロコンピュータ202から払出制御用マイクロコンピュータ220への指令情報の一方向通信に基づいて行なわれる。このような一方向通信に基づく景品玉の払出し制御により、払出制御回路基板152から遊技制御基板199への不正なデータの入力による遊技制御用マイクロコンピュータ202の不正制御動作を極力防止することができる。さらに、賞球個数スイッチ256から直接的に遊技制御用マイクロコンピュータ202に与えられる景品玉の検出出力に基づいて所定個数の景品玉の払出が正常に行なわれているか否かが判別されるため、一方向通信でありながらも、遊技制御用マイクロコンピュータ202において、景品玉の払出し状態をチェックすることができる。さらに、払出制御用マイクロコンピュータ220において、玉払出検出器240a,240bから与えられる景品玉の払出しの検出出力に基づいて、払出された景品玉の個数を確認しながら所定個数の景品玉を玉払出装置97により払出す制御が行なわれるので、賞球個数データに応じた景品玉の払出しの完了時期が払出制御用マイクロコンピュータ220において予め把握できるため、一方向通信で景品玉の払出し状態を遊技制御用マイクロコンピュータ202がチェックするにもかかわらず、玉払出装置97による景品玉の払出中の払出速度の低下を防止することができる。したがって、遊技制御用マイクロコンピュータ202の不正制御動作を極力防止しながらも、景品玉の払出速度の低下を防止することができる。
【0238】
また、遊技制御用マイクロコンピュータ202において、景品玉の検出出力があった後の次の景品玉の検出出力の監視を行なうことにより、所定個数の一連の景品玉の払出終了タイミングを確実に判断することができる。つまり、所定期間次の景品玉の払出しがない場合には、所定個数の一連の払出しが終了しているのである。このようにして確実に判断される一連の景品玉の払出終了タイミングに基づいて、所定個数の景品玉の払出が正常に行なわれているか否かが判別されるため、遊技制御用マイクロコンピュータ202において、一方向通信でありながら景品玉の払出し状態を確実にチェックすることができる。これにより、特に、遊技場に不利益となるような過剰な個数の払出しを確実にチェックすることができる。
【0239】
また、払出制御用マイクロコンピュータ220の側で所定個数の景品玉の払出しを確認したにもかかわらず、遊技制御用マイクロコンピュータ202で所定個数の景品玉の払出が完了していないと判断された場合、すなわち、払出制御用マイクロコンピュータ220の側と、遊技制御用マイクロコンピュータ202の側とのそれぞれで把握している景品玉の払出個数が一致しない場合には、遊技制御用マイクロコンピュータ202で把握している景品玉の払出個数が優先されて景品玉の払出制御に用いられる。このため、払出制御用マイクロコンピュータ220の側で把握している払出個数が遊技制御用マイクロコンピュータ202の側で把握している払出個数よりも多くなってしまった場合でも、遊技制御用マイクロコンピュータ202の側で把握している景品玉の払出個数を優先することにより支障なく払出制御が行なわれる。
【0240】
また、玉払出装置97により払出された景品玉の個数を特定可能な情報は、ホール用管理コンピュータにより、遊技場におけるパチンコ遊技機1の管理等に用いられる。遊技制御用マイクロコンピュータ202において景品玉の払出し状態のチェックのために用いられる賞球個数スイッチ256の検出出力に基づいて、玉払出装置97により払出された景品の個数を特定可能な情報が外部に出力されるため、パチンコ遊技機1の外部に出力する景品玉の払出個数と、実際に払出された景品玉の個数との食い違いが生じるのを防ぐことができる。
【0241】
また、景品玉の払出し途中でエラー状態の発生により払出動作が中断された場合に、未払出数等の制御データが記憶されており、後にそのエラー状態が解除されてリセット信号が出力された場合に、エラーフラグのみをクリアして払出制御を続行するようにした。このため、景品玉の払出し途中で異常状態の発生により払出動作が中断された場合でも、異常状態の復旧後において、未払出数等の中断時に記憶されている制御データに基づいて、払出すべき残りの景品玉を確実に払出すことができる。また、そのようなエラー解消後の未払出数の払出動作が、遊技制御用マイクロコンピュータ202側の払出要求(所定個数の払出しを行なうために必要な指令情報)を確認して行われるため、残りの景品玉の払出しが実際に必要であるか否かの判断を確かに行えるので、払出動作の中断復帰後に誤った払出動作が行われないようにすることができる。
【0242】
また、実際に払出された景品玉の個数が払出要求された景品玉の個数と一致しない場合等の遊技制御用マイクロコンピュータ202の側で景品玉の払出が正常に行なわれていないと判別した場合に所定の報知が行なわれるため、景品玉の払出し状態に異常が生じたことを容易に知ることができる。それに加えて、遊技制御用マイクロコンピュータ202の側で景品玉の払出が正常に行なわれていないと判別した場合に遊技不可能な状態(遊技停止状態)にされるため、異常が生じたまま遊技が行なわれることによる新たな異常発生を未然に防ぐことができる。
【0243】
次に、本発明の変形例等の特徴点を列挙する。
(1) 以上に示した実施形態においては、玉払出装置の駆動源としてモータを用いた例を示したが、これに限らず、その駆動源は、ソレノイドであってもよい。
【0244】
(2) 以上の実施の形態においては、カードユニット50がパチンコ遊技機1に接続されていない場合に打球の発射ができないように制御される。これに加えて、カードユニット50がパチンコ遊技機1に接続されていない場合には、遊技制御用マイクロコンピュータ202が、パチンコ遊技機1での遊技が行なえないように制御してもよい。具体的には、遊技制御用マイクロコンピュータ202が、リレー回路224の切換信号の入力を受け、その信号に基づいて打球発射不可能にされたことを認識し、遊技が行なえないように制御すればよい。
【0245】
(3) 以上に示した実施の形態においては、図18および図19の賞球払出動作処理に示されるように、払出し異常による遊技中断後に異常状態が復帰してリセットがなされたことに応じて景品玉の払出しを再開する場合には、まず、賞球個数信号を受けていることの確認をし、受けていることを条件として払出モータの動作を開始させて残りの景品玉の払出しを行なうようにした。しかし、これに限らず、払出し異常による遊技中断後に異常状態が復帰してリセットがなされたことに応じて景品玉の払出しを再開する場合には、まず、払出モータ189の動作を開始させた後、1個目の景品玉が払出される前に賞球個数信号を受けていることの確認をし、受けていることを条件としてその1個目の玉を含めた中断後の残りの景品玉の払出しを行なうようにしてもよい。つまり、そのような景品玉の払出しを再開する場合の賞球個数信号のチェックは、1個目の景品玉が払出される前であれば、どのようなタイミングであってもよい。
【0246】
今回開示された実施の形態はすべての点で例示であって制限的なものではないと考えられるべきである。本発明の範囲は上記した説明ではなくて特許請求の範囲によって示され、特許請求の範囲と均等の意味および範囲内でのすべての変更が含まれることが意図される。
【0247】
【課題を解決するための手段の具体例】
(1) 図1等に示されたパチンコ遊技機1により、遊技領域に打玉を打込んで遊技が行なわれ、遊技領域(遊技領域32)に設けられた入賞領域(始動入賞口34等)への入賞に応じて景品玉が払出される弾球遊技機が構成されている。図2等に示された玉払出装置97により、景品玉を払出し可能な玉払出手段が構成されている。図6等に示された払出制御用マイクロコンピュータ220により、所定の玉払出条件が成立した場合に、前記玉払出手段により景品玉を払出す制御を行なう玉払出制御手段が構成されている。図6等に示された遊技制御用マイクロコンピュータ202により、前記弾球遊技機の遊技状態を制御することが可能な遊技制御手段が構成されている。図9に示されたステップSA2〜SA6、SA9〜SA13、およびSA15〜SA18等のステップにより、前記遊技制御手段による遊技制御上で発生した異常状態(カウントスイッチ短絡等の異常状態)を検出する異常状態検出手段が構成されている。図11〜図21に示すように、前記玉払出制御手段は、前記異常状態検出手段により前記遊技制御上で発生した異常状態が検出された場合であっても、前記玉払出条件の成立に応じて前記玉払出手段により景品玉を払出す制御を行なう。
【0248】
(2) 図8に示されるように、前記遊技制御手段は、前記異常状態検出手段により前記遊技制御上で発生した異常状態が検出された場合に、少なくとも遊技制御の主要部分(特別図柄処理)を不能動化する制御を行なう(S12,S13参照)。
【0249】
(3) 図1等に示されたV入賞スイッチ38および10カウントスイッチ39により、前記入賞領域に打玉が入賞したことを検出する打玉入賞検出手段が構成されている。図9に示されるように、前記異常状態検出手段により検出される異常状態は、前記打玉入賞検出手段の異常状態を含む。
【0250】
(4) 図9に示されるように、前記打玉入賞検出手段は、打玉の入賞を検出した場合に所定期間内において検出出力が継続される。図9(特に、SA2〜SA6,SA9〜SA13)に示されるように、前記異常状態検出手段により検出される前記打玉入賞検出手段の異常状態は、前記打玉入賞検出手段による入賞の検出出力が前記所定期間を超えて継続した異常状態を含む。
【0251】
(5) 図2等に示された入賞玉検出器122により、前記入賞領域に入賞した入賞玉を検出する入賞玉検出手段が構成されている。図柄2等に示された賞球個数スイッチ256により、前記玉払出手段による景品玉の払出しが検出可能な景品玉検出手段が構成されている。図6に示されるように、前記遊技制御手段は、前記入賞玉検出手段および前記景品玉検出手段のそれぞれの検出出力を直接受け、前記入賞玉検出手段の検出出力があった場合に、所定個数の景品玉の払出しを要求する指令情報を前記玉払出制御手段へ与える(図14参照)とともに、前記景品玉検出手段の検出出力に基づいて前記所定個数の景品玉の払出しが正常に行なわれているか否かを判断する制御をさらに行なう(図12参照)。図18および図19に示されるように、前記玉払出制御手段は、前記遊技制御手段から前記指令情報を受けた場合に、景品玉を前記玉払出手段により払出す制御をさらに行なう。図6に示されるように、前記玉払出制御手段から前記遊技制御手段への情報の通信が行なわれない。
【0252】
【課題を解決するための手段の具体例の効果】
請求項1に関しては、次のような効果を得ることができる。可変入賞球装置が開放状態でないのに入賞した打玉の検出信号が入力されたときに、所定期間、制御される、不正入賞エラー状態においても、払出条件の成立に応じて払出手段により景品を払出す制御が行なわれるので、遊技制御が異常な状態になっても少なくとも払出条件が成立した分については遊技者が景品の払出しを受けることができる。このため、遊技制御上での異常状態が生じた場合における景品の払出しについての遊技者の不快感を防ぐことができる。
【0253】
請求項2に関しては、次のような効果を得ることができる。入賞球装置に入賞した打玉の検出信号が所定期間以上継続して入力されているときに検出信号の入力が途絶えるまで制御される、検出エラー状態においても、払出条件の成立に応じて払出手段により景品を払出す制御が行なわれるので、遊技制御が異常な状態になっても少なくとも払出条件が成立した分については遊技者が景品の払出しを受けることができる。このため、遊技制御上での異常状態が生じた場合における景品の払出しについての遊技者の不快感を防ぐことができる。
【0256】
請求項3に関しては、請求項1または請求項2に関する効果に加えて、次のような効果を得ることができる。このように、払出制御手段から遊技制御手段への情報の通信が行なわれず、打玉入賞検出手段から直接的に遊技制御手段に与えられる入賞玉の検出出力に応じて遊技制御手段から払出制御手段に指令情報が与えられ、その指令情報に基づいて、払出制御手段の制御により景品の払出しが行なわれる。つまり、そのような景品の払出しは、遊技制御手段から払出制御手段への指令情報の一方向通信に基づいて行なわれる。このような一方向通信に基づく景品の払出し制御により、払出制御手段から遊技制御手段への不正なデータの入力による遊技制御手段の不正制御動作を極力防止することができる。さらに、景品検出手段から、払出制御手段を介することなく直接的に遊技制御手段に与えられる景品の検出出力に基づいて所定個数の景品の払出が正常に行なわれているか否かが判別されるため、遊技制御手段において、一方向通信でありながら景品の払出し状態をチェックすることができる。
【図面の簡単な説明】
【図1】弾球遊技機の一例のパチンコ遊技機を示す全体正面図である。
【図2】パチンコ遊技機の一部内部構造を示す全体背面図である。
【図3】玉払出装置の構成を示す断面図である。
【図4】玉払出流路の切換部の構成を示す断面図である。
【図5】機構板に設けられる入賞玉処理装置の背面から見た正面図である。
【図6】本発明の実施の形態に用いられる制御回路を示すブロック図である。
【図7】本発明の実施の形態に用いられる制御回路を示すブロック図である。
【図8】遊技制御用マイクロコンピュータで実行される処理の内容を示すフローチャートである。
【図9】遊技制御用マイクロコンピュータで実行される処理の内容を示すフローチャートである。
【図10】遊技制御用マイクロコンピュータで実行される処理の内容を示すフローチャートである。
【図11】遊技制御用マイクロコンピュータで実行される処理の内容を示すフローチャートである。
【図12】遊技制御用マイクロコンピュータで実行される処理の内容を示すフローチャートである。
【図13】遊技制御用マイクロコンピュータで実行される処理の内容を示すフローチャートである。
【図14】遊技制御用マイクロコンピュータで実行される処理の内容を示すフローチャートである。
【図15】遊技制御用マイクロコンピュータで実行される処理の内容を示すフローチャートである。
【図16】遊技制御用マイクロコンピュータで実行される処理の内容を示すフローチャートである。
【図17】遊技制御用マイクロコンピュータで実行される処理の内容を示すフローチャートである。
【図18】払出制御用マイクロコンピュータで実行される処理の内容を示すフローチャートである。
【図19】払出制御用マイクロコンピュータで実行される処理の内容を示すフローチャートである。
【図20】払出制御用マイクロコンピュータで実行される処理の内容を示すフローチャートである。
【図21】景品玉の払出動作時の具体的な動作例を示すタイミングチャートである。
【符号の説明】
1はパチンコ遊技機(弾球遊技機)、32は遊技領域(遊技領域)、34は始動入賞口(入賞領域)、48,49a,49bは入賞口(入賞領域)、35は可変入賞球装置(入賞領域)、97は玉払出装置(玉払出手段)、202は遊技制御用マイクロコンピュータ(遊技制御手段)、220は払出制御用マイクロコンピュータ(玉払出制御手段)、38はV入賞スイッチ(打玉入賞検出手段)、39は10カウントスイッチ(打玉入賞検出手段)122は入賞玉検出器(入賞玉検出手段)である。
Claims (3)
- 打玉が入賞可能な開放状態に変化する可変入賞球装置を有し、所定の払出条件の成立に応じて景品が払出される遊技機であって、
前記景品を払出し可能な払出手段と、
前記所定の払出条件が成立した場合に、前記払出手段により景品を払出す払出制御を行なう払出制御手段と、
前記遊技機の遊技状態を制御することが可能な遊技制御手段と、
前記可変入賞球装置に入賞した打玉を検出する打玉入賞検出手段とを備え、
前記遊技制御手段は、前記可変入賞球装置が開放状態でないのに前記打玉入賞検出手段から検出信号が入力されたときに、所定期間、不正入賞エラー状態に制御する不正入賞エラー制御手段を含み、
前記払出制御手段は、前記不正入賞エラー状態においても、前記払出制御を行なうことを特徴とする、遊技機。 - 打玉が入賞可能な入賞球装置を有し、所定の払出条件の成立に応じて景品が払出される遊技機であって、
前記景品を払出し可能な払出手段と、
前記所定の払出条件が成立した場合に、前記払出手段により景品を払出す払出制御を行なう払出制御手段と、
前記遊技機の遊技状態を制御することが可能な遊技制御手段と、
前記入賞球装置に入賞した打玉を検出する打玉入賞検出手段とを備え、
前記遊技制御手段は、前記打玉入賞検出手段から検出信号が所定期間以上継続して入力されているときに、検出信号の入力が途絶えるまで検出エラー状態に制御する検出エラー制御手段を含み、
前記払出制御手段は、前記検出エラー状態においても、前記払出制御を行なうことを特徴とする、遊技機。 - 前記払出手段による景品の払出しを検出可能な景品検出手段をさらに含み、
前記遊技制御手段は、前記打玉入賞検出手段および前記景品検出手段のそれぞれの検出出力を直接受け、前記打玉入賞検出手段の検出出力があった場合に、所定個数の景品の払出しを要求する指令情報を前記払出制御手段へ与えるとともに、前記景品検出手段の検出出力に基づいて前記所定個数の景品の払出しが正常に行なわれているか否かを判断する制御をさらに行ない、
前記払出制御手段は、前記遊技制御手段から前記指令情報を受けた場合に、景品を前記払出手段により払出す制御をさらに行ない、前記払出制御手段から前記遊技制御手段への情報の通信が行なわれないことを特徴とする、請求項1または請求項2に記載の遊技機。
Priority Applications (1)
| Application Number | Priority Date | Filing Date | Title |
|---|---|---|---|
| JP17506698A JP4306830B2 (ja) | 1998-06-22 | 1998-06-22 | 遊技機 |
Applications Claiming Priority (1)
| Application Number | Priority Date | Filing Date | Title |
|---|---|---|---|
| JP17506698A JP4306830B2 (ja) | 1998-06-22 | 1998-06-22 | 遊技機 |
Publications (3)
| Publication Number | Publication Date |
|---|---|
| JP2000005408A JP2000005408A (ja) | 2000-01-11 |
| JP2000005408A5 JP2000005408A5 (ja) | 2008-06-19 |
| JP4306830B2 true JP4306830B2 (ja) | 2009-08-05 |
Family
ID=15989645
Family Applications (1)
| Application Number | Title | Priority Date | Filing Date |
|---|---|---|---|
| JP17506698A Expired - Fee Related JP4306830B2 (ja) | 1998-06-22 | 1998-06-22 | 遊技機 |
Country Status (1)
| Country | Link |
|---|---|
| JP (1) | JP4306830B2 (ja) |
Families Citing this family (11)
| Publication number | Priority date | Publication date | Assignee | Title |
|---|---|---|---|---|
| JP4130050B2 (ja) * | 2000-03-06 | 2008-08-06 | 株式会社ソフィア | 遊技機 |
| JP2001246104A (ja) * | 2000-03-07 | 2001-09-11 | Sankyo Kk | 遊技機 |
| JP4568849B2 (ja) * | 2000-10-10 | 2010-10-27 | 株式会社大一商会 | 遊技機 |
| JP2001334025A (ja) * | 2000-12-07 | 2001-12-04 | Taiyo Elec Co Ltd | 遊技機 |
| JP2005342219A (ja) * | 2004-06-03 | 2005-12-15 | Fujishoji Co Ltd | 遊技機 |
| JP5183041B2 (ja) * | 2006-07-31 | 2013-04-17 | 株式会社大一商会 | 遊技機 |
| JP5183040B2 (ja) * | 2006-07-31 | 2013-04-17 | 株式会社大一商会 | 遊技機 |
| JP4129532B2 (ja) * | 2007-09-11 | 2008-08-06 | 株式会社高尾 | 弾球遊技機 |
| JP4129533B2 (ja) * | 2007-09-14 | 2008-08-06 | 株式会社高尾 | 弾球遊技機 |
| JP5467384B2 (ja) * | 2009-11-25 | 2014-04-09 | 株式会社オリンピア | 遊技機 |
| JP2012024417A (ja) * | 2010-07-26 | 2012-02-09 | Sankyo Co Ltd | 遊技機 |
-
1998
- 1998-06-22 JP JP17506698A patent/JP4306830B2/ja not_active Expired - Fee Related
Also Published As
| Publication number | Publication date |
|---|---|
| JP2000005408A (ja) | 2000-01-11 |
Similar Documents
| Publication | Publication Date | Title |
|---|---|---|
| JP2009297149A (ja) | 封入式遊技機 | |
| JP4306830B2 (ja) | 遊技機 | |
| JP4836436B2 (ja) | 遊技機 | |
| JP2003088606A (ja) | 遊技球を用いたスロットマシン | |
| JPH07323133A (ja) | 弾球遊技機 | |
| JPH1015203A (ja) | 遊技機 | |
| JPH11244491A (ja) | 弾球遊技機 | |
| JP2000084199A (ja) | 弾球遊技機 | |
| JP2001025561A (ja) | 弾球遊技機 | |
| JPH10328355A (ja) | 弾球遊技機 | |
| JP4855062B2 (ja) | 回胴式遊技機、及びその遊技媒体の貸出制御方法 | |
| JP2003093592A (ja) | 遊技球を用いたスロットマシン | |
| JP2977936B2 (ja) | 遊技機 | |
| JP2001046718A (ja) | 弾球遊技機 | |
| JPH11285584A (ja) | 弾球遊技機 | |
| JP2978265B2 (ja) | 遊技用装置および遊技機 | |
| JP3344979B2 (ja) | 遊技機 | |
| JPH11226227A (ja) | 弾球遊技機 | |
| JPH11221320A (ja) | 弾球遊技機 | |
| JP4793967B2 (ja) | 遊技機 | |
| JP3344977B2 (ja) | 遊技機 | |
| JPH11244490A (ja) | 弾球遊技機 | |
| JP4476573B2 (ja) | スロットマシン及び遊技媒体貸出機 | |
| JP3344976B2 (ja) | 遊技機 | |
| JP2000210444A (ja) | 遊技機 |
Legal Events
| Date | Code | Title | Description |
|---|---|---|---|
| A621 | Written request for application examination |
Free format text: JAPANESE INTERMEDIATE CODE: A621 Effective date: 20050520 |
|
| A521 | Written amendment |
Free format text: JAPANESE INTERMEDIATE CODE: A523 Effective date: 20080430 |
|
| A131 | Notification of reasons for refusal |
Free format text: JAPANESE INTERMEDIATE CODE: A131 Effective date: 20080805 |
|
| A521 | Written amendment |
Free format text: JAPANESE INTERMEDIATE CODE: A523 Effective date: 20081002 |
|
| A131 | Notification of reasons for refusal |
Free format text: JAPANESE INTERMEDIATE CODE: A131 Effective date: 20081209 |
|
| A521 | Written amendment |
Free format text: JAPANESE INTERMEDIATE CODE: A523 Effective date: 20090129 |
|
| TRDD | Decision of grant or rejection written | ||
| A01 | Written decision to grant a patent or to grant a registration (utility model) |
Free format text: JAPANESE INTERMEDIATE CODE: A01 Effective date: 20090421 |
|
| A01 | Written decision to grant a patent or to grant a registration (utility model) |
Free format text: JAPANESE INTERMEDIATE CODE: A01 |
|
| A61 | First payment of annual fees (during grant procedure) |
Free format text: JAPANESE INTERMEDIATE CODE: A61 Effective date: 20090428 |
|
| R150 | Certificate of patent or registration of utility model |
Free format text: JAPANESE INTERMEDIATE CODE: R150 |
|
| FPAY | Renewal fee payment (event date is renewal date of database) |
Free format text: PAYMENT UNTIL: 20120515 Year of fee payment: 3 |
|
| FPAY | Renewal fee payment (event date is renewal date of database) |
Free format text: PAYMENT UNTIL: 20120515 Year of fee payment: 3 |
|
| FPAY | Renewal fee payment (event date is renewal date of database) |
Free format text: PAYMENT UNTIL: 20120515 Year of fee payment: 3 |
|
| FPAY | Renewal fee payment (event date is renewal date of database) |
Free format text: PAYMENT UNTIL: 20130515 Year of fee payment: 4 |
|
| FPAY | Renewal fee payment (event date is renewal date of database) |
Free format text: PAYMENT UNTIL: 20130515 Year of fee payment: 4 |
|
| FPAY | Renewal fee payment (event date is renewal date of database) |
Free format text: PAYMENT UNTIL: 20140515 Year of fee payment: 5 |
|
| R250 | Receipt of annual fees |
Free format text: JAPANESE INTERMEDIATE CODE: R250 |
|
| R250 | Receipt of annual fees |
Free format text: JAPANESE INTERMEDIATE CODE: R250 |
|
| R250 | Receipt of annual fees |
Free format text: JAPANESE INTERMEDIATE CODE: R250 |
|
| R250 | Receipt of annual fees |
Free format text: JAPANESE INTERMEDIATE CODE: R250 |
|
| LAPS | Cancellation because of no payment of annual fees |