JP4294651B2 - 炊飯器 - Google Patents

炊飯器 Download PDF

Info

Publication number
JP4294651B2
JP4294651B2 JP2006030059A JP2006030059A JP4294651B2 JP 4294651 B2 JP4294651 B2 JP 4294651B2 JP 2006030059 A JP2006030059 A JP 2006030059A JP 2006030059 A JP2006030059 A JP 2006030059A JP 4294651 B2 JP4294651 B2 JP 4294651B2
Authority
JP
Japan
Prior art keywords
rice
rice cooking
heating
pan
input
Prior art date
Legal status (The legal status is an assumption and is not a legal conclusion. Google has not performed a legal analysis and makes no representation as to the accuracy of the status listed.)
Expired - Lifetime
Application number
JP2006030059A
Other languages
English (en)
Other versions
JP2007125357A (ja
Inventor
さおり 加古
由美子 平田
美和 堀内
恵美 ▲高▼桑
まさ代 三村
暢子 市来
Current Assignee (The listed assignees may be inaccurate. Google has not performed a legal analysis and makes no representation or warranty as to the accuracy of the list.)
Panasonic Corp
Panasonic Holdings Corp
Original Assignee
Panasonic Corp
Matsushita Electric Industrial Co Ltd
Priority date (The priority date is an assumption and is not a legal conclusion. Google has not performed a legal analysis and makes no representation as to the accuracy of the date listed.)
Filing date
Publication date
Application filed by Panasonic Corp, Matsushita Electric Industrial Co Ltd filed Critical Panasonic Corp
Priority to JP2006030059A priority Critical patent/JP4294651B2/ja
Priority to CN2006101421111A priority patent/CN1943483B/zh
Publication of JP2007125357A publication Critical patent/JP2007125357A/ja
Application granted granted Critical
Publication of JP4294651B2 publication Critical patent/JP4294651B2/ja
Anticipated expiration legal-status Critical
Expired - Lifetime legal-status Critical Current

Links

Images

Landscapes

  • Cookers (AREA)

Description

本発明は主に家庭用に使用する炊飯器に関するものである。
ごはんをおいしく炊くには「はじめチョロチョロなかパッパ〜赤子泣いても蓋取るな」と、江戸時代からの言い伝えにあるように、強火で一気に沸騰させ、吹き零れるほどの火力で炊くとよいとされている。
現在の家庭用マイコン制御式炊飯器においては、白米をおいしいごはんに炊き上げるための火加減を、標準の炊飯シーケンスとしてマイコンに内蔵している。一般的な炊飯工程は、「はじめチョロチョロ〜」の言い伝えをなぞり、主に、米に水を吸水させる浸水工程と、一気に鍋内の温度を上げて沸騰させる炊き上げ工程と、沸騰を維持させて米の澱粉を糊化させてごはんにする沸騰維持工程と、炊き上がったごはんを蒸らして鍋内を均一に仕上げるむらし工程からなる。使用者は、洗った米を鍋内に入れ、その米の量に応じて鍋に入れる水加減を調整して炊飯器にセットして炊飯開始スイッチを押せば、およそ30〜60分で自動的にごはんを炊き上げることができるようになっている。このとき、炊き上げの火力は強いほど、ごはんの食味は良好であるとされている。つまり、炊き上げ工程において、より強い火力で炊飯するほど、ごはんはおいしいとされている(例えば、特許文献1参照)。
現代においては、ごはんのおいしさが求められている一方、地球環境への配慮も求められている。このため、可能な限り使用時の総消費電力量を少なくして、COの排出量を減らすことが課題となっている。この課題を解決する方法としては、例えば、炊き上げ工程や沸騰維持工程で鍋を加熱する火力を弱くしたり、浸水工程の時間を長くして沸騰維持工程の時間を短くするなどの技術があり、特許文献2などに開示されている。
特開平8−164066号公報 特許第3299919号公報
しかし、当然のことながら、炊き上げ工程や沸騰維持工程で鍋を加熱する火力を弱くすると、飯粒表面が崩れ、糊化も不足し、ごはんの食味は大幅に低下する。また、浸水工程の時間を長くすると、当然のことながら炊飯時間が延びる。また、炊飯器での炊飯時間を延ばさずに、総消費電力量を抑え、且つごはんの食味を低下させないようにするには、炊飯前に予め1時間以上、米を水に浸漬させておかなければならないなど、使用者の手間が必要となる。
本発明は上記のような問題を解決するためになされたものであって、使用者の手間を必要せず、且つ炊飯時間を延ばさずに、少ない総消費電力量で可能な限り食味の劣化を防いで良食味に米を炊飯することのできる炊飯器を提供することを目的とするものである。
本発明の第態様によれば、炊飯器本体の内部に収納され米と水を入れる鍋と、前記鍋の上部開口部を覆う開閉自在な蓋と、前記鍋の底部を加熱する鍋底加熱装置と、前記鍋の温度を検知する鍋温度検知部と、前記鍋底加熱装置の鍋加熱動作を制御する加熱制御部と、標準炊飯モードと、前記標準炊飯モードよりも前記米の炊飯時の総消費電力量を少なくする省エネ炊飯モードとを含む少なくとも2つの炊飯モードの中から選択された、いずれか1つの炊飯モードが入力される炊飯モード入力部と、前記炊飯モード入力部で入力された炊飯モード及び前記鍋温度検知部の検知温度に基づいて、前記加熱制御部を制御して、浸水工程、炊き上げ工程、沸騰維持工程、むらし工程を含む炊飯工程を行う炊飯制御部と、を備え、前記炊飯制御部は、前記炊飯モード入力部で前記省エネ炊飯モードが入力された場合、前記沸騰維持工程において、前記標準炊飯モードが入力された場合と比べて、前記鍋底加熱装置の単位時間当りの加熱量を上げる第2の制御を前記加熱制御部に行うことを特徴とする炊飯器を提供する。
本発明の第態様によれば、炊飯器本体の内部に収納され米と水を入れる鍋と、前記鍋の上部開口部を覆う開閉自在な蓋と、前記鍋の底部を加熱する鍋底加熱装置と、前記鍋の温度を検知する鍋温度検知部と、前記鍋底加熱装置の鍋加熱動作を制御する加熱制御部と、標準炊飯モードと、前記標準炊飯モードよりも前記米の炊飯時の総消費電力量を少なくする省エネ炊飯モードとを含む少なくとも2つの炊飯モードの中から選択された、いずれか1つの炊飯モードが入力される炊飯モード入力部と、前記炊飯モード入力部で入力された炊飯モード及び前記鍋温度検知部の検知温度に基づいて、前記加熱制御部を制御して、浸水工程、炊き上げ工程、沸騰維持工程、むらし工程を含む炊飯工程を行う炊飯制御部と、を備え、前記炊飯制御部は、前記炊飯モード入力部で前記省エネ炊飯モードが入力された場合、前記標準炊飯モードが入力された場合と比べて、前記沸騰維持工程終了時の前記鍋の温度を高くするとともに、複数回の追炊き加熱を行う前記むらし工程において、前記追炊き加熱の加熱量を低くする第3の制御を前記加熱制御部に行うことを特徴とする炊飯器を提供する。
本発明の第態様によれば、炊飯器本体の内部に収納され米と水を入れる鍋と、前記鍋の上部開口部を覆う開閉自在な蓋と、前記鍋の底部を加熱する鍋底加熱装置と、前記鍋の温度を検知する鍋温度検知部と、前記鍋底加熱装置の鍋加熱動作を制御する加熱制御部と、標準炊飯モードと、前記標準炊飯モードよりも前記米の炊飯時の総消費電力量を少なくする省エネ炊飯モードを含む少なくとも2つの炊飯モードの中から選択された、いずれか1つの炊飯モードが入力される炊飯モード入力部と、前記炊飯モード入力部で入力された炊飯モード及び前記鍋温度検知部の検知温度に基づいて、前記加熱制御部を制御して、浸水工程、炊き上げ工程、沸騰維持工程、むらし工程を含む炊飯工程を行う炊飯制御部と、を備え、前記炊飯制御部は、前記炊飯モード入力部で前記省エネ炊飯モードが入力された場合、前記沸騰維持工程において、前記標準炊飯モードが入力された場合と比べて、前記鍋底加熱装置の単位時間当りの加熱量を上げるとともに、前記沸騰維持工程終了時の前記鍋の温度を低くする第4の制御を前記加熱制御部に行うことを特徴とする炊飯器を提供する。
本発明の第態様によれば、炊飯器本体の内部に収納され米と水を入れる鍋と、前記鍋の上部開口部を覆う開閉自在な蓋と、前記鍋の底部を加熱する鍋底加熱装置と、前記鍋の温度を検知する鍋温度検知部と、前記鍋底加熱装置の鍋加熱動作を制御する加熱制御部と、標準炊飯モードと、前記標準炊飯モードよりも前記米の炊飯時の総消費電力量を少なくする省エネ炊飯モードを含む少なくとも2つの炊飯モードの中から選択された、いずれか1つの炊飯モードが入力される炊飯モード入力部と、前記炊飯モード入力部で入力された炊飯モード及び前記鍋温度検知部の検知温度に基づいて、前記加熱制御部を制御して、浸水工程、炊き上げ工程、沸騰維持工程、むらし工程を含む炊飯工程を行う炊飯制御部と、を備え、前記炊飯制御部は、前記炊飯モード入力部で前記省エネ炊飯モードが入力された場合、前記標準炊飯モードが入力された場合と比べて、複数回の追炊き加熱を行う前記むらし工程において、前記追炊き加熱時の加熱時間及び前記追炊き加熱の間隔を短くする第5の制御を前記加熱制御部に行うことを特徴とする炊飯器を提供する。
本発明の第5態様によれば、炊飯器本体の内部に収納され米と水を入れる鍋と、前記鍋の上部開口部を覆う開閉自在な蓋と、前記鍋の底部を加熱する鍋底加熱装置と、前記鍋の温度を検知する鍋温度検知部と、前記鍋底加熱装置の鍋加熱動作を制御する加熱制御部と、標準炊飯モードと、前記標準炊飯モードよりも前記米の炊飯時の総消費電力量を少なくする省エネ炊飯モードとを含む少なくとも2つの炊飯モードの中から選択された、いずれか1つの炊飯モードが入力される炊飯モード入力部と、前記炊飯モード入力部で入力された炊飯モード及び前記鍋温度検知部の検知温度に基づいて、前記加熱制御部を制御して、浸水工程、炊き上げ工程、沸騰維持工程、むらし工程を含む炊飯工程を行う炊飯制御部と、米の米質により分類した「柔らかい米」及び「硬い米」を含む少なくとも2つの群の中から選択された、炊飯する米の米質に対応するいずれか1つの群が入力される米質入力部と、を備え、前記炊飯制御部は、前記炊飯モード入力部で前記省エネ炊飯モードが入力された場合、前記浸水工程において、前記鍋温度検知部の検知温度が予め設定された時間の間、予め設定された温度になるように前記鍋底加熱装置を制御し、前記予め設定された時間の経過後は前記鍋底加熱装置の鍋加熱動作を停止させる第1の制御を前記加熱制御部に行うとともに、前記米質入力部で「柔らかい米」が入力された場合、自動的に前記省エネ炊飯モードを選択して、前記制御を前記加熱制御部に行うことを特徴とする炊飯器を提供する。
本発明の第態様によれば、さらに、米の米質により分類した「柔らかい米」及び「硬い米」を含む少なくとも2つの群の中から選択された、炊飯する米の米質に対応するいずれか1つの群が入力される米質入力部を備え、前記炊飯制御部は、前記米質入力部で「柔らかい米」が入力された場合、自動的に前記省エネ炊飯モードを選択して、前記制御を前記加熱制御部に行うことを特徴とする第1態様〜第態様のいずれか1つに記載の炊飯器を提供する。
本発明の第7態様によれば、炊飯器本体の内部に収納され米と水を入れる鍋と、前記鍋の上部開口部を覆う開閉自在な蓋と、前記鍋の底部を加熱する鍋底加熱装置と、前記鍋の温度を検知する鍋温度検知部と、前記鍋底加熱装置の鍋加熱動作を制御する加熱制御部と、標準炊飯モードと、前記標準炊飯モードよりも前記米の炊飯時の総消費電力量を少なくする省エネ炊飯モードとを含む少なくとも2つの炊飯モードの中から選択された、いずれか1つの炊飯モードが入力される炊飯モード入力部と、前記炊飯モード入力部で入力された炊飯モード及び前記鍋温度検知部の検知温度に基づいて、前記加熱制御部を制御して、浸水工程、炊き上げ工程、沸騰維持工程、むらし工程を含む炊飯工程を行う炊飯制御部と、米の収穫からの経過期間により分類した、「新米」及び「古米」を含む少なくとも2つの群の中から選択された、炊飯する米の収穫からの経過期間に対応するいずれか1つの群が入力される新米度入力部と、を備え、前記炊飯制御部は、前記炊飯モード入力部で前記省エネ炊飯モードが入力された場合、前記浸水工程において、前記鍋温度検知部の検知温度が予め設定された時間の間、予め設定された温度になるように前記鍋底加熱装置を制御し、前記予め設定された時間の経過後は前記鍋底加熱装置の鍋加熱動作を停止させる第1の制御を前記加熱制御部に行うとともに、前記新米度入力部で「新米」が入力された場合、自動的に前記省エネ炊飯モードを選択して、前記制御を前記加熱制御部に行うことを特徴とする炊飯器を提供する。
本発明の第態様によれば、さらに、米の収穫からの経過期間により分類した、「新米」及び「古米」を含む少なくとも2つの群の中から選択された、炊飯する米の収穫からの経過期間に対応するいずれか1つの群が入力される新米度入力部を備え、前記炊飯制御部は、前記新米度入力部で「新米」が入力された場合、自動的に前記省エネ炊飯モードを選択して、前記制御を前記加熱制御部に行うことを特徴とする第1態様〜第態様のいずれか1つに記載の炊飯器を提供する。
本発明によれば、使用者の手間を必要せず、且つ炊飯時間を延ばさずに、地球環境に配慮して従来の炊飯器より少ない総消費電力量で可能な限り良食味に米を炊飯することのできる炊飯器を提供することができる。
特に、本発明の第11態様によれば、従来の炊飯器においては、予備浸水が有る場合、浸水工程において米に水が吸水され過ぎて粒の崩れた食味が悪いごはんになることがあったが、予備浸水が有る場合には、浸水工程における浸漬時間を短くするようにしているので、米に水が吸水され過ぎて粒の崩れた食味が悪いごはんになることを防ぐことができるとともに、浸水工程における加熱量を減らして総消費電力量を削減することができる。
特に、本発明の第12態様によれば、米が吸水する水の温度が高いほど短時間で吸水する性質を利用して、予備浸水の水温が高い場合には浸水工程における浸漬時間をさらに短くするようにしているので、第3態様よりもさらに、米に水が吸水され過ぎて粒の崩れた食味が悪いごはんになることを防ぐことができるとともに、浸水工程における加熱量を減らして総消費電力量を削減することができる。
特に、本発明の第13態様によれば、米質入力部により「柔らかい米」が入力されることで、炊飯制御部が自動的に省エネ炊飯モードを選択するようになっている。「柔らかい米」とは、一般的に米の組織が柔らかいということであり、吸水速度が早く、糊化開始温度も低いという特徴を持つ。このため、火力が抑えられた省エネ炊飯モードで炊飯されることにより、しっかりした触感の食味の良好なごはんを炊き上げることができ、より米に適するように炊き分けることができる。また、省エネ炊飯モードで炊飯することにより炊飯時の火力が抑えられ、炊飯時の総消費電力量を減らすことができる。
特に、本発明の第14態様によれば、新米度入力部により「新米」が入力されることで、炊飯制御部が自動的に省エネ炊飯モードを選択するようになっている。「新米」は長期保存した米に比べて米の水分が多く、組織が柔らかいため、吸水速度が早く、糊化開始温度も低いという特徴を持つ。このため、火力が抑えられた省エネ炊飯モードで炊飯することにより、しっかりした触感の食味の良好なごはんを炊き上げることができ、より米に適するように炊き分けることができる。また、省エネ炊飯モードで炊飯することにより炊飯時の火力が抑えられ、炊飯時の総消費電力量を減らすことができる。
以下、本発明の最良の実施形態について、図面を参照しながら説明する。なお、本実施形態によって本発明が限定されるものではない。
《第1の実施形態》
本発明の第1の実施形態における炊飯器について、以下に説明する。図1Aは本発明の第1の実施形態における炊飯器の断面図を示しており、図1Bは、その制御関連の構成を示すブロック図を示している。本発明の第1の実施形態の炊飯器は電気式IH加熱炊飯器である。図1A及び図1Bにおいて、第1の実施形態の炊飯器は、本体1の内部に着脱可能に収納され米と水を入れる鍋2と、鍋2の外周面に対向するように配置されて鍋2を加熱する加熱ユニット3と、鍋2の上部開口部を覆うように本体1に開閉自在に取り付けられた蓋4と、鍋2の底面中央部に外接し、鍋2の温度を検知する鍋温度検知部の一例である鍋底温度センサ5と、蓋4の内部に配置され、鍋底温度センサ5の検知温度Taに基づいて、加熱ユニット3の鍋加熱動作を制御する加熱制御部71を制御して、鍋2を加熱し、鍋2内の米と水を加熱して、後述する炊飯工程を行う炊飯制御部6とを備えている。
本体1は、上部が開口している略円筒形状をしており、炊飯器本体を形成している。本体1の上部開口の周囲にはリング状の上枠11が嵌められて取り付けられている。上枠11は、有底円筒形状に形成されたコイルベース12の上端部を固定しており、そのコイルベース12とで鍋収納部を形成している。コイルベース12の外周面には、鍋2の外周面と対向するように配置されて鍋2を誘導加熱するリング状の、底内コイル31、底外コイル32、及び側面コイル33が設置されている。底内コイル31と底外コイル32とは、鍋2の底部を加熱するための鍋底加熱装置の一例を構成している。底内コイル31は鍋2の略中央底部2aと対向するように配置され、底外コイル32は鍋2の側底部2bと対向するように配置され、側面コイル33は鍋2の側部2cと対向するように配置されている。加熱ユニット3は、底内コイル31、底外コイル32、側面コイル33と、後述する蓋コイル34とにより構成されている。
コイルベース12と本体1内面とで形成される空間には、炊飯制御部6からの制御により、底内コイル31、底外コイル32、側面コイル33、及び後述する蓋コイル34に高周波電流を通電し、鍋2を誘導加熱するための加熱制御部71が設置されている。この加熱制御部71の下方には、加熱制御部71上に設置される発熱部品72を冷却するためのヒートシンク73が設置されている。ヒートシンク73の下方には、ヒートシンク73を冷却するための冷却用ファンモータ74が設けられている。冷却用ファンモータ74の、コイルベース12との対向面は、コイルベース12の形状に沿うように傾斜している。
蓋4は、合成樹脂から形成された外蓋部41と、外蓋部41の内側に嵌められて取り付けられている内蓋部42と、内蓋部42の下面に着脱可能に取り付けられることで、蓋4の下面を構成する発熱板43とを有している。内蓋部42の上面には、発熱板43を誘導加熱するためのリング状の蓋コイル34が設置されている。蓋4は、内蓋部42の一部に設けられたヒンジ軸4aを本体1の上枠11の一部に一体形成されたヒンジ部材13に回動自在に支持されることで、本体1の上部開口部を開閉可能なように取り付けられている。
発熱板43の外周下部には、リング状の鍋パッキン44が取り付けられている。鍋パッキン44は、炊飯中に鍋2内に発生する蒸気などを、本体1の内部空間へ流出させないように鍋2と蓋4との隙間を塞ぐように配置されている。発熱板43の上面の一部には、発熱板43の温度を検知するための蓋温度センサ45が圧接されている。また、発熱板43の中央部には鍋2内の蒸気を炊飯器外部に排出するための蒸気通路孔46が設けられている。
蓋4の中央部には、鍋2内から蒸気通路孔46を通って排出される蒸気を、本体1の外部へ排出できるように、蒸気穴47が蓋4の厚さ方向に貫通するように設けられている。蒸気穴47には、略円筒形状の蒸気筒48が炊飯器外部から嵌め込まれている。
鍋底温度センサ5は、コイルベース12上に設けられ鍋2を支持するためのセンサバネ51によって付勢されることにより、鍋2の略中央底部2aに外接可能に配置されている。この鍋底温度センサ5は、炊飯及び保温時の鍋温度を検知することで、炊飯制御部6が鍋2内の被調理物(米及び水)を最適な温度状態に制御できるように設置されている。
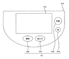
蓋4の内部で蓋温度センサ45の上方には、炊飯制御部6、操作基板61、入力部62、及び表示板63が設置されている。外蓋部41には、炊飯器外部から表示板63を視認可能にする表示窓41aと、炊飯器外部から押すことで入力部62の各入力ボタンを押すことができる操作パネル41bとが設けられている。
入力部62は、図2に示すように、炊飯モード入力部の一例である炊飯モード入力ボタンを備えている。炊飯モード入力ボタンは、標準モードボタン62b、及び省エネモードボタン62cから構成されている。標準モードボタン62b、及び省エネモードボタン62cは、一定量のごはんを炊飯する場合の総消費電力量を、炊飯を行う前に選択できるものである。標準モードボタン62bが押されると、従来から一般的に用いられている炊飯器と同様の総消費電力量で炊飯する標準炊飯モードが入力され、炊飯制御部6に伝達される。省エネモードボタン62cが押されると、標準炊飯モードよりも少ない総消費電力量、つまり弱い火力で炊飯する省エネ炊飯モードが入力され、炊飯制御部6に伝達される。炊飯制御部6は、このようにして伝達された各炊飯モードと、鍋底温度センサ5又は蓋温度センサ45の検知温度Taに基づいて、加熱制御部71を制御して、加熱ユニット3(底内コイル31、底外コイル32、側面コイル33及び蓋コイル34)の加熱量(通電率、加熱温度、加熱時間、又は加熱出力)を制御する。また、炊飯制御部6は、別途設けられた計時部64(図1B)により、炊飯工程中の各工程の所要時間も制御している。
入力部62は更に、炊飯ボタン62dと切ボタン62eとを備えている。炊飯ボタン62dは、押圧されると炊飯制御部6に炊飯等の動作の開始を指示し、長押し(例えば3秒)されると、炊飯制御部6に主電源のONを指示する。切ボタン62eは、押圧されると各操作の取消等を指示し、長押し(例えば3秒)されると炊飯制御部6に主電源のOFFを指示する。
第1の実施形態の炊飯器は以上のように構成されている。
次に、使用者が鍋2内に米と水を入れ、本発明の第1の実施形態の炊飯器にセットした後、前記標準炊飯モードが入力された場合の炊飯工程について、図3、図4A及び図4Bを参照しつつ以下に説明する。図3は、前記標準炊飯モードが入力された場合の炊飯工程を示す図である。図4Aは一般的な炊飯工程における鍋底センサの検知温度Taを示す図であり、図4Bは一般的な炊飯工程おける米の温度Tbを示す図である。ここで炊飯工程とは、主として、米に水を吸水させる浸水工程Aと、被調理物(米及び水)を沸騰させる炊き上げ工程Bと、その沸騰状態を維持して水を、米に吸水させたり、蒸発させたりして無くす沸騰維持工程Cと、炊き上がったごはんを蒸らして鍋内を均一に仕上げるむらし工程Dとから構成されている。なお、図3、図4Aにおいて実線で示したものは、各工程における鍋底温度センサ5の検知温度Taの推移を表している。
浸水工程Aは、米が糊化する温度よりも低温の水に米を浸して、予め米に吸水させることで、以降の工程において、米の中心部まで十分に糊化できるようにする工程である。また、浸水工程Aは、米に含まれるアミラーゼにより澱粉を分解し、グルコースを生成させ、ごはんの甘味を生み出す工程でもある。このため、浸水工程Aでは、計時部64の計時時間が第一の時間t1(通常20分前後)になるまで、鍋底温度センサ5の検知温度Taが第一の温度T1(通常55℃前後)になるように、炊飯制御部6が加熱制御部71を制御して、底内コイル31及び底外コイル32に一定周期において所定の時間の通電を繰り返す、つまり加熱出力のON、OFFを切り替える制御を行う。なお、図3及び後述する図5〜図9中の黒塗り部分は通電中、つまり加熱出力がONの状態を示している。
計時部64の計時時間が第一の時間t1になると、浸水工程Aを終了し、炊き上げ工程Bに移行する。炊き上げ工程Bでは、図3及び図4Aに示すように、鍋底温度センサ5の検知温度Taが第二の温度T2(水の沸点(通常100℃近傍))になるまで、底内コイル31、底外コイル32が鍋2を加熱する。なお、このとき計時部64により、一定火力で加熱して沸騰するまでの所要時間を計測することによって、被調理物の量、すなわち炊飯量を判定することができる。
なお、本工程では、炊飯制御部6は鍋底温度センサ5の検知温度Taに基づいて、加熱制御部71を制御して、底内コイル31及び底外コイル32の加熱量、つまり通電率、加熱温度、加熱時間、又は加熱出力を制御しているが、蓋温度センサ45の検知温度が所定温度(通常80℃程度)になるまで、底内コイル31、底外コイル32が鍋2を加熱するように構成してもよい。
鍋底温度センサ5の検知温度Taが第二の温度T2に達すると、炊き上げ工程Bを終了し、沸騰維持工程Cに移行する。沸騰維持工程Cは、米の澱粉を糊化させて、糊化度を50%〜60%程度まで引き上げる工程である。沸騰維持工程Cでは、鍋2に水が有る間は、鍋2内の米及び水が沸騰状態を維持するように、炊飯制御部6が、加熱制御部71を制御して、加熱ユニット3に一定周期において、そのときの炊飯量に応じた時間の通電を繰り返す、つまり加熱出力のON、OFFを切り替える制御を行う。この通電により、鍋2内の水が吸水されたり蒸発したりして無くなると、鍋2の温度が上昇する。鍋底温度センサ5の検知温度Taが、図3及び図4Aに示すように、第3の温度T3(水の沸点以上、例えば130℃)に到達すると、沸騰維持工程Cを終了し、むらし工程Dに移行する。なお、沸騰維持工程Cの時間は、炊飯量によって変わるので、図3中及び後述する図5〜図9においては「任意」としている。
むらし工程Dは、米の澱粉を糊化させて、糊化度を100%近くまで引き上げる工程である。むらし工程Dでは、鍋底が焦げるのを避けつつ、ごはんの温度が低下するのを防ぎ、糊化を促進させて鍋2内のごはんを均一化するため、計時部64の計時時間に応じて、休止と追炊き加熱とを交互に複数回(例えば2回)繰り返す。本発明の第1の実施形態においては、図3及び図4Aに示すように、計時部64の計時時間が第二の時間t2(通常15分前後)になるまで、鍋底温度センサ5の検知温度Taが第二の温度T2(通常100℃近傍)を維持するように、炊飯制御部6が、加熱制御部71を制御して、加熱ユニット3に一定周期において、そのときの炊飯量に応じた時間の通電を繰り返す、つまり加熱出力のON、OFFを切り替える制御を行う。なお、前記追炊き加熱は、急激に温度上昇しないように、加熱出力のON、OFFを交互に切り替え、その切り替え間隔を短くすることで温度を上昇させるような間欠加熱としている。
このようにして炊飯工程を実行すると、鍋底温度センサ5の検知温度Taは図4Aに示すようになり、鍋2内の温度、すなわち米の温度Tbは図4Bに示すように温度推移する。
次に、前記省エネ炊飯モードが入力された場合の炊飯工程について説明する。
本発明の第1の実施形態の炊飯器においては、前記省エネ炊飯モードが入力された場合、炊飯制御部6は、加熱制御部71を制御して、以下に説明する第1〜第3の制御のうち少なくとも1つの制御を加熱ユニット3に行う。それ以外の点については、前記標準炊飯モードが入力された場合と同様であるので、重複する説明は省略する。
第1の制御は、浸水工程Aにおいて、鍋底温度センサ5の検知温度Taが予め設定された時間の間、予め設定された温度になるように加熱ユニット3を制御して被加熱物を初期加熱し、前記予め設定された時間の経過後は加熱ユニット3の鍋加熱動作を浸水工程Aの終了まで停止させる制御である。
ここで、予め設定された時間及び温度の設定は、米の澱粉の糊化温度を超えない範囲で設定する。予め設定された温度は例えば約60℃であり、予め設定された時間はその約60℃に達するまでの時間、例えば5分である。その後、浸水工程Aの残時間(約15分)は、鍋加熱動作を停止、つまり加熱量を0にした状態で吸水させる。図5は、この第1の制御を行った炊飯工程を示す図である。なお、前記予め設定された時間は、前記予め設定された温度になれば目的を達するので、浸水工程Aの所要時間の1/3以下に設定することが好ましい。
この第1の制御によれば、鍋2への加熱を途中で停止し、それまで加熱(初期加熱)の余熱で米に水を吸水させるようにしているので、総消費電力量を減らすことができる。一方、食味については、米に含まれるアミラーゼによる澱粉の分解とグルコースの生成は少なくなるため、ごはんの甘味は標準炊飯モードより少なくなるが、米の吸水率は確保できるため、炊き上がりの物性には影響のない状態を保つことができる。
第2の制御は、前記標準炊飯モードが入力された場合と比べて、沸騰維持工程Cにおいて、加熱ユニット3の単位時間当りの加熱量を上げる制御である。
図6は、第1の制御とともに第2の制御を行った炊飯工程を示す図である。
この第2の制御よれば、沸騰維持工程Cにおいて、標準炊飯モードが入力された場合と比べ、単位時間あたりの加熱量が同等以上になるように加熱ユニット3を制御している。より具体的には、炊飯容量の最大量のごはんを炊き上げる場合には、省エネ炊飯モードも標準炊飯モードも、例えば単位時間16秒あたり16秒の通電率で加熱出力等を落とすことなく炊き上げるが、炊飯容量の半分の量のごはんを炊き上げる場合には、標準炊飯モードでは単位時間16秒あたり12秒とするところを、省エネモードでは単位時間16秒あたり14秒としている。つまり、省エネ炊飯モードでは、単位時間あたりの通電率を標準炊飯モードよりも高くして、短時間で沸騰維持工程Cを終了するようにしている。なお、省エネモードにおける通電率は、標準炊飯モードよりも30%程度高くすることが総消費電力量を効果的に抑えることができるため好ましい。
加熱ユニット3から供給される熱エネルギーは、大きく分けて次の三つで消費される。一つ目は蒸発して鍋2から放出される水の気化熱、二つ目は米の糊化に要する糊化エネルギー、そして三つ目は炊飯器本体外に放出される放熱エネルギーである。このうち、水の気化熱は、加水量と炊飯後の含水率が等しければ加熱量の大小に関わらず一定値であり、糊化エネルギーも、炊飯する米の量が同じであれば加熱量の大小に関わらず一定値である。三つ目の放熱エネルギーは、炊飯器本体と外気温度が一定であれば単位時間当たりの放熱エネルギーは一定値となる。沸騰維持工程Cにおいては、鍋2内が沸点(通常100℃近傍)で維持されるため、炊飯器本体の温度は一定温度となり、総放熱エネルギー量は所要時間に比例することになる。従って、沸騰維持工程Cの時間が長いほど総放熱エネルギー量は多くなる。よって、上記のように加熱ユニット3の加熱量を高くして沸騰維持工程Cを短時間で終了させることにより、沸騰維持工程C中に炊飯器外部へ放出される総放熱エネルギー量を減らすことができ、結果的に総消費電力量を減らすことができる。一方、米にとっては、より強い火力で一気に加熱されるため、鍋2内での対流速度が増し、炊きムラが少なくなり、しっかりした触感の食味の良好なごはんに炊き上がる。
第3の制御は、前記標準炊飯モードが入力された場合と比べて、沸騰維持工程Cの終了時の鍋2の温度、つまり第三の温度T3を高くするとともに、むらし工程Dにおいて、追炊き加熱の加熱量を低くする制御である。
図7は、第1及び第2の制御とともに第3の制御を行った炊飯工程を示す図である。
この第3の制御によれば、標準炊飯モードが入力された場合と比べ、沸騰維持工程Cの終了時の第三の温度T3を高くする(例えば140℃)ことで所要時間が延びるが、その余熱を利用して、むらし工程Dにおける追炊き加熱の加熱量を低く抑えることができるので、結果的に総消費電力量を低下させることが可能となる。なお、沸騰維持工程Cの終了時の第三の温度T3は、135℃〜145℃の範囲内にあることが、総消費電力量を効果的に抑えることができるため好ましい。
以上のように、本発明の第1の実施形態の炊飯器によれば、炊飯を行う前に予め炊飯モード入力ボタン62a〜62cにより省エネ炊飯モードを入力することで、炊飯時の総消費電力量を減らしつつ、ごはんの食味の劣化を可能な限り抑えて、しっかりした触感の食味の良好なごはんを炊き上げることができる。また、炊飯前に1時間以上、米を水に浸漬させなければならないような使用者の手間を必要とせず、炊飯時間も延ばさない。
なお、本発明の第1の実施形態の炊飯器においては、省エネ炊飯モードが入力された場合、第1〜第3の制御の少なくともいずれか一つの制御を行うとしたが、食味を優先する場合は、比較的食味への影響が少ない第1の制御のみを行うようにすることが好ましい。また、総消費電力量の削減を優先する場合は、第1〜第3の制御をすべて行うことが好ましい。
また、本発明の第1の実施形態の炊飯器においては、炊飯モード入力ボタンを各炊飯モード毎に設けたが、省エネ炊飯モードを初期設定とし、他の炊飯モード(上記の場合では、標準炊飯モード)に対してのみ、炊飯モード入力ボタンを設けるようにしてもよい。このようにすることで、使用者は、初期設定が省エネ炊飯モードであるため、炊飯モードを入力しなくとも、自動的に省エネ炊飯モードで炊くことができるので、手間がさらに省け、地球環境に配慮して従来の炊飯器より少ない総消費電力量で、可能な限り良食味のごはんを炊くことができる。
また、本発明の第1の実施形態の炊飯器においては、加熱ユニット3を底内コイル31、底外コイル32、側面コイル33、及び蓋コイル34で構成し、鍋2内の被調理物を、鍋底側、鍋側面側、鍋2の上部開口部を覆う蓋4側から加熱するように構成したが、本発明はこれには限定されない。加熱ユニット3は、少なくとも鍋底側を加熱する鍋底加熱装置を備えておればよい。すなわち、本発明の第1の実施形態の炊飯器においては、底内コイル31又は底外コイル32を備えておればよい。
また、本発明の第1の実施形態の炊飯器においては、加熱ユニット3を全て、コイルにより構成したが、コイルに限られず、ヒータや、ヒータとコイルとの組合せなどにより構成されても構わない。
《第2の実施形態》
本発明の第2の実施形態にかかる炊飯器を説明する。本発明の第2の実施形態における炊飯器は、省エネ炊飯モードが入力された場合において、前記第2及び第3の制御に代えて、以下に説明する第4及び第5の制御のうち少なくともいずれか1つの制御を行う点で第1の実施形態の炊飯器と異なる。それ以外の点においては、第1の実施形態と同様であるので重複する説明は省略する。
第4の制御は、沸騰維持工程Cにおいて、前記標準炊飯モードが入力された場合と比べて、加熱ユニット3の単位時間当りの加熱量を上げるとともに、沸騰維持工程Cの終了時の鍋2の温度を低くする制御である。
図8は、第1の制御とともに第4の制御を行った炊飯工程を示す図である。
この第4の制御によれば、前述した第2の制御と同様に標準炊飯モードの場合より単位時間あたりの加熱量を同等以上に設定して沸騰状態を維持するとともに、標準炊飯モードの場合より第三の温度T3を低く設定する。例えば、標準炊飯モードでは130℃に設定するのに対して、第4の制御による省エネ炊飯モードでは120℃に設定する。これにより、沸騰維持工程Cの加熱時間が短縮できるので、沸騰維持工程Cの実行時間が短くなり、本工程中に炊飯器外部へ放出される総放出エネルギー量を減らすことができ、結果的に総消費電力量が削減できる。一方、ごはんにとっては、沸騰維持工程Cの単位時間あたりの加熱量が高く設定されているため、沸騰維持工程Cの加熱時間を短縮した分の熱量を補うことができ、食味の劣化を抑えたごはんに炊き上がる。なお、第4の制御による省エネ炊飯モードにおける第三の温度T3は、115℃〜125℃の範囲内にあることが、総消費電力量を効果的に抑えることができるため好ましい。
第5の制御は、前記標準炊飯モードが入力された場合と比べて、むらし工程Cにおける追炊き加熱時の加熱時間及び前記追炊き加熱の間隔を短くする制御である。
図9は、第1及び第4の制御とともに、第5の制御を行った炊飯工程を示す図である。
標準炊飯モードが入力された場合、例えば、むらし工程Dの開始後、休止(1分30秒)、第1の追炊き加熱(3分)、休止(1分30秒)、第2の追炊き加熱(3分)を順に行う。これに対して、第5の制御による省エネ炊飯モードが入力された場合には、例えば、むらし工程Dの開始後、休止(1分)、第1の追炊き加熱(2分)、休止(1分)、第2の追炊き加熱(2分)を順に行うように設定されている。なお、この場合、第1及び第2の追炊き加熱時の通電率は、炊き上げ工程Bにおいて判定した炊飯量に応じたものとし、炊飯モードによらず一定とする。つまり、図9に示すように、間欠加熱である第1及び第2の追炊き加熱時の加熱出力OFF状態の時間を短くすることで、第1及び第2の追炊き加熱の加熱時間を短くしている。なお、第5の制御による省エネ炊飯モードにおける第1及び第2の追炊き加熱の時間、及びそれらの間隔は、標準炊飯モードよりも30%程度短くすることが、総消費電力量を効果的に抑えることができるため好ましい。
第5の制御によれば、上記のように、標準炊飯モードが入力された場合と比べ、むらし工程Dにおける追炊き加熱時の加熱時間及び追炊き加熱の間隔を短くしているので、むらし工程Dにおける追炊き加熱時の加熱時間が短縮され、総消費電力量が削減できる。また、2度の追炊き加熱の間隔をも短くすることにより、ごはんの温度低下を防ぎ、糊化を促進する効果を維持できるため、火の通りを確保し食味の低下も抑えることができる。
以上のように、本発明の第2の実施形態の炊飯器によれば、炊飯前に予め炊飯モード入力ボタン62a〜62cにより省エネ炊飯モードを入力することで、炊飯時の総消費電力量を減らしつつ、ごはんの食味の劣化を可能な限り抑えて、しっかりした触感の食味の良好なごはんを炊き上げることができる。また、使用者に手間をかけさせず、炊飯時間も延ばさない。
また、第3の制御を行うよりも第4及び第5の制御を同時に行った方が、沸騰維持工程Cとむらし工程Dのそれぞれにおいて加熱時間が短縮されるので、総消費電力量を削減することができる。したがって、第1の実施形態の炊飯器よりも総消費電力量を低減させることが可能である。
《第3の実施形態》
本発明の第3の実施形態にかかる炊飯器を説明する。本発明の第3の実施形態における炊飯器は、予備浸水入力部の一例である予備浸水入力ボタン62f、62gをさらに有し、予備浸水入力ボタン62f、62gにより、予備浸水「有」が入力された場合において、後述する第6の制御又は第7の制御を行う点で第1の実施形態の炊飯器と異なる。それ以外の点においては、第1の実施形態と同様であるので重複する説明は省略する。
予備浸水入力ボタン62f、62gは、図10に示すように、入力部62の一部に設けられている。ここで、予備浸水とは、鍋2に米と水を入れてから炊飯工程開始までの間に予め米に水を吸水させることをいう。予備浸水「有」と判断する吸水時間は、例えば図11に示すように、米は浸水開始初期の10分間の吸水速度が最も速いので、10〜15分とすることが好ましい。本発明の第3の実施の形態においては、米に水を10分以上吸水させた場合を予備浸水「有」、吸水が10分未満である場合を予備浸水「無」としている。
第6の制御は、通常炊飯モードが入力された場合の浸水工程Aにおける浸漬時間よりも、浸漬時間を短くする制御である。
本発明の第3の実施形態にかかる炊飯器においては、使用者が予備浸水「有」と判断し、予備浸水入力ボタン62fを押すと、炊飯制御部6が第6の制御を、加熱制御部71を制御して加熱ユニット3に行うようになっている。また、使用者が予備浸水「無」と判断し、予備浸水入力ボタン62gを押すと、炊飯制御部6が、通常炊飯モードが入力された場合と同様の制御を、加熱制御部71を制御して加熱ユニット3に行うようになっている。
予備浸水が有る場合、浸水工程Aの開始時にはすでに米が吸水しているため、浸水工程Aで水温が50℃〜60℃に上がることにより、米表面においては糊化がわずかに始まってしまい、浸漬時間が長くなると米表面が糊状になり粒の崩れた食味の悪いごはんになってしまう。しかしながら、本発明の第3の実施形態の炊飯器によれば、予備浸水が有る場合には、浸水工程Aにおける浸漬時間を短くすることができるようにしている、すなわち浸水工程Aの所要時間を短くして、炊き上げ工程Bが早く行われるようにしているので、浸水工程Aにおいて米表面の糊化が行われて、粒の崩れた食味が悪いごはんになることを防ぐことができる。また、浸水工程Aにおける加熱量が少なくなるので、総消費電力量を削減することができる。
第7の制御は、水を入れる鍋2の温度を検知する鍋底温度センサ5の検知温度Taがしきい温度より高い場合に、第6の制御による前記浸漬時間よりさらに浸漬時間を短くする制御である。
米は吸水する水の温度が高いほど短時間で吸水する。例えば図11に示すように、米は吸水率約28%でほぼ飽和吸水率に達するが、この28%の吸水率に達するのに水温5℃〜20℃では約2時間かかるのに対して、水温40℃〜60℃では約10分程度でほぼ飽和吸水状態に達する。
そこで、本発明の第3の実施形態にかかる炊飯器においては、水を入れる鍋2の温度を検知する鍋底温度センサ5の検知温度Taがしきい温度(例えば15℃)より高い場合には、炊飯制御部6が第7の制御を、加熱制御部71を制御して加熱ユニット3に行うようにしている。これにより、さらに、食味が悪いごはんになることを防ぐとともに、浸水工程Aにおける加熱量を少なくして総消費電力量を削減することができる。なお、上記しきい温度は、日本の平均水温である10℃〜20℃の範囲内に設定されることが好ましい。
なお、前記第6及び第7の制御が最も食味に与える影響が少ないので、食味を優先して総消費電力量を削減する場合には、第6又は第7の制御を最優先に行うのがよい。
《第4の実施形態》
本発明の第4の実施形態にかかる炊飯器を説明する。本発明の第4の実施形態における炊飯器は、炊飯モード入力ボタン62a〜62cに代えて、米質入力部の一例である米質入力ボタン62h〜62jを有する点で、第1の実施形態の炊飯器と異なる。それ以外の点においては、第1の実施形態と同様であるので重複する説明は省略する。
米質入力ボタン62h〜62jは、図12に示すように、入力部62の一部に設けられている。ここで、米質とは組織の硬さにより分類されるものであり、この組織の硬さは20℃及び糊化温度帯の70℃で10分浸水させたときの吸水率により決めている。組織の「柔らかい米」とは、20℃で10分浸水時の吸水率が10%以上で、かつ70℃で10分浸水時の吸水率が20%以上の米をいい、例えばコシヒカリが挙げられる。組織の硬さが「普通米」であるとは、20℃で10分浸水時の吸水率が10%以上で、かつ70℃で10分浸水時の吸水率が20%未満の米をいい、例えば日本晴が挙げられる。組織の「硬い米」とは、20℃で10分浸水時の吸水率が10%未満の米をいい、例えばきらら397が挙げられる。米は常温での吸水率が高いほど粒の中まで水が浸透し、柔らかいごはんに炊き上がるが、糊化温度帯での吸水率が高いほど、糊化開始温度が低いため、べちゃつきやすいという特徴を持っている。
そこで、本発明の第4の実施形態にかかる炊飯器においては、使用者が組織の「柔らかい米」と判断し、米質入力ボタン62hを押すと、炊飯制御部6は省エネ炊飯モードを自動的に選択し、第1の実施形態と同様に加熱制御部71を制御するようになっている。また、使用者が組織の硬さが「普通米」であると判断し、米質入力ボタン62iを押すと、炊飯制御部6は標準炊飯モードを自動的に選択し、第1の実施形態と同様に加熱制御部71を制御するようになっている。また、使用者が組織の「硬い米」と判断し、米質入力ボタン62jを押すと、炊飯制御部6は標準炊飯モードを自動的に選択し、第1の実施形態と同様に加熱制御部71を制御するようになっている。
本発明の第4の実施形態の炊飯器によれば、炊飯前に予め米質入力ボタン62h〜62jにより米質(組織の硬さ)が「柔らかい米」が入力されることで、炊飯制御部6が自動的に省エネ炊飯モードを選択するようになっているので、炊飯時の総消費電力量を減らしつつ、ごはんの食味の劣化を可能な限り抑えて、しっかりした触感の食味の良好なごはんを炊き上げることができる。また、第1の実施の形態の炊飯器と比べて、米質の違いによってきめ細かに炊き分けることができるので、さらに食味の劣化を抑えたごはんを炊くことができる。
《第5の実施形態》
本発明の第5の実施形態にかかる炊飯器を説明する。本発明の第5の実施形態における炊飯器は、炊飯モード入力ボタン62a〜62cに代えて、新米度入力部の一例である新米度入力ボタン62k〜62mを有する点で、第1の実施形態の炊飯器と異なる。それ以外の点においては、第1の実施形態と同様であるので重複する説明は省略する。
新米度入力ボタン62k〜62mは、図13に示すように、入力部62の一部に設けられている。ここで新米度とは、米の収穫時期からの経過期間をいい、本発明の第5の実施の形態においては、前記経過期間が3ヶ月未満の米を「新米」、3ヶ月以上1年未満の米を「普通米」、1年以上の米を「古米」としている。米は収穫時期からの経過期間が長くなればなるほど、米の周りに吸水を阻害するとともに火の通りを悪くする脂肪酸が多く発生する。逆にいえば、米は収穫時期からの経過期間が短いほど、米の周りに吸水を阻害するとともに火の通りを悪くする脂肪酸の発生は少ない。
そこで、本発明の第5の実施形態にかかる炊飯器においては、使用者が「新米」と判断し、新米度入力ボタン62kを押すと、炊飯制御部6は省エネ炊飯モードを自動的に選択し、第1の実施形態と同様に加熱制御部71を制御するようになっている。また、使用者が「普通米」と判断し、新米度入力ボタン62lを押すと、炊飯制御部6は標準炊飯モードを自動的に選択し、第1の実施形態と同様に加熱制御部71を制御するようになっている。また、使用者が「古米」と判断し、新米度入力ボタン62mを押すと、炊飯制御部は標準炊飯モードを自動的に選択し、第1の実施形態と同様に加熱制御部71を制御するようになっている。
本発明の第5の実施形態の炊飯器によれば、炊飯前に予め新米度入力ボタン62k〜62mにより「新米」が入力されることで、炊飯制御部6が自動的に省エネ炊飯モードを選択するようになっているので、炊飯時の総消費電力量を減らしつつ、ごはんの食味の劣化を可能な限り抑えて、しっかりした触感の食味の良好なごはんを炊き上げることができる。また、第1の実施の形態の炊飯器と比べて、新米度の違いによってきめ細かに炊き分けることができるので、さらに食味の劣化を抑えたごはんを炊くことができる。
《第6の実施形態》
本発明の第6の実施形態にかかる炊飯器を説明する。図14は本発明の第6の実施形態にかかる炊飯器の断面図を示しており、図15は、その制御関連の構成を示すブロック図である。本発明の第6の実施形態における炊飯器は、蒸気筒48に代えて、蓋開閉検知装置81を有している点で、第1の実施形態の炊飯器と異なる。それ以外の点においては、第1の実施形態と同様であるので重複する説明は省略する。
蓋開閉検知装置81は、蒸気筒82、マグネット83、及びリードスイッチ84で構成されている。蒸気筒82は、図14に示すように、ほぼ円筒形状を有し、蒸気穴部47に炊飯器外部から嵌め込まれている。蒸気筒82には、ヒンジ軸4aから遠ざかるにつれて下方に傾斜する傾斜部82aが形成されており、この傾斜部82a上に、球形のマグネット83が転がって動けるように配置されている。マグネット83は、蓋4が閉められた時にはヒンジ軸4aから遠い位置(図14中、実線で示す位置)に位置し、蓋4が開けられた時には傾斜部48bを転がり、ヒンジ軸4aに近い位置(図14中、点線で示す位置)に移動する。蓋4の内部の、上記遠い位置近傍には、リードスイッチ84が設置されている。リードスイッチ84は、蓋4の開閉によってマグネット83が傾斜部82aに沿って転がって、上記遠い位置から離れたり、近付いたりすることにより、ON、OFFする。このリードスイッチ84のON、OFFにより、蓋4の開閉状態を検知することが可能となっている。
炊飯制御部6は、蓋開閉検知装置81が蓋4の開状態から閉状態となったことを検知したときから、炊飯工程開始を指示する炊飯ボタン62dが押されるまでの時間により、予備浸水の有無を判断する。具体的には、炊飯制御部6は、前記時間が予め設定された時間(例えば10分)以上であれば予備浸水「有」を自動的に選択し、予め設定された時間未満であれば予備浸水「無」を自動的に選択する。そして、炊飯制御部6は、予備浸水「有」を自動的に選択した場合、前記第6の制御を、加熱制御部71を制御して加熱ユニット3に行う一方、予備浸水「無」を自動的に選択した場合、通常炊飯モードが選択された場合と同様の制御を、加熱制御部71を制御して加熱ユニット3に行うように構成されている。
次に、上記のように構成される第6の実施形態にかかる炊飯器の、予備浸水の有無の判断のフローを説明する。図16は、本発明の第6の実施形態における炊飯器の、予備浸水の有無の判断を説明するためのフロー図である。
まず、炊飯制御部6は、蓋開閉検知装置81が、蓋4が開状態から閉状態となったことを検知するまで待機する(ステップS1)。蓋開閉検知装置81が蓋4の開状態から閉状態となったことを検知したとき、炊飯制御部6は、計時部64の計時時間を初期化する(ステップS2)。その後、炊飯制御部6は、炊飯ボタン62dが押圧されるまで待機する(ステップS3)。次いで、炊飯ボタン62dが押圧された場合、炊飯制御部6は、計時部64の計時時間、つまり蓋開閉検知装置81が、蓋が開状態から閉状態になったのを検知してから、炊飯工程開始を指示する炊飯ボタン62dが押圧されるまでの時間を読み出す(ステップS4)。
次いで、炊飯制御部6は、計時部64の前記計時時間が、予め設定された時間(例えば10分)以上であった場合、予備浸水「有」を自動的に選択する(ステップS6)。一方、計時部64の計時時間が、予め設定された時間(例えば10分)未満であった場合、炊飯制御部6は、予備浸水「無」を自動的に選択する(ステップS7)。
以上のようにして、本発明の第6の実施形態における炊飯器においては、予備浸水の有無を、使用者ではなく、炊飯制御部6が自動的に選択する。
使用者が米を炊飯するときには、炊飯工程開始を指示する炊飯ボタン62dを押す前に必ず、米と水を入れた鍋2を本体1内にセットするために蓋4を開閉する動作が必要である。一方、本体1内にセットされた鍋2内の米と水は、セット後、すぐに炊飯されるとは限らない。例えば、使用者が外出から帰宅したときに、すぐに炊きたてのごはんが食べたいと思った時には、外出する前に予め、帰宅時間に合わせて炊飯予約がされることも考えられる。このような場合には、浸漬時間が予め設定された時間以上となる可能性が高いと考えられる。
そこで、本発明の第6の実施形態の炊飯器によれば、予備浸水の有無を、蓋開閉検知装置81により蓋4の開閉を検知してから炊飯工程開始を指示する炊飯ボタン62dが押されるまでの時間により、判断している。これにより、使用者自らが、炊飯する米の予備浸水の有無を判断する必要性も無くすことが可能になる。また、予備浸水が有る場合には、前記第6の制御を行うので、浸水工程Aにおける浸漬時間を短くして、浸水工程Aにおいて米表面の糊化が行われて粒の崩れた、食味が悪いごはんになることを防ぐことができる。さらに、浸水工程Aにおける加熱量が少なくなるので、総消費電力量を削減することができる。
なお、本発明の第6の実施形態の炊飯器は、蓋開閉検知装置81により蓋4の開閉を検知してから炊飯工程開始を指示する炊飯ボタン62dが押されるまでの間の、鍋底温度センサ5の検知温度Taが、しきい温度(例えば15℃)より高い場合には、前記第3の実施形態と同様にして、上記第7の制御を行うように構成されてもよい。そのように構成されることにより、さらに、食味が悪いごはんになることを防ぐとともに、浸水工程Aにおける加熱量を少なくして総消費電力量を削減することができる。
以上、本発明の実施形態について説明してきたが、本発明は上記実施形態に限定されるものではなく、様々な変形が可能である。
例えば、本発明の第4の実施形態の炊飯器においては、米質(組織の硬さ)の違いを、米質入力ボタン62h〜62jによって、入力できるようにしたが、米の銘柄を組織の硬さによって銘柄1群〜3群に分類し、それぞれに対応する銘柄入力ボタンを備えることで代えることもできる。つまり、米質入力ボタン62hに代えて銘柄1群入力ボタン、米質入力ボタン62iに代えて銘柄2群入力ボタン、及び米質入力ボタン62jに代えて銘柄3群入力ボタンの3つの銘柄入力ボタン(図示せず)を備えるように構成してもよい。
また、本発明の第4の実施形態の炊飯器においては、米質(組織の硬さ)を、吸水率の違いにより分類したが、タンパク質含有量の違いにより分類しても構わない。
また、本発明の第5の実施形態の炊飯器においては、使用者が、炊飯する米を「新米」、「普通米」、「古米」と判断し、入力するように構成していたが、別にカレンダー機能を備えて、カレンダーの日付により「新米」、「普通米」、「古米」を自動的に判断して入力するように構成してもよい。
なお、上記各実施形態のうちの任意の実施形態を適宜組み合わせることにより、それぞれの有する効果を奏するようにすることができる。
また、上記各実施形態は、マイコンにより制御されるその他の方式の炊飯器においても実施可能であることは言うまでもない。
また、各実施形態において、具体的な数値を挙げて説明した検知温度、時間、単位時間当りの通電率等は、あくまで実施の一例であり、状況に応じて数値を適宜変更することができるものである。
本発明にかかる炊飯器は、炊飯を行う前に予め省エネモードがされることにより、使用者に手間をかけずに、地球環境に配慮して現状より少ない総消費電力量で、可能な限り良食味に炊飯することのできる炊飯器を提供することができるので、ジャー炊飯器としても有用である。
本発明の第1の実施形態における炊飯器の断面図 本発明の第1の実施形態における炊飯器の制御関連の構成を示すブロック図 本発明の第1の実施形態における炊飯器の操作パネルの上面図 本発明の第1実施形態における炊飯器の標準炊飯モードの炊飯工程を示す図 一般的な炊飯工程における鍋底センサの検知温度を示す図 一般的な炊飯工程における米の温度を示す図 本発明の第1の実施形態における炊飯器の炊飯工程を示す図 本発明の第1の実施形態における炊飯器の他の炊飯工程を示す図 本発明の第1の実施形態における炊飯器の別の炊飯工程を示す図 本発明の第2の実施形態における炊飯器の炊飯工程を示す図 本発明の第2の実施形態における炊飯器の他の炊飯工程を示す図 本発明の第3の実施形態における炊飯器の操作パネルの上面図 米の浸漬時間と吸水率との関係を示すグラフ 本発明の第4の実施形態における炊飯器の操作パネルの上面図 本発明の第5の実施形態における炊飯器の上面図 本発明の第6の実施形態における炊飯器の断面図 本発明の第6の実施形態における炊飯器の制御関連の構成を示すブロック図 本発明の第6の実施形態における炊飯器の、予備浸水の有無の判断を説明するためのフロー図
符号の説明
1 本体
2 鍋
3 加熱ユニット
4 蓋部
5 鍋底温度センサ
6 炊飯制御部
11 上枠
12 コイルベース
13 ヒンジ部材
31 底内コイル
32 底外コイル
33 側面コイル
34 蓋コイル
41 外蓋部
42 内蓋部
43 発熱板
44 鍋パッキン
45 蓋温度センサ
46 蒸気通路孔
47 蒸気穴部
48 蒸気筒
49 リードスイッチ
51 センサバネ
61 操作基板
62 入力部
62a〜62c 炊飯モード入力ボタン
62f〜62g 予備浸水入力ボタン
62h〜62j 米質入力ボタン
62k〜62m 新米度入力ボタン
63 表示板
64 計時部

Claims (8)

  1. 炊飯器本体の内部に収納され米と水を入れる鍋と、
    前記鍋の上部開口部を覆う開閉自在な蓋と、
    前記鍋の底部を加熱する鍋底加熱装置と、
    前記鍋の温度を検知する鍋温度検知部と、
    前記鍋底加熱装置の鍋加熱動作を制御する加熱制御部と、
    標準炊飯モードと、前記標準炊飯モードよりも前記米の炊飯時の総消費電力量を少なくする省エネ炊飯モードとを含む少なくとも2つの炊飯モードの中から選択された、いずれか1つの炊飯モードが入力される炊飯モード入力部と、
    前記炊飯モード入力部で入力された炊飯モード及び前記鍋温度検知部の検知温度に基づいて、前記加熱制御部を制御して、浸水工程、炊き上げ工程、沸騰維持工程、むらし工程を含む炊飯工程を行う炊飯制御部と、
    を備え、
    前記炊飯制御部は、前記炊飯モード入力部で前記省エネ炊飯モードが入力された場合、
    前記沸騰維持工程において、前記標準炊飯モードが入力された場合と比べて、前記鍋底加熱装置の単位時間当りの加熱量を上げる第2の制御を前記加熱制御部に行うことを特徴とする炊飯器。
  2. 炊飯器本体の内部に収納され米と水を入れる鍋と、
    前記鍋の上部開口部を覆う開閉自在な蓋と、
    前記鍋の底部を加熱する鍋底加熱装置と、
    前記鍋の温度を検知する鍋温度検知部と、
    前記鍋底加熱装置の鍋加熱動作を制御する加熱制御部と、
    標準炊飯モードと、前記標準炊飯モードよりも前記米の炊飯時の総消費電力量を少なくする省エネ炊飯モードとを含む少なくとも2つの炊飯モードの中から選択された、いずれか1つの炊飯モードが入力される炊飯モード入力部と、
    前記炊飯モード入力部で入力された炊飯モード及び前記鍋温度検知部の検知温度に基づいて、前記加熱制御部を制御して、浸水工程、炊き上げ工程、沸騰維持工程、むらし工程を含む炊飯工程を行う炊飯制御部と、
    を備え、
    前記炊飯制御部は、前記炊飯モード入力部で前記省エネ炊飯モードが入力された場合、
    前記標準炊飯モードが入力された場合と比べて、前記沸騰維持工程終了時の前記鍋の温度を高くするとともに、複数回の追炊き加熱を行う前記むらし工程において、前記追炊き加熱の加熱量を低くする第3の制御を前記加熱制御部に行うことを特徴とする炊飯器。
  3. 炊飯器本体の内部に収納され米と水を入れる鍋と、
    前記鍋の上部開口部を覆う開閉自在な蓋と、
    前記鍋の底部を加熱する鍋底加熱装置と、
    前記鍋の温度を検知する鍋温度検知部と、
    前記鍋底加熱装置の鍋加熱動作を制御する加熱制御部と、
    標準炊飯モードと、前記標準炊飯モードよりも前記米の炊飯時の総消費電力量を少なくする省エネ炊飯モードを含む少なくとも2つの炊飯モードの中から選択された、いずれか1つの炊飯モードが入力される炊飯モード入力部と、
    前記炊飯モード入力部で入力された炊飯モード及び前記鍋温度検知部の検知温度に基づいて、前記加熱制御部を制御して、浸水工程、炊き上げ工程、沸騰維持工程、むらし工程を含む炊飯工程を行う炊飯制御部と、
    を備え、
    前記炊飯制御部は、前記炊飯モード入力部で前記省エネ炊飯モードが入力された場合、
    前記沸騰維持工程において、前記標準炊飯モードが入力された場合と比べて、前記鍋底加熱装置の単位時間当りの加熱量を上げるとともに、前記沸騰維持工程終了時の前記鍋の温度を低くする第4の制御を前記加熱制御部に行うことを特徴とする炊飯器。
  4. 炊飯器本体の内部に収納され米と水を入れる鍋と、
    前記鍋の上部開口部を覆う開閉自在な蓋と、
    前記鍋の底部を加熱する鍋底加熱装置と、
    前記鍋の温度を検知する鍋温度検知部と、
    前記鍋底加熱装置の鍋加熱動作を制御する加熱制御部と、
    標準炊飯モードと、前記標準炊飯モードよりも前記米の炊飯時の総消費電力量を少なくする省エネ炊飯モードを含む少なくとも2つの炊飯モードの中から選択された、いずれか1つの炊飯モードが入力される炊飯モード入力部と、
    前記炊飯モード入力部で入力された炊飯モード及び前記鍋温度検知部の検知温度に基づいて、前記加熱制御部を制御して、浸水工程、炊き上げ工程、沸騰維持工程、むらし工程を含む炊飯工程を行う炊飯制御部と、
    を備え、
    前記炊飯制御部は、前記炊飯モード入力部で前記省エネ炊飯モードが入力された場合、
    前記標準炊飯モードが入力された場合と比べて、複数回の追炊き加熱を行う前記むらし工程において、前記追炊き加熱時の加熱時間及び前記追炊き加熱の間隔を短くする第5の制御を前記加熱制御部に行うことを特徴とする炊飯器。
  5. 炊飯器本体の内部に収納され米と水を入れる鍋と、
    前記鍋の上部開口部を覆う開閉自在な蓋と、
    前記鍋の底部を加熱する鍋底加熱装置と、
    前記鍋の温度を検知する鍋温度検知部と、
    前記鍋底加熱装置の鍋加熱動作を制御する加熱制御部と、
    標準炊飯モードと、前記標準炊飯モードよりも前記米の炊飯時の総消費電力量を少なくする省エネ炊飯モードとを含む少なくとも2つの炊飯モードの中から選択された、いずれか1つの炊飯モードが入力される炊飯モード入力部と、
    前記炊飯モード入力部で入力された炊飯モード及び前記鍋温度検知部の検知温度に基づいて、前記加熱制御部を制御して、浸水工程、炊き上げ工程、沸騰維持工程、むらし工程を含む炊飯工程を行う炊飯制御部と、
    米の米質により分類した「柔らかい米」及び「硬い米」を含む少なくとも2つの群の中から選択された、炊飯する米の米質に対応するいずれか1つの群が入力される米質入力部と、
    を備え、
    前記炊飯制御部は、前記炊飯モード入力部で前記省エネ炊飯モードが入力された場合、
    前記浸水工程において、前記鍋温度検知部の検知温度が予め設定された時間の間、予め設定された温度になるように前記鍋底加熱装置を制御し、前記予め設定された時間の経過後は前記鍋底加熱装置の鍋加熱動作を停止させる第1の制御を前記加熱制御部に行うとともに、前記米質入力部で「柔らかい米」が入力された場合、自動的に前記省エネ炊飯モードを選択して、前記制御を前記加熱制御部に行うことを特徴とする炊飯器。
  6. さらに、米の米質により分類した「柔らかい米」及び「硬い米」を含む少なくとも2つの群の中から選択された、炊飯する米の米質に対応するいずれか1つの群が入力される米質入力部を備え、
    前記炊飯制御部は、前記米質入力部で「柔らかい米」が入力された場合、自動的に前記省エネ炊飯モードを選択して、前記制御を前記加熱制御部に行うことを特徴とする請求項1〜請求項のいずれか1つに記載の炊飯器。
  7. 炊飯器本体の内部に収納され米と水を入れる鍋と、
    前記鍋の上部開口部を覆う開閉自在な蓋と、
    前記鍋の底部を加熱する鍋底加熱装置と、
    前記鍋の温度を検知する鍋温度検知部と、
    前記鍋底加熱装置の鍋加熱動作を制御する加熱制御部と、
    標準炊飯モードと、前記標準炊飯モードよりも前記米の炊飯時の総消費電力量を少なくする省エネ炊飯モードとを含む少なくとも2つの炊飯モードの中から選択された、いずれか1つの炊飯モードが入力される炊飯モード入力部と、
    前記炊飯モード入力部で入力された炊飯モード及び前記鍋温度検知部の検知温度に基づいて、前記加熱制御部を制御して、浸水工程、炊き上げ工程、沸騰維持工程、むらし工程を含む炊飯工程を行う炊飯制御部と、
    米の収穫からの経過期間により分類した、「新米」及び「古米」を含む少なくとも2つの群の中から選択された、炊飯する米の収穫からの経過期間に対応するいずれか1つの群が入力される新米度入力部と、
    を備え、
    前記炊飯制御部は、前記炊飯モード入力部で前記省エネ炊飯モードが入力された場合、
    前記浸水工程において、前記鍋温度検知部の検知温度が予め設定された時間の間、予め設定された温度になるように前記鍋底加熱装置を制御し、前記予め設定された時間の経過後は前記鍋底加熱装置の鍋加熱動作を停止させる第1の制御を前記加熱制御部に行うとともに、前記新米度入力部で「新米」が入力された場合、自動的に前記省エネ炊飯モードを選択して、前記制御を前記加熱制御部に行うことを特徴とする炊飯器。
  8. さらに、米の収穫からの経過期間により分類した、「新米」及び「古米」を含む少なくとも2つの群の中から選択された、炊飯する米の収穫からの経過期間に対応するいずれか1つの群が入力される新米度入力部を備え、
    前記炊飯制御部は、前記新米度入力部で「新米」が入力された場合、自動的に前記省エネ炊飯モードを選択して、前記制御を前記加熱制御部に行うことを特徴とする請求項1〜請求項のいずれか1つに記載の炊飯器。
JP2006030059A 2005-10-05 2006-02-07 炊飯器 Expired - Lifetime JP4294651B2 (ja)

Priority Applications (2)

Application Number Priority Date Filing Date Title
JP2006030059A JP4294651B2 (ja) 2005-10-05 2006-02-07 炊飯器
CN2006101421111A CN1943483B (zh) 2005-10-05 2006-09-30 电饭锅

Applications Claiming Priority (2)

Application Number Priority Date Filing Date Title
JP2005292231 2005-10-05
JP2006030059A JP4294651B2 (ja) 2005-10-05 2006-02-07 炊飯器

Related Child Applications (1)

Application Number Title Priority Date Filing Date
JP2009029651A Division JP2009101211A (ja) 2005-10-05 2009-02-12 炊飯器

Publications (2)

Publication Number Publication Date
JP2007125357A JP2007125357A (ja) 2007-05-24
JP4294651B2 true JP4294651B2 (ja) 2009-07-15

Family

ID=38148510

Family Applications (1)

Application Number Title Priority Date Filing Date
JP2006030059A Expired - Lifetime JP4294651B2 (ja) 2005-10-05 2006-02-07 炊飯器

Country Status (1)

Country Link
JP (1) JP4294651B2 (ja)

Families Citing this family (9)

* Cited by examiner, † Cited by third party
Publication number Priority date Publication date Assignee Title
JP5215766B2 (ja) * 2007-10-29 2013-06-19 パナソニック株式会社 炊飯器
JP5043723B2 (ja) * 2008-03-07 2012-10-10 パナソニック株式会社 炊飯器
JP5515348B2 (ja) * 2009-03-19 2014-06-11 パナソニック株式会社 炊飯器
CN101893857B (zh) * 2010-06-18 2012-05-02 广东伊立浦电器股份有限公司 食物烹饪的控制方法
JP5426595B2 (ja) * 2011-03-23 2014-02-26 象印マホービン株式会社 炊飯器
WO2013021325A1 (en) * 2011-08-05 2013-02-14 Koninklijke Philips Electronics N.V. Methods and devices for cooking food
JP6472841B2 (ja) * 2017-07-07 2019-02-20 東芝ホームテクノ株式会社 炊飯器
JP7264085B2 (ja) * 2020-02-20 2023-04-25 三菱電機株式会社 炊飯器
CN116763155A (zh) * 2023-08-07 2023-09-19 格力电器(中山)小家电制造有限公司 烹饪器具及其控制方法、计算机可读存储介质

Also Published As

Publication number Publication date
JP2007125357A (ja) 2007-05-24

Similar Documents

Publication Publication Date Title
JP2009101211A (ja) 炊飯器
JP4294652B2 (ja) ジャー炊飯器
JP4294651B2 (ja) 炊飯器
JP4913171B2 (ja) ジャー炊飯器
JP2011224167A (ja) 電気炊飯器
JP5396800B2 (ja) ジャー炊飯器
JP2008067899A (ja) 炊飯器
JP2010051435A (ja) 炊飯器
JP5273985B2 (ja) 炊飯器
JP5043723B2 (ja) 炊飯器
JP2004089254A (ja) 炊飯器
JP5298788B2 (ja) 炊飯器
JP2004344570A (ja) 炊飯器
JPH114758A (ja) 炊飯器
JP2013106817A (ja) 炊飯器
JP5515348B2 (ja) 炊飯器
JP2008295623A (ja) 炊飯器
JP3956791B2 (ja) 炊飯器
JP4375211B2 (ja) 炊飯器
JP2007000327A (ja) 炊飯器
JP2006149713A (ja) 炊飯器
JP2006136516A (ja) ジャー炊飯器
JP2007301142A (ja) 炊飯器
JP2005296247A (ja) 電気炊飯器
JP2010022449A (ja) 炊飯器

Legal Events

Date Code Title Description
A621 Written request for application examination

Free format text: JAPANESE INTERMEDIATE CODE: A621

Effective date: 20071010

A977 Report on retrieval

Free format text: JAPANESE INTERMEDIATE CODE: A971007

Effective date: 20081211

A131 Notification of reasons for refusal

Free format text: JAPANESE INTERMEDIATE CODE: A131

Effective date: 20081216

A521 Written amendment

Free format text: JAPANESE INTERMEDIATE CODE: A523

Effective date: 20090212

TRDD Decision of grant or rejection written
A01 Written decision to grant a patent or to grant a registration (utility model)

Free format text: JAPANESE INTERMEDIATE CODE: A01

Effective date: 20090310

A01 Written decision to grant a patent or to grant a registration (utility model)

Free format text: JAPANESE INTERMEDIATE CODE: A01

A61 First payment of annual fees (during grant procedure)

Free format text: JAPANESE INTERMEDIATE CODE: A61

Effective date: 20090408

FPAY Renewal fee payment (event date is renewal date of database)

Free format text: PAYMENT UNTIL: 20120417

Year of fee payment: 3

R150 Certificate of patent or registration of utility model

Ref document number: 4294651

Country of ref document: JP

Free format text: JAPANESE INTERMEDIATE CODE: R150

Free format text: JAPANESE INTERMEDIATE CODE: R150

FPAY Renewal fee payment (event date is renewal date of database)

Free format text: PAYMENT UNTIL: 20130417

Year of fee payment: 4

FPAY Renewal fee payment (event date is renewal date of database)

Free format text: PAYMENT UNTIL: 20130417

Year of fee payment: 4

FPAY Renewal fee payment (event date is renewal date of database)

Free format text: PAYMENT UNTIL: 20140417

Year of fee payment: 5