JP4292012B2 - 紙幣入出金装置 - Google Patents
紙幣入出金装置 Download PDFInfo
- Publication number
- JP4292012B2 JP4292012B2 JP2003031842A JP2003031842A JP4292012B2 JP 4292012 B2 JP4292012 B2 JP 4292012B2 JP 2003031842 A JP2003031842 A JP 2003031842A JP 2003031842 A JP2003031842 A JP 2003031842A JP 4292012 B2 JP4292012 B2 JP 4292012B2
- Authority
- JP
- Japan
- Prior art keywords
- banknote
- banknotes
- loading
- storage
- box
- Prior art date
- Legal status (The legal status is an assumption and is not a legal conclusion. Google has not performed a legal analysis and makes no representation as to the accuracy of the status listed.)
- Expired - Fee Related
Links
Images
Classifications
-
- G—PHYSICS
- G07—CHECKING-DEVICES
- G07D—HANDLING OF COINS OR VALUABLE PAPERS, e.g. TESTING, SORTING BY DENOMINATIONS, COUNTING, DISPENSING, CHANGING OR DEPOSITING
- G07D9/00—Counting coins; Handling of coins not provided for in the other groups of this subclass
-
- B—PERFORMING OPERATIONS; TRANSPORTING
- B65—CONVEYING; PACKING; STORING; HANDLING THIN OR FILAMENTARY MATERIAL
- B65H—HANDLING THIN OR FILAMENTARY MATERIAL, e.g. SHEETS, WEBS, CABLES
- B65H33/00—Forming counted batches in delivery pile or stream of articles
- B65H33/06—Forming counted batches in delivery pile or stream of articles by displacing articles to define batches
- B65H33/10—Displacing the end articles of a batch
-
- B—PERFORMING OPERATIONS; TRANSPORTING
- B65—CONVEYING; PACKING; STORING; HANDLING THIN OR FILAMENTARY MATERIAL
- B65H—HANDLING THIN OR FILAMENTARY MATERIAL, e.g. SHEETS, WEBS, CABLES
- B65H1/00—Supports or magazines for piles from which articles are to be separated
- B65H1/02—Supports or magazines for piles from which articles are to be separated adapted to support articles on edge
- B65H1/025—Supports or magazines for piles from which articles are to be separated adapted to support articles on edge with controlled positively-acting mechanical devices for advancing the pile to present the articles to the separating device
-
- B—PERFORMING OPERATIONS; TRANSPORTING
- B65—CONVEYING; PACKING; STORING; HANDLING THIN OR FILAMENTARY MATERIAL
- B65H—HANDLING THIN OR FILAMENTARY MATERIAL, e.g. SHEETS, WEBS, CABLES
- B65H1/00—Supports or magazines for piles from which articles are to be separated
- B65H1/02—Supports or magazines for piles from which articles are to be separated adapted to support articles on edge
- B65H1/027—Support fully or partially removable from the handling machine, e.g. cassette, drawer
-
- B—PERFORMING OPERATIONS; TRANSPORTING
- B65—CONVEYING; PACKING; STORING; HANDLING THIN OR FILAMENTARY MATERIAL
- B65H—HANDLING THIN OR FILAMENTARY MATERIAL, e.g. SHEETS, WEBS, CABLES
- B65H3/00—Separating articles from piles
- B65H3/02—Separating articles from piles using friction forces between articles and separator
- B65H3/06—Rollers or like rotary separators
- B65H3/0653—Rollers or like rotary separators for separating substantially vertically stacked articles
-
- B—PERFORMING OPERATIONS; TRANSPORTING
- B65—CONVEYING; PACKING; STORING; HANDLING THIN OR FILAMENTARY MATERIAL
- B65H—HANDLING THIN OR FILAMENTARY MATERIAL, e.g. SHEETS, WEBS, CABLES
- B65H83/00—Combinations of piling and depiling operations, e.g. performed simultaneously, of interest apart from the single operation of piling or depiling as such
- B65H83/02—Combinations of piling and depiling operations, e.g. performed simultaneously, of interest apart from the single operation of piling or depiling as such performed on the same pile or stack
- B65H83/025—Combinations of piling and depiling operations, e.g. performed simultaneously, of interest apart from the single operation of piling or depiling as such performed on the same pile or stack onto and from the same side of the pile or stack
-
- G—PHYSICS
- G06—COMPUTING OR CALCULATING; COUNTING
- G06Q—INFORMATION AND COMMUNICATION TECHNOLOGY [ICT] SPECIALLY ADAPTED FOR ADMINISTRATIVE, COMMERCIAL, FINANCIAL, MANAGERIAL OR SUPERVISORY PURPOSES; SYSTEMS OR METHODS SPECIALLY ADAPTED FOR ADMINISTRATIVE, COMMERCIAL, FINANCIAL, MANAGERIAL OR SUPERVISORY PURPOSES, NOT OTHERWISE PROVIDED FOR
- G06Q20/00—Payment architectures, schemes or protocols
- G06Q20/08—Payment architectures
- G06Q20/10—Payment architectures specially adapted for electronic funds transfer [EFT] systems; specially adapted for home banking systems
- G06Q20/108—Remote banking, e.g. home banking
- G06Q20/1085—Remote banking, e.g. home banking involving automatic teller machines [ATMs]
-
- G—PHYSICS
- G07—CHECKING-DEVICES
- G07D—HANDLING OF COINS OR VALUABLE PAPERS, e.g. TESTING, SORTING BY DENOMINATIONS, COUNTING, DISPENSING, CHANGING OR DEPOSITING
- G07D11/00—Devices accepting coins; Devices accepting, dispensing, sorting or counting valuable papers
- G07D11/10—Mechanical details
- G07D11/12—Containers for valuable papers
- G07D11/13—Containers for valuable papers with internal means for handling valuable papers
-
- G—PHYSICS
- G07—CHECKING-DEVICES
- G07D—HANDLING OF COINS OR VALUABLE PAPERS, e.g. TESTING, SORTING BY DENOMINATIONS, COUNTING, DISPENSING, CHANGING OR DEPOSITING
- G07D11/00—Devices accepting coins; Devices accepting, dispensing, sorting or counting valuable papers
- G07D11/20—Controlling or monitoring the operation of devices; Data handling
- G07D11/24—Managing the inventory of valuable papers
- G07D11/245—Replenishment
-
- G—PHYSICS
- G07—CHECKING-DEVICES
- G07D—HANDLING OF COINS OR VALUABLE PAPERS, e.g. TESTING, SORTING BY DENOMINATIONS, COUNTING, DISPENSING, CHANGING OR DEPOSITING
- G07D11/00—Devices accepting coins; Devices accepting, dispensing, sorting or counting valuable papers
- G07D11/20—Controlling or monitoring the operation of devices; Data handling
- G07D11/24—Managing the inventory of valuable papers
- G07D11/25—Relocation of valuable papers within devices
-
- G—PHYSICS
- G07—CHECKING-DEVICES
- G07D—HANDLING OF COINS OR VALUABLE PAPERS, e.g. TESTING, SORTING BY DENOMINATIONS, COUNTING, DISPENSING, CHANGING OR DEPOSITING
- G07D11/00—Devices accepting coins; Devices accepting, dispensing, sorting or counting valuable papers
- G07D11/40—Device architecture, e.g. modular construction
-
- G—PHYSICS
- G07—CHECKING-DEVICES
- G07F—COIN-FREED OR LIKE APPARATUS
- G07F19/00—Complete banking systems; Coded card-freed arrangements adapted for dispensing or receiving monies or the like and posting such transactions to existing accounts, e.g. automatic teller machines
- G07F19/20—Automatic teller machines [ATMs]
-
- G—PHYSICS
- G07—CHECKING-DEVICES
- G07F—COIN-FREED OR LIKE APPARATUS
- G07F19/00—Complete banking systems; Coded card-freed arrangements adapted for dispensing or receiving monies or the like and posting such transactions to existing accounts, e.g. automatic teller machines
- G07F19/20—Automatic teller machines [ATMs]
- G07F19/205—Housing aspects of ATMs
-
- B—PERFORMING OPERATIONS; TRANSPORTING
- B65—CONVEYING; PACKING; STORING; HANDLING THIN OR FILAMENTARY MATERIAL
- B65H—HANDLING THIN OR FILAMENTARY MATERIAL, e.g. SHEETS, WEBS, CABLES
- B65H2301/00—Handling processes for sheets or webs
- B65H2301/40—Type of handling process
- B65H2301/42—Piling, depiling, handling piles
- B65H2301/421—Forming a pile
- B65H2301/4214—Forming a pile of articles on edge
- B65H2301/42142—Forming a pile of articles on edge by introducing articles from beneath
-
- B—PERFORMING OPERATIONS; TRANSPORTING
- B65—CONVEYING; PACKING; STORING; HANDLING THIN OR FILAMENTARY MATERIAL
- B65H—HANDLING THIN OR FILAMENTARY MATERIAL, e.g. SHEETS, WEBS, CABLES
- B65H2405/00—Parts for holding the handled material
- B65H2405/30—Other features of supports for sheets
- B65H2405/31—Supports for sheets fully removable from the handling machine, e.g. cassette
- B65H2405/313—Supports for sheets fully removable from the handling machine, e.g. cassette with integrated handling means, e.g. separating means
Landscapes
- Physics & Mathematics (AREA)
- General Physics & Mathematics (AREA)
- Business, Economics & Management (AREA)
- Accounting & Taxation (AREA)
- Finance (AREA)
- Engineering & Computer Science (AREA)
- Mechanical Engineering (AREA)
- Development Economics (AREA)
- Economics (AREA)
- Strategic Management (AREA)
- General Business, Economics & Management (AREA)
- Theoretical Computer Science (AREA)
- Pile Receivers (AREA)
- Inspection Of Paper Currency And Valuable Securities (AREA)
Description
【発明の属する技術分野】
本発明は、入金紙幣を出金紙幣として活用する紙幣入出金装置に関するものである。
【0002】
【従来の技術】
最近、国内においての外国紙幣の取り扱いや、国外においての自動機による現金の取り扱い等のニーズが高まってきている。これに伴い、現金自動取引装置は、日本円紙幣だけでなく、外国紙幣の取り扱いが必要となってきており、取り扱う金種の数の増加が求められている。
【0003】
多金種対応の従来技術として、例えば特開平11−110607号公報がある。
この従来技術では、入出金口、一時保管庫、紙幣判別部等の機構部を備え、前記機構部と紙幣収納庫群を環状搬送路で接続した形態が記載されている。
また、装置全体を入出金口、一時保管庫、紙幣判別部とで構成した上部機構と、紙幣収納庫群を筐体内に納めた金庫型の下部機構に分割して構成した形態が記載されている。
さらに前記下部機構の紙幣収納庫数が多い場合は紙幣収納庫群を並列配置した形態を持つ紙幣入出金装置が開示されている。
【特許文献1】
特開平11−110607号公報
【0004】
【発明が解決しようとする課題】
上記特開平11−110607号公報に記載の紙幣入出金装置は、取り扱う金種を増加させるため、紙幣収納庫群を並列配置する構造を持っている。
【0005】
取り扱い金種数を増加するためには、紙幣を収納・放出する紙幣収納庫の数を増やさなければならない。
特開平11−110607号公報に記載のように紙幣収納庫群を並列配置した紙幣入出金装置では、取り扱い金種数が増加するにつれて、紙幣収納庫が上方に積み重なることになる。言い換えれば、装置全体や入出金口の高さが高くなり、結果的に、装置の設置が不可能になる問題や、操作性が低下する問題が生じる。この問題は、紙幣収納庫が、紙幣を立位姿勢で集積する横置型の紙幣カセットであることによる。
【0006】
一方、紙幣入出金装置への紙幣の装填は、紙幣を詰めた装填回収庫を紙幣入出金装置に装着し、装填回収庫内の紙幣を各紙幣カセットに搬送・収納することで行われる。また、紙幣入出金装置からの紙幣の回収は、空の装填回収庫を紙幣入出金装置に装着し、各紙幣カセット内の紙幣を装填回収庫に搬送・収納することで行われる。
【0007】
このように装填回収庫は、複数種、つまりサイズが異なる紙幣を混在させて収納・放出しなければならない。装填回収庫が紙幣を水平姿勢で集積する縦置型である場合、サイズが異なる紙幣を収納すると、サイズの小さい紙幣は装填回収庫内で規制されることがないため不整列に集積され、正常な運用は不可能となる。
つまり、サイズの異なる紙幣を混在して収納・放出するためには、紙幣の一端を揃える必要がある。そのため、装填回収庫は紙幣を立位姿勢で集積して紙幣下端を揃える横置型でなければならない。
【0008】
本発明の目的は、取り扱う金種数が多く、且つ、紙幣の装填・回収機能を持つ多金種対応の紙幣入出金装置を提供することにある。
【0009】
【課題を解決するための手段】
上記目的は、投入された紙幣の繰り出しと紙幣の集積の何れか一方または両方を行う入出金口と、紙幣の金種を判別する紙幣判別部と、紙幣の収納と放出の何れか一方または両方を行う紙幣収納放出庫と、前記入出金口と前記紙幣判別部と前記紙幣収納放出庫を結んで紙幣を搬送する搬送路と、前記紙幣収納放出庫への紙幣の装填回収を行なう装填回収庫とを有する紙幣入出金装置において、前記紙幣収納放出庫は上下方向に紙幣を重ねて収納し、前記装填回収庫は紙幣を水平方向に重ねて収納し、前記装填回収庫は紙幣が取込まれる取込空間と、収納する紙幣を前記取込空間へ送ると共に、放出する紙幣を前記搬送路へ送る取込放出機構と、前記取込放出機構の上方に設けられ、前記取込放出機構を通って前記取込空間に送る紙幣の過剰な進行を規制するスタック補助部材とを備え、このスタック補助部材は紙幣サイズに応じて回転制御されることにより紙幣の過剰な進行を規制することにより達成される。
【0013】
【発明の実施の形態】
以下、本発明の一実施例について詳細に説明する。
図1は、本発明を適用する現金自動取引装置の外観を示す図である。
図1において、本実施例の現金自動取引装置101は、顧客の取引カードや取引明細票を処理するカード/明細票処理機構102と、通帳を処理する通帳処理機構103と、筐体104と、取引に必要な情報を表示および入力する顧客操作部105と、紙幣入出金装置1で構成されている。106は紙幣入出金装置1の運転を制御するための本体制御部である。
【0014】
図2は、現金自動取引装置101の制御関係を示すブロック図である。
図2において、カード/明細票処理機構102、通帳処理機構103、顧客操作部105および紙幣入出金装置1はバス110を介して本体制御部106と接続しており、本体制御部106の制御の下に必要な動作を行う。上記の他に、インタフェース部107と、係員操作部108と、外部記憶装置109ともバス110で接続しており、必要なデータのやり取りを行うが、詳細な説明は省略する。なお、上記各機構、構成部分は、電源部111により電力を供給する。
【0015】
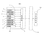
図3は、現金自動取引装置101に実装される紙幣入出金装置1の構成を示す図であり、図4は、制御機構を示すブロック図である。
図3、図4において、紙幣入出金装置1は、紙幣を出し入れする入出金口2と、紙幣の金種や真偽を判別する紙幣判別部3と、入金した紙幣を取引成立までの間一時的に収納する一時保管部4と、紙幣入出金装置1の各構成要素を結び、紙幣を搬送する搬送路5と、紙幣入出金装置1で取り扱う紙幣が収納される紙幣カセットとを有する。この紙幣カセットはその役割に応じて分類される。
入金庫は、例えば折れや破れなどが生じて出金に適さないと判断した紙幣を入金はするものの出金には使用せず収納しておく金庫である。また、この入金庫は、例えば5千円札のように入金はするものの出金には使用しない紙幣の保管金庫である。
この入金庫に多金種で金種ごとにサイズが異なる海外紙幣を使用した場合、入金庫は複数サイズの紙幣を受け入れることになる。ただし、上述したように入金庫は収納された紙幣は出金としては使用しないので紙幣の片辺を基準面に合わせておく必用がなく、単純に積み重ねておくだけで良い。従って、入金庫は縦置きで良い。
【0016】
収納放出庫は、入金および出金のために紙幣を金種別に収納および放出する金庫である。例えばひとつを千円札用、別のひとつを一万円札用の金庫とする。
【0017】
装填回収庫は、装填および回収を行うための金庫であり、紙幣入出金装置1で取り扱う紙幣を混在して収納および放出する紙幣カセットである。
【0018】
本実施例では、入金庫6、収納放出庫7、装填回収庫8を備えたものであり、図3の実施例では、入金庫6、収納放出庫7は縦置型の紙幣カセットであり、紙幣を水平姿勢で収納する。装填回収庫8は横置型の紙幣カセットであり、紙幣を立位姿勢で収納する。
【0019】
尚、装填回収庫8は図3の右側および左側にスライドして紙幣入出金装置1から取出すことができる。これは、現金自動取引装置のサービスが終了したら入金庫6、収納放出庫7に残留していた紙幣を自動で装填回収庫8に回収した後、係員が現金自動取引措置101の前部若しくは後部から装填回収庫8取り外し所定の場所に保管するためである。
【0020】
保管された装填回収庫8は翌朝、サービス開始前に再び現金自動取引装置101に戻され、紙幣は自動的に入金庫6、収納放出庫7に収納される。
【0021】
ところで、日本国内の紙幣入出金装置は日本の紙幣のみを対象として設計されている。日本の紙幣は千円札〜1万円札まで短手方向のサイズが同一であることから、全金種が回収される装填回収庫は縦置きにしても日本紙幣は位置ずれすることなく縦方向に積み重ねることができる。
【0022】
ところが、この装填回収庫に海外紙幣を収納した場合、以下のような問題がある。
即ち、海外紙幣は金種によって長手方向はおろか短手方向のサイズも異なるため、縦置きされた装填回収庫に海外紙幣を積み重ねると、最大サイズ以下の紙幣は位置が定まらず紙幣の装填回収の際、紙幣の詰まりや2枚排出などの問題が生じる。
【0023】
従って、海外紙幣の場合は紙幣の長手方向の辺が必ず基準面に接触する立位姿勢で集積するのが良いことが分かる。
【0024】
上述の入金庫6と収納放出庫7は縦方向(紙幣を積み重ねて収納)に設置されている。これは入金庫6、収納放出庫7が金種ごとに独立しているからである。
【0025】
紙幣入出金装置1は、図4に示すように、金種と紙幣サイズとの対応関係を記憶した記憶部DBを備える。記憶部DBを備えることによって、紙幣の金種を判別することによって紙幣サイズを判別する。制御部9は本体制御部106とバス110を介して接続し、本体制御部106からの指令および紙幣入出金装置1の状態検出に応じて紙幣入出金装置1の制御を行い、紙幣入出金装置1の状態を必要に応じて本体制御部に送る。
【0026】
<入金動作>
以下、図5〜図7を用いて、本実施例の入金動作について述べる。
図5は入金動作を示す現金自動取引装置の断面図である。
図6は入金動作を示す現金自動取引装置の断面図である。
図7は本一実施冷の入金動作を説明するフロー図である。
図5において、入出金口2に投入された紙幣を矢印で示すように搬送路5に繰り出す。搬送路5に繰り出した紙幣を矢印方向に搬送され、紙幣判別部3にて金種および枚数を確定して一時保管部4に一旦収納する。
【0027】
続いて、図6に示すように、一時保管部4に収納された紙幣は図中の矢印方向に搬送し、紙幣判別部3にて紙幣状態を判別し、リジェクト紙幣であれば入金庫6に収納する。正常と判断した紙幣は、金種ごとに収納放出庫7に収納される。
【0028】
この一連の入金動作を図7のフロー図に示したが、その内容は図5と図6の説明と同じであるが、再度簡単に説明する。
入出金口2に投入された紙幣は紙幣判別部3で金種が判別された後、一時保管庫に収納される。一時保管庫4の紙幣は再度紙幣判別部3で紙幣の状態を判別されて金種・紙幣状態に応じて各紙幣ユニットに収納される。
【0029】
<出金動作>
次に、図8,図9を用いて、本実施例の出金動作について述べる。
図8は出金動作を示す現金自動取引装置の断面図である。
図9は本一実施例の出金動作を説明するフロー図である。
図8において、収納放出庫7に収納している紙幣の内、出金する紙幣を矢印に示すように搬送路5に繰り出す。搬送路5に繰り出した紙幣を紙幣判別部3にて金種および枚数を判別した後、入出金口2に搬送、集積する。
この一連の出金動作を図9のフロー図に示したが、その内容は図8と説明であるが、再度簡単に説明する。
収納放出庫7から放出された紙幣は紙幣判別部で金種が判別され、入出金口2搬送、集積される。
【0030】
次に、本実施例の装填動作を図10、図11を用いて説明する。
図10は装填動作を示す現金自動取引装置の断面図である。
図11は本実施例の装填動作を説明するフロー図である。
図10において、装填動作は、例えば図1に示した現金自動取引装置101を稼動する前に装置内に紙幣を装填する場合、または、運用時に装置内の紙幣の枚数が少なくなったときに装置内に紙幣を補充する場合に行う。
初めに、装填回収庫8を紙幣入出金装置1に装着する。続いて、装填回収庫8から紙幣を繰り出し、紙幣判別部3にて金種および紙幣状態を判別する。正常と判断した紙幣は金種ごとに収納放出庫7に収納し、使用不可と判断した紙幣は装填回収庫8内のリジェクト券収納部820に収納する。
【0031】
この一連の装填動作を図11で説明すると、装填回収庫8から放出された紙幣は紙幣判別部3で金種と紙幣状態が判別され、金種・紙幣状態に応じて各紙幣ユニットに収納される。
【0032】
本実施例の回収動作を図12、図13を用いて説明する。
図12は回収動作を示す現金自動取引装置の断面図である。
図13は本実施例の回収動作を説明するフロー図である。
図12において、紙幣回収は、例えば運用終了後に図1に示した現金自動取引装置101内の紙幣を回収する場合、または、運用中に収納放出庫7に収納した紙幣の枚数が多くなり収納放出庫7に更に紙幣を収納することが不可能となった場合など、収納放出庫7内の紙幣を回収する必要が生じた場合に行う。
【0033】
即ち、収納放出庫7から紙幣を繰り出し、紙幣判別部にて金種および紙幣状態を判別し、装填回収庫8に収納する。続いて、装填回収庫8を紙幣入出金装置1から取り外すことで回収動作完了する。但し、入金庫6に収納されているリジェクト紙幣の回収は、入金庫6をそのまま取り外すことで行う。
【0034】
尚、運用中に収納放出庫7に収納した紙幣の枚数が多くなり収納放出庫7に更に紙幣を収納することが不可能となっている状態で新たに紙幣が入金された場合の対応策として、入出金口2に入金された紙幣を収納放出庫7に搬送収納せず、入出金口2から紙幣判別部3を介して直接装填回収庫8に収納する方法もある。
【0035】
また、上記の回収動作と装填動作の内、装填回収庫8を紙幣入出金装置1に脱着する動作以外を連続で行うことで、各収納放出庫7内の紙幣枚数を計数することができる。
【0036】
一連の回収動作を図13のフロー図で説明する。
収納放出庫7から放出された紙幣は紙幣判別部3で金種が判別され、装填回収庫8に収納される。
【0037】
次に、本実施例の装填回収庫8について図14、図15、図16を用いて詳細に説明する。
図14は、紙幣入出金装置1に搭載する装填回収庫8の構成を示す上面図である。
図15は、装填回収庫8に紙幣を収納する状態を表す側面図である。
図16は、装填回収庫8から紙幣を放出する状態を表す側面図である。
ところで、紙幣の装填または回収を行う場合には、一つの紙幣収納放出庫内に複数種の紙幣を混在させる必要がある。金種毎に紙幣サイズが大きく異なる場合には、サイズの異なる紙幣を混在して収納できる装填回収庫8を必要とする。
この装填回収庫8は、紙幣を立位姿勢で集積する横置型の紙幣カセットであり、収納と分離繰り出しが可能である。
【0038】
図14、図15、図16において、紙幣の取込放出機構は、スタック・フィードローラ801と、ピックアップローラ811と、従動回転するバックアップローラ802と、紙幣の収納方向に回転し、繰り出し方向には回転しないゲートローラ803と、このゲートローラ803と同一軸上にあって可撓性の押込み部材が放射状に配置されたブラシローラ804と、分離時とスタック時で位置が変化する分離・スタックガイド805とで構成されている。
【0039】
スタック・フィードローラ801は、駆動源(図示せず)からギヤを介して駆動され回転する。収納する紙幣を取込空間へと送り、また放出する紙幣を搬送路5へと送る。バックアップローラ802は、スタック・フィードローラ801に従動して回転し、スタック・フィードローラ801との間に紙幣を挟持して、紙幣を搬送する。ゲートローラ803は、紙幣を収納するときにスタック・フィードローラ801に従動して回転するが、放出するときは回転しない。すなわち、ピックアップローラ811とスタック・フィードローラ801により紙幣を分離し繰り出すときに、放出紙幣に隣接した紙幣はゲートローラ803と接触し、放出紙幣と追従して繰り出されることを防止する。
【0040】
スタック・フィードローラ801とゲートローラ803は取込空間への取込放出口となる。すなわち、紙幣収納の際に、スタック・フィードローラ801とゲートローラ803との挟持がはずれると、紙幣は分離・スタックガイド805との接触を除いて非拘束状態となり、取込空間内に紙幣が取り込まれる。
【0041】
尚、ブラシローラ804は紙幣放出動作を実現するため、約半周分のみしかシートを有していない。紙幣収納のときは、紙幣収納方向に回転することにより放射状に配置されたシートで取込空間にスタックされた紙幣を収納空間へかき出す。紙幣放出のときは、ブラシローラ804はシートを有している部分が取込空間から退避する位置に回転する。したがって、紙幣放出時に放出紙幣がシートと干渉することがない。
【0042】
また、ピックアップローラ811はスタック・フィードローラ801と同期駆動し、さらに、ブラシローラ804はスタック・フィードローラ801に対して逆転駆動する構成であり、駆動源の共用化を図っている。なお、ブラシローラ804は1方向クラッチを介してスタック・フィードローラ801と連結しており、紙幣放出時にブラシローラ804は回転しない。なお、1方向クラッチとは、一方の方向には回転するが、逆の方向には回転しないクラッチであり、図15に示す時計方向には回転するが、反時計方向には回転しない。
【0043】
分離・スタックガイド805は、取込空間側が紙幣案内面となり、紙幣収納時および放出時に紙幣面をガイドする。紙幣収納時は、紙幣案内面が取込放出機構の取込放出口における紙幣進行方向の延長上に沿う位置に配置される。紙幣放出時は、ピックアップローラ806により一枚ずつに分離可能な位置まで紙幣案内面が退避する。
【0044】
収納空間は、底板808と、この底板808より上面で収納紙幣の下端を支持するように懸架された底面ベルト807と、押板806と、分離・スタックガイド805と、天板810と、側壁813とで囲まれて形成される。
【0045】
側壁813は紙幣のサイズに合わせて取り付け位置の設定ができる。側壁813の幅は、紙幣の幅方向サイズより2mm〜10mm程度大きい値に設定するのが適当である。また、紙幣入出金装置1が取り扱う最大サイズの紙幣を収納できるように底板808と天板810との間の距離は、最大サイズの紙幣の高さ方向長さよりも大きい値に設定する。
【0046】
装填回収庫8はサイズの異なった紙幣を取り扱う必要があるため、分離・スタックガイド805の上方に収納される紙幣の進行方向先端部を案内するスタック補助部材812を設けている。スタック補助部材812は、収納される紙幣のサイズに関する情報に基づいて制御部9(図3、図4に示す)によって制御する。
【0047】
図17は、スタック補助部材812の形状を示す図である。
図17において、スタック補助部材812は、ローラ部812aと、羽根部812bで構成されている。スタック補助部材812は、分離・スタックガイド805の紙幣案内面の延長上にローラ部812aの外周面が位置するように備えられている。
【0048】
ここで、羽根部812bついて説明する。羽根部812bが収納空間側に位置するとき、羽根部812bの折曲部内側と、ローラ部812aの外周面とで取込空間を形成する。そして、取込放出機構を通って取込空間に搬送する紙幣の過剰な進行を、羽根部812bの折曲部内側にて規制する。
【0049】
羽根部812bは、取込空間と収納空間との境界を構成する。これにより、取込空間に立位状態で取り込まれた紙幣が取込空間内で倒れることを防ぐことができ、安定した収納が可能である。さらに、収納空間に収納された紙幣が取込空間側に倒れこんでくることを防止でき、取り込まれる紙幣と収納された紙幣との間の干渉を防止することができる。
【0050】
また、取込放出口から紙幣端ストッパ部までの距離が紙幣サイズに対応する長さとなるように、スタック補助部材812を回転制御する。
【0051】
スタック補助部材812は、図14に示すように紙幣幅方向に複数設けられており、収納される紙幣の上端部を複数箇所で取込空間に案内する。したがって、折れ癖やカール癖を有する紙幣であっても、後続紙幣との干渉を防いで安定して収納することができる。
【0052】
図15に示した透過センサは発光素子888aと受光素子888bとから構成される。取込放出口近傍に紙幣が存在するときは紙幣によって光が遮られるため、紙幣が取込放出口近傍に存在することを検出する。収納時に光が遮られる時間が長くなると押板806を駆動し、紙幣収納スペースを広くする。
【0053】
尚、使用不可と判断した紙幣は、図15に示したローラ821、ブラシローラ822を通してリジェクト券収納部820に収納する。
【0054】
図16に示すように、装填回収庫8から紙幣を放出する際には、分離・スタックガイド805およびスタック補助部材812は、紙幣取込のときと異なり収納空間から遠ざかるように退避する。収納された紙幣は、押板806により分離・スタックガイド805側に押し付けられ、ピックアップローラ811が回転することによって一枚ずつに分離され取込放出機構を通って装填回収庫8から放出される。
【0055】
次に、本実施例の収納放出庫7を図18、図19を用いて詳細に説明する。
図18は、収納放出庫7に紙幣を収納する状態を表す側面図である。
図19は、収納放出庫7から紙幣を放出する状態を表す側面図である。
図18、図19において、入金および出金を行う場合ためには、ひとつの収納放出庫7にはひとつの金種を収納する必要がある。この収納放出庫7は、紙幣を水平姿勢で集積する縦置型の紙幣カセットであり、収納と分離繰り出しが可能である。
【0056】
紙幣の取込放出機構は、スタック・フィードローラ701と、ピックアップローラ711と、従動回転するバックアップローラ702と、紙幣の収納方向に回転し、繰り出し方向には回転しないゲートローラ703と、このゲートローラ703と同一軸上にあって可撓性の押込み部材が放射状に配置されたブラシローラ704と、分離時とスタック時で位置が変化する分離・スタックガイド705とで構成されている。
【0057】
スタック・フィードローラ701は、駆動源(図示せず)からギヤを介して駆動され回転する。収納する紙幣を取込空間へと送り、また放出する紙幣を搬送路5へと送る。バックアップローラ702は、スタック・フィードローラ701に従動して回転し、スタック・フィードローラ701との間に紙幣を挟持して、紙幣を搬送する。ゲートローラ703は、紙幣を収納するときにスタック・フィードローラ801に従動して回転するが、放出するときは回転しない。すなわち、ピックアップローラ711とスタック・フィードローラ701により紙幣を分離し繰り出すときに、放出紙幣に隣接した紙幣はゲートローラ703と接触し、放出紙幣と追従して繰り出されることを防止する。
【0058】
スタック・フィードローラ701とゲートローラ703は取込空間への取込放出口となる。すなわち、紙幣収納の際に、スタック・フィードローラ701とゲートローラ703との挟持がはずれると、紙幣は分離・スタックガイド705との接触を除いて非拘束状態となり、取込空間内に紙幣が取り込まれる。
【0059】
尚、ブラシローラ704は紙幣放出動作を実現するため、約半周分のみしかシートを有していない。紙幣収納のときは、紙幣収納方向に回転することにより放射状に配置されたシートで取込空間にスタックされた紙幣を収納空間へかき出す。紙幣放出のときは、ブラシローラ704はシートを有している部分が取込空間から退避する位置に回転する。したがって、紙幣放出時に放出紙幣がシートと干渉することがない。
【0060】
また、ピックアップローラ711はスタック・フィードローラ701と同期駆動し、さらに、ブラシローラ704はスタック・フィードローラ701に対して逆転駆動する構成であり、駆動源の共用化を図っている。
尚、ブラシローラ704は1方向クラッチを介してスタック・フィードローラ701と連結しており、紙幣放出時にブラシローラ704は回転しない。また、1方向クラッチとは、一方の方向には回転するが、逆の方向には回転しないクラッチであり、図18に示す反時計方向には回転するが、時計方向には回転しない。
【0061】
分離・スタックガイド705は、取込空間側が紙幣案内面となり、紙幣収納時および放出時に紙幣面をガイドする。紙幣収納時は、紙幣案内面が取込放出機構の取込放出口における紙幣進行方向の延長上に沿う位置に配置される。紙幣放出時は、ピックアップローラ706により一枚ずつに分離可能な位置まで紙幣案内面が退避する。
【0062】
収納空間は、側板708と、押板706と、分離・スタックガイド705と、可動側板710と、側壁713とで囲まれて形成される。
【0063】
側壁713および可動側板710は紙幣のサイズに合わせて取り付け位置の設定ができる。側壁713の幅は、紙幣の幅方向サイズより2mm〜10mm程度大きい値に設定するのが適当である。また、側板708と可動側板710の間の距離が、紙幣入出金装置1が取り扱う紙幣の寸法より2mm程度大きくなるように、可動側板710の取り付け位置を設定するのが適当である。
【0064】
透過センサは発光素子788aと受光素子788bとから構成される。取込放出口近傍に紙幣が存在するときは紙幣によって光が遮られるため、紙幣が取込放出口近傍に存在することを検出する。収納時に光が遮られる時間が長くなると押板706を駆動し、紙幣収納スペースを広くする。
【0065】
図19に示すように、収納放出庫7から紙幣を放出する際には、分離・スタックガイド705およびスタック補助部材712は、紙幣取込のときと異なり収納空間から遠ざかるように退避する。収納された紙幣は、押板706により分離・スタックガイド705側に押し付けられ、ピックアップローラ711が回転することによって一枚ずつに分離され取込放出機構を通って収納放出庫7から放出される。
【0066】
以上述べた実施例以外の実施例を図20、図21、図22、図23、図24、図25を用いて説明する。
図20に示す様に、紙幣入出金装置1の収納放出庫7を増設してもよい。こうすることで、入出金口2の高さを変えることなく収納放出庫7を増設できる。
【0067】
図21に示す様に、増設した収納放出庫7の上方に装填回収庫8を設置することで、紙幣入出金装置1の高さを低くすることが出来る。
【0068】
図22に示す様に、紙幣入出金装置1の入金庫6、装填回収庫8が横置型紙幣カセット、収納放出庫7が縦置型紙幣カセットでもよい。
【0069】
図23に示す様に、入出金口2の上方に装填回収庫8を設置することで、入出金口2の高さを低くすることが出来る。
【0070】
図24に示す様に、増設した収納放出庫7の上方に入金庫6および装填回収庫8を設置することで、紙幣入出金装置1の高さを低くすることが出来る。
【0071】
図25に示す様に、装填回収庫8の向きを変え、搬送路を少なくした構成でもよい。この構成にて装填・回収・精査動作を行う場合には、紙幣は、一時保管部4を介して収納放出庫7と装填回収庫8の間を行き来することになる。
【0072】
図25に示す紙幣入出金装置1における装填時の紙幣の流れについて説明する。
まず、装填回収庫8内にある紙幣を搬送路5に繰り出す。そして、搬送路5に繰り出した紙幣を、紙幣判別部3を経由して搬送することで金種および枚数を確定して一時保管部4に一旦収納する。次に、一時保管部4に収納した紙幣を、必要であれば紙幣判別部3にて紙幣状態を判別して、使用不可の紙幣であれば装填回収庫8内のリジェクト券収納部820に搬送収納し、収納放出庫7に収納すべき紙幣は金種毎に収納放出庫7に搬送収納する。
【0073】
図26は、図25に示す紙幣入出金装置1における装填時の紙幣の流を説明するフロー図である。
図26において、まず、収納放出庫7にある紙幣を搬送路5に繰り出す。そして、搬送路5に繰り出した紙幣を、紙幣判別部3を経由して搬送することで金種および枚数を確定して一時保管部4に一旦収納する。次に、一時保管部4に収納した紙幣を、必要であれば紙幣判別部3にて紙幣状態を判別して、装填回収庫8に搬送収納する。
【0074】
図27は、図25に示す紙幣入出金装置1おける紙幣回収時の紙幣の流れを説明するフロー図である。
図27において、収納放出庫7から放出された紙幣は紙幣判別部3で金種と紙幣状態が判別された後、一時保管部4に収納され、いい時保管部4から放出された紙幣は再び紙幣判別部3で紙幣の金種と紙幣状態が判別されてから装填回収庫ね収納される。
【0075】
尚、回収動作と装填動作を連続で行うことで、各収納放出庫7内の紙幣枚数を計数することができる。
【0076】
【発明の効果】
本発明によれば、装填回収庫を横置型に、収納放出庫を縦置型することで、取り扱う金種数が多く、且つ、紙幣の装填・回収機能を持つ多金種対応の紙幣入出金装置を提供できる。
【図面の簡単な説明】
【図1】図1は、本発明が適用される現金自動取引装置の外観斜視図である。
【図2】図2は、本発明が適用される現金自動取引装置の制御機構を示すブロック図である。
【図3】図3は、紙幣入出金装置の構成を示す断面図である。
【図4】図4は、一実施例を備えた紙幣入出金装置の制御機構を示すブロック図である。
【図5】図5は、一実施例の入金動作を示す紙幣入出金装置の断面図である。
【図6】図6は、一実施例の入金動作を示す紙幣入出金装置の断面図である。
【図7】図7は、一実施例の入金動作のフロー図である。
【図8】図8は、一実施例の出金動作を示す紙幣入出金装置の断面図である。
【図9】図9は、一実施例の出金動作のフロー図である。
【図10】図10は、一実施例の紙幣装填の動作を示す紙幣入出金装置の断面図である。
【図11】図11は、一実施例の紙幣装填のフロー図である。
【図12】図12は、一実施例の紙幣回収の動作を示す紙幣入出金装置の断面図である。
【図13】図13は、一実施例の紙幣回収のフロー図である。
【図14】図14は、紙幣入出金装置に搭載される装填回収庫の上面図である。
【図15】図15は、装填回収庫に紙幣を収納する動作を示す装填回収庫の側面図である。
【図16】図16は、装填回収庫から紙幣を放出する動作を示す装填回収庫の側面図である。
【図17】図17は、スタック補助部材の形状を示す図である。
【図18】図18は、収納放出庫に紙幣を収納する動作を示す側面図である。
【図19】図19は、収納放出庫から紙幣を収納する動作を示す側面図である。
【図20】図20は、他の実施例を備えた紙幣入出金装置の構成図である。
【図21】図21は、他の実施例を備えた紙幣入出金装置の構成図である。
【図22】図22は、他の実施例を備えた紙幣入出金装置の構成図である。
【図23】図23は、他の実施例を備えた紙幣入出金装置の構成図である。
【図24】図24は、他の実施例を備えた紙幣入出金装置の構成図である。
【図25】図25は、他の実施例を備えた紙幣入出金装置の構成図である。
【図26】図26は、他の実施例を備えた紙幣入出金装置の紙幣装填のフロー図である。
【図27】図27は、他の実施例を備えた紙幣入出金装置の紙幣回収のフロー図である。
【符号の説明】
1…紙幣入出金装置、3…紙幣判別部、7…収納放出庫、8…装填回収庫、9…制御部、101…現金自動取引装置。
Claims (1)
- 投入された紙幣の繰り出しと紙幣の集積の何れか一方または両方を行う入出金口と、紙幣の金種を判別する紙幣判別部と、紙幣の収納と放出の何れか一方または両方を行う紙幣収納放出庫と、前記入出金口と前記紙幣判別部と前記紙幣収納放出庫を結んで紙幣を搬送する搬送路と、前記紙幣収納放出庫への紙幣の装填回収を行なう装填回収庫とを有する紙幣入出金装置において、
前記紙幣収納放出庫は上下方向に紙幣を重ねて収納し、前記装填回収庫は紙幣を水平方向に重ねて収納し、
前記装填回収庫は紙幣が取込まれる取込空間と、収納する紙幣を前記取込空間へ送ると共に、放出する紙幣を前記搬送路へ送る取込放出機構と、
前記取込放出機構の上方に設けられ、前記取込放出機構を通って前記取込空間に送る紙幣の過剰な進行を規制するスタック補助部材とを備え、
このスタック補助部材は紙幣サイズに応じて回転制御されることにより紙幣の過剰な進行を規制することを特徴とする紙幣入出金装置。
Priority Applications (10)
| Application Number | Priority Date | Filing Date | Title |
|---|---|---|---|
| JP2003031842A JP4292012B2 (ja) | 2003-02-10 | 2003-02-10 | 紙幣入出金装置 |
| CNA2007101373305A CN101083001A (zh) | 2003-02-10 | 2003-03-28 | 纸币收付装置 |
| CNB031083676A CN100337891C (zh) | 2003-02-10 | 2003-03-28 | 纸币收付装置 |
| KR10-2003-0019771A KR100492203B1 (ko) | 2003-02-10 | 2003-03-29 | 지폐 입출금 장치 |
| US10/424,069 US6968997B2 (en) | 2003-02-10 | 2003-04-28 | Banknote receipt and payout apparatus |
| DE60332210T DE60332210D1 (de) | 2003-02-10 | 2003-04-28 | Apparat zur Annahme und Ausgabe von Geldscheinen |
| AT03008850T ATE465477T1 (de) | 2003-02-10 | 2003-04-28 | Apparat zur annahme und ausgabe von geldscheinen |
| EP03008850A EP1445741B1 (en) | 2003-02-10 | 2003-04-28 | Banknote receipt and payout apparatus |
| US11/257,016 US7428983B2 (en) | 2003-02-10 | 2005-10-25 | Banknote receipt and payout apparatus |
| US11/723,589 US7431205B2 (en) | 2003-02-10 | 2007-03-21 | Banknote receipt and payout apparatus |
Applications Claiming Priority (1)
| Application Number | Priority Date | Filing Date | Title |
|---|---|---|---|
| JP2003031842A JP4292012B2 (ja) | 2003-02-10 | 2003-02-10 | 紙幣入出金装置 |
Publications (3)
| Publication Number | Publication Date |
|---|---|
| JP2004240904A JP2004240904A (ja) | 2004-08-26 |
| JP2004240904A5 JP2004240904A5 (ja) | 2006-09-14 |
| JP4292012B2 true JP4292012B2 (ja) | 2009-07-08 |
Family
ID=32653035
Family Applications (1)
| Application Number | Title | Priority Date | Filing Date |
|---|---|---|---|
| JP2003031842A Expired - Fee Related JP4292012B2 (ja) | 2003-02-10 | 2003-02-10 | 紙幣入出金装置 |
Country Status (7)
| Country | Link |
|---|---|
| US (3) | US6968997B2 (ja) |
| EP (1) | EP1445741B1 (ja) |
| JP (1) | JP4292012B2 (ja) |
| KR (1) | KR100492203B1 (ja) |
| CN (2) | CN100337891C (ja) |
| AT (1) | ATE465477T1 (ja) |
| DE (1) | DE60332210D1 (ja) |
Families Citing this family (30)
| Publication number | Priority date | Publication date | Assignee | Title |
|---|---|---|---|---|
| DE10210687A1 (de) * | 2002-03-12 | 2003-10-09 | Giesecke & Devrient Gmbh | Vorrichtung zur Bearbeitung von Banknoten |
| JP4292012B2 (ja) * | 2003-02-10 | 2009-07-08 | 日立オムロンターミナルソリューションズ株式会社 | 紙幣入出金装置 |
| US7611045B1 (en) * | 2005-06-03 | 2009-11-03 | Diebold Self-Service Systems Division Of Diebold, Incorporated | Enclosure for automated banking machine |
| JP4768329B2 (ja) * | 2005-06-17 | 2011-09-07 | 株式会社東芝 | 紙葉類処理装置 |
| JP2006350921A (ja) * | 2005-06-20 | 2006-12-28 | Toshiba Corp | 紙葉類処理装置 |
| JP4436792B2 (ja) * | 2005-07-29 | 2010-03-24 | 日本電産サンキョー株式会社 | カード処理装置 |
| ITTO20050822A1 (it) * | 2005-11-21 | 2007-05-22 | Cts Cashpro Spa | Apparecchiatura per trattare banconote in mazzetta |
| JP4951251B2 (ja) * | 2006-02-27 | 2012-06-13 | 日立オムロンターミナルソリューションズ株式会社 | 現金自動取引装置 |
| JP4368888B2 (ja) * | 2006-12-15 | 2009-11-18 | 日立オムロンターミナルソリューションズ株式会社 | 紙葉類収納庫および紙葉類取扱装置 |
| JP5212090B2 (ja) * | 2008-12-25 | 2013-06-19 | 沖電気工業株式会社 | 自動取引装置 |
| DE102009015383A1 (de) * | 2009-03-27 | 2010-09-30 | Wincor Nixdorf International Gmbh | Vorrichtung zur Eingabe von Wertscheinen in einen Behälter |
| GB0908441D0 (en) * | 2009-05-16 | 2009-06-24 | Innovative Technology Ltd | Improvements to the smart pay out apparatus |
| JP5241610B2 (ja) * | 2009-05-26 | 2013-07-17 | 日立オムロンターミナルソリューションズ株式会社 | 紙幣取引装置 |
| JP2012008926A (ja) * | 2010-06-28 | 2012-01-12 | Oki Electric Ind Co Ltd | 自動取引装置 |
| DE102011053101A1 (de) * | 2011-08-30 | 2013-02-28 | Wincor Nixdorf International Gmbh | Geldkassette mit Doppelrollenspeicher |
| WO2014104683A1 (en) * | 2012-12-27 | 2014-07-03 | Nautilus Hyosung Inc. | Moving rail assembly and apparatus for receiving and dispensing bill |
| JPWO2014115574A1 (ja) * | 2013-01-28 | 2017-01-26 | 日立オムロンターミナルソリューションズ株式会社 | 取引処理装置および紙幣計数方法 |
| EP3040951A4 (en) * | 2013-08-28 | 2016-09-14 | Fujitsu Frontech Ltd | BANKNOTE TRANSACTION DEVICE |
| JP6088453B2 (ja) * | 2014-02-21 | 2017-03-01 | 富士通フロンテック株式会社 | 紙幣取扱い装置及び紙幣取扱いシステム |
| CN104063948A (zh) * | 2014-04-11 | 2014-09-24 | 上海古鳌电子科技股份有限公司 | 一种处理尺寸不同的纸币的纸币收付装置 |
| CN103985190A (zh) * | 2014-05-23 | 2014-08-13 | 昆山古鳌电子机械有限公司 | 一种纸张类处理装置 |
| WO2016205248A1 (en) * | 2015-06-14 | 2016-12-22 | Diebold, Incorporated | Core module for an automated transaction machine |
| US10769878B2 (en) | 2015-06-14 | 2020-09-08 | Diebold Nixdorf, Incorporated | Fascia gate separable gear drive |
| TWI709114B (zh) * | 2015-11-13 | 2020-11-01 | 日商富士電機股份有限公司 | 紙幣處理裝置 |
| CN109414940B (zh) * | 2016-06-09 | 2021-01-26 | 恩图鲁斯特咨询卡有限公司 | 卡机构阵列 |
| JP7043851B2 (ja) * | 2018-01-26 | 2022-03-30 | 富士電機株式会社 | 金銭処理装置 |
| US20210027565A1 (en) * | 2018-03-26 | 2021-01-28 | Glory Ltd. | Paper sheet processing device |
| US12100256B1 (en) | 2021-10-08 | 2024-09-24 | Wells Fargo Bank, N.A. | Systems and methods for retrofit housing using an in-safe cassette port |
| US11699331B1 (en) | 2021-10-08 | 2023-07-11 | Wells Fargo Bank, N.A. | Systems and methods for retrofit housing for transaction devices |
| US11830327B1 (en) | 2021-10-08 | 2023-11-28 | Wells Fargo Bank, N.A. | Systems and methods for retrofit housing for transaction devices |
Family Cites Families (57)
| Publication number | Priority date | Publication date | Assignee | Title |
|---|---|---|---|---|
| US3635321A (en) * | 1967-03-01 | 1972-01-18 | Allied Automation Inc | Document verification and banking machine |
| JPS5586242U (ja) | 1978-12-06 | 1980-06-14 | ||
| US4585144A (en) * | 1980-06-26 | 1986-04-29 | Ncr Corporation | Record member dispensing system |
| JPS5849484A (ja) | 1981-09-17 | 1983-03-23 | 株式会社東芝 | 紙葉類分類放出機 |
| JPS5960594A (ja) | 1982-09-29 | 1984-04-06 | 富士通株式会社 | 紙幣取扱装置 |
| JPS59102751A (ja) * | 1982-11-30 | 1984-06-13 | Toshiba Corp | 紙葉類の集積装置 |
| US4980543A (en) * | 1983-01-26 | 1990-12-25 | Tokyo Shibaura Denki Kabushiki Kaisha | Multiple denominator bank note depositor/dispenser with automatic loading to and from storage section |
| SE456339B (sv) * | 1985-08-01 | 1988-09-26 | Inter Innovation Ab | Anordning for inmatning av verdepapper till ett forvaringsutrymme |
| JPS6464091A (en) * | 1987-09-04 | 1989-03-09 | Laurel Bank Machine Co | Transaction inlet collection controller for paper money teller machine |
| JPS6476181A (en) * | 1987-09-17 | 1989-03-22 | Ibm | Automatic handling of paper money and paper money storage used therefor |
| GB8807631D0 (en) * | 1988-03-30 | 1988-05-05 | Ncr Co | Apparatus for detecting passage of multiple superposed sheets along feed path |
| US5000322A (en) * | 1988-05-31 | 1991-03-19 | Laurel Bank Machines Co., Ltd. | Bill receiving and dispensing machine |
| JP2752087B2 (ja) * | 1988-06-30 | 1998-05-18 | 株式会社東芝 | 自動取引装置 |
| US5626822A (en) * | 1990-01-12 | 1997-05-06 | Hitachi, Ltd. | Cash transaction machine and method therefor |
| JPH04125237A (ja) | 1990-09-17 | 1992-04-24 | Hitachi Ltd | 紙葉類自動取扱い装置 |
| US5788348A (en) * | 1994-03-15 | 1998-08-04 | Interbold | Automated teller machine with enhanced service access |
| US5553320A (en) * | 1994-03-16 | 1996-09-03 | Hitachi, Ltd. | Automatic cash transaction machine |
| US5662202A (en) * | 1995-11-24 | 1997-09-02 | Ardac Incorporated | Currency validator with cassette cash box |
| JPH09270045A (ja) * | 1996-04-03 | 1997-10-14 | Hitachi Ltd | 現金自動取扱装置 |
| US6860375B2 (en) * | 1996-05-29 | 2005-03-01 | Cummins-Allison Corporation | Multiple pocket currency bill processing device and method |
| JPH103563A (ja) * | 1996-06-19 | 1998-01-06 | Hitachi Ltd | 現金自動取引装置 |
| DE19629900A1 (de) * | 1996-07-24 | 1998-01-29 | Siemens Nixdorf Inf Syst | Rollenspeicheranordnung |
| US5984177A (en) * | 1996-08-16 | 1999-11-16 | Transaction Technology, Inc. | Multiple configuration automatic teller machine |
| GB9618689D0 (en) * | 1996-09-06 | 1996-10-16 | De La Rue Systems Ltd | Sheet dispensing apparatus and cassette |
| KR100284843B1 (ko) * | 1996-09-20 | 2001-03-15 | 가나이 쓰도무 | 현금자동거래장치 |
| GB9621501D0 (en) * | 1996-10-15 | 1996-12-04 | Ncr Int Inc | Improved ATM |
| GB9624820D0 (en) * | 1996-11-29 | 1997-01-15 | Ncr Int Inc | Automatic teller machines |
| EP0907152B1 (en) * | 1997-10-06 | 2009-09-23 | Hitachi-Omron Terminal Solutions, Corp. | Leaflets handling apparatus |
| JP3518280B2 (ja) * | 1997-10-06 | 2004-04-12 | 株式会社日立製作所 | 紙幣入出金機 |
| DE19748864A1 (de) * | 1997-11-05 | 1999-05-06 | Siemens Nixdorf Inf Syst | Ausgabefach für einen Geldausgabe-/-eingabeautomaten |
| GB9812841D0 (en) * | 1998-06-16 | 1998-08-12 | Ncr Int Inc | Sheet dispensing mechanism |
| EP2378491A3 (en) * | 1998-06-26 | 2016-01-20 | Hitachi-Omron Terminal Solutions, Corp. | Bill deposit/withdrawal machine |
| JP4135238B2 (ja) * | 1998-12-08 | 2008-08-20 | 日立オムロンターミナルソリューションズ株式会社 | 紙幣入出金機 |
| EP1028399A1 (en) * | 1999-01-15 | 2000-08-16 | NCR International, Inc. | Replenishment arrangements for automated teller machines |
| JP3815651B2 (ja) * | 1999-10-19 | 2006-08-30 | 日立オムロンターミナルソリューションズ株式会社 | 紙幣入出金機 |
| US6439563B1 (en) * | 2000-01-18 | 2002-08-27 | Currency Systems International, Inc. | Note feeder |
| JP3977982B2 (ja) * | 2000-05-19 | 2007-09-19 | 日立オムロンターミナルソリューションズ株式会社 | 紙幣収納放出庫及び紙幣入出金機 |
| GB2364591A (en) * | 2000-07-07 | 2002-01-30 | Ncr Int Inc | Self service terminal with an escrow unit |
| WO2002011028A1 (en) * | 2000-07-27 | 2002-02-07 | Eft Datalink, Incorporated | Value transfer system for unbanked customers |
| JP4791631B2 (ja) * | 2000-12-26 | 2011-10-12 | 株式会社東芝 | 紙葉類処理装置 |
| US6811480B2 (en) * | 2001-01-10 | 2004-11-02 | Dapec, Inc. | Telescopic poultry shackle |
| US20030014395A1 (en) | 2001-07-12 | 2003-01-16 | International Business Machines Corporation | Communication triggered just in time information |
| US20030120936A1 (en) * | 2001-08-01 | 2003-06-26 | Eft Datalink | Encryption of financial information |
| JP3914807B2 (ja) * | 2001-09-11 | 2007-05-16 | 日立オムロンターミナルソリューションズ株式会社 | 紙幣入出金装置 |
| JP3861007B2 (ja) * | 2002-01-07 | 2006-12-20 | 日立オムロンターミナルソリューションズ株式会社 | 紙幣入出金装置および現金自動取引装置 |
| JP3950742B2 (ja) * | 2002-05-29 | 2007-08-01 | 日立オムロンターミナルソリューションズ株式会社 | 紙幣取扱装置 |
| JP4002968B2 (ja) * | 2002-08-27 | 2007-11-07 | 旭精工株式会社 | 紙幣払出装置 |
| WO2004061787A2 (en) * | 2002-12-31 | 2004-07-22 | Diebold, Incorporated | Atm currency cassette arrangement |
| BR0300066A (pt) * | 2003-01-21 | 2003-04-15 | Itautec Philco Sa | Aperfeiçoamentos introduzidos em depositário de equipamentos de auto-atendimento bancário |
| JP4292012B2 (ja) * | 2003-02-10 | 2009-07-08 | 日立オムロンターミナルソリューションズ株式会社 | 紙幣入出金装置 |
| JP2004310594A (ja) * | 2003-04-09 | 2004-11-04 | Glory Ltd | 紙葉類処理装置および紙葉類処理システム |
| JP2005010967A (ja) * | 2003-06-18 | 2005-01-13 | Hitachi Ltd | 紙幣入出金装置および現金自動取引装置 |
| JP4332379B2 (ja) * | 2003-07-29 | 2009-09-16 | 日立オムロンターミナルソリューションズ株式会社 | 紙幣取扱装置 |
| US7422118B2 (en) * | 2003-12-16 | 2008-09-09 | Cts Cashpro, S.P.A. | Equipment for the automatic deposit of banknotes |
| JP4408373B2 (ja) * | 2004-01-23 | 2010-02-03 | 日立オムロンターミナルソリューションズ株式会社 | 紙幣入出金装置 |
| JP4346475B2 (ja) * | 2004-03-02 | 2009-10-21 | 日立オムロンターミナルソリューションズ株式会社 | 紙葉類処理装置 |
| DE102004061467A1 (de) * | 2004-12-17 | 2006-06-29 | Wincor Nixdorf International Gmbh | Banknotensystem |
-
2003
- 2003-02-10 JP JP2003031842A patent/JP4292012B2/ja not_active Expired - Fee Related
- 2003-03-28 CN CNB031083676A patent/CN100337891C/zh not_active Expired - Fee Related
- 2003-03-28 CN CNA2007101373305A patent/CN101083001A/zh active Pending
- 2003-03-29 KR KR10-2003-0019771A patent/KR100492203B1/ko not_active Expired - Fee Related
- 2003-04-28 EP EP03008850A patent/EP1445741B1/en not_active Expired - Lifetime
- 2003-04-28 DE DE60332210T patent/DE60332210D1/de not_active Expired - Lifetime
- 2003-04-28 AT AT03008850T patent/ATE465477T1/de not_active IP Right Cessation
- 2003-04-28 US US10/424,069 patent/US6968997B2/en not_active Expired - Fee Related
-
2005
- 2005-10-25 US US11/257,016 patent/US7428983B2/en not_active Expired - Fee Related
-
2007
- 2007-03-21 US US11/723,589 patent/US7431205B2/en not_active Expired - Fee Related
Also Published As
| Publication number | Publication date |
|---|---|
| US20060032913A1 (en) | 2006-02-16 |
| US20070187486A1 (en) | 2007-08-16 |
| US7431205B2 (en) | 2008-10-07 |
| KR100492203B1 (ko) | 2005-06-02 |
| EP1445741A3 (en) | 2005-01-12 |
| CN100337891C (zh) | 2007-09-19 |
| US7428983B2 (en) | 2008-09-30 |
| CN1521104A (zh) | 2004-08-18 |
| JP2004240904A (ja) | 2004-08-26 |
| ATE465477T1 (de) | 2010-05-15 |
| CN101083001A (zh) | 2007-12-05 |
| KR20040073244A (ko) | 2004-08-19 |
| EP1445741B1 (en) | 2010-04-21 |
| EP1445741A2 (en) | 2004-08-11 |
| US6968997B2 (en) | 2005-11-29 |
| US20040155105A1 (en) | 2004-08-12 |
| DE60332210D1 (de) | 2010-06-02 |
Similar Documents
| Publication | Publication Date | Title |
|---|---|---|
| JP4292012B2 (ja) | 紙幣入出金装置 | |
| JP3977982B2 (ja) | 紙幣収納放出庫及び紙幣入出金機 | |
| KR100323491B1 (ko) | 지폐류 취급장치의 일시보관고 | |
| CN103106730B (zh) | 存款纸币和/或取款纸币的纸币存取装置 | |
| JP3861007B2 (ja) | 紙幣入出金装置および現金自動取引装置 | |
| JP3914807B2 (ja) | 紙幣入出金装置 | |
| JP2005010967A (ja) | 紙幣入出金装置および現金自動取引装置 | |
| JP2004310653A (ja) | 現金自動取引装置およびその運用方法 | |
| JP4845905B2 (ja) | 紙幣入出金機 | |
| JPH11175801A (ja) | 紙葉類取扱装置 | |
| JP3015161B2 (ja) | 循環式紙幣入出金装置 | |
| JP2888715B2 (ja) | 紙幣入出金機 | |
| JP3120397B2 (ja) | 自動取引装置 | |
| JP4110183B2 (ja) | 紙幣収納放出庫 | |
| JP4206242B2 (ja) | 紙幣取扱装置 | |
| JP3015162B2 (ja) | 紙葉類繰り出し方式 | |
| JPH07262435A (ja) | 現金自動取引装置 | |
| JP2002109604A (ja) | 紙幣入出金装置 | |
| JP2006190333A (ja) | 紙幣入出金機 | |
| JPH09297872A (ja) | 紙幣回収処理装置 | |
| JPH07306972A (ja) | 現金自動取引装置 |
Legal Events
| Date | Code | Title | Description |
|---|---|---|---|
| A711 | Notification of change in applicant |
Free format text: JAPANESE INTERMEDIATE CODE: A712 Effective date: 20050223 |
|
| A621 | Written request for application examination |
Free format text: JAPANESE INTERMEDIATE CODE: A621 Effective date: 20051214 |
|
| A521 | Request for written amendment filed |
Free format text: JAPANESE INTERMEDIATE CODE: A523 Effective date: 20051214 |
|
| RD02 | Notification of acceptance of power of attorney |
Free format text: JAPANESE INTERMEDIATE CODE: A7422 Effective date: 20060511 |
|
| RD04 | Notification of resignation of power of attorney |
Free format text: JAPANESE INTERMEDIATE CODE: A7424 Effective date: 20060511 |
|
| A521 | Request for written amendment filed |
Free format text: JAPANESE INTERMEDIATE CODE: A523 Effective date: 20060628 |
|
| A521 | Request for written amendment filed |
Free format text: JAPANESE INTERMEDIATE CODE: A523 Effective date: 20060628 |
|
| A977 | Report on retrieval |
Free format text: JAPANESE INTERMEDIATE CODE: A971007 Effective date: 20080822 |
|
| A131 | Notification of reasons for refusal |
Free format text: JAPANESE INTERMEDIATE CODE: A131 Effective date: 20080826 |
|
| A521 | Request for written amendment filed |
Free format text: JAPANESE INTERMEDIATE CODE: A523 Effective date: 20081024 |
|
| A02 | Decision of refusal |
Free format text: JAPANESE INTERMEDIATE CODE: A02 Effective date: 20081224 |
|
| A521 | Request for written amendment filed |
Free format text: JAPANESE INTERMEDIATE CODE: A523 Effective date: 20090213 |
|
| A521 | Request for written amendment filed |
Free format text: JAPANESE INTERMEDIATE CODE: A523 Effective date: 20090123 |
|
| A911 | Transfer to examiner for re-examination before appeal (zenchi) |
Free format text: JAPANESE INTERMEDIATE CODE: A911 Effective date: 20090227 |
|
| TRDD | Decision of grant or rejection written | ||
| A01 | Written decision to grant a patent or to grant a registration (utility model) |
Free format text: JAPANESE INTERMEDIATE CODE: A01 Effective date: 20090324 |
|
| A01 | Written decision to grant a patent or to grant a registration (utility model) |
Free format text: JAPANESE INTERMEDIATE CODE: A01 |
|
| A61 | First payment of annual fees (during grant procedure) |
Free format text: JAPANESE INTERMEDIATE CODE: A61 Effective date: 20090406 |
|
| R150 | Certificate of patent or registration of utility model |
Free format text: JAPANESE INTERMEDIATE CODE: R150 |
|
| FPAY | Renewal fee payment (event date is renewal date of database) |
Free format text: PAYMENT UNTIL: 20120410 Year of fee payment: 3 |
|
| FPAY | Renewal fee payment (event date is renewal date of database) |
Free format text: PAYMENT UNTIL: 20120410 Year of fee payment: 3 |
|
| FPAY | Renewal fee payment (event date is renewal date of database) |
Free format text: PAYMENT UNTIL: 20130410 Year of fee payment: 4 |
|
| FPAY | Renewal fee payment (event date is renewal date of database) |
Free format text: PAYMENT UNTIL: 20140410 Year of fee payment: 5 |
|
| LAPS | Cancellation because of no payment of annual fees |