JP4189552B2 - 内樋及び樋カバーの構造 - Google Patents
内樋及び樋カバーの構造 Download PDFInfo
- Publication number
- JP4189552B2 JP4189552B2 JP2000258236A JP2000258236A JP4189552B2 JP 4189552 B2 JP4189552 B2 JP 4189552B2 JP 2000258236 A JP2000258236 A JP 2000258236A JP 2000258236 A JP2000258236 A JP 2000258236A JP 4189552 B2 JP4189552 B2 JP 4189552B2
- Authority
- JP
- Japan
- Prior art keywords
- piece
- cover
- roof
- pressing member
- pressing
- Prior art date
- Legal status (The legal status is an assumption and is not a legal conclusion. Google has not performed a legal analysis and makes no representation as to the accuracy of the status listed.)
- Expired - Fee Related
Links
Images
Landscapes
- Roof Covering Using Slabs Or Stiff Sheets (AREA)
Description
【発明の属する技術分野】
本願は、第1〜第3の発明及びこれらの組み合わせの発明から成り、第1の発明は、一般住宅、学校、集会所、病院等の大型屋根の内樋の構造に関し、更に詳細には、寒暖の差による屋根材の伸縮亀裂を防止し、更に、降雪に対して滑り落ち防止効果を備えた内樋の構造に関し、次いで、第2の発明は、上記内樋の開放上面を覆って、上記内樋の施工後でも取り付けが容易なカバーの構造に関し、更に、第3の発明は、該カバーが構造が簡潔で且つ雪止め効果を有するカバーの構造に関する。更に、これら第1〜第3の発明を組み合わせた発明に関する。
【0002】
【従来の技術】
内樋とは、軒先の設けられる一般の雨樋に対し、軒先から若干屋根の上部(内側)に配される樋をいう。
該内樋は、一般に、上側を開放した断面コの字型で横方向に延長させてトタン材を屈曲させて成形し、これを接合部で重ね合わせ、その接合部を釘打ち等して結合させている。
そして、その成形は多く、現場施工であり、屋根の内樋を設けるべき位置に溝を形成し、そこに防水シートを覆う方法に頼っている。
又、上記内樋には落ち葉等が侵入して詰まりの原因となるので網のキャップを施すのが望ましいが、上記内樋を形成した後に現場で網体を成形してキャップに加工しなければならず、極めて面倒な作業とならざるを得ない。
【0003】
しかし、上記構造及び手法によれば、(a)春夏及び昼夜の寒暖の差によって、トタン材等の金属製素材の屋根部材には熱膨張及び収縮が生じ、結合部に亀裂が起こり易く、漏水を惹起する大きな原因となる。(b)比較的複雑な形状の内樋の溝に合わせて現場でトタン等を加工することは、熟練した職人の技を必要とすると共に、作業効率が悪く、施工費が高価なものとなる等の欠点があった。
【0004】
又、第二の問題は、上記内樋は、上側が開放されているので、そこから落ち葉等が侵入して、詰まりを起こす原因となるので、上面を覆うカバーを付設させる必要が生じるが、該カバーは上記内樋を取り付けた後で取り付けねばならず、作業が極めて困難であった。
【0005】
更に、第三には屋根に降雪があった場合に、その落下を防止する為に屋根に雪止めが必要であり、従来、この雪止めは屋根材の一部に突起を出して滑動を防ぐのが一般的であるが、構造的に複雑であり、工事費用が高いものとなっていた。
【0006】
【発明が解決しようとする課題】
これら欠点を解消すべく本発明はなされたもので、(a)寒暖差による熱収縮があっても雨漏れを起こさず、且つ、工場生産したものを現場で組み立て可能な内樋の構造を開発し、(b)該内樋の施工後にあっても、取り付けが容易な樋カバーの構造を開発し、(c)更に、該樋カバーがそれ自身で雪止め効果を備える樋カバーを開発し、更にこれらを組み合わせによる相乗的効果を導き出そうとするものである。
【0007】
【課題を解決するための手段】
本願第1の内樋の発明は、軒先より内側に形成される屋根の内樋において、上面開放の箱形で独立して雨水を貯留可能な受樋本体を内樋用凹部に沿って連設し、隣接する該受樋本の間に寒暖差による受樋本体の熱伸縮を吸収し得る幅寸法を有する断面コの字状のジョイント部を上側から跨設し、該受樋本体の一部に貯留した雨水を地下部へと導くドレンを付設したことを特徴として構成される。
【0008】
又、第2の樋カバーの構造の発明は、(a)開放された受樋本体の上部を覆う有孔樋カバーと、(b)突出部の上側に載って屋根材を上から押さえる屋根押止片と、内樋側に入って樋カバーを上側から挟み込むカバー挟片とから成る押さえ部材上片と、該突出部の上側に載った屋根押止片と、内樋側に載って樋カバーを下側から挟み込むカバー挟片と、その中間で上記押さえ部材上片より樋カバーの厚みに対応させて長い段部を設けた押さえ部材下片とから成る上側押さえ部材と、(c)屋根材の突出部の下側に沿って、これを下側から押さえる屋根押さえ片と、上記屋根押さえ片の下側に沿ってこれを支える押片と、ナットの回転を抑止するナット抑え片と、中間段部とから成る下側押さえ部材と、(d)上記上側押さえ部材及び下側押さえ部材の内樋側には、ボルト用通孔及び位置調整の為の長孔を穿設すると共に締結用のボルト・ナットを配して成る。
【0009】
上記第1と第2の発明を組み合わせて、(イ)軒先より内側に形成される屋根の内樋において、上面開放の箱形で独立して雨水を貯留可能な受樋本体を内樋用凹部に沿って連設し、隣接する該受樋本の間に寒暖差による受樋本体の熱伸縮を吸収し得る幅寸法を有する断面コの字状のジョイント部を上側から跨設し、該受樋本体の一部に貯留した雨水を地下部へと導くドレンを付設し、(ロ)(a)開放された受樋本体の上部を覆う有孔樋カバーと、(b)突出部の上側に載って屋根材を上から押さえる屋根押止片と、内樋側に入って樋カバーを上側から挟み込むカバー挟片とから成る押さえ部材上片と、該突出部の上側に載った屋根押止片と、内樋側に載って樋カバーを下側から挟み込むカバー挟片と、その中間で上記押さえ部材上片より樋カバーの厚みに対応させて長い段部を設けた押さえ部材下片とから成る上側押さえ部材と、(c)屋根材の突出部の下側に沿って、これを下側から押さえる屋根押さえ片と、上記屋根押さえ片の下側に沿ってこれを支える押片と、ナットの回転を抑止するナット抑え片と、中間段部とから成る下側押さえ部材と、(d)上記上側押さえ部材及び下側押さえ部材の内樋側には、ボルト用通孔及び位置調整の為の長孔を穿設すると共に締結用のボルト・ナットを配して成る内樋の発明を構成する。
【0010】
更に、第3の樋カバー発明は、菱形に形成したエキスパンドメタルから成り、その菱形が12×30.5〜34×76.2mmの範囲で、且つ、菱形の長手方向が上下縦方向となるよう配設して雪止め効果を有することを特徴として構成される。
【0011】
更に、上記第1の発明と第2の発明と第3の発明を組み合わせて、(イ)軒先より内側に形成される屋根の内樋において、上面開放の箱形で独立して雨水を貯留可能な受樋本体を内樋用凹部に沿って連設し、隣接する該受樋本の間に寒暖差による受樋本体の熱伸縮を吸収し得る幅寸法を有する断面コの字状のジョイント部を上側から跨設し、該受樋本体の一部に貯留した雨水を地下部へと導くドレンを付設し、(ロ)(a)開放された受樋本体の上部を覆う有孔樋カバーと、(b)突出部の上側に載って屋根材を上から押さえる屋根押止片と、内樋側に入って樋カバーを上側から挟み込むカバー挟片とから成る押さえ部材上片と、該突出部の上側に載った屋根押止片と、内樋側に載って樋カバーを下側から挟み込むカバー挟片と、その中間で上記押さえ部材上片より樋カバーの厚みに対応させて長い段部を設けた押さえ部材下片とから成る上側押さえ部材と、(c)屋根材の突出部の下側に沿って、これを下側から押さえる屋根押さえ片と、上記屋根押さえ片の下側に沿ってこれを支える押片と、ナットの回転を抑止するナット抑え片と、中間段部とから成る下側押さえ部材と、(d)上記上側押さえ部材及び下側押さえ部材の内樋側には、ボルト用通孔及び位置調整の為の長孔を穿設すると共に締結用のボルト・ナットを配して成り、(c)該樋カバーが菱形に形成したエキスパンドメタルから成り、その菱形が12×30.5〜34×76.2mmの範囲で、且つ、菱形の長手方向が上下縦方向となるよう配設して雪止め効果を有することを特徴とする内樋の構造の発明を構成する。
【0012】
【発明の実施の形態】
本願第1の発明の実施の形態を説明すると、前後左右に壁面を形成し、それ単独で雨水を貯留可能な箱形を形成する受樋本体10と、それを左右に連続させるべく結合させるジョイント部20と、貯留した雨水を地下へと導くドレン部30とから成る。
【0013】
先ず、受樋本体10は、底面11の前後に前壁12、後壁13を配し、左右に側壁14,15を配設して、上面開放の、それ単独で雨水を貯留可能な箱形に形成する。
即ち、横方向に連続させて雨水を流下させるべき従来の樋の構造を廃し、受樋本体を幾つかの独立した箱体に区分させるべき構造とし、そこに雨水を貯留させて、処理する構造とする。
該前壁12と後壁13とは、屋根の勾配に合わせて高さに差異を設け、側壁14,15にも勾配を付す。
又、該前壁12,後壁13には、内側又は外側に折り曲げて、屋根材との結合を図る突出部16,突出部17を形成するのが望ましい。図1、図2には、折曲片を内側に屈曲させた場合を示したが、図4、図8〜図10には、外側に屈曲させた場合を例示した。
【0014】
該受樋10,10の左右に連続する隣接部には、寒暖の差による受樋の伸縮を調整しつつ両者の隙間埋めて漏水を防止するジョイント部20を形成する。
該ジョイント部20は、先ず、左右の受樋の側壁14,14の上側を跨ぐべく下向きコの字状の胴体21を形成し、該胴体21のコの字の幅は、受樋本体10,10の寒暖の差による熱伸縮を充分に吸収し得る幅寸法とする。
そして、該胴体21の前に前壁12と当接する当接片22と、突出部17と接するジョイント折曲片23とを形成する。
【0015】
該ジョイント部20は、上記形態のものを一つでも良いが、望ましくは図1に示す如く、上下二つに分割し、コの字型胴体21に若干の太細の違い設けて、胴体同士が摺動してスライド自在とし、そのスライドによって上下方向に長さ調整が可能な態様とするのが望ましい。
【0016】
上記受樋本体10は、左右いずれか一方に若干の高低差を付し、その下流の溜まり部に、箱形の受樋本体10に貯留した雨水を地下部に流下させるドレン30を連結させる。
【0017】
次に、上記内樋に関する第1の発明に対して、落ち葉等の侵入を防止する為の孔空き樋カバーの構造に関する第2の発明の実施の形態を説明する。
内樋とは、図3に示す如くで、軒先から若干屋根側に入った位置に雨等を収集して排出するトタン等で形成する受樋本体10を配設する。
そのとき、樋の下端側には樋内側に向けて突き出る突出部16を形成し、例えば図1,図2の如く折曲片でも良いが、図4に示す如く葺き板16aに唐草と呼ばれる役物16bをつかみ込んで形成して置くのが望ましい。
又、樋の内側上端部にも、突出部17を形成するが、例えば図1,2の如く折曲片に形成しても良いが、図4に示す如く屋根片から延設された上掛止片17aと、同様に屋根片から一定間隔を保って下側に並設させる下掛止片17bとから成る突出部17を形成して置くのが望ましい。
上記内樋は、上側が開放されているので、そこから落ち葉等が侵入し、詰まりを起こす原因となるので、雨水を通しつつこれらを防止する有孔の樋カバー40を配設する。
【0018】
更に、該樋カバー40には、該樋カバーを屋根部材に固定させる上側押さえ部材50と下側押さえ部材60を配設する。
即ち、上側押さえ部材50は、図5に示す如く、突出部の上側に載って屋根部材を上から押さえる屋根押止片51aと、内樋側に入って樋カバーを上側から挟み込む上カバー挟片51bと、その中間の段部51cとから成る押さえ部材上片51と、同様に突出部の上側に載った屋根押止片52aと、内樋側に載って樋カバーを下側から挟み込む下カバー挟片52bと、その中間で上記押さえ部材上片より長い段部52cを形成した押さえ部材下片52とから成る。
このとき、該押さえ部材上片51の段部51cは必要に応じて設けるものであるが、押さえ部材下片52の段部52cは樋カバーを挟む為に不可欠なものである。
【0019】
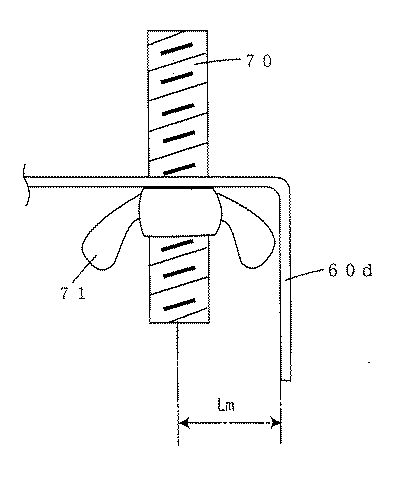
下側押さえ部材60は、屋根部材の突出部20の下側に沿って、これを下側から押さえる屋根押止片60aと、上記屋根押止片60aの下側に沿ってこれを支える押片60bと、ナットの回転を抑止するナット抑え片60dと、中間段部60eとから成る。
この上部押さえ部材50及び下側押さえ部材60の内樋側には、ボルト用通孔を穿設し、該下側押さえ部材60の通孔60dは位置調整の為の長孔とする。
【0020】
そして、上述の如く、上側押さえ部材50及び下側押さえ部材60の通孔には、ボルト70を挿通させてナット71の締付けによって両者の結合を図るが、このとき重要なのは、下側押さえ部材60とナット71との関係である。
先ず、図6及び図7に示す如く、ナット71には、その長径(RA)と短径(RB)とが異なる形状の異径ナットを用い、少なくとも円形ナットの使用は排する。
そして、そのナット71の中心位置からナット抑え片60d迄の距離をLmとしたとき、
RB<Lm<RA
の条件を満たすナット抑え片を形成しなければならない。
【0021】
尚、受樋本体10の上側には、当該樋カバー40を受ける為の支持片80を配設し、一方が屋根材と結合し、他方が樋カバー40を嵌入させる形態とする。
又、折曲片を外側に屈曲させた場合には、前壁12に添わせて鈎型の掛止片12aを配設し、屋根部材を屈曲させて雨仕舞いさせるのが望ましい。
【0022】
更に、第3の樋カバー発明は、菱形に形成したエキスパンドメタルから成り、その菱形が、図11に示すごとく、12×30.5〜34×76.2mm(横幅×縦幅)の範囲とし、菱形の長手方向が上下縦方向となるよう配設する。
【0023】
本発明内樋は、受樋本体及びジョイント部を、工場で一定規格の基に量産が可能であり、予め工場生産によって生産した受樋本体等を建築現場に搬送する。そして、それを屋根部材の受樋本体10の内樋用凹部に形成された屋根の所定位置に据え置く。このとき、受樋本体10の突出部16及び突出部17と屋根葺きトタンとを互いに屈曲嵌合させて結合させる。受樋本体10が比較的小さい場合には、図6の如く、野地板に釘打ち等で支えるべく突出部16及び突出部17を外側に屈曲させ、受樋本体10が大型で重い場合には、図3の如く、周辺を柱材で支持しつつ突出部16及び突出部17を内側に屈曲させる。
【0024】
斯くして受樋本体を並列に配設した後、その並設させた受樋の隣り同士にジョイント部20を介設させる。
該ジョイント部20の取り付けは、断面コの字状の胴体21を隣接する受樋本体10の側壁14,14に跨らせて嵌入し、両者間の隙間を上側から傘のように覆う形態とし、上下に分割させた場合には、二つの胴体21,21を摺動させつつ、前方の当接片22を受樋本体10の前壁12に当て、後方の当接片23を受樋本体10の後壁13に当接させる。
最後に、受樋本体10のドレン40を所定の地下部へと導いて、本発明内樋の取り付けは完了する。
【0025】
そして、樋として作用させるに、降雨があった場合、傾斜した屋根から雨水が流下して受樋本体10へと流れ込み、これが一旦、箱型で互いに独立した受樋本体10に貯留される。このとき、受樋本体10の隙間に流下した雨水は、隣接する受樋本体10の隙間をジョイント部20が塞いで、左右いずれかの受樋本体10に導かれる。そして、該受樋本体10に貯留された雨水は、各受樋本体10に個別に配設されたドレン40によって地下部へと浸透する。
【0026】
ところで、該受樋本体10は、夏冬の季節の違い、又、昼夜の寒暖の差によって、長手方向に熱膨張及び収縮を数mm〜数cmの単位で繰り返す。すると、従来の内樋では、その動きによって結合部に亀裂等が生じてしまい、雨漏れの原因となっていた。
しかし、本発明内樋では、受樋が長手方向に伸びると、受樋本体10は互いに独立して形成され、両者間に隙間が介在するので、該隙間によって収縮分が吸収され、結合部での亀裂等を起こさない。且つ、その隙間は断面下向きコの字状のジョイント胴体21が両者間に跨って上から覆うので、丁度傘の役割を果たし、如何に受樋本体10に伸縮があっても、それはジョイント部20の下で伸縮するだけで、雨水の漏水をまったく起こさない。
又、互いに独立した受樋本体10は、従来の連続した樋のように、一部の亀裂に対し雨水が集中する弊害も起こさない。
【0027】
上記内樋の施工が完了した後、更に内樋下端の役物をつかみ込んだ突出部20を形成し、カバー掛止部材30を形成する。
【0028】
次いで、下側押さえ部材60の長孔60dに沿って左右の位置を調整しつつ全体を内樋10側へズラして、該下側押さえ部材60を突出部16の下側に潜らす(図8参照)。
樋カバー40の上側先端を、屋根片から延設された突出部17の上掛止片17a及び下掛止片17bの間に差し込み、一端上部を掛け止め状態にする。
この結果、樋カバー40の上側は突出部17によって支持されることになる。
【0029】
そこで、ボルト71の頭部を回転ドリル等の回転治具で締め付け方向に回転させる。
このとき、ナット抑え片60dとナット71とは、
RB<Lm<RA
の関係にあるので、ボルト71の回転に従ってナット71が従動しても、その長径側がナット抑え片60dに掛かり、回転が停止される。
【0030】
ナット71が固定された結果、該ナット71を固定点としてボルト71に刻設されたネジ部螺旋に従ってナット71が上昇運動し、その上昇に押されて、下側押さえ部材60全体が上昇する(図9参照)。
すると、中間段部60eの先に形成された屋根押止片60aが突出部16の葺き板16a及び役物16bの下側から押さえ、上記上側押さえ部材50の屋根押止片51a,52aとで突出部16を挟み込んでしっかりとこれを固定する(図10参照)。
【0031】
最後に、 第三の発明を説明すると、樋カバー40の孔41の形状は、金網系、メッシュ系、パンチング系鋼板等がある。
しかしこの中で降雪に対する効果を試みたところ、下表1の通りであった。
【表1】
菱形:エキスパンドメタルで菱形の孔を形成したもの
【0032】
次に、上記エキスパンドメタルの菱形の孔41にあって、菱形の寸法を変えて雪止め効果の度合いを実験したところ、下表の通りであった。
【表2】
よって、図11のごとき、菱形で且つその大きさが12×30.5〜34×76.2mmの大きさの菱形が最も望ましく、最適値は22×50.8mmであることが判明した。
即ち、降雪があると、その底辺部は屋根からの熱及び自らの加重で一旦溶けて、それが再度の寒さで氷化することが多い。
この時、有孔カバーでは、その孔から雪が潜り込み、そこで溶けたものが再度氷結する等して固まり、丁度孔に杭を打ったのと同じ効果が得られるものと思料される(図12参照)。
そして、上記菱形の大きさが12×30.5〜34×76.2mmの範囲のものは、一旦溶けたものが再度氷化する際に杭状となるに適した表面張力を有するものと考えられる。
この結果、突起等を設けることなく、菱形の孔そのものに雪の落下防止効果をもたらすことができる。
【0033】
【発明の効果】
以上の如き構成及び作用に基づいて本発明は、
(a)熱膨張及び収縮を繰り返しても、両者間に介在する隙間によって吸収され、且つ、その隙間はコの字型のジョイントが両者間に跨って上から覆うので、丁度傘の役割を果たし、雨水漏水の問題を起こさない。
(b)内樋の施工が完了後、下側押さえ部材を長孔に沿って突出部の下側に潜らし、ボルトを締め付け方向に回転させると、ナット抑え片とナットとの関係からナットが固定され、ネジ部螺旋に従ってナットが上昇運動し、その上昇によって下側押さえ部材が上側押さえ部材との間で突出部を挟圧し、樋カバーを自動的且つ確実に固定することができる。
(c)12×30.5〜34×76.2mmの菱形に形成した樋カバーは、雪の底部融解に伴って杭打ち状となり雪の落下防止の効果を奏し、(d)更に、これらは組み合わされて多重的に効果を奏する。
【図面の簡単な説明】
【図1】本発明内樋の斜視図。
【図2】本発明ジョイント部を内樋に組み込んだ状態の一部部斜視図。
【図3】本発明内樋の縦断側面図。
【図4】 本発明内樋に樋カバーを装着した状態の縦断側面図。
【図5】樋カバーに上側押さえ部材と下側さえ部材とを組み込んだ状態の一部切欠分解斜視図。
【図6】抑え部材とナットとの関係を示す要部切欠側面図。
【図7】ナットの長径と短径の各態様を示す平面図。
【図8】上側押さえ部材と下側さえ部材とで樋カバーを装着する際の断面図で下側押さえ部材を移動させる前の状態を示す縦断側面図。
【図9】同上下側押さえ部材を左方に移動させた状態を示す縦断側面図。
【図10】下側押さえ部材で上方に締め付けた状態を示す縦断側面図。
【図11】菱形の樋カバーを拡大的に表した一部切欠正面図。
【図12】樋カバーが雪止め効果を発揮する状態を示す一部切欠縦断側面図。
【符号の説明】
10 受樋本体
11 底面
12 前壁
13 後壁
14,15 側壁
16 突出部
16a 葺板
16b 役物
17 カバー掛止部材
17a 上掛止片
17b 下掛止片
20 ジョイント部
21 胴体
22 当接片
23 ジョイント折曲片
30 ドレン
40 樋カバー
50 上側押さえ部材
51 押さえ部材上片
51a 屋根押止片
51b カバー挟片
51c 段部
51d ボルト用通孔
52 押さえ部材下片
52a 屋根押止片
52b カバー挟片
52c 段部
52d ボルト用通孔
60 下側押さえ部材
60a 屋根押さえ片
60b 押片
60c 通孔
60d ナット抑え片
60e 中間段部
70 ボルト
71 ナット
Claims (2)
- (a)開放された受樋本体の上部を覆う有孔樋カバーと、
(b)突出部の上側に載って屋根材を上から押さえる屋根押止片と、内樋側に入って樋カバーを上側から挟み込むカバー挟片とから成る押さえ部材上片と、該突出部の上側に載った屋根押止片と、内樋側に載って樋カバーを下側から挟み込むカバー挟片と、その中間で上記押さえ部材上片より樋カバーの厚みに対応させて長い段部を設けた押さえ部材下片とから成る上側押さえ部材と、
(c)屋根材の突出部の下側に沿って、これを下側から押さえる屋根押さえ片と、上記屋根押さえ片の下側に沿ってこれを支える押片と、ナットの回転を抑止するナット抑え片と、中間段部とから成る下側押さえ部材と、
(d)上記上側押さえ部材及び下側押さえ部材の内樋側には、ボルト用通孔及び位置調整の為の長孔を穿設すると共に締結用のボルト・ナット配して成ることを特徴とする樋カバーの構造。 - (イ)軒先より内側に形成される屋根の内樋において、上面開放の箱形で独立して雨水を貯留可能な受樋本体を内樋用凹部に沿って連設し、隣接する該受樋本体の間に寒暖差による受樋本体の熱伸縮を吸収し得る幅寸法を有する断面コの字状のジョイント部を上側から跨設し、該受樋本体の一部に貯留した雨水を地下部へと導くドレンを付設し、
(ロ)(a)開放された受樋本体の上部を覆う有孔樋カバーと、(b)突出部の上側に載って屋根材を上から押さえる屋根押止片と、内樋側に入って樋カバーを上側から挟み込むカバー挟片とから成る押さえ部材上片と、該突出部の上側に載った屋根押止片と、内樋側に載って樋カバーを下側から挟み込むカバー挟片と、その中間で上記押さえ部材上片より樋カバーの厚みに対応させて長い段部を設けた押さえ部材下片とから成る上側押さえ部材と、(c)屋根材の突出部の下側に沿って、これを下側から押さえる屋根押さえ片と、上記屋根押さえ片の下側に沿ってこれを支える押片と、ナットの回転を抑止するナット抑え片と、中間段部とから成る下側押さえ部材と、(d)上記上側押さえ部材及び下側押さえ部材の内樋側には、ボルト用通孔及び位置調整の為の長孔を穿設すると共に締結用のボルト・ナットを配し、
(ハ)該樋カバーが菱形に形成したエキスバンドメタルから成り、その菱形が12×30.5〜34×76.2mmの範囲で、且つ、菱形の長手方向が上下縦方向となるよう配設して雪止め効果を有すること、
を特徴とする内樋。
Priority Applications (1)
| Application Number | Priority Date | Filing Date | Title |
|---|---|---|---|
| JP2000258236A JP4189552B2 (ja) | 2000-04-17 | 2000-08-28 | 内樋及び樋カバーの構造 |
Applications Claiming Priority (3)
| Application Number | Priority Date | Filing Date | Title |
|---|---|---|---|
| JP2000-115734 | 2000-04-17 | ||
| JP2000115734 | 2000-04-17 | ||
| JP2000258236A JP4189552B2 (ja) | 2000-04-17 | 2000-08-28 | 内樋及び樋カバーの構造 |
Publications (2)
| Publication Number | Publication Date |
|---|---|
| JP2002004521A JP2002004521A (ja) | 2002-01-09 |
| JP4189552B2 true JP4189552B2 (ja) | 2008-12-03 |
Family
ID=26590263
Family Applications (1)
| Application Number | Title | Priority Date | Filing Date |
|---|---|---|---|
| JP2000258236A Expired - Fee Related JP4189552B2 (ja) | 2000-04-17 | 2000-08-28 | 内樋及び樋カバーの構造 |
Country Status (1)
| Country | Link |
|---|---|
| JP (1) | JP4189552B2 (ja) |
Families Citing this family (2)
| Publication number | Priority date | Publication date | Assignee | Title |
|---|---|---|---|---|
| CN111535520A (zh) * | 2020-04-29 | 2020-08-14 | 浙江树人学院(浙江树人大学) | 一种金属屋面天沟边伸缩支座及其安装方法 |
| WO2023150823A1 (en) * | 2022-02-08 | 2023-08-17 | Rain Harvesting Pty Ltd | Gutter mesh installation |
Family Cites Families (5)
| Publication number | Priority date | Publication date | Assignee | Title |
|---|---|---|---|---|
| JPS5724821Y2 (ja) * | 1977-02-08 | 1982-05-29 | ||
| JPS63194079A (ja) * | 1987-02-03 | 1988-08-11 | 株式会社 斎藤工務店 | 屋根の融雪法 |
| JPH0220651U (ja) * | 1988-07-18 | 1990-02-09 | ||
| JPH02125120U (ja) * | 1989-03-24 | 1990-10-16 | ||
| JP3034797B2 (ja) * | 1996-05-22 | 2000-04-17 | 元旦ビューティ工業株式会社 | 内樋を有する屋根構造 |
-
2000
- 2000-08-28 JP JP2000258236A patent/JP4189552B2/ja not_active Expired - Fee Related
Also Published As
| Publication number | Publication date |
|---|---|
| JP2002004521A (ja) | 2002-01-09 |
Similar Documents
| Publication | Publication Date | Title |
|---|---|---|
| JPH11508339A (ja) | 平らな板状の建築要素のための下張り要素 | |
| LT3491B (en) | Roofing screen for sloping roof, production method of such screen and roof constructing method | |
| JP4189552B2 (ja) | 内樋及び樋カバーの構造 | |
| NL1012483C2 (nl) | Warenhuis van het Venlo-type met tweedelige goot. | |
| JPH0349214Y2 (ja) | ||
| US20040231260A1 (en) | Under-deck grid-supported drainage system | |
| JP7171034B2 (ja) | 軒先構造、及びその施工法 | |
| JPH09137556A (ja) | 瓦桟材、瓦の施工方法及び屋根構造 | |
| JP4085226B2 (ja) | 内樋の構造及び樋カバーの構造 | |
| DE29701072U1 (de) | Seitliches Abschlußelement für Flachdächern | |
| WO2004064496A1 (ja) | 温室における屋根の構造 | |
| JPS5927445Y2 (ja) | 建築物の屋根 | |
| JPS5921206Y2 (ja) | 棟瓦等の支持金具 | |
| JP3752666B2 (ja) | コンクリート製側溝用吊上げ具、およびそれを利用するコンクリート製側溝の吊上げ運搬方法 | |
| KR102184218B1 (ko) | 스마트 천창 개폐 시스템을 포함하는 온실 | |
| JPH04327635A (ja) | 屋根材用の捨て板 | |
| JPS6157751A (ja) | 横葺屋根における登り水切修構造 | |
| JPS6328724Y2 (ja) | ||
| JP3972215B2 (ja) | つらら防止軒樋 | |
| JP2700763B2 (ja) | 落雪用軒樋 | |
| JPS6117136Y2 (ja) | ||
| JP2002070247A (ja) | 金属成型瓦 | |
| JP2008138376A (ja) | 屋根用落雪防止装置 | |
| JPH0742783B2 (ja) | 横葺き屋根構造 | |
| JPH0296046A (ja) | 軒先構造 |
Legal Events
| Date | Code | Title | Description |
|---|---|---|---|
| A621 | Written request for application examination |
Free format text: JAPANESE INTERMEDIATE CODE: A621 Effective date: 20050725 |
|
| A977 | Report on retrieval |
Free format text: JAPANESE INTERMEDIATE CODE: A971007 Effective date: 20070718 |
|
| A131 | Notification of reasons for refusal |
Free format text: JAPANESE INTERMEDIATE CODE: A131 Effective date: 20070724 |
|
| RD04 | Notification of resignation of power of attorney |
Free format text: JAPANESE INTERMEDIATE CODE: A7424 Effective date: 20070822 |
|
| A521 | Written amendment |
Free format text: JAPANESE INTERMEDIATE CODE: A523 Effective date: 20070821 |
|
| A521 | Written amendment |
Free format text: JAPANESE INTERMEDIATE CODE: A523 Effective date: 20070821 |
|
| A521 | Written amendment |
Free format text: JAPANESE INTERMEDIATE CODE: A523 Effective date: 20071112 |
|
| A131 | Notification of reasons for refusal |
Free format text: JAPANESE INTERMEDIATE CODE: A131 Effective date: 20080122 |
|
| A521 | Written amendment |
Free format text: JAPANESE INTERMEDIATE CODE: A523 Effective date: 20080205 |
|
| A131 | Notification of reasons for refusal |
Free format text: JAPANESE INTERMEDIATE CODE: A131 Effective date: 20080507 |
|
| A521 | Written amendment |
Free format text: JAPANESE INTERMEDIATE CODE: A523 Effective date: 20080630 |
|
| TRDD | Decision of grant or rejection written | ||
| A01 | Written decision to grant a patent or to grant a registration (utility model) |
Free format text: JAPANESE INTERMEDIATE CODE: A01 Effective date: 20080826 |
|
| A01 | Written decision to grant a patent or to grant a registration (utility model) |
Free format text: JAPANESE INTERMEDIATE CODE: A01 |
|
| A61 | First payment of annual fees (during grant procedure) |
Free format text: JAPANESE INTERMEDIATE CODE: A61 Effective date: 20080831 |
|
| FPAY | Renewal fee payment (event date is renewal date of database) |
Free format text: PAYMENT UNTIL: 20110926 Year of fee payment: 3 |
|
| R150 | Certificate of patent or registration of utility model |
Free format text: JAPANESE INTERMEDIATE CODE: R150 |
|
| FPAY | Renewal fee payment (event date is renewal date of database) |
Free format text: PAYMENT UNTIL: 20110926 Year of fee payment: 3 |
|
| FPAY | Renewal fee payment (event date is renewal date of database) |
Free format text: PAYMENT UNTIL: 20110926 Year of fee payment: 3 |
|
| FPAY | Renewal fee payment (event date is renewal date of database) |
Free format text: PAYMENT UNTIL: 20110926 Year of fee payment: 3 |
|
| FPAY | Renewal fee payment (event date is renewal date of database) |
Free format text: PAYMENT UNTIL: 20170926 Year of fee payment: 9 |
|
| LAPS | Cancellation because of no payment of annual fees |
