JP4008156B2 - ポリアミド樹脂製一体成形品 - Google Patents
ポリアミド樹脂製一体成形品 Download PDFInfo
- Publication number
- JP4008156B2 JP4008156B2 JP15797199A JP15797199A JP4008156B2 JP 4008156 B2 JP4008156 B2 JP 4008156B2 JP 15797199 A JP15797199 A JP 15797199A JP 15797199 A JP15797199 A JP 15797199A JP 4008156 B2 JP4008156 B2 JP 4008156B2
- Authority
- JP
- Japan
- Prior art keywords
- polyamide resin
- molded product
- polyamide
- molding material
- nigrosine
- Prior art date
- Legal status (The legal status is an assumption and is not a legal conclusion. Google has not performed a legal analysis and makes no representation as to the accuracy of the status listed.)
- Expired - Lifetime
Links
Images
Landscapes
- Injection Moulding Of Plastics Or The Like (AREA)
- Compositions Of Macromolecular Compounds (AREA)
Description
【発明の属する技術分野】
本発明は、ポリアミド樹脂製一体成形品に関し、詳しくは、射出溶着法により一体化されたポリアミド樹脂製一体成形品に関する。
【0002】
【従来の技術】
ポリアミド樹脂は、機械的特性、耐熱性、耐薬品性、耐摩耗性などに優れており、鉄、亜鉛、アルミニウムなどの金属に替わる材料として用いられており、射出成形方法により樹脂製品が作られていることが多い。しかし、製品の形状が例えば中空成形品である場合、一つの通常の金型では成形できない。
【0003】
近年、ポリアミド樹脂の用途として、例えば自動車エンジンのインテークマニホールド、吸気レゾネータ、リザーバタンクなどの中空形状部品への使用が試みられている。こうした製品の製造方法としては、例えば、中空成形品を二分割した分割体をそれぞれ成形し、その分割体を振動溶着等により接合する方法等が挙げられるが、例えば振動溶着法により溶着するためには分割体の形状に制約があり、複雑な形状の樹脂製品を得ることは困難である。
【0004】
一方、一次成形により成形した分割体をそれぞれ金型キャビティ内に装着し、突き合わせ面の周縁に樹脂を射出成形し、金型内で分割体を溶着させる射出溶着法においては、分割体形状についての制約が少なく、複雑な形状の製品を作ることが比較的容易である。しかし、射出溶着法により得られる製品の接合強度は、振動溶着法に比べて、一般に低く、例えば、インテークマニホールドのようにエンジンのバックファイアなどによって内圧が増大する可能性のある中空管においては、十分な信頼性のある製品を得ることが困難である。
【0005】
【発明が解決しようとする課題】
本発明の目的は、機械的強度、耐熱性、耐薬品性等に優れ、且つ溶着強度に優れたポリアミド樹脂製一体成形品を提供することにある。
【0006】
【課題を解決するための手段】
本発明は、上述の問題を解決するためになされたものであり、その要旨は、一次成形材料からなる単数または複数の一次成形品の表面に、二次成形材料を射出成形し、一次成形品と二次成形材料からなる成形品部分とが溶着してなるポリアミド樹脂製一体成形品であって、一次成形材料および二次成形材料が、それぞれ、ポリアミド樹脂100重量部に対してガラス繊維0〜100重量部およびニグロシンまたはニグロシン誘導体0.05〜10重量部を配合してなるポリアミド樹脂組成物であり、該成形品の溶着強度が改善されたことを特徴とするポリアミド樹脂製一体成形品に存する。
【0007】
以下、本発明につき詳細に説明する。
本発明のポリアミド樹脂製一体成形品は、金型内の、一次成形材料であるポリアミド樹脂組成物からなる一次成形品の表面に、二次成形材料であるポリアミド樹脂組成物を射出成形し、一次成形品と二次成形材料からなる成形品部分とが溶着してなるポリアミド樹脂製一体成形品である。一次成形品の数としては単数または複数である。一次成形材料および二次成形材料としては、それぞれ、ポリアミド樹脂100重量部に対してガラス繊維0〜100重量部およびニグロシンまたはニグロシン誘導体0.05〜10重量部を含有するポリアミド樹脂組成物である。二次成形材料であるポリアミド樹脂組成物は、一次成形材料であるポリアミド樹脂組成物と同じであっても、異なっていてもよく、好ましくは同じである。
【0008】
本発明におけるポリアミド樹脂としては、重合可能なω−アミノ酸類もしくはそのラクタム類、好ましくは3員環以上のラクタム、または二塩基酸類とジアミン類などを原料とし、これらの重縮合によって得られるポリアミド樹脂である。ω−アミノ酸類としては、ε−アミノカプロン酸、7−アミノヘプタン酸、9−アミノノナン酸、11−アミノウンデカン酸、12−アミノドデカン酸が挙げられる。ラクタム類としては、ε−カプロラクタム、エナントラクタム、カプリルラクタム、ラウリルラクタム、α−ピロリドン、α−ピペリドンが挙げられる。
【0009】
二塩基酸類としては、アジピン酸、グルタル酸、ピメリン酸、スベリン酸、アゼライン酸、セバシン酸、ダイマー酸、ウンデカンジオン酸、ドデカジオン酸、ヘキサデカジオン酸、ヘキサデセンジオン酸、エイコサンジオン酸、エイコサジエンジオン酸、ジグリコール酸、2,2,4−トリメチルアジピン酸、キシリレンジカルボン酸、1,4−シクロヘキサンジカルボン酸、テレフタル酸、イソフタル酸が挙げられる。ジアミン類としては、ヘキサメチレンジアミン、テトラメチレンジアミン、ノナメチレンジアミン、ウンデカメチレンジアミン、ドデカメチレンジアミン、2,2,4(または2,4,4)−トリメチルヘキサメチレンジアミン、ビス−(4,4’−アミノシクロヘキシル)メタン、メタキシリレンジアミンが挙げられる。
【0010】
ポリアミド樹脂の具体例としては、ポリアミド6、ポリアミド66、ポリアミド6/66共重合体、これらの混合物などが挙げられ、好ましくは、ポリアミド6、ポリアミド6とポリアミド6/66共重合体との混合物などが挙げられる。ポリアミド6/66共重合体におけるポリアミド66成分の割合は、好ましくは2〜25重量%である。ポリアミド66成分の割合が多すぎると溶着強度が低下しやすい。ポリアミド6とポリアミド6/66共重合体との混合物における混合割合は、好ましくはポリアミド6が100〜20重量%でありポリアミド6/66共重合体が0〜80重量%である。ポリアミド6/66共重合体の割合が多すぎると耐熱性が低下しやすい。
【0011】
ポリアミド樹脂の相対粘度は、JIS K6810に従って98%硫酸中濃度1%、温度25℃で測定した値で、好ましくは2.0〜4.0である。相対粘度が低すぎると得られる成形品が脆くなり、高すぎると流動性を損なう。ポリアミド樹脂の相対粘度は、より好ましくは2.2〜3.7である。使用されるポリアミド樹脂が複数の場合は、それら混合物の相対粘度が上記の範囲内であることが好ましい。
【0012】
本発明におけるガラス繊維としては、通常、熱可塑性樹脂に使用されるものでよく、Eガラス(無アルカリガラス)から作られるチョップドストランドが好ましい。繊維径は好ましくは1〜20μmであり、より好ましくは5〜15μmである。また、ガラス繊維はポリアミド樹脂との接着向上のためシランカップリング剤などで表面処理されていることが好ましい。ガラス繊維の配合量は、ポリアミド樹脂100重量部に対して0〜100重量部である。ガラス繊維の含有量が多すぎると表面平滑性が損なわれる。ガラス繊維の配合量はポリアミド樹脂100重量部に対して、より好ましくは20〜80重量部である。
【0013】
本発明におけるニグロシンまたはニグロシン誘導体としては、ニトロベンゼン、アニリン、アニリン塩酸塩の混合物を鉄または銅の存在化で加熱縮合して得られる黒色系の染料が挙げられる。これらには、アルカリ化してベース化したものやスルホン化などにより水溶性化したものがある。ニグロシンまたはニグロシン誘導体は反応条件、反応物の相対比などにより生成物を異にするが、トリフェナジンオキサジンやフェナジナジンなどのアジン系化合物の混合物である。
【0014】
ニグロシンまたはニグロシン誘導体の具体例としては、NIGROSINE BASE EXBP、NUBIAN COMPLEX BLACK G−02、NUBIAN BLACK PA−0800、NUBIAN BLACK PA−0801、NUBIAN BLACK EP−3、NIGROSINE BASE EE、NIGROSINE BASE EX、SPECIAL BLACK EB、NIGROSINE BASE SA、NIGROSINE BASE SAP及びNIGROSINE BASE NB(いずれもオリエント化学工業株式会社製)等が挙げられる。ニグロシンまたはニグロシン誘導体の配合量は、ポリアミド樹脂100重量部に対して0.05〜10重量部である。配合量が少なすぎると溶着強度が低下しやすい。ニグロシンまたはニグロシン誘導体の配合量はポリアミド樹脂100重量部に対して、好ましくは0.1〜5重量部である。
【0015】
本発明における樹脂組成物中には、本発明の効果を損なわない範囲において、ガラス繊維以外の無機充填材、例えばガラスフレーク、ガラスビーズ、マイカ、タルク、カオリン、ウォラストナイト、チタン酸カリウムウィスカー等を配合してもよく、また、銅化合物などの熱安定剤、離型剤、カーボンブラックなどの着色剤等の公知の添加剤を配合してもよい。また、ヨウ化カリウムなどのヨウ化アルカリ金属塩やヨウ化アルカリ土類金属塩を配合することも溶着強度を改良する上で好ましい。これらの配合は、樹脂の重合から成形までの任意の段階で実施されるが、押出機を用いて溶融混練するのが好ましい。
【0016】
本発明のポリアミド樹脂製一体成形品は、少なくとも1個、好ましくは分割された複数個の一次成形品、二次成形部分および溶着部分から構成されているとも言える。溶着部分は、一次成形品の一部と二次成形材料からなり、一次成形品と二次成形材料からなる成形部分は溶着部分の境界で一体化されている。即ち、一次成形品は二次成形材料により溶着部分で被覆されており、こうした溶着部分は一次成形品と二次成形部分の境界として目視できる。従って、本発明のポリアミド樹脂製一体成形品は、一次成形材料からなる単数または複数の一次成形品の表面に、二次成形材料を射出成形し、一次成形品と二次成形材料からなる成形品部分とが溶着してなる一体成形品であって、一次成形品および二次成形材料からなる成形品部分からなり、且つ溶着部分を有する一体成形品とも言える。
【0017】
他方、振動溶着・スピン溶着・熱板溶着・超音波溶着などの方法で製造される溶着品は分割された複数個の成形品と溶着された部分から構成され、二次成形部分は存在しない。また、本発明のポリアミド樹脂製一体成形品は、一次成形材料と二次成形材料とが同じである場合であっても、一体成形品は溶着部分を有するので、一度に成形した成形品とは明らかに異なり、複数の一次成形品に二次成形材料を射出溶着することで中空形状のような比較的複雑な成形品が得られる。
【0018】
本発明のポリアミド樹脂製一体成形品を得るには、例えば、一次成形材料としてポリアミド樹脂組成物を成形し、単数または複数の一次成形品を得、得られた一次成形品の表面に、二次成形材料であるポリアミド樹脂組成物を射出成形し、一次成形品と二次成形材料からなる成形品部分とが溶着する方法が挙げられ、より具体的には、一次成形材料としてポリアミド樹脂組成物を成形し、単数または複数の一次成形品を製造し、二次成形のための金型内の一次成形品の表面に二次成形材料であるポリアミド樹脂組成物を射出成形し、一次成形品と二次成形材料からなる成形品部分とを溶着し、一次成形品と二次成形材料からなる成形品部分からなるポリアミド樹脂製一体成形品を金型から取り出す方法が挙げられる。
一体成形品が、例えば中空体である場合においては、まず中空体を二分割した分割体を射出成形により成形し一次成形品とし、各分割体を二次成形の金型キャビティ内に装着後二次成形材料を射出成形し、分割体と二次成形材料とが溶着し、中空体である射出溶着成形品を得ることができる。
【0019】
本発明におけるポリアミド樹脂組成物を用いて中空成形品を得る場合、一次成形と二次成形にはそれぞれ別個の金型を用い、一次成形品を二次成形の金型に移して行なうこともできるし、例えば、特開平62−87315号公報に記載されているように、金型にスライド機構を設け、一次成形を行い型開き後、二分割成形された一次成形品の一方を金型内で移動して他方の分割体と突き合わせてから二次成形を行なうこともできる。ただし、後者の方法においては、一次成形材料と二次成形材料の種類が異なる場合は2本のシリンダーを有する成形機を使用する必要がある。
【0020】
【実施例】
以下、本発明を実施例により更に詳細に説明するが、本発明はその要旨を越えない限り、以下の実施例に限定されるものではない。
使用した原材料は下記の通りである。
(1)ポリアミド6樹脂:三菱エンジニアリングプラスチックス(株)製、相対粘度2.8。
(2)ポリアミド6/66共重合体:三菱エンジニアリングプラスチックス(株)製、ポリアミド6成分85重量%、ポリアミド66成分15重量%、相対粘度2.8。
(3)ガラス繊維:日本電気ガラス社製、ECS03T249GH、繊維径10μm。
【0021】
(4)ニグロシン又はニグロシン誘導体−1:オリエント化学工業社製、NUBIAN BLACK EP−3。
(5)ニグロシン又はニグロシン誘導体−2:オリエント化学工業社製、NUBIAN BLACK PA−0801。
(6)カーボンブラック:三菱化学株式会社製、カーボンブラックH−950。
【0022】
(7)ポリアミドの相対粘度の測定:JISのK6810に従って98%硫酸中濃度1%、温度25℃で測定した。
(8)溶着強度の測定:一体成形品(図−1に示す試験片B)を、引張速度5mm/min、チャック間距離115mmの条件で引っ張り、破断時の荷重を測定し、その大きさをkgfで表しこれを溶着強度とした。
【0023】
〔実施例1〜3〕
ポリアミド6樹脂、ポリアミド6/66共重合体、ガラス繊維およびニグロシン又はニグロシン誘導体を表−1に示す配合量で配合し、二軸押出機で溶融混練しポリアミド樹脂組成物を得た。得られたポリアミド樹脂組成物(一次成形材料)を用いて、射出成形機(ファナック株式会社製AUTOSHOT 50B型)により、表−2に示す成形条件で、図−1に示す試験片A(一次成形品)を成形し、熱風オーブン(120℃)中で30分間保持して取り出した後、直ちに二次成形金型内に装着し、上記の得られたポリアミド樹脂組成物(二次成形材料)を用いて試験片Bを射出成形し、試験片Aと二次成形材料からなる成形品部分とを金型内で溶着させ射出溶着一体成形品を得た。得られた射出溶着一体成形品について射出溶着強度を測定した。
【0024】
〔比較例1〕
ポリアミド6樹脂、ポリアミド6/66共重合体およびガラス繊維を表−1に示す配合量で配合し、二軸押出機で溶融混練しポリアミド樹脂組成物を得た。得られたポリアミド樹脂組成物を用いて、実施例1と同様にして射出溶着一体成形品を得、実施例1と同様にして射出溶着強度を測定した。
〔比較例2〕
ポリアミド6樹脂およびガラス繊維を表−1に示す配合量で配合し、二軸押出機で溶融混練しポリアミド樹脂組成物を得た。得られたポリアミド樹脂組成物を用いて、実施例1と同様にして射出溶着一体成形品を得、実施例1と同様にして射出溶着強度を測定した。
〔比較例3〕
ポリアミド6樹脂、ポリアミド6/66共重合体、ガラス繊維、およびニグロシン又はニグロシン誘導体を表−1に示す配合量で配合し、二軸押出機で溶融混練しポリアミド樹脂組成物を得た。得られたポリアミド樹脂組成物を用いて、実施例1と同様にして射出溶着一体成形品を得、実施例1と同様にして射出溶着強度を測定した。
【0025】
【表1】
【0026】
【表2】
【0027】
【発明の効果】
本発明のポリアミド樹脂製一体成形品は、機械的強度、耐熱性、耐薬品性等に優れ、且つ溶着強度に優れている。本発明のポリアミド樹脂製一体成形品は中空成形品である場合でも溶着強度に優れ、自動車のインテークマニホールド、吸気レゾネータ、リザーバタンク等の部品として好適である。。
【図面の簡単な説明】
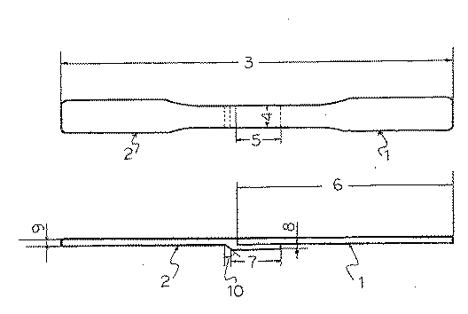
【図1】一次成形品(試験片A)と二次成形材料との溶着強度を測定するためのポリアミド樹脂製一体成形品試料(試験片B)の形状説明図。
【符号の説明】
1 試験片Bにおける試験片Aの部分
2 試験片Bにおける二次成形材料からなる成形品部分
3 218mm
4 12.82mm
5 25mm
6 121.5mm
7 28mm
8 3.0mm
9 3.0mm
10 45度
Claims (4)
- 一次成形材料からなる単数または複数の一次成形品の表面に、二次成形材料を射出成形し、一次成形品と二次成形材料からなる成形品部分とが溶着してなるポリアミド樹脂製一体成形品であって、一次成形材料および二次成形材料が、それぞれ、ポリアミド樹脂100重量部に対してガラス繊維0〜100重量部およびニグロシンまたはニグロシン誘導体0.05〜10重量部を配合してなるポリアミド樹脂組成物であり、該ニグロシンまたはニグロシン誘導体の配合により該成形品の溶着強度が改善されたことを特徴とするポリアミド樹脂製一体成形品。
- ポリアミド樹脂が、ポリアミド6、ポリアミド6/66共重合体またはポリアミド6とポリアミド6/66共重合体との混合物であることを特徴とする請求項1に記載のポリアミド樹脂製一体成形品。
- ポリアミド樹脂の相対粘度が、98%硫酸中濃度1%、温度25℃での測定で、2.0〜4.0であることを特徴とする請求項1または2に記載のポリアミド樹脂製一体成形品。
- ガラス繊維の配合量が10〜100重量部であることを特徴とする請求項1ないし3のいずれかに記載のポリアミド樹脂製一体成形品。
Priority Applications (1)
| Application Number | Priority Date | Filing Date | Title |
|---|---|---|---|
| JP15797199A JP4008156B2 (ja) | 1998-06-08 | 1999-06-04 | ポリアミド樹脂製一体成形品 |
Applications Claiming Priority (3)
| Application Number | Priority Date | Filing Date | Title |
|---|---|---|---|
| JP15872498 | 1998-06-08 | ||
| JP10-158724 | 1998-06-08 | ||
| JP15797199A JP4008156B2 (ja) | 1998-06-08 | 1999-06-04 | ポリアミド樹脂製一体成形品 |
Publications (2)
| Publication Number | Publication Date |
|---|---|
| JP2000061983A JP2000061983A (ja) | 2000-02-29 |
| JP4008156B2 true JP4008156B2 (ja) | 2007-11-14 |
Family
ID=26485244
Family Applications (1)
| Application Number | Title | Priority Date | Filing Date |
|---|---|---|---|
| JP15797199A Expired - Lifetime JP4008156B2 (ja) | 1998-06-08 | 1999-06-04 | ポリアミド樹脂製一体成形品 |
Country Status (1)
| Country | Link |
|---|---|
| JP (1) | JP4008156B2 (ja) |
Families Citing this family (7)
| Publication number | Priority date | Publication date | Assignee | Title |
|---|---|---|---|---|
| EP1388564A1 (en) * | 2002-08-08 | 2004-02-11 | DSM IP Assets B.V. | Polyamide composition, process of preparation and use for making moulded articles |
| JP4451200B2 (ja) | 2004-04-26 | 2010-04-14 | 康治 友田 | ポリアミド樹脂一体成形物およびその製造方法ならびにポリアミド樹脂の接合助剤 |
| EP2356174B1 (de) * | 2008-11-11 | 2012-09-19 | Basf Se | Stabilisierte polyamide |
| US20120108131A1 (en) * | 2010-10-29 | 2012-05-03 | E. I. Du Pont De Nemours And Company | Polyamide composite structures and processes for their preparation |
| EP3047954B1 (en) | 2013-09-18 | 2020-03-18 | Kuraray Co., Ltd. | Molded article manufacturing method, injection welding material, and molded article |
| BR112020007184A2 (pt) * | 2017-11-23 | 2020-09-24 | Basf Se | composição de poliamida, processo de produção de composições, uso de composição, molde soldável, uso de álcoois póli-hídricos e processo de aumento da resistência de costura |
| JP7525290B2 (ja) * | 2020-04-20 | 2024-07-30 | 旭化成株式会社 | ポリアミド樹脂組成物及び成形品 |
-
1999
- 1999-06-04 JP JP15797199A patent/JP4008156B2/ja not_active Expired - Lifetime
Also Published As
| Publication number | Publication date |
|---|---|
| JP2000061983A (ja) | 2000-02-29 |
Similar Documents
| Publication | Publication Date | Title |
|---|---|---|
| JP4284808B2 (ja) | 射出溶着用材料 | |
| JP6346181B2 (ja) | 半芳香族ポリアミド樹脂組成物およびそれを含む成型品 | |
| KR20020074079A (ko) | 강화 열가소성 폴리아미드 성형재료, 이의 제조방법 및이의 용도 | |
| JP2016138163A (ja) | 半芳香族ポリアミド樹脂組成物、及びそれを含む成形品 | |
| JP2017210514A (ja) | ポリアミド樹脂組成物 | |
| JP4008156B2 (ja) | ポリアミド樹脂製一体成形品 | |
| JPH08259808A (ja) | ポリアミド樹脂製振動溶着中空体成形品 | |
| JPWO2018074495A1 (ja) | ポリアミド樹脂組成物 | |
| US6265081B1 (en) | Integrally molded articles of polyamide resins | |
| JP5737489B2 (ja) | ガスインジェクション用ポリアミド樹脂組成物 | |
| US20040235987A1 (en) | Polyamide-based thermoplastic molding materials and single-piece and multiple-piece plastic shaped bodies made from said thermoplastic molding materials | |
| JPH1036664A (ja) | ポリアミド樹脂製振動溶着中空体成形品 | |
| JP6250339B2 (ja) | ポリアミド樹脂組成物を成形して得られ、かつ、中空部分がある成形体の、内面平滑性を向上させる方法 | |
| CN109790376B (zh) | 聚合物组合物、模塑部件及其制备方法 | |
| JP2016166276A (ja) | ポリアミド樹脂中空成形体 | |
| JP3730411B2 (ja) | ポリアミド樹脂製一体成形品 | |
| JPH11129284A (ja) | ポリアミド樹脂製一体成形品 | |
| JPH11116799A (ja) | 溶着用ポリアミド組成物 | |
| JP5637772B2 (ja) | ポリアミド溶着成形品 | |
| JPH11198325A (ja) | ポリアミド樹脂製一体成形品 | |
| JPH10264203A (ja) | ポリアミド樹脂製一体成形品の製造方法 | |
| JP7444743B2 (ja) | 尿素scrシステム用部品、キットおよび尿素scrシステム用部品の製造方法 | |
| JP2003277604A (ja) | ガラス繊維強化樹脂組成物 | |
| JPH11166118A (ja) | 射出溶着成形用ポリアミド樹脂組成物 | |
| JP2001181500A (ja) | ウエルドを有する成形品用ナイロン樹脂組成物 |
Legal Events
| Date | Code | Title | Description |
|---|---|---|---|
| A621 | Written request for application examination |
Free format text: JAPANESE INTERMEDIATE CODE: A621 Effective date: 20050502 |
|
| RD01 | Notification of change of attorney |
Free format text: JAPANESE INTERMEDIATE CODE: A7421 Effective date: 20050502 |
|
| A977 | Report on retrieval |
Free format text: JAPANESE INTERMEDIATE CODE: A971007 Effective date: 20060620 |
|
| A131 | Notification of reasons for refusal |
Free format text: JAPANESE INTERMEDIATE CODE: A131 Effective date: 20060711 |
|
| A02 | Decision of refusal |
Free format text: JAPANESE INTERMEDIATE CODE: A02 Effective date: 20061219 |
|
| A521 | Request for written amendment filed |
Free format text: JAPANESE INTERMEDIATE CODE: A523 Effective date: 20070219 |
|
| A911 | Transfer to examiner for re-examination before appeal (zenchi) |
Free format text: JAPANESE INTERMEDIATE CODE: A911 Effective date: 20070514 |
|
| A131 | Notification of reasons for refusal |
Free format text: JAPANESE INTERMEDIATE CODE: A131 Effective date: 20070703 |
|
| A521 | Request for written amendment filed |
Free format text: JAPANESE INTERMEDIATE CODE: A523 Effective date: 20070710 |
|
| TRDD | Decision of grant or rejection written | ||
| A01 | Written decision to grant a patent or to grant a registration (utility model) |
Free format text: JAPANESE INTERMEDIATE CODE: A01 Effective date: 20070828 |
|
| A61 | First payment of annual fees (during grant procedure) |
Free format text: JAPANESE INTERMEDIATE CODE: A61 Effective date: 20070829 |
|
| FPAY | Renewal fee payment (event date is renewal date of database) |
Free format text: PAYMENT UNTIL: 20100907 Year of fee payment: 3 |
|
| R150 | Certificate of patent or registration of utility model |
Ref document number: 4008156 Country of ref document: JP Free format text: JAPANESE INTERMEDIATE CODE: R150 Free format text: JAPANESE INTERMEDIATE CODE: R150 |
|
| FPAY | Renewal fee payment (event date is renewal date of database) |
Free format text: PAYMENT UNTIL: 20100907 Year of fee payment: 3 |
|
| FPAY | Renewal fee payment (event date is renewal date of database) |
Free format text: PAYMENT UNTIL: 20110907 Year of fee payment: 4 |
|
| R250 | Receipt of annual fees |
Free format text: JAPANESE INTERMEDIATE CODE: R250 |
|
| FPAY | Renewal fee payment (event date is renewal date of database) |
Free format text: PAYMENT UNTIL: 20120907 Year of fee payment: 5 |
|
| R250 | Receipt of annual fees |
Free format text: JAPANESE INTERMEDIATE CODE: R250 |
|
| FPAY | Renewal fee payment (event date is renewal date of database) |
Free format text: PAYMENT UNTIL: 20130907 Year of fee payment: 6 |
|
| R250 | Receipt of annual fees |
Free format text: JAPANESE INTERMEDIATE CODE: R250 |
|
| R250 | Receipt of annual fees |
Free format text: JAPANESE INTERMEDIATE CODE: R250 |
|
| R250 | Receipt of annual fees |
Free format text: JAPANESE INTERMEDIATE CODE: R250 |
|
| R250 | Receipt of annual fees |
Free format text: JAPANESE INTERMEDIATE CODE: R250 |
|
| R250 | Receipt of annual fees |
Free format text: JAPANESE INTERMEDIATE CODE: R250 |
|
| R250 | Receipt of annual fees |
Free format text: JAPANESE INTERMEDIATE CODE: R250 |
|
| R250 | Receipt of annual fees |
Free format text: JAPANESE INTERMEDIATE CODE: R250 |
|
| EXPY | Cancellation because of completion of term |
