JP3887828B2 - 電子機器 - Google Patents
電子機器 Download PDFInfo
- Publication number
- JP3887828B2 JP3887828B2 JP52816399A JP52816399A JP3887828B2 JP 3887828 B2 JP3887828 B2 JP 3887828B2 JP 52816399 A JP52816399 A JP 52816399A JP 52816399 A JP52816399 A JP 52816399A JP 3887828 B2 JP3887828 B2 JP 3887828B2
- Authority
- JP
- Japan
- Prior art keywords
- coil
- coils
- charging
- signal
- inner diameter
- Prior art date
- Legal status (The legal status is an assumption and is not a legal conclusion. Google has not performed a legal analysis and makes no representation as to the accuracy of the status listed.)
- Expired - Lifetime
Links
Images
Classifications
-
- H—ELECTRICITY
- H01—ELECTRIC ELEMENTS
- H01F—MAGNETS; INDUCTANCES; TRANSFORMERS; SELECTION OF MATERIALS FOR THEIR MAGNETIC PROPERTIES
- H01F38/00—Adaptations of transformers or inductances for specific applications or functions
- H01F38/14—Inductive couplings
-
- H—ELECTRICITY
- H01—ELECTRIC ELEMENTS
- H01M—PROCESSES OR MEANS, e.g. BATTERIES, FOR THE DIRECT CONVERSION OF CHEMICAL ENERGY INTO ELECTRICAL ENERGY
- H01M10/00—Secondary cells; Manufacture thereof
- H01M10/42—Methods or arrangements for servicing or maintenance of secondary cells or secondary half-cells
- H01M10/46—Accumulators structurally combined with charging apparatus
-
- H—ELECTRICITY
- H02—GENERATION; CONVERSION OR DISTRIBUTION OF ELECTRIC POWER
- H02J—ELECTRIC POWER NETWORKS; CIRCUIT ARRANGEMENTS OR SYSTEMS FOR SUPPLYING OR DISTRIBUTING ELECTRIC POWER; SYSTEMS FOR STORING ELECTRIC ENERGY
- H02J50/00—Circuit arrangements or systems for wireless supply or distribution of electric power
- H02J50/10—Circuit arrangements or systems for wireless supply or distribution of electric power using inductive coupling
-
- H—ELECTRICITY
- H02—GENERATION; CONVERSION OR DISTRIBUTION OF ELECTRIC POWER
- H02J—ELECTRIC POWER NETWORKS; CIRCUIT ARRANGEMENTS OR SYSTEMS FOR SUPPLYING OR DISTRIBUTING ELECTRIC POWER; SYSTEMS FOR STORING ELECTRIC ENERGY
- H02J7/00—Circuit arrangements for charging or discharging batteries or for supplying loads from batteries
- H02J7/70—Circuit arrangements for charging or discharging batteries or for supplying loads from batteries characterised by the mechanical construction
- H02J7/731—Circuit arrangements for charging or discharging batteries or for supplying loads from batteries characterised by the mechanical construction specially adapted for holding portable devices containing batteries
-
- Y—GENERAL TAGGING OF NEW TECHNOLOGICAL DEVELOPMENTS; GENERAL TAGGING OF CROSS-SECTIONAL TECHNOLOGIES SPANNING OVER SEVERAL SECTIONS OF THE IPC; TECHNICAL SUBJECTS COVERED BY FORMER USPC CROSS-REFERENCE ART COLLECTIONS [XRACs] AND DIGESTS
- Y02—TECHNOLOGIES OR APPLICATIONS FOR MITIGATION OR ADAPTATION AGAINST CLIMATE CHANGE
- Y02E—REDUCTION OF GREENHOUSE GAS [GHG] EMISSIONS, RELATED TO ENERGY GENERATION, TRANSMISSION OR DISTRIBUTION
- Y02E60/00—Enabling technologies; Technologies with a potential or indirect contribution to GHG emissions mitigation
- Y02E60/10—Energy storage using batteries
Landscapes
- Engineering & Computer Science (AREA)
- Power Engineering (AREA)
- Computer Networks & Wireless Communication (AREA)
- Manufacturing & Machinery (AREA)
- Chemical & Material Sciences (AREA)
- Chemical Kinetics & Catalysis (AREA)
- Electrochemistry (AREA)
- General Chemical & Material Sciences (AREA)
- Charge And Discharge Circuits For Batteries Or The Like (AREA)
- Secondary Cells (AREA)
Description
この発明は、2つの機器の一方から他方へ非接触で充電を行うことができる電子機器、または、2つの機器間で一方向または双方向にデータ転送が可能な電子機器に関し、たとえば、充電可能な2次電池を電源とする電動歯ブラシ、電動ひげそり、コードレス電話、携帯電話、PHS(Personal Handy-phone System;簡易型携帯電話システム)、モバイルパソコン、小型情報機器、電子時計等の機器と、これに非接触で充電を行う機器とを有する電子機器に関する。
技術背景
近年、携帯端末や電子時計などのような小型携帯電子機器をステーションと呼ばれる充電機器に収容して、当該携帯電子機器への充電とともに、当該携帯電子機器との信号転送などが行われつつある。ここで、充電や信号転送などについて電気的接点を介して行う構成にすると、これら接点が露出するため、防水性の面において問題が発生する。このため、充電や信号転送などは、ステーションと携帯電子機器との双方に配設されたコイルの電磁的な結合によって非接触で行う構成が望ましい。
このような構成において、ステーション側のコイルに高周波信号を印加すると、外部磁界が発生して、携帯電子機器側のコイルに誘起電圧が発生する。そして、この誘起電圧をダイオード等により整流することにより、携帯電子機器に内蔵された二次電池を非接触で充電することが可能となる。また、両者コイルの電磁的な結合により、ステーションから携帯電子機器へ、あるいは、携帯電子機器からステーションへと信号を非接触で双方向に転送することも可能となる。
ところで、ステーション側のコイルおよび携帯電子機器側のコイルには、互いに電磁的に結合することだけではなく、充電や信号転送の効率を高めることも要求される。
そこで、従来では、携帯電子機器がステーションに収容された場合に、両コイルの巻回面が平行であって、それらの中心が一致する位置関係を確保する構成となっていた。
しかしながら、携帯電子機器をステーションに収容するだけで、両コイルを上記位置関係とするのは、例えば、コイルがステーションあるいは携帯電子機器に配設される精度などによって困難である。このため、本質的に、両コイルが多少位置ずれしても、その影響を受けにくい構成が要求されている。
一方、その他の背景技術として図17に示す装置について説明する。この装置は、充電可能な2次電池と、非接触で充電する充電器を有する電子機器の一例であり、例えば日本国実用新案登録公開公報60−8636に示されている。
図17において、51はスタンド、52は電源プラグ、53は歯ブラシの柄、54は電源コード、56は2次電池、L1、L2は1次コイル、L3は2次コイル、D1、D2はダイオード、Trはトランジスタ、C1、C2、C3はコンデンサ、R1は抵抗を示す。この装置は電動歯ブラシに適用した例であり、スタンド51に充電部があり、歯ブラシの柄53に被充電部がある。そして、スタンド51には、トランスの1次側コイルL1、L2、トランジスタTr、抵抗R1、コンデンサC2、C3で構成された高周波発振器(自励発振回路)を備えており、前記高周波発振回路から外部に電磁界を発生するように構成されている。
また、歯ブラシの柄53の充電部には、前記充電部の1次コイルL1、L2と電磁結合して電圧誘起させるために、トランスの2次側コイルL3を設けると共に、整流用のダイオードD2、2次電池(Ni−Cd電池)56が設けてある。
この電動歯ブラシは、歯ブラシの使用時には、人が歯ブラシの柄53を持ってスタンド51から取り出して使用するが、使用しない時は、歯ブラシをスタンド51に立てて保管する。
この保管状態で、充電部の1次コイルL1、L2と被充電部の2次コイルL3が電磁結合するので、被充電部の2次コイルL3には電圧が誘起する。そして、この誘起した電圧によりダイオードD2を介して2次電池56が充電される。
図17に示す電子機器においては、次のような課題があった。
まず、電動歯ブラシが水まわりで使用されることが前提となっているため、スタンド51と歯ブラシの柄53は内部の回路部品が水で濡れることがないように、例えばパッキンを介した防水構造となっている。さらに、水道の蛇口からの水圧によっても防水構造が維持できるように、それぞれを構成する部材には、水圧による変形を押さえるための強度が必要となる。このため、歯ブラシの柄53の外側の樹脂部分の厚みと、スタンド51のハウジングを構成する樹脂部分の厚みがある程度必要となり、そのため、1次、及び2次コイル間の距離が大きくなってしまい、電磁結合が弱まり、充電用の2次電池への充電電流が極端に小さくなってしまい、充電用の2次電池を短時間で急速充電できない。ここで、歯ブラシの柄53、あるいはスタンド51のハウジング材料をステンレス等の剛性の高い金属材料とすると、1次、及び2次コイル間の距離は小さくできるが、導伝材である金属材料上に渦電流が発生し、電磁結合を弱め、結局充電用の2次電池を短時間で急速充電できない。
発明の開示
本発明は上述した背景の下になされたものであり、その主たる目的には以下のものがある。第1の目的は、非接触充電において、充電部から被充電部への電力伝送効率を向上させることにより、2次電池の急速充電を可能にすることにある。
また、この発明の第2の目的は、非接触型データ転送器において、データ送信部からデータ受信部への転送効率を向上させることにより、S/N比が高く信頼性の高いデータ転送を可能とすることにある。
上記第1、第2の目的を達成するため、この発明においては、第1の機器と第2の機器とが、互いに対向するコイル巻回面が略平行にそれぞれ配設されたコイルの電磁的な結合により電力転送あるいは信号転送する電子機器であって、前記第1のコイル外径/第2のコイルの外径の比が、0.7以上1.3以下であることを特徴としている。
さらに、他の構成にあっては、第1の機器と第2の機器とが、互いに対向するコイル巻回面が略平行にそれぞれ配設されたコイルの電磁的な結合により電力転送あるいは信号転送する電子機器であって、前記第1および第2のコイルの内径/外径の比が、ともに0.3以上0.7以下であることを特徴としている。
加えて、上記構成において、前記第1あるいは第2のコイルのいずれか一方の内径が、他方のコイルの内径よりも1mm以上大きいことが好ましい。
さらに、他の構成にあっては、充電機器と被充電機器とからなる電子機器であって、前記充電機器は、少なくとも、前記被充電機器と対向する位置に配設された第1のコイルと、前記第1のコイルに信号を供給する充電回路とを備える一方、前記被充電機器は、少なくとも、前記充電機器と対向する位置に配設された第2のコイルと、前記第2のコイルに誘起された信号を整流する整流回路と、前記整流手段により整流された信号で充電を行う蓄電回路とを備え、前記第1および第2のコイルの内径/外径の比が、ともに0.3以上0.7以下であり、前記第1のコイル外径/第2のコイルの外径の比が、0.7以上1.3以下であることを特徴としている。
上記構成において、前記第1あるいは第2のコイルのいずれか一方の内径が、他方のコイルの内径よりも1mm以上大きいことが好ましい。
第1の機器と第2の機器とからなる電子機器であって、前記第1の機器は、少なくとも、前記第2の機器と対向する位置に配設された第1のコイルと、前記第1のコイルに誘起された信号を受信する受信回路とを備える一方、前記第2の機器は、少なくとも、前記第1の機器と対向する位置に配設された第2のコイルと、前記第1の機器へ送信すべき信号を前記第2のコイルに供給する送信回路とを備え、前記第1および第2のコイルの内径/外径の比が、ともに0.3以上0.7以下であり、前記第1のコイル外径/第2のコイルの外径の比が、0.7以上1.3以下であることを特徴としている。
上記構成において、前記第1あるいは第2のコイルのいずれか一方の内径が、他方のコイルの内径よりも1mm以上大きいことが好ましい。
上述した各発明の構成によれば、本発明は、上述した事情に鑑みてなされたものであり、その目的とするところは、携帯電子機器やステーションなどのように、互いに分離した2以上の機器間において、互いに対向する位置にそれぞれ配設されたコイルとの電磁的な結合によってデータ転送あるいは電力転送を実行する場合に、両コイルの位置ずれの影響を受けにくい電子機器を提供することにある。
また、この出願の他の発明は、第1、第2の目的を達成するために、以下の装置を提供する。
図12はこの出願の他の発明の原理的構成を示す説明図である。本発明は前記の目的を達成するため、充電部1と被充電部2を分離して構成し、前記充電部1には1次コイル3と発振回路(高周波発振回路)4を備え、前記被充電部2には、充電時に前記発振回路の1次コイル3と電磁結合して電圧を誘起させるための2次コイル5と、前記2次コイル5に誘起した電圧により充電可能な2次電池6を備えた非接触充電が可能な電子機器において、前記充電部1の1次コイル3の被充電部2に向かい合った部位に送信側カバーガラス7を、また、前記被充電部2の2次コイル5の充電部1に向かい合った部位に受信側カバーガラス8を配して構成した。
更に、前記送信側カバーガラス7及び受信側カバーガラス8の内面側に、前記電子機器の外観を向上させるための蒸着面9、及び、蒸着面10をそれぞれ構成した。ここで、蒸着面のかわりにめっき面、あるいは印刷面、あるいは塗装面、あるいは箔面を構成するか、ガラス部材に顔料をいれて色ガラスとしても同様の効果がある。
前記構成により、2次電池6への充電を行う場合は、被充電部を充電部の上にのせた状態で電源を投入する。この充電状態では、1次側コイル3と2次側コイル5が向かい合う位置で配置されるので、これらのコイルが、トランスのコイルと同様に機能する。すなわち、1次コイル3がトランスの1次捲線で、2次コイル5がトランスの2次捲線として機能する。
充電時に充電部1の発振回路4が所定の周波数で発振すると、送信側コイル3と受信側コイル5が電磁結合し、送信側コイル3で発生した磁束が受信側コイル5に鎖交し、受信側コイル5に電圧が誘起する。
この誘起した電圧により、2次電池6を充電する。
前記のように、1次コイル3の被充電部2に向かい合った部位に送信側カバーガラス7を、また、前記被充電部2の2次コイル5の充電部1に向かい合った部位に受信側カバーガラス8を配して構成することにより、転送効率を劣化させることなく、2次電池6へ短時間荷大電流を流すことが可能となって、効率の良い急速充電ができる。
【図面の簡単な説明】
図1は、第1実施形態にかかるステーションおよび電子時計の構成を示す平面図である。
図2は、同ステーションおよび同電子時計の構成を示す断面図である。
図3は、同ステーションおよび同電子時計におけるコイルの構成を示す断面図である。
図4は、同ステーションおよび同電子時計の電気的構成を示すブロック図である。
図5は、同ステーションおよび同電子時計の動作を説明するためのタイミングチャートである。
図6は、同ステーションの受信回路の一例を示す回路図である。
図7は、同受信回路の動作を説明するためのタイミングチャートである。
図8は、一次コイルおよび二次コイルとが同一である場合に、コイルの内径/外径の比と相互コンダクタンスとの特性について、シミュレーションした結果を示す図である。
図9は、一次コイルおよび二次コイルの外径の比と、最大効率値と、最小損失量Wcminとの各特性について、シミュレーションした結果を示す図である。
図10は、一次コイルと二次コイルとが位置ずれした場合、しない場合と、両コイルの内径が一致する場合、しない場合とにおいて、磁束密度の強度分布ををシミュレーションした結果を示す図である。
図11は、一次コイルと二次コイルとが位置ずれした場合の影響を実測した結果を示す図である。
図12は、第2実施形態の原理説明図である。
図13は、同実形態における電動歯ブラシの説明図である。
図14は、同実形態における実測データ例1である。
図15は、同実形態における実測データ例2である。
図16は、第3実施形態における電子時計の説明図である。
図17は、従来例の説明図である。
発明を実施するための最良の形態
A.第1実施形態
以下、第1実施形態について説明する。なお、本実施形態にあっては、充電機器としてステーション、被充電機器として電子時計を例にとって説明するが、本発明をこれらに限定する趣旨ではない。
<機械的構成>
図1は、実施形態にかかるステーションおよび電子時計の構成を示す平面図である。この図に示すように、電子時計200は、充電やデータ転送など行う場合、ステーション100の凹部101に収容される。この凹部101は、電子時計200の本体201およびバンド202よりも若干大きめな形状に形成されているため、時計本体201は、ステーション100に対して位置決めされた状態で収容される。
また、ステーション100には、充電の開始を操作入力するための入力部103とともに、各種の表示を行うための表示部104が設けられている。なお、本実施形態にかかる電子時計200は、通常の使用状態ではユーザの腕に装着されて、表示部204において日付時刻等が表示されるのは言うまでもないが、図示しないセンサ等によって、脈拍数や心拍数などの生体情報を一定時間毎に検出・記憶する構成となっている。
図2は、図1におけるA−A線の断面図である。この図に示すように、電子時計の本体201の下面裏蓋212には、データ転送や充電のための時計側コイル210がカバーガラス211を介して設けられている。また、時計本体201には、二次電池220や、時計側コイル210などと接続される回路基板221が設けられる。
一方、ステーション100の凹部101にあって、時計側コイル210と対向する位置には、ステーション側コイル110がカバーガラス111を介して設けられている。また、ステーション100には、コイル110、入力部103、表示部104、一次電源(図示省略)などが接続された回路基板121が設けられている。なお、ステーション側コイル110と時計側コイル210との詳細については後述する。
このように、電子時計200がステーション100に収容された状態において、ステーション側コイル110と、時計側コイル210とは、カバーガラス111、211により物理的には非接触であるが、コイル巻回面が略平行なので電磁的には結合した状態となる。
また、ステーション側コイル110および時計側コイル210とは、それぞれ時計機構部分の着磁を避ける理由や、時計側の重量増加を避ける理由、磁性金属の露出を避ける理由などにより、磁心を有さない空心型となっている。したがって、このようなことが問題とならない電子機器に適用する場合には、磁心を有するコイルを採用しても良い。もっとも、コイルに与える信号周波数が十分に高いのであれば、空心型で十分である。
ここで、本願発明者らは、コイルの特性について各種シミュレートした。そこで、その結果について説明する。
まず、図8(b)は、同一長(3m)の導線を用いて、一次コイルおよび二次コイルとを同一とした場合に、同図(a)に示すように巻回による内径/外径(Din/Dout)の比を変化させたときの相互インダクタンスMの特性をシミュレートした結果である。この図に示すように、相互インダクタンスMは、内径/外径の比がおおよそ0.3〜0.7の範囲で高い値を示し、0.5で最大となることが判る。
次に、図9(b)は、一次コイルと二次コイルとの導線長の和を一定(6m)として、同図(a)に示すように両コイルの外径(D1/D2)の比を変化させたときの最大効率値ηmaxと、20W伝送時の最小損失量Wcminとの各特性をシミュレートした結果である。この図に示すように、一次コイルと二次コイルとの外径の比が0.7〜1.3の範囲において、ηmaxは高い値を示し、Wcminは小さい値を示す。そして、一次コイルと二次コイルとの外径の比が1.0のとき、すなわち等しいとき、ηmaxは最大となり、Wcminは最小となる。
さらに、本願発明者らは、一次コイルの内径と二次コイルの内径とを同一にした場合と、一次コイルの内径を1mmだけ大きくした場合とにおいて、両コイルの平面的な中心位置が一致しているときと、1mmだけずれたときとで、磁束密度がどのような分布となるかについてシミュレートした。この結果を図10に示す。この図に示すように、コイルの内径が等しい場合に位置ずれすると、磁束密度の高い範囲が狭くなる。これに対し、内径が異なるコイルでは、その内径差(1mm)以内の位置ずれであれば、磁束密度の高い範囲はほとんど変化しない。
このシミュレート結果は、次のような実験でも裏付けられる。すなわち、本願発明者らは、一次コイルの内径と二次コイルの内径とを同一にした場合と、一次コイルの内径を1mmだけ大きくした場合とにおいて、両コイルが中心に対して位置ずれしたときに、二次コイル側で得られる電流が、どのように変化するかについて実測した。この実測結果を図11に示す。この図において、横軸は、両コイルの中心に対するずれ量(mm)であり、縦軸は、ずれ量がゼロの場合における電流値を「1」とした相対値である。この図に示すように、内径が同一であるコイル同士では、ずれ量が大きくなるにつれて二次側で得られる電流値は小さくなる。これに対し、内径が異なるコイル同士では、ずれ量が、内径差(1mm)以内であれば、二次側で得られる電流値はほとんど変化しない。
そこで、本実施形態では、図3に示すように、ステーション側コイル110の内径を時計側コイル210の内径よりも1mmだけ大きくして、その内径差以内での位置ずれの影響をほとんど受けないようにした。さらに、一次コイルとしてのステーション側コイル110と、二次コイルとしての時計側コイル210との内径をともに外径の約半分とするとともに、その外径をともに略同一として、充電や信号転送の効率を高めることとした。
なお、両コイルの内径差は、コイルの取付精度や、ステーション100に対する電子時計200の収容精度などを考慮して、実施形態の値以上、すなわち、1mm以上とするのが望ましいと考える。
<電気的構成>
次に、ステーション100および電子時計200の電気的構成について図4を参照して説明する。
まず、ステーション100側について説明する。この図において、発振回路140は、各部の動作を同期させるためのクロック信号CLKを出力するものである。入力部103は、ユーザによって充電開始の操作がなされると、1ショットのパルスSTRをカウンタ150に供給するものである。カウンタ150は、ステーション100側におけるコイルの接続を制御する回路であり、パルスSTRの供給を受けると、プリセット値nをクロック信号CLKでダウンカウントして、カウント動作中には、Hレベルとなる信号Tを出力する。すなわち、カウンタ150の出力信号Tは、充電開始の操作からクロック信号CLKのn周期が経過するまでの一定期間だけ、Hレベルとなるように構成されている。そして、この信号Tは、アンドゲート152における一方の入力端に供給される。
一方、ステーション側コイル110の一方の端子は、電源電圧Vccにプルアップされる一方、その他方の端子Dは、トランジスタ153のドレインに接続される。ここで、トランジスタ153のゲートは、他方の入力端にクロック信号CLKの供給を受けるアンドゲート152の出力と接続される一方、トランジスタ153のソースは接地されている。
したがって、カウンタ150の出力信号TがHレベルとなった場合、クロック信号CLKがそのままアンドゲート152の出力信号S1となって、そのレベルに応じてトランジスタ153のドレイン−ソース間をスイッチングさせる構成となっている。
また、ステーション側コイル110の端子Dにおける信号S2は、受信回路154に供給される。受信回路154は、信号S2についてクロック信号CLKを用いて復調するものであり、その復調結果を信号S3として出力する。なお、受信回路154の構成については後述する。処理回路155は、復調された信号S3に基づく処理を実行する回路であり、本実施形態では、例えば、処理結果を表示部104に表示させるようになっている。
次に、電子時計200側について説明する。時計側コイル210の一方の端子は、ダイオード245を介して二次電池220の正側端子に接続される一方、コイル210の他方の端子は、二次電池220の負側端子に接続されている。ここで、二次電池220の電圧Vccが、電子時計200における各部の電源として用いられる構成となっている。
また、制御回路230は、時計機能を備えて、表示部204に対して時刻表示などを行わせる一方、信号W1が誘起されていない場合に、ステーション100へ送信すべきディジタルデータW2を送信回路250に供給するものである。ここで、ステーション100へ送信すべきデータとしては、図示しないセンサ等により計測された脈拍数や心拍数などの生体情報などが想定される。
送信回路250は、ステーション100へ送信すべきデータをシリアル化するとともに、シリアルデータがLレベルである期間において、一定周波数の信号をバーストしたスイッチング信号を出力するものである。送信回路250によるスイッチング信号は、抵抗251を介してトランジスタ252のベースに供給される。また、同トランジスタのコレクタは、二次電池220の正側端子に接続される一方、同トランジスタのエミッタは、コイル210の一方の端子に接続されている。
したがって、時計側コイル210においては、信号W1が誘起されている場合には、その信号が半波整流されて二次電池に充電される一方、信号W2が誘起されていない場合には、ステーション100へ送信すべきデータに応じたスイッチング信号が供給される構成となっている。
ここで、ステーション100の受信回路154の構成について図6を参照して説明する。なお、図示の構成はあくまでも一例であって、本来的に、電子時計200の送信回路250における変調方式によって定められるものである。
まず、ステーション側コイル110における他方の端子Dに誘起された信号S2は、図6に示すように、インバータ回路1541によってレベル反転されるとともに波形整形されて、発振回路140(図4参照)のクロック信号CLKと同期するDフリップフロップ1542、1543のリセット信号RSTとして供給される。ここで、Dフリップフロップ1542の入力端Dは、電源電圧Vccに接続される一方、その出力端Qは、次段のDフリップフロップ1543の入力端Dに接続される。そして、Dフリップフロップ1543の出力端Qが、復調結果たる信号S3として出力される構成となっている。
次に、上記構成の受信回路154における各部の波形について検討してみる。
電子時計200からのデータ受信時にあっては、トランジスタ153(図4参照)がスイッチングしないので、プルアップされたステーション側コイル110における他方の端子Dは、時計側コイル210による外部磁界が発生していなければプルアップレベルとなる一方、外部磁界が発生していれば、それに応じて誘起されるレベルにて変動する。このため、端子Dに誘起される信号S2は、例えば、図7(a)に示される通りとなる。
このような信号S2に対して、インバータ回路1541の出力たる信号RSTは、図7(b)に示されるように、信号S2の電圧がしきい値Vthを下回ったときにHレベルとなり、Dフリップフロップ1542、1543をリセットする。この際、Dフリップフロップ1542、1543は、クロック信号CLKの立ち上がりにおいて、その直前での入力端Dのレベルを出力するから、Dフリップフロップ1542の出力Q1、および、Dフリップフロップ1542の出力S3は、それぞれ図7(d)、(e)に示されるようになる。すなわち、受信回路154の出力信号S3は、時計側コイル210によって外部磁界が発生している期間にLレベルとなる信号となる。
ここで、時計側コイル210によって外部磁界が発生する期間とは、電子時計200がステーション100へ送信すべきデータがLレベルとなる期間であるから、結局、信号S3は、電子時計200からのデータを復調したものであることが判る。
<動作>
次に、本実施形態にかかるステーション100および電子時計における充電動作およびデータ転送動作について説明する。
まず、ユーザは、電子時計200を、ステーション100の凹部101に収容させる。これにより、ステーション側コイル110と、時計側コイル210とは、図2あるいは図3に示されるように互いに対向するため、電磁的に結合した状態となる。
この後、ユーザが、ステーション100の入力部103を操作して、充電を開始する旨の入力操作を行うと、図5(a)に示されるように、タイミングt1において1ショットのパルスSTRが入力部103から出力される。このため、カウンタ150がカウント動作を開始するため、図5(b)に示されるように信号TがHレベルとなる。
信号TがHレベルとなると、アンドゲート152が開くため、トランジスタ153が、クロック信号CLKに応じてスイッチングする。よって、トランジスタ153は、図5(c)に示されるような波形でスイッチングするため、ステーション側コイル110には、電源電圧Vccをクロック信号CLKでスイッチングしたパルス信号が印加される。このため、外部磁界が発生することになる。
この外部磁界によって、時計側コイル210には、当該パルス信号と同周期の信号W1が誘起される。この誘起信号は、ダイオード245によって半波整流されて、二次電池220に充電されることとなる。
次に、カウンタ150において、プリセット値nをクロック信号CLKでダウンカウントした結果が、図5(b)に示されるタイミングt2においてゼロになると、信号TがLレベルとなる。
信号TがLレベルとなると、アンドゲート152が閉じるため、トランジスタ153が、クロック信号CLKにかかわらずオフする。このため、時計側コイル210では、信号が誘起されなくなる。
このため、二次電池220の充電が終了する一方、制御回路230がステーション100へ送信すべきディジタルデータW2を送信回路250に供給するため、電子時計200からステーション100への信号送信が開始されることになる。
ここで、ステーション100への送信すべきデータが、図5(d)に示される通りであったとすると、送信回路250によるスイッチング信号は、データがHレベルであれば出力をHレベルとし、データがLレベルであれば一定周波数のパルス信号をバーストさせたものとするから、トランジスタ252は、図5(e)に示されるような波形でスイッチングすることとなる。
したがって、時計側コイル210には、ステーション100への送信すべきデータがLレベルである期間において、パルス信号が印加され、これによって外部磁界が発生することとなる。
この外部磁界によって、ステーション側コイル110における他方の端子Dに、当該パルス信号と同周期の信号S2が誘起されることとなる。ここで、信号が誘起されている期間では、上記構成の受信回路154によって信号S3がLレベルとなるから、結局、ステーション100側では、タイミングt2以降において、電子時計200からのディジタルデータW2を復調した信号S3が得られることとなる。そして、ステーション100側では、処理回路155が、復調された信号S3に基づく処理を実行して、その処理結果が表示部104に表示されることとなる。
このように本実施形態においては、ステーション側コイル110の内径が時計側コイル210の内径よりも1mmだけ大きいので、両者コイルの中心がその内径差以内で位置ずれしたとしても、電力転送の効率や信号転送の効率は、極端には低下しない。さらに、ステーション側コイル110と時計側コイル210とにおいて、両コイルの内径はともに外径の約半分であり、また、両コイルの外径は互いに略同一であるので、充電や信号転送の効率が高い。
したがって、本実施形態によれば、コイル同士の電磁的な結合により電力転送あるいは信号転送する場合に、両コイルの位置ずれの影響が受け難くくなるとともに、データ転送あるいは電力転送の効率が維持されるのである。
さらに、本実施形態では、外部磁界を発生させることによって電子時計200の二次電池220をタイミングt1からt2までにおいて充電した後、タイミングt2以降においてデータ転送を実行するので、電子時計200が、二次電池220の電圧低下を理由にデータ転送できない事態を防止することができる。
<変形例>
なお、上記実施形態にあっては、次のような変形が可能である。
実施形態にあっては、位置ずれの影響を少なくすることと、データ・電力転送の効率維持とを両立するため、ステーション側コイル110の内径を時計側コイル210の内径よりも1mmだけ大きくするとともに、両コイルの内径を外径の約半分とし、さらに、両コイルの外径を略同一としたが、これらの要件を必ずしもすべて満たさなくても良い。すなわち、ステーション側コイル110の内径を時計側コイル210の内径よりも1mmだけ大きくするとともに、両コイルの内径を外径の約半分とするだけも十分であり、また、ステーション側コイル110の内径を時計側コイル210の内径よりも1mmだけ大きくするとともに、両コイルの外径を略同一とするだけも十分である。
また、データ・電力転送の効率維持の観点から言えば、必ずしも、両コイルの内径を外径の約半分とする必要はなく、また、両コイルの外径を略同一とする必要もない。すなわち、図8(b)に示されるように、ステーション側コイル110および時計側コイル210における内径/外径の比が、ともに0.3〜0.7の範囲にあれば良いし、また、図9(b)に示されるように、ステーション側コイル110の外径/時計側コイル210の外径の比が、0.7〜1.3の範囲にあれば良い。
また、実施形態にあっては、データ転送が、電子時計200からステーション100への一方向のみであったが、ステーション100から電子時計200への方向であっても良いのはもちろんである。電子時計200へデータ転送する場合、ステーション100では、転送すべきデータに応じて変調する一方、電子時計200では、その変調方式に合わせて復調する構成とすれば良い。この際、変調・復調は、公知の技術を適用すれば良い。
さらに、実施形態にあっては、ステーション側コイル110の内径を、時計側コイル210のそれよりも大きくする構成としたが、これとは反対に、時計側コイル210の内径を大きくする構成であっても良い。
くわえて、実施形態では、充電機器としてステーション100、被充電機器として電子時計200を例にとって説明したが、本願において、これらの区別は、第1および第2の機器の区別を含めて無意味であり、電力転送や信号転送を行うすべての電子機器に適用可能である。例えば、電動歯ブラシや、電動ひげ剃り、コードレス電話、携帯電話、パーソナルハンディフォン、モバイルパソコン、PDA(Personal Digital Assistants:個人向情報端末)などの二次電池を備える被充電機器と充電機器とに適用可能であり、さらに言うならば、互いに分離した2以上の機器のすべてに適用可能である。
B.第2実施形態
以下、第2実施形態を図面に基づいて説明する。なお以下に説明する実施形態は、本発明を被接触型充電式電動歯ブラシに適用した例である。
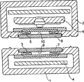
図13(a)は本発明の実施例である電動歯ブラシの説明図である。また、図13(b)は図13(a)の一部拡大図である。
11は充電スタンド、12は充電スタンドハウジング、13は電動歯ブラシ、14は電動歯ブラシハウジング、15は送信側プリント基板、16は送信側コイル、17は受信側プリント基板、18は受信側コイル、19は2次電池、20は電動歯ブラシ設置部、21は電源ケーブル、22は送信側カバーガラス、23は送信側カバーガラス蒸着面、24は受信側カバーガラス、25は受信側カバーガラス蒸着面を示す。
本実施例の非接触型充電式電動歯ブラシは、電動歯ブラシ13と充電スタンド11で構成されている。そして、充電スタンド11には充電部が設けてあり、電動歯ブラシ13には被充電部が設けてある。
前記充電スタンド11には充電スタンドハウジング12が設けてあり、この充電スタンドハウジング12内に充電部が設けてある。電動歯ブラシ13には電動歯ブラシハウジング14が設けてあり、この電動歯ブラシハウジング14内に被充電部が設けてある。
また、前記充電スタンドハウジング12の一部に、電動歯ブラシ13を載せて置くための電動歯ブラシ設置部20が設けてある。そして、電動歯ブラシ13を使用する時は、電動歯ブラシ設置部20から電動歯ブラシ13を取り出して使用し、それ以外の時は、電動歯ブラシ13を電動歯ブラシ設置部20上に載せておくことにより、非接触で充電を行うように構成されている。
前記充電スタンドハウジング12内に設けた充電部には、充電用の高周波発振回路等の回路部品が設けてあるが、これらの回路部品は、送信側プリント基板15上に搭載されている。そして、前記回路部品の内、送信コイル16は、前記送信側プリント基板上に搭載する。
この場合、送信側コイル16は、電動歯ブラシ設置部20と対向する位置で、かつ前記電動歯ブラシ設置部20に最も近い位置に設置する。
ここで、前記充電スタンドハウジング12上の送信側コイル16と受信側コイル18に挟まれた位置に、送信側コイル16あるいは受信側コイル18の平面サイズを覆うように、送信側カバーガラス22を配置する。この、送信側カバーガラス22は充電スタンドハウジング12上に例えば紫外線硬化型の接着剤で固定する。
さらに、送信側カバーガラス22の送信側コイル16側に向かい合う面に、送信側カバーガラス蒸着面23を構成している。
前記電動歯ブラシハウジング14内に設けた被充電部には、充電回路等の回路部品が設けてあるが、これらの回路部品は、受信側プリント基板17上に搭載されている。そして、前記回路部品の内、受信側コイル18は、前記受信側プリント基板17上に搭載する。
この場合、受信側コイル18は、電動歯ブラシ13を電動歯ブラシ設置部20に載せた状態で、電動歯ブラシ設置部20に最も近い位置となるように配置し、かつ、送信側コイル16と対向するように位置決めして配置する。
ここで、前記電動歯ブラシハウジング14上の受信側コイル18と送信側コイル16に挟まれた位置に、受信側コイル18あるいは送信側コイル16の平面サイズを覆うように、受信側カバーガラス24を配置する。この、受信側カバーガラス24は、電動歯ブラシハウジング14上に例えば紫外線硬化型の接着剤で固定する。
さらに、受信側カバーガラス24の受信側コイル18側に向かい合う面に、受信側カバーガラス蒸着面25を構成している。
また、2次電池19は、電動歯ブラシ13を電動歯ブラシ設置部20に載せた状態で、電動歯ブラシ設置部から遠い位置に配置している。
前記2次電池としては、例えば、ニッケルカドミウム電池、ニッケル水素電池、リチウムイオン電池等が使用可能である。
ここで、図13(b)に示したように、充電時には、受信側コイル18と送信側コイル16の間には、充電部スタンドハウジング12と電動歯ブラシハウジング14の厚み等が存在する。
図14に、この厚みと転送効率の実測データを示す。図14の実測データは横軸が送信側コイルと受信側コイルの外周先端部の断面的な距離d(mm)を示し、縦軸が、送信側コイルと受信側コイルの断面距離dを5mmとしたときの転送効率を1としたときの相対的な転送効率が何倍かを示している。
図14のデータによれば、断面距離dが減少するにしたがって、転送効率は2次関数的に増加し、高効率な転送が可能なシステムとなる。
特に距離3mm以下では転送効率が従来例の距離5mmに対して数100倍と非常に高い転送効率が実現でき、高速充電に適している。
ここで、コイル間距離が3mm程度となる構造で、かつ5気圧程度の水圧に耐えられる防水構造をとるには、ハウジング材料を金属部材等の高剛性材料で構成する必要がある。しかし、電磁誘導による電力転送システムでは、送信側コイルと受信側コイルの間のハウジング材料に導電部材を構成すると、導電部材上に渦電流が生じて、転送劣化となり、高効率転送には適していない。
図15にハウジング材料と転送効率の実測データを示す。図15の実測データは送信コイルと受信コイルの外周先端部の断面的な距離dを3mmとして、コイル間にハウジング材料を挿入し、転送効率を測定した結果である。縦軸が外装ハウジングに用いる材料と、その材料の厚み、あるいは表面処理手段を示し、横軸が厚み1mmのステンレス素材をコイル間に挿入したときの転送効率を100%としたときの相対的な転送効率(%)を示している。
図15のデータによれば、外装ハウジング材料に絶縁材料を用いれば、転送効率はステンレス材料を用いたときの数10倍の高効率で転送が可能になる。
また、絶縁材料の片面にアルミニウム等の金属蒸着を1μm程度構成しても、渦電流による転送劣化は発生しないことがわかる。
ここで、前記ガラス部材は一般的に透明であり、内部のコイル、電気素子類等が外部から見える状態となり、デザイン外観として芳しくない。また電気素子類等の紫外線等の光劣化も発生してしまう。これらを解決するために、前記ガラス部材の裏側に蒸着面等を構成する。また、この蒸着面を構成するかわりに、ガラス部材の裏側にめっき面、あるいは印刷面、あるいは塗装面、あるいは箔面を構成するか、ガラス部材そのものに顔料をいれて色ガラスとしても同様の効果が期待できる。
C.第3実施形態
図16に本発明の第3実施形態の原理図を示す。なお、以下に説明する実施例は、非接触型データ転送器をもつ電子時計である。
図16(a)は本発明の電子時計の構造図を示し、31はデータ転送器、35は電子時計を示す。
図16(b)は本発明の電子時計の断面構造図を示し、31はデータ転送器、32は転送器側コイル、33は送信側カバーガラス、34は転送器回路基板、35は電子時計、36は電子時計側コイル、37は電子時計裏蓋、38は電子時計裏蓋カバーガラス、39は2次電池、40は電子時計回路を示す。
図16(c)は本発明の電子時計の回路ブロック図を示している。
本実施例の非接触型データ転送式電子時計は、データ転送器31と電子時計35で構成されている。そして、データ転送器31にはデータ転送部が設けてあり、電子時計35にはデータ受信部が設けてある。
前記データ転送器31の一部に、電子時計35を載せて置くための電子時計設置部が設けてある。そして、電子時計にデータを転送するときは、電子時計35をデータ転送器31上の電子時計設置部に設置するように構成されている。
前記データ転送器31内に設けたデータ転送部には、信号生成回路41、変調回路42、駆動回路43、転送器側コイル32、設定回路44、検出回路45等の回路部品が設けてあるが、これらの回路部品は、転送器回路基板34上に搭載されている。この場合、転送器側コイル32は、電子時計設置部と対向する位置で、かつ前記電子時計設置部に最も近い位置に配置する。ここで、前記データ転送器31の電子時計設置部上に、転送器側コイル32と電子時計側コイル36に挟まれた位置に、転送器側コイル32と電子時計側コイル36の平面サイズを覆うように、送信側カバーガラス33を配置する。
前記電子時計35内に設けたデータ受信部には、電子時計側コイル36、復調回路46等の回路部品が設けてあるが、これらの回路部品は、モータ駆動回路47、ステップモータ48、電子時計の指針49とともに電子時計回路40上に搭載されている。この場合、電子時計側コイル36は、電子時計35をデータ転送器31の電子時計設置部に設置した状態で、電子時計設置部と対向する位置で、かつ前記電子時計設置部に最も近い位置に配置する。ここで、前記電子時計35の電子時計裏蓋37上に、転送器側コイル32と電子時計側コイル36に挟まれた位置に、転送器側コイル32と電子時計側コイル36の平面サイズを覆うように、電子時計裏蓋カバーガラス38を配置する。
また、2次電池39は電子時計35をデータ転送器31上の電子時計設置部に載せた状態で、電子時計設置部から遠い位置に配置している。
ここでデータ転送の一例として、例えば電子時計の時刻修正の動作原理を図16(b)、及び、図16(c)に基いて説明する。
データ転送器31上において、時刻修正に必要な時刻データを入力すると、設定回路44が作動し、この設定状態を検出回路45が検出して、この検出情報をもとに変調回路42を動作させる。また、41は信号生成回路で、この出力信号をもとに変調回路42で変調し、駆動回路43により転送器側コイル32が駆動される。転送器側コイル32から変調信号が出力され、変調信号は磁界の変化という形でアナログ腕時計等の電子時計側コイル36に伝送される。電子時計側コイル36には電磁誘導によって誘起電圧が発生して、復調回路46によって受信信号のパルス幅を検出して、そのパルス幅に基いて、モータ駆動回路47を制御することによりステップモータ48を正転、逆転、停止を行う。以上の動作により指針49が回転し時刻修正が可能となる。
ここで、転送器側コイル32から電子時計側コイル36に、電磁誘導によってデータ転送する際に、本発明の構造を用いることにより転送効率を向上させ、より低電力でS/N比の高いデータ転送が可能となる。
以上説明したように、第2、第3実施形態によれば次のような効果がある。
(1)分離した電子機器間で、電磁誘導、あるいは電磁結合により、非接触で信号転送、あるいは電力転送を行うために、双方の対向した位置に、それぞれコイルを少なくとも1個構成した装置において、双方のコイルの少なくとも一方のコイルの、他方のコイルに対向した外周部に、ガラス部材を配置することにより、充電部から被充電部への電力伝送効率を向上させることができ、2次電池への急速な充電が可能になる。また、低電力でS/N比が高い信号転送も可能となる。
(2)1次コイルと2次コイルの向かい合う面に剛性の高いガラスを配することにより、小型で防水が可能な電子機器が実現できる。
(3)上述した第2,第3の実施形態においては、ガラス部材を固定する部分(例えば、図16の電子時計裏蓋37)を金属で構成するが、金属部材はガラス部材を固定する部分(例えば、ガラス部材の周囲)だけでもよい。
D.変形例
(1)なお、第1実施形態においては、図2に示すように下面裏蓋212(一般に金属)とカバーガラス211が設けられ、時計側コイル210と対向する位置には、ステーション側コイル110がカバーガラス111を介して設けられている。
つまり、時計側コイル210(一方のコイル)のステーション側コイル110(他方のコイル)に対向した外周部には、絶縁材料と金属材料が組み合わされた部材が取り付けられており、第2、第3の実施例と同様の効果も併せて得られるようになっている。
このように、第1、第2のコイルのいずれか一方の内径が、他方のコイルの内径よりも1mm以上大きくする技術と、第1、第2のコイルが対向する部分に絶縁体(例えばガラス)を配置する技術とは組み合わせが可能であり、この組み合わせによって以下の効果が得られる。
まず、コイル対向部分に絶縁体を配置することにより、防水性、剛性を維持しながらある程度の小型化が可能となる。一方、コイルの位置ずれがあると電磁結合に影響が出るため高い組立精度が要求され、また充電/通信時の位置合わせ機構も必要になるが、一方のコイルの内径を他方のコイルの内径より1mm以上大きくすることにより、この不都合が解消される。したがって、組立精度が要求されず電子機器の構造の簡略化が図れ組立性を向上させることができる。しかも、小型化も可能になる。そして、多少の位置ずれがあっても高効率で安定的にパワー転送が可能となるので、充電/通信時の発信パワーを抑えることができる。
なお、第1実施形態においては、カバーガラス211,111を他の絶縁体にしてもよく、あるいは、金属を用いてもよい。金属を用いた場合は、電磁結合の効率は下がるが、それが問題にならない状況においては金属の使用が可能である。このように、金属を用いる場合においても、一方のコイルの内径を他方のコイルの内径より1mm以上大きくすることにより得られる効果は、第1実施形態と同様である。
(2)また、第2、第3実施形態において、充電時あるいは通信時において対向配置されるコイルの一方の内径を、他方の内径より1っm以上大きくしてもよい。この場合においては、第1実施形態における効果を併せて奏することができる。
Claims (9)
- 第1の機器と第2の機器とが、巻回軸に対して巻回されたコイルのうち、前記巻回軸に略直交した面がコイル巻回面となり、このコイル巻回面が互いに対向して略平行にそれぞれ配設されたコイルの電磁的な結合により電力転送あるいは信号転送する電子機器であって、
前記第1のコイル外径/第2のコイルの外径の比が、0.7以上1.3以下である
ことを特徴とする電子機器。 - 第1の機器と第2の機器とが、巻回軸に対して巻回されたコイルのうち、前記巻回軸に略直交した面がコイル巻回面となり、このコイル巻回面が互いに対向して略平行にそれぞれ配設されたコイルの電磁的な結合により電力転送あるいは信号転送する電子機器であって、
前記第1および第2のコイルの内径/外径の比が、ともに0.3以上0.7以下である
ことを特徴とする電子機器。 - 前記第1あるいは第2のコイルのいずれか一方の内径が、他方のコイルの内径よりも1mm以上大きい
ことを特徴とする請求項1または2に記載の電子機器。 - 充電機器と被充電機器とからなる電子機器であって、
前記充電機器は、少なくとも、前記被充電機器と対向する位置に配設された第1のコイルと、前記第1のコイルに信号を供給する充電回路とを備える一方、前記被充電機器は、少なくとも、前記充電機器と対向する位置に配設された第2のコイルと、前記第2のコイルに誘起された信号を整流する整流回路と、前記整流手段により整流された信号で充電を行う蓄電回路とを備え、
前記第1および第2のコイルの内径/外径の比が、ともに0.3以上0.7以下であり、
前記第1のコイル外径/第2のコイルの外径の比が、0.7以上1.3以下である
ことを特徴とする電子機器。 - 前記第1あるいは第2のコイルのいずれか一方の内径が、他方のコイルの内径よりも1mm以上大きい
ことを特徴とする請求項4記載の電子機器。 - 第1の機器と第2の機器とからなる電子機器であって、
前記第1の機器は、少なくとも、前記第2の機器と対向する位置に配設された第1のコイルと、前記第1のコイルに誘起された信号を受信する受信回路とを備える一方、前記第2の機器は、少なくとも、前記第1の機器と対向する位置に配設された第2のコイルと、前記第1の機器へ送信すべき信号を前記第2のコイルに供給する送信回路とを備え、
前記第1および第2のコイルの内径/外径の比が、ともに0.3以上0.7以下であり、
前記第1のコイル外径/第2のコイルの外径の比が、0.7以上1.3以下である
ことを特徴とする電子機器。 - 前記第1あるいは第2のコイルのいずれか一方の内径が、他方のコイルの内径よりも1mm以上大きい
ことを特徴とする請求項6記載の電子機器。 - 請求項1〜7記載の電子機器において、
前記第1のコイルまたは第2のコイルの少なくともいずれか一方のコイルと、相手側機器のコイルと対向する部分には、絶縁体を配置した
ことを特徴とする電子機器。 - 前記絶縁体は、金属部材を介して前記第1または第2の機器に固定されることを特徴とする請求項8記載の電子機器。
Applications Claiming Priority (5)
| Application Number | Priority Date | Filing Date | Title |
|---|---|---|---|
| JP31972397 | 1997-11-20 | ||
| JP9-319723 | 1997-11-20 | ||
| JP10-85774 | 1998-03-31 | ||
| JP8577498 | 1998-03-31 | ||
| PCT/JP1998/005221 WO1999027603A1 (fr) | 1997-11-20 | 1998-11-19 | Dispositif electronique |
Publications (2)
| Publication Number | Publication Date |
|---|---|
| JPWO1999027603A1 JPWO1999027603A1 (ja) | 2000-08-08 |
| JP3887828B2 true JP3887828B2 (ja) | 2007-02-28 |
Family
ID=26426779
Family Applications (1)
| Application Number | Title | Priority Date | Filing Date |
|---|---|---|---|
| JP52816399A Expired - Lifetime JP3887828B2 (ja) | 1997-11-20 | 1998-11-19 | 電子機器 |
Country Status (5)
| Country | Link |
|---|---|
| US (1) | US6265789B1 (ja) |
| EP (1) | EP0977297B1 (ja) |
| JP (1) | JP3887828B2 (ja) |
| DE (1) | DE69831226T2 (ja) |
| WO (1) | WO1999027603A1 (ja) |
Cited By (1)
| Publication number | Priority date | Publication date | Assignee | Title |
|---|---|---|---|---|
| WO2013118482A1 (ja) * | 2012-02-10 | 2013-08-15 | パナソニック株式会社 | 電力伝送コイル |
Families Citing this family (115)
| Publication number | Priority date | Publication date | Assignee | Title |
|---|---|---|---|---|
| US5739313A (en) * | 1995-11-13 | 1998-04-14 | Regents Of The University Of Minnesota | Radionuclide labeling of vitamin B12 and coenzymes thereof |
| US7086111B2 (en) | 2001-03-16 | 2006-08-08 | Braun Gmbh | Electric dental cleaning device |
| EP1315977B1 (en) | 2000-08-02 | 2008-11-19 | Seiko Epson Corporation | Electronic apparatus and control method |
| ATE377394T1 (de) * | 2001-03-14 | 2007-11-15 | Braun Gmbh | Vorrichtung zur zahnreinigung |
| DE10159395B4 (de) | 2001-12-04 | 2010-11-11 | Braun Gmbh | Vorrichtung zur Zahnreinigung |
| US8443476B2 (en) | 2001-12-04 | 2013-05-21 | Braun Gmbh | Dental cleaning device |
| US8917057B2 (en) | 2002-06-10 | 2014-12-23 | City University Of Hong Kong | Battery charging system |
| EP1547222B1 (en) * | 2002-06-10 | 2018-10-03 | City University of Hong Kong | Planar inductive battery charger |
| DE102004062150A1 (de) | 2004-12-23 | 2006-07-13 | Braun Gmbh | Auswechselbares Zubehörteil für ein Elektrokleingerät und Verfahren zum Bestimmen der Benutzungsdauer des Zubehörteils |
| CA2511051A1 (en) * | 2005-06-28 | 2006-12-29 | Roger J. Soar | Contactless battery charging apparel |
| US20160345631A1 (en) | 2005-07-19 | 2016-12-01 | James Monsees | Portable devices for generating an inhalable vapor |
| US7733224B2 (en) * | 2006-06-30 | 2010-06-08 | Bao Tran | Mesh network personal emergency response appliance |
| US8447234B2 (en) | 2006-01-18 | 2013-05-21 | Qualcomm Incorporated | Method and system for powering an electronic device via a wireless link |
| US9130602B2 (en) | 2006-01-18 | 2015-09-08 | Qualcomm Incorporated | Method and apparatus for delivering energy to an electrical or electronic device via a wireless link |
| US20080103572A1 (en) | 2006-10-31 | 2008-05-01 | Medtronic, Inc. | Implantable medical lead with threaded fixation |
| JP2008135589A (ja) * | 2006-11-29 | 2008-06-12 | Asuka Electron Kk | 電力伝送用コイル |
| JP5018124B2 (ja) * | 2007-02-20 | 2012-09-05 | セイコーエプソン株式会社 | 電力伝送システム、電力伝送装置及び電子機器 |
| US9774086B2 (en) | 2007-03-02 | 2017-09-26 | Qualcomm Incorporated | Wireless power apparatus and methods |
| JP5266665B2 (ja) * | 2007-05-16 | 2013-08-21 | セイコーエプソン株式会社 | 電子機器、充電器および充電システム |
| US9124120B2 (en) | 2007-06-11 | 2015-09-01 | Qualcomm Incorporated | Wireless power system and proximity effects |
| JP5118394B2 (ja) * | 2007-06-20 | 2013-01-16 | パナソニック株式会社 | 非接触電力伝送機器 |
| JP4420073B2 (ja) * | 2007-07-11 | 2010-02-24 | セイコーエプソン株式会社 | コイルユニット及び電子機器 |
| EP2176939B1 (en) | 2007-08-09 | 2017-09-13 | Qualcomm Incorporated | Increasing the q factor of a resonator |
| CN101803109A (zh) | 2007-09-13 | 2010-08-11 | 高通股份有限公司 | 最大化来自无线功率磁谐振器的功率产量 |
| KR20100067676A (ko) | 2007-09-17 | 2010-06-21 | 퀄컴 인코포레이티드 | 무선 에너지 전송을 위한 송신기 및 수신기 |
| CN103904787B (zh) | 2007-10-11 | 2017-06-06 | 高通股份有限公司 | 使用磁机械系统的无线功率转移 |
| JP2009164279A (ja) * | 2007-12-28 | 2009-07-23 | Ricoh Elemex Corp | 非接触授受装置 |
| JP2009170627A (ja) * | 2008-01-16 | 2009-07-30 | Ricoh Elemex Corp | 非接触授受装置 |
| JP2009188131A (ja) * | 2008-02-05 | 2009-08-20 | Nec Tokin Corp | 非接触電力伝送装置 |
| US8629576B2 (en) | 2008-03-28 | 2014-01-14 | Qualcomm Incorporated | Tuning and gain control in electro-magnetic power systems |
| JP5247215B2 (ja) * | 2008-04-04 | 2013-07-24 | キヤノン株式会社 | 通信装置及びその制御方法 |
| EP2326239B1 (en) | 2008-07-03 | 2017-06-21 | Masimo Laboratories, Inc. | Protrusion for improving spectroscopic measurement of blood constituents |
| US8901880B2 (en) * | 2008-08-19 | 2014-12-02 | Qualcomm Incorporated | Wireless power transmission for portable wireless power charging |
| US8581542B2 (en) * | 2008-09-08 | 2013-11-12 | Qualcomm Incorporated | Receive antenna arrangement for wireless power |
| DE102008050397B4 (de) * | 2008-10-02 | 2010-08-12 | Wozniak, Mathias, Dipl.-Ing. | Modelleisenbahn mit drahtloser Stromversorgung und freier Gleisführung |
| JP2010219330A (ja) * | 2009-03-17 | 2010-09-30 | Ricoh Elemex Corp | 非接触エネルギー伝送装置の1次側コイルと2次側コイル、非接触エネルギー伝送装置のコイル条件決定方法 |
| CN101841173B (zh) * | 2009-03-19 | 2013-04-24 | 鸿富锦精密工业(深圳)有限公司 | 充电系统 |
| JP5521665B2 (ja) * | 2009-03-26 | 2014-06-18 | セイコーエプソン株式会社 | コイルユニット、それを用いた送電装置及び受電装置 |
| US8536736B2 (en) * | 2009-04-03 | 2013-09-17 | International Business Machines Corporation | Wireless power infrastructure |
| JP2010259171A (ja) * | 2009-04-22 | 2010-11-11 | Panasonic Electric Works Co Ltd | 非接触伝送装置 |
| JP4705989B2 (ja) * | 2009-07-17 | 2011-06-22 | 明日香エレクトロン株式会社 | 無接点電力伝送及び無接点データ伝送方法ならびにその装置 |
| DE102009047593B4 (de) | 2009-12-07 | 2024-11-28 | BSH Hausgeräte GmbH | Haushaltsgerätesystem |
| JP2012039691A (ja) * | 2010-08-04 | 2012-02-23 | Yazaki Corp | 非接触電力伝送装置及びそれに用いられる受電コイル |
| EP2420204A3 (en) | 2010-08-19 | 2017-05-17 | Braun GmbH | Method for operating an electric appliance and electric appliance |
| JP2012080671A (ja) * | 2010-10-01 | 2012-04-19 | Toko Inc | 非接触電力伝送装置 |
| WO2013014632A1 (en) | 2011-07-25 | 2013-01-31 | Braun Gmbh | Linear electro-polymer motors and devices having the same |
| PL2550938T3 (pl) | 2011-07-25 | 2015-06-30 | Braun Gmbh | Urządzenie do higieny jamy ustnej |
| EP2550937B1 (en) | 2011-07-25 | 2014-02-26 | Braun GmbH | Magnetic connection between a toothbrush handle and a brush head |
| CA2882974C (en) | 2012-08-31 | 2018-10-23 | Alfred E. Mann Foundation For Scientific Research | Feedback controlled coil driver for inductive power transfer |
| AU2014232252B2 (en) | 2013-03-15 | 2018-01-18 | Alfred E. Mann Foundation For Scientific Research | Current sensing multiple output current stimulators with fast turn on time |
| WO2014146019A2 (en) | 2013-03-15 | 2014-09-18 | Alfred E. Mann Foundation For Scientific Research | High voltage monitoring successive approximation analog to digital converter |
| US10279934B2 (en) | 2013-03-15 | 2019-05-07 | Juul Labs, Inc. | Fillable vaporizer cartridge and method of filling |
| CA2910982C (en) | 2013-05-03 | 2022-07-19 | Alfred E. Mann Foundation For Scientific Research | Multi-branch stimulation electrode for subcutaneous field stimulation |
| CA2910984C (en) | 2013-05-03 | 2024-04-02 | Alfred E. Mann Foundation For Scientific Research | Implant recharger handshaking system and method |
| WO2014179816A2 (en) | 2013-05-03 | 2014-11-06 | Alfred E. Mann Foundation For Scientific Research | High reliability wire welding for implantable devices |
| US9601267B2 (en) | 2013-07-03 | 2017-03-21 | Qualcomm Incorporated | Wireless power transmitter with a plurality of magnetic oscillators |
| CA2919462C (en) | 2013-07-29 | 2018-03-06 | Alfred E. Mann Foundation For Scientific Research | Implant charging field control through radio link |
| CN105263572B (zh) | 2013-07-29 | 2017-10-17 | 艾尔弗雷德·E·曼科学研究基金会 | 用于植入式装置的高效率磁链路 |
| CA2919474C (en) | 2013-07-29 | 2020-05-05 | Alfred E. Mann Foundation For Scientific Research | Microprocessor controlled class e driver |
| USD842536S1 (en) | 2016-07-28 | 2019-03-05 | Juul Labs, Inc. | Vaporizer cartridge |
| US10159282B2 (en) | 2013-12-23 | 2018-12-25 | Juul Labs, Inc. | Cartridge for use with a vaporizer device |
| US20160366947A1 (en) | 2013-12-23 | 2016-12-22 | James Monsees | Vaporizer apparatus |
| US10076139B2 (en) | 2013-12-23 | 2018-09-18 | Juul Labs, Inc. | Vaporizer apparatus |
| US10058129B2 (en) | 2013-12-23 | 2018-08-28 | Juul Labs, Inc. | Vaporization device systems and methods |
| USD825102S1 (en) | 2016-07-28 | 2018-08-07 | Juul Labs, Inc. | Vaporizer device with cartridge |
| EP3928646B1 (en) | 2013-12-23 | 2025-03-26 | Juul Labs International Inc. | Vaporization device systems |
| JP2015146705A (ja) * | 2014-02-04 | 2015-08-13 | タイコエレクトロニクスジャパン合同会社 | 無接点充電装置 |
| US9300151B2 (en) * | 2014-02-25 | 2016-03-29 | Youhua Technology (Shenzhen) Co., Ltd. | Wireless charging device |
| US9839238B2 (en) | 2014-02-28 | 2017-12-12 | Rai Strategic Holdings, Inc. | Control body for an electronic smoking article |
| CN106165036B (zh) | 2014-03-24 | 2019-01-11 | 苹果公司 | 感应电力传输中的磁屏蔽 |
| CN106133850B (zh) * | 2014-03-24 | 2019-12-13 | 苹果公司 | 可连接设备的磁性连接和对准 |
| US9853507B2 (en) | 2014-05-05 | 2017-12-26 | Apple Inc. | Self-locating inductive coil |
| US9735629B2 (en) | 2014-05-28 | 2017-08-15 | Apple Inc. | Electromagnetic alignment of inductive coils |
| US9654581B2 (en) | 2014-05-30 | 2017-05-16 | Apple Inc. | Proxied push |
| KR101570425B1 (ko) * | 2014-05-30 | 2015-11-20 | 엘지전자 주식회사 | 이동 단말기의 충전 어셈블리 |
| AU2015301489B2 (en) | 2014-08-15 | 2020-01-23 | Axonics Modulation Technologies, Inc. | External pulse generator device and associated methods for trial nerve stimulation |
| CN106659882A (zh) | 2014-08-15 | 2017-05-10 | 艾克索尼克斯调制技术股份有限公司 | 用于进行神经刺激以减轻膀胱功能障碍和其他适应症的可植入引线附着结构 |
| AU2015301400B2 (en) | 2014-08-15 | 2020-05-28 | Axonics Modulation Technologies, Inc. | Systems and methods for neurostimulation electrode configurations based on neural localization |
| US10682521B2 (en) | 2014-08-15 | 2020-06-16 | Axonics Modulation Technologies, Inc. | Attachment devices and associated methods of use with a nerve stimulation charging device |
| JP6602371B2 (ja) | 2014-08-15 | 2019-11-06 | アクソニクス モジュレーション テクノロジーズ インコーポレイテッド | 過活動膀胱の治療のための神経刺激システムにおける筋電図導線配置および刺激調整 |
| CA2958210C (en) | 2014-08-15 | 2023-09-26 | Axonics Modulation Technologies, Inc. | Integrated electromyographic clinician programmer for use with an implantable neurostimulator |
| KR102544557B1 (ko) | 2014-09-02 | 2023-06-20 | 애플 인크. | 웨어러블 전자 디바이스 |
| US10404089B2 (en) * | 2014-09-29 | 2019-09-03 | Apple Inc. | Inductive charging between electronic devices |
| JP2016073059A (ja) * | 2014-09-29 | 2016-05-09 | セイコーインスツル株式会社 | 非接触電力伝送装置、非接触電力伝送装置を搭載した電子機器、非接触電力伝送装置の製造方法 |
| RU2709926C2 (ru) | 2014-12-05 | 2019-12-23 | Джуул Лэбз, Инк. | Контроль калиброванной дозы |
| CA2973190A1 (en) | 2015-01-09 | 2016-07-14 | Axonics Modulation Technologies, Inc. | Patient remote and associated methods of use with a nerve stimulation system |
| CA2973192C (en) | 2015-01-09 | 2023-04-04 | Axonics Modulation Technologies, Inc. | Improved antenna and methods of use for an implantable nerve stimulator |
| CA3243970A1 (en) | 2015-01-09 | 2025-06-02 | Axonics, Inc. | FIXING DEVICES AND ASSOCIATED METHODS FOR USE WITH A CHARGER FOR NEUROSTIMULATION |
| KR102363641B1 (ko) * | 2015-01-14 | 2022-02-17 | 삼성전자주식회사 | 웨어러블 기기 |
| US10498158B2 (en) * | 2015-03-31 | 2019-12-03 | Superior Communications, Inc. | Watch strap battery |
| EP3282540B1 (en) * | 2015-04-06 | 2021-04-28 | Panasonic Intellectual Property Management Co., Ltd. | Electric apparatus unit |
| JP6605625B2 (ja) * | 2015-05-29 | 2019-11-13 | クアルコム,インコーポレイテッド | 金属体の直接場貫通を使用したワイヤレス電力伝達 |
| US11766568B2 (en) | 2015-07-10 | 2023-09-26 | Axonics, Inc. | Implantable nerve stimulator having internal electronics without ASIC and methods of use |
| US9517338B1 (en) | 2016-01-19 | 2016-12-13 | Axonics Modulation Technologies, Inc. | Multichannel clip device and methods of use |
| US10195423B2 (en) | 2016-01-19 | 2019-02-05 | Axonics Modulation Technologies, Inc. | Multichannel clip device and methods of use |
| EP3407965B1 (en) | 2016-01-29 | 2021-03-03 | Axonics Modulation Technologies, Inc. | Systems for frequency adjustment to optimize charging of implantable neurostimulator |
| SG11201806793TA (en) | 2016-02-11 | 2018-09-27 | Juul Labs Inc | Fillable vaporizer cartridge and method of filling |
| EP3419443A4 (en) | 2016-02-11 | 2019-11-20 | Juul Labs, Inc. | SAFE MOUNTING OF CARTRIDGES FOR EVAPORATOR DEVICES |
| US10376704B2 (en) | 2016-02-12 | 2019-08-13 | Axonics Modulation Technologies, Inc. | External pulse generator device and associated methods for trial nerve stimulation |
| US10405582B2 (en) | 2016-03-10 | 2019-09-10 | Pax Labs, Inc. | Vaporization device with lip sensing |
| USD849996S1 (en) | 2016-06-16 | 2019-05-28 | Pax Labs, Inc. | Vaporizer cartridge |
| USD851830S1 (en) | 2016-06-23 | 2019-06-18 | Pax Labs, Inc. | Combined vaporizer tamp and pick tool |
| USD836541S1 (en) | 2016-06-23 | 2018-12-25 | Pax Labs, Inc. | Charging device |
| USD887632S1 (en) | 2017-09-14 | 2020-06-16 | Pax Labs, Inc. | Vaporizer cartridge |
| CN111741789B (zh) | 2018-02-22 | 2024-07-05 | 艾克索尼克斯股份有限公司 | 用于试验神经刺激的神经刺激引线和使用方法 |
| USD882563S1 (en) | 2018-06-27 | 2020-04-28 | Apple Inc. | Electronic device |
| WO2020185902A1 (en) | 2019-03-11 | 2020-09-17 | Axonics Modulation Technologies, Inc. | Charging device with off-center coil |
| US11439829B2 (en) | 2019-05-24 | 2022-09-13 | Axonics, Inc. | Clinician programmer methods and systems for maintaining target operating temperatures |
| US11848090B2 (en) | 2019-05-24 | 2023-12-19 | Axonics, Inc. | Trainer for a neurostimulator programmer and associated methods of use with a neurostimulation system |
| EP4248847B1 (en) | 2020-01-13 | 2024-11-06 | Masimo Corporation | Wearable device with physiological parameters monitoring |
| CN113258684A (zh) * | 2020-02-11 | 2021-08-13 | 三星电子株式会社 | 电力感测电路和包括电力感测电路的电子设备 |
| US12420103B1 (en) | 2020-08-20 | 2025-09-23 | Axonics, Inc. | Neurostimulation leads with reduced current leakage |
| WO2023287789A1 (en) | 2021-07-13 | 2023-01-19 | Masimo Corporation | Wearable device with physiological parameters monitoring |
| US12396686B2 (en) | 2021-08-31 | 2025-08-26 | Apple Inc. | Sensing health parameters in wearable devices |
| US20240204565A1 (en) * | 2022-12-16 | 2024-06-20 | Veturex Inc | Plug-in module assembly for wireless electric charging |
Family Cites Families (26)
| Publication number | Priority date | Publication date | Assignee | Title |
|---|---|---|---|---|
| DE1116305B (de) * | 1959-07-29 | 1961-11-02 | Schmidt Geb Metallwarenfab | Ladegeraet und wiederaufladbares Kleinelektrogeraet mit induktiver Kopplung |
| CH581937A5 (ja) * | 1973-05-25 | 1976-11-15 | Sachs Systemtechnik Gmbh | |
| US4374354A (en) * | 1981-06-23 | 1983-02-15 | Teledyne Industries, Inc. | Rechargeable electric portable appliance |
| US4556837A (en) * | 1982-03-24 | 1985-12-03 | Terumo Kabushiki Kaisha | Electronic clinical thermometer |
| JPS608636A (ja) | 1983-06-27 | 1985-01-17 | Sanki Eng Co Ltd | 空調装置 |
| DE3851664T2 (de) * | 1987-07-10 | 1995-02-16 | Seiko Epson Corp | Ladevorrichtung für elektronisches Gerät. |
| DE3736170A1 (de) * | 1987-10-26 | 1989-05-18 | Mesa Systemtechnik Ges Fuer Me | Vorrichtung zum beruehrungslosen uebertragen einer leistung unter einsatz von elektrizitaet |
| US5214392A (en) * | 1988-11-08 | 1993-05-25 | Murata Mfg. Co., Ltd. | Multilayered ceramic type electromagnetic coupler apparatus |
| JP2820706B2 (ja) * | 1989-03-02 | 1998-11-05 | 株式会社日本自動車部品総合研究所 | 電磁結合用のコイルを有する電力供給装置 |
| DE4104359A1 (de) * | 1991-02-13 | 1992-08-20 | Implex Gmbh | Ladesystem fuer implantierbare hoerhilfen und tinnitus-maskierer |
| GB2262634B (en) * | 1991-12-18 | 1995-07-12 | Apple Computer | Power connection scheme |
| JPH0624356A (ja) | 1992-07-06 | 1994-02-01 | Toyota Motor Corp | フレーム付車両のボデーマウント構造 |
| JPH0624356U (ja) * | 1992-08-28 | 1994-03-29 | 株式会社三岡電機製作所 | 充電用電源接続装置 |
| JPH06261423A (ja) * | 1993-03-09 | 1994-09-16 | Osaka Gas Co Ltd | 管内走行装置への給電方法並びにその給電装置 |
| JP3409145B2 (ja) * | 1993-07-26 | 2003-05-26 | 任天堂株式会社 | 小型電気機器 |
| NO944266L (no) * | 1993-11-15 | 1995-05-16 | Hughes Aircraft Co | Induktivt ladesystem |
| JPH07170312A (ja) * | 1993-12-16 | 1995-07-04 | Matsushita Electric Ind Co Ltd | コードレス電話装置 |
| DE29520992U1 (de) * | 1994-04-07 | 1996-07-11 | Wash-Ball Ag, Schaan | Vorrichtung zum Reinigen von verschmutzten Gegenständen, beispielsweise von verschmutzten Textilien oder Geschirr, Ladegerät hierfür, sowie Kombination hieraus |
| JPH0879976A (ja) | 1994-09-07 | 1996-03-22 | Tdk Corp | 非接触型充電器 |
| JPH0919078A (ja) * | 1995-06-27 | 1997-01-17 | Omron Corp | 電磁誘導式充電装置、被充電電子機器及び電動歯ブラシ |
| DE19534043A1 (de) * | 1995-09-14 | 1997-03-20 | Carisius Christensen Gmbh Dr | Chirurgische Arbeitsmaschine |
| DE59711012D1 (de) * | 1996-03-20 | 2003-12-24 | Ego Elektro Geraetebau Gmbh | Anordnung zur Steuerung von elektrischen ansteuerbaren Geräten |
| JP3358443B2 (ja) * | 1996-06-13 | 2002-12-16 | 松下電器産業株式会社 | 電源装置 |
| JP3456093B2 (ja) * | 1996-06-25 | 2003-10-14 | 松下電工株式会社 | 非接触電力伝達装置 |
| JPH1023677A (ja) * | 1996-07-03 | 1998-01-23 | Uniden Corp | 無接点充電装置、充電器、コードレス機器および無接点充電器 |
| JPH1092673A (ja) * | 1996-07-26 | 1998-04-10 | Tdk Corp | 非接触電力伝送装置 |
-
1998
- 1998-11-19 WO PCT/JP1998/005221 patent/WO1999027603A1/ja not_active Ceased
- 1998-11-19 EP EP98954756A patent/EP0977297B1/en not_active Expired - Lifetime
- 1998-11-19 JP JP52816399A patent/JP3887828B2/ja not_active Expired - Lifetime
- 1998-11-19 US US09/341,933 patent/US6265789B1/en not_active Expired - Lifetime
- 1998-11-19 DE DE69831226T patent/DE69831226T2/de not_active Expired - Lifetime
Cited By (2)
| Publication number | Priority date | Publication date | Assignee | Title |
|---|---|---|---|---|
| WO2013118482A1 (ja) * | 2012-02-10 | 2013-08-15 | パナソニック株式会社 | 電力伝送コイル |
| JPWO2013118482A1 (ja) * | 2012-02-10 | 2015-05-11 | パナソニックIpマネジメント株式会社 | 電力伝送コイル |
Also Published As
| Publication number | Publication date |
|---|---|
| EP0977297A1 (en) | 2000-02-02 |
| DE69831226D1 (de) | 2005-09-22 |
| EP0977297A4 (en) | 2000-02-16 |
| US6265789B1 (en) | 2001-07-24 |
| WO1999027603A1 (fr) | 1999-06-03 |
| DE69831226T2 (de) | 2006-03-30 |
| EP0977297B1 (en) | 2005-08-17 |
Similar Documents
| Publication | Publication Date | Title |
|---|---|---|
| JP3887828B2 (ja) | 電子機器 | |
| JPWO1999027603A1 (ja) | 電子機器 | |
| JP3747677B2 (ja) | 電子機器 | |
| JP3794267B2 (ja) | 電子機器 | |
| EP1213818B1 (en) | Electronic device method, method of controlling electronic device, method of estimating charge in rechargeable battery, and method of charging rechargeable battery | |
| KR100426643B1 (ko) | 배터리 충전장치 | |
| US6057668A (en) | Battery charging device for mobile phone | |
| US6636017B2 (en) | Wireless battery charging system for existing hearing aids using a dynamic battery and a charging processor unit | |
| EP2332231B1 (en) | Inductive charger and charging method | |
| CN102456936A (zh) | 无线充电系统,具有无线充电功能的电池以及电子设备 | |
| US8907618B2 (en) | Contactless cell apparatus | |
| JP3777908B2 (ja) | 電子機器および電子機器の制御方法 | |
| JPH09190938A (ja) | 非接触型充電装置 | |
| JPH08126230A (ja) | 非接触型充電器 | |
| CN211701621U (zh) | 智能穿戴设备及无线充电器 | |
| CN112817165B (zh) | 一种智能眼镜和无线充电座 | |
| JP2009177081A (ja) | 非接触授受装置および非接触伝送装置 | |
| JP2012070566A (ja) | 非接触充電式の電気機器およびその充電システム | |
| JP2009164279A (ja) | 非接触授受装置 | |
| JP2000270486A (ja) | 電子機器、当該電子機器を具備する通信システム、および当該通信システムの制御方法 | |
| JP2015002580A (ja) | ワイヤレス充電装置 | |
| JP3196190B2 (ja) | コードレス電話機用充電器とコードレス電話機 | |
| CN218940782U (zh) | 一种磁吸无线充电器 | |
| JPH11274989A (ja) | 通信方法、通信装置および電子機器 | |
| JP3243219U (ja) | 充電装置つき腕時計バンド |
Legal Events
| Date | Code | Title | Description |
|---|---|---|---|
| A131 | Notification of reasons for refusal |
Free format text: JAPANESE INTERMEDIATE CODE: A131 Effective date: 20051129 |
|
| A521 | Request for written amendment filed |
Free format text: JAPANESE INTERMEDIATE CODE: A523 Effective date: 20060125 |
|
| A131 | Notification of reasons for refusal |
Free format text: JAPANESE INTERMEDIATE CODE: A131 Effective date: 20060328 |
|
| A521 | Request for written amendment filed |
Free format text: JAPANESE INTERMEDIATE CODE: A523 Effective date: 20060526 |
|
| A131 | Notification of reasons for refusal |
Free format text: JAPANESE INTERMEDIATE CODE: A131 Effective date: 20060725 |
|
| A521 | Request for written amendment filed |
Free format text: JAPANESE INTERMEDIATE CODE: A523 Effective date: 20060921 |
|
| TRDD | Decision of grant or rejection written | ||
| A01 | Written decision to grant a patent or to grant a registration (utility model) |
Free format text: JAPANESE INTERMEDIATE CODE: A01 Effective date: 20061107 |
|
| A61 | First payment of annual fees (during grant procedure) |
Free format text: JAPANESE INTERMEDIATE CODE: A61 Effective date: 20061120 |
|
| R150 | Certificate of patent or registration of utility model |
Free format text: JAPANESE INTERMEDIATE CODE: R150 |
|
| FPAY | Renewal fee payment (event date is renewal date of database) |
Free format text: PAYMENT UNTIL: 20101208 Year of fee payment: 4 |
|
| FPAY | Renewal fee payment (event date is renewal date of database) |
Free format text: PAYMENT UNTIL: 20101208 Year of fee payment: 4 |
|
| FPAY | Renewal fee payment (event date is renewal date of database) |
Free format text: PAYMENT UNTIL: 20111208 Year of fee payment: 5 |
|
| FPAY | Renewal fee payment (event date is renewal date of database) |
Free format text: PAYMENT UNTIL: 20111208 Year of fee payment: 5 |
|
| FPAY | Renewal fee payment (event date is renewal date of database) |
Free format text: PAYMENT UNTIL: 20121208 Year of fee payment: 6 |
|
| FPAY | Renewal fee payment (event date is renewal date of database) |
Free format text: PAYMENT UNTIL: 20121208 Year of fee payment: 6 |
|
| FPAY | Renewal fee payment (event date is renewal date of database) |
Free format text: PAYMENT UNTIL: 20131208 Year of fee payment: 7 |
|
| S531 | Written request for registration of change of domicile |
Free format text: JAPANESE INTERMEDIATE CODE: R313531 |
|
| R350 | Written notification of registration of transfer |
Free format text: JAPANESE INTERMEDIATE CODE: R350 |
|
| EXPY | Cancellation because of completion of term |