JP3668097B2 - ピックアップ傾き調整機構を有するディスク記録又は再生装置 - Google Patents
ピックアップ傾き調整機構を有するディスク記録又は再生装置 Download PDFInfo
- Publication number
- JP3668097B2 JP3668097B2 JP2000128750A JP2000128750A JP3668097B2 JP 3668097 B2 JP3668097 B2 JP 3668097B2 JP 2000128750 A JP2000128750 A JP 2000128750A JP 2000128750 A JP2000128750 A JP 2000128750A JP 3668097 B2 JP3668097 B2 JP 3668097B2
- Authority
- JP
- Japan
- Prior art keywords
- guide shaft
- pickup
- chassis
- tray
- fitted
- Prior art date
- Legal status (The legal status is an assumption and is not a legal conclusion. Google has not performed a legal analysis and makes no representation as to the accuracy of the status listed.)
- Expired - Fee Related
Links
- 238000003825 pressing Methods 0.000 claims description 8
- 230000006835 compression Effects 0.000 description 5
- 238000007906 compression Methods 0.000 description 5
- 238000013459 approach Methods 0.000 description 3
- 238000004519 manufacturing process Methods 0.000 description 2
- 238000000034 method Methods 0.000 description 2
- 238000005452 bending Methods 0.000 description 1
- 230000000694 effects Effects 0.000 description 1
- 239000002184 metal Substances 0.000 description 1
- 238000012986 modification Methods 0.000 description 1
- 230000004048 modification Effects 0.000 description 1
- 230000003287 optical effect Effects 0.000 description 1
- 230000001105 regulatory effect Effects 0.000 description 1
Images
Classifications
-
- G—PHYSICS
- G11—INFORMATION STORAGE
- G11B—INFORMATION STORAGE BASED ON RELATIVE MOVEMENT BETWEEN RECORD CARRIER AND TRANSDUCER
- G11B21/00—Head arrangements not specific to the method of recording or reproducing
- G11B21/02—Driving or moving of heads
- G11B21/04—Automatic feed mechanism producing a progressive transducing traverse of the head in a direction which cuts across the direction of travel of the recording medium, e.g. helical scan, e.g. by lead-screw
- G11B21/046—Automatic feed mechanism producing a progressive transducing traverse of the head in a direction which cuts across the direction of travel of the recording medium, e.g. helical scan, e.g. by lead-screw details of the feed mechanism
-
- G—PHYSICS
- G11—INFORMATION STORAGE
- G11B—INFORMATION STORAGE BASED ON RELATIVE MOVEMENT BETWEEN RECORD CARRIER AND TRANSDUCER
- G11B7/00—Recording or reproducing by optical means, e.g. recording using a thermal beam of optical radiation by modifying optical properties or the physical structure, reproducing using an optical beam at lower power by sensing optical properties; Record carriers therefor
- G11B7/08—Disposition or mounting of heads or light sources relatively to record carriers
- G11B7/09—Disposition or mounting of heads or light sources relatively to record carriers with provision for moving the light beam or focus plane for the purpose of maintaining alignment of the light beam relative to the record carrier during transducing operation, e.g. to compensate for surface irregularities of the latter or for track following
-
- G—PHYSICS
- G11—INFORMATION STORAGE
- G11B—INFORMATION STORAGE BASED ON RELATIVE MOVEMENT BETWEEN RECORD CARRIER AND TRANSDUCER
- G11B7/00—Recording or reproducing by optical means, e.g. recording using a thermal beam of optical radiation by modifying optical properties or the physical structure, reproducing using an optical beam at lower power by sensing optical properties; Record carriers therefor
- G11B7/08—Disposition or mounting of heads or light sources relatively to record carriers
- G11B7/085—Disposition or mounting of heads or light sources relatively to record carriers with provision for moving the light beam into, or out of, its operative position or across tracks, otherwise than during the transducing operation, e.g. for adjustment or preliminary positioning or track change or selection
- G11B7/0857—Arrangements for mechanically moving the whole head
- G11B7/08582—Sled-type positioners
Landscapes
- Moving Of The Head For Recording And Reproducing By Optical Means (AREA)
- Moving Of Heads (AREA)
Description
【発明の属する技術分野】
本発明は、ディスクの信号面に対してピックアップを傾ける傾き調整機構を具えたディスク記録又は再生装置に関する。
【0002】
【従来の技術】
図5は、従来のディスク記録又は再生装置の斜視図である。シャーシ(1)上には、周知の如くディスク(7)が載置されるターンテーブル(3)と、該ターンテーブル(3)に接近離間可能に設けられたピックアップ(2)を具える。ピックアップ(2)は上面に対物レンズ(22)を具え、シャーシ(1)上の2本のガイド軸(4)(4)に移動を案内される。各ガイド軸(4)の両端部は、シャーシ(1)上のブラケット(9)に嵌まる。
図8は、ディスク(7)の裏面図である。ディスク(7)の信号面には、円周方向に沿って複数のピット(73)(73)が凹設され、該ピット(73)にレーザー光を当てたときと、ピット(73)以外の箇所にレーザー光を当てたときとでは反射光の強さが異なる。これにより、0と1からなるデジタル信号を再生する。
【0003】
ディスク(7)として、近年信号が高密度記録されたDVD(digital video disc)が提案されている。該DVDでは図8に示すディスク半径方向のピット(73)(73)の間隔Hが狭い。
この為、レーザー光の光軸がディスク(7)の信号面に対して僅かに傾いた場合、誤った位置のピット(73)を照射し、信号を正しく再生できない虞れがある。
そこで、シャーシ(1)上にピックアップ(2)の傾きを調整する機構を設け、ディスク記録又は再生装置を製造する工程に於いて、ピックアップ(2)の傾きを微調整し、DVD用ディスクをスムーズに再生することが提案されている。
【0004】
図6は、図5をA−A線を含む面内にて破断した断面図である。ディスク(7)はトレイ(5)に載置されてシャーシ(1)に搬送される。トレイ(5)は駆動機構(図示せず)により、シャーシ(1)の外部からシャーシ(1)の上方に水平移動した後に下降して、ディスク(7)をターンテーブル(3)上に載置する。
シャーシ(1)の下側からはガイド軸(4)の両端部に対応して、2本の調整ネジ(6)(6)が螺合し、各調整ネジ(6)の先端でガイド軸(4)の両端を下方から支える。各ブラケット(9)内にはガイド軸(4)を下向きに付勢する圧縮バネ(90)が設けられている。圧縮バネ(90)と調整ネジ(6)とにより、ピックアップ(2)の移動方向を含みシャーシ(1)上面に直交した面内にてピックアップ(2)を傾ける調整機構を構成する。
ピックアップ(2)を傾けるには、何れか一方の調整ネジ(6)を回転する。ガイド軸(4)は圧縮バネ(90)に抗して持ち上がり傾く。ガイド軸(4)が傾くから、ピックアップ(2)も傾く。
【0005】
図7は、トレイ(5)の平面図である。トレイ(5)には直径12cmの大径ディスクと直径8cmの小径ディスクが選択的に載置され、トレイ(5)には大径ディスクが嵌まる大凹部(51)と小径ディスクが嵌まる小凹部(52)が同心に開設されている。トレイ(5)には、トレイ(5)の一端部から大凹部(51)と小凹部(52)の中心部に跨った開口(50)が設けられており、ピックアップ(2)のビームは開口(50)を通ってディスク(7)を照射する。
【0006】
【発明が解決しようとする課題】
従来の調整機構では、圧縮バネ(90)がガイド軸(4)を下向きに付勢するから、圧縮バネ(90)の高さ分だけ、ブラケット(9)が高くなっており、ブラケット(9)の上端部はピックアップ(2)の上面を越えている。従って、トレイ(5)の下降状態にて、ブラケット(9)がトレイ(5)の開口(50)内に位置しなければならず、トレイ(5)の開口(50)を大きく形成する必要がある。
しかし、トレイ(5)の開口(50)が大きいと、小ディスクが誤って大凹部(51)と小凹部(52)に跨って載置された場合には、小ディスクがトレイ(5)から脱落する虞れがある。傾き調整機構が設けられなければ、開口(50)内に傾き調整機構が位置する必要はないから、開口(50)を小さくできる。しかし、傾き調整機構は前記の如く高密度記録されたディスクから信号を再生するには不可欠な構成である。本発明の目的は、ピックアップの傾き調整機構を設けたディスク記録又は再生装置に於いて、調整機構を低くすること及びトレイから小ディスクが脱落することを防止する点にある。
【0007】
【課題を解決する為の手段】
ピックアップ(2)は一方のガイド軸(4)に余裕が少ない状態で嵌まり、該ガイド軸(4)は他方のガイド軸(4a)よりも低く設けられ、
調整機構は、一端部がシャーシ(1)に取り付けられガイド軸(4)(4a)を調整部材に向けて付勢する引張りバネ(65)と、ピックアップ(2)の移動方向を含みシャーシ(1)上面に略平行な面内にて、ガイド軸(4)が嵌まりガイド軸(4)の振れを規制する縦孔(91)が開設されたブラケット(9)を有し、
低い方のガイド軸(4)を付勢する引張りバネ(65)はシャーシ(1)に対して斜めに取り付けられて、該ガイド軸(4)を調整部材及び縦孔(91)の側縁に押圧し、両ガイド軸(4)(4a)を付勢する引張りバネ(65)(65)の引張り長さは同一長さに設けられている。
【0008】
【作用及び効果】
バネ体及び縦片 (81)の上端部は、ターンテーブル(3)にディスク(7)を装着したトレイ(5)の下面よりも低く設けられている、即ちディスク(7)がターンテーブル(3)上に載置された状態で、調整機構はトレイ(5)の下方に位置している。従って、調整機構はトレイ(5)の開口(50)内に配備される必要がないから、開口(50)を小さく形成できる。これにより、トレイ(5)から小径ディスクが脱落する虞れを防止できる。更に、シャーシ(1)からトレイ(5)までの高さを低くできるから、装置全体を薄型化できる。
【0009】
【発明の実施の形態】
(第1実施例)
以下、本発明の一例を図を用いて詳述する。
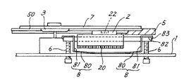
図1は、本例に関わるディスク記録又は再生装置の斜視図であり、ピックアップ(2)の傾き調整機構に特徴がある。ピックアップ(2)がガイド軸(4)に案内されて、ターンテーブル(3)に接近離間する構成は、従来と同様である。
シャーシ(1)上の側部には、モータ(M)が設けられ、該モータ(M)は歯車機構(21)を介して、ピックアップ(2)の側部に設けられたラック(20)に連繋する。モータ(M)に通電すると、歯車機構(21)の各ギアが回転し、ピックアップ(2)が移動する。従来と同様に、ディスク(7)はトレイ(5)に載置されて、シャーシ(1)に搬送される。
【0010】
図2は、図1をB方向から見た側面図であり、トレイ(5)を破断して示す。トレイ(5)は下降して、ディスク(7)はターンテーブル(3)上に載置されている。トレイ(5)の下面はガイド軸(4)から離れており、トレイ(5)はガイド軸(4)に下降を邪魔されない。シャーシ(1)の下方からは、調整ネジ(6)がシャーシ(1)に螺合し、先端がガイド軸(4)に接している。
シャーシ(1)上にてガイド軸(4)の下方には、金属帯を折曲して構成される押圧片(8)が設けられ、該押圧片(8)はピックアップ(2)の傾き調整機構を構成する。押圧片(8)は、シャーシ(1)に取り付けられる弾性片(80)と、該弾性片(80)の先端部から立設した縦片(81)と、該縦片(81)の上端からガイド軸(4)に沿って外向きに延びた水平片(82)と、該水平片(82)の端部から下向きに折曲した止め片(83)を一体に具える。
水平片(82)はガイド軸(4)の上端に接して、弾性片(80)の付勢力によってガイド軸(4)を下向き、即ち調整ネジ(6)に向けて押す。縦片(81)にはガイド軸(4)が嵌まる縦孔(84)が開設され、ガイド軸(4)が縦孔(84)の両側縁に接して、ガイド軸(4)はピックアップ(2)の移動方向を含みシャーシ(1)上面に略平行な面内にて、振れ移動、即ち図1の矢印C方向の移動を規制される。止め片(83)がガイド軸(4)の両端面に接して、ガイド軸(4)の軸方向に沿う移動を規制する。
【0011】
水平片(82)の付勢力に抗して調整ネジ(6)を回転させると、ガイド軸(4)の一端部が上昇し、ガイド軸(4)が傾く。ガイド軸(4)に案内されるピックアップ(2)も傾く。
図2に示すように、押圧片(8)の最も高位置にある水平片(82)はガイド軸(4)に接し、トレイ(5)の下面よりも低い位置にある。従って、ディスク(7)をターンテーブル(3)に載置せんとしてトレイ(5)が下降しても、押圧片(8)はトレイ(5)の邪魔にはならない。
これにより、従来のように、傾き調整機構がトレイ(5)の開口(50)内に位置する必要はなく、該開口(50)を小さくできるから、トレイ(5)から小ディスクが脱落する虞れを防止できる。また、押圧片(8)にて、ガイド軸(4)の下向き付勢と、ピックアップ(2)の移動方向を含みシャーシ(1)上面に略平行な面内に於けるガイド軸(4)の振れ移動の規制を行っているので、傾き調整機構の構成が簡素になる。
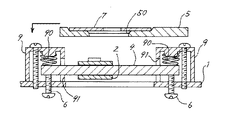
【0012】
図2にあっては、押圧片(8)にてガイド軸(4)を下向き付勢していたが、これに代えて、図3に示す構成でもよい。これは、シャーシ(1)に一端部が取り付けられた引張りバネ(65)の他端部をガイド軸(4)に取り付け、ガイド軸(4)を調整ネジ(6)に向けて付勢する。ガイド軸(4)の両端部に対応して、ブラケット(9)(9)を設け、該両端部をブラケット(9)の側面に開設された縦孔(91)に嵌める。該縦孔(91)にガイド軸(4)が嵌まることにより、ピックアップ(2)の移動方向を含みシャーシ(1)上面に略平行な面内に於けるガイド軸(4)の振れ移動が規制される。
【0013】
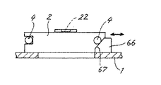
また、ガイド軸(4)は調整ネジ(6)の回転により、傾き調整されるとしたが、これに代えて、図4に示すように、シャーシ(1)上にカム片(66)を移動自在に設けてもよい。図4は、ピックアップ(2)をターンテーブル(3)側から見た正面図である。カム片(66)はガイド軸(4)に接する斜面(67)を設け、カム片(66)をピックアップ(2)の移動方向に直交する面内にてシャーシ(1)に沿って移動させることにより、斜面(67)がガイド軸(4)に接近離間し、ピックアップ(2)が傾く。
【0014】
尚、ガイド軸(4)(4)の傾きを調整する際には、例えば、再生信号のエラーレートを確認しながら行なうことが考えられる。これは、基準信号が記録されたディスクを再生し、該再生信号のエラーレート、即ち基準信号のビット列に対し正しく再生されなかったビット列の割合を確認しながら、調整ネジ(6)を回してガイド軸(4)(4)を傾き調整する。エラーレートが最良となったところで調整を止める。
【0015】
(第2実施例)
市販品のピックアップ(2)には、シャーシ(1)に取り付けられた状態にて、ガイド軸(4)(4a)に嵌まる孔(図示せず)の高さが互いに異なるものがある。出願人はかかる安価なピックアップ(2)を用いた装置に於いて、傾き調整機構の高さを低くすることを着想した。
図9は、他のディスク記録又は再生装置の斜視図であり、両ガイド軸(4)(4a)を引張りバネ(65)(65)にて下向き付勢している。即ち、図3に示す構成と同様に、ガイド軸(4)の傾き角度を変える調整機構の高さを低くしている。ピックアップ(2)は右側のガイド軸(4)に余裕が少ない状態にて嵌まり、該ガイド軸(4)に沿って移動する。ピックアップ(2)は左側のガイド軸(4a)に余裕がある状態にて嵌まっている。
シャーシ(1)上には、両ガイド軸(4)(4a)の両端部に対応してブラケット(9)(9)が設けられ、ガイド軸(4)(4a)の下端は、ブラケット(9)内に位置しシャーシ(1)の下側から嵌まる調整ネジ(6)(6)の先端に受けられている。両ガイド軸(4)(4a)は、一端部がシャーシ(1)に掛けられた引張りバネ(65)(65)にて下向きに付勢されて、調整ネジ(6)(6)に圧接されている。
本例にあっては、両ガイド軸(4)(4a)の高さは異なるが、両ガイド軸(4)(4a)を付勢する引張りバネ(65)(65)に同じものを使用する点に特徴がある。
【0016】
図10は、図9をC方向から見た正面図である。右側のガイド軸(4)は、ピックアップ(2)の形状に合わせて、左側のガイド軸(4a)よりも低く設けられ、両ガイド軸(4)(4a)はブラケット(9)の縦孔(91)に嵌まっている。右側のガイド軸(4)には引張りバネ(65)がシャーシ(1)に対して斜めに設けられ、左側のガイド軸(4a)には引張りバネ(65)がシャーシ(1)に対して垂直に設けられている。低位置のガイド軸(4)に掛かる引張りバネ(65)をシャーシ(1)に対して斜めに掛けていることにより、両引張りバネ(65)(65)の引張り長さは同一に設けられている。
【0017】
右側のガイド軸(4)には引張りバネ(65)がシャーシ(1)に対して斜めに取り付けられているから、該ガイド軸(4)は縦孔(91)の側縁及び底面に圧接されている。これにより、ガイド軸(4)は1本の引張りバネ(65)により、下向き付勢と、ピックアップ(2)の移動方向を含みシャーシ(1)上面に略平行な面内に於ける振れ移動の規制がなされている。ピックアップ(2)は右側のガイド軸(4)に移動を案内されるから、該ガイド軸(4)を、ピックアップ(2)の移動方向を含みシャーシ(1)上面に略平行な面内に於いて位置決めすることにより、ピックアップ(2)の移動方向は正確に定まる。
また、両引張りバネ(65)(65)の引張り長さは同じであるから、両引張りバネ(65)(65)には同じものが使用できる。これにより、装置を製造する工程に於ける引張りバネ(65)の取付け作業性が改善される。
本例にあっても、調整ネジ(6)(6)に代えて、図4に示すように、シャーシ(1)上にカム片(66)を設けてもよい。
【0018】
上記実施例の説明は、本発明を説明するためのものであって、特許請求の範囲に記載の発明を限定し、或は範囲を減縮する様に解すべきではない。又、本発明の各部構成は上記実施例に限らず、特許請求の範囲に記載の技術的範囲内で種々の変形が可能であることは勿論である。
【図面の簡単な説明】
【図1】ディスク記録又は再生装置の斜視図である。
【図2】図1をB方向から見た側面図であり、トレイを破断して示す。
【図3】他の傾き調整機構を示す側面図である。
【図4】他の傾き調整機構を示す側面図である。
【図5】従来のディスク記録又は再生装置の斜視図である。
【図6】図5をA−A線を含む面内にて破断した断面図である。
【図7】トレイの平面図である。
【図8】ディスクの裏面図である。
【図9】ディスク記録又は再生装置の斜視図である。
【図10】図9をC方向から見た正面図である。
【符号の説明】
(1) シャーシ
(2) ピックアップ
(3) ターンテーブル
(4) ガイド軸
(6) 調整ネジ
(7) ディスク
(66) カム片
Claims (1)
- シャーシ(1)上にディスク(7)を回転させるターンテーブル(3)と、ターンテーブル(3)に接近離間可能に移動自在に設けられたピックアップ(2)と、ピックアップ(2)の移動方向に延びピックアップ(2)が嵌まる一対のガイド軸(4)(4a)と、ピックアップ(2)の移動方向を含みシャーシ(1)上面に直交した面内にてガイド軸(4)(4a)の傾き角度を変える調整機構を設け、該調整機構はシャーシ(1)の下方又は側方からシャーシ(1)に嵌まり、ガイド軸(4)(4a)に接する調整部材を有するディスク記録又は再生装置に於いて、
ピックアップ(2)は一方のガイド軸(4)に余裕が少ない状態で嵌まり、該ガイド軸(4)は他方のガイド軸(4a)よりも低く設けられ、
調整機構は、一端部がシャーシ(1)に取り付けられガイド軸(4)(4a)を調整部材に向けて付勢する引張りバネ(65)と、ピックアップ(2)の移動方向を含みシャーシ(1)上面に略平行な面内にて、ガイド軸(4)が嵌まりガイド軸(4)の振れを規制する縦孔(91)が開設されたブラケット(9)を有し、
低い方のガイド軸(4)を付勢する引張りバネ(65)はシャーシ(1)に対して斜めに取り付けられて、該ガイド軸(4)を調整部材及び縦孔(91)の側縁に押圧し、両ガイド軸(4)(4a)を付勢する引張りバネ(65)(65)の引張り長さは同一長さに設けられたことを特徴とするディスク記録又は再生装置。
Priority Applications (4)
| Application Number | Priority Date | Filing Date | Title |
|---|---|---|---|
| JP2000128750A JP3668097B2 (ja) | 2000-03-17 | 2000-04-28 | ピックアップ傾き調整機構を有するディスク記録又は再生装置 |
| US09/805,938 US6704270B2 (en) | 2000-03-17 | 2001-03-15 | Disk recording or playback device having mechanism for adjusting tilt of pickup |
| KR1020010013533A KR20010090444A (ko) | 2000-03-17 | 2001-03-16 | 픽업 경사 조정 기구를 갖는 디스크 기록 또는 재생 장치 |
| CNB011117745A CN1184623C (zh) | 2000-03-17 | 2001-03-16 | 具有读取器倾角调整机构的光盘记录或再生装置 |
Applications Claiming Priority (3)
| Application Number | Priority Date | Filing Date | Title |
|---|---|---|---|
| JP2000075665 | 2000-03-17 | ||
| JP2000-75665 | 2000-03-17 | ||
| JP2000128750A JP3668097B2 (ja) | 2000-03-17 | 2000-04-28 | ピックアップ傾き調整機構を有するディスク記録又は再生装置 |
Publications (2)
| Publication Number | Publication Date |
|---|---|
| JP2001331947A JP2001331947A (ja) | 2001-11-30 |
| JP3668097B2 true JP3668097B2 (ja) | 2005-07-06 |
Family
ID=26587765
Family Applications (1)
| Application Number | Title | Priority Date | Filing Date |
|---|---|---|---|
| JP2000128750A Expired - Fee Related JP3668097B2 (ja) | 2000-03-17 | 2000-04-28 | ピックアップ傾き調整機構を有するディスク記録又は再生装置 |
Country Status (4)
| Country | Link |
|---|---|
| US (1) | US6704270B2 (ja) |
| JP (1) | JP3668097B2 (ja) |
| KR (1) | KR20010090444A (ja) |
| CN (1) | CN1184623C (ja) |
Families Citing this family (24)
| Publication number | Priority date | Publication date | Assignee | Title |
|---|---|---|---|---|
| JP2002230922A (ja) * | 2001-01-31 | 2002-08-16 | Sanyo Electric Co Ltd | ピックアップ傾き調整機構を有するディスク記録又は再生装置 |
| JP4111681B2 (ja) * | 2001-02-19 | 2008-07-02 | 三洋電機株式会社 | ピックアップ傾き調整機構を有するディスク記録又は再生装置 |
| TW547752U (en) * | 2001-03-22 | 2003-08-11 | Benq Corp | Guiding rod device of CD drive |
| TW543906U (en) * | 2002-01-25 | 2003-07-21 | Lite On It Corp | Inclining angle adjusting device for compact disk drive |
| KR20030073762A (ko) * | 2002-03-13 | 2003-09-19 | 삼성전자주식회사 | 디스크 드라이브의 틸트 조정장치 |
| JP3882655B2 (ja) * | 2002-03-26 | 2007-02-21 | ミツミ電機株式会社 | ガイドシャフト高さ調整機構およびディスク装置 |
| US6892386B2 (en) | 2002-03-26 | 2005-05-10 | Mitsumi Electric Co. Ltd. | Guide shaft height adjustment mechanism and disc drive equipped with the adjustment mechanism |
| TW540795U (en) * | 2002-06-25 | 2003-07-01 | Lite On It Corp | CD drive adjustment device with two guiding rods and three points of positioning |
| TW539215U (en) * | 2002-07-05 | 2003-06-21 | Lite On It Corp | Dual-guiding-rod two-point positioning adjustment apparatus for CD-ROM drive |
| JP2004071018A (ja) * | 2002-08-05 | 2004-03-04 | Pioneer Electronic Corp | ピックアップのスキュー調整機構 |
| GB0300472D0 (en) * | 2003-01-09 | 2003-02-12 | Infinite Data Storage Ltd | Single piece optical mechanical assembly for optical data storage engines |
| US7127730B2 (en) * | 2003-01-27 | 2006-10-24 | Micro-Star Int'l Co., Ltd. | Optical pickup head adjusting mechanism for optical disc drive |
| JP2005050398A (ja) * | 2003-07-30 | 2005-02-24 | Sanyo Electric Co Ltd | ピックアップ傾き調整機構を具えたディスク記録又は再生装置 |
| JP2005135507A (ja) * | 2003-10-30 | 2005-05-26 | Orion Denki Kk | ピックアップのスキュー調整機構を備えたディスク装置 |
| JP3912367B2 (ja) * | 2003-12-03 | 2007-05-09 | ソニー株式会社 | 光ディスク装置およびそのキャリッジ送り機構 |
| DE10358254A1 (de) * | 2003-12-11 | 2005-07-14 | Deutsche Thomson-Brandt Gmbh | Aufzeichnungs- und/oder Wiedergabegerät für optische Aufzeichnungsträger mit Mitteln zum parallelen Ausrichten der Abtasteinrichtung zur Oberfläche des Aufzeichnungsträgers |
| USD509501S1 (en) * | 2004-04-13 | 2005-09-13 | Mitsumi Electric Co., Ltd. | Optical disc recording reproduction apparatus |
| JP2006127675A (ja) * | 2004-10-29 | 2006-05-18 | Orion Denki Kk | ガイドシャフト取り付け機構を備えた記録再生装置 |
| JP3889421B2 (ja) * | 2004-11-18 | 2007-03-07 | 東芝サムスン ストレージ・テクノロジー株式会社 | 光ディスク装置のシャフト支持機構及び光ディスク装置の傾き調整機構 |
| JP2006155781A (ja) * | 2004-11-30 | 2006-06-15 | Orion Denki Kk | ガイドシャフト保持機構及びそのガイドシャフト保持機構を備えたディスク装置 |
| CN100419872C (zh) * | 2004-12-17 | 2008-09-17 | 常州市新科精密机械有限公司 | 光读写头驱动装置 |
| JP2008533635A (ja) * | 2005-03-10 | 2008-08-21 | コーニンクレッカ フィリップス エレクトロニクス エヌ ヴィ | スピンドル調節手段を含む光学式ドライブ |
| TW200717508A (en) * | 2005-10-28 | 2007-05-01 | Liteo On It Corp | Shaft adjusting device for optical pickup unit |
| JP4525633B2 (ja) * | 2006-05-16 | 2010-08-18 | ソニー株式会社 | ディスクドライブ装置及びディスク記録及び/又は再生装置 |
Family Cites Families (8)
| Publication number | Priority date | Publication date | Assignee | Title |
|---|---|---|---|---|
| JP2634852B2 (ja) * | 1988-05-07 | 1997-07-30 | シャープ株式会社 | 対物レンズ駆動装置の傾き調整機構 |
| KR0137539B1 (ko) * | 1994-12-29 | 1998-05-15 | 배순훈 | 광디스크플레이어의 트레이이송장치(disc tray loading mechanism of optical disc player) |
| KR100195104B1 (ko) * | 1996-06-17 | 1999-06-15 | 윤종용 | 위상차 및 틸트 조정이 가능한 디스크플레이어 |
| KR0183889B1 (ko) * | 1996-06-25 | 1999-04-15 | 김광호 | 틸트 조정이 가능한 디스크플레이어 |
| KR980004506A (ko) * | 1996-06-29 | 1998-03-30 | 김광호 | 디스크 플레이어의 픽업 기울기 조정 장치 |
| JPH10116479A (ja) * | 1996-10-11 | 1998-05-06 | Matsushita Electric Ind Co Ltd | 光ヘッド調整装置 |
| US5982735A (en) * | 1997-12-29 | 1999-11-09 | Industrial Technology Research Institute | Tilt angle adjustable mechanism for compact disc recording/reproducing device |
| JP3364922B2 (ja) * | 1999-02-22 | 2003-01-08 | 船井電機株式会社 | ピックアップ装置 |
-
2000
- 2000-04-28 JP JP2000128750A patent/JP3668097B2/ja not_active Expired - Fee Related
-
2001
- 2001-03-15 US US09/805,938 patent/US6704270B2/en not_active Expired - Fee Related
- 2001-03-16 CN CNB011117745A patent/CN1184623C/zh not_active Expired - Fee Related
- 2001-03-16 KR KR1020010013533A patent/KR20010090444A/ko not_active Ceased
Also Published As
| Publication number | Publication date |
|---|---|
| KR20010090444A (ko) | 2001-10-18 |
| CN1184623C (zh) | 2005-01-12 |
| US20010022772A1 (en) | 2001-09-20 |
| JP2001331947A (ja) | 2001-11-30 |
| CN1317785A (zh) | 2001-10-17 |
| US6704270B2 (en) | 2004-03-09 |
Similar Documents
| Publication | Publication Date | Title |
|---|---|---|
| JP3668097B2 (ja) | ピックアップ傾き調整機構を有するディスク記録又は再生装置 | |
| JP3009639B2 (ja) | チルト調整が可能なディスクプレイヤ | |
| US5172361A (en) | Disc loading apparatus | |
| US4510591A (en) | Slot type disc recorder and/or player apparatus | |
| JP4111681B2 (ja) | ピックアップ傾き調整機構を有するディスク記録又は再生装置 | |
| JP3419735B2 (ja) | 自動チルト補正装置及び光記録再生装置 | |
| WO1997050086A1 (fr) | Entraînement de disque | |
| CN1649000B (zh) | 盘驱动器 | |
| WO2002061748A1 (fr) | Dispositif a disque | |
| CN1734656B (zh) | 盘驱动装置、盘驱动单元和光头装置 | |
| JP2005050398A (ja) | ピックアップ傾き調整機構を具えたディスク記録又は再生装置 | |
| JP3702150B2 (ja) | ピックアップ傾き調整機構を有するディスク記録又は再生装置 | |
| JP2001052345A (ja) | ピックアップ傾き調整機構を有するディスク記録又は再生装置 | |
| JP2001344767A (ja) | ピックアップ傾き調整機構を有するディスク記録又は再生装置 | |
| JP4067465B2 (ja) | ピックアップ傾き調整機構を具えたディスク記録又は再生装置 | |
| JP3924486B2 (ja) | ディスクドライブ装置のスキュー調整装置、及びディスクドライブ装置 | |
| JP2005135507A (ja) | ピックアップのスキュー調整機構を備えたディスク装置 | |
| JP3342390B2 (ja) | ディスク記録再生装置 | |
| JP3691354B2 (ja) | ピックアップ傾き調整機構を有するディスク記録又は再生装置及びその調整機構を位置決めする方法 | |
| KR960000266B1 (ko) | 단면 연주용 광디스크 플레이어의 편차보정장치 | |
| JP3986464B2 (ja) | ピックアップ傾き調整機構を具えたディスク記録又は再生装置 | |
| KR100604781B1 (ko) | 픽업 기울기 조정장치 | |
| JP3033535B2 (ja) | ディスクプレーヤ | |
| JP2003187539A (ja) | ディスク記録又は再生装置 | |
| JP2005063488A (ja) | ディスク記録又は再生装置 |
Legal Events
| Date | Code | Title | Description |
|---|---|---|---|
| A977 | Report on retrieval |
Free format text: JAPANESE INTERMEDIATE CODE: A971007 Effective date: 20031127 |
|
| A131 | Notification of reasons for refusal |
Free format text: JAPANESE INTERMEDIATE CODE: A131 Effective date: 20031224 |
|
| A521 | Request for written amendment filed |
Free format text: JAPANESE INTERMEDIATE CODE: A523 Effective date: 20040217 |
|
| A131 | Notification of reasons for refusal |
Free format text: JAPANESE INTERMEDIATE CODE: A131 Effective date: 20040716 |
|
| A521 | Request for written amendment filed |
Free format text: JAPANESE INTERMEDIATE CODE: A523 Effective date: 20040908 |
|
| TRDD | Decision of grant or rejection written | ||
| A01 | Written decision to grant a patent or to grant a registration (utility model) |
Free format text: JAPANESE INTERMEDIATE CODE: A01 Effective date: 20050322 |
|
| A61 | First payment of annual fees (during grant procedure) |
Free format text: JAPANESE INTERMEDIATE CODE: A61 Effective date: 20050407 |
|
| FPAY | Renewal fee payment (event date is renewal date of database) |
Free format text: PAYMENT UNTIL: 20090415 Year of fee payment: 4 |
|
| FPAY | Renewal fee payment (event date is renewal date of database) |
Free format text: PAYMENT UNTIL: 20100415 Year of fee payment: 5 |
|
| LAPS | Cancellation because of no payment of annual fees |