JP3666068B2 - 切削方法 - Google Patents
切削方法 Download PDFInfo
- Publication number
- JP3666068B2 JP3666068B2 JP22455495A JP22455495A JP3666068B2 JP 3666068 B2 JP3666068 B2 JP 3666068B2 JP 22455495 A JP22455495 A JP 22455495A JP 22455495 A JP22455495 A JP 22455495A JP 3666068 B2 JP3666068 B2 JP 3666068B2
- Authority
- JP
- Japan
- Prior art keywords
- cutting
- ceramic substrate
- coordinate values
- cpu
- piezoelectric elements
- Prior art date
- Legal status (The legal status is an assumption and is not a legal conclusion. Google has not performed a legal analysis and makes no representation as to the accuracy of the status listed.)
- Expired - Lifetime
Links
Images
Landscapes
- Processing Of Stones Or Stones Resemblance Materials (AREA)
- Dicing (AREA)
Description
【発明の属する技術分野】
本発明は、特にセラミックス基板に形成された複数の圧電素子等を個々のチップに分割する切削方法に関する。
【0002】
【従来の技術】
セラミックス基板は焼結によって歪みが生じてしまうため、焼結前に付けておいた切削ラインの基準となるパターン(目印)の位置がずれてしまい、シリコン基板のように1本の切削ラインをアライメントしてインデックス送りで切削を遂行する方法は馴染まない。
前記パターンは通常セラミックス基板の対向辺に対設されるが、焼結によるパターンの位置ずれが2mm前後の場合には許容範囲内と見做し、ずれの真ん中を切削ラインと定めて切削し、且つこの切削ラインを基準線として平行にインデックス送り(ピッチ送り)してブラインド切削をしていた。
【0003】
【発明が解決しようとする課題】
しかしながら、上記従来の切削方法によれば各パターン間のずれが全て許容範囲内にあるとは限らず、許容範囲を超えて位置ずれが生じている場合には、圧電素子等のチップを切断して損傷させるという問題があった。
本発明は、このような従来の問題を解決するためになされ、全ての切削ラインの基準となるパターンのアライメントを遂行し、その結果を座標値でCPUにアライメント情報として記憶させ、切削する度毎にCPUからの当該アライメント情報を呼び出し、これに基づいて精密位置合わせを行いながら切削を遂行する切削方法を提供することを目的とする。
【0004】
【課題を解決するための手段】
前記課題を技術的に解決するための手段として、本発明は、セラミックス基板に形成された複数の圧電素子等を個々のチップに分割する切削方法において、
セラミックス基板は圧電素子等のチップが一定のピッチで縦横に複数個並設され、各チップに分割するための切削ラインの基準となるパターンがセラミックス基板の対向辺にそれぞれ対設されていて、セラミックス基板の焼結後切削前に全てのパターンについて座標値を検出してアライメント情報としてCPUに記録する工程と、
切削すべきラインを切削する際にアライメント情報を呼び出して参照し、座標値に基づいて精密位置合わせを行う工程と、
を少なくとも含む切削方法を要旨とする。
【0005】
【発明の実施の形態】
以下、本発明の実施の形態を添付図面に基づいて詳説する。
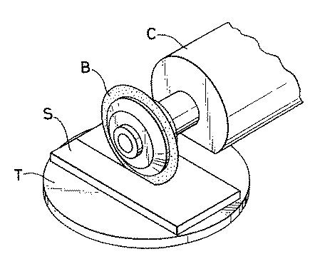
図2は切削装置の一例を示すもので、チャックテーブルTの上に例えば図3に示すような長方形のセラミックス基板Sを載せて吸引保持させ、又はワックスダウンで保持させ、チャックテーブルTを移動してアライメント手段Aに位置付け、アライメント後に回転ブレードBを有する切削手段Cにてセラミックス基板Sを切削する。
【0006】
前記セラミックス基板Sは、図1に示すように圧電素子等のチップPが一定のピッチで縦横に複数個並設され、各チップPを個々に分割するための切削ラインL(実際には設けられていない)の基準となるパターン(目印)1、2……、1′、2′……、a、b……、a′、b′……がセラミックス基板の対向辺にそれぞれ対設されている。図示の例ではパターンは1〜4、a〜i迄であるが数はこれに限定されるわけではない。
【0007】
前記パターンはセラミックス基板Sの焼結前に正確な位置に付けられるが、焼結後はセラミックス基板Sの歪みによって位置ずれが生じており、本発明では、CCDから構成される前記アライメント手段Aによって、焼結後切削前に全てのパターン1、2……、1′、2′……、a、b……、a′、b′……について座標値を検出し、アライメント情報としてCPUに記録する工程を行う。
等である。
【0008】
セラミックス基板Sを切削するには、例えばパターン「1」、「1′」を結ぶラインを切削する場合は、前記CPUから〔「1」(x1 ,y1 ),「1′」(x1 ′,y1 ′)〕のアライメント情報を呼び出して参照する工程、即ちこの座標値に基づいてアライメント手段Aにて精密位置合わせ工程を行う。
【0009】
前記「1」(x1 ,y1 )、「1′」(x1 ′,y1 ′)の座標のうち、y座標値yとy′とが同じか否かを確認する。同じであれば前記回転ブレードBをy座標値に位置付けて切削を遂行し、同じでない場合は補正を行う。即ち、
tan-1Δθ=(y1 ′−y)/(x1 ′−x1 )
でΔθを算出し、前記チャックテーブルTを回転してΔθ補正を行うと共にy座標値の補正を行う。例えばパターン「1」の座標がチャックテーブルTの回転中心を中心とした極座標で(r,θ)である場合、補正値Δyは、
Δy=r〔sin(θ+Δθ)−sinθ〕
となり、(y1 +Δy)の座標値に回転ブレードBを位置付ければ良いことになる。以後これを繰り返す。
【0010】
このようにして、X軸方向の切削ライン毎にCPUからアライメント情報を呼び出し、このアライメント情報に基づいて精密位置合わせを行いながら切削を遂行する。パターンを結ぶ切削ラインに沿って切削すればチップを切断することはない。Y軸方向に沿って切削するには、チャックテーブルを90度回転させて前記X軸方向の場合と同じ要領にて切削を遂行することが出来る。
【0011】
【発明の効果】
以上説明したように、本発明によれば、セラミックス基板が焼結の歪みにより各切削ラインの基準となるパターンに位置ずれが生じても、セラミックス基板の焼結後切削前にアライメント情報としてCPUに記憶させた各切削ラインのパターン座標値を、切削する際に切削ライン毎にCPUから呼び出し、その座標値に基づいて精密位置合わせを行いながら切削する方法であるから、圧電素子等のチップを切断することはなく、チップの損傷を未然に防止することができる。
【図面の簡単な説明】
【図1】 本発明の実施の形態を示す説明図である。
【図2】 切削装置の一例を示す斜視図である。
【図3】 セラミックス基板の切削状態を示す概略斜視図である。
【符号の説明】
A…アライメント手段
B…回転ブレード
C…切削手段
L…切削ライン
P…チップ
S…セラミックス基板
T…チャックテーブル
Claims (1)
- セラミックス基板に形成された複数の圧電素子等を個々のチップに分割する切削方法において、
セラミックス基板は圧電素子等のチップが一定のピッチで縦横に複数個並設され、各チップに分割するための切削ラインの基準となるパターンがセラミックス基板の対向辺にそれぞれ対設されていて、セラミックス基板の焼結後切削前に全てのパターンについて座標値を検出してアライメント情報としてCPUに記録する工程と、
切削すべきラインを切削する際にアライメント情報を呼び出して参照し、座標値に基づいて精密位置合わせを行う工程と、
を少なくとも含む切削方法。
Priority Applications (1)
| Application Number | Priority Date | Filing Date | Title |
|---|---|---|---|
| JP22455495A JP3666068B2 (ja) | 1995-08-10 | 1995-08-10 | 切削方法 |
Applications Claiming Priority (1)
| Application Number | Priority Date | Filing Date | Title |
|---|---|---|---|
| JP22455495A JP3666068B2 (ja) | 1995-08-10 | 1995-08-10 | 切削方法 |
Publications (2)
| Publication Number | Publication Date |
|---|---|
| JPH0952227A JPH0952227A (ja) | 1997-02-25 |
| JP3666068B2 true JP3666068B2 (ja) | 2005-06-29 |
Family
ID=16815608
Family Applications (1)
| Application Number | Title | Priority Date | Filing Date |
|---|---|---|---|
| JP22455495A Expired - Lifetime JP3666068B2 (ja) | 1995-08-10 | 1995-08-10 | 切削方法 |
Country Status (1)
| Country | Link |
|---|---|
| JP (1) | JP3666068B2 (ja) |
Families Citing this family (3)
| Publication number | Priority date | Publication date | Assignee | Title |
|---|---|---|---|---|
| JP4640715B2 (ja) | 2000-07-14 | 2011-03-02 | 株式会社ディスコ | アライメント方法及びアライメント装置 |
| JP5025383B2 (ja) * | 2007-08-10 | 2012-09-12 | 株式会社ディスコ | パッケージ基板の分割方法 |
| JP5127361B2 (ja) * | 2007-08-22 | 2013-01-23 | 株式会社ディスコ | パッケージ基板の分割方法 |
-
1995
- 1995-08-10 JP JP22455495A patent/JP3666068B2/ja not_active Expired - Lifetime
Also Published As
| Publication number | Publication date |
|---|---|
| JPH0952227A (ja) | 1997-02-25 |
Similar Documents
| Publication | Publication Date | Title |
|---|---|---|
| JP4640715B2 (ja) | アライメント方法及びアライメント装置 | |
| JP2617870B2 (ja) | アライメント方法 | |
| JP3666068B2 (ja) | 切削方法 | |
| JP3263871B2 (ja) | 基板および基板の位置合わせ方法 | |
| JP4612441B2 (ja) | アライメント方法 | |
| JP2015159136A (ja) | Cspウエーハの加工方法 | |
| JP2523780B2 (ja) | 部品装着機における部品認識方法 | |
| JP3593887B2 (ja) | セラミック電子部品の製造方法及び製造装置 | |
| JP6177075B2 (ja) | 加工方法 | |
| JP3528659B2 (ja) | セラミック板のダイシング方法および装置 | |
| JPH0687472B2 (ja) | フィルムキャリアテープ | |
| JPS59134825A (ja) | 半導体装置およびそのための半導体ウエ−ハ | |
| JPH06120335A (ja) | 半導体ウェーハのダイシング装置 | |
| CN114393931A (zh) | 高精度激光印字方法 | |
| JPH02116145A (ja) | 半導体装置の製造方法 | |
| JP3724256B2 (ja) | 基板の切断方法及び装置 | |
| JP2553786B2 (ja) | 回路基板認識マ−クの配置方法 | |
| JPH01304721A (ja) | 標識を有する半導体基板 | |
| JP2505743B2 (ja) | 電子装置用基板およびこの電子装置用基板への厚膜素子形成方法 | |
| JPH05183053A (ja) | 溝アライメントによる切削方法 | |
| JPS5847704Y2 (ja) | 半導体装置用容器 | |
| JPH02312203A (ja) | 厚膜抵抗体のトリミング方法 | |
| JPH03165099A (ja) | 電子部品の実装方法 | |
| JP2023031362A (ja) | ウエーハの処理方法 | |
| JP2979682B2 (ja) | マップを利用した半導体装置の組立方法 |
Legal Events
| Date | Code | Title | Description |
|---|---|---|---|
| A977 | Report on retrieval |
Free format text: JAPANESE INTERMEDIATE CODE: A971007 Effective date: 20041116 |
|
| A131 | Notification of reasons for refusal |
Free format text: JAPANESE INTERMEDIATE CODE: A131 Effective date: 20041130 |
|
| A521 | Request for written amendment filed |
Free format text: JAPANESE INTERMEDIATE CODE: A523 Effective date: 20041216 |
|
| TRDD | Decision of grant or rejection written | ||
| A01 | Written decision to grant a patent or to grant a registration (utility model) |
Free format text: JAPANESE INTERMEDIATE CODE: A01 Effective date: 20050322 |
|
| A61 | First payment of annual fees (during grant procedure) |
Free format text: JAPANESE INTERMEDIATE CODE: A61 Effective date: 20050328 |
|
| R150 | Certificate of patent or registration of utility model |
Free format text: JAPANESE INTERMEDIATE CODE: R150 |
|
| FPAY | Renewal fee payment (event date is renewal date of database) |
Free format text: PAYMENT UNTIL: 20090415 Year of fee payment: 4 |
|
| FPAY | Renewal fee payment (event date is renewal date of database) |
Free format text: PAYMENT UNTIL: 20100415 Year of fee payment: 5 |
|
| FPAY | Renewal fee payment (event date is renewal date of database) |
Free format text: PAYMENT UNTIL: 20100415 Year of fee payment: 5 |
|
| FPAY | Renewal fee payment (event date is renewal date of database) |
Free format text: PAYMENT UNTIL: 20110415 Year of fee payment: 6 |
|
| FPAY | Renewal fee payment (event date is renewal date of database) |
Free format text: PAYMENT UNTIL: 20110415 Year of fee payment: 6 |
|
| FPAY | Renewal fee payment (event date is renewal date of database) |
Free format text: PAYMENT UNTIL: 20120415 Year of fee payment: 7 |
|
| FPAY | Renewal fee payment (event date is renewal date of database) |
Free format text: PAYMENT UNTIL: 20120415 Year of fee payment: 7 |
|
| FPAY | Renewal fee payment (event date is renewal date of database) |
Free format text: PAYMENT UNTIL: 20130415 Year of fee payment: 8 |
|
| FPAY | Renewal fee payment (event date is renewal date of database) |
Free format text: PAYMENT UNTIL: 20130415 Year of fee payment: 8 |
|
| FPAY | Renewal fee payment (event date is renewal date of database) |
Free format text: PAYMENT UNTIL: 20130415 Year of fee payment: 8 |
|
| FPAY | Renewal fee payment (event date is renewal date of database) |
Free format text: PAYMENT UNTIL: 20140415 Year of fee payment: 9 |
|
| R250 | Receipt of annual fees |
Free format text: JAPANESE INTERMEDIATE CODE: R250 |
|
| R250 | Receipt of annual fees |
Free format text: JAPANESE INTERMEDIATE CODE: R250 |
|
| EXPY | Cancellation because of completion of term |
