JP3658112B2 - 窒化物半導体レーザダイオード - Google Patents
窒化物半導体レーザダイオード Download PDFInfo
- Publication number
- JP3658112B2 JP3658112B2 JP29021896A JP29021896A JP3658112B2 JP 3658112 B2 JP3658112 B2 JP 3658112B2 JP 29021896 A JP29021896 A JP 29021896A JP 29021896 A JP29021896 A JP 29021896A JP 3658112 B2 JP3658112 B2 JP 3658112B2
- Authority
- JP
- Japan
- Prior art keywords
- layer
- nitride semiconductor
- type
- semiconductor layer
- active layer
- Prior art date
- Legal status (The legal status is an assumption and is not a legal conclusion. Google has not performed a legal analysis and makes no representation as to the accuracy of the status listed.)
- Expired - Lifetime
Links
Images
Landscapes
- Semiconductor Lasers (AREA)
- Led Devices (AREA)
Description
【発明の属する技術分野】
本発明は、窒化物半導体デバイスに係り、より具体的には、レーザダイオード(LD)デバイス、発光ダイオード(LED)デバイス等の窒化物半導体発光デバイスおよび太陽電池等の受光デバイスに関し、とりわけ窒化物半導体発光デバイスに関する。
【0002】
【従来の技術】
窒化物半導体は、その組成に依存して1.95〜6.0eVまでのバンドギャップエネルギーを有し得るため、発光ダイオード(LED)デバイス、レーザダイオード(LD)デバイス等の半導体発光デバイスの材料として従来より注目されている。最近、この窒化物半導体材料を用いて高輝度の青色LEDデバイスと、緑色LEDデバイスが実用化されている。これらのLEDデバイスは、p−n接合を有するダブルへテロ構造を有しており、出力は両者とも1mWを超えている。
【0003】
従来のLEDデバイスは、基本的には、InGaNよりなる活性層が共にAlGaNよりなるn型とp型のクラッド層との間に挟まれたダブルへテロ構造を有する。n型クラッド層にはGaNよりなるn型コンタクト層が形成され、またp型クラッド層にはGaNよりなるp型コンタクト層が形成されている。この積層構造は、例えばサファイアよりなる基板上に設けられている。
【0004】
LDデバイスも基本的には前記LEDデバイスと同様の構造を有し得る。しかしながら、特にLDデバイスの場合は、光とキャリアとを別々に閉じこめる分離閉じ込め型構造が用いられることが多い。窒化物半導体の分離閉じ込め型LDデバイスは、例えば特開平6−21511号公報に示されている。この公報には、一方がn型GaNよりなり他方がp型GaNよりなる2つの光ガイド層の間に挟まれたInGaN活性層を備え、n型光ガイド層の上にn型AlGaNよりなるキャリア閉じ込め層が形成され、p型光ガイド層の上にp型AlGaNよりなるもう一つのキャリア閉じ込め層が形成された分離閉じ込め型構造の発光デバイスが開示されている。
【0005】
ところで、通常のダブルへテロ構造の半導体素子においては、活性層に接して、活性層よりもバンドギャップエネルギーが大きい第1のクラッド層が設けられ、その第1のクラッド層に接して、第1のクラッド層よりもバンドギャップエネルギーが大きい第2のクラッド層が設けられる。これは電子と正孔とが、エネルギー準位に従って、効率よく活性層に注入されるようにするためである。
【0006】
窒化物半導体LDデバイスの場合も同様に、活性層に接してバンドギャップエネルギーが次第に大きくなるように、光ガイド層、キャリア閉じ込め層(光閉じ込め層)のようなクラッド層が順次形成されている(例えば、前記公報参照)。
【0007】
【発明が解決しようとする課題】
しかしながら、インジウムを含有する活性層を有する従来の窒化物半導体デバイス特にLDデバイスは、上記構造では発光効率が低いことが判明している。特にデバイスに印加する電流を増大させるに従いデバイス温度が上昇すると、発光効率の低下が激しいことがわかった。
【0008】
従って、本発明の目的は、インジウムを含む窒化物半導体を包含する活性層を有する窒化物半導体素子であって、発光効率が高い窒化物半導体デバイスを提供することである。
また、本発明の他の目的は、デバイス温度が上昇しても発光効率の低下が少ない窒化物半導体デバイスを提供することである。
【0009】
【課題を解決するための手段】
上記課題を解決するために、本発明は、活性層とクラッド層の間に光ガイド層を形成した分離閉じ込め型の窒化物半導体レーザダイオードにおいて、前記活性層が、Inを含有する窒化物半導体より成る井戸層を有する量子井戸構造を有し、前記活性層のp側に、Alを含む窒化物半導体から成り、膜厚が500オングストローム以下であり、前記活性層に接する第1の窒化物半導体層と、InxGa1−xN(0≦x≦1)から成り、光ガイド層として作用する第2の窒化物半導体層と、Alを含む窒化物半導体から成り、クラッド層として作用し、前記第2の窒化物半導体層に接する第3の窒化物半導体層とを、順次積層したことを特徴とする窒化物半導体レーザダイオードを提供する。
【0010】
本発明の窒化物半導体デバイスにおいて、活性層は、究極的に正電極に接触すべき層構造と究極的に負電極に接触すべき層構造とにより挟持される。以下の記述において、究極的に正電極に接触すべき層構造が形成される側をp側といい、究極的に負電極に接触すべき層構造が形成される側をn側ということがある。
【0011】
上記第1の窒化物半導体層は、キャリアがトンネリングし得るに十分薄い厚さを有するために、0.1μm以下の厚さを有することが好ましいが、良好なレーザ発振の観点から、500オングストローム以下とする。通常、この第1の窒化物半導体層は、少なくとも10オングストローム以上の厚さを有することが好ましい。
【0012】
また、本件とは別発明として、n型窒化物半導体からなる第1のクラッド層;該第1のクラッド層上に設けられ、インジウムおよびガリウムを含む窒化物半導体からなり70オングストローム以下の厚さを有し、下地層上に該下地層に対して格子不整合の状態で設けられた少なくとも1層の井戸層を包含する量子井戸構造の活性層であって、該井戸層は複数のインジウムリッチ領域とインジウムプア領域を包含する活性層;および該活性層上に設けられ、アクセプター不純物をドープした窒化物半導体からなる第2のクラッド層を備えたことを特徴とする窒化物半導体デバイスがある。
【0013】
本発明において、広く窒化物半導体というとき、周期律表第3族元素の窒化物、より具体的には、式Inx Aly Ga1-x-y N(0≦x≦1、0≦y≦1、0≦x+y≦1)で示される窒化物半導体を指す。
【0014】
本発明者らは、特にインジウムを含有する活性層を有する窒化物半導体デバイスにおける、温度上昇に伴う発光効率の低下について研究した。その結果、発光効率の低下の主な原因は、インジウムを含有する窒化物半導体特にInGaNは、アルミニウムを含む窒化物半導体または窒化ガリウム(GaN)に比べて成長しにくいという性質を有していることにあることがわかった。すなわち、InGaNを構成するInNとGaNは、その分解温度が著しく異なり、InGaNは成長中にInNとGaNとに相分離する傾向にあり、インジウム含有率を多くすると均一な組成の活性層が得られにくい。そこで、InGaN活性層を有する従来の窒化物半導体では、インジウムの含有率が低く抑えられる傾向にある。
【0015】
そのようにインジウム含有率が低いInGaN活性層にGaNよりなる光ガイド層を接して形成した場合、当該活性層と光ガイド層との間のバンドオフセットは極めて小さくなる。このことを、従来の窒化物半導体発光デバイスに対応するエネルギーバンドを示す図である図6を参照して説明する。図6に示すように、従来の窒化物半導体素子では、活性層(InGaN)のバンドギャップエネルギーに比べて、InGaN活性層を直接挟んでいる光ガイド層(GaN)のバンドギャップエネルギーはそれほど大きくない(InGaN中のInの含有率が低いので、InGaN組成がGaN組成に近似するため)。このため、半導体デバイスに印加する電流値を増大させるにつれデバイスの温度が上昇すると、その熱エネルギーの影響により、それぞれn層およびp層から活性層に注入された電子および正孔が再結合して光(hν)を発する前に、電子と正孔とは活性層をオーバーフローしてそれぞれ注入側とは反対側のガイド層(GaN)にまで、すなわち電子はp型光ガイド層に、正孔はn型光ガイド層にまで達してしまう。その結果、従来の構造では発光効率が低く、特に、温度が上昇すると特に効率が低下する。
【0016】
そこで、本発明の窒化物半導体デバイスにおいては、インジウムを含む窒化物半導体を包含する活性層に接してこれを挟んで形成される2つの第1の層(第1のp側層および第1のn側層)を活性層のバンドギャップエネルギーよりも大きなバンドギャップエネルギーを有する窒化物半導体で形成する。これら第1の層は、活性層のバンドギャップエネルギーよりも大きなバンドギャップエネルギーを有していればよく、好ましくは、2つの第1の層は活性層よりも0.01〜4.05eV大きなバンドギャップエネルギーを有する。このような大きなバンドギャップエネルギーを有する第1の層の存在により、活性層に注入された電子または正孔が活性層をオーバーフローすることがなくなる。そして、各第1の層上に、好ましくはこれと接して第1の層のバンドギャップエネルギーよりも小さなバンドギャップエネルギーを有するが、好ましくは活性層のバンドギャップエネルギーよりも大きなバンドギャップエネルギーを有する窒化物半導体で形成された2つの第2の層(第2のp側層および第2のn側層)を設ける。これら第2の層は、第1の層のバンドギャップエネルギーよりも小さなバンドギャップエネルギーを有していればよく、好ましくは第1のバンドギャップエネルギーよりも0.01〜4.05eV小さなバンドギャップエネルギーを有する。さらに、各第2の層上に、これと接して、第2の層のバンドギャップエネルギーよりも大きなバンドギャップエネルギーを有する窒化物半導体で形成された2つの第3の層(第3のp側層および第3のn側層)を設ける。これら第3の層は、第2の層のバンドギャップエネルギーよりも大きなバンドギャップエネルギーを有していればよく、好ましくは、第2の層のバンドギャップエネルギーよりも0.01〜4.05eV大きなバンドギャップエネルギーを有する。かくして、第3の層側から注入された電子または正孔は、より小さなバンドギャップエネルギーを有する第2の層へ効率的に注入されるが、第1の層のバンドギャップエネルギーが大きいため、活性層への注入は第1の層により阻止される傾向にある。そこで、本発明では、電子または正孔がこの第1の層をトンネル効果により突き抜けること(トンネリング)ができる程度に第1の層を薄く形成する。こうして、電子または正孔は、第3の層から活性層まで効率的に注入されることとなる。かくして、本発明のデバイスにおいて、電子および正孔は第3の層から活性層へと効率的に注入され、かつ電子または正孔は注入側とは反対側の第1の層に阻止されてたとえデバイス温度が上昇しても活性層をオーバーフローすることがない。なお、窒化物半導体のバンドギャップエネルギーについて述べると、AlNのバンドギャップエネルギーは6.0eVであり、GaNのバンドギャップエネルギーは3.4eVであり、InNのバンドギャップエネルギーは1.95eVである。
【0018】
【発明の実施の形態】
以下、図1ないし図5を参照して本発明を説明する。これらの図を通じて、同一要素・部材は、同一符号で示されている。
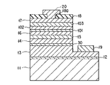
図1は本発明の第1の態様によるLDデバイスの一構造を示す模式的な断面図である。このLDデバイスにおいて、本発明の3層構造はp側に設けられている。
【0019】
図1に示すLDデバイスは、基板11上に、バッファ層12を介して、n型コンタクト層13、n型キャリア閉じ込め層(光閉じ込め層)14、n型光ガイド層15、活性層16、活性層16よりもバンドギャップエネルギーが大きい第1のp側窒化物半導体層101、第1のp側窒化物半導体層よりもバンドギャップエネルギーが小さい第2のp側窒化物半導体層102、第2のp側窒化物半導体層102よりもバンドギャップが大きい第3のp側窒化物半導体層103およびp型コンタクト層17を含む窒化物半導体積層構造が設けられている。p型コンタクト層17上にはコンタクトホール18aを設けた電流狭窄層18が設けられている。n型コンタクト層13の露出表面上には負電極19が設けられ、電流狭窄層20上には正電極20が設けられている。正電極20は、電流狭窄層18のコンタクトホール18aを通してp型コンタクト層17と接している。
【0020】
基板11は、スピネル(MgAl2 O4 )、サファイア(Al2 O3 、A面、R面、C面を含む)、SiC(6H、4H、3Cを含む)、ZnS、ZnO、GaAs、GaN等窒化物半導体を成長するために提案されている通常の材料が使用できる。
【0021】
バッファ層12は、AlN、GaN、AlGaN等で形成することができ、900℃以下の温度で、数十オングストローム〜数百オングストロームの厚さで形成することができる。バッファ層12は、基板11とその上に形成される窒化物半導体層との格子定数不整合を緩和するために形成されるものである。従って、窒化物半導体と格子整合した基板、窒化物半導体の格子定数に近い格子定数を有する基板等を使用する際、また窒化物半導体の成長方法等によっては省略することもできる。
【0022】
n型コンタクト層13は、窒化物半導体で形成され、、特にGaN、Ina Ga1-a N(0<a<1)で形成することが好ましい。(本明細書において、Ina Ga1-a N(0<a<1)または類似の表現により示される窒化物半導体を単にInGaNということがある)。特に、SiをドープしたGaNでn型コンタクト層13を形成すると、キャリア濃度の高いn型層が得られ、また負電極19との好ましいオーミック接触が得られるので、レーザ素子の閾値電流を低下させることができる。n型コンタクト層13の厚さに特に制限はないが、通常0.1μm〜5μmの厚さで形成できる。
【0023】
n型コンタクト層13のエッチングにより露出した表面に形成される負電極19は、n型コンタクト層13との好ましいオーミック接触が得られるので、Al、Ti、W、Cu、Zn、Sn、In等の金属若しくはそれらの合金で形成することが好ましい。
【0024】
n型キャリア閉じ込め層14、およびこの層14上に形成されているn型光ガイド層15は、それぞれ、n型窒化物半導体で形成される。図1に示す態様において、n型光ガイド層15は、活性層16のバンドギャップエネルギーよりも大きなバンドギャップエネルギーを有し、n型キャリア閉じ込め層14は、n型光ガイド層15のバンドギャップエネルギーよりも大きなバンドギャップエネルギーを有する。n型キャリア閉じ込め層14は、通常、0.1μm〜1μmの厚さで形成され、n型光ガイド層15は、通常、100オングストロームないし1μmの厚さで形成されることが望ましい。
【0025】
n型光ガイド層15上に形成されている活性層16は、量子井戸構造(すなわち、単一量子井戸構造または多重量子井戸構造)を有し、この量子井戸構造は、n型光ガイド層15および第1のp側窒化物半導体層101の両者のバンドギャップよりも小さなバンドギャップを有するインジウム含有窒化物半導体すなわちInd Ale Ga1-d-e N(0<d≦1、0≦e≦1、0<d+e≦1)よりなる井戸層を有する。好ましくは、井戸層は、三元混晶のInf Ga1-f N(0<f<1)で形成される。三元混晶のInGaNは四元混晶のものに比べて結晶性が良好な層を提供するので、発光出力が向上する。
【0026】
その中でも、活性層16は、InGaNよりなる井戸層と、井戸層よりもバンドギャップエネルギーが大きい窒化物半導体よりなる障壁層とを交互に積層した多重量子井戸構造(最小で3層構造となる)とすることが特に好ましい。本発明において、多重量子井戸構造は、n型光ガイド層15等のn型層上に直接設けられた最下層としての井戸層および以後述べる第1のp側窒化物半導体101等のp型層に直接接する最上層としての井戸層を有する構造であっても、あるいはn型光ガイド層15等のn型層上に直接設けられた最下層としての障壁層および第1のp側窒化物半導体層101等のp型層に直接接する最上層としての障壁層を有する構造であってもよい。障壁層を形成する窒化物半導体には、GaN、AlGaN等が含まれる。しかしながら、障壁層を井戸層と同様に三元混晶のInf'Ga1-f'N(0<f’<1、ただし、f’<f)で形成することが特に好ましい。このように活性層16をバンドギャップエネルギーが異なるInGaN層を積層した多重量子井戸構造とすると、活性層16のインジウムモル分率を変えるかあるいは以後述べる第1もしくは第3のn側もしくはp側窒化物半導体層のアルミニウムモル分率を変えることによって、量子準位間発光により約365nm〜660nmの波長の高出力のLDデバイスを実現することができる。さらに、井戸層の上にInGaN障壁層を積層すると、InGaN障壁層はAlGaNに比べて結晶が柔らかいので、その上に形成するクラッド層としての例えばAlGaN層の厚さをクラックを発生させずに厚くできるので、優れたレーザ発振が実現できる。
【0027】
多重量子井戸構造では、井戸層は70オングストローム以下、障壁層は150オングストローム以下の厚さを有することが特に望ましい。一方、1つの量子井戸層により構成される単一量子井戸構造の活性層は70オングストローム以下の厚さを有することが特に望ましい。井戸層、障壁層とも、厚さの下限は5オングストロームであることが好ましい。
【0028】
活性層16は、不純物をドープしないものでも(ノンドープ)、井戸層および/または障壁層に不純物(アクセプター不純物および/またはドナー不純物)をドープしたものでもよい。特に好ましい活性層16は、ノンドープ活性層、およびシリコンまたはゲルマニウムドープ活性層であり、不純物をドープした活性層のうち、特に好ましいものはシリコンドープ活性層である。特に、活性層にシリコンをドープすると、LDデバイスにあっては、閾値電流が低下する傾向にある。なお、シリコンのドープは、活性層を構成すべき窒化物半導体の成長中に、原料ガスに例えばテトラエチルシラン等の有機シリコンガス、シラン等の水素化シリコンガス、四塩化シリコン等のハロゲン化シリコンガス等を添加することによって行うことができる。
【0029】
活性層16に接して設けられている第1のp側窒化物半導体層101は、活性層16(より厳密には、その井戸層)よりもバンドギャップエネルギーが大きい窒化物半導体で形成されている。特に好ましくは第1の窒化物半導体層は、Alを含む窒化物半導体すなわちIng Alh Ga1-g-h N(0≦g≦1、0<h≦1、0<g+h≦1)で形成され、特に好ましくは三元混晶のAlj Ga1-j N(0<j<1)で形成される。(本明細書において、Alj Ga1-j N(0<j<1)または類似の表現で示される窒化物半導体を単にAlGaNということがある)。
【0030】
第1のp側窒化物半導体層101は、i型かp型であることが好ましい。特にAlGaNは高キャリア濃度のp型が得られやすく、しかもInGaNを包含する井戸層を含む活性層16に接して形成することにより、発光出力が高い素子を得ることができる。
【0031】
なお、本発明において、窒化物半導体(活性層の窒化物半導体も含む)をp型とするには、結晶成長中にMg、Zn、C、Be、Ca、Ba等のアクセプター不純物をドープすることによって得られる。アクセプター不純物濃度は、1×1017〜1×1022/cm3 であることが好ましい。特にアクセプター不純物がマグネシウムである場合、その濃度は、1×1018〜1×1020/cm3 、特に1×1019〜1×1020/cm3 であることが殊に好ましい。いずれの場合でも、高キャリア濃度のp層を得るためには、アクセプター不純物をドープした後、不活性ガス雰囲気中、400℃以上でアニーリング(熱処理)することがより望ましい。アニーリングを行うことにより、通常、Mgドープp型AlGaNの場合で1×1017〜1×1019/cm3 のキャリア濃度が得られる。またi型の窒化物半導体を得るには、例えば、Alj Ga1-j Nにおいてjの値が0.5以上の窒化物半導体を成長させることにより、アクセプター不純物をドープすることなくi型窒化物半導体を得ることができる。また、i型窒化物半導体は、p型窒化物半導体層にその正孔キャリア濃度を補償するだけのドナー不純物をドープするか、n型窒化物半導体層にその電子キャリア濃度を補償するだけのアクセプター不純物をドープすることによっても得られる。
【0032】
第1の窒化物半導体層101の厚さは、第1の窒化物半導体層101をキャリアがトンネリングし得るに十分に薄い厚さを有することが好ましい。より具体的には、半導体層101は、0.1μm以下、さらに好ましくは0.05μm(500オングストロング)以下、最も好ましくは0.03μm(300オングストローム)以下の厚さを有することが望ましい。半導体層101の厚さをこのように薄くすると、第1のp側窒化物半導体層101中のクラック発生を防止でき、結晶性の良い窒化物半導体層を成長させることができる。またAlの比率が大きいAlGaN程薄く形成するとレーザ発振しやすくなる。例えば、jの値が0.2以上のAlj Ga1-j Nを用いた場合、500オングストローム以下の厚さで半導体層101を形成することが望ましい。第1のp側窒化物半導体層101の厚さの下限には特に制限はないが、10オングストローム以上の膜厚で形成することが望ましい。
【0033】
第2のp側窒化物半導体層102は、第1のp側窒化物半導体層101のバンドギャップエネルギーよりも小さなバンドギャップエネルギーを有し、かつ第1のp側窒化物半導体層101よりも活性層から離れた位置にあり、最も望ましくは図1に示すように、第1のp側窒化物半導体層101に接して形成する。第2のp側窒化物半導体層102は、好ましくはInk Ga1-k N(0≦k≦1)で形成され、特にGaNまたはInGaNで形成することが好ましい。この第2のp側窒化物半導体層102をGaNまたはInGaNで形成すると、比較的厚く形成してもクラックが入ることが少なく結晶性の良い第2の半導体層102が得られる。第2のp側窒化物半導体層102は0.01μm〜5μm、さらに好ましくは0.02μm〜1μmの厚さを有することが好ましく、この範囲の厚さにおいて、例えば好ましい光ガイド層として作用し得る。なお、第2のp側窒化物半導体層102は、アクセプター不純物を含有するものであり、またp型であることが好ましい。
【0034】
さらに、特にInGaNまたはGaNで形成された第2のp側窒化物半導体層102は、以後説明する第3のp側窒化物半導体層103を成長させる際のバッファ層としても作用する。InGaNまたはGaNは、AlGaNに比べて結晶が柔らかい。従って、活性層よりもバンドギャップが大きい第1のp側窒化物半導体層101と、第3のp側窒化物半導体層103との間にInGaNまたはGaNからなる第2のp側窒化物半導体層102を存在させることにより、第3のp側窒化物半導体層103にクラックが発生することが防止され、それにより、第3のp側窒化物半導体層103を第1のp側窒化物半導体層101に比べて厚く形成することができる。
【0035】
第3のp側窒化物半導体層103は、第2のp側窒化物半導体層102のバンドギャップエネルギーよりも大きなバンドギャップエネルギーを有し、第2のp側窒化物半導体層102よりも活性層から離れた位置にあり、最も望ましくは図1に示すように第2のp側窒化物半導体層102に接して形成される。第3のp側窒化物半導体層103は、Alを含む窒化物半導体すなわちInm Aln Ga1-m-n N(0≦m≦1、0<n≦1、0<m+n≦1)で形成することが好ましく、特に好ましくは三元混晶のAlGaNで形成する。
【0036】
この第3のp側窒化物半導体層103は、第2のp側窒化物半導体層102のバンドギャップエネルギーより大きなバンドギャップエネルギーを有することが要求される。第3のp側窒化物半導体層103は、キャリア閉じ込め層及び光閉じ込め層として作用するからである。この第3のp側窒化物半導体層103は、0.01μm以上、2μm以下、さらに好ましくは0.05μm以上、1μm以下の厚さを有することが望ましく、この厚さの範囲内において、結晶性の良いキャリア閉じ込め層として作用し得る。なお、第3のp側窒化物半導体層103はアクセプター不純物を含有するものであり、また好ましくはp型である。
【0037】
第3のp側窒化物半導体層103上に形成されているp型コンタクト層17は、p型窒化物半導体で形成される。特に、p型コンタクト層103をInGaNまたはGaN、とりわけMgをドープしたp型GaNで形成すると、最もキャリア濃度の高いp型層が得られ、正電極と良好なオーミック接触を達成し、それにより閾値電流を低下させることができる。
【0038】
正電極20は、オーミック接触を得るために、Ni、Pd、Ir、Rh、Pt、Ag、Au等の比較的仕事関数の高い金属又はこれらの合金好ましくはで形成されることが好ましい。
【0039】
電流狭窄層18は、絶縁性材料、好ましくは二酸化ケイ素で形成される。この電流狭窄層18は、省くことができる。
ところで、図1において、n型キャリア閉じ込め層14は、クラック防止層30を介してn型コンタクト層13上に形成されている。
【0040】
すなわち、アルミニウムを含有する窒化物半導体は、厚さを厚く成長させると成長した結晶にクラックが発生しやすいという性質を有する。特に、n型のアルミニウム含有窒化物半導体をGaN層またはAlGaN層上にクラックを発生させないで直接厚く成長させることが困難である。例えば、n型GaN等で形成されるn型コンタクト層13上に、n型キャリア閉じ込め層14のように、例えば0.1μm以上と厚く形成する必要があるn型層をアルミニウムを含有する窒化物半導体特にAlGaNで形成することが困難である。そこで、n型コンタクト層13の上に、クラック防止層30として、インジウムを含有する窒化物半導体、好ましくはInp Ga1-p N(0<p≦1)からなるn型層を形成した後に、n型のアルミニウム含有窒化物半導体からなるn型キャリア閉じ込め層14を形成する。クラック防止層30の存在により、n型キャリア閉じ込め層14は、クラックを発生することなく、所望の厚さ(例えば、0.1μm以上)に成長させることができる。クラック防止層30は、100オングストローム以上、0.5μm以下の厚さを有することが好ましい。なお、このクラック防止層30は、n型コンタクト層13層内部にあっても同様の効果を奏する。
【0041】
図2は本発明の第2の態様による窒化物半導体LDデバイスを概略的に示す断面図であり、図1と同一符号は同一部材を示している。図2を参照すると、基板11上には、バッファ層12を介して、n型コンタクト層13、クラック防止層30、第3のn側窒化物半導体層203、第2のn側窒化物半導体層202、第1のn側窒化物半導体層201、活性層16、p型光ガイド層31、p型キャリア閉じ込め層(光閉じ込め層)32、p型コンタクト層17、電流狭窄層18が順次形成されている。n型コンタクト層13には負電極19が、p型コンタクト層17には、正電極20が電気的に接続されている。
【0042】
図2に示すLDデバイスにおいて、第1のn側窒化物半導体層201、第2のn側窒化物半導体層202および第3のn側窒化物半導体層203は、導電型を除いて、それらのバンドギャップエネルギー、それらを構成する窒化物半導体材料およびそれらの厚さの範囲の点において、それぞれ図1に関して説明した対応する第1のp側窒化物半導体層101、第2のp側窒化物半導体層102および第3のp側窒化物半導体層103と基本的に同様であり、第1のp側窒化物半導体層101、第2のp側窒化物半導体層102および第3のp側窒化物半導体層103について述べた材料の好ましさ、厚さの好ましさ等も、それぞれ、第1のn側窒化物半導体層201、第2のn側窒化物半導体層202および第3のn側窒化物半導体層203について適用し得る。
【0043】
簡単に繰り返すと、活性層16に接して形成されている第1のn側窒化物半導体層201は、活性層16(より厳密には、その井戸層)よりもバンドギャップエネルギーが大きい窒化物半導体で形成されている。特に好ましくは第1のn側窒化物半導体層201は、Alを含む窒化物半導体で形成され、殊に好ましくは三元混晶のAlGaNで形成される。
【0044】
第1のn側窒化物半導体層201の厚さも、第1のp側窒化物半導体101と同様、第1のn側窒化物半導体層201をキャリア(電子キャリア)がトンネリングし得るに十分に薄い厚さを有する。より具体的には、半導体層201は、0.1μm以下、さらに好ましくは0.05μm(500オングストロング)以下、最も好ましくは0.03μm(300オングストローム)以下の厚さを有することが望ましい。第1のn側側窒化物半導体層201も、10オングストローム以上の厚さを有することが望ましい。
【0045】
なお、第1のn側窒化物半導体層201は、n型かi型であることが好ましい。
本発明において、n型窒化物半導体(活性層の場合も含む)はノンドープ(不純物をドープしない状態)でも得られるが、好ましいn型とするには、結晶成長中にSi、Ge、Sn、S等のドナー不純物をドープすることによって得られる。その場合、ドナー不純物は、1×1016〜1×1022/cm3 の濃度でドープすることが好ましい。とりわけシリコンは、1×1017〜1×1021/cm3 の濃度が特に好ましく、1×1018〜1×1020/cm3 の濃度が最も好ましい。
【0046】
第2のn側窒化物半導体層202は、第1のn側窒化物半導体層201のバンドギャップエネルギーよりも小さなバンドギャップエネルギーを有し、かつ第1のn側窒化物半導体層201よりも活性層から離れた位置にあり、最も望ましくは図2に示すように、第1のn側窒化物半導体層201に接して形成する。第2のn側窒化物半導体層202は、好ましくはInk Ga1-k N(0≦k≦1)で形成され、特にGaNまたはInGaNで形成することが好ましい。第2のn側窒化物半導体層202は0.01μm〜5μm、さらに好ましくは0.02μm〜1μmの厚さを有することが好ましく、この範囲の厚さにおいて、例えば好ましい光ガイド層として作用し得る。第2のn側窒化物半導体層202は、n型である。なお、図1に関して説明したように、第2のp側窒化物半導体層102は、その上に比較的厚く形成される第3のp側窒化物半導体層103を成長させるため際のバッファ層として作用している。同様に、第2のn側窒化物半導体層202も、第1のn側窒化物半導体層201を成長させる際のバッファ層として作用するが、第1のn側窒化物半導体層201は薄いので、バッファ層としての役割はそれほど重要でない。
【0047】
第3のn側窒化物半導体層203も、第3のp側窒化物半導体層103と同様、キャリア閉じ込め層及び光閉じ込め層として作用するため第2のn側窒化物半導体層202のバンドギャップエネルギーよりも大きなバンドギャップエネルギーを有し、第2のn側窒化物半導体層202よりも活性層16から離れた位置にあり、最も望ましくは図2に示すように第2のn側窒化物半導体層202に接して形成される。第3のn側窒化物半導体層203も、Alを含む窒化物半導体で形成することが好ましく、特に好ましくは三元混晶のAlGaNで形成する。この第3のn側窒化物半導体層203も、0.01μm以上、2μm以下、さらに好ましくは0.05μm以上、1μm以下の厚さを有することが望ましく、この厚さの範囲内において、結晶性の良いキャリア閉じ込め層および光閉じ込め層として作用し得る。なお、第3のn側窒化物半導体層203はn型である。好ましくはアルミニウムを含有する窒化物半導体からなる第3のn側窒化物半導体層203は、好ましくはn型GaNで形成されるn型コンタクト層13上に、クラック防止層30を介して形成されている。
【0048】
p型光ガイド層31およびp型キャリア閉じ込め層(光閉じ込め層)32は、それぞれp型窒化物半導体で形成される。p型キャリア閉じ込め層(光閉じ込め層)32のバンドギャップエネルギーは、p型光ガイド層31のそれよりも大きい。
【0049】
図3は、活性層の両側(p側およびn側)にそれぞれ本発明の3層積層構造を形成した現在のところ最も好ましい態様による窒化物半導体LDデバイスを示している。図3を参照すると、基板11上には、バッファ層12を介して、n型コンタクト層13、クラック防止層30、第3のn側窒化物半導体層203、第2のn側窒化物半導体層202、第1のn側窒化物半導体層201、活性層16、第1のp側窒化物半導体層101、第2のp側窒化物半導体層102、第3のp側窒化物半導体層103およびp型コンタクト層17を含む窒化物半導体積層構造が設けられている。p型コンタクト層17上にはコンタクトホール18aを設けた電流狭窄層18が設けられている。n型コンタクト層13の露出表面上には負電極19が設けられ、電流狭窄層20上には正電極20が設けられている。正電極20は、電流狭窄層18のコンタクトホール18aを通してp型コンタクト層17と接している。図3に示すデバイスを構成する要素は、図1および図2に関して説明した通りのものである。
【0050】
なお、本発明の窒化物半導体デバイスを構成する窒化物半導体層は、有機金属気相成長法(MOVPE)により好ましく成長させることができる。しかしながら、窒化物半導体層は、例えば、ハイドライド気相成長法(HDVPE)、分子線気相成長法(MBE)等窒化物半導体を成長させるために従来使用されている他の方法によっても成長させることができる。
【0051】
図4は、図3に示す構造の、多重量子井戸構造の活性層を有するLDデバイスのエネルギーバンドを概略的に示す。図4に示すように、本発明のダブルへテロ構造のLDデバイスでは、インジウム含有窒化物半導体を包含する活性層16に接して、第1のp側窒化物半導体層101および第1のn側窒化物半導体層201が設けられている。すなわち、活性層16(より厳密には、その井戸層)のバンドギャップエネルギーよりも大きく、さらに第2のp側窒化物半導体層102および第2のp側窒化物半導体層202のバンドギャップエネルギーよりも大きなバンドギャップエネルギーを有する2つの第1の窒化物半導体層101、201が、活性層16に接して設けられている。しかも、これら2つの第1の窒化物半導体層の膜厚を薄く設定してあるため、これら半導体層101、201は、キャリアに対してバリアとして作用することはなく、第3のn側窒化物半導体層203側から第2のn側窒化物半導体層202に注入された電子キャリアと、第3のp側窒化物半導体層103側から第2のp側窒化物半導体層102に注入された正孔キャリアは、トンネル効果によりそれぞれ第1のn側窒化物半導体層201および第1のp側窒化物半導体層101を突き抜けることができ、活性層16において効率よく再結合し、光(hν)を発する。
【0052】
そして注入されたキャリアは、第1の窒化物半導体層101、201のハンドギャップエネルギーが大きいため、デバイスの温度が上昇しても、または注入電流密度が増えても、キャリアは活性層16をオーバーフローせず、第1の窒化物半導体層101、201で阻止されるため、キャリアが活性層16に有効に蓄積され、効率よく発光することが可能となる。従って、本発明の窒化物半導体デバイスは、デバイス温度が上昇しても発光効率が低下することが少なく、閾値電流の低いLDデバイスとなる。
【0053】
ところで、本発明者らは、本発明のデバイスにおける活性層、特にインジウムとガリウムを含有する窒化物半導体からなる井戸層を有する活性層について詳細に研究した。その結果、例えばInGaNを成長させると、条件によっては、成長したInGaN層が、インジウム含有率において全体的に不均一となり、かくしてインジウムリッチ領域とインジウムプア領域を形成することがわかった。このように形成されたインジウムリッチ領域に電子キャリアと正孔キャリアが局在し、エキシトンに基づく発光またはバイエキシトンに基づく発光をする。すなわち、インジウムリッチ領域は、量子ドットまたは量子ボックスを構成する。InGaN井戸層が、このような量子ドットまたは量子ボックスを形成するためには、n型半導体層上に当該井戸層が、図1〜図3に関して説明したデバイスにおけるように、n型半導体層(アルミニウム含有窒化物半導体15、201)上に当該n型半導体層に対して格子不整合の状態で形成され、その厚さが70オングストローム以下であることが必要であることがわかった。この井戸層構造は、これを形成した後短時間好ましくは2ないし20秒間おいてからその上に半導体層を形成するようにすると都合よく形成される。なお、この井戸層を有する活性層上に形成されるさらなる層は、アクセプター不純物を含有していればよい。このような構成のLDデバイスは、通常の量子井戸レーザーよりも閾値電流が低く、より高い特性温度を有し得る。
【0054】
かくして、本発明は、n型窒化物半導体からなる第1のクラッド層;該第1のクラッド層上に設けられ、インジウムおよびガリウムを含む窒化物半導体からなり70オングストローム以下の厚さを有し、下地層上に該下地層に対して格子不整合の状態で設けられた少なくとも1層の井戸層を包含する量子井戸構造の活性層であって、該井戸層は複数のインジウムリッチ領域とインジウムプア領域を包含する活性層;および該活性層上に設けられ、アクセプター不純物をドープした窒化物半導体からなる第2のクラッド層を備えたことを特徴とする窒化物半導体デバイスをも提供する。ここで、下地層というとき、図1〜図3に関して説明したデバイスにおけるようになn型半導体層(アルミニウム含有窒化物半導体15、201)等の該第1のクラッド層自体または当該第1のクラッド層上に設けられた障壁層あるいは障壁層自体を指すものとする。図5は、このデバイスを概念的に示す断面図である。図5では、活性層は、簡便のため単一量子井戸構造を有するものとして示されている。図5に示すように、n型窒化物半導体からなる第1のクラッド層52上に格子不整合状態で70オングストローム以下の厚さに形成された量子井戸層(活性層)54は、例えば全体的にはInGaNで形成されるが、相分離を生じさせることによってインジウムリッチ領域54aとインジウムプア領域54bを構成する。より詳しくは、インジウムリッチ領域54aとインジウムプア領域54bとがドットまたはボックスとして存在し、これらは大きさが20〜50オングストロームであり得、各インジウムリッチ領域54aと各インジウムプア領域54bとは井戸層の面方向において交互にほぼ規則的に配列されている。この活性層54の上には、アクセプター不純物をドープした窒化物半導体からなる第2のクラッド層56が設けられている。
【0055】
もちろん、量子ドットまたは量子ボックスを構成する井戸層を有する活性層は、図1〜図3に関して説明したデバイスにおける活性層16を構成することが好ましい。なお、相分離した井戸層のバンドギャップエネルギーは、当該井戸層の平均組成によって決まる。
【0056】
このような量子ドットまたは量子ボックスを構成する井戸層を有する活性層において、アクセプター不純物および/またはドナー不純物をドープすると、閾値電流がより一層低下し得る。
【0057】
すなわち、1つの井戸層の面内においてインジウムの含有率が不均一であることは、単一の井戸層の面方向においてバンドギャップの異なるInGaN領域(インジウムリッチ領域およびインジウムプア領域)が存在することを意味する。従って、伝導帯に存在する電子は一旦インジウムリッチ領域に落ち、そこから価電子帯に存在する正孔と再結合することによりhνのエネルギーを放出する。言い換えると、電子キャリアと正孔キャリアとが井戸層のインジウムリッチ領域(相)に局在化し、局在エキシトンを形成し、レーザの閾値電流を低下させる助けとなるとともに、レーザの発光出力を向上させる。
【0058】
このような井戸層に、シリコン等のドナー不純物および/またはアクセプター不純物をドープすると、伝導帯と価電子帯との間に、さらに不純物レベルのエネルギー準位が形成される。そのため、電子キャリアは、より深い不純物レベルのエネルギー準位に落ち、正孔キャリアは、p型不純物のレベルに移動して、そこで電子キャリアと正孔キャリアとが再結合してより小さなエネルギーhνを放出する。このことは、電子キャリアと正孔キャリアとがより一層局在化し、この一層局在化して形成されたエキシトンの効果によりレーザデバイスの閾値電流が低下するものと信じられる。井戸層にドープする不純物としては、シリコンおよびゲルマニウムが好ましく、特にシリコンが好ましい。特にシリコンをドープすることによりデバイスの閾値電流がさらに低下する傾向にある。なお、シリコン、マグネシウム等の不純物は、井戸層だけでなく、障壁層にもドープしてもよく、また多重量子井戸構造の活性層の場合には、井戸層1層のみ、または障壁層1層のみにドープしてもよい。
【0059】
【実施例】
以下、本発明を実施例により説明する。
実施例1
本実施例では、図3に示す構造の窒化物半導体LDデバイスを作製した。
【0060】
まず、よく洗浄したスピネル基板11(MgAl2 O4 )を反応容器内にセットし、反応容器内を水素で十分置換した後、水素を流しながら、基板の温度を1050℃まで上昇させ、基板のクリーニングを行った。
【0061】
ついで、温度を510℃まで下げ、キャリアガスとして水素を用い、原料ガスとしてアンモニアとトリメチルガリウム(TMG)とを用い、基板11上にGaNバッファ層12を約200オングストロームの厚さに成長させた。
【0062】
バッファ層成長後、TMG流のみ止めてアンモニアガスを流しながら、温度を1030℃まで上昇させた。1030℃で、TMGガスを追加し、ドーパントガスとしてシランガス(SiH4 )を用いて、n型コンタクト層13としてSiドープn型GaN層を4μmの厚さに成長させた。
【0063】
次に、温度を800℃に下げ、原料ガスとしてTMG、TMI(トリメチルインジウム)およびアンモニアを用い、不純物ガスとしてシランガスを用いて、SiドープIn0.1 Ga0.9 Nよりなるクラック防止層30を500オングストロームの厚さに成長させた。
【0064】
ついで、温度を1030℃に上げ、原料ガスとしてトリメチルアルミニウム(TMA)、TMGおよびアンモニアを用い、ドーパントとしてシランを用い、Siドープn型Al0.2 Ga0.8 Nよりなる第3のn型窒化物半導体層203を0.5μmの厚さに成長させた。
【0065】
次に、温度を800℃に下げ、TMA流のみ止めて、Siドープn型GaNよりなる第2のn型窒化物半導体層202を0.2μmの厚さに成長させた。
ついで、温度を1050℃に上げ、原料ガスにTMA、TMGおよびアンモニアを用い、ドーパントとしてシランを用いて、Siドープn型Al0.1 Ga0.9 Nよりなる第1のn型窒化物半導体層201を300オングストロームの厚さに成長させた。
【0066】
次に原料ガスとしてTMG、TMIおよびアンモニアを用いて活性層16を以下の通りに成長させた。まず、温度を800℃に保持して、ノンドープIn0.2 Ga0.8 Nよりなる井戸層を25オングストロームの膜厚で成長させた。次にTMIのモル比を変化させて、同一温度で、ノンドープIn0.01Ga0.99Nよりなる障壁層を50オングストロームの膜厚で成長させる。この操作を2回繰り返し、最後に井戸層を積層し、全部で7層の多重量子井戸構造の活性層を成長させた。
【0067】
次に、温度を1050℃に上げ、TMG、TMA、アンモニア、シクロペンタジエニルマグネシウム(Cp2 Mg)を用い、Mgドープp型Al0.1 Ga0.9 Nよりなる第1のp型窒化物半導体層101を300オングストロームの厚さに成長させた。
【0068】
続いて、1050℃で、TMG、アンモニア、およびCp2 Mgを用いて、Mgドープp型GaNよりなる第2のp型窒化物半導体層102を0.2μmの厚さに成長させた。
【0069】
ついで、1050℃で、TMG、TMA、アンモニア、シクロペンタジエニルマグネシウム(Cp2 Mg)を用い、、Mgドープp型Al0.2 Ga0.8 Nよりなる第3のp型窒化物半導体層103を0.5μmの厚さに成長させる。
【0070】
最後に、1050℃でMgドープp型GaNよりなるp型コンタクト層17を0.5μmの厚さに成長させた。
全ての反応終了後、温度を室温まで下げてウェーハを反応容器から取り出し、700℃でウェーハのアニーリングを行い、p型層をさらに低抵抗化した。次に、最上層のp型コンタクト層17からn型コンタクト層13の表面が露出するまでストライプ状にエッチングした。エッチング後、p型コンタクト層17の表面に二酸化シリコンよりなる電流狭窄層18を形成し、これにコンタクトホールを形成した後、電流狭窄層30を介して、p型コンタクト層17と接するようにNiとAuよりなる正電極20をストライプ状に形成した。一方TiとAlよりなる負電極19をストライプ状に形成した。
【0071】
次に、ウェーハをストライプ状の電極に垂直な方向でバー状に切断し、切断面を研磨して平行鏡を作成した後、平行鏡にSiO2 とTiO2 とを交互に積層した誘電体多層膜を形成した。最後に電極に平行な方向で、バーを切断してストライプサイズ4μm×600μmのレーザチップとした後、チップをヒートシンクに設置し、常温でレーザ発振を試みたところ、パルス電流下(パルス幅10マイクロ秒、デューティ比10%)で、発振波長400nmのレーザ発振が確認され、閾値パルス電流密度=2kA/cm2 、T0 (特性温度)=200Kであった。
【0072】
次に、デバイスの閾値電流密度の温度依存性により本発明のLDデバイスを評価した。LDの閾値電流密度Jthは、
exp(T/T0 )
(但し、T:動作温度(K)、T0 :特性温度(K))に比例する。すなわち、T0 が大きいほどLDデバイスは、高温でも閾値電流密度が低く安定に動作する。
【0073】
実施例1のデバイスにおいて、第1の窒化物半導体層101、201をいずれも形成しなかった場合は、レーザ発振しなかった。また、実施例1において、第1の窒化物半導体層101、201のいずれか一方のみを形成しなかった場合の本発明のLDデバイスは、Jth=3kA/cm2 、T0 は100Kであった。実施例1のLDデバイスは、第1の窒化物半導体層101、201双方のAlj Ga1-j Nのj値が0.1の場合(実施例1)、前に述べたように、Jth=2kA/cm2 、T0 =200Kであったが、j値が0.2の場合は、Jth=1.5kA/cm2 、T0 =300K、j値が0.3の場合はJth=1.4kA/cm2 、T0 =400Kであり、本発明のLDデバイスの温度特性が非常に優れていることを示している。
【0074】
実施例2
第1のn側窒化物半導体層201を成長させなかった以外は、実施例1と同様にして本発明のLDデバイスを得た。このLDは図1に示すLDデバイスと同一の構造を有しており、図1のn型キャリア閉じ込め層(光閉じ込め層)14が、第3のn側窒化物半導体層203に相当し、n型光ガイド層15が、第2のn側窒化物半導体層202に相当するものである。このLDデバイスはJth=3kA/cm2 で発振波長400nmのレーザ発振が確認され、T0 =100Kであった。
【0075】
実施例3
第1のp側窒化物半導体層101を成長させなかった以外は、実施例1と同様にして本発明のLDデバイスを得た。このLDは図2に示すLDデバイスと同一の構造を有しており、図2のp型キャリア閉じ込め層(光閉じ込め層)32が、第3のp側窒化物半導体層103に相当し、p型光ガイド層31が、第2のp側窒化物半導体層102に相当するものである。このLDデバイスは、実施例2のLDと同じく、Jth=3kA/cm2 で発振波長400nmのレーザ発振が確認され、T0 =100Kであった。
【0076】
実施例4
活性層16を、50オングストロームの膜厚のノンドープIn0.2 Ga0.8 Nの井戸層よりなる単一量子井戸構造とし、第1のp型窒化物半導体層101をAl0.3 Ga0.7 Nで形成した以外は、実施例2と同様にして本発明のLDデバイスを得た。このLDもJth=5kA/cm2 で発振波長410nmのレーザ発振が確認され、T0 =50Kであった。
【0077】
実施例5
第2のn型窒化物半導体層202をSiドープn型In0.01Ga0.99Nで形成し、第2のp型窒化物半導体102をMgドープp型In0.01Ga0.99Nで形成した以外は実施例1と、同様にしてLDデバイスを作製した。このLDデバイスは、実施例1のLDデバイスと全く同一の特性を示した。
【0078】
実施例6
活性層の井戸層および障壁層に、それぞれ、ドナー不純物としてシリコンを1×1019/cm3 の濃度でドープした以外は、実施例1と同様にして本発明のLDデバイスを作製した。このLDデバイスは、実施例1のLDデバイスに比べて、閾値電流がおよそ5%低下し、T0 はおよそ10%向上した。
【0079】
実施例7
活性層の井戸層および障壁層に、それぞれ、アクセプター不純物としてマグネシウムを1×1018/cm3 の濃度でドープした以外は、実施例1と同様にして本発明のLDデバイスを作製した。このLDデバイスは、実施例1のLDデバイスとほぼ同等の特性を示した。
【0080】
実施例8
活性層の井戸層および障壁層に、それぞれ、ドナー不純物としてシリコンを1×1019/cm3 の濃度でおよびアクセプター不純物としてマグネシウムを1×1018/cm3 の濃度でドープした以外は、実施例1と同様にして本発明のLDデバイスを作製した。このLDデバイスは、実施例6のLDデバイスとほぼ同等の特性を示した。
【0081】
実施例9
各ノンドープIn0.2 Ga0.8 N(平均組成)井戸層形成後、5秒間そのまま保持してから各障壁層を形成した以外は、実施例1と同様にしてLDデバイスを作製した。このLDデバイスにおいて、井戸層は、インジウムリッチ領域とインジウムプア領域とに相分離しており、インジウムリッチ領域は組成がほぼIn0.4 Ga0.6 Nに相当し、インジウムプア領域は組成がほぼIn0.02Ga0.98Nに相当するものであった。また、井戸層の断面TEM写真により、それぞれ平均で30オングストロームの大きさのインジウムリッチ領域とインジウムプア領域とが面方向に互いに交互に規則的に並んでいることが確認された(図5参照)。こうして作製したLDデバイスは、実施例1のLDデバイスに対して閾値電流密度においておよそ30%低下し、T0 において20%向上していた。
【0082】
実施例10
各井戸層にシリコンをドープした以外は実施例9と同様にしてLDデバイスを作製した。このLDデバイスは、実施例1のLDデバイスに対して閾値電流密度においておよそ40%低下し、T0 において30%向上していた。
なお、上記各実施例において、濃度を特に指摘しなかった不純物も、いずれも先に述べた好ましい範囲内でドープしたものであった。
【0083】
以上説明した実施例では、最も好ましい例として、活性層と、第1の窒化物半導体層と、第2の窒化物半導体層と、第3の窒化物半導体層とが接して形成されている例について説明したが、本発明では活性層に接して形成されているのは、第1の窒化物半導体層のみでよく、第1の窒化物半導体層と第2の窒化物半導体層との間、第2の窒化物半導体層と第3の窒化物半導体層との間に、他の窒化物半導体層を挿入することもできる。ドープした不純物の濃度は、
【0084】
【発明の効果】
以上述べたように、本発明によれば、インジウムを含む窒化物半導体を包含する活性層を有する窒化物半導体素子であって、発光効率が高い窒化物半導体デバイスが提供され、またデバイス温度が上昇しても発光効率の低下が少ない窒化物半導体デバイスが提供される。
【図面の簡単な説明】
【図1】本発明の第1の態様に係るLDデバイスを概略的に示す断面図。
【図2】本発明の第2の態様に係るLDデバイスを概略的に示す断面図。
【図3】本発明の第3の態様に係るLDデバイスを概略的に示す断面図。
【図4】図3に示すデバイス構造に対応するエネルギーバンドを示す図。
【図5】本発明の第4の態様に係るLDデバイスを概略的に示す断面図。
【図6】従来のLDデバイスの層構造に対応するエネルギーバンドを示す図。
【符号の説明】
11…基板
13…n型コンタクト層
14…n型キャリア閉じ込め層
15…n型光ガイド層
16,54…活性層
17…p型コンタクト層
19…負電極
20…正電極
30…クラック防止層
52…第1のクラッド層
54a…インジウムリッチ領域
54b…インジウムプア領域
56…第2のクラッド層
101…第1のp側窒化物半導体層
102…第2のp側窒化物半導体層
103…第3のp側窒化物半導体層
201…第1のn側窒化物半導体層
202…第2のn側窒化物半導体層
203…第3のn側窒化物半導体層。
Claims (7)
- 活性層とクラッド層の間に光ガイド層を形成した分離閉じ込め型の窒化物半導体レーザダイオードにおいて、
前記活性層が、Inを含有する窒化物半導体より成る井戸層を有する量子井戸構造を有し、
前記活性層のp側に、Alを含む窒化物半導体から成り、膜厚が500オングストローム以下であり、前記活性層に接する第1の窒化物半導体層と、InxGa1−xN(0≦x≦1)から成り、光ガイド層として作用する第2の窒化物半導体層と、Alを含む窒化物半導体から成り、クラッド層として作用し、前記第2の窒化物半導体層に接する第3の窒化物半導体層とを、順次積層したことを特徴とする窒化物半導体レーザダイオード。 - 前記井戸層が、InGaNより成ることを特徴とする請求項1に記載の窒化物半導体レーザダイオード。
- 前記活性層が、In組成が互いに異なる窒化物半導体を積層した多重量子井戸構造であることを特徴とする請求項1又は2に記載の窒化物半導体レーザダイオード。
- 前記第2の窒化物半導体層が、InGaNから成ることを特徴とする請求項1乃至3のいずれか1項に記載の窒化物半導体レーザダイオード。
- 前記第1の窒化物半導体層が、y値が0.2以上のAlyGa1−yNから成ることを特徴とする請求項1乃至4のいずれか1項に記載の窒化物半導体レーザダイオード。
- 前記第2の窒化物半導体層が、前記第1の窒化物半導体層に接して設けられていることを特徴とする請求項1乃至5のいずれか1項に記載の窒化物半導体レーザダイオード。
- 前記第3の窒化物半導体層が、前記第1の窒化物半導体層よりも厚く形成されていることを特徴とする請求項1乃至6のいずれか1項に記載の窒化物半導体レーザダイオード。
Priority Applications (1)
| Application Number | Priority Date | Filing Date | Title |
|---|---|---|---|
| JP29021896A JP3658112B2 (ja) | 1995-11-06 | 1996-10-31 | 窒化物半導体レーザダイオード |
Applications Claiming Priority (7)
| Application Number | Priority Date | Filing Date | Title |
|---|---|---|---|
| JP7-287189 | 1995-11-06 | ||
| JP28718995 | 1995-11-06 | ||
| JP8-186339 | 1996-07-16 | ||
| JP18633996 | 1996-07-16 | ||
| JP22814796 | 1996-08-29 | ||
| JP8-228147 | 1996-08-29 | ||
| JP29021896A JP3658112B2 (ja) | 1995-11-06 | 1996-10-31 | 窒化物半導体レーザダイオード |
Related Child Applications (1)
| Application Number | Title | Priority Date | Filing Date |
|---|---|---|---|
| JP2001230551A Division JP4239444B2 (ja) | 1995-11-06 | 2001-07-30 | 窒化物半導体レーザダイオード |
Publications (2)
| Publication Number | Publication Date |
|---|---|
| JPH10126006A JPH10126006A (ja) | 1998-05-15 |
| JP3658112B2 true JP3658112B2 (ja) | 2005-06-08 |
Family
ID=27475273
Family Applications (1)
| Application Number | Title | Priority Date | Filing Date |
|---|---|---|---|
| JP29021896A Expired - Lifetime JP3658112B2 (ja) | 1995-11-06 | 1996-10-31 | 窒化物半導体レーザダイオード |
Country Status (1)
| Country | Link |
|---|---|
| JP (1) | JP3658112B2 (ja) |
Cited By (1)
| Publication number | Priority date | Publication date | Assignee | Title |
|---|---|---|---|---|
| US20230070127A1 (en) * | 2021-09-08 | 2023-03-09 | Nichia Corporation | Light-emitting element |
Families Citing this family (36)
| Publication number | Priority date | Publication date | Assignee | Title |
|---|---|---|---|---|
| JP3448450B2 (ja) | 1996-04-26 | 2003-09-22 | 三洋電機株式会社 | 発光素子およびその製造方法 |
| JP3515361B2 (ja) * | 1997-03-14 | 2004-04-05 | 株式会社東芝 | 半導体発光素子 |
| JP4787205B2 (ja) * | 1997-07-30 | 2011-10-05 | 富士通株式会社 | 半導体レーザの製造方法 |
| JP4138930B2 (ja) * | 1998-03-17 | 2008-08-27 | 富士通株式会社 | 量子半導体装置および量子半導体発光装置 |
| US6936859B1 (en) | 1998-05-13 | 2005-08-30 | Toyoda Gosei Co., Ltd. | Light-emitting semiconductor device using group III nitride compound |
| JP4166885B2 (ja) | 1998-05-18 | 2008-10-15 | 富士通株式会社 | 光半導体装置およびその製造方法 |
| JP2000156544A (ja) | 1998-09-17 | 2000-06-06 | Matsushita Electric Ind Co Ltd | 窒化物半導体素子の製造方法 |
| JP2000133883A (ja) * | 1998-10-22 | 2000-05-12 | Nichia Chem Ind Ltd | 窒化物半導体素子 |
| JP2000150957A (ja) * | 1998-11-12 | 2000-05-30 | Showa Denko Kk | Iii族窒化物半導体発光素子 |
| KR20010081005A (ko) * | 1998-11-16 | 2001-08-25 | 로벤 에프. 리차드 쥬니어 | 인듐-풍부 클러스터를 갖는 ⅲ-질화물 양자 웰 구조 및이의 제조 방법 |
| JP3511923B2 (ja) * | 1998-12-25 | 2004-03-29 | 日亜化学工業株式会社 | 発光素子 |
| JP2000216096A (ja) * | 1999-01-22 | 2000-08-04 | Showa Denko Kk | 窒化ガリウム・インジウム結晶層の気相成長方法 |
| JP3773713B2 (ja) * | 1999-08-24 | 2006-05-10 | 三洋電機株式会社 | 量子箱の形成方法 |
| JP3929008B2 (ja) * | 2000-01-14 | 2007-06-13 | シャープ株式会社 | 窒化物系化合物半導体発光素子およびその製造方法 |
| DE10032246A1 (de) * | 2000-07-03 | 2002-01-17 | Osram Opto Semiconductors Gmbh | Lumineszenzdiodenchip auf der Basis von InGaN und Verfahren zu dessen Herstellung |
| US6586762B2 (en) | 2000-07-07 | 2003-07-01 | Nichia Corporation | Nitride semiconductor device with improved lifetime and high output power |
| US6800876B2 (en) * | 2001-01-16 | 2004-10-05 | Cree, Inc. | Group III nitride LED with undoped cladding layer (5000.137) |
| EP1385241B1 (en) | 2001-03-28 | 2008-12-31 | Nichia Corporation | Nitride semiconductor element |
| TW550839B (en) | 2001-07-25 | 2003-09-01 | Shinetsu Handotai Kk | Light emitting element and method for manufacturing thereof |
| EP1453160B1 (en) | 2001-11-05 | 2008-02-27 | Nichia Corporation | Semiconductor element |
| JP4284946B2 (ja) * | 2002-08-27 | 2009-06-24 | ソニー株式会社 | 窒化物系半導体発光素子 |
| WO2005034301A1 (ja) | 2003-09-25 | 2005-04-14 | Matsushita Electric Industrial Co., Ltd. | 窒化物半導体素子およびその製造方法 |
| KR101045202B1 (ko) * | 2003-10-17 | 2011-06-30 | 삼성전자주식회사 | III-V 족 GaN 계 반도체 소자 및 그 제조방법 |
| GB2407701A (en) * | 2003-10-28 | 2005-05-04 | Sharp Kk | Manufacture of a semiconductor light-emitting device |
| US7067838B1 (en) | 2004-04-16 | 2006-06-27 | Nitride Semiconductors Co., Ltd. | Gallium-nitride-based light-emitting apparatus |
| KR100631980B1 (ko) * | 2005-04-06 | 2006-10-11 | 삼성전기주식회사 | 질화물 반도체 소자 |
| DE102005048196B4 (de) * | 2005-07-29 | 2023-01-26 | OSRAM Opto Semiconductors Gesellschaft mit beschränkter Haftung | Strahlungsemittierender Halbleiterchip |
| JP4660333B2 (ja) * | 2005-09-30 | 2011-03-30 | 三洋電機株式会社 | 窒化物系半導体レーザ素子 |
| JP2006229253A (ja) * | 2006-05-19 | 2006-08-31 | Sharp Corp | 窒化物系化合物半導体発光およびその製造方法 |
| DE102007031926A1 (de) * | 2007-07-09 | 2009-01-15 | Osram Opto Semiconductors Gmbh | Strahlungsemittierender Halbleiterkörper |
| JP5149146B2 (ja) * | 2008-12-26 | 2013-02-20 | 富士通株式会社 | 光半導体素子及び集積素子 |
| CN102439740B (zh) * | 2009-03-06 | 2015-01-14 | 李贞勋 | 发光器件 |
| KR101174331B1 (ko) * | 2010-01-12 | 2012-08-16 | 한국산업기술대학교산학협력단 | 에피 구조로 형성된 고효율 반도체 광소자 및 그 제조방법 |
| CN107924966B (zh) | 2014-09-22 | 2020-12-22 | 夏普株式会社 | 氮化物半导体发光元件 |
| JP7296845B2 (ja) * | 2019-08-19 | 2023-06-23 | 日本ルメンタム株式会社 | 変調ドープ半導体レーザ及びその製造方法 |
| JP7526916B2 (ja) * | 2021-12-20 | 2024-08-02 | 日亜化学工業株式会社 | 発光素子 |
-
1996
- 1996-10-31 JP JP29021896A patent/JP3658112B2/ja not_active Expired - Lifetime
Cited By (2)
| Publication number | Priority date | Publication date | Assignee | Title |
|---|---|---|---|---|
| US20230070127A1 (en) * | 2021-09-08 | 2023-03-09 | Nichia Corporation | Light-emitting element |
| US12527126B2 (en) * | 2021-09-08 | 2026-01-13 | Nichia Corporation | Light-emitting element including p-side semiconductor layer having first, second, and third layers |
Also Published As
| Publication number | Publication date |
|---|---|
| JPH10126006A (ja) | 1998-05-15 |
Similar Documents
| Publication | Publication Date | Title |
|---|---|---|
| JP3658112B2 (ja) | 窒化物半導体レーザダイオード | |
| KR100267839B1 (ko) | 질화물 반도체 장치 | |
| JP2890396B2 (ja) | 窒化物半導体発光素子 | |
| JP3744211B2 (ja) | 窒化物半導体素子 | |
| JP4947035B2 (ja) | 窒化物半導体素子 | |
| JP4954536B2 (ja) | 窒化物半導体発光素子 | |
| JP3282174B2 (ja) | 窒化物半導体発光素子 | |
| JP3890930B2 (ja) | 窒化物半導体発光素子 | |
| JP5145617B2 (ja) | n型窒化物半導体積層体およびそれを用いる半導体素子 | |
| JPH08330629A (ja) | 窒化物半導体発光素子 | |
| JP3660446B2 (ja) | 窒化物半導体素子及びその製造方法 | |
| JP2001203385A (ja) | 窒化物半導体発光ダイオード | |
| JP3651260B2 (ja) | 窒化物半導体素子 | |
| JPH1065213A (ja) | 窒化物半導体素子 | |
| JP3620292B2 (ja) | 窒化物半導体素子 | |
| JP3366188B2 (ja) | 窒化物半導体素子 | |
| JP3448196B2 (ja) | 窒化物半導体発光素子 | |
| JP3496480B2 (ja) | 窒化物半導体素子 | |
| JP4239444B2 (ja) | 窒化物半導体レーザダイオード | |
| JP2001024223A (ja) | 窒化物半導体発光ダイオード | |
| JP3405334B2 (ja) | 窒化物半導体素子 | |
| JP3267250B2 (ja) | 窒化物半導体発光素子 | |
| JP4492013B2 (ja) | 窒化物半導体素子 | |
| JP2005167282A (ja) | 窒化物半導体素子及びその製造方法 | |
| JP2000188423A5 (ja) |
Legal Events
| Date | Code | Title | Description |
|---|---|---|---|
| A521 | Written amendment |
Free format text: JAPANESE INTERMEDIATE CODE: A523 Effective date: 20050203 |
|
| A61 | First payment of annual fees (during grant procedure) |
Free format text: JAPANESE INTERMEDIATE CODE: A61 Effective date: 20050311 |
|
| R150 | Certificate of patent or registration of utility model |
Free format text: JAPANESE INTERMEDIATE CODE: R150 |
|
| FPAY | Renewal fee payment (event date is renewal date of database) |
Free format text: PAYMENT UNTIL: 20080318 Year of fee payment: 3 |
|
| FPAY | Renewal fee payment (event date is renewal date of database) |
Free format text: PAYMENT UNTIL: 20090318 Year of fee payment: 4 |
|
| FPAY | Renewal fee payment (event date is renewal date of database) |
Free format text: PAYMENT UNTIL: 20090318 Year of fee payment: 4 |
|
| FPAY | Renewal fee payment (event date is renewal date of database) |
Free format text: PAYMENT UNTIL: 20090318 Year of fee payment: 4 |
|
| FPAY | Renewal fee payment (event date is renewal date of database) |
Free format text: PAYMENT UNTIL: 20100318 Year of fee payment: 5 |
|
| FPAY | Renewal fee payment (event date is renewal date of database) |
Free format text: PAYMENT UNTIL: 20100318 Year of fee payment: 5 |
|
| FPAY | Renewal fee payment (event date is renewal date of database) |
Free format text: PAYMENT UNTIL: 20110318 Year of fee payment: 6 |
|
| FPAY | Renewal fee payment (event date is renewal date of database) |
Free format text: PAYMENT UNTIL: 20110318 Year of fee payment: 6 |
|
| FPAY | Renewal fee payment (event date is renewal date of database) |
Free format text: PAYMENT UNTIL: 20120318 Year of fee payment: 7 |
|
| FPAY | Renewal fee payment (event date is renewal date of database) |
Free format text: PAYMENT UNTIL: 20120318 Year of fee payment: 7 |
|
| FPAY | Renewal fee payment (event date is renewal date of database) |
Free format text: PAYMENT UNTIL: 20130318 Year of fee payment: 8 |
|
| FPAY | Renewal fee payment (event date is renewal date of database) |
Free format text: PAYMENT UNTIL: 20130318 Year of fee payment: 8 |
|
| FPAY | Renewal fee payment (event date is renewal date of database) |
Free format text: PAYMENT UNTIL: 20140318 Year of fee payment: 9 |
|
| R250 | Receipt of annual fees |
Free format text: JAPANESE INTERMEDIATE CODE: R250 |
|
| R250 | Receipt of annual fees |
Free format text: JAPANESE INTERMEDIATE CODE: R250 |
|
| R250 | Receipt of annual fees |
Free format text: JAPANESE INTERMEDIATE CODE: R250 |
|
| EXPY | Cancellation because of completion of term |