JP3622508B2 - 自動車用フィニッシャの結合構造 - Google Patents

自動車用フィニッシャの結合構造 Download PDF

Info

Publication number
JP3622508B2
JP3622508B2 JP17175298A JP17175298A JP3622508B2 JP 3622508 B2 JP3622508 B2 JP 3622508B2 JP 17175298 A JP17175298 A JP 17175298A JP 17175298 A JP17175298 A JP 17175298A JP 3622508 B2 JP3622508 B2 JP 3622508B2
Authority
JP
Japan
Prior art keywords
finisher
door panel
end portion
finisher body
main body
Prior art date
Legal status (The legal status is an assumption and is not a legal conclusion. Google has not performed a legal analysis and makes no representation as to the accuracy of the status listed.)
Expired - Fee Related
Application number
JP17175298A
Other languages
English (en)
Other versions
JP2000006844A (ja
Inventor
正晃 小西
夏生 稲村
Current Assignee (The listed assignees may be inaccurate. Google has not performed a legal analysis and makes no representation or warranty as to the accuracy of the list.)
Nissan Motor Co Ltd
Original Assignee
Nissan Motor Co Ltd
Priority date (The priority date is an assumption and is not a legal conclusion. Google has not performed a legal analysis and makes no representation as to the accuracy of the date listed.)
Filing date
Publication date
Application filed by Nissan Motor Co Ltd filed Critical Nissan Motor Co Ltd
Priority to JP17175298A priority Critical patent/JP3622508B2/ja
Publication of JP2000006844A publication Critical patent/JP2000006844A/ja
Application granted granted Critical
Publication of JP3622508B2 publication Critical patent/JP3622508B2/ja
Anticipated expiration legal-status Critical
Expired - Fee Related legal-status Critical Current

Links

Images

Landscapes

  • Vehicle Interior And Exterior Ornaments, Soundproofing, And Insulation (AREA)
  • Body Structure For Vehicles (AREA)

Description

【0001】
【発明の属する技術分野】
この発明は、自動車用フィニッシャの結合構造に関する。
【0002】
【従来の技術】
従来の自動車用フィニッシャの結合構造としては、ドアパネルの縦面の室内側及び該ドアパネルの底面側の側方側を覆う合成樹脂製の第1フィニッシャ本体と、前記ドアパネルの底面側の中央部を覆う同じく合成樹脂製の第2フィニッシャ本体とよりなり、該第2フィニッシャ本体の表面側の端部に、第1フィニッシャ本体の端部を重ね合わせた状態で結合する構造になっている(類似技術として、実開昭64−45525号公報参照)。
【0003】
【発明が解決しようとする課題】
しかしながら、第2フィニッシャ本体に対して第1フィニッシャ本体を取り付ける時に、第1フィニッシャ本体の位置を決める手段が第2フィニッシャ本体にないので、第2フィニッシャ本体の端部と第1フィニッシャ本体の端部とが開いてしまったり、第2フィニッシャ本体の端部の表面側に第1フィニッシャ本体が積載される本来の取付位置とならずに、第2フィニッシャ本体の端部の裏面側に第1フィニッシャ本体が入り込んでしまうおそれがある。
【0004】
この発明は、このような従来の技術に着目してなされたものであり、第2フィニッシャ本体に対して第1フィニッシャ本体を適正且つ容易に取り付けることができる自動車用フィニッシャの結合構造を提供するものである。
【0005】
【課題を解決するための手段】
請求項1に記載の発明は、ドアパネルの縦面の室内側及び該ドアパネルの底面側の側方側を覆い且つ前記ドアパネルに取付けるための取付具が配設されると共に該取付具により所定ストローク分係合させることで上部が前記ドアパネルに支持される第1フィニッシャ本体と、前記ドアパネルの底面側の中央部を覆うと共に前記ドアパネルに支持される第2フィニッシャ本体とよりなり、該第2フィニッシャ本体の表面側の端部に、第1フィニッシャ本体の端部を重ね合わせた状態で結合する自動車用フィニッシャの結合構造であって、前記第2フィニッシャ本体の表面側の端部には、前記第1フィニッシャ本体の端部をガイドするガイド面と、前記第1フィニッシャ本体の端部の左右方向の位置を規制する規制壁と、前記ガイド面から少なくとも前記所定ストローク分上方に延在されてなる延長壁とが形成されてなることを特徴とする。
【0006】
請求項2に記載の発明は、請求項1に記載の自動車用フィニッシャの結合構造であって、前記第1フィニッシャ本体の端部の木端面は、前記第2フィニッシャ本体の規制壁に、当接してなることを特徴とする。
【0007】
【発明の効果】
請求項1に記載の発明によれば、第1フィニッシャ本体の上部をドアパネルに係合支持した後に、予めドアパネルに固定してなる第2フィニッシャ本体の表面側の端部のガイド面に沿って、第1フィニッシャ本体の端部を移動させることができるので、ドアパネルの室内側に第1フィニッシャ本体を容易に覆うことができる。
【0008】
また、第2フィニッシャ本体の表面側の端部の規制壁でもって、第1フィニッシャ本体の左右方向の位置が規制されるので適正な位置に第1フィニッシャ本体を配することができる。
【0009】
更に、第2フィニッシャ本体の表面側の端部に延長壁が形成されてなるので、第1フィニッシャ本体をドアパネルに支持する際に、第2フィニッシャ本体の上端部から第1フィニッシャ本体の下端部が内側に入り込むのが防止されるので、容易な取付が可能となる。
【0010】
請求項2に記載の発明によれば、前記第1フィニッシャ本体の端部の木端面は、前記第2フィニッシャ本体の規制壁に当接するので、第1フィニッシャ本体の下端部は、該規制壁に沿って下側に配されるので、取付が容易である。
【0011】
【発明の実施の形態】
以下、この発明の好適な一実施形態を、図1〜図3に基づいて説明する。符号1はドアパネルであるバックドアパネルであって、アウタパネル2とインナパネル3とよりなり、上端部のフランジ部4には、シール部材5を介してリアウインドパネル6が支持されている。符号7は、テールエンドパネルで、該テールエンドパネル7に支持されたストライカ8に、図示を省略したドアロック装置が噛合することで、前記バックドアパネル1は、テールエンドパネル7に閉じた状態で保持される。
【0012】
符号10は、合成樹脂製のバックドアフィニッシャで、第1フィニッシャ本体11と、第2フィニッシャ本体12とよりなる。
【0013】
前記第1フィニッシャ本体11は、前記バックドアパネル1のインナパネル3の縦面3aの室内RM側及び該バックドアパネル1のインナパネル3の底面3b側の側方側、つまり図2の車両中央部0Xに対して左側LHと右側RHとをそれぞれ覆うように、縦面11aと底面11b、11bとを有する。該第1フィニッシャ本体11は、上部11cを前記バックドアパネル1のフランジ部4に係合支持してなり、図1の寸法Lが、該フランジ部4に第1フィニッシャ本体11を取り付ける際の取付具(クリップ)CPの取付用ストロークである。
【0014】
前記第2フィニッシャ本体12は、前記ドアパネル1のインナパネル3の縦面3a側の下部を覆う縦面12aと、該縦面12aの下側LWに略直角に曲げられ且つ前記ドアパネル1のインナパネル3の底面3b側の中央部0Xを覆うように自動車後ろ側RRに延在されてなる底面12bとを有する。該第2フィニッシャ本体12は、前記ドアパネル1のインナパネル3の底面3bに支持してなる。図2、図4の符号UPは、上側を意味する。
【0015】
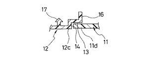
該第2フィニッシャ本体12の縦面12aの表面側の左側LHと右側RHとの端部12cには、第1フィニッシャ本体11の底面11b、11bの内側の端部11d、11dを重ね合わせた状態で結合するものであって、前記第1フィニッシャ本体11の底面11b、11bの内側の端部11d、11dをガイドするガイド面13と、前記第1フィニッシャ本体11の底面11b、11bの内側の端部11d、11dの左右方向の位置を規制する規制壁14と、前記第1フィニッシャ本体11の取付時の取付具(クリップ)CPの少なくとも取付用ストロークL分だけ上方に延在されてなる延長壁15とが形成されてなる。
【0016】
前記ドアパネル1のインナパネル3の底面3b側の側方側を覆う前記第1フィニッシャ本体11の底面11b、11bの端部11d、11dの木端面は、図3に示すように、前記第2フィニッシャ本体12の規制壁14に、当接してなる。
【0017】
そして、前記ガイド面13より更に左側LHと右側RHとの端部にフランジ部16が形成されて、第2フィニッシャ本体12の強度を向上している。符号17は、前記ドアパネル1のインナパネル3の底面3bの図示しない係合穴に係合されてなるクリップである。また、図5の符号18は、前記ストライカ8に係合離脱自在なロック装置のラッチ用の逃げ穴である。
【0018】
以上の構成の自動車用フィニッシャの結合構造であるから、次に、その作用について説明する。
【0019】
前記第1フィニッシャ本体11の上部11cをドアパネル1のフランジ部4に係合支持した後に、予めドアパネル1のインナパネル3の底面3bに固定してなる第2フィニッシャ本体12の縦面12aの表面側の左側LHと右側RHとの端部12cのガイド面13に沿って、第1フィニッシャ本体11の底面11b、11bの端部11d、11dを移動させることができるので、ドアパネル1の室内RM側に第1フィニッシャ本体11を容易に覆うことができる。
【0020】
また、第2フィニッシャ本体12の縦面12aの表面側の左側LHと右側RHとの端部12cの規制壁14でもって、第1フィニッシャ本体11の左右方向LH,RHの位置が規制されるので適正な位置に、第1フィニッシャ本体11を配することができる。
【0021】
更に、第2フィニッシャ本体12の縦面12aの表面側の左側LHと右側RHとの端部12cの少なくとも取付用ストロークL分ある延長壁15でもって、第1フィニッシャ本体11をドアパネル1のフランジ部4に支持する際に、第2フィニッシャ本体12の上端部15aから第1フィニッシャ本体11の下端部、即ち、第1フィニッシャ本体11の底面11b、11bの端部11d、11dが内側(ドアパネル1のインナパネル3側)に入り込むのが防止されるので、容易な取付が可能となる。
【0022】
前記第1フィニッシャ本体11の底面11b、11bの端部11d、11dが木端面をなしているので、第2フィニッシャ本体12の規制壁14に当接することで、第1フィニッシャ本体11の下端部、即ち、第1フィニッシャ本体11の底面11b、11bの端部11d、11dは、該規制壁14に沿って下側LWに配されるので、取付が容易である。
【0023】
尚、ガイド面13、規制壁14、延長壁15、フランジ部16のそれぞれの間の稜線を丸めて(Rをつけて)面取りを施しても良い。また、上記実施形態ではバックドアフィニッシャとして合成樹脂製のものを例示したが、これに限らず、第2フィニッシャは、特に型成形可能な材質であれば適宜適用可能であり、第1フィニッシャは、木質材料を用いたものであっても良い。
【図面の簡単な説明】
【図1】自動車用フィニッシャの結合構造を示す断面図。
【図2】図1中矢視Aにかかる正面図。
【図3】図2中矢示SB−SB線に沿う断面図。
【図4】図2の第2フィニッシャ本体の斜視図。
【図5】図4中矢視Cにかかる斜視図。
【符号の説明】
1 ドアパネルであるバックドアパネル
2 アウタパネル
3 インナパネル
3a インナパネルの縦面
3b インナパネルの底面
4 上端部のフランジ部
10 バックドアフィニッシャ
11 第1フィニッシャ本体
11a 第1フィニッシャ本体の縦面
11b 第1フィニッシャ本体の底面
11c 第1フィニッシャ本体の上部
11d 第1フィニッシャ本体の底面の内側の端部
12 第2フィニッシャ本体
12a 第2フィニッシャ本体の縦面
12b 第2フィニッシャ本体の底面
12c 第2フィニッシャ本体の端部
13 ガイド面
14 規制壁
15 延長壁
0X 車両中央部
RM 室内
L ストローク

Claims (2)

  1. ドアパネルの縦面の室内側及び該ドアパネルの底面側の側方側を覆い且つ前記ドアパネルに取付けるための取付具が配設されると共に該取付具により所定ストローク分係合させることで上部が前記ドアパネルに支持される第1フィニッシャ本体と、前記ドアパネルの底面側の中央部を覆うと共に前記ドアパネルに支持される第2フィニッシャ本体とよりなり、該第2フィニッシャ本体の表面側の端部に、第1フィニッシャ本体の端部を重ね合わせた状態で結合する自動車用フィニッシャの結合構造であって、
    前記第2フィニッシャ本体の表面側の端部には、前記第1フィニッシャ本体の端部をガイドするガイド面と、前記第1フィニッシャ本体の端部の左右方向の位置を規制する規制壁と、前記ガイド面から少なくとも前記所定ストローク分上方に延在されてなる延長壁とが形成されてなることを特徴とする自動車用フィニッシャの結合構造。
  2. 請求項1に記載の自動車用フィニッシャの結合構造であって、
    前記第1フィニッシャ本体の端部の木端面は、前記第2フィニッシャ本体の規制壁に、当接してなることを特徴とする自動車用フィニッシャの結合構造。
JP17175298A 1998-06-18 1998-06-18 自動車用フィニッシャの結合構造 Expired - Fee Related JP3622508B2 (ja)

Priority Applications (1)

Application Number Priority Date Filing Date Title
JP17175298A JP3622508B2 (ja) 1998-06-18 1998-06-18 自動車用フィニッシャの結合構造

Applications Claiming Priority (1)

Application Number Priority Date Filing Date Title
JP17175298A JP3622508B2 (ja) 1998-06-18 1998-06-18 自動車用フィニッシャの結合構造

Publications (2)

Publication Number Publication Date
JP2000006844A JP2000006844A (ja) 2000-01-11
JP3622508B2 true JP3622508B2 (ja) 2005-02-23

Family

ID=15929044

Family Applications (1)

Application Number Title Priority Date Filing Date
JP17175298A Expired - Fee Related JP3622508B2 (ja) 1998-06-18 1998-06-18 自動車用フィニッシャの結合構造

Country Status (1)

Country Link
JP (1) JP3622508B2 (ja)

Families Citing this family (1)

* Cited by examiner, † Cited by third party
Publication number Priority date Publication date Assignee Title
CN112277831A (zh) * 2020-10-30 2021-01-29 重庆长安汽车股份有限公司 一种汽车背门内装饰件安装结构及车辆

Also Published As

Publication number Publication date
JP2000006844A (ja) 2000-01-11

Similar Documents

Publication Publication Date Title
JP3622508B2 (ja) 自動車用フィニッシャの結合構造
JP3581066B2 (ja) 自動車用ドア構造
JPH0536768Y2 (ja)
JPH0127962Y2 (ja)
JP2586484Y2 (ja) ハッチバック型自動車用リヤシェルフ開閉装置
JP2002036982A (ja) 車両用バンパフェイシャ
JPH0514910Y2 (ja)
JPH0576972U (ja) オーバーフェンダーの取付構造
JPS6347549Y2 (ja)
JPH071289Y2 (ja) 自動車のウィンドガラス用モール装置
JPH054449Y2 (ja)
JPS637103Y2 (ja)
JPH0238813Y2 (ja)
JPS6343159Y2 (ja)
JPH0737955Y2 (ja) スライドドアのガイドレ−ル部車体構造
JPS583695Y2 (ja) 自動車用フロアカ−ペツトの固定構造
JPH0522121U (ja) 自動車用ドアトリム
JPH072276Y2 (ja) 自動車のバックドア構造
JPH0125707Y2 (ja)
JPS647084Y2 (ja)
JP2500166Y2 (ja) 幌付自動車の幌骨固定構造
JP2550918Y2 (ja) ドアインナーシールの取付構造
JPS6018516Y2 (ja) ドアロツキングボタンの取付構造
JPH0710317U (ja) 自動車ドアのドアラッチ固定構造
JPH047254U (ja)

Legal Events

Date Code Title Description
A977 Report on retrieval

Free format text: JAPANESE INTERMEDIATE CODE: A971007

Effective date: 20040524

A131 Notification of reasons for refusal

Free format text: JAPANESE INTERMEDIATE CODE: A131

Effective date: 20040629

A521 Written amendment

Free format text: JAPANESE INTERMEDIATE CODE: A523

Effective date: 20040826

TRDD Decision of grant or rejection written
A01 Written decision to grant a patent or to grant a registration (utility model)

Free format text: JAPANESE INTERMEDIATE CODE: A01

Effective date: 20041102

A61 First payment of annual fees (during grant procedure)

Free format text: JAPANESE INTERMEDIATE CODE: A61

Effective date: 20041115

R150 Certificate of patent or registration of utility model

Free format text: JAPANESE INTERMEDIATE CODE: R150

LAPS Cancellation because of no payment of annual fees