JP2022071663A - 誘導加熱調理器及びコンピュータプログラム - Google Patents

誘導加熱調理器及びコンピュータプログラム Download PDF

Info

Publication number
JP2022071663A
JP2022071663A JP2020180742A JP2020180742A JP2022071663A JP 2022071663 A JP2022071663 A JP 2022071663A JP 2020180742 A JP2020180742 A JP 2020180742A JP 2020180742 A JP2020180742 A JP 2020180742A JP 2022071663 A JP2022071663 A JP 2022071663A
Authority
JP
Japan
Prior art keywords
heating
control unit
mode
multifunction switch
power
Prior art date
Legal status (The legal status is an assumption and is not a legal conclusion. Google has not performed a legal analysis and makes no representation as to the accuracy of the status listed.)
Granted
Application number
JP2020180742A
Other languages
English (en)
Other versions
JP7270166B2 (ja
Inventor
和哉 薗部
Kazuya Sonobe
高洋 寺本
Takahiro Teramoto
恵子 磯田
Keiko Isoda
哲郎 原田
Tetsuo Harada
Current Assignee (The listed assignees may be inaccurate. Google has not performed a legal analysis and makes no representation or warranty as to the accuracy of the list.)
Panasonic Intellectual Property Management Co Ltd
Original Assignee
Panasonic Intellectual Property Management Co Ltd
Priority date (The priority date is an assumption and is not a legal conclusion. Google has not performed a legal analysis and makes no representation as to the accuracy of the date listed.)
Filing date
Publication date
Application filed by Panasonic Intellectual Property Management Co Ltd filed Critical Panasonic Intellectual Property Management Co Ltd
Priority to JP2020180742A priority Critical patent/JP7270166B2/ja
Priority to CN202110169943.7A priority patent/CN114501710A/zh
Publication of JP2022071663A publication Critical patent/JP2022071663A/ja
Application granted granted Critical
Publication of JP7270166B2 publication Critical patent/JP7270166B2/ja
Active legal-status Critical Current
Anticipated expiration legal-status Critical

Links

Images

Classifications

    • HELECTRICITY
    • H05ELECTRIC TECHNIQUES NOT OTHERWISE PROVIDED FOR
    • H05BELECTRIC HEATING; ELECTRIC LIGHT SOURCES NOT OTHERWISE PROVIDED FOR; CIRCUIT ARRANGEMENTS FOR ELECTRIC LIGHT SOURCES, IN GENERAL
    • H05B6/00Heating by electric, magnetic or electromagnetic fields
    • H05B6/02Induction heating
    • H05B6/10Induction heating apparatus, other than furnaces, for specific applications
    • H05B6/12Cooking devices
    • H05B6/1209Cooking devices induction cooking plates or the like and devices to be used in combination with them
    • HELECTRICITY
    • H05ELECTRIC TECHNIQUES NOT OTHERWISE PROVIDED FOR
    • H05BELECTRIC HEATING; ELECTRIC LIGHT SOURCES NOT OTHERWISE PROVIDED FOR; CIRCUIT ARRANGEMENTS FOR ELECTRIC LIGHT SOURCES, IN GENERAL
    • H05B6/00Heating by electric, magnetic or electromagnetic fields
    • H05B6/02Induction heating
    • H05B6/06Control, e.g. of temperature, of power
    • H05B6/062Control, e.g. of temperature, of power for cooking plates or the like

Landscapes

  • Physics & Mathematics (AREA)
  • Electromagnetism (AREA)
  • Induction Heating Cooking Devices (AREA)

Abstract

【課題】できるだけ少ない操作回数で加熱を開始することを可能にする誘導加熱調理器等を提供する。【解決手段】誘導加熱調理器は、加熱コイルと、電源スイッチと、状況に応じて異なる機能が割り当てられる多機能スイッチと、画像オブジェクトを表示する表示部と、複数の動作モードのうちの所定の動作モードによる動作を制御する制御部とを有する。複数の動作モードは、電源が投入された後の初回の操作で加熱を開始する単一操作加熱モードを含む。制御部は、単一操作加熱モードによる動作を制御可能である。単一操作加熱モードは、制御部が、加熱の開始を示す画像オブジェクトを表示部に表示させ、多機能スイッチを、加熱の開始を示す画像オブジェクトに関連付け、多機能スイッチへの入力操作を検出すると加熱コイルを用いた加熱動作を実行する動作モードである。【選択図】図9

Description

本開示は、誘導加熱調理器、及び当該誘導加熱調理器のコンピュータによって実行されるコンピュータプログラムに関する。
誘導加熱調理器は、一般家庭のキッチンや業務用等に広く普及してきている。特許文献1は、電源スイッチがオンされた後、使用者から2回の操作を受け付けると加熱を開始する誘導加熱調理器を開示する。
国際公開第2009/001513号
ユーザが特許文献1の誘導加熱調理器を用いて加熱を行おうとする場合、電源投入後何度も操作を行わなければならない。一部のユーザにとっては煩雑であり、操作性に関して特許文献1の誘導加熱調理器には改善の余地があった。
本開示は、操作性を向上させ得る誘導加熱調理器、及び当該誘導加熱調理器のコンピュータに実行されるコンピュータプログラムを提供する。
本開示の一態様の誘導加熱調理器は、被加熱物を誘導加熱する加熱コイルと、電源の投入のための電源スイッチと、状況に応じて異なる機能が割り当てられる多機能スイッチと、画像オブジェクトを表示する表示部と、複数の動作モードのうちの所定の動作モードによる動作を制御する制御部とを備える。複数の動作モードは、電源が投入された後の初回の操作で加熱を開始する単一操作加熱モードを含む。制御部は、単一操作加熱モードによる動作を制御可能である。単一操作加熱モードは、制御部が、加熱の開始を示す画像オブジェクトを表示部に表示させ、多機能スイッチを、加熱の開始を示す画像オブジェクトに関連付け、多機能スイッチへの入力操作を検出すると加熱コイルを用いた加熱動作を実行する動作モードである。
本開示の一態様のコンピュータプログラムは、誘導加熱調理器の制御部によって実行される。誘導加熱調理器は、被加熱物を誘導加熱する加熱コイルと、電源の投入のための電源スイッチと、状況に応じて異なる機能が割り当てられる多機能スイッチと、画像オブジェクトを表示する表示部と、複数の動作モードのうちの所定の動作モードによる動作を制御する、コンピュータである制御部とを備えている。複数の動作モードは、電源が投入された後の初回の操作で加熱を開始する単一操作加熱モードを含む。コンピュータプログラムは、制御部に、単一操作加熱モードによる動作を制御させることが可能である。コンピュータプログラムは、単一操作加熱モードにおいて、制御部に、加熱の開始を示す画像オブジェクトを表示部に表示させる処理、多機能スイッチを、加熱の開始を示す画像オブジェクトに関連付ける処理、及び多機能スイッチへの入力操作を検出すると加熱コイルを用いた加熱動作を行う処理を実行させる。
本開示によれば、誘導加熱調理器の操作性を向上させることができる。
例示的な実施の形態に係る誘導加熱調理器の斜視図 本実施の形態に係る誘導加熱調理器の制御系を示すブロック図 誘導加熱調理器の構成の概略図 操作部及び表示部の部分概略図 操作部及び表示部周辺の部分拡大図 電源が投入された直後の表示部の表示内容を示す図 加熱動作が開始された後の表示部の表示内容を示す図 表示部上に、多機能スイッチ等が表示されている例を示す図 単一操作加熱モードにおける制御部の処理の手順を示すフローチャート 単一操作加熱モードの改良例による制御部の処理の手順を示すフローチャート 待機モードへの移行を含む、制御部の処理の手順を示すフローチャート 一定時間経過後に自動的に待機モードに移行したときの、表示部における表示例 「単一操作加熱モード」が「焼き物」に設定されたときの、電源投入前後の表示部の表示の変遷を示す図 「単一操作加熱モード」が「揚げ物」に設定されたときの、電源投入前後の表示部の表示の変遷を示す図 同じ設定による加熱の再開を可能にする表示部の表示例 単一操作加熱モード時の中断・再開処理の手順を示すフローチャート 操作部周辺の電子回路基板250の模式図 多機能スイッチを構成する矩形状のタクトスイッチと、保護電極との関係を示す図
上述のとおり、特許文献1の誘導加熱調理器では、電源の投入後から加熱開始までの最小の操作回数は2回である。できるだけ少ない操作回数で加熱を開始すると言っても、電源の投入後、さらなる操作なしで、つまり操作回数0回で、加熱を開始することは避けることが好ましい。誤操作等によって意図せずに電源スイッチが押下され、誘導加熱調理器の電源が投入される場合があり得るからである。
本願発明者は、電源が投入された後の初回の操作で、つまり操作回数1回で、加熱を開始することを可能とする誘導加熱調理器の開発を行った。なお本明細書では「加熱を開始する」とは、電力の供給を開始することにより、実際に温度の上昇を伴う加熱が行われることを言う。
以下、適宜図面を参照しながら、実施の形態を詳細に説明する。但し、必要以上に詳細な説明は省略する場合がある。例えば、既によく知られた事項の詳細説明や実質的に同一の構成に対する重複説明を省略する場合がある。これは、以下の説明が不必要に冗長になるのを避け、当業者の理解を容易にするためである。なお、発明者は、当業者が本開示を十分に理解するために添付図面および以下の説明を提供するのであって、これらによって特許請求の範囲に記載の主題は限定されることはない。
(1)実施の形態
(1-1)概要
以下、図1から図3を参照しながら、本開示の実施の形態に係る誘導加熱調理器を説明する。
図1は、例示的な実施の形態に係る誘導加熱調理器1の斜視図である。図2は、実施の形態に係る誘導加熱調理器1の制御系を示すブロック図である。図3は、誘導加熱調理器1の構成を概略的に示す図である。
図1及び図3の他、本開示にかかる図面の一部にはX軸、Y軸および/またはZ軸が表示されている。誘導加熱調理器の使用時に使用者が誘導加熱調理器に対向したとき、X軸方向は、加熱調理器の幅方向(長手方向)を示し、Y軸方向は奥行き方向(短手方向)を示し、Z軸方向は高さ方向を示す。また、X軸の正の方向を右方、負の方向を左方とする。また、Y軸の正の方向を後方、負の方向を前方とする。
《誘導加熱調理器》
まず、本開示にかかる誘導加熱調理器1の一般的な構成を説明する。
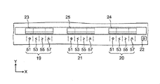
図1に示すように、誘導加熱調理器1は、本体3と、本体3の上面に容器が載置されるトッププレート5とを有する。容器には、例えば、シチューなどの調理対象としての食材を収容する、被加熱物である容器が収容されている。
誘導加熱調理器1の本体3の内部、より具体的には、誘導加熱調理器1のトッププレート5における容器載置領域の下側(-Z側)の位置には、加熱コイル7、8、9が配置されている。加熱コイル7~9は、容器を誘導加熱するために誘導磁界を発生させる。なお、加熱調理器1は3個の加熱コイル7~9を備えるが、1個、2個または4個以上の加熱コイルを備えてもよい。
誘導加熱調理器1では、例えば、加熱コイル7、8、9のそれぞれを操作するために操作部19、20、21が設けられている。つまり、加熱コイル7、8、9のそれぞれは、操作部19、20、21のそれぞれと「対応」する。このように、本明細書では、加熱コイル7、8、9のそれぞれに対して設けられた構成要素のことを、加熱コイルに「対応する」構成要素と呼ぶ。
図1に示すように、加熱コイル7~9の上側(+Z側)のトッププレート5上には、加熱コイル7、8、9のそれぞれに「対応」して、容器載置領域を示すリング状のマーカ11、12、13が印刷されている。
上面視において、トッププレート5上の、加熱コイル7、8のそれぞれの外側には、リング状に光る発光部15、16が配置されている。また、トッププレート5上の、加熱コイル9の前側(-Y側)には、円弧形状の発光部17が配置されている。発光部15~17は、例えば、対応するそれぞれの加熱コイル7~9に電流が流れているときに発光する。発光部15~17は、それぞれ、例えば、不図示のLED発光基板を有する。
また、マーカ11~13内側の、トッププレート5の下側には温度センサ18が配置されている。温度センサ18が検出した検出値は、制御部31へ送られる。制御部31は、温度検出値を参照しながら、加熱コイル7~9に流れる電流量を調整し、調理方法のアシスト案内をするタイミングを決定する。
誘導加熱調理器1のトッププレート5の前側(-Y側)には、操作部19、20、21が配置されている。操作部19、20、21は、加熱コイル7~9のそれぞれを操作するためにユーザによって利用される。操作部19は加熱コイル7を操作し、操作部20は加熱コイル8を操作し、操作部21は加熱コイル9を操作するために設けられている。本明細書では、操作部19は加熱コイル7に対応し、操作部20は加熱コイル8に対応し、操作部21は加熱コイル9に対応する。
誘導加熱調理器1のトッププレート5の前側、加熱コイル7~9と操作部19~21との間には、表示部23、24、25がそれぞれ配置されている。表示部23、24、25は、それぞれ、操作部19~21の操作対象の状態を表示する。表示部23~25の動作は、後述する制御部31によって制御される。
表示部23~25は、それぞれ、例えば、マトリックス・ドット液晶表示装置を備えている。マトリックス・ドット液晶表示装置は、例えば、トッププレート5の幅方向に延びた帯形状を有する、フルドット液晶表示パネルである。
表示部23~25は、それぞれ、操作対象の状態、加熱コイル7~9の動作の内容等を画像オブジェクトで表示する。例えば、表示部23は加熱コイル7の動作の内容を表示し、表示部24は加熱コイル8の動作の内容を表示し、表示部25は加熱コイル9の動作の内容を表示する。
画像オブジェクトは文字および/または画像である。例えば、画像オブジェクトは「加熱」という文字である。このとき、誘導加熱調理器1では、その表示部23~25に対応する加熱コイル7~9を用いて加熱動作が可能であることを示している。また、表示部23~25は、「加熱」という文字とともに、加熱の開始を示す「スタート」という文字の画像オブジェクトを表示してもよい。加熱が開始された後は、表示部23~25は、加熱コイル7~9の加熱量(火力)の大きさを示す数字、アイコン等の画像オブジェクトを表示してもよい。
なお、表示部23~25は、セグメント表示の液晶表示装置であってもよい。1または複数のセグメントを用いて表示される文字および/または画像は、上述の画像オブジェクトの範疇である。
本体3は、加熱コイル7~9の加熱に関する情報を音声出力するスピーカ27を備える。スピーカ27は、誘導加熱調理器1の前面側に配置され、ユーザに対して音声案内を出力する。
図2に示すように、誘導加熱調理器1は、本体3の内部に、制御部31、及び、記憶部33を備える。制御部31は、例えばCPU、マイクロコントローラ(マイコン)などの信号処理回路を含む。記憶部33は、ROM、RAM、ハードディスク、SSDなどの記憶装置である。記憶部33は、誘導加熱調理器1を動作させるためのコンピュータプログラムを記憶している。制御部31は当該コンピュータプログラムを実行することによって後述する種々の機能を果たすように構成されている。
コンピュータプログラムを実行した制御部31は、その時々において、加熱コイル7~9に流す電流量を制御するコイル制御部35、表示部23~25の表示領域を制御する案内情報制御部37、案内情報の表示出力を制御する案内情報制御部45、及び、調理案内の情報出力を制御する調理案内制御部47として機能する。ただし、コイル制御部35、案内情報制御部37、および調理案内制御部47の一部または全部は、ソフトウェア的に実現されなくてもよく、1つまたは複数のCPU、マイクロプロセッサ、FPGAから構成されてもよい。
操作部19~21の出力信号は制御部31に入力される。制御部31は操作に応じて加熱コイル7~9の加熱量等を設定する。操作部19の操作指示に応じて、コイル制御部35として機能する制御部31は、加熱コイル7の加熱の開始又は停止を制御する。コイル制御部35は、加熱コイル7~9に高周波電流を供給してトッププレート5に載置された容器の加熱を行う。また、コイル制御部35は、加熱コイル7~9に流す電流量を制御することで、加熱コイル7~9からの加熱量を制御する。また、操作部19~21の出力信号は制御部31に入力されているので、案内情報制御部37および調理案内制御部39として機能する制御部31の動作の制御にも利用される。
調理案内制御部39は、予め定められた加熱シーケンスまたは調理シーケンスにしたがって、適切な条件が成立したタイミングで調理案内情報を案内情報制御部37に送る。適切な条件とは、温度センサ18による検出温度が予め定められた温度条件を満たすか否か、または、検出温度が予め定められた温度に達してから予め定められた時間経過したか否か等の条件である。調理案内するアシストメニューごとに、これらの条件が設定されている。調理案内制御部39が、これらの条件を満たしたと判断すると、調理案内制御部39は、その条件に対応した調理案内を表示部23~25から表示するように案内情報制御部37に指示する。これらの加熱シーケンス、調理シーケンス、及び調理案内は記憶部33に記憶されている。
《表示部と操作部》
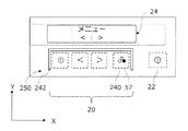
次に図4を参照して、表示部23~25および操作部19~21を説明する。操作部19~21は、それぞれ、第1操作部51、第2操作部53、第3操作部55、及び、第4操作部57を備える。第1操作部51~第4操作部57は、例えば、静電容量式のスイッチを含むタッチスイッチでもよいし、押しボタンスイッチでもよい。第1操作部51~第4操作部57は、対応する加熱コイル7~9の加熱動作を設定する。第1操作部51は、時計の模様が印刷されており、主に、タイマー設定を選択するのに用いられる。第2操作部53及び第3操作部55は、それぞれ矢印の模様、例えば「<」、「>」の記号、が印刷されており、主に、メニュー選択および火力量やタイマー時間を設定するのに用いられる。第4操作部57は、操作部と対応する加熱領域を示す模様が印刷されており、状況に応じて異なる機能が割り当てられる多機能スイッチとして機能する。電源スイッチ22は、誘導加熱調理器1の電源を投入する機能を有する。電源スイッチ22は、さらに誘導加熱調理器1の電源を遮断する機能を有していてもよい。電源スイッチ22とは別に、電源を遮断するためのスイッチが設けられていてもよい。
本明細書では、一例として、第4操作部57を「多機能スイッチ57」と記述する。制御部31は、状況に応じて異なる機能を多機能スイッチ57に割り当てることができる。「状況に応じて」とは、例えば表示部23~25の表示内容に依存して、または所定の起点からの経過時間に依存して、などの、使用状況に応じてという意味である。制御部31は、表示部23~25の表示内容と関連して割り当てられる機能を変更する。表示部23~25の表示内容と多機能スイッチ57に割り当てられる機能との関係は、以下に詳述される。なお、第4操作部以外の他の操作部、すなわち第1操作部51~第3操作部55もまた、状況に応じて異なる機能が付与される多機能スイッチとして動作し得る。第4操作部57は少なくとも1つ存在する多機能スイッチの一例であることに留意されたい。なお、操作部19、20および/または21の各々に含まれる第1操作部51、第2操作部53、第3操作部55および第4操作部57は、本開示では「操作ユニット」としても総称される。操作ユニットは、ユーザの加熱操作および/または各種の設定を受け付けるインタフェースである。操作ユニットは、第1操作部51、第2操作部53、第3操作部55および第4操作部57の任意の一部で構成されてもよい。
(1-2)詳細
次に、表示部24、及び表示部24に対応する操作部20を例示して、本開示にかかる誘導加熱調理器1を詳細に説明する。
図5は、操作部20及び表示部24周辺の部分拡大図である。図5では表示部24は消灯しており、誘導加熱調理器1に電源が投入される前の状態を示している。ユーザによって電源スイッチ22が押下されると、誘導加熱調理器1の電源が投入される。
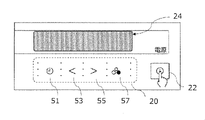
図6は、電源が投入された直後の表示部24の表示内容を示している。表示部24には、「加熱」という画像オブジェクト30とともに「スタート」という画像オブジェクト32が表示されている。画像オブジェクト30は、加熱動作が可能な動作モードであることを示す。画像オブジェクト32は、画像オブジェクト32に関連付けられた多機能スイッチ57が押下された場合に、操作部20及び表示部24に対応する加熱コイル8を用いた加熱動作が開始されることを示す。つまり、この状況では、多機能スイッチ57には加熱を開始する機能が割り当てられている。
本実施の形態にかかる誘導加熱調理器1では、制御部31は、状況に応じて種々の動作モードで動作し得る。その一例が、「単一操作加熱モード」である。「単一操作加熱モード」とは、電源が投入された後、初回の操作で加熱を開始する動作モードを言う。制御部31が単一操作加熱モードで動作している状況では、電源が投入された直後、ユーザは多機能スイッチ57を押下するという1回の操作を行うだけで、加熱が開始される。
なお、ここで言う「加熱」とは、狭義には被加熱物である容器を熱することを言うが、広義には、容器を熱することによって収容物、すなわちシチューなどの食材、を温めることも含む。後述するように、誘導加熱調理器1は「加熱」による調理の他、「焼き物」の調理、「揚げ物」の調理等の種々の方法で調理を行うことができる。いずれも加熱動作は制御部31の制御によって自動化されているが、調理方法によって加熱コイル7~9への電流の流し方、電圧の印加の仕方等の、加熱シーケンスが異なる。以下では「加熱」による調理を例示して説明する。
図7は、加熱動作が開始された後の表示部24の表示内容を示している。図6の例で表示されていた「加熱」の画像オブジェクト30は、火力(火の強さ)を示す文字、数字及びアイコンの画像オブジェクト34に変更されている。また「スタート」の画像オブジェクト32は、「切」の画像オブジェクト36に変更されている。画像オブジェクト36は加熱を切ることを示す。画像オブジェクト36は、画像オブジェクト32に関連付けられた多機能スイッチ57が押下された場合に、操作部20及び表示部24に対応する加熱コイル8への通電が切断されることを示す。つまり、この状況では、多機能スイッチ57には加熱を終了する機能が割り当てられている。このときユーザが多機能スイッチ57を押下すると、対応する加熱コイル8を用いた加熱動作が停止される。
上述の説明から理解されるとおり、多機能スイッチ57には状況に応じて異なる機能が割り当てられる。制御部31は、表示部24における画像オブジェクトに関連付けて多機能スイッチ57の機能を変更する。
なお、これまでの説明では、操作部20はハードウェアで実現されたスイッチであることを想定して説明していた。しかしながら、操作部20は表示部24に表示されたソフトウェアスイッチ及びタッチパネルによって実現されてもよい。
例えば図8は、より大きな画面サイズを有する表示部24a上に、多機能スイッチ57等が表示されている例を示している。表示部24aに重畳して不図示のタッチパネルが設けられている。タッチパネルは圧力、静電容量の変化等によってユーザによるタッチ、及びタッチ位置を検出する。例えば制御部31は、タッチ位置が多機能スイッチ57の表示位置であることを判定し、多機能スイッチ57に関連付けられた機能を実行する。なおタッチパネルは入力装置の一例である。他に、非接触でユーザの指の位置及び入力操作を検出する入力装置を採用してもよい。例えば電波、赤外線等によって近傍の物体の有無及びその位置を検出可能な近接センサを搭載し、近接センサを利用して多機能スイッチ57の上にかざした手を検出することにより、多機能スイッチ57への操作を検出することができる。このような近接センサを利用すると、調理時の手の汚れ等を気にすることなく操作を行うことができる。多機能スイッチ57は、表示部24a、及びそのような入力装置の組み合わせによって実現され得る。
図9は、単一操作加熱モードにおける制御部31の処理の手順を示すフローチャートである。以下の説明でも、先の図5~図8の例と同様、操作部20及び表示部24を例示するが、他の操作部及び表示部についても全く同様である。
ステップS110において、ユーザによって電源スイッチ22が押下されると、制御部31はその押下を検出する。これにより誘導加熱調理器1の電源が投入される。
続くステップS111及びS112は電源が投入されてすぐに実行される処理である。ステップS111において、制御部31は、表示部24に1以上の画像オブジェクトを表示する。当該画像オブジェクトは、加熱の開始を示す「スタート」の画像オブジェクト32を含む。ステップS112において、制御部31は、多機能スイッチ57を、画像オブジェクト32に関連付ける。具体的には、制御部31は、多機能スイッチ57が押下されたとき加熱が開始されるよう、画像オブジェクト32の表示内容と多機能スイッチ57押下時の機能とを対応付ける。なお、本明細書では、ステップS110の後、対応する加熱コイル(たとえば加熱コイル8)の加熱開始の指示を初回で受け付けることができるのは、多機能スイッチ57のみであり、他の第1操作部51~第3操作部55は受け付けられないように構成されている。ユーザは、単一操作加熱モードを利用したい場合には多機能スイッチ57を利用すればよいため、単一操作加熱モード使用時の操作をシンプル化できる。
ステップS113において、制御部31は、多機能スイッチ57への入力操作の検出に応答して加熱動作を実行する。それにより、制御部31は、単一操作加熱モードによる動作を終了する。加熱動作の実行後は、制御部31は、表示部24の表示を例えば図7に示す表示に切り替えればよい。なお、S113において、初回の加熱開始の指示により実行される加熱モードは、あらかじめ設定された1種類のみである。
上述のステップS113では、多機能スイッチ57への入力操作があるまでは制御部31は加熱動作を保留する。比較的長い時間が経過してしまうと、ユーザは誘導加熱調理器1の電源が投入されていることを忘れ、誤操作等により多機能スイッチ57を押下してしまう可能性がある。すると、意図せずに加熱が開始されてしまうおそれがある。
そこで本願発明者は、一定時間の経過後は単一操作加熱モードによる動作を強制的に終了することとした。図10は、単一操作加熱モードの改良例による制御部31の処理の手順を示すフローチャートである。ステップS110~S113は図9と同じである。よって再度の説明は省略する。
ステップS120において、制御部31は、所定の時間内に多機能スイッチ57への入力操作を検出したか否かを判定する。「所定の時間」は、電源が投入されてから、例えば1分間である。ただし、誘導加熱調理器1に当該所定の時間をユーザが任意に設定できる設定モードを設けてもよい。その場合、例えば多機能スイッチ57に所定の時間の設定を受け付ける機能が割り当てられる。制御部31は、多機能スイッチ57を介してユーザからの所定の時間の設定を受け付けることができる。なお、時間の設定方法は、予め用意された選択肢からの選択による設定、及び、具体的な数値の入力による設定のいずれであってもよい。なお、ユーザからの時間の設定を受け付けることができるのは、多機能スイッチ57以外の第1操作部51~第3操作部55の少なくともいずれか一つであってもよく、操作ユニット全体で設定を受け付けることができればよい。つまり、操作ユニットを介して、ユーザからの時間の設定を受け付けることができればよい。
多機能スイッチ57への入力操作を検出した場合には、処理はステップS120に進む。一方、多機能スイッチ57への入力操作を検出しなかった場合には、単一操作加熱モードの処理は終了する。これにより、無操作の場合には、一定時間経過後に自動的に単一操作加熱モードを終了させることができる。
なお、本実施の形態による誘導加熱調理器1のように、複数の加熱コイル7~9が設けられ、加熱コイル7~9の各々に対応して多機能スイッチ57も複数設けられている場合には、上述した「所定の時間」は加熱コイルごとに設定され得る。制御部31は、上述した所定の時間を加熱コイルごとにカウントし、所定の時間を経過した加熱コイルごとに単一操作加熱モードによる動作を終了してもよい。
あるいは「所定の時間」は、加熱コイル7~9の全体に対して1つ設定されてもよい。制御部31は、加熱コイル7~9の各々に設けられた各多機能スイッチのうちのいずれかが最後に操作された時刻を起点として、所定の時間を計測する。そして制御部31は、当該所定の時間内にいずれの多機能スイッチへの入力操作も検出しなかった場合には、全ての加熱コイル7~9について一括して単一操作加熱モードを終了する。
(2)変形例
次に、誘導加熱調理器1の種々の変形例を説明する。
図10の処理により、一定時間経過後に自動的に単一操作加熱モードを終了した後は、制御部31は、例えば誘導加熱調理器1の電源を遮断してもよい。これにより、例えば電源スイッチ22に偶然物体が当たって電源が投入されてしまったような場合には、一定時間経過後に自動的に電源を遮断することができる。
単一操作加熱モードを終了後の他の例は、単一操作加熱モードとは異なる他の動作モードへの移行である。他の動作モードの一例は、「待機モード」である。「待機モード」とは、制御部31が、手作業による加熱調理または自動的な加熱調理の選択をさらに受け付けることが可能な動作モードである。
図11は、待機モードへの移行を含む、制御部31の処理の手順を示すフローチャートである。図11と図10との相違点は、ステップS120が「N」(否)の場合に、ステップS121として制御部31が待機モードに移行する点である。他は同じであるため再度の説明は省略する。
ステップS121において、制御部31が待機モードに移行した後は、ユーザはさらに多機能スイッチ57等を操作することにより、希望する調理方法に応じた動作モードを選択することができる。
なお、動作モードが変化したときは、制御部31は、表示部24に動作モードが遷移したことを示す画像オブジェクトを表示させてもよい。そのような画像オブジェクトの表示とともに、または当該表示に代えて、制御部31は、動作モードが遷移したことを示す音声をスピーカ7から出力してもよい。
図12は、一定時間経過後に自動的に待機モードに移行したときの、表示部24における表示例を示している。図12に示されるように、表示部24には、文字の画像オブジェクト「メニュー」と、記号のオブジェクト「<」及び「>」とが表示される。記号のオブジェクト「<」及び「>」に対応して、ユーザが第2操作部53及び第3操作部55の一方を押下すると、その記号の画像オブジェクトに対応付けられた画像、例えば図6の画像、が表示部24に表示される。ユーザが「スタート」の画像オブジェクト32に対応付けられた多機能スイッチ57を押下すると、改めて加熱が開始される。これによりユーザは手作業による加熱調理を行うことができる。なお、ユーザの操作により、表示部24に図6の画像以外の画像が表示されてもよい。ユーザは、例えば「焼き物」モード、「揚げ物」モードなどの自動的な加熱調理の動作モードを選択することができる。
上述のとおり、「単一操作加熱モード」は、電源が投入された後、初回の操作で「加熱」を開始することが可能な制御部31の動作モードである。「加熱」は、予め設定された一定の火力(初期火力)によって容器を誘導加熱することを想定している。ユーザは誘導加熱調理器1に当該初期火力を予め設定しておくことができる。
初期火力を設定する具体的な方法は任意である。例えば、電源投入後、ユーザの操作に応答して、制御部31は火力を変更するための設定モードに移行する。設定モードでは、例えば多機能スイッチ57には、複数段階の火力のうちから1つの火力の選択を受け付ける機能が割り当てられる。ユーザが多機能スイッチ57を利用して所望の火力を選択すると、制御部31は当該選択を受け付け、「単一操作加熱モード」で加熱が開始された場合にその火力で加熱が行われるよう、加熱シーケンスを変更する。これにより制御部31は、予め設定された火力で「単一操作加熱モード」における加熱を行うことが可能になる。
予め設定しておくことが可能な対象は、火力には限られない。誘導加熱調理器1では、ユーザが「加熱」に代えて、例えば「焼き物」、「揚げ物」等の異なる加熱シーケンスを、電源が投入された後の初回の操作で実行するよう予め設定可能である。
図13の(a)~(c)は、「単一操作加熱モード」が「焼き物」に設定されたときの、電源投入前後の表示部24の表示の変遷を示している。図13の(a)は電源投入前の表示部24を示している。(b)では、表示部24が「焼き物」を示す画像オブジェクト130及び「スタート」を示す画像オブジェクト132を表示し、(c)では表示部24が余熱温度「200」(度)及び「切」を示す各画像オブジェクト134及び136を表示している。
また図14の(a)~(c)は、「単一操作加熱モード」が「揚げ物」に設定されたときの、電源投入前後の表示部24の表示の変遷を示している。図14の(a)は電源投入前の表示部24を示している。(b)では、表示部24が「揚げ物」を示す画像オブジェクト230及び「スタート」を示す画像オブジェクト232を表示し、(c)では表示部24が余熱温度「180」(度)及び「切」を示す各画像オブジェクト234及び136を表示している。
なお、「単一操作加熱モード」として「焼き物」、「揚げ物」等を設定する具体的な方法は任意である。例えば、複数の調理方法の各々について、加熱動作を自動化する加熱シーケンスを予め記憶部33に記憶しておく。そして電源投入後、ユーザの操作に応答して、制御部31は加熱シーケンスを変更するための設定モードに移行する。設定モードでは、例えば多機能スイッチ57には、複数の調理方法のうちから1つの調理方法の選択を受け付ける機能が割り当てられる。ユーザが多機能スイッチ57を利用して複数の調理方法のうちから調理方法を選択すると、制御部31は、選択された調理方法の指定を予め受け付け、電源投入後に、選択された調理方法に対応する画像オブジェクトを表示するよう、初期動作のためのパラメータを変更する。これにより制御部31は、電源投入直後から、予め選択された調理方法に対応する画像オブジェクトを表示して、ユーザの初回の操作で、その調理方法に応じた加熱シーケンスで加熱を開始することが可能になる。
図7を参照しながら説明したように、単一操作加熱モードによる加熱開始後に、ユーザが加熱を停止する場合があり得る。ユーザが加熱を停止する理由の一例は、被加熱物である容器または容器内の食材が所望の程度加熱されたかどうかを確認するため、または調味料、食材等を投入するためである。そしてその後は、加熱を再開する機会も多いと考えられる。
そのような場合、加熱の停止前と同じ動作モードで加熱が再開されるとユーザにとって使いやすいと考えられる。「同じ動作モード」とは、調理方法、火力等の設定が同じことを意味する。
図15は、同じ設定による加熱の再開を可能にする表示部24の表示例である。図7において、「切」の画像オブジェクト36に対応する多機能スイッチ57が押下され、制御部31が加熱を停止した後、表示部24の表示が図15に示す表示に切り替わる。制御部31は、「切」の画像オブジェクト36(図7)を「再開」の画像オブジェクト38に変更し、表示部24に表示する。このとき、火力(火の強さ)を示す文字、数字及びアイコンの画像オブジェクト34はそのまま表示が維持されている。ユーザが再開の画像オブジェクト38に対応する多機能スイッチ57を押下すると、表示部24の表示は再び図7の表示に戻り、同じ動作モードで加熱が再開される。
図16は、単一操作加熱モード時の中断・再開処理の手順を示すフローチャートである。
ステップS130において、制御部31は、単一操作加熱モードにより加熱動作を実行する。この処理は、例えば図7、図10、図11のステップS113までの処理に相当する。ステップS131において、制御部31は、加熱の停止を示す画像オブジェクト36(図7)を表示する。
ステップS132において、制御部31は、画像オブジェクト36に対応する多機能スイッチ57への入力操作の検出に応答して加熱動作を停止する。
ステップS133において、制御部31は、表示部24に加熱の再開を示す画像オブジェクト38(図15)を表示する。
ステップS134において、制御部31は、所定の時間内に画像オブジェクト38(図15)に対応する多機能スイッチ57への入力操作を検出したか否かを判定する。この処理は、図10におけるステップS120と同様の理由で設けた。例えば、「所定の時間」は、加熱が停止されてから2分間である。
なお、ここでいう「所定の時間」もまた、図10のステップS120と同様、ユーザが任意に設定可能であってもよい。その場合、例えば多機能スイッチ57に所定の時間の設定を受け付ける機能が割り当てられる。制御部31は、多機能スイッチ57を介してユーザからの所定の時間の設定を受け付けることができる。なお、ユーザからの時間の設定を受け付けることができるのは、多機能スイッチ57以外の第1操作部51~第3操作部55の少なくともいずれか一つであってもよく、操作ユニット全体で設定を受け付けることができればよい。つまり、操作ユニットを介して、ユーザからの時間の設定を受け付けることができればよい。
所定の時間内に多機能スイッチ57への入力操作を検出した場合には、処理はステップS135に進み、検出しなかった場合には加熱を再開することなく処理を終了する。このときは、単一操作加熱モードの終了として、例えば図9の終了処理と同じ処理を行えばよい。
ステップS135において、制御部31は、多機能スイッチ57への入力操作の検出に応答して加熱動作停止時の動作モードで加熱動作を再開する。以上の処理によれば、ユーザは、加熱を一時停止し再開した後であっても、改めて加熱時の設定値を調整し直す必要がない。よってユーザの利便性を大きく向上させることができる。
なお、例えば特許文献1に記載された従来の誘導加熱調理器を継続して使用してきたユーザにとっては、単一操作加熱モードが使いにくいと感じる場合もあり得る。そのため誘導加熱調理器1には、電源投入後から加熱動作が実行されるまでに要する操作回数を予め設定できるような機能を設けてもよい。単一操作加熱モードではなく、あえて2回の操作を要求するよう設定しておくことにより、従来の誘導加熱調理器と同様の操作感をユーザに提供できる。つまり、制御部31は、単一操作加熱モードによって誘導加熱調理器1の動作を制御可能であると共に、ユーザの好みに応じて、電源投入後に2操作で加熱を開始する、従来から使い慣れた手順による誘導加熱調理器1の動作も制御可能である。なお、ここでいう2操作とは、多機能スイッチ57を2回押し下げする操作だけでなく、操作ユニット全体で2操作、の意味である。例えば、2操作とは、第2操作部53を1回押し下げた後、多機能スイッチ57を1回押し下げする操作を含む。また、例えば多機能スイッチ57には、操作回数の設定を受け付ける機能が割り当てられ、ユーザは多機能スイッチ57を通して、予め定められた操作回数の設定を受け付ける。なお、ユーザからの操作回数の設定を受け付けることができるのは、多機能スイッチ57以外の第1操作部51~第3操作部55の少なくともいずれか一つであってもよく、操作ユニット全体で設定を受け付けることができればよい。つまり、操作ユニットを介してユーザからの操作回数の設定を受け付けることができればよい。
次に、ユーザ等の誤操作を防止するために設けられる保護電極を説明する。
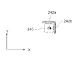
図17は、操作部20周辺の電子回路基板250の模式図である。例えば、多機能スイッチ57は、静電容量式のタッチスイッチ240として設けられている。他のスイッチも同様である。以下でも、多機能スイッチ57を一例として説明する。
多機能スイッチ57の一部に沿って1以上の保護電極242が配置されている。保護電極242には電流および/または電圧が常時印加されている。制御部31は電流および/または電圧を監視し、その電気的な変化を検出することが可能である。制御部31は、多機能スイッチ57への入力操作を検出する前に、保護電極242の電気的な変化を検出したときは、多機能スイッチ57への入力操作を無効にする。
例えば、ユーザが、図17の右上から右下に向かって、トッププレート5上の汚れを手で払ったとする。このとき、多機能スイッチ57が誤って押下されてしまうと、意図しない加熱動作が開始される可能性がある。そのような誤った操作を無効にするためには、ユーザがピンポイントで多機能スイッチ57を押下したか否かを検出できればよい。そこで、多機能スイッチ57の一部に沿って1以上の保護電極242を配置し、ピンポイントで多機能スイッチ57が押下されていない状況を検出するようにした。
なお図17では電源スイッチ22の周囲には保護電極242は設けられていないが、設けられていてもよい。
図18は、多機能スイッチ57を構成する矩形状のタクトスイッチ240と、保護電極242との関係を示している。保護電極242は、X軸方向の第1の保護電極242aと、Y軸方向の第2の保護電極242bとを含む。第1の保護電極242a及び第2の保護電極242bは、当該タクトスイッチ240の隣り合う2辺に沿って配置されている。なお、図17及び図18の例では4つのスイッチの間には保護電極は設けられていないが、設けられていてもよい。また、矩形状のタクトスイッチ240の4辺に沿って、またはX軸方向に平行な2辺に沿って保護電極が設けられていてもよい。
以上、本開示にかかる誘導加熱調理器1の実施の形態を説明した。上述したフローチャートによる処理は、コンピュータプログラムによって制御部31の動作として実現される。そのようなコンピュータプログラムは、記憶部33に記憶され、制御部31によって実行され得る。
(3)態様
上記実施の形態及び変形例から明らかなように、本開示は、下記の態様を含む。以下では、上記実施の形態との対応関係を明示するためだけに、符号を括弧付きで付している。
第1の態様は、誘導加熱調理器(1)であって、被加熱物を誘導加熱する加熱コイル(7、8および/または9)と、電源の投入のための電源スイッチ(22)と、状況に応じて異なる機能が割り当てられる多機能スイッチ(51、53、55および/または57)と、画像オブジェクトを表示する表示部(24)と、複数の動作モードのうちの所定の動作モードによる動作を制御する制御部(31)とを備える。複数の動作モードは、電源が投入された後の初回の操作で加熱を開始する単一操作加熱モードを含む。制御部(31)は、単一操作加熱モードによる動作を制御可能である。単一操作加熱モードは、制御部(31)が、加熱の開始を示す画像オブジェクトを表示部(24)に表示させ、多機能スイッチ(51、53、55および/または57)を、加熱の開始を示す画像オブジェクトに関連付け、多機能スイッチ(51、53、55および/または57)への入力操作を検出すると加熱コイル(7、8および/または9)を用いた加熱動作を実行する、動作モードである。これにより、誘導加熱調理器(1)の操作性を向上させることができる。
第2の態様は、第1の態様に基づく誘導加熱調理器(1)である。第2の態様では、電源が投入され、制御部(31)が単一操作加熱モードで動作を開始した後において、所定の時間内に多機能スイッチ(51、53、55および/または57)への入力操作を検出しなかった場合には、制御部(31)は単一操作加熱モードを終了する。単一操作加熱モードを終了することにより、所定の時間経過後の、ユーザが意図しない加熱を回避できる。
第3の態様は、第2の態様に基づく誘導加熱調理器(1)である。第3の態様では、複数の動作モードは、手作業による加熱調理または自動的な加熱調理の選択を受け付ける待機モードを含む。制御部(31)は、単一操作加熱モードを終了した後、待機モードで動作する。これにより、所定の時間経過後にユーザが意図しない加熱を回避しつつ、希望する調理方法に応じた動作モードを選択することができる。
第4の態様は、第1から第3の態様のいずれかに基づく誘導加熱調理器(1)である。第4の態様では、加熱コイル(7、8、9)は複数存在し、多機能スイッチ(51、53、55および/または57)は加熱コイル(7、8、9)ごとに設けられ、所定の時間は、加熱コイル(7、8、9)ごとに設定される。制御部(31)は、加熱コイル(7、8、9)ごとに所定の時間を計測し、所定の時間内に多機能スイッチ(51、53、55および/または57)への入力操作を検出しなかった場合には、加熱コイル(7、8、9)ごとに単一操作加熱モードを終了する。これにより、加熱コイル(7、8、9)ごとに、所定の時間経過後の、ユーザが意図しない加熱を回避できる。
第5の態様は、第1から第3の態様のいずれかに基づく誘導加熱調理器(1)である。第5の態様では、加熱コイル(7、8、9)は複数存在し、多機能スイッチ(51、53、55および/または57)は加熱コイル(7、8、9)ごとに設けられ、所定の時間は、複数の加熱コイル(7、8、9)に共通して設定される。制御部(31)は、加熱コイル(7、8、9)ごとに設けられた多機能スイッチ(51、53、55および/または57)のうちのいずれかが最後に操作された時刻を起点として所定の時間を計測する。所定の時間内に多機能スイッチ(51、53、55および/または57)への入力操作を検出しなかった場合には、制御部(31)は、複数の加熱コイル(7、8、9)の全てについて単一操作加熱モードを終了する。これにより、複数の加熱コイル(7、8、9)の全てについて、所定の時間経過後の、ユーザが意図しない加熱を回避できる。
第6の態様は、第2から第5の態様のいずれかに基づく誘導加熱調理器(1)である。第6の態様では、制御部(31)は、所定の時間の設定を受け付ける。これにより、単一操作加熱モードを終了するまでの所定の時間をユーザの好みに合わせて設定できる。
第7の態様は、第1から第6の態様のいずれかに基づく誘導加熱調理器(1)である。第7の態様では、誘導加熱調理器(1)は、複数の調理方法の各々について、加熱動作を自動化する加熱シーケンスを予め記憶した記憶装置(33)をさらに備えている。多機能スイッチ(51、53、55および/または57)には、複数の調理方法のうちから1つの調理方法の選択を受け付ける機能が割り当てられる。制御部(31)は、多機能スイッチ(51、53、55および/または57)を介して複数の調理方法のうちから選択された調理方法の指定を予め受け付け、選択された調理方法に対応する加熱シーケンスを読み出し、単一操作加熱モードにおいて、制御部(31)は、読み出した加熱シーケンスにしたがって加熱動作を実行する。これにより、制御部(31)は、予め設定された加熱シーケンスで「単一操作加熱モード」における加熱を行うことが可能になる。
第8の態様は、第1から第7の態様のいずれかに基づく誘導加熱調理器(1)である。第8の態様では、多機能スイッチ(51、53、55および/または57)には、加熱開始時の火力の設定を受け付ける機能が割り当てられる。制御部(31)は、多機能スイッチ(51、53、55および/または57)を介して加熱開始時の火力の設定を予め受け付ける。単一操作加熱モードにおいて、制御部(31)は、設定された火力で加熱動作を実行する。これにより、制御部(31)は、予め設定された火力で「単一操作加熱モード」における加熱を行うことが可能になる。
第9の態様は、第1から第8の態様のいずれかに基づく誘導加熱調理器(1)である。第9の態様では、加熱の開始後、制御部(31)は、加熱の停止を示す画像オブジェクトを表示部(24)に表示させ、多機能スイッチ(51、53、55および/または57)を、加熱の停止を示す画像オブジェクトに関連付け、多機能スイッチ(51、53、55および/または57)への入力操作を検出すると加熱を停止する。このように、加熱の開始のために利用した多機能スイッチを、加熱の停止にも利用できる。
第10の態様は、第9の態様に基づく誘導加熱調理器(1)である。第10の態様では、 加熱の停止後、制御部(31)は、加熱の開始を示す画像オブジェクトを表示部(24)に表示させる。制御部(31)は、多機能スイッチ(51、53、55および/または57)を、加熱の開始を示す画像オブジェクトに関連付ける。制御部(31)は、予め定められた時間内または操作回数内に多機能スイッチ(51、53、55および/または57)への入力操作を検出すると、加熱の停止前の動作モードで動作する。加熱を一時停止し再開した後であっても、改めて加熱時の設定値を調整し直す必要がないため、ユーザの利便性を大きく向上させることができる。
第11の態様は、第10の態様に基づく誘導加熱調理器(1)である。第11の態様では、制御部(31)は、予め定められた時間の設定を予め受け付ける。これにより、加熱の停止前の動作モードで動作させるための時間を、ユーザの好みに合わせて設定できる。
第12の態様は、第10の態様に基づく誘導加熱調理器(1)である。第12の態様では、制御部(31)は、操作回数の設定を受け付ける。これにより、加熱の停止前の動作モードで動作させるための操作回数を、ユーザの好みに合わせて設定できる。
第13の態様は、第1から第12の態様のいずれかに基づく誘導加熱調理器(1)である。第13の態様では、誘導加熱調理器(1)は、多機能スイッチ(51、53、55および/または57)を含み、ユーザの入力を受け付ける操作ユニットを備える。操作ユニットには、電源が投入された後、加熱動作の実行までの操作回数の設定を受け付ける機能が割り当てられる。制御部(31)は、操作ユニットを介して操作回数の設定を予め受け付けたときは、電源が投入された後に非単一操作加熱モードで動作し、非単一操作加熱モードは、制御部(31)が、操作ユニットを介して、設定された操作回数の操作を受け付けた後に、加熱コイル(7、8、9)を用いた加熱動作を実行する動作モードである。非単一操作加熱モードを設けることにより、ユーザの好みに応じて、例えば使い慣れた従来機種と同じ操作回数で電源投入後に加熱を開始することが可能になる。
第14の態様は、第13の態様に基づく誘導加熱調理器(1)である。第14の態様では、操作回数として2回の操作回数の設定を予め受け付けたときは、制御部(31)は、を介して複数のメニューから加熱を示すメニューの選択を受け付け、さらに加熱の開始の選択を受け付けると、加熱動作を実行する。これにより、ユーザは、自身の好みに応じて、1回ではなく2回の操作回数で加熱を開始するモードを選択できる。
第15の態様は、第1から第14の態様のいずれかに基づく誘導加熱調理器(1)である。第15の態様では、誘導加熱調理器(1)は、多機能スイッチ(51、53、55および/または57)の一部に沿って配置された1以上の保護電極(242)をさらに備える。制御部(31)は、1以上の保護電極(242)に印加された電流および/または電圧を監視することにより、保護電極(242)の電気的な変化を検出することが可能である。制御部(31)は、多機能スイッチ(51、53、55および/または57)への入力操作を検出する前に、保護電極(242)の電気的な変化を検出したときは、多機能スイッチ(51、53、55および/または57)への入力操作を無効にする。保護電極(242)を利用することにより、ピンポイントで多機能スイッチ(51、53、55および/または57)が押下されたか否かを検出することができ、意図しない加熱動作の開始を回避できる。
第16の態様は、第15の態様に基づく誘導加熱調理器(1)である。第16の態様では、1以上の保護電極(242)は第1の保護電極(242a)及び第2の保護電極(242b)を含む。多機能スイッチ(51、53、55および/または57)が矩形状である場合において、第1の保護電極(242a)及び第2の保護電極(242b)は、多機能スイッチ(51、53、55および/または57)の隣り合う2辺に沿って配置されている。これにより、ピンポイントで多機能スイッチ(51、53、55および/または57)が押下されたか否かを検出することができ、意図しない加熱動作の開始を回避できる。
第17の態様は、第1から第16の態様いずれかに基づく誘導加熱調理器(1)である。第17の態様では、動作モードが変化したときは、制御部(31)は、表示部(24)に動作モードが遷移したことを示す画像オブジェクトを表示する。これにより、動作モードが変化したことをユーザに視覚的に報知することができる。
第18の態様は、第1から第17の態様のいずれかに基づく誘導加熱調理器(1)である。第18の態様では、誘導加熱調理器(1)は音声を出力するスピーカ(7)をさらに備えている。動作モードが変化したときは、制御部(31)は、スピーカ(7)からに動作モードが遷移したことを示す音声を出力する。これにより、動作モードが変化したことをユーザに音で報知することができる。
第19の態様は、第1から第18の態様のいずれかに基づく誘導加熱調理器(1)である。第19の態様では、電源が投入された後の初回の操作で加熱の開始を受け付けるのは、多機能スイッチ(51、53、55、57のいずれか1つ)のみである。ユーザは、単一操作加熱モードを利用したい場合には特定の多機能スイッチを利用すればよいため、単一操作加熱モード使用時の操作をシンプル化できる。
第20の態様は、誘導加熱調理器(1)の制御部(31)によって実行されるコンピュータプログラムである。誘導加熱調理器(1)は、被加熱物を誘導加熱する加熱コイル(7、8、9)と、電源の投入のための電源スイッチ(22)と、状況に応じて異なる機能が割り当てられる多機能スイッチ(51、53、55および/または57)と、画像オブジェクトを表示する表示部(24)と、複数の動作モードのうちの所定の動作モードによる動作を制御する、コンピュータである制御部(31)とを備えている。複数の動作モードは、電源が投入された後の初回の操作で加熱を開始する単一操作加熱モードを含む。コンピュータプログラムは、制御部(31)に、単一操作加熱モードによる動作を制御させることが可能である。コンピュータプログラムは、単一操作加熱モードにおいて、制御部(31)に、加熱の開始を示す画像オブジェクトを表示部(24)に表示させる処理、多機能スイッチ(51、53、55および/または57)を、加熱の開始を示す画像オブジェクトに関連付ける処理、及び多機能スイッチ(51、53、55および/または57)への入力操作を検出すると加熱コイル(7、8、9)を用いた加熱動作を行う処理を実行させる。これにより、操作性を向上させた誘導加熱調理器(1)を得ることができる。
本開示の開示に係る、電源が投入された後の初回の操作で加熱を開始することを可能にする単一操作加熱モードは、家庭用及び業務用のいずれの誘導加熱調理器にも適用可能である。
1 加熱調理器
3 本体
5 トッププレート
7、8、9 加熱コイル
11、12、13 マーカ
15、16、17 発光部
18 温度センサ
19、20、21 操作入力部
22 電源スイッチ
23、24、25 表示部
27 スピーカ
31 制御部
33 記憶部
51 第1操作部(多機能スイッチ)
53 第2操作部(多機能スイッチ)
55 第3操作部(多機能スイッチ)
57 第4操作部(多機能スイッチ)

Claims (20)

  1. 被加熱物を誘導加熱する加熱コイルと、
    電源の投入のための電源スイッチと、
    状況に応じて異なる機能が割り当てられる多機能スイッチと、
    画像オブジェクトを表示する表示部と、
    複数の動作モードのうちの所定の動作モードによる動作を制御する制御部と
    を備え、
    前記複数の動作モードは、前記電源が投入された後の初回の操作で加熱を開始する単一操作加熱モードを含み、
    前記制御部は、前記単一操作加熱モードによる動作を制御可能であり、
    前記単一操作加熱モードは、前記制御部が、
    加熱の開始を示す画像オブジェクトを前記表示部に表示させ、
    前記多機能スイッチを、前記加熱の開始を示す画像オブジェクトに関連付け、
    前記多機能スイッチへの入力操作を検出すると前記加熱コイルを用いた加熱動作を実行する
    動作モードである、誘導加熱調理器。
  2. 前記電源が投入され、前記制御部が前記単一操作加熱モードで動作を開始した後において、
    前記所定の時間内に前記多機能スイッチへの入力操作を検出しなかった場合には、前記制御部は前記単一操作加熱モードを終了する、請求項1に記載の誘導加熱調理器。
  3. 前記複数の動作モードは、手作業による加熱調理または自動的な加熱調理の選択を受け付ける待機モードを含み、
    前記制御部は、前記単一操作加熱モードを終了した後、前記待機モードで動作する、請求項2に記載の誘導加熱調理器。
  4. 前記加熱コイルは複数存在し、
    前記多機能スイッチは、前記加熱コイルごとに設けられ、
    前記所定の時間は、前記加熱コイルごとに設定され、
    前記制御部は、前記加熱コイルごとに前記所定の時間を計測し、前記所定の時間内に前記多機能スイッチへの入力操作を検出しなかった場合には、前記加熱コイルごとに前記単一操作加熱モードを終了する、請求項1から3のいずれかに記載の誘導加熱調理器。
  5. 前記加熱コイルは複数存在し、
    前記多機能スイッチは、前記加熱コイルごとに設けられ、
    前記所定の時間は、複数の加熱コイルに共通して設定され、
    前記制御部は、加熱コイルごとに設けられた前記多機能スイッチのうちのいずれかが最後に操作された時刻を起点として前記所定の時間を計測し、
    前記所定の時間内に前記多機能スイッチへの入力操作を検出しなかった場合には、前記複数の加熱コイルの全てについて前記単一操作加熱モードを終了する、請求項1から3のいずれかに記載の誘導加熱調理器。
  6. 前記制御部は、前記所定の時間の設定を受け付ける、請求項2から5のいずれかに記載の誘導加熱調理器。
  7. 複数の調理方法の各々について、加熱動作を自動化する加熱シーケンスを予め記憶した記憶装置をさらに備え、
    前記多機能スイッチには、複数の調理方法のうちから1つの調理方法の選択を受け付ける機能が割り当てられ、
    前記制御部は、前記多機能スイッチを介して前記複数の調理方法のうちから選択された調理方法の指定を予め受け付け、選択された前記調理方法に対応する加熱シーケンスを読み出し、
    前記単一操作加熱モードにおいて、前記制御部は、読み出した前記加熱シーケンスにしたがって前記加熱動作を実行する、請求項1から6のいずれかに記載の誘導加熱調理器。
  8. 前記多機能スイッチには、加熱開始時の火力の設定を受け付ける機能が割り当てられ、
    前記制御部は、前記多機能スイッチを介して前記加熱開始時の火力の設定を予め受け付け、
    前記単一操作加熱モードにおいて、前記制御部は、設定された前記火力で前記加熱動作を実行する、請求項1から7のいずれかに記載の誘導加熱調理器。
  9. 前記加熱の開始後、前記制御部は、
    前記加熱の停止を示す画像オブジェクトを前記表示部に表示させ、
    前記多機能スイッチを、前記加熱の停止を示す画像オブジェクトに関連付け、
    前記多機能スイッチへの入力操作を検出すると前記加熱を停止する、
    請求項1から8のいずれかに記載の誘導加熱調理器。
  10. 前記加熱の停止後、前記制御部は、
    前記加熱の開始を示す画像オブジェクトを前記表示部に表示させ、
    前記多機能スイッチを、前記加熱の開始を示す画像オブジェクトに関連付け、
    予め定められた時間内または操作回数内に前記多機能スイッチへの入力操作を検出すると、前記加熱の停止前の動作モードで動作する、
    請求項9に記載の誘導加熱調理器。
  11. 前記制御部は、前記予め定められた時間の設定を予め受け付ける、請求項10に記載の誘導加熱調理器。
  12. 前記制御部は、前記操作回数の設定を受け付ける、請求項10に記載の誘導加熱調理器。
  13. 前記多機能スイッチを含み、ユーザの入力を受け付ける操作ユニットを備え、
    前記操作ユニットには、前記電源が投入された後、加熱動作の実行までの操作回数の設定を受け付ける機能が割り当てられ、
    前記制御部は、前記操作ユニットを介して前記操作回数の設定を予め受け付けたときは、前記電源が投入された後に非単一操作加熱モードで動作し、
    前記非単一操作加熱モードは、前記制御部が、前記操作ユニットを介して、設定された前記操作回数の操作を受け付けた後に、前記加熱コイルを用いた加熱動作を実行する動作モードである、
    請求項1から12のいずれかに記載の誘導加熱調理器。
  14. 前記操作回数として2回の操作回数の設定を予め受け付けたときは、前記制御部は、前記操作ユニットを介して複数のメニューから加熱を示すメニューの選択を受け付け、さらに加熱の開始の選択を受け付けると、前記加熱動作を実行する、請求項13に記載の誘導加熱調理器。
  15. 前記多機能スイッチの一部に沿って配置された1以上の保護電極をさらに備え、
    前記制御部は、前記1以上の保護電極に印加された電流および/または電圧を監視することにより、前記保護電極の電気的な変化を検出することが可能であり、
    前記制御部は、前記多機能スイッチへの入力操作を検出する前に、前記保護電極の電気的な変化を検出したときは、前記多機能スイッチへの入力操作を無効にする、請求項1から14のいずれかに記載の誘導加熱調理器。
  16. 前記1以上の保護電極は第1の保護電極及び第2の保護電極を含み、
    前記多機能スイッチが矩形状である場合において、前記第1の保護電極及び前記第2の保護電極は、前記多機能スイッチの隣り合う2辺に沿って配置されている、請求項15に記載の誘導加熱調理器。
  17. 前記動作モードが変化したときは、前記制御部は、前記表示部に前記動作モードが遷移したことを示す画像オブジェクトを表示する、請求項1から16のいずれかに記載の誘導加熱調理器。
  18. 音声を出力するスピーカをさらに備え、
    前記動作モードが変化したときは、前記制御部は、前記スピーカからに前記動作モードが遷移したことを示す音声を出力する、請求項1から17のいずれかに記載の誘導加熱調理器。
  19. 前記電源が投入された後の初回の操作で加熱の開始を受け付けるのは、前記多機能スイッチのみである、請求項1から18のいずれかに記載の誘導加熱調理器。
  20. 誘導加熱調理器の制御部によって実行されるコンピュータプログラムであって、
    前記誘導加熱調理器は、
    被加熱物を誘導加熱する加熱コイルと、
    電源の投入のための電源スイッチと、
    状況に応じて異なる機能が割り当てられる多機能スイッチと、
    画像オブジェクトを表示する表示部と、
    複数の動作モードのうちの所定の動作モードによる動作を制御する、コンピュータである前記制御部と
    を備え、
    前記複数の動作モードは、前記電源が投入された後の初回の操作で加熱を開始する単一操作加熱モードを含み、
    前記コンピュータプログラムは、前記制御部に、前記単一操作加熱モードによる動作を制御させることが可能であり、
    前記コンピュータプログラムは、前記単一操作加熱モードにおいて、前記制御部に
    加熱の開始を示す画像オブジェクトを前記表示部に表示させる処理、
    前記多機能スイッチを、前記加熱の開始を示す画像オブジェクトに関連付ける処理、及び
    前記多機能スイッチへの入力操作を検出すると前記加熱コイルを用いた加熱動作を行う処理
    を実行させる、コンピュータプログラム。
JP2020180742A 2020-10-28 2020-10-28 誘導加熱調理器及びコンピュータプログラム Active JP7270166B2 (ja)

Priority Applications (2)

Application Number Priority Date Filing Date Title
JP2020180742A JP7270166B2 (ja) 2020-10-28 2020-10-28 誘導加熱調理器及びコンピュータプログラム
CN202110169943.7A CN114501710A (zh) 2020-10-28 2021-02-07 感应加热烹调器以及计算机可读取的记录介质

Applications Claiming Priority (1)

Application Number Priority Date Filing Date Title
JP2020180742A JP7270166B2 (ja) 2020-10-28 2020-10-28 誘導加熱調理器及びコンピュータプログラム

Publications (2)

Publication Number Publication Date
JP2022071663A true JP2022071663A (ja) 2022-05-16
JP7270166B2 JP7270166B2 (ja) 2023-05-10

Family

ID=81491697

Family Applications (1)

Application Number Title Priority Date Filing Date
JP2020180742A Active JP7270166B2 (ja) 2020-10-28 2020-10-28 誘導加熱調理器及びコンピュータプログラム

Country Status (2)

Country Link
JP (1) JP7270166B2 (ja)
CN (1) CN114501710A (ja)

Cited By (2)

* Cited by examiner, † Cited by third party
Publication number Priority date Publication date Assignee Title
JP2024131286A (ja) * 2023-03-16 2024-09-30 三菱電機株式会社 加熱調理器
WO2025075362A1 (ko) * 2023-10-04 2025-04-10 삼성전자주식회사 조리기기 및 조리기기의 제어방법

Citations (9)

* Cited by examiner, † Cited by third party
Publication number Priority date Publication date Assignee Title
JPH08315978A (ja) * 1995-05-23 1996-11-29 Matsushita Electric Ind Co Ltd 誘導加熱調理器
JPH09222229A (ja) * 1996-02-14 1997-08-26 Sharp Corp 加熱調理器の制御装置
JP2003109734A (ja) * 2001-09-27 2003-04-11 Rinnai Corp 加熱調理器
JP2006294369A (ja) * 2005-04-08 2006-10-26 Matsushita Electric Ind Co Ltd 加熱調理器
WO2009001513A1 (ja) * 2007-06-22 2008-12-31 Panasonic Corporation 誘導加熱調理器
JP2010218707A (ja) * 2009-03-13 2010-09-30 Panasonic Corp 誘導加熱調理器
JP2010266133A (ja) * 2009-05-15 2010-11-25 Panasonic Corp 加熱調理器
JP2015144056A (ja) * 2014-01-31 2015-08-06 株式会社永泰産業 電磁調理器
JP2020035707A (ja) * 2018-08-31 2020-03-05 パナソニックIpマネジメント株式会社 誘導加熱調理器

Family Cites Families (3)

* Cited by examiner, † Cited by third party
Publication number Priority date Publication date Assignee Title
KR20040033128A (ko) * 2002-10-11 2004-04-21 삼성전자주식회사 전자렌지 및 그 제어방법
JP4818017B2 (ja) * 2006-07-31 2011-11-16 株式会社東芝 加熱調理器
JP2012248397A (ja) * 2011-05-27 2012-12-13 Panasonic Corp 誘導加熱調理機器

Patent Citations (9)

* Cited by examiner, † Cited by third party
Publication number Priority date Publication date Assignee Title
JPH08315978A (ja) * 1995-05-23 1996-11-29 Matsushita Electric Ind Co Ltd 誘導加熱調理器
JPH09222229A (ja) * 1996-02-14 1997-08-26 Sharp Corp 加熱調理器の制御装置
JP2003109734A (ja) * 2001-09-27 2003-04-11 Rinnai Corp 加熱調理器
JP2006294369A (ja) * 2005-04-08 2006-10-26 Matsushita Electric Ind Co Ltd 加熱調理器
WO2009001513A1 (ja) * 2007-06-22 2008-12-31 Panasonic Corporation 誘導加熱調理器
JP2010218707A (ja) * 2009-03-13 2010-09-30 Panasonic Corp 誘導加熱調理器
JP2010266133A (ja) * 2009-05-15 2010-11-25 Panasonic Corp 加熱調理器
JP2015144056A (ja) * 2014-01-31 2015-08-06 株式会社永泰産業 電磁調理器
JP2020035707A (ja) * 2018-08-31 2020-03-05 パナソニックIpマネジメント株式会社 誘導加熱調理器

Cited By (2)

* Cited by examiner, † Cited by third party
Publication number Priority date Publication date Assignee Title
JP2024131286A (ja) * 2023-03-16 2024-09-30 三菱電機株式会社 加熱調理器
WO2025075362A1 (ko) * 2023-10-04 2025-04-10 삼성전자주식회사 조리기기 및 조리기기의 제어방법

Also Published As

Publication number Publication date
CN114501710A (zh) 2022-05-13
JP7270166B2 (ja) 2023-05-10

Similar Documents

Publication Publication Date Title
JP6052740B2 (ja) 電子機器
US7793648B2 (en) Heating cooker
CN205451045U (zh) 一种电烹饪器的工作状态显示装置及电烹饪器
CN101690388B (zh) 感应加热烹调器
JP7270166B2 (ja) 誘導加熱調理器及びコンピュータプログラム
JP5270848B2 (ja) 誘導加熱調理器
JP2007075481A (ja) 加熱調理器
JP2009231175A (ja) 誘導加熱調理器とそのプログラム
CN110089921A (zh) 一种养生壶的操作方法和养生壶
EP3473935B1 (en) Cooking appliance with user-selectable sear feature
JP4802877B2 (ja) 加熱調理器
JP5870239B2 (ja) 高周波加熱装置
JP6909956B2 (ja) 誘導加熱調理器
JP7178320B2 (ja) 加熱調理器
JP2005122961A (ja) 加熱調理器
JP2022087670A (ja) 誘導加熱調理器及びコンピュータプログラム
JP5487654B2 (ja) 誘導加熱調理器
JP2008134018A (ja) 加熱調理器
JP7270167B2 (ja) 誘導加熱調理器及びコンピュータプログラム
JP6399407B2 (ja) 加熱調理器
JP4998420B2 (ja) 誘導加熱調理器
JP2006040782A (ja) 電気機器の制御装置
JP6641562B2 (ja) 炊飯器
JP4899532B2 (ja) 加熱調理器
JP5948604B2 (ja) 加熱調理器

Legal Events

Date Code Title Description
A621 Written request for application examination

Free format text: JAPANESE INTERMEDIATE CODE: A621

Effective date: 20220217

A977 Report on retrieval

Free format text: JAPANESE INTERMEDIATE CODE: A971007

Effective date: 20221125

A131 Notification of reasons for refusal

Free format text: JAPANESE INTERMEDIATE CODE: A131

Effective date: 20221129

A521 Request for written amendment filed

Free format text: JAPANESE INTERMEDIATE CODE: A523

Effective date: 20230127

TRDD Decision of grant or rejection written
A01 Written decision to grant a patent or to grant a registration (utility model)

Free format text: JAPANESE INTERMEDIATE CODE: A01

Effective date: 20230404

A61 First payment of annual fees (during grant procedure)

Free format text: JAPANESE INTERMEDIATE CODE: A61

Effective date: 20230412

R151 Written notification of patent or utility model registration

Ref document number: 7270166

Country of ref document: JP

Free format text: JAPANESE INTERMEDIATE CODE: R151