JP2017111663A - 道路情報検出装置、運転支援装置、道路情報検出システム、道路情報検出方法、運転制御方法及びプログラム - Google Patents

道路情報検出装置、運転支援装置、道路情報検出システム、道路情報検出方法、運転制御方法及びプログラム Download PDF

Info

Publication number
JP2017111663A
JP2017111663A JP2015246388A JP2015246388A JP2017111663A JP 2017111663 A JP2017111663 A JP 2017111663A JP 2015246388 A JP2015246388 A JP 2015246388A JP 2015246388 A JP2015246388 A JP 2015246388A JP 2017111663 A JP2017111663 A JP 2017111663A
Authority
JP
Japan
Prior art keywords
road
start position
curve
attachment
information
Prior art date
Legal status (The legal status is an assumption and is not a legal conclusion. Google has not performed a legal analysis and makes no representation as to the accuracy of the status listed.)
Granted
Application number
JP2015246388A
Other languages
English (en)
Other versions
JP2017111663A5 (ja
JP6638373B2 (ja
Inventor
秀樹 雨宮
Hideki Amamiya
秀樹 雨宮
Current Assignee (The listed assignees may be inaccurate. Google has not performed a legal analysis and makes no representation or warranty as to the accuracy of the list.)
NEC Corp
Original Assignee
NEC Corp
Priority date (The priority date is an assumption and is not a legal conclusion. Google has not performed a legal analysis and makes no representation as to the accuracy of the date listed.)
Filing date
Publication date
Priority to JP2015246388A priority Critical patent/JP6638373B2/ja
Application filed by NEC Corp filed Critical NEC Corp
Priority to CA3008416A priority patent/CA3008416C/en
Priority to MX2018007244A priority patent/MX390907B/es
Priority to HK18115605.5A priority patent/HK1256536A1/en
Priority to PCT/JP2016/086906 priority patent/WO2017104611A1/ja
Priority to US16/061,726 priority patent/US11260871B2/en
Priority to EP16875588.2A priority patent/EP3392857A4/en
Publication of JP2017111663A publication Critical patent/JP2017111663A/ja
Publication of JP2017111663A5 publication Critical patent/JP2017111663A5/ja
Application granted granted Critical
Publication of JP6638373B2 publication Critical patent/JP6638373B2/ja
Active legal-status Critical Current
Anticipated expiration legal-status Critical

Links

Images

Classifications

    • BPERFORMING OPERATIONS; TRANSPORTING
    • B60VEHICLES IN GENERAL
    • B60WCONJOINT CONTROL OF VEHICLE SUB-UNITS OF DIFFERENT TYPE OR DIFFERENT FUNCTION; CONTROL SYSTEMS SPECIALLY ADAPTED FOR HYBRID VEHICLES; ROAD VEHICLE DRIVE CONTROL SYSTEMS FOR PURPOSES NOT RELATED TO THE CONTROL OF A PARTICULAR SUB-UNIT
    • B60W40/00Estimation or calculation of non-directly measurable driving parameters for road vehicle drive control systems not related to the control of a particular sub unit, e.g. by using mathematical models
    • B60W40/02Estimation or calculation of non-directly measurable driving parameters for road vehicle drive control systems not related to the control of a particular sub unit, e.g. by using mathematical models related to ambient conditions
    • B60W40/06Road conditions
    • B60W40/072Curvature of the road
    • GPHYSICS
    • G08SIGNALLING
    • G08GTRAFFIC CONTROL SYSTEMS
    • G08G1/00Traffic control systems for road vehicles
    • G08G1/09Arrangements for giving variable traffic instructions
    • G08G1/0962Arrangements for giving variable traffic instructions having an indicator mounted inside the vehicle, e.g. giving voice messages
    • G08G1/09623Systems involving the acquisition of information from passive traffic signs by means mounted on the vehicle
    • BPERFORMING OPERATIONS; TRANSPORTING
    • B60VEHICLES IN GENERAL
    • B60WCONJOINT CONTROL OF VEHICLE SUB-UNITS OF DIFFERENT TYPE OR DIFFERENT FUNCTION; CONTROL SYSTEMS SPECIALLY ADAPTED FOR HYBRID VEHICLES; ROAD VEHICLE DRIVE CONTROL SYSTEMS FOR PURPOSES NOT RELATED TO THE CONTROL OF A PARTICULAR SUB-UNIT
    • B60W40/00Estimation or calculation of non-directly measurable driving parameters for road vehicle drive control systems not related to the control of a particular sub unit, e.g. by using mathematical models
    • B60W40/02Estimation or calculation of non-directly measurable driving parameters for road vehicle drive control systems not related to the control of a particular sub unit, e.g. by using mathematical models related to ambient conditions
    • B60W40/06Road conditions
    • GPHYSICS
    • G05CONTROLLING; REGULATING
    • G05DSYSTEMS FOR CONTROLLING OR REGULATING NON-ELECTRIC VARIABLES
    • G05D1/00Control of position, course, altitude or attitude of land, water, air or space vehicles, e.g. using automatic pilots
    • G05D1/02Control of position or course in two dimensions
    • G05D1/021Control of position or course in two dimensions specially adapted to land vehicles
    • G05D1/0231Control of position or course in two dimensions specially adapted to land vehicles using optical position detecting means
    • G05D1/0246Control of position or course in two dimensions specially adapted to land vehicles using optical position detecting means using a video camera in combination with image processing means
    • GPHYSICS
    • G05CONTROLLING; REGULATING
    • G05DSYSTEMS FOR CONTROLLING OR REGULATING NON-ELECTRIC VARIABLES
    • G05D1/00Control of position, course, altitude or attitude of land, water, air or space vehicles, e.g. using automatic pilots
    • G05D1/02Control of position or course in two dimensions
    • G05D1/021Control of position or course in two dimensions specially adapted to land vehicles
    • G05D1/0268Control of position or course in two dimensions specially adapted to land vehicles using internal positioning means
    • G05D1/0272Control of position or course in two dimensions specially adapted to land vehicles using internal positioning means comprising means for registering the travel distance, e.g. revolutions of wheels
    • GPHYSICS
    • G05CONTROLLING; REGULATING
    • G05DSYSTEMS FOR CONTROLLING OR REGULATING NON-ELECTRIC VARIABLES
    • G05D1/00Control of position, course, altitude or attitude of land, water, air or space vehicles, e.g. using automatic pilots
    • G05D1/02Control of position or course in two dimensions
    • G05D1/021Control of position or course in two dimensions specially adapted to land vehicles
    • G05D1/0276Control of position or course in two dimensions specially adapted to land vehicles using signals provided by a source external to the vehicle
    • G05D1/0278Control of position or course in two dimensions specially adapted to land vehicles using signals provided by a source external to the vehicle using satellite positioning signals, e.g. GPS
    • GPHYSICS
    • G06COMPUTING OR CALCULATING; COUNTING
    • G06VIMAGE OR VIDEO RECOGNITION OR UNDERSTANDING
    • G06V20/00Scenes; Scene-specific elements
    • G06V20/50Context or environment of the image
    • G06V20/56Context or environment of the image exterior to a vehicle by using sensors mounted on the vehicle
    • G06V20/588Recognition of the road, e.g. of lane markings; Recognition of the vehicle driving pattern in relation to the road
    • GPHYSICS
    • G08SIGNALLING
    • G08GTRAFFIC CONTROL SYSTEMS
    • G08G1/00Traffic control systems for road vehicles
    • GPHYSICS
    • G08SIGNALLING
    • G08GTRAFFIC CONTROL SYSTEMS
    • G08G1/00Traffic control systems for road vehicles
    • G08G1/09Arrangements for giving variable traffic instructions
    • GPHYSICS
    • G08SIGNALLING
    • G08GTRAFFIC CONTROL SYSTEMS
    • G08G1/00Traffic control systems for road vehicles
    • G08G1/16Anti-collision systems
    • GPHYSICS
    • G09EDUCATION; CRYPTOGRAPHY; DISPLAY; ADVERTISING; SEALS
    • G09BEDUCATIONAL OR DEMONSTRATION APPLIANCES; APPLIANCES FOR TEACHING, OR COMMUNICATING WITH, THE BLIND, DEAF OR MUTE; MODELS; PLANETARIA; GLOBES; MAPS; DIAGRAMS
    • G09B29/00Maps; Plans; Charts; Diagrams, e.g. route diagram
    • G09B29/10Map spot or coordinate position indicators; Map reading aids

Landscapes

  • Engineering & Computer Science (AREA)
  • Physics & Mathematics (AREA)
  • General Physics & Mathematics (AREA)
  • Automation & Control Theory (AREA)
  • Mathematical Physics (AREA)
  • Theoretical Computer Science (AREA)
  • Radar, Positioning & Navigation (AREA)
  • Remote Sensing (AREA)
  • Aviation & Aerospace Engineering (AREA)
  • Transportation (AREA)
  • Mechanical Engineering (AREA)
  • Business, Economics & Management (AREA)
  • Multimedia (AREA)
  • Educational Technology (AREA)
  • Educational Administration (AREA)
  • Computer Vision & Pattern Recognition (AREA)
  • Electromagnetism (AREA)
  • Traffic Control Systems (AREA)
  • Control Of Driving Devices And Active Controlling Of Vehicle (AREA)
  • Instructional Devices (AREA)
  • Health & Medical Sciences (AREA)
  • Artificial Intelligence (AREA)
  • Evolutionary Computation (AREA)
  • Game Theory and Decision Science (AREA)
  • Medical Informatics (AREA)
  • Navigation (AREA)

Abstract

【課題】道路において、坂道やカーブの正確な開始位置を特定することができる道路情報検出装置を提供する。【解決手段】道路情報検出装置10は、曲線開始位置特定部103を備える。前記曲線開始位置特定部は、画像を取得する画像情報取得部101と、前記画像に映る前記付設物の識別情報を検出する付設物検出部102と、を備え、道路上の付設物の検出に基づいて前記道路の構造における緩和曲線の開始位置を特定する。さらに、前記曲線開始位置特定部から前記開始位置を取得し、前記開始位置に基づいて制動制御を行う運転制御部と、を備える。【選択図】図2

Description

本発明は、道路情報検出装置、運転支援装置、道路情報検出システム、道路情報検出方法、運転制御方法及びプログラムに関する。
道路において車両が安全かつ快適に走行するためには、道路における車両の位置を検出すると共に、坂道やカーブなどの開始位置を正確に検出し、道路の構造に応じて車両が走行する必要がある。
特許文献1には、関連する技術として、車両の位置を検出するナビゲーション装置と勾配情報を有した地図情報とに基づいて、車両の進路上の所定距離内に坂道が存在すると判定した場合に、坂道の勾配に応じた燃料の噴射で車両を走行させる技術が開示されている。
特許文献2には、関連する技術として、車両が交差点の近傍で進入しようとしている道路の形状等の情報を車載通信機を介して取得する技術が開示されている。
特許文献3には、関連する技術として、道路全体を複数に分解し、分解したそれぞれの道路の形状をモデル化することにより、道路全体をモデル化しデータベースに記録する技術が開示されている。
特許文献4には、関連する技術として、車載カメラで取得した画像情報に基づいて特定の道路施設の位置を検出した場合、車両の検出位置を補正する技術が開示されている。
特開2014−189214号公報 特開2012−253498号公報 特開2000−047573号公報 特開平7−071973号公報
ところで、道路における坂道やカーブの開始位置を検出する方法の1つとして地図情報を用いることが考えらえる。しかしながら、地図中に道路における坂道やカーブの構造と正確な位置をすべて含めることは膨大な時間と手間が掛かり大変困難である。
そのため、道路において、坂道やカーブの正確な開始位置を簡易的に特定することのできる技術が求められていた。
本発明は、上記の課題を解決することのできる道路情報検出装置、運転支援装置、道路情報検出システム、道路情報検出方法、運転制御方法及びプログラムを提供することを目的としている。
上記目的を達成するために、本発明は、道路上の付設物の検出に基づいて前記道路の構造における緩和曲線の開始位置を特定する曲線開始位置特定部、を備える道路情報検出装置である。
また、本発明は、道路上の付設物の検出に基づいて前記道路の構造における緩和曲線の開始位置を特定する曲線開始位置特定部を備える道路情報検出装置から前記開始位置を取得する開始位置取得部と、前記開始位置に基づいて加速制御または制動制御または進行方向変更制御を行う運転制御部と、を備える運転支援装置である。
また、本発明は、道路上の付設物の検出に基づいて前記道路の構造における緩和曲線の開始位置を特定する曲線開始位置特定部を備える道路情報検出装置から前記開始位置を取得する開始位置取得部と、前記開始位置に基づいて制動制御を行う運転制御部と、を備える運転支援装置である。
また、本発明は、道路上の付設物の検出に基づいて前記道路の構造における緩和曲線の開始位置を特定する曲線開始位置特定部を備える道路情報検出装置から前記開始位置を取得する開始位置取得部と、前記開始位置に基づいて進行方向変更制御を行う運転制御部と、を備える運転支援装置である。
また、本発明は、道路上の付設物に関する識別情報、前記付設物に関する位置情報、前記位置情報と道路の構造における緩和曲線の開始位置との関係を示す情報を少なくとも含む道路情報を配信する道路情報配信システムと、検出した道路上の付設物の位置情報と前記道路情報とに基づいて前記道路の構造における緩和曲線の開始位置を特定する曲線開始位置特定部を備える道路情報検出装置と、を備える道路情報検出システムである。
また、本発明は、道路上の付設物の検出に基づいて前記道路の構造における緩和曲線の開始位置を特定すること、を含む道路情報検出装置の道路情報検出方法である。
また、本発明は、道路上の付設物の検出に基づいて前記道路の構造における緩和曲線の開始位置を特定する曲線開始位置特定部を備える道路情報検出装置から前記開始位置を取得すること、前記開始位置に基づいて加速制御または制動制御または進行方向変更制御を行うこと、を含む運転支援装置の運転制御方法である。
また、本発明は、道路上の付設物の検出に基づいて前記道路の構造における緩和曲線の開始位置を特定する曲線開始位置特定部を備える道路情報検出装置から前記開始位置を取得すること、前記開始位置に基づいて制動制御を行うこと、を含む運転支援装置の運転制御方法である。
また、本発明は、道路上の付設物の検出に基づいて前記道路の構造における緩和曲線の開始位置を特定する曲線開始位置特定部を備える道路情報検出装置から前記開始位置を取得すること、前記開始位置に基づいて進行方向変更制御を行うこと、を含む運転支援装置の運転制御方法である。
また、本発明は、道路上の付設物に関する識別情報、前記付設物に関する位置情報、前記位置情報と道路の構造における緩和曲線の開始位置との関係を示す情報を少なくとも含む道路情報を配信すること、検出した道路上の付設物の位置情報と前記道路情報とに基づいて前記道路の構造における緩和曲線の開始位置を特定すること、を含む道路情報検出システムの道路情報検出方法である。
また、本発明は、コンピュータに、道路上の付設物の検出に基づいて前記道路の構造における緩和曲線の開始位置を特定すること、を実行させるプログラムである。
また、本発明は、コンピュータに、道路上の付設物の検出に基づいて前記道路の構造における緩和曲線の開始位置を特定する曲線開始位置特定部を備える道路情報検出装置から前記開始位置を取得すること、前記開始位置に基づいて加速制御または制動制御または進行方向変更制御を行うこと、を実行させるプログラムである。
また、本発明は、コンピュータに、道路上の付設物の検出に基づいて前記道路の構造における緩和曲線の開始位置を特定する曲線開始位置特定部を備える道路情報検出装置から前記開始位置を取得すること、前記開始位置に基づいて制動制御を行うこと、を実行させるプログラムである。
また、本発明は、コンピュータに、道路上の付設物の検出に基づいて前記道路の構造における緩和曲線の開始位置を特定する曲線開始位置特定部を備える道路情報検出装置から前記開始位置を取得すること、前記開始位置に基づいて進行方向変更制御を行うこと、を実行させるプログラムである。
本発明によれば、道路において、坂道やカーブの正確な開始位置を簡易的に特定することができる。
本発明の第一の実施形態による道路情報検出装置の最小構成を示す図である。 本発明の第二の実施形態による道路情報検出装置の構成を示す図である。 本発明の第二の実施形態による第1データテーブルを示す図である。 本発明の第二の実施形態による道路情報検出装置の処理フローを示す図である。 本発明の第二の実施形態における付設物の識別情報を検出した画像の例を示す図である。 本発明の第二の実施形態における車両に設置された画像情報取得部と付設物との位置関係を示す図である。 本発明の第二の実施形態による報知部の報知例を示す図である。 本発明の第三の実施形態による第2データテーブルを示す図である。 本発明の第三の実施形態による道路情報検出装置の処理フローを示す図である。 本発明の第四の実施形態による道路情報検出システムの構成を示す図である。 本発明の第四の実施形態による運転支援装置の構成を示す図である。 本発明の第四の実施形態による道路情報検出システムの処理フローを示す図である。 本発明の実施形態において付設物のいくつかが存在しない場合の付設物の推定を説明するための図である。
<第一の実施形態>
本発明の第一の実施形態による道路情報検出装置について説明する。
本発明の第一の実施形態による道路情報検出装置は、本発明の最小構成の道路情報検出装置である。
本発明の第一の実施形態による道路情報検出装置10は、図1に示すように、少なくとも、曲線開始位置特定部103を備える。
曲線開始位置特定部103は、道路上の付設物の検出に基づいて道路の構造における緩和曲線の開始位置を特定する。道路上の付設物は、例えば、道路標識、距離標(キロポスト)、ETC(Electronic Toll Collection system)ガントリーなどである。緩和曲線は、車両が道路における直線部と円弧部とを滑らかにつなぐために直線部と円弧部との間に入れる曲線である。緩和曲線の開始位置は、例えば、坂道の開始位置、カーブの開始位置である。
具体的には、例えば、曲線開始位置特定部103は、道路標識の位置を特定する。曲線開始位置特定部103は、特定した道路標識の位置と、その位置から緩和曲線の開始位置までの距離との対応関係を示す情報を用いて、緩和曲線の開始位置を特定する。
このようにすれば、道路情報検出装置10は、道路において、坂道やカーブの正確な開始位置を簡易的に特定することができる。
<第二の実施形態>
本発明の第二の実施形態による道路情報検出装置について説明する。
本発明の第二の実施形態による道路情報検出装置10は、図2に示すように、画像情報取得部101と、付設物検出部102と、曲線開始位置特定部103と、記憶部104と、報知部105と、を備える。
画像情報取得部101は、画像を取得する。画像情報取得部101は、例えば、カメラである。
付設物検出部102は、画像情報取得部101が取得した画像に映る付設物の識別情報を検出する。付設物の識別情報は、付設物が道路標識である場合、例えば、速度制限80km/hを示す標識の中の“80”という文字である。また、付設物の識別情報は、付設物が距離標である場合、例えば、各高速道路の起点からの距離を示す距離標の中の“114.7”という文字である。また、付設物の識別情報は、例えば、付設物がETCガントリーである場合、各インターチェンジの名称である。
曲線開始位置特定部103は、道路上の付設物の検出に基づいて道路の構造における緩和曲線の開始位置を特定する。
具体的には、曲線開始位置特定部103は、画像情報取得部101が取得した画像に映る付設物の識別情報と、後述する第1データテーブルTBL1に記録されている付設物の位置と、その付設物から緩和曲線の開始位置までの距離とに基づいて、緩和曲線の開始位置を特定する。
また、曲線開始位置特定部103は、付設物の識別情報を検出した画像に基づいて、車両から検出した付設物までの距離を算出する。
曲線開始位置特定部103は、第1データテーブルTBL1において特定した付設物から緩和曲線の開始位置までの距離と、算出した車両から検出した付設物までの距離とを加算する。
記憶部104は、道路情報検出装置10が行う処理に必要な種々の情報を記憶する。
例えば、記憶部104は、図3に示す付設物の識別情報を示す画像情報と、その付設物が設けられている位置から緩和曲線の開始位置までの距離を示す距離情報との対応関係を第1データテーブルTBL1に記憶する。
報知部105は、曲線開始位置特定部103が特定した緩和曲線の開始位置を報知する。報知部105は、例えば、表示部、スピーカ、振動部、発光部などである。
本発明の第二の実施形態による道路情報検出装置10の処理について説明する。
ここでは、高速道路を走行する車両が備える図4に示す道路情報検出装置10の処理フローについて説明する。
なお、付設物検出部102は、道路情報検出装置10の起動時に、記憶部104から第1データテーブルTBL1における付設物の識別情報を予め読み出しているとする。また、曲線開始位置特定部103は、道路情報検出装置10の起動時に、記憶部104から第1データテーブルTBL1を予め読み出しているとする。
画像情報取得部101は、車両が高速道路を走行中に、車両の進行方向の画像を撮影する(ステップS1)。
画像情報取得部101は、撮影した画像の画像情報を付設物検出部102に送信する。
付設物検出部102は、画像情報取得部101から画像情報を受信する。
付設物検出部102は、画像情報を受信すると、受信した画像情報が示す画像において、予め読み出している付設物の識別情報を検出するか否かを判定する(ステップS2)。なお、予め読み出している付設物の識別情報は、付設物が道路標識である場合、例えば、速度制限80km/hを示す標識の中の“80”という文字である。また、予め読み出している付設物の識別情報は、付設物が距離標である場合、例えば、各高速道路の起点からの距離を示す距離標の中の“114.7”という文字である。また、予め読み出している付設物の識別情報は、付設物がETCガントリーである場合、例えば、各インターチェンジの名称である。
例えば、付設物検出部102は、マッチング技術を用いて、受信した画像情報が示す画像と、丸の中に“80”という文字が記載された付設物の識別情報を示す画像とを比較し、受信した画像情報が示す画像において丸の中に“80”という文字を検出するか否かを判定する。
また、付設物検出部102は、マッチング技術を用いて、受信した画像情報が示す画像と、“114.7”という文字が記載された付設物の識別情報を示す画像とを比較し、受信した画像情報が示す画像において“114.7”という文字を検出するか否かを判定する。
また、付設物検出部102は、画像処理におけるマッチング技術を用いて、受信した画像情報が示す画像と、ETCガントリーに示されるインターチェンジの名称の1つである“笠間西”という文字が記載された付設物の識別情報を示す画像とを比較し、受信した画像情報が示す画像において“笠間西”という文字を検出するか否かを判定する。
付設物検出部102は、受信した画像情報が示す画像において、記憶部104から予め読み出した付設物の識別情報に一致する識別情報を検出しないと判定した場合(ステップS2においてNO)、ステップS1の処理に戻す。
付設物検出部102は、受信した画像情報が示す画像において、記憶部104から予め読み出した付設物の識別情報に一致する識別情報を検出したと判定した場合(ステップS2においてYES)、検出した付設物の識別情報と、付設物の識別情報を検出した画像とを曲線開始位置特定部103に送信する。
曲線開始位置特定部103は、付設物検出部102から検出した付設物の識別情報と、付設物の識別情報を検出した画像とを受信する。
曲線開始位置特定部103は、付設物の識別情報と、付設物の識別情報を検出した画像とを受信すると、道路上の付設物の検出に基づいて道路の構造における緩和曲線の開始位置を特定する(ステップS3)。
例えば、曲線開始位置特定部103は、受信した付設物の識別情報に対応する付設物から緩和曲線の開始位置までの距離を第1データテーブルTBL1において特定する(ステップS3A)。
また、曲線開始位置特定部103は、付設物の識別情報を検出した画像に基づいて、車両から検出した付設物までの距離を算出する(ステップS3B)。
具体例として、曲線開始位置特定部103が速度制限80km/hを示す道路標識を検出した場合における車両から検出した付設物の識別情報までの距離の算出について説明する。
ここで、画像情報取得部101は、路面からの高さ1.2メートルの車両の位置に画角(視野角)の中心が路面に水平になるよう設置されているとする。また、付設物である道路標識は、設置基準が定められており標準的な設置の高さが定められている。ここでは、道路標識の識別情報の中心が、路面から高さ1.8メートルの位置に設置されているとする。また、画像情報取得部101の画角は、48度であるとする。
車両の曲線開始位置特定部103は、付設物検出部102から付設物の識別情報を検出した画像として、図5に示す画像を受信したとする。図5に示すように、付設物の識別情報を検出した画像において、画像の最下部から最上部までの縦方向の画素数は960ピクセルであるとする。また、付設物の識別情報を検出した画像において、画像の最下部から付設物の識別情報の中心までの縦方向の画素数は700ピクセルであるとする。また、付設物の識別情報を検出した画像において、画像の最下部から水平線HLまでの縦方向の画素数は650ピクセルであるとする。
また、車両に設置された画像情報取得部101と付設物との位置関係は、図6に示すような位置関係にあり、距離L1は、高さh1、高さh2、角度θを用いて、以下の式(1)のように表すことができる。
L1=(h2−h1)÷tanθ・・・(1)
ここで、距離L1は、車両に設置された画像情報取得部101から付設物までの距離である。高さh1は、画像情報取得部101が設置されている高さである。高さh2は、路面から付設物の識別情報の中心までの高さである。角度θは、画像情報取得部101の位置を基準点とし水平方向をゼロ度としたときに、画像情報取得部101と付設物の識別情報の中心を結んだ直線と、水平方向とが成す角度である。
高さh1は、1.2メートルであることが分かっている。高さh2は、1.8メートルであることが分かっている。したがって、距離L1は、角度θが分かれば求めることができる。
画像情報取得部101の画角は、48度であることが分かっている。また、付設物の識別情報を検出した画像において、画像の最下部から最上部までの縦方向の画素数は960ピクセルであることが分かっている。したがって、付設物の識別情報を検出した画像において、縦方向の1画素は、0.025(=(48÷2)÷960)度と算出することができる。
画像の最下部から付設物の識別情報の中心までの縦方向の画素数は530ピクセルであることが分かっている。また、付設物の識別情報を検出した画像において、画像の最下部から水平線HLまでの縦方向の画素数は480ピクセルであることが分かっている。画像の最下部から付設物の識別情報の中心までの縦方向の画素数と、付設物の識別情報を検出した画像において、画像の最下部から水平線HLまでの縦方向の画素数との差は、50(=530−480)ピクセルと算出することができる。
角度θは、付設物の識別情報を検出した画像において、画像の最下部から水平線HLまでの縦方向の画素数との差である50ピクセルに対応する角度であり、θ=1.25(=0.025×50)度と算出することができる。
したがって、曲線開始位置特定部103は、式(1)を用いて距離L1を、L1=27.5(=(1.8−1.2)÷tan1.25)メートルと算出する。
なお、曲線開始位置特定部103は、上述のアルゴリズムと異なるアルゴリズムで距離L1を算出してもよい。例えば、曲線開始位置特定部103は、“滝本周平、伊藤崇晶、「車載カメラを用いた単眼測距検証システムの開発」、SEIテクニカルレビュー、第169号、pp.82−87”などに記載されているピンホールカメラモデルを用いたアルゴリズムに基づいて距離L1を算出してもよい。また、曲線開始位置特定部103は、適切に距離L1を算出できれば、その他の距離計算アルゴリズムを用いてもよい。
また、曲線開始位置特定部103は、予め取得した付設物の位置情報と、GPS(Global Positioning System)により特定した車両の位置とに基づいて、距離L1を算出してもよい。具体的には、曲線開始位置特定部103は、付設物の位置とGPSにより特定した車両の位置との差が示す距離を算出する。
また、曲線開始位置特定部103は、付設物から発信されるビーコンに基づいて、距離L1を算出してもよい。具体的には、曲線開始位置特定部103は、予めビーコンの電波強度と距離との対応関係を取得しており、対応関係において受信したビーコンの電波強度が示す距離を特定する。
また、曲線開始位置特定部103は、予め取得した付設物の位置情報と、車輪の回転数から算出される車両の走行距離とに基づいて、距離L1を算出してもよい。具体的には、曲線開始位置特定部103は、例えば、インターチェンジを起点に車輪の回転数と車輪の周囲長とを乗算して走行距離を算出する。曲線開始位置特定部103は、付設物の位置とインターチェンジからの走行距離により示される位置との差が示す距離を算出する。
曲線開始位置特定部103は、第1データテーブルTBL1において特定した付設物から緩和曲線の開始位置までの距離と、算出した車両から検出した付設物までの距離とを加算する(ステップS3C)。
曲線開始位置特定部103は、算出した車両から付設物までの距離を報知部105に送信する。
報知部105は、車両から付設物までの距離を曲線開始位置特定部103から受信する。
報知部105は、車両から付設物までの距離を受信すると、受信した距離に基づいて緩和曲線の開始位置を報知する(ステップS4)。
例えば、報知部105は、表示部であり、緩和曲線の開始位置が上り坂の開始位置である場合、図7に示すように、画像情報取得部101が取得する画像と共に、“300メートルで上り坂です”と文字を表示する。また、報知部105は、スピーカであり、緩和曲線の開始位置が上り坂の開始位置である場合、“300メートルで上り坂です”と音声を出力する。また、報知部105は、振動部である場合、車両から緩和曲線の開始位置までの距離に応じた振動の強さや間隔などで座席シートが振動する。また、報知部105は、発光部である場合、車両から緩和曲線の開始位置までの距離に応じた光の強さや点滅の間隔などで発光する。
以上、本発明の第二の実施形態による道路情報検出装置10について説明した。
本発明の第二の実施形態による道路情報検出装置10は、画像情報取得部101と、付設物検出部102と、曲線開始位置特定部103と、記憶部104と、報知部105と、を備える。画像情報取得部101は、画像を取得する。付設物検出部102は、画像情報取得部101が取得した画像に映る付設物の識別情報を検出する。曲線開始位置特定部103は、道路上の付設物の検出に基づいて道路の構造における緩和曲線の開始位置を特定する。具体的には、曲線開始位置特定部103は、画像情報取得部101が取得した画像に映る付設物の識別情報と、第1データテーブルTBL1に記録されている付設物の位置と、その付設物から緩和曲線の開始位置までの距離とに基づいて、緩和曲線の開始位置を特定する。また、曲線開始位置特定部103は、付設物の識別情報を検出した画像に基づいて、車両から検出した付設物までの距離を算出する。曲線開始位置特定部103は、第1データテーブルTBL1において特定した付設物から緩和曲線の開始位置までの距離と、算出した車両から検出した付設物までの距離とを加算する。記憶部104は、道路情報検出装置10が行う処理に必要な種々の情報を記憶する。報知部105は、曲線開始位置特定部103が特定した緩和曲線の開始位置を報知する。
このようにすれば、道路情報検出装置10は、道路において、坂道やカーブの正確な開始位置を簡易的に特定することができる。
<第三の実施形態>
本発明の第三の実施形態による道路情報検出装置について説明する。
本発明の第三の実施形態による道路情報検出装置10は、図2で示した第二の実施形態による道路情報検出装置10と同様に、画像情報取得部101と、付設物検出部102と、曲線開始位置特定部103と、記憶部104と、報知部105と、を備える。
付設物検出部102は、画像情報取得部101が取得した画像に映る付設物の識別情報を所定回数検出するまで検出する。所定回数は、例えば、車両が現在走行中の道路と、他の道路とを区別できる回数である。また、所定回数は、例えば、車両が現在走行中の道路における現在の位置と、車両が現在走行中の道路における他の位置とを区別できる回数である。
曲線開始位置特定部103は、道路上の付設物の検出に基づいて道路の構造における緩和曲線の開始位置を特定する。
具体的には、曲線開始位置特定部103は、画像情報取得部101が取得した画像に映る付設物の順序を検出する。曲線開始位置特定部103は、付設物検出部102が最後に検出した付設物の識別情報と、後述する第2データテーブルTBL2に記録されている付設物の位置と、その付設物から緩和曲線の開始位置までの距離とに基づいて、緩和曲線の開始位置を特定する。
記憶部104は、道路情報検出装置10が行う処理に必要な種々の情報を記憶する。
例えば、記憶部104は、図8に示すように、車両の走行中に出現する付設物の順序に並んだ付設物の識別情報を示す画像情報と、その付設物のうちの最後の付設物が設けられている位置から緩和曲線の開始位置までの距離を示す距離情報との対応関係を第2データテーブルTBL2に記憶する。
なお、第2データテーブルTBL2は、起点から終点に向かう下り方面、または、終点から起点に向かう上り方面に対して1つ作成し、上りと下りとで第2データテーブルTBL2のデータの読み取る順序を逆にすればよい。例えば、図8に示す上り方面用の第2データテーブルTBL2を使用する機能部は、上り方面に走行している車両に対しては、No.1からNo.100へデータを順に読み取り使用すればよい。また、図8に示す上り方面用の第2データテーブルTBL2を使用する機能部は、下り方面に走行している車両に対しては、No.100からNo.1へデータを順に読み取り使用すればよい。
本発明の第二の実施形態による道路情報検出装置10は、特徴的な1つの付設物の識別情報を検出した場合、その付設物から緩和曲線の開始位置までの距離を用いて車両から緩和曲線の開始位置までの距離を算出することができる装置である。しかしながら、同一の付設物の識別情報が、他の道路、または、同一の道路における他の位置にも存在する場合もある。その場合、本発明の第二の実施形態による道路情報検出装置10は、検出した付設物の識別情報が、車両が現在走行している道路の付設物の識別情報であるか、他の道路の付設物の識別情報であるか、車両が現在走行している道路の他の位置における付設物の識別情報であるかを区別することができない。その結果、本発明の第二の実施形態による道路情報検出装置10は、同一の付設物の識別情報が、他の道路、または、同一の道路における他の位置にも存在する場合、車両から緩和曲線の開始位置までの距離を算出することができない。
本発明の第三の実施形態による道路情報検出装置10は、同一の付設物の識別情報が、他の道路、または、同一の道路における他の位置にも存在する場合に、車両から緩和曲線の開始位置までの距離を算出することができる装置である。
本発明の第三の実施形態による道路情報検出装置10の処理について説明する。
ここでは、高速道路を走行する車両が備える図9に示す道路情報検出装置10の処理フローについて説明する。
なお、付設物検出部102は、道路情報検出装置10の起動時に、記憶部104から第2データテーブルTBL2における付設物の識別情報を予め読み出しているとする。また、曲線開始位置特定部103は、道路情報検出装置10の起動時に、記憶部104から第2データテーブルTBL2を予め読み出しているとする。
また、車両は、道路を上り方面に走行しているとする。
画像情報取得部101は、ステップS1の処理を行うと、撮影した画像の画像情報を付設物検出部102に送信する。
付設物検出部102は、画像情報取得部101から画像情報を受信する。
付設物検出部102は、画像情報を受信すると、受信した画像情報が示す画像において、予め読み出している付設物の識別情報を検出するか否かを判定する(ステップS2)。
付設物検出部102は、受信した画像情報が示す画像において、予め読み出した付設物の識別情報に一致する識別情報を検出しないと判定した場合(ステップS2においてNO)、ステップS1の処理に戻す。
付設物検出部102は、受信した画像情報が示す画像において、予め読み出した付設物の識別情報に一致する識別情報を検出したと判定した場合(ステップS2においてYES)、検出したと判定した付設物の識別情報と同一の識別情報を第2データテーブルTBL2において特定する(ステップS5)。
付設物検出部102は、画像情報取得部101が取得した画像に映る付設物の識別情報を所定回数検出したか否かを判定する(ステップS6)。
付設物検出部102は、画像情報取得部101が取得した画像に映る付設物の識別情報を所定回数検出しないと判定した場合(ステップS6においてNO)、ステップS5の処理により第2データテーブルTBL2において特定した同一の識別情報と第2データテーブルTBL2における番号(No.)とを対応付けて記憶部104の第3データテーブルTBL3に記録する(ステップS7)。
付設物検出部102は、ステップS5の処理により第2データテーブルTBL2において特定した同一の識別情報と第2データテーブルTBL2における番号とを対応付けて記憶部104に記録したことを報知する記録報知信号を画像情報取得部101に送信する。
画像情報取得部101は、付設物検出部102から記録報知信号を受信する。
画像情報取得部101は、記録報知信号を受信すると、車両が高速道路を走行中に、車両の進行方向の画像を撮影する(ステップS8)。
画像情報取得部101は、撮影した画像の画像情報を付設物検出部102に送信する。
付設物検出部102は、画像情報取得部101から画像情報を受信する。
付設物検出部102は、画像情報を受信すると、受信した画像情報が示す画像において、予め読み出している付設物の識別情報を検出するか否かを判定する(ステップS9)。
付設物検出部102は、受信した画像情報が示す画像において、記憶部104から予め読み出した付設物の識別情報に一致する識別情報を検出しないと判定した場合(ステップS9においてNO)、ステップS8の処理に戻す。
付設物検出部102は、受信した画像情報が示す画像において、記憶部104から予め読み出した付設物の識別情報に一致する識別情報を検出したと判定した場合(ステップS9においてYES)、記憶部104から第3データテーブルTBL3を読み出す。
付設物検出部102は、第3データテーブルTBL3を読み出すと、第3データテーブルTBL3に記録された番号のそれぞれの次の番号に対応する第2データテーブルTBL2における付設物の識別情報において、ステップS9の処理により検出したと判定した付設物の識別情報と同一の識別情報と一致する識別情報を特定する(ステップS10)。付設物検出部102は、ステップS6の処理に戻す。
また、付設物検出部102は、画像情報取得部101が取得した画像に映る付設物の識別情報を所定回数検出したと判定した場合(ステップS6においてYES)、最後に検出した付設物の識別情報と付設物の識別情報を検出した画像とを曲線開始位置特定部103に送信する。
曲線開始位置特定部103は、付設物検出部102が最後に検出した付設物の識別情報と付設物の識別情報を検出した画像とを付設物検出部102から受信する。
曲線開始位置特定部103は、付設物検出部102が最後に検出した付設物の識別情報と付設物の識別情報を検出した画像とを受信すると、ステップS3の処理により、付設物検出部102が最後に検出した付設物の識別情報と、付設物検出部102が最後に検出した付設物の識別情報を検出した画像とを受信すると、道路上の付設物の検出に基づいて道路の構造における緩和曲線の開始位置を特定する。
道路情報検出装置10は、ステップS4の処理を行う。
図9に示す処理フローにおけるステップS2においてYES、S5、S6においてNO、S7〜S10の処理の具体例として、第2データテーブルTBL2が図8で示したデータテーブルである場合の識別情報の特定について説明する。
付設物検出部102は、ステップS2の処理により、受信した画像情報が示す画像において、記憶部104から予め読み出した付設物の識別情報dt1に一致する識別情報を検出したと判定したとする(ステップS2においてYES)。この場合、付設物検出部102は、ステップS5の処理により、第2データテーブルTBL2におけるNo.31の付設物の識別情報dt1と、No.61の付設物の識別情報dt1とを特定する。
付設物検出部102は、ステップS6の処理により、第2データテーブルTBL2において付設物の識別情報dt1がNo.1、No.31、No.61のそれぞれに存在し、1つに特定できないため、画像情報取得部101が取得した画像に映る付設物の識別情報を所定回数検出しないと判定する(ステップS6においてNO)。
付設物検出部102は、ステップS7の処理により、付設物の識別情報dt1とNo.1とを対応付けて記憶部104の第3データテーブルTBL3に記録する。また、付設物検出部102は、ステップS7の処理により、付設物の識別情報dt1とNo.31とを対応付けて記憶部104の第3データテーブルTBL3に記録する。また、付設物検出部102は、ステップS7の処理により、付設物の識別情報dt1とNo.61とを対応付けて記憶部104の第3データテーブルTBL3に記録する。
付設物検出部102は、付設物の識別情報dt1とNo.1、付設物の識別情報dt1とNo.31、付設物の識別情報dt1とNo.61を対応付けて記憶部104の第3データテーブルTBL3に記録したことを報知する記録報知信号を画像情報取得部101に送信する。
画像情報取得部101は、付設物検出部102から記録報知信号を受信する。
画像情報取得部101は、ステップS8の処理により、記録報知信号を受信すると、車両が高速道路を走行中に、車両の進行方向の画像を撮影する。
画像情報取得部101は、撮影した画像の画像情報を付設物検出部102に送信する。
付設物検出部102は、画像情報取得部101から画像情報を受信する。
付設物検出部102は、画像情報を受信すると、ステップS9の処理により、受信した画像情報が示す画像において、予め読み出している付設物の識別情報を検出するか否かを判定する。
付設物検出部102は、ステップS9の処理により、受信した画像情報が示す画像において、記憶部104から予め読み出した付設物の識別情報に一致する識別情報を検出しないと判定した場合(ステップS9においてNO)、ステップS8の処理に戻す。
付設物検出部102は、ステップS9の処理により、受信した画像情報が示す画像において、記憶部104から予め読み出した付設物の識別情報に一致する付設物の識別情報dt2を検出したと判定した場合(ステップS9においてYES)、記憶部104から第3データテーブルTBL3を読み出す。
付設物検出部102は、第3データテーブルTBL3を読み出すと、ステップS9の処理により、第3データテーブルTBL3に記録されたNo.1、No.31、No.61のそれぞれの次の番号No.2、No.32、No.62に対応する第2データテーブルTBL2における付設物の識別情報において、付設物の識別情報dt2と一致する識別情報をNo.2に対応する付設物の識別情報dt2と特定する。付設物検出部102は、ステップS6の処理に戻す。
また、付設物検出部102は、ステップS6の処理により、付設物の識別情報dt2と一致する識別情報がNo.2に対応する付設物の識別情報dt2の1つとなり、画像情報取得部101が取得した画像に映る付設物の識別情報を所定回数検出したと判定する(ステップS6においてYES)。付設物検出部102は、最後に検出したNo.2に対応する付設物の識別情報dt2と、付設物の識別情報を検出した画像とを曲線開始位置特定部103に送信する。
以上、本発明の第三の実施形態による道路情報検出装置10について説明した。
本発明の第三の実施形態による道路情報検出装置10は、画像情報取得部101と、付設物検出部102と、曲線開始位置特定部103と、記憶部104と、報知部105と、を備える。画像情報取得部101は、画像を取得する。付設物検出部102は、画像情報取得部101が取得した画像に映る付設物の識別情報を所定回数検出するまで検出する。曲線開始位置特定部103は、道路上の付設物の検出に基づいて道路の構造における緩和曲線の開始位置を特定する。具体的には、曲線開始位置特定部103は、画像情報取得部101が取得した画像に映る付設物の順序を検出する。曲線開始位置特定部103は、付設物検出部102が最後に検出した付設物の識別情報と、第2データテーブルTBL2に記録されている付設物の位置と、その付設物から緩和曲線の開始位置までの距離とに基づいて、緩和曲線の開始位置を特定する記憶部104は、道路情報検出装置10が行う処理に必要な種々の情報を記憶する。報知部105は、曲線開始位置特定部103が特定した緩和曲線の開始位置を報知する。
このようにすれば、道路情報検出装置10は、道路において、坂道やカーブの正確な開始位置を簡易的に特定することができる。
<第四の実施形態>
本発明の第四の実施形態による道路情報検出システムについて説明する。
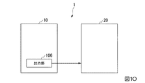
本発明の第四の実施形態による道路情報検出システム1は、図10に示すように、出力部106を更に備える道路情報検出装置10と、運転支援装置20と、を備える。
出力部106を更に備える道路情報検出装置10は、例えば、本発明の第一から第三の何れかの実施形態による道路情報検出装置10が更に出力部106を備える道路情報検出装置である。
出力部106は、曲線開始位置特定部103が特定した緩和曲線の開始位置を運転支援装置20に出力する。
運転支援装置20は、図11に示すように、開始位置取得部201と、運転制御部202と、を備える。
開始位置取得部201は、道路情報検出装置10から緩和曲線の開始位置を取得する。
運転制御部202は、開始位置取得部201が取得した緩和曲線の開始位置に基づいて車両の加速制御を行う。
また、運転制御部202は、開始位置取得部201が取得した緩和曲線の開始位置に基づいて車両の制動制御を行う。
また、運転制御部202は、開始位置取得部201が取得した緩和曲線の開始位置に基づいて車両の進行方向変更制御を行う。
本発明の第四の実施形態による道路情報検出システム1の処理について説明する。
ここでは、高速道路を走行する車両が備える図12に示す道路情報検出装置10の処理フローについて説明する。
図12に示す処理フローにおけるステップS1〜S10は、図9で示した処理フローを示している。
曲線開始位置特定部103は、算出した車両から付設物までの距離を報知部105と、出力部106とに送信する。
報知部105は、車両から付設物までの距離を曲線開始位置特定部103から受信する。
報知部105は、ステップS4の処理により、車両から付設物までの距離を受信すると、受信した距離に基づいて緩和曲線の開始位置を報知する。
出力部106は、車両から付設物までの距離を曲線開始位置特定部103から受信する。
出力部106は、車両から付設物までの距離を受信すると、受信した距離に基づいて緩和曲線の開始位置を運転支援装置20に送信する。
開始位置取得部201は、道路情報検出装置10から緩和曲線の開始位置を受信する(ステップS12)。
開始位置取得部201は、緩和曲線の開始位置を受信すると、受信した緩和曲線の開始位置を運転制御部202に送信する。
運転制御部202は、開始位置取得部201から緩和曲線の開始位置を受信する。
運転制御部202は、緩和曲線の開始位置を受信すると、受信した緩和曲線の開始位置に基づいて、車両の走行を自動制御する(ステップS13)。
具体的には、運転制御部202は、受信した緩和曲線の開始位置が上り坂の開始位置である場合、車両の加速制御を行う。
また、運転制御部202は、受信した緩和曲線の開始位置が下り坂の開始位置である場合、車両の制動制御を行う。なお、車両がモータを有している場合、回生ブレーキを利用して発電してもよい。
また、運転制御部202は、受信した緩和曲線の開始位置がカーブの開始位置である場合、車両の進行方向変更制御を行う。
以上、本発明の第四の実施形態による道路情報検出システム1について説明した。
本発明の第四の実施形態による道路情報検出システム1は、出力部106を更に備える道路情報検出装置10と、運転支援装置20と、を備える。出力部106は、曲線開始位置特定部103が特定した緩和曲線の開始位置を運転支援装置20に出力する。運転支援装置20は、開始位置取得部201と、運転制御部202と、を備える。開始位置取得部201は、道路情報検出装置10から緩和曲線の開始位置を取得する。運転制御部202は、開始位置取得部201が取得した緩和曲線の開始位置に基づいて車両の加速制御を行う。また、運転制御部202は、開始位置取得部201が取得した緩和曲線の開始位置に基づいて車両の制動制御を行う。また、運転制御部202は、開始位置取得部201が取得した緩和曲線の開始位置に基づいて車両の進行方向変更制御を行う。
このようにすれば、道路情報検出システム1において、道路情報検出装置10は、道路において、坂道やカーブの正確な開始位置を簡易的に特定することができる。また、運転支援装置20は、道路情報検出装置10が特定した坂道やカーブの正確な開始位置に基づいて、運転を支援することができる。
なお、道路情報検出システム1において、道路情報検出装置10が道路の設計時の想定速度の情報を取得し、運転支援装置20は、その想定速度になるように車両の速度を制御してもよい。また、運転支援装置20が行う車両の速度の制御は、自動制御であってもよい。
このようにすれば、道路情報検出システム1は、車両を安全に走行させることができる。
なお、図12に示す処理フローにおけるステップS1〜S10の処理の代わりに、図4で示した処理フローのステップS1〜S4の処理を行ってもよい。
なお、本発明の各実施形態において、曲線開始位置特定部103は、白線の数を数えることにより白線の数を数え始める位置からの距離を推定してもよい。
例えば、高速道路における白線の標準的な長さは8メートルであり、白線の標準的な間隔は12メートルであることが分かっている。
曲線開始位置特定部103は、画像情報取得部101が取得した画像に対して、画像処理における画像認識の技術を用いて、白線の出現回数を数える。曲線開始位置特定部103は、20メートル(=白線の長さ8メートル+白線の間隔12メートル)に出現回数を乗算することにより、20メートル刻みで白線の数を数え始める位置からの距離を推定することができる。
このようにすれば、道路情報検出装置10は、道路において、坂道やカーブの開始位置を簡易的でより正確に特定することができる。
また、本発明の各実施形態において、道路上の付設物は、非常電話であってもよい。非常電話は、明かり部が約1キロメートル間隔であり、トンネル内に200メートル間隔(首都高速道路では明かり部が500メートル間隔であり、トンネル内に100メートル間隔)で設置されていることが分かっている。
曲線開始位置特定部103は、画像情報取得部101が取得した画像に対して、画像処理における画像認識の技術を用いて、明かり部の出現回数やトンネル内の非常電話の出現回数を数える。曲線開始位置特定部103は、明かり部の出現回数やトンネル内の非常電話の出現回数に明かり部またはトンネル内の非常電話の間隔が示す距離を乗算することで、白線の場合と同様に、明かり部またはトンネル内の非常電話の出現回数を数え始める位置からの距離を推定することができる。
このようにすれば、道路情報検出装置10は、道路において、坂道やカーブの開始位置を簡易的でより正確に特定することができる。
また、本発明の各実施形態において、曲線開始位置特定部103は、距離標(大型の距離標は500メートル間隔で設置、小型の距離標は100メートル間隔で設置)の出現回数を数えることにより、上述の白線や非常電話の場合と同様に、距離標の出現回数を数え始める位置からの距離を推定することができる。
このようにすれば、道路情報検出装置10は、道路において、坂道やカーブの開始位置を簡易的でより正確に特定することができる。
また、本発明の各実施形態において、付設物検出部102は、道路上の付設物として、高速道路の分合流地点におけるデルタ形状の白線を検出する。曲線開始位置特定部103は、走行中のデルタ形状の白線の出現の順番と、記憶部104が予め記録しているデルタ形状の白線の出現の順番を照合することにより、車両の現在位置を推定することができる。
このようにすれば、道路情報検出装置10は、道路において、坂道やカーブの開始位置を簡易的でより正確に特定することができる。
また、本発明の各実施形態において、付設物検出部102は、道路上の付設物として、路面に記載された行先、逆走防止の矢印を検出する。曲線開始位置特定部103は、走行中の路面に記載された行先、逆走防止の矢印の出現の順番と、記憶部104が予め記録している路面に記載された行先、逆走防止の矢印の出現順序と照合することにより、車両の現在位置(走行している区間)を推定することができる。
このようにすれば、道路情報検出装置10は、道路において、坂道やカーブの開始位置を簡易的でより正確に特定することができる。
なお、本発明の各実施形態において、道路情報検出装置10は、上述の坂道やカーブの開始位置をより正確に特定する方法を併用してもよい。
このようにすれば、道路情報検出装置10は、道路において、坂道やカーブの開始位置を簡易的でより正確に特定することができる。
なお、本発明の各実施形態において、曲線開始位置特定部103は、道路上に本来存在する付設物が存在しない場合、以下のように付設物を推定すれば、緩和曲線の開始位置を推定することができる。
具体例として、No.1から5までの5つの付設物が道路上に本来存在するはずが、No.4の付設物が故障し、4つの付設物しか存在しない場合の緩和曲線の開始位置の推定について説明する。なお、車両は、No.1から5へ向かう方向へ走行しているとする。
図13に示す第4データテーブルTBL4のように、No.1から5までの5つの付設物のそれぞれの間隔(距離)を予め取得し記録する。
付設物検出部102は、車両の走行中、No.1、No.2、No.3、No.5の付設物の順に検出する。
曲線開始位置特定部103は、車両が走行中に付設物検出部102が付設物を検出する度に、前回検出した付設物と今回検出した付設物との間隔を取得する。
例えば、曲線開始位置特定部103は、車両の走行距離に基づいて前回検出した付設物と今回検出した付設物との間隔を算出する。また、例えば、曲線開始位置特定部103は、道路上の付設物、または、道路上の付設物の近辺に設けられた装置から放送、ビーコンなどの通信を用いて本来存在するNo.4が存在する場合の間隔を取得してもよい。
曲線開始位置特定部103は、車両の走行距離に基づいて前回検出した付設物と今回検出した付設物との間隔を算出した場合、本来間隔J14を取得するはずが間隔J15を取得することになる。曲線開始位置特定部103は、同様に、間隔J24の代わりに間隔J25、間隔J34の代わりに間隔J35、間隔J41の代わりに間隔J51、間隔J42の代わりに間隔J52、間隔J43の代わりに間隔J53、間隔J54の代わりにゼロ、間隔J45の代わりにゼロを取得することになる。しかしながら、曲線開始位置特定部103は、予め第4データテーブルTBL4の間隔の情報を取得していれば、車両の走行中に取得した間隔が、第4データテーブルTBL4に存在する。また、曲線開始位置特定部103は、車両の走行中に取得した間隔が、第4データテーブルTBL4以外のデータテーブルでは出現する可能性が低いことが想定できる。そのため、曲線開始位置特定部103は、付設物検出部102が4番目に検出した付設物は、No.4の付設物ではなくNo.5の付設物であると推定することができる。
また、道路上の付設物の近辺に設けられた装置から放送、ビーコンなどの通信を用いて本来存在するNo.4が存在する場合の間隔を取得した場合にも、曲線開始位置特定部103は、第4データテーブルTBL4に存在する間隔を取得する。そのため、曲線開始位置特定部103は、付設物検出部102が4番目に検出した付設物は、No.4の付設物ではなくNo.5の付設物であると推定することができる。
以上のように、曲線開始位置特定部103は、いくつかの付設物が存在しない場合であっても、第4データテーブルTBL4のように、付設物どうしの間隔の情報を用いることで、付設物検出部102が検出した付設物を推定することができる。
なお、本発明の各実施形態において、曲線開始位置特定部103は、付設物から緩和曲線の開始位置までの距離の情報を、道路上の付設物、または、道路上の付設物の近辺に設けられた装置から放送、ビーコンなどの通信を用いて取得してもよい。
また、10キロポストと11キロポストの間が3車線であり、車線数を記憶部104に記憶する場合、“10 11 3”と記憶部104に記録することによりメモリ容量を低減してもよい。
なお、本発明の実施形態における処理フローは、適切な処理が行われる範囲において、処理の順番が入れ替わってもよい。
本発明の実施形態における記憶部104、その他の記憶部のそれぞれは、適切な情報の送受信が行われる範囲においてどこに備えられていてもよい。また、記憶部104、その他の記憶部のそれぞれは、適切な情報の送受信が行われる範囲において複数存在しデータを分散して記憶していてもよい。
本発明の実施形態について説明したが、上述の道路情報検出装置10、運転支援装置20のそれぞれは内部に、コンピュータシステムを有していてもよい。そして、上述した処理の過程は、プログラムの形式でコンピュータ読み取り可能な記録媒体に記憶されており、このプログラムをコンピュータが読み出して実行することによって、上記処理が行われる。ここでコンピュータ読み取り可能な記録媒体とは、磁気ディスク、光磁気ディスク、CD−ROM、DVD−ROM、半導体メモリ等をいう。また、このコンピュータプログラムを通信回線によってコンピュータに配信し、この配信を受けたコンピュータがそのプログラムを実行するようにしてもよい。
また、上記プログラムは、前述した機能の一部を実現してもよい。さらに、上記プログラムは、前述した機能をコンピュータシステムにすでに記録されているプログラムとの組み合わせで実現できるファイル、いわゆる差分ファイル(差分プログラム)であってもよい。
本発明のいくつかの実施形態を説明したが、これらの実施形態は、例であり、発明の範囲を限定しない。これらの実施形態は、発明の要旨を逸脱しない範囲で、追加、種々の省略、置き換え、変更を行ってよい。
10・・・道路情報検出装置
20・・・運転支援装置
101・・・画像情報取得部
102・・・付設物検出部
103・・・曲線開始位置特定部
104・・・記憶部
105・・・報知部
106・・・出力部
201・・・開始位置取得部
202・・・運転制御部

Claims (15)

  1. 道路上の付設物の検出に基づいて前記道路の構造における緩和曲線の開始位置を特定する曲線開始位置特定部、
    を備える道路情報検出装置。
  2. 画像を取得する画像情報取得部と、
    前記画像に映る前記付設物の識別情報を検出する付設物検出部と、
    を備え、
    前記曲線開始位置特定部は、
    前記画像に映る前記付設物の識別情報と、記憶部に記録されている付設物の位置と、当該付設物から前記緩和曲線の開始位置までの距離とに基づいて、前記開始位置を特定する、
    請求項1に記載の道路情報検出装置。
  3. 前記曲線開始位置特定部は、
    前記付設物検出部が前記付設物の出現した順序に当該付設物を検出し、最後に検出した付設物の識別情報と、記憶部に記録されている付設物の位置と、当該付設物から前記緩和曲線の開始位置までの距離とに基づいて、前記開始位置を特定する、
    請求項2に記載の道路情報検出装置。
  4. 前記曲線開始位置特定部は、付設物の識別情報を検出した画像に基づいて、車両から検出した付設物までの距離を算出する、
    請求項1から請求項3の何れか一項に記載の道路情報検出装置。
  5. 前記曲線開始位置特定部は、予め取得した付設物の位置情報と、GPS(Global Positioning System)により特定した車両の位置とに基づいて、前記車両から前記付設物までの距離を算出する、
    請求項1から請求項3の何れか一項に記載の道路情報検出装置。
  6. 前記曲線開始位置特定部は、付設物から発信されるビーコンに基づいて、車両から前記付設物までの距離を算出する、
    請求項1から請求項3の何れか一項に記載の道路情報検出装置。
  7. 前記曲線開始位置特定部は、予め取得した付設物の位置情報と、車輪の回転数から算出される車両の走行距離とに基づいて、前記車両から前記付設物までの距離を算出する、
    請求項1から請求項3の何れか一項に記載の道路情報検出装置。
  8. 前記開始位置を運転支援装置に出力する出力部、
    を備える請求項1から請求項7の何れか一項に記載の道路情報検出装置。
  9. 道路上の付設物の検出に基づいて前記道路の構造における緩和曲線の開始位置を特定する曲線開始位置特定部を備える道路情報検出装置から前記開始位置を取得する開始位置取得部と、
    前記開始位置に基づいて加速制御または制動制御または進行方向変更制御を行う運転制御部と、
    を備える運転支援装置。
  10. 道路上の付設物に関する識別情報、前記付設物に関する位置情報、前記位置情報と道路の構造における緩和曲線の開始位置との関係を示す情報を少なくとも含む道路情報を配信する道路情報配信システムと、
    検出した道路上の付設物の位置情報と前記道路情報とに基づいて前記道路の構造における緩和曲線の開始位置を特定する曲線開始位置特定部を備える道路情報検出装置と、
    を備える道路情報検出システム。
  11. 道路上の付設物の検出に基づいて前記道路の構造における緩和曲線の開始位置を特定すること、
    を含む道路情報検出装置の道路情報検出方法。
  12. 道路上の付設物の検出に基づいて前記道路の構造における緩和曲線の開始位置を特定する曲線開始位置特定部を備える道路情報検出装置から前記開始位置を取得すること、
    前記開始位置に基づいて加速制御または制動制御または進行方向変更制御を行うこと、
    を含む運転支援装置の運転制御方法。
  13. 道路上の付設物に関する識別情報、前記付設物に関する位置情報、前記位置情報と道路の構造における緩和曲線の開始位置との関係を示す情報を少なくとも含む道路情報を配信すること、
    検出した道路上の付設物の位置情報と前記道路情報とに基づいて前記道路の構造における緩和曲線の開始位置を特定すること、
    を含む道路情報検出システムの道路情報検出方法。
  14. コンピュータに、
    道路上の付設物の検出に基づいて前記道路の構造における緩和曲線の開始位置を特定すること、
    を実行させるプログラム。
  15. コンピュータに、
    道路上の付設物の検出に基づいて前記道路の構造における緩和曲線の開始位置を特定する曲線開始位置特定部を備える道路情報検出装置から前記開始位置を取得すること、
    前記開始位置に基づいて加速制御または制動制御または進行方向変更制御を行うこと、
    を実行させるプログラム。
JP2015246388A 2015-12-17 2015-12-17 道路情報検出装置、道路情報検出システム、道路情報検出方法及びプログラム Active JP6638373B2 (ja)

Priority Applications (7)

Application Number Priority Date Filing Date Title
JP2015246388A JP6638373B2 (ja) 2015-12-17 2015-12-17 道路情報検出装置、道路情報検出システム、道路情報検出方法及びプログラム
MX2018007244A MX390907B (es) 2015-12-17 2016-12-12 Dispositivo de detección de informacion del camino, dispositivo de asistencia a la conducción, sistema de detección de información del camino, método de detección de información del camino, método y programa de control de la conducción.
HK18115605.5A HK1256536A1 (en) 2015-12-17 2016-12-12 Road information detection device, driving assistance device, road information detection system, road information detection method, driving control method and program
PCT/JP2016/086906 WO2017104611A1 (ja) 2015-12-17 2016-12-12 道路情報検出装置、運転支援装置、道路情報検出システム、道路情報検出方法、運転制御方法及びプログラム
CA3008416A CA3008416C (en) 2015-12-17 2016-12-12 Road information detection device, driving assistance device, road information detection system, road information detection method, driving control method and program
US16/061,726 US11260871B2 (en) 2015-12-17 2016-12-12 Road information detection device, driving assistance device, road information detection system, road information detection method, driving control method and program
EP16875588.2A EP3392857A4 (en) 2015-12-17 2016-12-12 DEVICE FOR DETECTING ROAD INFORMATION, ROAD ASSISTANCE DEVICE, SYSTEM FOR DETECTING ROAD INFORMATION, METHOD FOR DETECTING ROAD TRAFFIC INFORMATION, DRIVING CONTROL METHOD AND PROGRAM

Applications Claiming Priority (1)

Application Number Priority Date Filing Date Title
JP2015246388A JP6638373B2 (ja) 2015-12-17 2015-12-17 道路情報検出装置、道路情報検出システム、道路情報検出方法及びプログラム

Publications (3)

Publication Number Publication Date
JP2017111663A true JP2017111663A (ja) 2017-06-22
JP2017111663A5 JP2017111663A5 (ja) 2018-08-16
JP6638373B2 JP6638373B2 (ja) 2020-01-29

Family

ID=59056639

Family Applications (1)

Application Number Title Priority Date Filing Date
JP2015246388A Active JP6638373B2 (ja) 2015-12-17 2015-12-17 道路情報検出装置、道路情報検出システム、道路情報検出方法及びプログラム

Country Status (7)

Country Link
US (1) US11260871B2 (ja)
EP (1) EP3392857A4 (ja)
JP (1) JP6638373B2 (ja)
CA (1) CA3008416C (ja)
HK (1) HK1256536A1 (ja)
MX (1) MX390907B (ja)
WO (1) WO2017104611A1 (ja)

Families Citing this family (3)

* Cited by examiner, † Cited by third party
Publication number Priority date Publication date Assignee Title
JP6638373B2 (ja) * 2015-12-17 2020-01-29 日本電気株式会社 道路情報検出装置、道路情報検出システム、道路情報検出方法及びプログラム
CN114694105B (zh) * 2022-02-16 2025-10-03 阿里云计算有限公司 道路门架位置信息的处理方法、装置、存储介质及处理器
CN115393813B (zh) * 2022-08-18 2023-05-02 中国人民公安大学 基于遥感图像的道路识别方法、装置、设备及存储介质

Citations (10)

* Cited by examiner, † Cited by third party
Publication number Priority date Publication date Assignee Title
JP2005189004A (ja) * 2003-12-24 2005-07-14 Aisin Aw Co Ltd ナビゲーション装置
JP2007047129A (ja) * 2005-08-12 2007-02-22 Osaka Prefecture Univ 位置特定装置、ナビゲーション装置およびナビゲーションシステム
JP2008286566A (ja) * 2007-05-16 2008-11-27 Omron Corp 車載装置
JP2009014645A (ja) * 2007-07-09 2009-01-22 Honda Motor Co Ltd 車両用距離測定装置
JP2009040329A (ja) * 2007-08-10 2009-02-26 Aisin Aw Co Ltd 走行支援装置、走行支援方法及び走行支援プログラム
JP2010117839A (ja) * 2008-11-12 2010-05-27 Aisin Aw Co Ltd 車両運転支援装置及び車両運転支援プログラム
JP2010282278A (ja) * 2009-06-02 2010-12-16 Mitsubishi Electric Corp 標識認識装置
JP2011017989A (ja) * 2009-07-10 2011-01-27 Aisin Aw Co Ltd 信頼度評価装置、信頼度評価方法および信頼度評価プログラム
JP2012164254A (ja) * 2011-02-09 2012-08-30 Denso Corp 標識認識装置
JP2014069799A (ja) * 2012-09-28 2014-04-21 Hitachi Ltd 運転支援を行う方法および装置

Family Cites Families (24)

* Cited by examiner, † Cited by third party
Publication number Priority date Publication date Assignee Title
JPH0771973A (ja) 1993-09-06 1995-03-17 Sumitomo Electric Ind Ltd 位置検出装置
JP3578512B2 (ja) * 1995-04-21 2004-10-20 株式会社ザナヴィ・インフォマティクス 現在位置算出装置およびその距離係数補正方法
US6459891B1 (en) * 1997-06-17 2002-10-01 Motorola, Inc. Wireless device, control system and methods for protected sites with operation according to interference parameters
US6014595A (en) * 1997-12-23 2000-01-11 Honda Giken Kogyo Kabushiki Kaisha Determination of vehicle assistance from vehicle vibration that results when the vehicle contacts vibration generating structures on the road
JPH11203458A (ja) * 1998-01-13 1999-07-30 Nissan Motor Co Ltd 道路形状認識装置
JP2987436B1 (ja) 1998-07-31 1999-12-06 建設省土木研究所長 道路形状情報入力・蓄積装置
US7068844B1 (en) * 2001-11-15 2006-06-27 The University Of Connecticut Method and system for image processing for automatic road sign recognition
US20060080874A1 (en) * 2004-10-18 2006-04-20 Arnold Eberwein Dynamic message sign
JP4639997B2 (ja) * 2005-02-18 2011-02-23 トヨタ自動車株式会社 車両の減速制御装置
JP4820221B2 (ja) * 2006-06-29 2011-11-24 日立オートモティブシステムズ株式会社 車載カメラのキャリブレーション装置およびプログラム
CN102197279A (zh) * 2009-05-04 2011-09-21 电子地图北美公司 导航装置和方法
JP2011013039A (ja) * 2009-06-30 2011-01-20 Clarion Co Ltd 車線判定装置及びナビゲーションシステム
JP5073123B2 (ja) * 2010-06-07 2012-11-14 三菱電機株式会社 カメラ距離測定装置
JP5088401B2 (ja) * 2010-06-23 2012-12-05 日本電気株式会社 道路構造測定方法および道路面測定装置
US8995988B2 (en) * 2010-07-21 2015-03-31 Softbank Bb Corp. Communication characteristic analyzing system, communication characteristic analyzing method, and communication characteristic analyzing program
JP2012253498A (ja) 2011-06-01 2012-12-20 Sumitomo Electric Ind Ltd 無線送信機と、これに用いる送信制御方法及び送信制御プログラム
DE102011118161B3 (de) * 2011-11-10 2013-03-28 Audi Ag Verfahren zur Positionsbestimmung
EP3113055B1 (en) * 2012-01-25 2021-06-02 OMRON Corporation Negative obstacle avoidance system for a mobile robot
JP5836296B2 (ja) * 2013-02-27 2015-12-24 京セラドキュメントソリューションズ株式会社 画像形成装置
JP2014189214A (ja) 2013-03-28 2014-10-06 Panasonic Corp 車速制御装置
JP6278381B2 (ja) * 2013-08-26 2018-02-14 アルパイン株式会社 コーナー情報提供装置及びコーナー情報提供方法
DE112013007615T5 (de) * 2013-11-18 2016-08-11 Mitsubishi Electric Corporation Fahrunterstützungsvorrichtung und Fahrunterstützungsverfahren
JP6154839B2 (ja) * 2015-03-18 2017-06-28 本田技研工業株式会社 道路標識判断装置及び道路標識判断方法
JP6638373B2 (ja) * 2015-12-17 2020-01-29 日本電気株式会社 道路情報検出装置、道路情報検出システム、道路情報検出方法及びプログラム

Patent Citations (10)

* Cited by examiner, † Cited by third party
Publication number Priority date Publication date Assignee Title
JP2005189004A (ja) * 2003-12-24 2005-07-14 Aisin Aw Co Ltd ナビゲーション装置
JP2007047129A (ja) * 2005-08-12 2007-02-22 Osaka Prefecture Univ 位置特定装置、ナビゲーション装置およびナビゲーションシステム
JP2008286566A (ja) * 2007-05-16 2008-11-27 Omron Corp 車載装置
JP2009014645A (ja) * 2007-07-09 2009-01-22 Honda Motor Co Ltd 車両用距離測定装置
JP2009040329A (ja) * 2007-08-10 2009-02-26 Aisin Aw Co Ltd 走行支援装置、走行支援方法及び走行支援プログラム
JP2010117839A (ja) * 2008-11-12 2010-05-27 Aisin Aw Co Ltd 車両運転支援装置及び車両運転支援プログラム
JP2010282278A (ja) * 2009-06-02 2010-12-16 Mitsubishi Electric Corp 標識認識装置
JP2011017989A (ja) * 2009-07-10 2011-01-27 Aisin Aw Co Ltd 信頼度評価装置、信頼度評価方法および信頼度評価プログラム
JP2012164254A (ja) * 2011-02-09 2012-08-30 Denso Corp 標識認識装置
JP2014069799A (ja) * 2012-09-28 2014-04-21 Hitachi Ltd 運転支援を行う方法および装置

Also Published As

Publication number Publication date
EP3392857A4 (en) 2019-08-14
MX2018007244A (es) 2018-11-09
CA3008416A1 (en) 2017-06-22
WO2017104611A1 (ja) 2017-06-22
JP6638373B2 (ja) 2020-01-29
CA3008416C (en) 2021-01-26
HK1256536A1 (en) 2019-09-27
EP3392857A1 (en) 2018-10-24
US20180370536A1 (en) 2018-12-27
US11260871B2 (en) 2022-03-01
MX390907B (es) 2025-03-21

Similar Documents

Publication Publication Date Title
CN106875721B (zh) 违章信息管理系统及其引导路径生成方法
CN105393087B (zh) 用于运行导航设备的方法、导航设备和机动车
CN111380543A (zh) 地图数据生成方法及装置
JP2011197947A (ja) 車両間隔管理装置、車両間隔管理方法および車両間隔管理プログラム
CN104422462A (zh) 一种车辆导航的方法、装置
CN110853180B (zh) 一种识别交通标志牌发生变化的行车记录方法及系统
CN101681557A (zh) 驾驶支援装置
JP6759175B2 (ja) 情報処理装置および情報処理システム
WO2017104611A1 (ja) 道路情報検出装置、運転支援装置、道路情報検出システム、道路情報検出方法、運転制御方法及びプログラム
JP2002163643A (ja) 運転案内装置
JP2012155516A (ja) 車両挙動記録システム
JP2019036013A (ja) 画像収集システム、画像収集方法、画像収集装置、記録媒体、および車両用通信装置
US20210348936A1 (en) In-vehicle apparatus and processing method thereof
CN111223317A (zh) 一种基于信号灯的行驶提示方法及装置、车载终端
JP2014089557A (ja) 車載装置、危険予測方法、およびプログラム
JP6306631B2 (ja) 情報処理装置、情報処理システム、サーバ、情報処理方法、情報処理プログラム、および端末装置
JP3964230B2 (ja) 車載用ナビゲーション装置
AU2019203180B2 (en) Vehicle recognition apparatus and vehicle recognition method
CN103065489B (zh) 一种即时导航路况系统及导航方法
CN107765277B (zh) 地图轨迹的绘制方法与装置
JP2009009368A (ja) 路面標示認識システム
US20150134239A1 (en) System and method for searching vehicle
KR101205983B1 (ko) 스마트폰을 이용한 차량용 에코드라이브 인디케이터
CN109774595A (zh) 电子装置、行车安全提醒系统和行车安全提醒方法
JP2014081955A (ja) 車両間隔判定プログラム、車両間隔判定方法および車両間隔判定装置

Legal Events

Date Code Title Description
A521 Request for written amendment filed

Free format text: JAPANESE INTERMEDIATE CODE: A523

Effective date: 20180706

A621 Written request for application examination

Free format text: JAPANESE INTERMEDIATE CODE: A621

Effective date: 20181019

A871 Explanation of circumstances concerning accelerated examination

Free format text: JAPANESE INTERMEDIATE CODE: A871

Effective date: 20181019

A975 Report on accelerated examination

Free format text: JAPANESE INTERMEDIATE CODE: A971005

Effective date: 20181122

A131 Notification of reasons for refusal

Free format text: JAPANESE INTERMEDIATE CODE: A131

Effective date: 20181127

A521 Request for written amendment filed

Free format text: JAPANESE INTERMEDIATE CODE: A523

Effective date: 20190122

A131 Notification of reasons for refusal

Free format text: JAPANESE INTERMEDIATE CODE: A131

Effective date: 20190416

A521 Request for written amendment filed

Free format text: JAPANESE INTERMEDIATE CODE: A523

Effective date: 20190614

A131 Notification of reasons for refusal

Free format text: JAPANESE INTERMEDIATE CODE: A131

Effective date: 20190910

A521 Request for written amendment filed

Free format text: JAPANESE INTERMEDIATE CODE: A523

Effective date: 20191111

TRDD Decision of grant or rejection written
A01 Written decision to grant a patent or to grant a registration (utility model)

Free format text: JAPANESE INTERMEDIATE CODE: A01

Effective date: 20191126

A61 First payment of annual fees (during grant procedure)

Free format text: JAPANESE INTERMEDIATE CODE: A61

Effective date: 20191209

R150 Certificate of patent or registration of utility model

Ref document number: 6638373

Country of ref document: JP

Free format text: JAPANESE INTERMEDIATE CODE: R150