JP2016006291A - 日射遮蔽装置の操作装置 - Google Patents

日射遮蔽装置の操作装置 Download PDF

Info

Publication number
JP2016006291A
JP2016006291A JP2015159425A JP2015159425A JP2016006291A JP 2016006291 A JP2016006291 A JP 2016006291A JP 2015159425 A JP2015159425 A JP 2015159425A JP 2015159425 A JP2015159425 A JP 2015159425A JP 2016006291 A JP2016006291 A JP 2016006291A
Authority
JP
Japan
Prior art keywords
head box
cord
shaft
pulley
force
Prior art date
Legal status (The legal status is an assumption and is not a legal conclusion. Google has not performed a legal analysis and makes no representation as to the accuracy of the status listed.)
Granted
Application number
JP2015159425A
Other languages
English (en)
Other versions
JP6246162B2 (ja
Inventor
善行 裸野
Yoshiyuki Hatano
善行 裸野
岡村 正
Tadashi Okamura
正 岡村
Current Assignee (The listed assignees may be inaccurate. Google has not performed a legal analysis and makes no representation or warranty as to the accuracy of the list.)
Tachikawa Blind Manufacturing Co Ltd
Original Assignee
Tachikawa Blind Manufacturing Co Ltd
Priority date (The priority date is an assumption and is not a legal conclusion. Google has not performed a legal analysis and makes no representation as to the accuracy of the date listed.)
Filing date
Publication date
Application filed by Tachikawa Blind Manufacturing Co Ltd filed Critical Tachikawa Blind Manufacturing Co Ltd
Priority to JP2015159425A priority Critical patent/JP6246162B2/ja
Publication of JP2016006291A publication Critical patent/JP2016006291A/ja
Application granted granted Critical
Publication of JP6246162B2 publication Critical patent/JP6246162B2/ja
Expired - Fee Related legal-status Critical Current
Anticipated expiration legal-status Critical

Links

Images

Classifications

    • EFIXED CONSTRUCTIONS
    • E06DOORS, WINDOWS, SHUTTERS, OR ROLLER BLINDS IN GENERAL; LADDERS
    • E06BFIXED OR MOVABLE CLOSURES FOR OPENINGS IN BUILDINGS, VEHICLES, FENCES OR LIKE ENCLOSURES IN GENERAL, e.g. DOORS, WINDOWS, BLINDS, GATES
    • E06B9/00Screening or protective devices for wall or similar openings, with or without operating or securing mechanisms; Closures of similar construction
    • E06B9/56Operating, guiding or securing devices or arrangements for roll-type closures; Spring drums; Tape drums; Counterweighting arrangements therefor
    • EFIXED CONSTRUCTIONS
    • E06DOORS, WINDOWS, SHUTTERS, OR ROLLER BLINDS IN GENERAL; LADDERS
    • E06BFIXED OR MOVABLE CLOSURES FOR OPENINGS IN BUILDINGS, VEHICLES, FENCES OR LIKE ENCLOSURES IN GENERAL, e.g. DOORS, WINDOWS, BLINDS, GATES
    • E06B9/00Screening or protective devices for wall or similar openings, with or without operating or securing mechanisms; Closures of similar construction
    • E06B9/24Screens or other constructions affording protection against light, especially against sunshine; Similar screens for privacy or appearance; Slat blinds
    • E06B9/26Lamellar or like blinds, e.g. venetian blinds
    • E06B9/28Lamellar or like blinds, e.g. venetian blinds with horizontal lamellae, e.g. non-liftable
    • E06B9/30Lamellar or like blinds, e.g. venetian blinds with horizontal lamellae, e.g. non-liftable liftable
    • E06B9/32Operating, guiding, or securing devices therefor
    • E06B9/322Details of operating devices, e.g. pulleys, brakes, spring drums, drives
    • EFIXED CONSTRUCTIONS
    • E06DOORS, WINDOWS, SHUTTERS, OR ROLLER BLINDS IN GENERAL; LADDERS
    • E06BFIXED OR MOVABLE CLOSURES FOR OPENINGS IN BUILDINGS, VEHICLES, FENCES OR LIKE ENCLOSURES IN GENERAL, e.g. DOORS, WINDOWS, BLINDS, GATES
    • E06B9/00Screening or protective devices for wall or similar openings, with or without operating or securing mechanisms; Closures of similar construction
    • E06B9/24Screens or other constructions affording protection against light, especially against sunshine; Similar screens for privacy or appearance; Slat blinds
    • E06B9/26Lamellar or like blinds, e.g. venetian blinds
    • E06B9/262Lamellar or like blinds, e.g. venetian blinds with flexibly-interconnected horizontal or vertical strips; Concertina blinds, i.e. upwardly folding flexible screens
    • EFIXED CONSTRUCTIONS
    • E06DOORS, WINDOWS, SHUTTERS, OR ROLLER BLINDS IN GENERAL; LADDERS
    • E06BFIXED OR MOVABLE CLOSURES FOR OPENINGS IN BUILDINGS, VEHICLES, FENCES OR LIKE ENCLOSURES IN GENERAL, e.g. DOORS, WINDOWS, BLINDS, GATES
    • E06B9/00Screening or protective devices for wall or similar openings, with or without operating or securing mechanisms; Closures of similar construction
    • E06B9/24Screens or other constructions affording protection against light, especially against sunshine; Similar screens for privacy or appearance; Slat blinds
    • E06B9/26Lamellar or like blinds, e.g. venetian blinds
    • E06B9/264Combinations of lamellar blinds with roller shutters, screen windows, windows, or double panes; Lamellar blinds with special devices
    • EFIXED CONSTRUCTIONS
    • E06DOORS, WINDOWS, SHUTTERS, OR ROLLER BLINDS IN GENERAL; LADDERS
    • E06BFIXED OR MOVABLE CLOSURES FOR OPENINGS IN BUILDINGS, VEHICLES, FENCES OR LIKE ENCLOSURES IN GENERAL, e.g. DOORS, WINDOWS, BLINDS, GATES
    • E06B9/00Screening or protective devices for wall or similar openings, with or without operating or securing mechanisms; Closures of similar construction
    • E06B9/24Screens or other constructions affording protection against light, especially against sunshine; Similar screens for privacy or appearance; Slat blinds
    • E06B9/26Lamellar or like blinds, e.g. venetian blinds
    • E06B9/28Lamellar or like blinds, e.g. venetian blinds with horizontal lamellae, e.g. non-liftable
    • E06B9/30Lamellar or like blinds, e.g. venetian blinds with horizontal lamellae, e.g. non-liftable liftable
    • E06B9/303Lamellar or like blinds, e.g. venetian blinds with horizontal lamellae, e.g. non-liftable liftable with ladder-tape
    • EFIXED CONSTRUCTIONS
    • E06DOORS, WINDOWS, SHUTTERS, OR ROLLER BLINDS IN GENERAL; LADDERS
    • E06BFIXED OR MOVABLE CLOSURES FOR OPENINGS IN BUILDINGS, VEHICLES, FENCES OR LIKE ENCLOSURES IN GENERAL, e.g. DOORS, WINDOWS, BLINDS, GATES
    • E06B9/00Screening or protective devices for wall or similar openings, with or without operating or securing mechanisms; Closures of similar construction
    • E06B9/24Screens or other constructions affording protection against light, especially against sunshine; Similar screens for privacy or appearance; Slat blinds
    • E06B9/26Lamellar or like blinds, e.g. venetian blinds
    • E06B9/28Lamellar or like blinds, e.g. venetian blinds with horizontal lamellae, e.g. non-liftable
    • E06B9/30Lamellar or like blinds, e.g. venetian blinds with horizontal lamellae, e.g. non-liftable liftable
    • E06B9/303Lamellar or like blinds, e.g. venetian blinds with horizontal lamellae, e.g. non-liftable liftable with ladder-tape
    • E06B9/304Lamellar or like blinds, e.g. venetian blinds with horizontal lamellae, e.g. non-liftable liftable with ladder-tape with tilting bar and separate raising shaft
    • EFIXED CONSTRUCTIONS
    • E06DOORS, WINDOWS, SHUTTERS, OR ROLLER BLINDS IN GENERAL; LADDERS
    • E06BFIXED OR MOVABLE CLOSURES FOR OPENINGS IN BUILDINGS, VEHICLES, FENCES OR LIKE ENCLOSURES IN GENERAL, e.g. DOORS, WINDOWS, BLINDS, GATES
    • E06B9/00Screening or protective devices for wall or similar openings, with or without operating or securing mechanisms; Closures of similar construction
    • E06B9/24Screens or other constructions affording protection against light, especially against sunshine; Similar screens for privacy or appearance; Slat blinds
    • E06B9/26Lamellar or like blinds, e.g. venetian blinds
    • E06B9/28Lamellar or like blinds, e.g. venetian blinds with horizontal lamellae, e.g. non-liftable
    • E06B9/30Lamellar or like blinds, e.g. venetian blinds with horizontal lamellae, e.g. non-liftable liftable
    • E06B9/32Operating, guiding, or securing devices therefor
    • E06B9/326Details of cords, e.g. buckles, drawing knobs
    • EFIXED CONSTRUCTIONS
    • E06DOORS, WINDOWS, SHUTTERS, OR ROLLER BLINDS IN GENERAL; LADDERS
    • E06BFIXED OR MOVABLE CLOSURES FOR OPENINGS IN BUILDINGS, VEHICLES, FENCES OR LIKE ENCLOSURES IN GENERAL, e.g. DOORS, WINDOWS, BLINDS, GATES
    • E06B9/00Screening or protective devices for wall or similar openings, with or without operating or securing mechanisms; Closures of similar construction
    • E06B9/24Screens or other constructions affording protection against light, especially against sunshine; Similar screens for privacy or appearance; Slat blinds
    • E06B9/40Roller blinds
    • E06B9/42Parts or details of roller blinds, e.g. suspension devices, blind boxes
    • EFIXED CONSTRUCTIONS
    • E06DOORS, WINDOWS, SHUTTERS, OR ROLLER BLINDS IN GENERAL; LADDERS
    • E06BFIXED OR MOVABLE CLOSURES FOR OPENINGS IN BUILDINGS, VEHICLES, FENCES OR LIKE ENCLOSURES IN GENERAL, e.g. DOORS, WINDOWS, BLINDS, GATES
    • E06B9/00Screening or protective devices for wall or similar openings, with or without operating or securing mechanisms; Closures of similar construction
    • E06B9/56Operating, guiding or securing devices or arrangements for roll-type closures; Spring drums; Tape drums; Counterweighting arrangements therefor
    • E06B9/58Guiding devices
    • EFIXED CONSTRUCTIONS
    • E06DOORS, WINDOWS, SHUTTERS, OR ROLLER BLINDS IN GENERAL; LADDERS
    • E06BFIXED OR MOVABLE CLOSURES FOR OPENINGS IN BUILDINGS, VEHICLES, FENCES OR LIKE ENCLOSURES IN GENERAL, e.g. DOORS, WINDOWS, BLINDS, GATES
    • E06B9/00Screening or protective devices for wall or similar openings, with or without operating or securing mechanisms; Closures of similar construction
    • E06B9/56Operating, guiding or securing devices or arrangements for roll-type closures; Spring drums; Tape drums; Counterweighting arrangements therefor
    • E06B9/64Operating, guiding or securing devices or arrangements for roll-type closures; Spring drums; Tape drums; Counterweighting arrangements therefor with lowerable roller
    • EFIXED CONSTRUCTIONS
    • E06DOORS, WINDOWS, SHUTTERS, OR ROLLER BLINDS IN GENERAL; LADDERS
    • E06BFIXED OR MOVABLE CLOSURES FOR OPENINGS IN BUILDINGS, VEHICLES, FENCES OR LIKE ENCLOSURES IN GENERAL, e.g. DOORS, WINDOWS, BLINDS, GATES
    • E06B9/00Screening or protective devices for wall or similar openings, with or without operating or securing mechanisms; Closures of similar construction
    • E06B9/56Operating, guiding or securing devices or arrangements for roll-type closures; Spring drums; Tape drums; Counterweighting arrangements therefor
    • E06B9/66Operating, guiding or securing devices or arrangements for roll-type closures; Spring drums; Tape drums; Counterweighting arrangements therefor with a roller situated at the bottom
    • EFIXED CONSTRUCTIONS
    • E06DOORS, WINDOWS, SHUTTERS, OR ROLLER BLINDS IN GENERAL; LADDERS
    • E06BFIXED OR MOVABLE CLOSURES FOR OPENINGS IN BUILDINGS, VEHICLES, FENCES OR LIKE ENCLOSURES IN GENERAL, e.g. DOORS, WINDOWS, BLINDS, GATES
    • E06B9/00Screening or protective devices for wall or similar openings, with or without operating or securing mechanisms; Closures of similar construction
    • E06B9/24Screens or other constructions affording protection against light, especially against sunshine; Similar screens for privacy or appearance; Slat blinds
    • E06B2009/2423Combinations of at least two screens
    • E06B2009/2441Screens joined one below the other
    • EFIXED CONSTRUCTIONS
    • E06DOORS, WINDOWS, SHUTTERS, OR ROLLER BLINDS IN GENERAL; LADDERS
    • E06BFIXED OR MOVABLE CLOSURES FOR OPENINGS IN BUILDINGS, VEHICLES, FENCES OR LIKE ENCLOSURES IN GENERAL, e.g. DOORS, WINDOWS, BLINDS, GATES
    • E06B9/00Screening or protective devices for wall or similar openings, with or without operating or securing mechanisms; Closures of similar construction
    • E06B9/24Screens or other constructions affording protection against light, especially against sunshine; Similar screens for privacy or appearance; Slat blinds
    • E06B2009/2423Combinations of at least two screens
    • E06B2009/2447Parallel screens
    • EFIXED CONSTRUCTIONS
    • E06DOORS, WINDOWS, SHUTTERS, OR ROLLER BLINDS IN GENERAL; LADDERS
    • E06BFIXED OR MOVABLE CLOSURES FOR OPENINGS IN BUILDINGS, VEHICLES, FENCES OR LIKE ENCLOSURES IN GENERAL, e.g. DOORS, WINDOWS, BLINDS, GATES
    • E06B9/00Screening or protective devices for wall or similar openings, with or without operating or securing mechanisms; Closures of similar construction
    • E06B9/24Screens or other constructions affording protection against light, especially against sunshine; Similar screens for privacy or appearance; Slat blinds
    • E06B9/26Lamellar or like blinds, e.g. venetian blinds
    • E06B9/262Lamellar or like blinds, e.g. venetian blinds with flexibly-interconnected horizontal or vertical strips; Concertina blinds, i.e. upwardly folding flexible screens
    • E06B2009/2625Pleated screens, e.g. concertina- or accordion-like
    • EFIXED CONSTRUCTIONS
    • E06DOORS, WINDOWS, SHUTTERS, OR ROLLER BLINDS IN GENERAL; LADDERS
    • E06BFIXED OR MOVABLE CLOSURES FOR OPENINGS IN BUILDINGS, VEHICLES, FENCES OR LIKE ENCLOSURES IN GENERAL, e.g. DOORS, WINDOWS, BLINDS, GATES
    • E06B9/00Screening or protective devices for wall or similar openings, with or without operating or securing mechanisms; Closures of similar construction
    • E06B9/24Screens or other constructions affording protection against light, especially against sunshine; Similar screens for privacy or appearance; Slat blinds
    • E06B9/26Lamellar or like blinds, e.g. venetian blinds
    • E06B9/28Lamellar or like blinds, e.g. venetian blinds with horizontal lamellae, e.g. non-liftable
    • E06B9/30Lamellar or like blinds, e.g. venetian blinds with horizontal lamellae, e.g. non-liftable liftable
    • E06B9/32Operating, guiding, or securing devices therefor
    • E06B9/326Details of cords, e.g. buckles, drawing knobs
    • E06B2009/3265Emergency release to prevent strangulation or excessive load

Landscapes

  • Engineering & Computer Science (AREA)
  • Structural Engineering (AREA)
  • Architecture (AREA)
  • Civil Engineering (AREA)
  • Blinds (AREA)
  • Operating, Guiding And Securing Of Roll- Type Closing Members (AREA)
  • Curtains And Furnishings For Windows Or Doors (AREA)

Abstract

【課題】操作コードの操作によるヘッドボックスの落下若しくは操作装置の破損を未然に防止し得る日射遮蔽装置の操作装置を提供する。
【解決手段】ヘッドボックスの両端部に固定装置を設け、固定装置から対向する壁面に向かって突出するシャフトの突っ張り力でヘッドボックスを壁面間に固定し、ヘッドボックスに設けた操作ユニットから無端状の操作コードを垂下し、操作コードの操作によりヘッドボックスに支持される日射遮蔽材を駆動する日射遮蔽装置において、操作ユニットには、操作コードの操作に基づいてヘッドボックスに作用する引っ張り力と前記ヘッドボックスに作用する日射遮蔽装置の重量との総和を、固定装置の突っ張り力による保持力を越えない範囲に制限するトルクリミッターを備えた。
【選択図】図10

Description

この発明は、フェールセーフ機能を有する操作装置及び昇降装置に関し、より詳しくは、(1)プーリーに掛装された無端状の操作コードを操作して日射遮蔽材の昇降操作あるいは移送操作を行う日射遮蔽装置の操作装置、(2)対向する壁面間にヘッドボックスを支持する日射遮蔽装置の操作装置、(3)昇降コードでスクリーンの下縁をウェイトバーに巻き取り、あるいは巻き戻すことによりスクリーンを昇降可能としたロールアップブラインドの昇降装置に関するものである。
(1)フェイルセーフ機能を備えた操作装置について
横型ブラインドの操作裝置の一種類として、ヘッドボックスに回転可能に支持されたプーリーに無端状の操作コードが掛装され、その操作コードの操作によりスラットの昇降操作及び角度調節操作を行うようにしたものがある。
このような横型ブラインドでは、ヘッドボックスの一側前面にプーリーが回転可能に支持され、そのプーリーがプーリーケースに覆われている。プーリーから吊下支持された操作コードを操作するとプーリーが回転され、そのプーリーの回転に基づいてヘッドボックス内のギヤボックスを介して駆動軸が回転される。
そして、駆動軸が回転されると、昇降コードを介してボトムレールが引き上げられ、あるいは下降してスラットが昇降される。また、ラダーコードを介してスラットが回動される。
上記のような横型ブラインドでは、操作コードの無端縁が室内を移動する居住者やその他の家財道具に引っ掛かり、それらの挙動を無用に制限してしまうことがある。そこで、操作コードが通常の操作時に作用する操作力を超える力で引っ張られたときには、ヘッドボックスからプーリーを脱落させて、居住者等の移動を妨げないようにした操作装置が提案されている。
特許文献1には、操作コードに下方への過大な引張り力が作用すると、プーリー及びプーリーケースを落下させて、操作コードの引っ掛かりによる居住者等の挙動を妨げないようにしたフェイルセーフ機能を備えた操作装置が開示されている。
(2)浴室に横型ブラインドを設置する場合について
ところで、従来、浴室に横型ブラインドを設置する場合には、ヘッドボックスを支持する取付ブラケットを壁面にネジで固定することはできないため、ヘッドボックスを対向する壁面間に固定する固定装置が実用化されている。
特許文献2には、ヘッドボックスの端部に移動軸を出没可能に設け、ダイヤルの回動操作によりヘッドボックス端部からの移動軸の突出長さを調整してヘッドボックスを壁面間に仮保持し、さらに操作レバーの回動操作により移動軸を壁面に圧接して、ヘッドボックスを壁面間に固定する固定装置が開示されている。
このような横型ブラインドでは、対向する壁面間に支持されるヘッドボックスの一端から垂下されるボールチェーン(操作コード)を操作することにより、スラットの昇降操作及び角度調節操作が可能となっている。
(3)ロールアップブラインドについて
ロールアップブラインドは、ヘッドボックスにスクリーンの上端が取着され、スクリーンの下端は丸棒状のウェイトバーに取着されている。スクリーンを昇降するための昇降コードは、その一端がヘッドボックスの背面に取着され、他端部はウェイトバーの下方を経てヘッドボックス内の巻取軸に巻き取り可能に取着されている。ウェイトバーはその下方に巻回される昇降コードに支持されている。
そして、操作装置により巻取軸を回転させて、昇降コードを巻取軸に巻き取ると、ウェイトバーはスクリーンを巻き取りながら上昇する。また、巻取軸を回転させて昇降コードを巻取軸から巻き戻すと、ウェイトバーはスクリーンを巻き戻しながら下降する。
特許文献3には、経木すだれをスクリーンとして使用したロールアップブラインドが開示されている。
米国特許第6116325号 特開2001−207754 特開2006−283320号公報 米国特許第6845803号
(1)フェイルセーフ機能を備えた操作装置について
特許文献1に開示された操作装置では、通常の操作時でも駆動軸の負荷が増大して操作コードに作用する引張り力が増大すると、プーリー及びプーリーケースが脱落するおそれがある。
そして、プーリー及びプーリーケースが脱落すると、プーリーに操作コードを掛けなおし、そのプーリー及びプーリーケースをヘッドボックスに取着する必要があるため、その作業が煩雑である。
この発明の第1の観点での目的は、フェイルセーフ機能を備えて居住者等の挙動を妨げず、かつ通常の操作時には、フェイルセーフ機能の無用な作動を防止して操作性を向上させ得る日射遮蔽装置の操作装置を提供することにある。
(2)浴室に横型ブラインドを設置する場合について
また、上記のような横型ブラインドでは、例えばスラットが上限まで引き上げられた状態からさらにボールチェーンをスラット引き上げ方向に操作すると、ボールチェーンに下方への過大な引張り力が作用する。この結果、ヘッドボックスが落下し、あるいはヘッドボックス内のスラット操作装置が破損するという問題点がある。
この発明の第2の観点での目的は、操作コードの操作によるヘッドボックスの落下若しくは操作装置の破損を未然に防止し得る日射遮蔽装置の操作装置を提供することにある。
(3)ロールアップブラインドについて
また、上記のようなロールアップブラインドでは、ヘッドボックスからウェイトバーに巻回されている昇降コードが室内を移動する居住者やその他の移動物体に引っ掛かって、その移動に支障を来たすことがある。
特許文献4には、ヘッドボックスに対しジョイント装置を介して昇降コードを取着したブラインドが開示されている。このジョイント装置は、昇降コードに過大な引張り力が作用すると、昇降コードとヘッドボックスとの結合状態が解除されるように構成されている。
しかし、ブラインドの引き上げ操作時に昇降コードに過大な引張り力が作用すると、ジョイント装置が分断されて、ボトムレールが落下することがあるという問題点がある。
この発明の第3の観点での目的は、昇降コードとの引っ掛かりによる居住者等の移動を妨げず、かつスクリーンの昇降操作時には昇降コードの分断を防止し得るロールアップブラインドの昇降装置を提供することにある。
つまり、本発明は、操作コード又は昇降コードに過度な引張り力が加わった場合にも、居住者等の移動が妨げられたり、操作裝置又は昇降裝置が破損したりすることが防止される操作裝置又は昇降裝置を提供するものである。
上記課題は、以下に示す本発明の第1〜第4の観点の少なくとも1つによって解決可能である。以下の第1〜第4の観点について述べた内容は、互いに組み合わせ可能であり、組み合わせることによってより優れた効果が得られる。本発明の第1の観点の内容によって第1の観点の目的及び効果が達成され、本発明の第2の観点の内容によって第2の観点の目的及び効果が達成され、本発明の第3の観点の内容によって第3の観点の目的及び効果が達成される。第4の観点は、本発明の第1〜第3の観点において使用可能な操作プーリーに関するものである。
本発明の第1の観点によれば、ヘッドボックスに回転可能に支持されるプーリーから無端状の操作コードを垂下し、前記操作コードの操作に基づいてプーリーを介して駆動軸を回転駆動して、遮蔽材を駆動する日射遮蔽装置の操作装置において、前記操作コードは、あらかじめ設定された第一の引張り力で外れる連結部で連結して無端状とし、前記プーリーと前記駆動軸との間に、前記第一の引張り力が前記プーリーに与える第一の回転トルクより小さい第二の回転トルクで空回りするトルクリミッターを介在させたことを特徴とする日射遮蔽装置の操作装置が提供される。
好ましくは、前記トルクリミッターは、前記駆動軸に前記プーリーの回転トルクを伝達する伝達軸と、前記プーリーと前記伝達軸との間に介在され、前記プーリーの回転トルクを摩擦力に基づいて前記伝達軸に伝達する付勢手段と、前記付勢手段は、前記第二の回転トルクで前記伝達軸に対し空回りすることとを備える。
好ましくは、前記付勢手段と前記伝達軸との間に、前記伝達軸に対する空回り時にトルクリップルを発生させるトルクリップル発生手段を設ける。
好ましくは、前記伝達軸と、前記駆動軸との間に、該駆動軸の回転方向を選択するクラッチ装置を設ける。
好ましくは、前記付勢手段を捩じりコイルスプリングで形成する。
本発明の第2の観点によれば、ヘッドボックスの両端部に固定装置を設け、前記固定装置から対向する壁面に向かって突出するシャフトの突っ張り力で前記ヘッドボックスを前記壁面間に固定し、前記ヘッドボックスに設けた操作ユニット(操作裝置)から無端状の操作コードを垂下し、該操作コードの操作により前記ヘッドボックスに支持される日射遮蔽材を駆動する日射遮蔽装置において、前記操作ユニットには、前記操作ユニットには、前記操作コードの操作に基づいて前記ヘッドボックスに作用する引張り力と前記ヘッドボックスに作用する前記日射遮蔽装置の重量との総和を、前記固定装置の突っ張り力による保持力を越えない範囲に制限するトルクリミッターを備えたことを特徴とする日射遮蔽装置の操作装置が提供される。
好ましくは、前記操作コードは、連結部を介して無端状に形成し、前記連結部には前記ヘッドボックスを落下させる引張り力より小さい引張り力で連結を解除する連結解除手段を備える。
好ましくは、前記トルクリミッターは、前記操作コードの操作に基づいて回転されるプーリーと、前記プーリーの回転に基づいて回転される駆動ギヤと、前記プーリーと駆動ギヤとの間に介在されて、前記プーリーに作用する回転トルクを制限するトルク吸収手段とを備える。
好ましくは、前記トルク吸収手段は、前記プーリーと一体に回転するカム部材と、前記カム部材と前記駆動ギヤとにそれぞれ設けられて、互いに係合する凹凸部と、前記凹凸部の係合を弾性的に保持する付勢手段とを備える。
好ましくは、ヘッドボックスの両端部に固定装置を設け、前記固定装置から対向する壁面に向かって突出するシャフトの突っ張り力で前記ヘッドボックスを前記壁面間に固定し、前記ヘッドボックスに設けた操作ユニットから連結部で無端状に形成された操作コードを垂下し、該操作コードの操作により前記ヘッドボックスに支持される日射遮蔽材を駆動する日射遮蔽装置において、前記連結部には、前記操作コードの操作に基づいて前記ヘッドボックスに作用する引張り力と前記ヘッドボックスに作用する前記日射遮蔽装置の重量との総和を、前記固定装置の突っ張り力を越えない範囲に制限する連結解除手段を備える。
好ましくは、前記固定装置には、前記シャフトに前記突っ張り力として一定の付勢力を付与する付勢手段と、前記付勢力を前記シャフトに付与する状態と、付与しない状態とを選択可能としたカム機構とを備える。
好ましくは、前記操作コードの操作に基づいて前記ヘッドボックスに作用する引張り力と、前記ヘッドボックスに作用する前記日射遮蔽装置の重量と、前記操作コードの連結部の連結が解除される引張り力の少なくともいずれかを、安全率を見込んで設定する。
本発明の第3の観点によれば、ヘッドボックスからスクリーンを吊下支持し、前記スクリーンの下端にウェイトバーを吊下支持し、前記ウェイトバーの下方を巻回した昇降コードの一端を前記ヘッドボックスに固定し、前記昇降コードの他端部を前記ヘッドボックス内の巻取り装置で昇降することにより、前記スクリーンをウェイトバーに巻取りあるいは巻戻して昇降可能とし、前記ヘッドボックスには操作コードの操作により前記巻取り装置の駆動軸を回転駆動する操作装置を設けたロールアップブラインドにおいて、前記昇降コードには、通常操作時に作用する引張り力を超える引張り力で該昇降コードを分断可能としたコードジョイントを接続し、前記操作装置には前記操作コードの操作時に前記コードジョイントの分断に先立って前記駆動軸への操作力の伝達を遮断する伝達トルク制限装置を設けたことを特徴とするロールアップブラインドの昇降装置が提供される。
好ましくは、前記操作装置には前記操作コードを掛装したプーリーを設け、前記プーリーと前記駆動軸との間には、前記操作コードの操作による前記コードジョイントの分断を阻止するトルクリミッターを前記伝達トルク制限装置として介在させる。
好ましくは、前記操作装置には操作コードを掛装したプーリーを設け、前記操作コードには該操作コードを無端状に連結する連結部を設け、前記連結部には前記操作コードの操作時に前記コードジョイントの分断に先立って分断する保持力を備えて前記伝達トルク制限装置とする。
好ましくは、前記連結部の保持力を、前記トルクリミッターの保持力より高い値に設定する。
好ましくは、前記コードジョイントは、前記昇降コードの端部を取着する一対のジョイント本体と、前記ジョイント本体に設けた嵌合突部と、前記ジョイント本体の嵌合突部を弾性的に嵌合して、該ジョイント本体を連結する連結部材とを備える。
本発明の第4の観点によれば、日射遮蔽装置の操作装置に組み込み可能な操作プーリーであって、円筒状のプーリーと、前記プーリーに掛装されるボールチェーンと、前記プーリーに係合するギヤ軸または伝達軸とを備え、前記ボールチェーンは、あらかじめ設定された第一の引張り力で外れる連結部で連結して無端状とされ、前記プーリーは、前記ボールチェーンのボールを係合する凹部を外周面に多数備え、入力側の端面内径方向にフランジを外周面と一体に設けると共に出力側に向かって筒状に形成し、出力側開口に前記ギヤ軸または前記伝達軸と摩擦を有して相対回転可能に係合し、前記プーリーと前記ギヤ軸または前記伝達軸との滑りトルクが、第一の引張り力が前記プーリーに与える第一の回転トルクより小さいことを特徴とする操作プーリーが提供される。
好ましくは、前記ギヤ軸または前記伝達軸は、プーリー側を筒状に形成するとともに周面の先端に凹溝又はスナップ部を備えることによって、前記フランジに係合して、回転可能に支持される。
好ましくは、プーリー側の筒状部に捻りコイルスプリングを設けることにより摩擦力を得て、捻りコイルスプリングの端部を外径方向に突出させてプーリー内径に係合させる。
好ましくは、円筒状のカム部材を回転可能に且つ軸方向に移動可能に設け、前記カム部材と前記プーリーとの間に皿バネ又はコイルスプリングを設けて付勢して摩擦力を得る。
本発明によれば、操作コード又は昇降コードに過度な引張り力が加わった場合にも、居住者等の移動が妨げられたり、操作裝置又は昇降裝置が破損したりすることが防止される操作裝置又は昇降裝置が提供される。また、より具体的には、本発明の第1〜第3の観点によれば、以下に効果が得られる。
本発明の第1の観点によれば、フェイルセーフ機能を備えて居住者等の挙動を妨げず、かつ通常の操作時には、フェイルセーフ機能の無用な作動を防止して操作性を向上させ得る日射遮蔽装置の操作装置を提供することができる。
本発明の第2の観点によれば、操作コードの操作によるヘッドボックスの落下若しくは操作装置の破損を未然に防止し得る日射遮蔽装置の操作装置を提供することができる。
本発明の第3の観点によれば、昇降コードとの引っ掛かりによる居住者等の移動を妨げず、かつスクリーンの昇降操作時には昇降コードの分断を防止し得るロールアップブラインドの昇降装置を提供することができる。
本発明の第1の観点の第一の実施形態に係るプリーツスクリーンを示す正面図である。 本発明の第1の観点の第一の実施形態に係るプリーツスクリーンを示す平面図である。 本発明の第1の観点の第一の実施形態に係る操作装置を示す断面図である。 本発明の第1の観点の第一の実施形態に係るトルクリミッターを示す分解斜視図である。 本発明の第1の観点の第一の実施形態に係るトルクリミッターを示す正面図である。 本発明の第1の観点の第一の実施形態に係るボールチェーンを示す正面図である。 本発明の第1の観点の第一の実施形態に係るボールチェーンの連結部を示す分解斜視図である。 本発明の第1の観点の第二の実施形態のトルクリミッターを示す断面図である。 本発明の第1の観点の第二の実施形態のトルクリミッターを示す分解斜視図である。
本発明の第2の観点に係る第一の実施形態の横型ブラインドを示す正面図である。 本発明の第2の観点に係る第一の実施形態の横型ブラインドを示す側面図である。 本発明の第2の観点に係る第一の実施形態の横型ブラインドを示す平面図である。 本発明の第2の観点に係る第一の実施形態の操作ユニットを示す正面図である。 本発明の第2の観点に係る第一の実施形態のトルクリミッターを示す分解斜視図である。 本発明の第2の観点に係る第一の実施形態のトルクリミッターを示す断面図である。 本発明の第2の観点に係る第一の実施形態のトルクリミッターの動作を示す断面図である。 本発明の第2の観点に係る第一の実施形態のボールチェーンを示す正面図である。 本発明の第2の観点に係る第一の実施形態のボールチェーンの連結部を示す分解斜視図である。 本発明の第2の観点に係る第二の実施形態のボールチェーンの連結部の別例を示す分解斜視図である。
本発明の第3の観点に係る一実施形態のロールアップブラインドを示す正面図である。 本発明の第3の観点に係る一実施形態のロールアップブラインドを示す側面図である。 本発明の第3の観点に係る一実施形態のスクリーンを引き上げた状態を示す側面図である。 本発明の第3の観点に係る一実施形態のコードジョイントを示す正面図である。 本発明の第3の観点に係る一実施形態のコードジョイントを示す分解斜視図である。 本発明の第3の観点に係る一実施形態のジョイント本体を示す側面図である。 本発明の第3の観点に係る一実施形態の嵌合突部の基端部を示す断面図である。 本発明の第3の観点に係る一実施形態の連結部材の正面図である。 本発明の第3の観点に係る一実施形態の連結部材の背面図である。 本発明の第3の観点に係る一実施形態の図27におけるD−D線断面図である。 本発明の第3の観点に係る一実施形態の図27におけるE−E線断面図である。 本発明の第3の観点に係る一実施形態の図29におけるF−F線断面図である。 本発明の第3の観点に係る一実施形態の連結部材と嵌合凸部の嵌合状態を示す断面図である。 本発明の第3の観点に係る一実施形態の操作装置を示す断面図である。 本発明の第3の観点に係る一実施形態のトルクリミッターを示す分解斜視図である。 本発明の第3の観点に係る一実施形態のボールチェーンの連結部を示す分解斜視図である。
以下の本発明の種々の実施形態について説明する。説明の便宜上、本発明の第1〜第3の観点に基づく実施形態について説明するが、第1〜第3の観点の特徴の2つ以上を含む実施形態も可能である。従って、以下に示す本発明の第1〜第3の観点に基づく実施形態は、互いに組み合わせ可能である。また、各要素に付される符号については、異なる実施形態では、異なる要素に同じ番号の符号を付している場合がある。
(本発明の第1の観点の第一の実施形態)
以下、本発明の第1の観点の第一の実施形態を図面に従って説明する。図1及び図2に示すプリーツスクリーンは、ヘッドボックス1から上部スクリーン2が吊下支持され、上部スクリーン2の下端に中間レール3が取着されている。前記中間レール3から下部スクリーン4が吊下支持され、下部スクリーン4の下端にボトムレール5が取着されている。
前記上部スクリーン2はレース生地等の半透過性の生地をジグザグ状に折り畳み可能としたものであり、下部スクリーン4は遮光性を備えた生地をジグザグ状に折り畳み可能としたものである。
前記上部スクリーン2の幅方向両側には第一及び第二の昇降コード6,7が挿通され、第一の昇降コード6の下端は前記中間レール3に取着されている。第二の昇降コード7は、中間レール3を貫通し、さらに下部スクリーン4に挿通され、下端が前記ボトムレール5に取着されている。
前記第一及び第二の昇降コード6,7の上端部は、前記ヘッドボックス1内で支持部材8に回転可能に支持される第一及び第二の巻取軸9,10にそれぞれ巻着されている。すなわち、図2に示すように、第一及び第二の巻取軸9,10はヘッドボックス1内において前記第一及び第二の昇降コード6,7の上方位置で水平方向に並列する状態で支持部材8に回転可能に支持されている。
そして、第一の昇降コード6の上端部が第一の巻取軸9に巻着され、第二の昇降コード7の上端部が第二の巻取軸10に巻着され、第一及び第二の昇降コード6,7は、第一及び第二の巻取軸9,10に対し互いに逆方向に巻着されている。また、第一及び第二の昇降コード6,7は、第一及び第二の巻取軸9,10の回転に基づいて、螺旋状に巻き取られ、あるいは巻戻されるようになっている。
前記第一の巻取軸9には六角棒状の第一の駆動軸11が相対回転不能に挿通され、第二の巻取軸10には同じく六角棒状の第二の駆動軸12が相対回転不能に挿通されている。そして、第一の駆動軸11が前記第一の昇降コード6の巻取り方向に回転されると、第一の巻取軸9に第一の昇降コード6が巻き取られ、第二の駆動軸12が前記第二の昇降コード7の巻取り方向に回転されると、第二の巻取軸10に第二の昇降コード7が巻き取られるようになっている。
前記ヘッドボックス1の一方の端部には、前記第一及び第二の駆動軸11,12を回転駆動するための操作装置13が取着されている。図3に示すように、前記操作装置13のケース14内の基端側にはプーリー15が回転可能に支持され、そのプーリー15には無端状のボールチェーン16が掛装されて下方へ垂下されている。そして、ボールチェーン16の操作によりプーリー15を回転駆動可能となっている。
前記プーリー15には、図4に示すように、ギヤ軸17と、捩じりコイルスプリングで構成されるリミットスプリング18が備えられ、トルクリミッターとしての機能を備えている。すなわち、前記ギヤ軸17はケース14に回転可能に支持され、そのギヤ軸17の外周面に前記リミットスプリング18が装着されている。そして、ギヤ軸17が筒状のプーリー15内に挿入され、図5に示すように、リミットスプリング18の両端部がプーリー15の内周面に形成された係止部15aに係合している。
このような構成により、常にはリミットスプリング18とギヤ軸17との摩擦力に基づいてプーリー15とギヤ軸17が一体に回転される。また、ギヤ軸17に作用する負荷が増大してその回転が阻害されている状態では、リミットスプリング18がギヤ軸17に対し空回りするようになっている。
前記ギヤ軸17には歯車17aが一体に形成され、その歯車17aに前記ケース14に回転可能に支持された伝達歯車19が噛み合わされている。従って、プーリー15が回転されると、伝達歯車19が回転される。
前記伝達歯車19には、同伝達歯車19の径方向両側において前記ケース14に回転可能に支持された一対の第一及び第二のクラッチ歯車20,21が噛み合わされている。そして、前記伝達歯車19が回転されると、第一及び第二のクラッチ歯車20,21が同方向に回転される。
前記ケース14の先端側には、同一構成の第一及び第二の伝達クラッチ(クラッチ装置)22,23が収容され、その第一及び第二の伝達クラッチ22,23の入力軸24が前記第一及び第二のクラッチ歯車20,21の中心部に嵌着されている。従って、前記第一及び第二のクラッチ歯車20,21が回転されると、第一及び第二の伝達クラッチ22,23の入力軸24が同方向に回転されるようになっている。
前記第一及び第二の伝達クラッチ22,23は、入力軸24の一方向の回転のみを各出力軸25に伝達する公知の機能を備え、伝達する回転方向は互いに逆方向である。そして、第一の伝達クラッチ22の出力軸25に前記第一の駆動軸11の端部が嵌着され、第二の伝達クラッチ23の出力軸25に前記第二の駆動軸12の端部が嵌着されている。
このような構成により、ボールチェーン16を一方に操作すると、第二の駆動軸12のみが回転されて、第二の巻取軸10が第二の昇降コード7の巻取り方向に回転される。また、ボールチェーン16を他方に操作すると、第一の駆動軸11のみが回転されて、第一の巻取軸9が第一の昇降コード6の巻取り方向に回転される。
前記第一及び第二の駆動軸11,12は、前記ヘッドボックス1の中間部においてストッパー装置26に挿通されている。このストッパー装置26は、前記中間レール3若しくはボトムレール5の引き上げ操作の後にボールチェーン16を手放したとき、中間レール3及びボトムレール5の自重降下を防止する状態と、中間レール3とボトムレールとをそれぞれ自重降下させる状態とを選択する公知の作用をなす。
図1及び図2に示すように、前記ストッパー装置26の側方において、前記第一及び第二の駆動軸11,12はガバナー装置27,28にそれぞれ挿通されている。各ガバナー装置27,28は、前記第一及び第二の駆動軸11,12の回転速度を所定値以下に抑制して、中間レール3及びボトムレール5の自重降下時の下降速度を所定速度以下に抑制する。
前記ヘッドボックス1の他方の端部には、前記第二の巻取軸10からの第二の昇降コード7の最大巻戻し量を設定して、前記ボトムレール5の下限位置を設定する下限リミット装置29が配設されている。
次に、前記ボールチェーン16の具体的構成を図6及び図7に従って説明する。図6に示すように、前記ボールチェーン16はポリエステルのコード30上に等間隔に合成樹脂のボール31が成形されている。各ボール31はコード30の表面上に成形機で長球状の充実体を成形したものであり、各ボール31がコード30に対し移動不能に固着されている。
前記コード30の両端部は、連結部32で連結されて無端状のボールチェーン16が構成される。図7に示すように、前記連結部32は同一構成の2つの第一の連結部材33を筒状の第二の連結部材34で連結した構成である。
前記第一の連結部材33は、前記コード30と同一材質の連結コード35の一端に前記ボール31の半分の形状の半球部36がアウトサート成型され、他端には第一の嵌合部37が形成されている。前記半球部36と第一の嵌合部37との間に前記ボール31と同形状のボール38が固着され、前記第一の嵌合部37とボール38との間隔及びボール38と半球部36との間隔は、前記ボール31の間隔と同一である。
前記半球部36及び第一の嵌合部37は、前記ボール31と同一の合成樹脂で前記連結コード35の両端部に成形される。前記第一の嵌合部37の基端部は、前記ボール31の端部と同様な半球状に形成され、第一の嵌合部37の先端部には、丸軸状の嵌合突部39がアウトサート成型されている。
前記嵌合突部39の先端部の外周面上には、丸軸の中心に対し線対称状に膨径部40が形成され、その膨径部40の中間には断面半円状の凹条41がそれぞれ形成されている。前記嵌合突部39の基端部には、丸軸の径方向に突出する回動規制部42が中心に対し線対称状に形成されている。また、各回動規制部42は、前記嵌合突部39の中心に対し前記凹条41から周方向に45度隔てた位置に形成される。
前記第二の連結部材34は、前記第一の嵌合部37及びボール31,38と同一の合成樹脂で円筒状に成形され、両側の開口部43は前記嵌合突部39の膨径部40を含む先端部を挿入可能とした俵形に形成されている。また、両開口部43は、その俵形の方向が円筒の中心に対し互いに90度回転した形状となっている。
そして、前記第一の連結部材33と第二の連結部材34とを連結するには、第一の嵌合部37の嵌合突部39を第二の連結部材34の一方の開口部43に挿入し、第一の嵌合部37を第二の連結部材34に対し時計方向に90度回動する。
また、第二の連結部材34の他方の開口部43にも同様に第一の連結部材33の嵌合突部39を挿入して90度回動させて位置決めする。すると、図6に示すように、第二の連結部材34を介して第一の連結部材33が連結される。
この状態では、各第一の連結部材の嵌合突部39の膨径部40が第二の連結部材34内に保持される。この保持力は、通常のスクリーン昇降操作時に、前記プーリー15から垂下されるボールチェーン16の一方を下方へ引く場合に作用する通常の引張り力では、嵌合突部39が第二の連結部材34から外れることがないように設定されている。
また、通常の操作時に前記第一の駆動軸11若しくは第二の駆動軸12の回転が阻害されて、ボールチェーン16を操作する引張り力が増大し、この引張り力がプーリー15に与える回転トルクが、前記プーリー15に組み込まれたトルクリミッターの滑りトルクを超えた場合に、このトルクリミッターが作動する。これによって、プーリー15とギヤ軸17とが空回りして、ボールチェーン16には大きな引張り力が作用しないようになっている。一例では、トルクリミッターの滑りトルクの最大値を65N・cmとし、プーリー15の半径を10.2mmとし、ボールチェーンの分断力(第一の引っ張り力に相当)の最小値を65Nにした。この場合、ボールチェーン16からプーリー15にかかるトルクは最小でも66.3N・cmとなり、トルクリミッターの滑りトルクの最大値(65N・cm)を上回るので、ボールチェーン16の連結部32への過大な引張り力の作用が防止され、通常操作時の連結部32の無用な外れが防止されるという効果が奏される。
一方、ボールチェーン16に居住者等が引っ掛かって、プーリー15から垂下されるボールチェーン16の双方に通常の引張り力を超える大きな引張り力(第一の引張り力:この実施形態では65N〜95N)が作用したとき、第二の連結部材34の合成樹脂の弾性により、嵌合突部39の膨径部40で開口部43が押し広げられる。そして、嵌合突部39が第二の連結部材34から外れるようになっている。
また、第二の連結部材34の両側に第一の嵌合部37を嵌合した状態での外形形状は、前記ボール31と同一形状となるように形成されている。前記第一の連結部材33の半球部36は、前記コード30の両端にアウトサート成型された半球部31aに溶着固定されて、前記ボール31と同一形状のボールが形成される。そして、前記第一の連結部材33を第二の連結部材34で連結すると、無端状のボールチェーン16が形成される。
このように構成されたボールチェーン16では、前記ボールチェーン16のコード30及び前記連結部32の連結コード35の全長に亘って同一形状のボールが同一間隔で形成される。従って、ボールチェーン16はプーリー15に対し制限なく周回可能である。
次に、上記のように構成されたプリーツスクリーンの動作を説明する。ボールチェーン16の一方を引き下げると、第二の駆動軸12のみが回転されて第二の巻取軸10に第二の昇降コード7が巻き取られ、ボトムレール5が引き上げられる。そして、ボトムレール5を所望高さまで引き上げた後ボールチェーン16を手放すと、ストッパー装置26の自重降下防止動作により、ボトムレール5が所望高さに保持される。
この状態から、ボールチェーン16を一方に引いた後に手放すと、ストッパー装置26の自重降下防止動作が解除され、ボトムレール5が自重降下する。ボールチェーン16の他方を引き下げると、第一の駆動軸11のみが回転されて第一の巻取軸9に第一の昇降コード6が巻き取られ、中間レール3が引き上げられる。そして、中間レール3を所望高さまで引き上げた後ボールチェーン16を手放すと、ストッパー装置26の自重降下防止動作により、中間レール3が所望高さに保持される。
この状態から、ボールチェーン16を他方に引いた後に手放すと、ストッパー装置26の自重降下防止動作が解除され、中間レール3が自重降下する。上記のように構成されたプリーツスクリーンでは、次に示す作用効果を得ることができる。
(1)ボールチェーン16に居住者等が引っ掛かった場合には、連結部32で第一の連結部材33と第二の連結部材34が外れる。従って、ボールチェーン16にフェイルセーフ機能を備えることができる。
(2)通常操作時に、第一の駆動軸11若しくは第二の駆動軸12の負荷が増大してその回転が阻害される場合には、プーリー15がギヤ軸17に対し空回りして、ボールチェーン16の連結部32への過大な引張り力の作用を防止することができる。従って、通常操作時の連結部32の無用な外れを防止することができる。
(3)通常操作時の連結部32の無用な外れを防止することができるので、連結部32が外れる引張り力を小さく設定して、ボールチェーン16に居住者等が引っ掛かった場合に、連結部32か確実に外れるように設定することができる。
(4)プーリー15にトルクリミッターの機能を備えたので、ボールチェーン16に過大な引張り力が作用しても、その引張り力はトルクリミッターで吸収されて操作装置13内の機構に伝達されることはない。従って、過大な操作トルクによる操作装置13の故障を未然に防止することができる。
(本発明の第1の観点の第二の実施形態)
図8及び図9は、トルクリミッターの第二の実施形態を示す。この実施形態のトルクリミッターは、第一の実施形態のリミットスプリング18に代えて、皿ばねを使用したものである。図8において、左側(プーリー55側)が入力側であり、右側(ギヤ軸51側)が出力側である。プーリー55は、前記ボールチェーン16のボールを係合する凹部67を外周面に多数備えている。プーリー55の入力側の端面内径方向にフランジ61が外周面と一体に設けられている。プーリー55は、出力側に向かって筒状に形成されている。プーリー55の出力側開口にギヤ軸51を摩擦を有して相対回転可能に係合している。ギヤ軸51のプーリー側は、筒状に形成されており、その周面の先端には凹溝65が形成されている。フランジ61には、凸部63が設けられている。この凹溝65と凸部63が係合して、ギヤ軸51は、プーリー55に対して回転可能に支持される。
詳述すると、ギヤ軸51は前記第一の実施形態と同様なケース14に回転可能に支持され、その歯車51aは前記伝達歯車19に噛み合わされる。前記ギヤ軸51の先端側にはカム部材52が回転可能にかつギヤ軸51の軸方向に移動可能に支持され、そのカム部材52とギヤ軸51のフランジ部53の対抗する側面には、ギヤ軸51の軸方向に互いに噛み合い可能とした凹凸部54a,54bが周方向にそれぞれ形成されている。
前記ギヤ軸51の先端部には前記カム部材52を覆うような円筒状のプーリー55が回転可能に嵌着されている。そして、前記カム部材52の外周面に等間隔に形成された突部56がプーリー55の内周面に形成された凹部57に係合して、カム部材52はプーリー55と一体に回転されるとともに、プーリー55に対し軸方向に移動可能に支持されている。
前記カム部材52とプーリー55との間には皿ばね58が配設され、プーリー55を支点とする皿ばね58により、カム部材52がフランジ部53に向かってギヤ軸51の軸方向に付勢されている。従って、常にはカム部材52とフランジ部53の凹凸部54a,54bが皿ばね58の付勢力により係合して、プーリー55の回転がカム部材52を介してギヤ軸51に伝達されるようになっている。
また、ギヤ軸51の回転が阻害されると、カム部材52の凹凸部54aがフランジ部53の凹凸部54bを乗り越えながら、カム部材52がギヤ軸51に対し空回りする。従って、プーリー55に過大な操作トルクが作用しても、その操作トルクはカム部材52の空回りにより吸収される。
上記のように構成されたトルクリミッターでは、第一の実施形態のトルクリミッターと同様な作用効果を得ることができるとともに、次に示す作用効果を得ることができる。(1)ギヤ軸51に対しカム部材52が空回りするとき、カム部材52の凹凸部54aがフランジ部53の凹凸部54bを乗り越えながら空回りする(トルクリップル発生手段)。従って、操作者はプーリー15を回転させるための操作力の変動と、凹凸部54aが凹凸部54bを乗り越える時に連続して発生する衝突音により、プーリー15の空回りを認識することができる。
上記実施形態は、以下の態様で実施してもよい。
・ボールチェーンに代えて、フェイルセーフ機能を備えた操作コードとしてもよい。
・プリーツスクリーン以外に、横型ブラインド、たくし上げカーテン、縦型ブラインド等に実施することもできる。
・トルクリミッターは、リミットスプリングや皿ばね以外に、コイルスプリング、弾性を有するゴム材等を使用してもよい。
・プーリーとギヤ軸との間に粘度の高いオイルを充填させて摩擦力を得ても良い。
なお、チャイルドセーフティを実現する値の例として第1の観点の実施形態は以下のようにしても良い。
・プーリー15の半径:30mm
・トルクリミッター作動回転トルク(滑りトルク)最大値:40N・cm
ボールチェーン16の連結部32の分断力:15N(チェーンからプーリーにかかる最大トルクは45N・cm)
上記実施形態から把握できる請求項以外の技術思想を以下に記載する。
(付記1)
ヘッドボックスに回転可能に支持されるプーリーから無端状の操作コードを垂下し、前記操作コードの操作に基づいてプーリーを介して駆動軸を回転駆動して、遮蔽材を駆動する日射遮蔽装置において、
前記プーリーにトルクリミッターを備えたことを特徴とする日射遮蔽装置の操作装置。
(本発明の第2の観点の第一の実施形態)
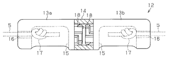
以下、本発明の第2の観点の第一の実施形態を図面に従って説明する。図10〜図12に示す横型ブラインドは、ヘッドボックス1から吊下支持されるラダーコード2に多数段のスラット(日射遮蔽材)3が支持され、そのラダーコード2の下端にボトムレール4が取着されている。
前記スラット3には前記ラダーコード2の支持位置近傍で昇降コード5が挿通され、その昇降コード5の下端に前記ボトムレール4が吊下支持されている。前記昇降コード5の上端は前記ヘッドボックス1内に配設される支持部材6に回転可能に支持された巻取軸7に巻着されている。
前記巻取軸7には六角棒状の昇降軸8が相対回転不能に挿通されている。そして、昇降軸8が回転されると巻取軸7が回転され、巻取軸7が昇降コード5の巻取り方向に回転されると、昇降コード5が巻取軸7に螺旋状に巻き取られ、ボトムレール4及びスラット3が引き上げられる。また、巻取軸7が昇降コード5の巻戻し方向に回転されると、昇降コード5が巻き戻されて、ボトムレール4及びスラット3が下降する。
前記ラダーコード2の上端は、フック9を介してチルトドラム10に取着され、そのチルトドラム10は前記支持部材6の一側端部に回転可能に支持されている。前記チルトドラム10の一側には平歯車の被動ギヤ11が一体に形成されている。
前記支持部材6の側方において、前記ヘッドボックス1にはサポートキャップ12が固定され、そのサポートキャップ12に前記昇降軸8が挿通されている。前記昇降軸8の斜め下方位置すなわちヘッドボックス1内の下隅部において、前記サポートキャップ12には六角棒状のチルト軸13が回転可能に支持され、そのチルト軸13には前記被動ギヤ11に噛み合う駆動ギヤ14が相対回転不能に嵌合されている。そして、チルト軸13が回転されると、駆動ギヤ14及び被動ギヤ11を介してチルトドラム10が回動されるようになっている。
前記昇降軸8の一端は前記ヘッドボックス1の一端部に取着された操作ユニット15の第一の出力軸に連結され、前記チルト軸13の一端はチルトユニット16の出力軸に連結されている。また、チルトユニット16の入力軸は前記操作ユニット15の第二の出力軸に連結されている。
前記操作ユニット15の端部にはプーリー17が回転可能に支持され、そのプーリー17にボールチェーン18が掛装されている。そして、ボールチェーン18を操作してプーリー17を正逆方向に回転させると、前記昇降軸8及びチルト軸13を回転駆動可能となっている。
前記操作ユニット15は、プーリー17の回転を減速して前記昇降軸8及びチルトユニット16に伝達する減速機能と、前記スラット3及びボトムレール4の自重降下を阻止する状態と許容する状態とのいずれかを選択するクラッチ機能を備えている。また、前記チルトユニット16を介して前記チルト軸13が回転されているときには、昇降軸8を回転させない機能を備えている。
前記チルトユニット16は、前記操作ユニット15の第二の出力軸の回転に基づいてチルト軸13を回転させ、チルト軸13が所定角度回転されたとき、すなわちスラット3が全閉状態あるいは逆全閉状態まで回動されたとき、第二の出力軸の回転をチルト軸13に伝達しないようにする機能を備えている。
このような操作ユニット15及びチルトユニット16を備えた横型ブラインドの動作を説明する。図11に示すように、手前側に垂下されるボールチェーン18を下方(矢印A方向)へ引き下げると、操作ユニット15及びチルトユニット16を介してチルト軸13が回転される。
すると、チルト軸13の回転にともなってチルトドラム10が回動され、ラダーコード2を介してスラット3が回動される。このとき、スラット3はその凸面が室内側となるように回動される。
そして、チルト軸13が所定角度回転されたとき、すなわちスラット3がほぼ垂直方向となる全閉状態まで回動されたとき、チルトユニット16の動作により、ボールチェーン18が同方向に操作され続けてもチルト軸13の回転が停止される。
また、スラット3が全閉状態となるまでの間、操作ユニット15の動作により昇降軸8は回転されない。スラット3が全閉状態まで回動された後、ボールチェーン18がさらに矢印A方向に操作されると、昇降軸8が回転されて巻取軸7が昇降コード5の巻取り方向に回転される。そして、昇降コード5が巻取軸7に巻き取られてボトムレール4が引き上げられ、そのボトムレール4によりスラット3が順次引き上げられる。
ボトムレール4及びスラット3を所望高さまで引き上げた状態でボールチェーン18を手放すと、操作ユニット15の動作により昇降軸8の昇降コード巻き戻し方向の回転が阻止され、ボトムレール4及びスラット3の自重降下が阻止されて、所望高さに保持される。
図11に示すように、後ろ側に垂下されるボールチェーン18を下方(矢印B方向)に引き下げると、操作ユニット15及びチルトユニット16を介してチルト軸13が回転される。
すると、チルト軸13の回転にともなってチルトドラム10が回動され、ラダーコード2を介してスラット3が回動される。このとき、スラット3はその凸面が室外側となるように回動される。
そして、チルト軸13が所定角度回転されたとき、すなわちスラット3がほぼ垂直方向となる逆全閉状態まで回動されたとき、チルトユニット16の動作により、ボールチェーン18が同方向に操作され続けてもチルト軸13の回転が停止される。
このとき、スラット3が逆全閉状態となるまでの間、操作ユニット15の動作により昇降軸8は回転されない。スラット3が逆全閉状態まで回動された後、ボールチェーン18がさらに矢印B方向に引かれると、操作ユニット15の動作により昇降軸8の昇降コード巻き戻し方向の回転が許容され、ボトムレール4及びスラット3が自重で下降する。
そして、ボトムレール4及びスラット3が所望高さまで下降した状態でボールチェーン18を矢印A方向に引いてスラット3を全閉状態とし、さらにボールチェーン18を同方向に引いた後に手放すと、操作ユニット15は昇降軸8の昇降コード巻き戻し方向の回転を阻止する状態となり、ボトムレール4及びスラット3が所望高さに保持される。
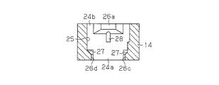
前記ヘッドボックス1の両端には第一及び第二の固定装置19a,19bが取着され、ヘッドボックス1は第一及び第二の固定装置19a,19bを介して対向する壁面20間に支持されている。
前記ヘッドボックス1の左端部に取着される第一の固定装置19aはほぼ公知の構成であり、調整ダイヤル21を正逆方向に回転操作すると、突っ張りシャフト22がヘッドボックス1に対し出没するようになっている。
そして、突っ張りシャフト22に回動可能に支持された操作レバー23を図12示す矢印C方向に回転させると、カム機構によりコイルスプリングの付勢力が突っ張りシャフト22に作用して、突っ張りシャフト22が対向する壁面20に向かって付勢される。
前記第二の固定装置19bは、前記操作ユニット15のケースから壁面20に向かって出没可能に支持される調節シャフト24と、その調節シャフト24の突出長さを調節するスペーサー25とで構成される。そして、スペーサー25を上下方向にスライドすることにより、操作ユニット15のケースからの調節シャフト24の突出長さを調節可能となっている。
前記ヘッドボックス1を取り付ける壁面20には、軸受け部26が両面テープ等で貼着され、ヘッドボックス1は前記第一及び第二の固定装置19a,19bで軸受け部26間に固定される。
上記のような第一及び第二の固定装置19a,19bでヘッドボックス1を壁面20間に固定するには、まずヘッドボックス1を軸受け部26間に保持した状態で調整ダイヤル21及び調節シャフト24の操作により、スラット3の端部と壁面20との隙間がほぼ等しくなるように調整して、ヘッドボックス1を軸受け部26間に仮保持する。
次いで、操作レバー23を図12に示す矢印C方向に回動操作すると、コイルスプリングの付勢力により突っ張りシャフト22が軸受け部26に圧接され、その反作用で調節シャフト24が軸受け部26に圧接される。この結果、ヘッドボックス1が壁面20間に保持される。
また、製品重量により突っ張りシャフト22及び調節シャフト24と軸受け部26との圧接面に30N(ニュートン)の力が下方に作用する場合には、突っ張りシャフト22及び調節シャフト24はそれぞれ約60Nの一定の力で軸受け部26に圧接されるように設定されている。なお、突っ張りシャフト22及び調節シャフト24と軸受け部26との圧接面に作用する30Nの力は、当該製品で覆い得る窓面積すなわち各スラット3の長さと段数を最大値に設定した場合に作用する力として設定されている。
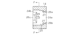
図13に示すように、前記プーリー17の回転は、同プーリー17と同一回転軸で回転する駆動ギヤ27に伝達され、その駆動ギヤ27から前記減速機構及びクラッチ機構を経て、操作ユニット15の出力軸に伝達される。
前記プーリー17と駆動ギヤ27との間には、プーリー17から駆動ギヤ27に伝達される回転トルクを一定値以下とするトルクリミッターが設けられている。そのトルクリミッターの具体的構成を説明すると、図14に示すプーリー17及び駆動ギヤ27は、前記操作ユニット15のケースに同一回転軸芯で回転可能に、且つ回転軸芯方向には移動不能に支持されている。駆動ギヤ27のプーリー17側は、筒状に形成されており、その周面の先端にはスナップ部91が形成されている。スナップ部91の周方向の両側にスリット93が形成されている。このスナップ部91がプーリー17のフランジに設けられた凸部と係合して、駆動ギヤ27がプーリー17に対して回転可能に支持される。
前記駆動ギヤ27の基端側には円筒状のカム部材28が回転可能にかつ駆動ギヤ27の軸方向に移動可能に支持され、駆動ギヤ27のフランジ部29とカム部材28の対向する側面には、駆動ギヤ27の軸方向に互いに噛み合い可能とした凹凸部30b,30aと、凹凸部30d,30cが周方向に等間隔(回動軸心に対し60度間隔)にそれぞれ形成されている。
前記プーリー17は、前記カム部材28を収容可能とした円筒状に形成され、プーリー17の内周面とカム部材28の外周面には、互いに噛み合う凹凸部31a,31bが周方向に等間隔に形成されている。そして、凹凸部31a,31bの嵌合により、カム部材28はプーリー17に対し駆動ギヤ27の回転軸芯方向に移動可能であり、かつ相対回転不能となっている。
前記カム部材28内にはコイルスプリング32が配設され、図15に示すように、コイルスプリング32の一端はプーリー17に当接し、他端はカム部材28に当接している。そして、カム部材28はプーリー17を支点とするコイルスプリング32の付勢力により、駆動ギヤ27のフランジ部29に向かって付勢され、凹凸部30b,30aと凹凸部30d,30cとが互いに噛み合う位置に保持される。この状態では、プーリー17と駆動ギヤ27が一体に回転される。
また、駆動ギヤ27の回転が阻止された状態でプーリー17に一定値以上の回転トルクが作用すると、図16に示すように、カム部材28がコイルスプリング32の付勢力に抗してプーリー17側に移動し、凹凸部30a〜30dの噛み合いが外れてカム部材28が駆動ギヤ27に対し空回りする。そして、カム部材28が60度回転する度に、凹凸部30a〜30dの噛み合いと噛み合いの外れが繰り返されて、カム部材28が駆動ギヤ27に対し空回りする。
凹凸部30a〜30dの噛み合いの外れは、トルクリミッターの公差を考慮して、前記ボールチェーン18を下方に向かって約60N〜70Nを超える力で引っ張ったときに発生するように設定されている。
図17に示すように、前記ボールチェーン18は、ポリエステルのコード33上に等間隔に合成樹脂のボール34が成形されている。各ボール34はコード33の表面上に成形機で長球状の充実体を成形したものであり、各ボール34がコード33に対し移動不能に固着されている。
前記コード33の両端部は、連結部35で連結されて無端状のボールチェーン18が構成される。図18に示すように、前記連結部35は第一の連結部材36と第二の連結部材37とで構成されている。
前記第一の連結部材36は、図18に示すように、前記コード33と同一材質の連結コード38の一端に前記ボール34の半分よりやや大きい形状の半球部39がアウトサート成型され、他端には第一の嵌合部40がその先端まで充実体となるようにアウトサート成型されている。半球部39と第一の嵌合部40の間隔は、前記ボール34の間隔と同一である。
前記第一の嵌合部40の基端部は、前記ボール34の端部と同様な半球状に形成され、第一の嵌合部40の先端部には、丸軸状の嵌合突部41が形成されている。前記嵌合突部41は、先端部にフランジ状の膨径部41aが形成され、その膨径部41aの外形は半球状の基端部の最大径より小さい径となっている。また、膨径部41aの先端側角部には面取り41bが形成されている。
前記第二の連結部材37は、前記コード33と同一材質の連結コード42の一端に前記ボール34の半分の形状の半球部43が形成され、他端には第二の嵌合部44が形成されている。半球部43と第二の嵌合部44の間隔は、前記ボール34の間隔と同一である。
前記半球部43及び第二の嵌合部44は、前記ボール34と同一材質で前記コード33の両端部にアウトサート成型される。前記第二の嵌合部44の基端部は、前記ボール34の端部と同様な半球状に形成され、第二の嵌合部44の先端部には、嵌合孔45が形成されている。そして、嵌合孔45の奥部の径が開口部の径より大きく形成されて、前記嵌合突部41の膨径部41aを弾性的に嵌合し、かつ保持可能となっている。
また、嵌合孔45の深さは第二の嵌合部44の長さの半分以下で形成され、前記嵌合突部41は嵌合孔45の深さに等しい長さで突出されている。前記嵌合突部41を保持する嵌合孔45の保持力は、通常のスラット昇降操作及びスラット角度調節操作時にボールチェーン18に作用する通常の引張り力では嵌合突部41と嵌合孔45の嵌合が外れることがないように設定されている。
また、ボールチェーン18に通常の引張り力を超える大きな引張り力が作用したときに限り、合成樹脂の弾性により嵌合突部41と嵌合孔45の嵌合が外れるようになっている。この実施形態では、約80N〜90Nの範囲を超える引張り力で嵌合突部41と嵌合孔45の嵌合が外れるように設定されている。
前記第一及び第二の連結部材36,37の半球部39,43は、前記コード33の両端に形成された半球部34aに溶着固定されて、前記ボール34と同一形状のボールが形成される。そして、前記嵌合突部41を嵌合孔45に嵌合すると、無端状のボールチェーン18が形成される。
上記のように構成された横型ブラインドでは、次に示すように設定されている。すなわち、前記トルクリミッターが作動し始めるボールチェーン18の引っ張り力をT、第一及び第二の固定装置19a,19bに作用するブラインドの重量をW、第一及び第二の固定装置19a,19bの突っ張り力によりヘッドボックス1を壁面20間に保持する保持力をSとしたとき、T+W<Sとなるように設定されている。Tが70N、Wが30Nであるとき、保持力Sは100Nを超える値に設定される。
また、ボールチェーン18の連結部35が分断される引張り力をCとしたとき、C+W<Sとなるように設定されている。トルクリミッターが作動し始めるボールチェーン18の引っ張り力Tに安全率を見込んで、(T×安全率)+W<Sとしてもよい。安全率は例えば「3」、第一及び第二の固定装置19a,19bの突っ張り力の低下を見込んで「5」、ボールチェーン18が急激に引張られた場合を見込んで「10」というように設定する。
また、上記安全率をT+Wに見込んで、(T+W)×安全率<Sとなるように設定してもよい。Tが70N、Wが30Nであって、安全率が3であれば、保持力Sを400N程度に設定する。
また、T(70N)+W(30N)<S(110N)、C(90N)+W(30N)<S(140N)を同時に満足するように設定し、さらに上記のような安全率を見込んでもよい。
次に、上記のように構成された操作ユニット15の作用を説明する。ボールチェーン18を図11に示す矢印A方向に操作すると、まずスラット3が全閉方向に回動され、その後スラット3が引き上げられる。そして、スラット3を所望高さまで引き上げた後ボールチェーン18を手放すと、スラット3及びボトムレール4の自重降下が阻止されて、スラット3が所望高さに保持される。
ボールチェーン18を図11に示す矢印B方向に操作すると、スラット3が逆全閉方向に回動される。スラット3が逆全閉状態まで回動された後、さらにボールチェーン18を同方向に操作すると、スラット3が自重降下する。
スラット3が上限まで引き上げられたとき、あるいは何らかの障害物によりスラットが上昇不能となった状態で、ボールチェーン18をスラット3の引き上げ方向に操作するとき、ボールチェーン18に作用する引張り力が70Nを超えると、操作ユニット15内で駆動ギヤ27に対しカム部材28が空回りする。
上記のように構成された横型ブラインドでは、次に示す作用効果を得ることができる。
(1)ボールチェーン18に過大な引っ張り力が作用しても、操作ユニット15内の駆動ギヤ27とカム部材28との空回りにより、操作ユニット15及びスラット昇降機構の破損を防止することができる。
(2)操作ユニット15内の駆動ギヤ27とカム部材28との空回りにより、ボールチェーン18の操作に基づいてヘッドボックス1に作用する下方への引張り力を、この実施形態では55N以下とすることができる。
(3)ヘッドボックス1に作用する重量と、ボールチェーン18の操作に基づいてヘッドボックス1に作用する下方への引張り力との総和を、第一及び第二の固定装置19a,19bでヘッドボックス1を壁面20間に支持する突っ張り力より小さくすることができる。従って、ボールチェーン18の操作時に、ヘッドボックス1の脱落を未然に防止することができる。
(4)ボールチェーン18の連結部35の嵌合が外れる引張り力を、ヘッドボックス1を壁面20間に支持する突っ張り力より小さくすることにより、ボールチェーン18に過大な引張り力が作用したとき、連結部35の嵌合を外して、ヘッドボックス1の脱落を未然に防止することができる。
(本発明の第2の観点の第二の実施形態)
図19は、前記ボールチェーン18の連結部の別例を示す。連結部51は、同一構成の2つの第一の連結部材52を筒状の第二の連結部材53で連結した構成である。
前記第一の連結部材52は、前記コード33と同一材質の連結コード54の一端に前記ボール34の半分の形状の半球部55がアウトサート成型され、他端には第一の嵌合部56が形成されている。前記半球部55と第一の嵌合部56との間に前記ボール34と同形状のボール57が固着され、前記第一の嵌合部56とボール57との間隔及びボール57と半球部55との間隔は、前記ボール34の間隔と同一である。
前記半球部55及び第一の嵌合部56は、前記ボール34と同一の合成樹脂で前記連結コード54の両端部に成形される。前記第一の嵌合部56の基端部は、前記ボール34の端部と同様な半球状に形成され、第一の嵌合部56の先端部には、丸軸状の嵌合突部58がアウトサート成型されている。
前記嵌合突部58の先端部の外周面上には、丸軸の中心に対し線対称状に膨径部59が形成され、その膨径部59の中間には断面半円状の凹条60がそれぞれ形成されている。前記嵌合突部58の基端部には、丸軸の径方向に突出する回動規制部61が中心に対し線対称状に形成されている。また、各回動規制部61は、前記嵌合突部58の中心に対し前記凹条60から周方向に45度隔てた位置に形成される。
前記第二の連結部材53は、前記第一の嵌合部56及びボール34,57と同一の合成樹脂で円筒状に成形され、両側の開口部62は前記嵌合突部58の膨径部59を含む先端部を挿入可能とした俵形に形成されている。また、両開口部62は、その俵形の方向が円筒の中心に対し互いに90度回転した形状となっている。
そして、前記第一の連結部材52と第二の連結部材53とを連結するには、第一の嵌合部56の嵌合突部58を第二の連結部材53の一方の開口部62に挿入し、第一の嵌合部56を第二の連結部材53に対し時計方向に90度回動する。
また、第二の連結部材53の他方の開口部62にも同様に第一の連結部材52の嵌合突部58を挿入して90度回動させて位置決めする。すると、第二の連結部材53を介して第一の連結部材52が連結される。
この状態では、各第一の連結部材52の嵌合突部58の膨径部59が第二の連結部材53内に保持される。この保持力は、通常のスラット昇降操作時に、前記ボールチェーン18の一方を下方へ引く場合に作用する通常の引張り力では、嵌合突部58が第二の連結部材53から外れることがないように設定されている。
前記第一の連結部材52の半球部55は、前記コード33の両端にアウトサート成型された半球部34aに溶着固定されて、前記ボール34と同一形状のボールが形成される。そして、前記第一の連結部材52を第二の連結部材53で連結すると、無端状のボールチェーン18が形成される。
このように構成されたボールチェーン18では、通常の操作時にスラット3の引き上げ操作が阻害されて、ボールチェーン18を操作する引張り力が増大する場合には(この実施形態では60N〜70N)、前記プーリー17に組み込まれたトルクリミッターが作動する。すなわち、プーリー17と駆動ギヤ27とが空回りして、ボールチェーン18には大きな引張り力が作用しないようになっている。
一方、ボールチェーン18に居住者等が引っ掛かって、プーリー17から垂下されるボールチェーン18の双方に通常の引張り力を超える大きな引張り力(この実施形態では80N〜100N)が作用したとき、第二の連結部材53の合成樹脂の弾性により、嵌合突部58の膨径部59で開口部62が押し広げられる。そして、嵌合突部58が第二の連結部材53から外れるようになっている。
このように構成されたボールチェーン18では、前記ボールチェーン18のコード33及び前記連結部51の連結コード54の全長に亘って同一形状のボールが同一間隔で形成される。従って、ボールチェーン18はプーリー17に対し制限なく周回可能である。
上記実施形態は、以下の態様で実施してもよい。
・横型ブラインドの他に、ロールブラインド、たくし上げカーテン、プリーツカーテンに実施することもできる。
・ボールチェーン18に代えて、所定値以上の引っ張り力で連結部が分断される操作コードを使用してもよい。
(本発明の第3の観点の一の実施形態)
以下、本発明の第3の観点の一実施形態を図面に従って説明する。図20及び図21に示すロールアップブラインドは、ヘッドボックス1が取付ブラケット2を介して取付面に取着され、そのヘッドボックス1の背面に経木すだれで構成されるスクリーン3の上端が取着されている。
前記スクリーン3の下端には円筒状の形材で形成されるウェイトバー4が取着されている。前記ウェイトバー4を昇降するための複数本の昇降コード5は、その一端が前記ヘッドボックス1の背面に取着され、他端部はウェイトバー4の下方を経てヘッドボックス1内の巻取軸6に螺旋状に巻き取り可能に取着されている。従って、ウェイトバー4はその下方に巻回される複数本の昇降コード5に支持されている。
前記巻取軸6は、ヘッドボックス1内に配設される軸受部材7に回転可能に支持され、前記昇降コード5の他端が取着されるとともに、その中心部に六角棒状の駆動軸8が相対回転不能に挿通されている。
前記ヘッドボックス1の一端には操作装置9が取着され、その操作装置9内に回転可能に支持されたプーリー10にボールチェーン11が掛装されている。そして、ボールチェーン11を操作してプーリー10を正逆方向に回転させると、前記駆動軸8が正逆方向に回転される。
前記駆動軸8の回転に基づいて前記巻取軸6が昇降コード5の巻き取り方向に回転されると、ウェイトバー4を支持する昇降コード5の一方が引き上げられるため、ウェイトバー4が回転されてスクリーン3を巻き取りながら上昇し、図22に示すように、スクリーン3がウェイトバー4に巻き取られる。
前記昇降コード5は、その一端部近傍にコードジョイント12が介在されている。前記コードジョイント12は、図23及び図24に示すように、一対のジョイント本体13a,13bと、そのジョイント本体13a,13bを連結する連結部材14とで構成される。
前記ジョイント本体13a,13bは、弾性を有する合成樹脂でほぼ円柱状に形成されるとともに、その中央部には外周面の一側に開口する収容凹部15が形成されている。また、前記収容凹部15はジョイント本体13a,13bの長手方向の一端部に連通孔16を介して連通している。
そして、前記昇降コード5の端部をジョイント本体13a,13bの一端部から連通孔16に挿通して収容凹部15内に導き、その端部に結び目17を形成することにより、昇降コード5の端部にジョイント本体13a,13bが取着されている。
前記ジョイント本体13a,13bの他端部には、図24及び図25に示すように、丸軸状の嵌合突部18が一体に形成されている。前記嵌合突部18の先端部の外周面上には、丸軸の中心に対し線対称状に膨径部19が形成され、その膨径部19の中間には断面半円状の係止凹部20がそれぞれ形成されている。また、前記膨径部19の先端側及び基端側には面取り21が形成されている。
前記嵌合突部18の基端部には、図26に示すように、丸軸の径方向に突出する回動規制部22が中心に対し線対称状に形成されている。また、各回動規制部22は、前記丸軸の中心に対し前記係止凹部20から周方向に45度隔てた位置に形成される。
前記連結部材14は、前記ジョイント本体13a,13bと同一の合成樹脂で円筒状に成形され、図27及び図28に示すように、両側の開口部24a,24bは前記嵌合突部18の膨径部19を含む先端部を挿入可能とした俵形に形成されている。また、開口部24a,24bは、その俵形の方向が円筒の中心に対し互いに90度回転した形状となっている。
前記連結部材14の内部には、前記嵌合突部18の先端部を回動可能とする径を備えた円形孔(嵌合孔)25が形成されている。そして、開口部24aの俵形の短軸方向の開口縁には、前記膨径部19の円形孔25からの抜けを妨げる係止部26a,26bがそれぞれ形成され、開口部24bの俵形の短軸方向の開口縁には、前記膨径部19の円形孔25からの抜けを妨げる係止部26c,26dがそれぞれ形成されている。
図29〜図31に示すように、前記係止部26a〜26dと前記円形孔25の境界部には面取り27が設けられ、前記嵌合突部18が円形孔25から引き抜かれるとき、前記面取り21,27の作用により、前記係止部26a〜26dの損傷を防止するようになっている。
また、前記係止部26a,26cの内側において、前記円形孔25の内周面には前記係止凹部20に係合する係止突部28がそれぞれ形成されている。前記ジョイント本体13a,13bを連結部材14を介して連結するには、ジョイント本体13aの嵌合突部18を連結部材14の開口部24aに挿入し、ジョイント本体13aを連結部材14に対し同連結部材14に向かって時計方向に90度回動させる。すると、嵌合突部18の係止凹部20が円形孔25内の係止突部28に係合し、回動規制部22が開口部24aの俵形の角部から隣の角部まで移動して、図32に示すように位置決めされる。
また、連結部材14の他方の開口部24bにも同様にジョイント部材13bの嵌合突部18を挿入して90度回動させて位置決めする。すると、図23に示すように、連結部材14を介してジョイント本体13a,13bが連結される。
この状態では、各ジョイント本体13a,13bの嵌合突部18の膨径部19が連結部材14の係止部26a〜26dに係合して、連結部材14の円形孔25内に保持される。この保持力は、通常のスクリーン昇降操作時にウェイトバー4及びスクリーン3の重量に基づいて昇降コード5に作用する通常の引張り力では、嵌合突部18が連結部材14から外れることがないように設定され、その最大値は例えば85N(ニュートン)に設定され、最小値は40Nに設定されている。
そして、昇降コード5に通常の引張り力を超える大きな引張り力が作用したときに限り、連結部材14の合成樹脂の弾性により、嵌合突部18の膨径部19で連結部材14の開口部24a,24bが押し広げられて、嵌合突部18が連結部材14から外れるようになっている。
また、各昇降コード5のコードジョイント12の保持力が85Nであるとき、例えば昇降コード5の本数がn本であれば、合計保持力は(85×n)Nとなる。そして、この合計保持力が、ウェイトバー4とスクリーン3の総重量による引張り力の半分より大きくなるように設定されている。ここでは昇降コードは2本とした。
前記操作装置9では、前記ボールチェーン11の操作により回転駆動されるプーリー10の回転トルクは、トルクリミッター29を介して前記駆動軸8に伝達される。トルクリミッター29は、図33及び図34に示すように、筒状のプーリー10が伝達軸30に回転可能に支持され、その伝達軸30がケースに設けられた支軸31に回転可能に支持されている。伝達軸30のプーリー10側は、筒状に形成されており、その周面の先端にはスナップ部91が形成されている。このスナップ部91がプーリー10のフランジに設けられた凸部と係合して、伝達軸30がプーリー10に対して回転可能に支持される。
また、前記プーリー10の前記ボールチェーン11が係合する部分の直径(ここでは半径10mm)は、前記巻取軸6の直径と同一に形成されている。前記伝達軸30とプーリー10との間には捻りコイルスプリングで構成されるリミットスプリング32が配設されている。リミットスプリング32は、伝達軸30の外周面に嵌着され、その一端部がプーリー10の内周面に係合して、プーリー10と一体に回転するようになっている。
そして、常にはリミットスプリング32と伝達軸30との摩擦によりプーリー10と伝達軸30が一体に回転され、伝達軸30の回転に基づいて前記駆動軸8が回転されるようになっている。
また、駆動軸8の回転が阻害された状態でプーリー10が回転されると、所定値以上の回転トルクを駆動軸8に伝達しないように、リミットスプリング32が伝達軸30に対し空回りするようになっている。そして、リミットスプリング32が伝達軸30に対し空回りし始める回転トルクは、2本の昇降コード5の合計の保持力が170N(駆動軸8のトルクとしては170N・cm、最小値では80N・cm)であるのに対し、75N・cmに設定されている。
前記伝達軸30と前記駆動軸8との間には、ワンウェークラッチ39が配設されている。このワンウェークラッチ39は、伝達軸30の昇降コード巻取り方向の回転を駆動軸8に伝達し、昇降コード巻き戻し方向の回転は駆動軸8に伝達しないように構成されている。
前記ボールチェーン11は、コード上に多数のボール33が等間隔にアウトサート成形され、連結部34で連結されて無端状に形成されている。前記連結部34は、図35に示すように、連結コード41の一端部に嵌合部42がアウトサート成形され、その嵌合部42に前記ジョイント本体13a,13bと同様な嵌合突部18が形成されている。
そして、コードジョイント12と同様に、嵌合突部18を連結部材14に嵌合することにより、所定値以上の引っ張り力で分断されるように形成され、その分断力は例えば95Nに設定されている。
なお、連結コード41の他端部にアウトサート成形された半球部43がボールチェーン11の端部に成形された半球部に溶着されて無端状のボールチェーン11が形成される。前記ヘッドボックス1の前面には、図22に示すようにヘッドボックス1及び上限まで引き上げられたウェイトバー4を覆い隠すための前部バランス35が取着されている。このバランス35は、スクリーン3と同様な経木すだれで構成される。また、ヘッドボックス1の背面にも同様な後部バランス36が取着されている。
前記ヘッドボックス1内にはウェイトバー4の自重降下を阻止する公知のストッパー装置37と、ストッパー装置37の作動を解除してウェイトバー4を自重降下させる場合に、駆動軸8の回転速度を制限してウェイトバー4の下降速度を制限するガバナー装置38が配設されている。
次に、上記のように構成されたロールアップブラインドの昇降装置の作用を説明する。ボールチェーン11を操作して、プーリー10、トルクリミッター29及び駆動軸8を介して巻取軸6を昇降コード5の巻き取り方向に回転させると、昇降コード5が巻取軸6に螺旋状に巻き取られる。
すると、ウェイトバー4はスクリーン3を巻き取りながら上昇する。そして、ウェイトバー4が上限まで引き上げられると、図22に示すように、スクリーン3を巻き取ったウェイトバー4が前部バランス35の後方に隠れ、室内の視界から遮られる。
ウェイトバー4を所望高さまで引き上げた状態でボールチェーン11を手放すと、ストッパー装置37が作動して、ウェイトバー4の自重降下が阻止される。ウェイトバー4が所望高さに吊下支持されている状態から、ボールチェーン11を操作して駆動軸8を昇降コード巻取り方向に僅かに回転させると、ストッパー装置37の作動が解除されて、巻取軸6が昇降コード巻き戻し方向に自在に回転可能となる。すると、ガバナー装置38により下降速度が制限された状態でウェイトバー4がスクリーン3を巻き戻しながら下降する。
スクリーン3の引き上げ操作時に、何らかの障害物によりウェイトバー4の上昇が阻止され、あるいはウェイトバー4が上限まで引き上げられると、ボールチェーン11の操作力がトルクリミッター29、駆動軸8、巻取軸6を介して昇降コード5に作用する。そして、トルクリミッター29に75N・cmのトルクが作用すると、トルクリミッター29のリミットスプリング32が伝達軸30に対し空回りし始め、ボールチェーン11に作用する操作力が駆動軸8に伝達されなくなる。
従って、ウェイトバー4の引き上げ操作時に、ウェイトバー4の上昇が阻止されても、あるいは上限からさらに引上げ力を加えても、昇降コード5のコードジョイント12が分断されることはない。なお、各昇降コード5のコードジョイント12の保持力が85Nであれば、実際には昇降コード5は複数本であるため、その本数をn本としたとき(85×n)N・cmのトルクが巻取軸6に作用しなければ、コードジョイント12は分断されない。
一方、昇降コード5が室内を移動する居住者やその他の移動物体に引っ掛かって、コードジョイント12に85N以上の引張り力が作用すると、ジョイント部材13a,13bの少なくともいずれかと連結部材14との嵌合が外れて分断される。
従って、昇降コード5が室内を移動する居住者やその他の移動物体に引っ掛かっても、その移動に支障をきたすことはない。また、ボールチェーン11が室内を移動する居住者やその他の移動物体に引っ掛かって、ボールチェーン11に95N以上の引張り力が作用すると、連結部34が外れて分断される。
従って、ボールチェーン11が室内を移動する居住者やその他の移動物体に引っ掛かっても、その移動に支障をきたすことはない。上記のように構成されたロールアップブラインドの昇降装置では、次に示す効果を得ることができる。
(1)昇降コード5に居住者等が引っ掛かった場合には、コードジョイント12でジョイント本体13a,13bが分断される。従って、昇降コード5にフェイルセーフ機能を備えることができる。
(2)スクリーン3の引き上げ操作時に、ウェイトバー4の上昇が阻害されても、コードジョイント12の分断に先立ってトルクリミッター29が滑り始める。従って、ウェイトバー4の引き上げ操作時に、コードジョイント12の分断によるウェイトバー4の落下を未然に防止することができる。
(3)コードジョイント12が分断された後は、ジョイント本体13a,13bを連結部材14で連結しなおして、コードジョイント12を容易に復元することができる。
(4)ボールチェーン11に居住者等が引っ掛かった場合には、ボールチェーン11が連結部34で分断される。従って、ボールチェーン11にフェイルセーフ機能を備えることができる。
上記実施形態は、以下の態様で実施してもよい。
・ボールチェーン11の連結部34に前記トルクリミッター29の機能を備えるようにしてもよい。すなわち、上記実施形態のトルクリミッター29を省略し、連結部34の保持力を昇降コード5のコードジョイント12の保持力より小さく設定する。このような構成により、ウェイトバー4の引き上げ操作時にはコードジョイント12の分断に先立ってボールチェーン11の連結部34が分断されるので、ウェイトバー4の引き上げ操作時に、コードジョイント12の分断によるウェイトバー4の落下を未然に防止することができる。
チャイルドセーフティを実現する値の例として第3の観点の実施形態は以下のようにしても良い。
・巻取軸6の半径:10mm
・プーリー10の半径:20mm
・コードジョイント12の保持力最小値:10N
・昇降コード本数(コードジョイント個数):3
(複数の巻取軸6に作用する合計保持トルク最小値:30N・cm)
・トルクリミッター作動回転トルク最大値:20N・cm
ボールチェーン11の連結部34の分断力:15N(チェーンからプーリーにかかる最大トルクは30N・cm)
また、トルクリミッター29を省略してボールチェーンにトルクリミッター29の機能を備えるための設定値の例として第3の観点の実施形態は以下のようにしても良い。
・巻取軸6の半径:10mm
・プーリー10の半径:10mm
・コードジョイント12の保持力最小値:40N
・昇降コード本数(コードジョイント個数):2
(複数の巻取軸6に作用する合計保持トルク最小値:80N・cm)
・ボールチェーン11に代えて、フェイルセーフ機能を備えた操作コードとしてもよい。
・トルクリミッターは、リミットスプリング以外に、皿ばね、コイルスプリング、弾性を有するゴム材等を使用してもよい。
・プーリーと伝達軸との間に粘度の高いオイルを充填させて摩擦力を得ても良い。
(本発明の第1の観点の実施形態での符号)
1...ヘッドボックス、2...遮蔽材(上部スクリーン)、4...遮蔽材(下部スクリーン)、11,12...駆動軸、13...操作装置、15...プーリー、16...操作コード(ボールチェーン)、17,51...伝達軸(ギヤ軸)、18...トルクリミッター(付勢手段、リミットスプリング)、32...連結部、58...トルクリミッター(付勢手段、皿ばね)。
(本発明の第2の観点の実施形態での符号)
1...ヘッドボックス、15...操作ユニット、17...プーリー、18...操作コード(ボールチェーン)、19a,19b...固定装置、20...壁面、22,24...シャフト、27...トルクリミッター(駆動ギヤ)、28...トルクリミッター(カム部材)、30a〜30d...トルク吸収手段(凹凸部)、32...トルクリミッター(トルク吸収手段、付勢手段、コイルスプリング)、35...連結部、41...連結解除手段(嵌合突部)、45...連結解除手段(嵌合孔)。
(本発明の第3の観点の実施形態での符号)
1...ヘッドボックス、3...スクリーン、4...ウェイトバー、5...昇降コード、6...巻取り装置(巻取軸)、8...駆動軸、9...操作装置、10...プーリー、11...操作コード(ボールチェーン)、12...コードジョイント、13a,13b...ジョイント本体、14...連結部材、18...嵌合突部、29...伝達トルク制限装置(トルクリミッター)、34...連結部。

Claims (7)

  1. ヘッドボックスの両端部に固定装置を設け、前記固定装置から対向する壁面に向かって突出するシャフトの突っ張り力で前記ヘッドボックスを前記壁面間に固定し、前記ヘッドボックスに設けた操作ユニットから無端状の操作コードを垂下し、該操作コードの操作により前記ヘッドボックスに支持される日射遮蔽材を駆動する日射遮蔽装置において、
    前記操作ユニットには、前記操作コードの操作に基づいて前記ヘッドボックスに作用する引っ張り力と前記ヘッドボックスに作用する前記日射遮蔽装置の重量との総和を、前記固定装置の突っ張り力による保持力を越えない範囲に制限するトルクリミッターを備えたことを特徴とする日射遮蔽装置の操作装置。
  2. 前記操作コードは、連結部を介して無端状に形成し、前記連結部には前記ヘッドボックスを落下させる引張り力より小さい引張り力で連結を解除する連結解除手段を備えたことを特徴とする請求項1記載の日射遮蔽装置の操作装置。
  3. 前記トルクリミッターは、
    前記操作コードの操作に基づいて回転されるプーリーと、
    前記プーリーの回転に基づいて回転される駆動ギヤと、
    前記プーリーと駆動ギヤとの間に介在されて、前記プーリーに作用する回転トルクを制限するトルク吸収手段と
    を備えたことを特徴とする請求項1又は2に記載の日射遮蔽装置の操作装置。
  4. 前記トルク吸収手段は、
    前記プーリーと一体に回転するカム部材と、
    前記カム部材と前記駆動ギヤとにそれぞれ設けられて、互いに係合する凹凸部と、
    前記凹凸部の係合を弾性的に保持する付勢手段と
    を備えたことを特徴とする請求項3記載の日射遮蔽装置の操作装置。
  5. ヘッドボックスの両端部に固定装置を設け、前記固定装置から対向する壁面に向かって突出するシャフトの突っ張り力で前記ヘッドボックスを前記壁面間に固定し、前記ヘッドボックスに設けた操作ユニットから連結部で無端状に形成された操作コードを垂下し、該操作コードの操作により前記ヘッドボックスに支持される日射遮蔽材を駆動する日射遮蔽装置において、
    前記連結部には、前記操作コードの操作に基づいて前記ヘッドボックスに作用する引っ張り力と前記ヘッドボックスに作用する前記日射遮蔽装置の重量との総和を、前記固定装置の突っ張り力を越えない範囲に制限する連結解除手段を備えたことを特徴とする日射遮蔽装置の操作装置。
  6. 前記固定装置には、
    前記シャフトに前記突っ張り力として一定の付勢力を付与する付勢手段と、
    前記付勢力を前記シャフトに付与する状態と、付与しない状態とを選択可能としたカム機構と
    を備えたことを特徴とする請求項1乃至5のいずれか1項に記載の日射遮蔽装置の操作装置。
  7. 前記操作コードの操作に基づいて前記ヘッドボックスに作用する引っ張り力と、前記ヘッドボックスに作用する前記日射遮蔽装置の重量と、前記操作コードの連結部の連結が解除される引張り力の少なくともいずれかを、安全率を見込んで設定することを特徴とする請求項1乃至6のいずれか1項に記載の日射遮蔽装置の操作装置。
JP2015159425A 2010-04-12 2015-08-12 日射遮蔽装置の操作装置 Expired - Fee Related JP6246162B2 (ja)

Priority Applications (1)

Application Number Priority Date Filing Date Title
JP2015159425A JP6246162B2 (ja) 2010-04-12 2015-08-12 日射遮蔽装置の操作装置

Applications Claiming Priority (7)

Application Number Priority Date Filing Date Title
JP2010091737 2010-04-12
JP2010091737 2010-04-12
JP2010244700 2010-10-29
JP2010244700 2010-10-29
JP2011011426 2011-01-21
JP2011011426 2011-01-21
JP2015159425A JP6246162B2 (ja) 2010-04-12 2015-08-12 日射遮蔽装置の操作装置

Related Parent Applications (1)

Application Number Title Priority Date Filing Date
JP2012510661A Division JP5877151B2 (ja) 2010-04-12 2011-04-12 日射遮蔽装置の操作装置、ロールアップブラインドの昇降装置、操作プーリー

Related Child Applications (1)

Application Number Title Priority Date Filing Date
JP2017125086A Division JP6346352B2 (ja) 2010-04-12 2017-06-27 日射遮蔽装置の操作装置

Publications (2)

Publication Number Publication Date
JP2016006291A true JP2016006291A (ja) 2016-01-14
JP6246162B2 JP6246162B2 (ja) 2017-12-13

Family

ID=44798716

Family Applications (4)

Application Number Title Priority Date Filing Date
JP2012510661A Active JP5877151B2 (ja) 2010-04-12 2011-04-12 日射遮蔽装置の操作装置、ロールアップブラインドの昇降装置、操作プーリー
JP2015159430A Active JP6073427B2 (ja) 2010-04-12 2015-08-12 日射遮蔽装置の操作装置、ロールアップブラインドの昇降装置、操作プーリー
JP2015159425A Expired - Fee Related JP6246162B2 (ja) 2010-04-12 2015-08-12 日射遮蔽装置の操作装置
JP2017125086A Active JP6346352B2 (ja) 2010-04-12 2017-06-27 日射遮蔽装置の操作装置

Family Applications Before (2)

Application Number Title Priority Date Filing Date
JP2012510661A Active JP5877151B2 (ja) 2010-04-12 2011-04-12 日射遮蔽装置の操作装置、ロールアップブラインドの昇降装置、操作プーリー
JP2015159430A Active JP6073427B2 (ja) 2010-04-12 2015-08-12 日射遮蔽装置の操作装置、ロールアップブラインドの昇降装置、操作プーリー

Family Applications After (1)

Application Number Title Priority Date Filing Date
JP2017125086A Active JP6346352B2 (ja) 2010-04-12 2017-06-27 日射遮蔽装置の操作装置

Country Status (11)

Country Link
US (1) US9151109B2 (ja)
EP (1) EP2559840B1 (ja)
JP (4) JP5877151B2 (ja)
KR (1) KR101851747B1 (ja)
CN (1) CN102844517B (ja)
AU (1) AU2011241577B2 (ja)
BR (1) BR112012026042B1 (ja)
CA (1) CA2832714C (ja)
MY (1) MY157245A (ja)
SG (1) SG184514A1 (ja)
WO (1) WO2011129345A1 (ja)

Families Citing this family (30)

* Cited by examiner, † Cited by third party
Publication number Priority date Publication date Assignee Title
CN102597408B (zh) * 2009-11-02 2014-12-17 立川窗饰工业株式会社 遮蔽装置及用于遮蔽装置的离合器
JP5814273B2 (ja) * 2010-03-10 2015-11-17 インビド アクティエボラーグ 柔軟性のあるベネチアン・ブラインド
BR112012026042B1 (pt) * 2010-04-12 2021-03-16 Tachikawa Corporation polia de operação, dispositivo de operação de um dispositivo de obstrução da luz solar e dispositivo de elevação de persiana de enrolar
JP6038495B2 (ja) * 2012-03-09 2016-12-07 立川ブラインド工業株式会社 ロールブラインドの操作装置及び巻取軸のパイプキャップ
JP6133699B2 (ja) * 2013-06-14 2017-05-24 立川ブラインド工業株式会社 日射遮蔽装置の駆動操作装置
TWM467415U (zh) * 2013-07-04 2013-12-11 Cheng Tian Co Ltd 窗簾珠鍊之安全組件結構
WO2015008799A1 (ja) * 2013-07-18 2015-01-22 立川ブラインド工業 株式会社 カーテンアクセサリー
DE102013107990A1 (de) * 2013-07-26 2015-01-29 Gerhard Geiger GmbH & Co. KG Hebewinde für Rolläden, Jalousien und dgl.
US20150152681A1 (en) * 2013-12-04 2015-06-04 Tser Wen Chou Curtain cord winder structure
CN203742411U (zh) * 2014-01-24 2014-07-30 亿丰综合工业股份有限公司 百叶帘
CN204126527U (zh) * 2014-08-19 2015-01-28 亿丰综合工业股份有限公司 窗帘及其遮蔽结构的升降控制模块
CN205532187U (zh) * 2016-01-29 2016-08-31 亿丰综合工业股份有限公司 窗帘升降控制结构
CN205400553U (zh) * 2016-03-04 2016-07-27 关健民 一种窗帘
TWI581740B (zh) * 2016-07-15 2017-05-11 程田有限公司 窗簾控制器之安全裝置
CN206545471U (zh) * 2016-10-20 2017-10-10 亿丰综合工业股份有限公司 卷帘支撑结构
CN106869743B (zh) * 2016-12-31 2018-11-27 重庆大学 用于户外巨型墙幕系统中的缠绕式自平衡上下开合机构
CN106837141B (zh) * 2016-12-31 2019-03-05 重庆大学 基于上下对开结构的单元组合式户外巨型幕墙系统
JP6901282B2 (ja) * 2017-02-28 2021-07-14 立川ブラインド工業株式会社 ロールアップブラインド
JP6802089B2 (ja) * 2017-02-28 2020-12-16 立川ブラインド工業株式会社 遮蔽装置および巻取装置
TWI640280B (zh) * 2017-11-02 2018-11-11 Chen Tian Co., Ltd. 窗簾安全控制器無螺絲組裝結構
TWI670033B (zh) * 2017-11-02 2019-09-01 Chen Tian Co., Ltd. 窗簾控制器無螺絲組裝結構
US11643864B2 (en) 2018-01-23 2023-05-09 Pella Corporation Screen edge retention and screen rethreading features for a hidden screen assembly and a fenestration assembly
US10612590B2 (en) * 2018-01-24 2020-04-07 New-Field Energy, LLC Buoyancy-enhanced helical loop drive system
US20190242186A1 (en) * 2018-02-06 2019-08-08 Tser Wen Chou Horizontal blind structure
JP7090457B2 (ja) * 2018-04-05 2022-06-24 立川ブラインド工業株式会社 遮蔽装置、及び遮蔽材駆動装置
EP3954859A4 (en) * 2019-04-12 2022-06-22 Tachikawa Corporation Ball chain and shade device
JP7502013B2 (ja) * 2019-10-25 2024-06-18 立川ブラインド工業株式会社 ボールチェーン
US20230332461A1 (en) * 2019-10-01 2023-10-19 Union Winner International Co., Ltd. Venetian blind
CA3107553C (en) 2020-01-31 2023-08-22 Pella Corporation Integrated pleated screen assembly
TWI763561B (zh) * 2021-07-20 2022-05-01 型態同步科技股份有限公司 機械式多段速阻尼器

Citations (6)

* Cited by examiner, † Cited by third party
Publication number Priority date Publication date Assignee Title
JPH01168696U (ja) * 1988-05-13 1989-11-28
JPH035680Y2 (ja) * 1984-01-26 1991-02-13
JP2001207754A (ja) * 2000-01-25 2001-08-03 Tachikawa Blind Mfg Co Ltd 日射遮蔽装置のヘッドボックス固定装置
JP2003184456A (ja) * 2001-12-20 2003-07-03 Yokota:Kk 日除け部材の操作コード
JP2007177440A (ja) * 2005-12-27 2007-07-12 Tachikawa Blind Mfg Co Ltd 操作コード接続具及び操作コード接続具の製造方法
JP2010156143A (ja) * 2008-12-26 2010-07-15 Tachikawa Blind Mfg Co Ltd ブラインドの操作装置

Family Cites Families (63)

* Cited by examiner, † Cited by third party
Publication number Priority date Publication date Assignee Title
JPS6132076Y2 (ja) * 1980-08-29 1986-09-18
SE8106945L (sv) * 1981-11-23 1983-05-24 Stig Jung Anordning vid rullgardinhiss
FR2519063A1 (fr) * 1981-12-30 1983-07-01 Carpano & Pons Dispositif auxiliaire de commande pour portes ou grilles enroulables, portes selectionnelles ou similaires
JPH057433Y2 (ja) * 1986-07-05 1993-02-24
JPH0544479Y2 (ja) * 1988-05-11 1993-11-11
JP2656147B2 (ja) * 1990-10-13 1997-09-24 立川ブラインド工業株式会社 ロールブラインドのスクリーン昇降装置
JPH05295642A (ja) * 1992-04-09 1993-11-09 Yoshida Kogyo Kk <Ykk> 長尺ボールチェーンと継ぎ具
JP2695584B2 (ja) * 1992-11-09 1997-12-24 株式会社ニチベイ ブラインド取付装置
DE4239507C2 (de) * 1992-11-25 1995-03-23 Benthin Management Gmbh Rolloantrieb
US5566741A (en) * 1993-06-02 1996-10-22 Kabushiki Kaisha Nichibei Roll screen apparatus
US5361822A (en) * 1994-01-04 1994-11-08 Nysan Shading Systems Ltd. Shade operator
DE29514535U1 (de) * 1995-09-09 1995-10-26 MHZ Hachtel GmbH + Co, 97996 Niederstetten Verbindungsschloß für Perlketten
US5669432A (en) * 1996-03-28 1997-09-23 Nisenson; Jules Automatic-locking mechanical drive construction
US6116325A (en) 1997-04-02 2000-09-12 Hunter Douglas Inc. Break away operating cord system for retractable coverings for architectural openings
US6123140A (en) * 1997-05-20 2000-09-26 Sunproject S.R.L. Spring device for rolling up a roller curtain
US5875829A (en) * 1997-08-23 1999-03-02 Chou; Tser-Wen Bearing structure for vertical blinds and roller shades
US6138740A (en) * 1997-08-23 2000-10-31 Chou; Tser-Wen Bearing structure for vertical blinds and roller shades
CA2277603C (en) * 1998-07-15 2007-01-09 Konrad Welfonder A winding and unwinding mechanism for blinds and or shades
DE19834082C2 (de) * 1998-07-29 2002-06-20 Trietex Antriebstechnik Gmbh Antriebsvorrichtung für das Verschieben und Wenden der Lamellen einer Jalousie in einer Laufschiene
US6164428A (en) * 1999-08-23 2000-12-26 Joel Berman Associates, Inc. Wrap spring shade operator
US6381903B1 (en) * 2000-01-27 2002-05-07 Eddy Desrochers Auxiliary operating device for normally motor-driven closure
US6250359B1 (en) * 2000-06-06 2001-06-26 Eric W. Lorio Beaded chain for blinds
US6237669B1 (en) * 2000-07-18 2001-05-29 Kuentin Ko Tilt cord controller for venetian blinds
US20030085003A1 (en) * 2001-10-23 2003-05-08 Keng Mu Cheng Rolled-up blind driving mechanism
US6901771B2 (en) * 2002-02-21 2005-06-07 Planet Co. Jewel and personal ornament
US20040163774A1 (en) * 2002-03-07 2004-08-26 Ming Nien Venetian blind having dual-drive mechanism
ES2306866T5 (es) * 2002-03-20 2012-11-29 Rollease, Inc. Un embrague de toldo de rodillo con engranaje interno
US6860312B2 (en) * 2002-09-27 2005-03-01 Ren Judkins Roll-up shade with cord capture
US6739373B1 (en) * 2003-03-10 2004-05-25 Tai-Ping Liu Lift control device for a roller shade
TWM245915U (en) * 2003-07-30 2004-10-11 Nien Made Entpr Co Ltd Safe release device for curtain string
TWM253301U (en) * 2003-10-22 2004-12-21 Nien Made Entpr Co Ltd Magnetic curtain rope safety release device
JP4695910B2 (ja) 2005-03-31 2011-06-08 立川ブラインド工業株式会社 ロールアップブラインドの昇降装置
US20070119552A1 (en) * 2005-11-29 2007-05-31 Wen-Ren Wang Window curtain rolling device
TWM290529U (en) * 2005-12-02 2006-05-11 Ching Feng Home Fashions Co Structure of bead chain controller for window covering
KR100658640B1 (ko) * 2006-02-06 2006-12-19 곽재석 롤 스크린의 자동 승강 구동장치
DE202006004867U1 (de) * 2006-03-28 2006-06-01 Marion Peplies E.K. Dekoprofiltechnik Getriebe zum Heben und Senken einer Vorhangbahn
TWM301271U (en) * 2006-04-25 2006-11-21 Feng-Chin Liou Beaded-chain wheel for curtain
KR100768403B1 (ko) * 2006-07-05 2007-10-18 김정민 듀얼 롤 블라인드 시스템
CA2661260C (en) * 2006-09-01 2015-01-27 Hunter Douglas Industries B.V. Operating and mounting system for a window covering
GB0700706D0 (en) * 2007-01-13 2007-02-21 Mccormick Gregory R Controlling a position of a hanging flexible covering
US7632018B2 (en) * 2007-03-08 2009-12-15 Hiwin Technologies Corp. Synchronous chain for a linear guideway
JP2009062778A (ja) * 2007-09-07 2009-03-26 Nanik Japan Inc ブラインド用安全装置及びブラインド
US20080251624A1 (en) * 2007-04-10 2008-10-16 Fraczek Richard R Shade lifting mechanism
JP5075501B2 (ja) * 2007-06-25 2012-11-21 立川ブラインド工業株式会社 日射遮蔽装置の遮蔽材昇降方法及び遮蔽材昇降装置
CA2710790C (en) * 2008-01-04 2016-02-02 Hunter Douglas Industries B.V. Operating unit for architectural coverings
AT507095B1 (de) * 2009-01-27 2010-02-15 Kraler Franz Antriebs- und wendevorrichtung für die lamellen einer jalousie
AU2010200306B2 (en) * 2009-02-09 2014-08-28 Hunter Douglas Industries B.V. A covering for an architectural opening
NZ583118A (en) * 2009-02-09 2010-06-25 Carmelo Joseph Licciardi Di St A winding mechanism for a window blind with open and closed positions for attaching the pull cord
CN102597408B (zh) * 2009-11-02 2014-12-17 立川窗饰工业株式会社 遮蔽装置及用于遮蔽装置的离合器
US20110108216A1 (en) * 2009-11-10 2011-05-12 Levin Steven J Systems and Methods For Providing A Safety Cord For Window Covering Systems
US20110108215A1 (en) * 2009-11-10 2011-05-12 Levin Steven J Systems and methods for providing a safety cord for window covering systems
US20110108205A1 (en) * 2009-11-10 2011-05-12 Levin Steven J Systems And Methods For Providing A Safety Cord For Window Covering Systems
TWM400279U (en) * 2010-02-05 2011-03-21 Vikson Entpr Co Ltd Safety docking components set used for curtain string
BR112012026042B1 (pt) * 2010-04-12 2021-03-16 Tachikawa Corporation polia de operação, dispositivo de operação de um dispositivo de obstrução da luz solar e dispositivo de elevação de persiana de enrolar
JP5548013B2 (ja) * 2010-04-14 2014-07-16 株式会社ニチベイ ブラインド
US8898871B2 (en) * 2010-04-30 2014-12-02 Tachikawa Corporation Operation cord, and operation apparatus for sunlight shielding apparatus
US9714539B2 (en) * 2011-01-06 2017-07-25 Hunter Douglas Industries Bv Winding shaft drive for operating a retractable architectural covering and shaft brake module for use therein
JP5666965B2 (ja) * 2011-04-08 2015-02-12 トーソー株式会社 日射遮蔽装置
US8336598B1 (en) * 2011-11-10 2012-12-25 Rising Sun Development Co., Ltd. Safety device for a roller blind
TWM440739U (en) * 2012-04-06 2012-11-11 zhe-wen Zhou Controller for roller curtain
TWM442105U (en) * 2012-08-08 2012-12-01 Uni Soleil Ent Co Ltd Improved roller blind controller
US20140130989A1 (en) * 2012-11-12 2014-05-15 Louis Chan Window dressing control device
US20140338847A1 (en) * 2013-05-17 2014-11-20 Uni-Soleil Ent. Co., Ltd. Curtain control assembly

Patent Citations (6)

* Cited by examiner, † Cited by third party
Publication number Priority date Publication date Assignee Title
JPH035680Y2 (ja) * 1984-01-26 1991-02-13
JPH01168696U (ja) * 1988-05-13 1989-11-28
JP2001207754A (ja) * 2000-01-25 2001-08-03 Tachikawa Blind Mfg Co Ltd 日射遮蔽装置のヘッドボックス固定装置
JP2003184456A (ja) * 2001-12-20 2003-07-03 Yokota:Kk 日除け部材の操作コード
JP2007177440A (ja) * 2005-12-27 2007-07-12 Tachikawa Blind Mfg Co Ltd 操作コード接続具及び操作コード接続具の製造方法
JP2010156143A (ja) * 2008-12-26 2010-07-15 Tachikawa Blind Mfg Co Ltd ブラインドの操作装置

Also Published As

Publication number Publication date
JP5877151B2 (ja) 2016-03-02
CA2832714C (en) 2017-10-03
EP2559840B1 (en) 2018-03-21
JP6346352B2 (ja) 2018-06-20
KR20130038855A (ko) 2013-04-18
US9151109B2 (en) 2015-10-06
HK1173759A1 (zh) 2013-05-24
JP6073427B2 (ja) 2017-02-01
EP2559840A4 (en) 2015-06-03
CN102844517B (zh) 2016-01-20
JP2017160786A (ja) 2017-09-14
KR101851747B1 (ko) 2018-04-24
CN102844517A (zh) 2012-12-26
BR112012026042B1 (pt) 2021-03-16
AU2011241577B2 (en) 2014-07-17
JPWO2011129345A1 (ja) 2013-07-18
BR112012026042A2 (pt) 2020-08-18
CA2832714A1 (en) 2011-10-20
EP2559840A1 (en) 2013-02-20
SG184514A1 (en) 2012-11-29
MY157245A (en) 2016-05-13
US20130056164A1 (en) 2013-03-07
AU2011241577A1 (en) 2012-11-08
JP6246162B2 (ja) 2017-12-13
WO2011129345A1 (ja) 2011-10-20
JP2016006292A (ja) 2016-01-14

Similar Documents

Publication Publication Date Title
JP6346352B2 (ja) 日射遮蔽装置の操作装置
KR20170105568A (ko) 윈도우 쉐이드 및 그 제어 시스템
JP2008231913A (ja) 日射遮蔽材昇降装置
JP4729595B2 (ja) 日射遮蔽材昇降装置
JP5721343B2 (ja) 昇降装置、操作コード
JP6077514B2 (ja) 遮蔽装置
JP5650832B2 (ja) 遮蔽装置
JP5859801B2 (ja) 日射遮蔽装置
JP4119692B2 (ja) 日射遮蔽材昇降装置
JP4474090B2 (ja) 日射遮蔽材昇降装置
JP5214640B2 (ja) 日射遮蔽材昇降装置
JP5421069B2 (ja) 遮蔽装置
JP6313486B2 (ja) 遮蔽装置
JP4729274B2 (ja) 日射遮蔽装置の遮蔽材昇降装置
JP5309241B2 (ja) 日射遮蔽材昇降装置
CN1910334B (zh) 日射遮蔽材料升降装置
JP2006083583A (ja) 横型ブラインドのスラット駆動装置及び日射遮蔽装置の遮蔽材昇降装置
HK1173759B (en) Operation device for solar shading device, lifting device for roll-up shade, and operating pulley
JP2012140862A (ja) 日射遮蔽材昇降装置

Legal Events

Date Code Title Description
A131 Notification of reasons for refusal

Free format text: JAPANESE INTERMEDIATE CODE: A131

Effective date: 20160823

A02 Decision of refusal

Free format text: JAPANESE INTERMEDIATE CODE: A02

Effective date: 20170328

A521 Request for written amendment filed

Free format text: JAPANESE INTERMEDIATE CODE: A523

Effective date: 20170907

A61 First payment of annual fees (during grant procedure)

Free format text: JAPANESE INTERMEDIATE CODE: A61

Effective date: 20171114

R150 Certificate of patent or registration of utility model

Ref document number: 6246162

Country of ref document: JP

Free format text: JAPANESE INTERMEDIATE CODE: R150

R250 Receipt of annual fees

Free format text: JAPANESE INTERMEDIATE CODE: R250

R250 Receipt of annual fees

Free format text: JAPANESE INTERMEDIATE CODE: R250

R250 Receipt of annual fees

Free format text: JAPANESE INTERMEDIATE CODE: R250

LAPS Cancellation because of no payment of annual fees