JP2012166311A - 回転リミット装置の消音装置 - Google Patents
回転リミット装置の消音装置 Download PDFInfo
- Publication number
- JP2012166311A JP2012166311A JP2011029642A JP2011029642A JP2012166311A JP 2012166311 A JP2012166311 A JP 2012166311A JP 2011029642 A JP2011029642 A JP 2011029642A JP 2011029642 A JP2011029642 A JP 2011029642A JP 2012166311 A JP2012166311 A JP 2012166311A
- Authority
- JP
- Japan
- Prior art keywords
- guide groove
- stopper member
- silencer
- rotating body
- limit device
- Prior art date
- Legal status (The legal status is an assumption and is not a legal conclusion. Google has not performed a legal analysis and makes no representation as to the accuracy of the status listed.)
- Granted
Links
Images
Landscapes
- Manipulator (AREA)
- Vibration Dampers (AREA)
Abstract
【課題】二つの回転体の動作を不安定にすることなく、ストッパ部材の衝突音を効果的に減少させる回転リミット装置の消音装置を提供すること。
【解決手段】消音装置は、第1ガイド溝11及び第2ガイド溝12の停止位置11A,11B,12A,12Bの、ストッパ部材21の移動方向と平行な溝側面に突設されて、ストッパ部材21が第1ガイド溝11あるいは第2ガイド溝12の溝端面に衝突するとき、ストッパ部材21の移動方向に平行な面に接触してストッパ部材21の運動エネルギーを減衰させる緩衝部材31を含んでいる。
【選択図】 図5
【解決手段】消音装置は、第1ガイド溝11及び第2ガイド溝12の停止位置11A,11B,12A,12Bの、ストッパ部材21の移動方向と平行な溝側面に突設されて、ストッパ部材21が第1ガイド溝11あるいは第2ガイド溝12の溝端面に衝突するとき、ストッパ部材21の移動方向に平行な面に接触してストッパ部材21の運動エネルギーを減衰させる緩衝部材31を含んでいる。
【選択図】 図5
Description
本発明は、回転リミット装置のガイド溝内を移動するストッパ部材の溝端面との衝突音を減少させる消音装置に関するものである。
例えば、ロボットなどの回転関節部では、回転関節が回転しすぎないように、回転量を所定の角度に制限する回転リミット装置を備える場合がある。回転リミット装置は、軸受などの回転支持部材によって回転自在に連結された二つの回転体間に設けられ、回転体の対向面に形成されたと円弧状のガイド溝と、このガイド溝に移動可能に収納されたストッパ部材とを有し、二つの回転体間の回転可能角度を所定の角度に制限する。
このような構造を持つ回転リミット装置では、ストッパ部材がガイド溝端面へ当接する際、衝突音が発生する。例えば、特許文献1や特許文献2には、ガイド溝端面に弾性部材を設けて衝突音を緩和する提案がされている。
しかしながら、上記特許文献1や特許文献2に開示の技術によれば、ストッパ部材がガイド溝端部で跳ね返り、他方の回転体の突出部と衝突し新たな衝突音が発生するので、衝突音が完全に消える効果は期待できない。また、ストッパ部材がガイド溝端部で跳ね返ることで、二つの回転体の動作が不安定となるといった問題があった。
本発明は、上記に鑑みてなされたものであって、二つの回転体の動作を不安定にすることなく、ストッパ部材の衝突音を効果的に減少させる回転リミット装置の消音装置を提供することを目的とする。
上述した課題を解決し、目的を達成するために、本発明にかかる回転リミット装置の消音装置は、互いの対向面を対向させ回転支持部材によって回転自在に連結された第1回転体と第2回転体とに設けられ、第1回転体の対向面に回転軸を中心として所定の半径で形成された円弧状のガイド溝と、第2回転体の対向面に突設され先端部をガイド溝に移動可能に収納され、ガイド溝の両端の停止位置で押し止められて、第1回転体と第2回転体との間の回転可能角度を、所定の角度に制限するストッパ部材と、を備えた回転リミット装置の動作時の衝突音を削減する消音装置であり、ガイド溝の停止位置の、ストッパ部材の移動方向と平行な溝側面に突設されて、ストッパ部材がガイド溝の溝端面に衝突するとき、ストッパ部材の移動方向に平行な面に接触してストッパ部材を挟み込んでストッパ部材の運動エネルギーを減衰させる緩衝部材を含むことを特徴とする。
また、本発明にかかる他の回転リミット装置の消音装置は、互いの対向面を対向させ回転支持部材によって回転自在に連結された第1回転体と第2回転体とに設けられ、第1回転体の対向面に回転軸を中心として所定の半径で形成された円弧状の第1ガイド溝と、第2回転体の対向面に回転軸を中心として第1ガイド溝と同じ半径で、第1ガイド溝に少なくとも所定の長さ重なる円弧状の第2ガイド溝と、片側を第1ガイド溝に移動可能に収納され、他側を第2ガイド溝に移動可能に収納され、第1ガイド溝の両端の停止位置及び第2ガイド溝の両端の停止位置で押し止められて、第1回転体と第2回転体との間の回転可能角度を、所定の角度に制限するストッパ部材と、を備えた回転リミット装置の動作時の衝突音を削減する消音装置であり、第1ガイド溝及び第2ガイド溝の少なくともどちらか一方の停止位置の、ストッパ部材の移動方向と平行な溝側面に突設されて、ストッパ部材が第1ガイド溝あるいは第2ガイド溝の溝端面に衝突するとき、ストッパ部材の移動方向に平行な面に接触してストッパ部材を挟み込んでストッパ部材の運動エネルギーを減衰させる緩衝部材を含むことを特徴とする。
本発明にかかる回転リミット装置の消音装置によれば、緩衝部材は、ガイド溝の停止位置の、ストッパ部材の移動方向と平行な溝側面に突設されて、ストッパ部材がガイド溝の溝端面に衝突するとき、ストッパ部材の移動方向に平行な面に接触してストッパ部材を挟み込んでストッパ部材の運動エネルギーを減衰させるので、ストッパ部材がガイド溝端部で跳ね返ることが無く、二つの回転体の動作を不安定にすることなく、ストッパ部材の衝突音を効果的に減少させるという効果を奏する。
以下に、本発明にかかる回転リミット装置の消音装置の実施の形態を図面に基づいて詳細に説明する。なお、この実施の形態によりこの発明が限定されるものではない。
実施の形態1.
図1は、実施の形態1の消音装置が適用された回転リミット装置の縦断面図である。図2は、図1のA−A線に沿う矢視図である。図3は、図1のB−B線に沿う矢視図である。本実施の形態の消音装置は、図1から3に示すような回転リミット装置に適用される。回転リミット装置は、軸受(回転支持部材)3によって回転自在に連結された第1回転体1と第2回転体2とを有する構造に適用されている。
図1は、実施の形態1の消音装置が適用された回転リミット装置の縦断面図である。図2は、図1のA−A線に沿う矢視図である。図3は、図1のB−B線に沿う矢視図である。本実施の形態の消音装置は、図1から3に示すような回転リミット装置に適用される。回転リミット装置は、軸受(回転支持部材)3によって回転自在に連結された第1回転体1と第2回転体2とを有する構造に適用されている。
回転リミット装置は、第1回転体1の対向面に回転軸を中心として所定の半径で形成された円弧状の第1ガイド溝11と、第2回転体2の対向面に回転軸を中心として第1ガイド溝11と同じ半径で、第1ガイド溝11に少なくとも所定の長さ重なる円弧状の第2ガイド溝12と、片側を第1ガイド溝11に移動可能に収納され他側を第2ガイド溝12に移動可能に収納されたコマ状のストッパ部材21とから構成され、第1回転体1に対する第2回転体2の回転可能角度を所定の角度に制限する。
ストッパ部材21は、第1ガイド溝11内を図2に矢印にて示すように移動可能とされている。そして、ストッパ部材21は、第1ガイド溝11の両端の停止位置11A,11Bにて溝の端面に当接して押し止められる。また、ストッパ部材21は、第2ガイド溝12内を図3に矢印にて示すように移動可能とされており、第2ガイド溝12の両端の停止位置12A,12Bにて溝の端面に当接して押し止められる。これにより、第1回転体1と第2回転体2との間の回転可能角度は、所定の角度、すなわち、概略第1ガイド溝11に第2ガイド溝12を加算した角度からストッパ部材21の長さを減算した角度に制限される。
なお、このストッパ部材21は本例のようにコマのような形状であっても良いし、円盤状の板を有し回転軸が固定され回転方向以外の移動を制限された形状であっても良い。また、ストッパ部材21は弾性を有することが必要であるが衝突エネルギーに耐えられれば、金属材料や樹脂材料でもよい。
消音装置は、第1ガイド溝11及び第2ガイド溝12の各停止位置11A,11B,12A,12Bに設けられた緩衝部材31で構成されている。緩衝部材31は、各停止位置11A,11B,12A,12Bにて、ストッパ部材21の移動方向と平行な溝側面に突設されている。図4は、図2の停止位置11B付近Cを拡大して示す拡大図である。緩衝部材31は、図4に示すように、各停止位置11Bにおいて、溝端面と溝側面との角部に頭部を飛び出すようにして埋め込まれている。緩衝部材31の突出量は、第1ガイド溝11とストッパ部材21の摩擦などを考慮し、緩衝部材31の弾性でストッパ部材21を挟み込む量に設定する。一例として0.2mm〜0.5mmの締め代を設定する。なお、他の停止位置11A,12A,12Bに設けられた緩衝部材31も同様である。
図5は、緩衝部材31の頭部が変形してストッパ部材21を挟み込んで保持した様子を示す停止位置11B付近の拡大図である。ストッパ部材21が停止位置11Bに移動すると緩衝部材31の頭部が変形して対向する溝側面との間にストッパ部材21を挟み込んで保持をする。このとき挟み込む保持力(押圧力)は、適度な大きさとなるようにして、停止位置11Bを離れて再び移動するとき容易に離脱できるようにする。緩衝部材31が弾性域内で変形することによって、溝端面とストッパ部材21の当接面に影響を与えることはなく、衝突強度を低下させることはない。
このように本実施の形態の回転リミット装置の消音装置によれば、軸受3によって回転自在に連結された第1回転体1と第2回転体2とに設けられた回転リミット装置の動作時の衝突音を削減する消音装置であり、回転リミット装置は、第1回転体1の対向面に回転軸を中心として所定の半径で形成された円弧状の第1ガイド溝11と、第2回転体2の対向面に回転軸を中心として第1ガイド溝11と同じ半径で、第1ガイド溝11に少なくとも所定の長さ重なる円弧状の第2ガイド溝12と、これら第1ガイド溝11と第2ガイド溝12に収納されたストッパ部材21とを有している。
そして、ストッパ部材21は、片側を第1ガイド溝11に移動可能に収納され、他側を第2ガイド溝12に移動可能に収納され、第1ガイド溝11の両端の停止位置及び第2ガイド溝12の両端の停止位置11A,11B,12A,12Bで押し止められて、第1回転体1と第2回転体2との間の回転可能角度を、概略第1ガイド溝11に第2ガイド溝12を加算した角度に制限する。
そしてさらに、緩衝部材31(消音装置)は、第1ガイド溝11及び第2ガイド溝12の両端の停止位置11A,11B,12A,12Bの、ストッパ部材21の移動方向と平行な溝側面に突設されて、ストッパ部材21が第1ガイド溝11あるいは第2ガイド溝12の溝端面に衝突するとき、ストッパ部材21の移動方向に平行な面に接触してストッパ部材21の運動エネルギーを減衰させるので、ストッパ部材21がガイド溝端部で跳ね返ることが無く、第1回転体1と第2回転体2の動作を不安定することなく、ストッパ部材21の衝突音を効果的に減少させることができる。
なお、緩衝部材31(消音装置)は、第1回転体1と第2回転体2の両方に設置しても良いが、第1ガイド溝11と第2ガイド溝12との間に長さの違いがある場合は、ストッパ部材21との衝突回数が多くなる短い第1ガイド溝11のみに設置しても所定の効果は得られる。
また、本実施の形態の緩衝部材31(消音装置)が適用された回転リミット装置は、第1回転体1と第2回転体2の両方にそれぞれ、第1ガイド溝11と第2ガイド溝12を有するものであるが、片側の回転体、例えば、第1回転体1にのみガイド溝が設けられ、対向する第2回転体2にストッパ部材が突設されているような回転リミット装置に適用されてもよい。
実施の形態2.
図6は、実施の形態2の消音装置を示す停止位置11B付近の拡大図である。本実施の形態の緩衝部材32によれば、緩衝部材32の頭部のストッパ部材21との接触面は、溝端面に対して反対側が低くなるように傾斜している。すなわち、緩衝部材32の頂面を斜めに加工した例である。このように加工することで、ストッパ部材21が停止位置11Bで挟み込まれ易くしている。なお、他の停止位置11A,12A,12Bに設けられた図示しない緩衝部材も同様である。
図6は、実施の形態2の消音装置を示す停止位置11B付近の拡大図である。本実施の形態の緩衝部材32によれば、緩衝部材32の頭部のストッパ部材21との接触面は、溝端面に対して反対側が低くなるように傾斜している。すなわち、緩衝部材32の頂面を斜めに加工した例である。このように加工することで、ストッパ部材21が停止位置11Bで挟み込まれ易くしている。なお、他の停止位置11A,12A,12Bに設けられた図示しない緩衝部材も同様である。
実施の形態3.
図7は、実施の形態3の消音装置を示す停止位置11B付近の拡大図である。図8は、ストッパ部材の係合部に緩衝部材の被係合部が係合した様子を示す拡大図である。本実施の形態によれば、ストッパ部材22は、V形切り欠き状の係合部22aを有し、一方、緩衝部材33は、係合部22aと所定の係合力にて係合してストッパ部材22を停止位置11Bに保持する山形凸状の被係合部33aを有している。このように加工することで、ストッパ部材22の保持力を向上させている。図示しない他の停止位置11A,12A,12Bに設けられた緩衝部材も同様な構造となっている。なお、係合部22a及び被係合部33aは、所定の係合力(結合力)で結合及び脱結合するものであればよく、V形切り欠き状及び山形凸状に限らず他の形状であってもよい。
図7は、実施の形態3の消音装置を示す停止位置11B付近の拡大図である。図8は、ストッパ部材の係合部に緩衝部材の被係合部が係合した様子を示す拡大図である。本実施の形態によれば、ストッパ部材22は、V形切り欠き状の係合部22aを有し、一方、緩衝部材33は、係合部22aと所定の係合力にて係合してストッパ部材22を停止位置11Bに保持する山形凸状の被係合部33aを有している。このように加工することで、ストッパ部材22の保持力を向上させている。図示しない他の停止位置11A,12A,12Bに設けられた緩衝部材も同様な構造となっている。なお、係合部22a及び被係合部33aは、所定の係合力(結合力)で結合及び脱結合するものであればよく、V形切り欠き状及び山形凸状に限らず他の形状であってもよい。
実施の形態4.
図9は、実施の形態4の消音装置を示す停止位置11B付近の拡大図である。本実施の形態の緩衝部材34は、停止位置11Bの対向する溝側面にそれぞれ設けられている。図示しない他の停止位置11A,12A,12Bに設けられた緩衝部材も同様な構造となっている。このように、緩衝部材34を停止位置の対向する溝側面にそれぞれ設けて、ストッパ部材21の保持力を向上させることも出来る。
図9は、実施の形態4の消音装置を示す停止位置11B付近の拡大図である。本実施の形態の緩衝部材34は、停止位置11Bの対向する溝側面にそれぞれ設けられている。図示しない他の停止位置11A,12A,12Bに設けられた緩衝部材も同様な構造となっている。このように、緩衝部材34を停止位置の対向する溝側面にそれぞれ設けて、ストッパ部材21の保持力を向上させることも出来る。
実施の形態5.
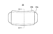
図10は、実施の形態5のストッパ部材の側面図である。図11は、図10のD−D線に沿う矢視断面図である。本実施の形態のストッパ部材23は、金属材料のストッパ本体23aの両端部を除きストッパ部材23の摺動面となる部分の表面を合成樹脂材料23bで覆っている。このような構造にすることで、衝突面の強度は低下させずに、ストッパ部材23の摺動性を向上することが出来る。
図10は、実施の形態5のストッパ部材の側面図である。図11は、図10のD−D線に沿う矢視断面図である。本実施の形態のストッパ部材23は、金属材料のストッパ本体23aの両端部を除きストッパ部材23の摺動面となる部分の表面を合成樹脂材料23bで覆っている。このような構造にすることで、衝突面の強度は低下させずに、ストッパ部材23の摺動性を向上することが出来る。
以上のように、本発明にかかる回転リミット装置の消音装置は、ロボットの回転関節部などに設けられる、円弧状のガイド溝と、このガイド溝に移動可能に収納されたストッパ部材とを有しする回転リミット装置のストッパ部材の衝突音を減少させる回転リミット装置の消音装置に適している。
1 第1回転体
2 第2回転体
3 軸受(回転支持部材)
11 第1ガイド溝
12 第2ガイド溝
11A,11B,12A,12B 停止位置
21,22,23 ストッパ部材
22a 係合部
23a ストッパ本体
23b 合成樹脂材料
31,32,33,34 緩衝部材
33a 被係合部
2 第2回転体
3 軸受(回転支持部材)
11 第1ガイド溝
12 第2ガイド溝
11A,11B,12A,12B 停止位置
21,22,23 ストッパ部材
22a 係合部
23a ストッパ本体
23b 合成樹脂材料
31,32,33,34 緩衝部材
33a 被係合部
Claims (8)
- 互いの対向面を対向させ回転支持部材によって回転自在に連結された第1回転体と第2回転体とに設けられ、
前記第1回転体の前記対向面に回転軸を中心として所定の半径で形成された円弧状のガイド溝と、
前記第2回転体の対向面に突設され先端部を前記ガイド溝に移動可能に収納され、前記ガイド溝の両端の停止位置で押し止められて、前記第1回転体と前記第2回転体との間の回転可能角度を、所定の角度に制限するストッパ部材と、を備えた回転リミット装置の動作時の衝突音を削減する消音装置であり、
前記ガイド溝の前記停止位置の、前記ストッパ部材の移動方向と平行な溝側面に突設されて、前記ストッパ部材が前記ガイド溝の溝端面に衝突するとき、前記ストッパ部材の移動方向に平行な面に接触して前記ストッパ部材を挟み込んで前記ストッパ部材の運動エネルギーを減衰させる緩衝部材を含む
ことを特徴とする回転リミット装置の消音装置。 - 互いの対向面を対向させ回転支持部材によって回転自在に連結された第1回転体と第2回転体とに設けられ、
前記第1回転体の前記対向面に回転軸を中心として所定の半径で形成された円弧状の第1ガイド溝と、
前記第2回転体の前記対向面に回転軸を中心として前記第1ガイド溝と同じ半径で、前記第1ガイド溝に少なくとも所定の長さ重なる円弧状の第2ガイド溝と、
片側を前記第1ガイド溝に移動可能に収納され、他側を前記第2ガイド溝に移動可能に収納され、前記第1ガイド溝の両端の停止位置及び前記第2ガイド溝の両端の停止位置で押し止められて、前記第1回転体と前記第2回転体との間の回転可能角度を、所定の角度に制限するストッパ部材と、を備えた回転リミット装置の動作時の衝突音を削減する消音装置であり、
前記第1ガイド溝及び前記第2ガイド溝の少なくともどちらか一方の前記停止位置の、前記ストッパ部材の移動方向と平行な溝側面に突設されて、前記ストッパ部材が前記第1ガイド溝あるいは前記第2ガイド溝の溝端面に衝突するとき、前記ストッパ部材の移動方向に平行な面に接触して前記ストッパ部材を挟み込んで前記ストッパ部材の運動エネルギーを減衰させる緩衝部材を含む
ことを特徴とする回転リミット装置の消音装置。 - 前記緩衝部材は、前記ストッパ部材を前記ガイド溝の前記停止位置に所定の押圧力で挟み込んで、前記ストッパ部材を保持する
ことを特徴とする請求項1または2に記載の回転リミット装置の消音装置。 - 前記第1ガイド溝と前記第2ガイド溝とは長さが異なり、短い側の前記ガイド溝の前記停止位置に前記緩衝部材が設けられている
ことを特徴とする請求項2または3に記載の回転リミット装置の消音装置。 - 前記緩衝部材の前記ストッパ部材との接触面は、前記ガイド溝の溝端部と反対側が低くなるように傾斜している
ことを特徴とする請求項1から4のいずれか1つに記載の回転リミット装置の消音装置。 - 前記ストッパ部材は、係合部を有し、前記緩衝部材は、前記係合部と所定の係合力にて係合して前記ストッパ部材を前記ガイド溝の前記停止位置に保持する被係合部を有していることを特徴とする請求項1から5のいずれか1つに記載の回転リミット装置の消音装置。
- 前記緩衝部材は、前記ガイド溝の前記停止位置に、前記ストッパ部材の移動方向と平行な対向する二つの溝側面にそれぞれ設けられている
ことを特徴とする請求項1から6のいずれか1つに記載の回転リミット装置の消音装置。 - 前記ストッパ部材は、少なくとも摺動面が合成樹脂で覆われている
ことを特徴とする請求項1から7のいずれか1つに記載の回転リミット装置の消音装置。
Priority Applications (1)
| Application Number | Priority Date | Filing Date | Title |
|---|---|---|---|
| JP2011029642A JP5523369B2 (ja) | 2011-02-15 | 2011-02-15 | 回転リミット装置の消音装置 |
Applications Claiming Priority (1)
| Application Number | Priority Date | Filing Date | Title |
|---|---|---|---|
| JP2011029642A JP5523369B2 (ja) | 2011-02-15 | 2011-02-15 | 回転リミット装置の消音装置 |
Publications (2)
| Publication Number | Publication Date |
|---|---|
| JP2012166311A true JP2012166311A (ja) | 2012-09-06 |
| JP5523369B2 JP5523369B2 (ja) | 2014-06-18 |
Family
ID=46970984
Family Applications (1)
| Application Number | Title | Priority Date | Filing Date |
|---|---|---|---|
| JP2011029642A Expired - Fee Related JP5523369B2 (ja) | 2011-02-15 | 2011-02-15 | 回転リミット装置の消音装置 |
Country Status (1)
| Country | Link |
|---|---|
| JP (1) | JP5523369B2 (ja) |
Cited By (1)
| Publication number | Priority date | Publication date | Assignee | Title |
|---|---|---|---|---|
| WO2024034432A1 (ja) * | 2022-08-10 | 2024-02-15 | Nskステアリング&コントロール株式会社 | 回転制限装置およびステアリング装置 |
-
2011
- 2011-02-15 JP JP2011029642A patent/JP5523369B2/ja not_active Expired - Fee Related
Cited By (3)
| Publication number | Priority date | Publication date | Assignee | Title |
|---|---|---|---|---|
| WO2024034432A1 (ja) * | 2022-08-10 | 2024-02-15 | Nskステアリング&コントロール株式会社 | 回転制限装置およびステアリング装置 |
| JPWO2024034432A1 (ja) * | 2022-08-10 | 2024-02-15 | ||
| JP7777690B2 (ja) | 2022-08-10 | 2025-11-28 | Nskステアリング&コントロール株式会社 | 回転制限装置およびステアリング装置 |
Also Published As
| Publication number | Publication date |
|---|---|
| JP5523369B2 (ja) | 2014-06-18 |
Similar Documents
| Publication | Publication Date | Title |
|---|---|---|
| US8657065B1 (en) | Exhaust valve with resilient spring pad | |
| JP5964894B2 (ja) | レバー式粘弾性振動吸収装置 | |
| US9404293B2 (en) | Vehicle door handle device | |
| JP5197626B2 (ja) | ケーブルドラグチェーン | |
| JP6325503B2 (ja) | 引戸の跳ね返り抑制機構 | |
| CN108138878B (zh) | 盘式制动器用摩擦衬垫组装体 | |
| JP5523369B2 (ja) | 回転リミット装置の消音装置 | |
| JP6374256B2 (ja) | 車両用ドアチェッカ | |
| JP2009287256A (ja) | 箱錠、及び、ラッチハブ | |
| CN110621569B (zh) | 后行李箱盖限动机构以及后行李箱盖的转动动作控制方法 | |
| JP2014134232A (ja) | ディスクブレーキパッド用シム | |
| JP2009185489A (ja) | 摩擦ダンパー及びハイブリッドダンパー | |
| JP2016151355A (ja) | チルトヒンジ及び電子機器 | |
| JP5713962B2 (ja) | 制振装置 | |
| JP6271138B2 (ja) | 制震装置 | |
| EP3473882B1 (en) | Friction-pad assembly for disc brake | |
| JP3118144U (ja) | 制震装置 | |
| CN108730378A (zh) | 盘式制动器用摩擦衬垫组装体 | |
| JP7189444B2 (ja) | ロック装置及び支持装置 | |
| JP2007225101A (ja) | 制震装置 | |
| JP2014025584A (ja) | 電子装置 | |
| JP4017447B2 (ja) | ラックアンドピニオン型操舵装置 | |
| CN217783310U (zh) | 安全门装置及设备柜 | |
| JP4322015B2 (ja) | 摺動装置 | |
| JP3117029U (ja) | 制震装置 |
Legal Events
| Date | Code | Title | Description |
|---|---|---|---|
| A621 | Written request for application examination |
Free format text: JAPANESE INTERMEDIATE CODE: A621 Effective date: 20130612 |
|
| TRDD | Decision of grant or rejection written | ||
| A01 | Written decision to grant a patent or to grant a registration (utility model) |
Free format text: JAPANESE INTERMEDIATE CODE: A01 Effective date: 20140311 |
|
| A61 | First payment of annual fees (during grant procedure) |
Free format text: JAPANESE INTERMEDIATE CODE: A61 Effective date: 20140408 |
|
| R150 | Certificate of patent or registration of utility model |
Ref document number: 5523369 Country of ref document: JP Free format text: JAPANESE INTERMEDIATE CODE: R150 |
|
| LAPS | Cancellation because of no payment of annual fees |