JP2012002243A - 玉軸受用保持器および玉軸受 - Google Patents

玉軸受用保持器および玉軸受 Download PDF

Info

Publication number
JP2012002243A
JP2012002243A JP2010135249A JP2010135249A JP2012002243A JP 2012002243 A JP2012002243 A JP 2012002243A JP 2010135249 A JP2010135249 A JP 2010135249A JP 2010135249 A JP2010135249 A JP 2010135249A JP 2012002243 A JP2012002243 A JP 2012002243A
Authority
JP
Japan
Prior art keywords
diameter side
convex portion
side convex
outer diameter
inner diameter
Prior art date
Legal status (The legal status is an assumption and is not a legal conclusion. Google has not performed a legal analysis and makes no representation as to the accuracy of the status listed.)
Granted
Application number
JP2010135249A
Other languages
English (en)
Other versions
JP5697367B2 (ja
Inventor
Tomohisa Uozumi
朋久 魚住
Current Assignee (The listed assignees may be inaccurate. Google has not performed a legal analysis and makes no representation or warranty as to the accuracy of the list.)
NTN Corp
Original Assignee
NTN Corp
NTN Toyo Bearing Co Ltd
Priority date (The priority date is an assumption and is not a legal conclusion. Google has not performed a legal analysis and makes no representation as to the accuracy of the date listed.)
Filing date
Publication date
Application filed by NTN Corp, NTN Toyo Bearing Co Ltd filed Critical NTN Corp
Priority to JP2010135249A priority Critical patent/JP5697367B2/ja
Priority to PCT/JP2011/062613 priority patent/WO2011158651A1/ja
Publication of JP2012002243A publication Critical patent/JP2012002243A/ja
Application granted granted Critical
Publication of JP5697367B2 publication Critical patent/JP5697367B2/ja
Active legal-status Critical Current
Anticipated expiration legal-status Critical

Links

Images

Classifications

    • FMECHANICAL ENGINEERING; LIGHTING; HEATING; WEAPONS; BLASTING
    • F16ENGINEERING ELEMENTS AND UNITS; GENERAL MEASURES FOR PRODUCING AND MAINTAINING EFFECTIVE FUNCTIONING OF MACHINES OR INSTALLATIONS; THERMAL INSULATION IN GENERAL
    • F16CSHAFTS; FLEXIBLE SHAFTS; ELEMENTS OR CRANKSHAFT MECHANISMS; ROTARY BODIES OTHER THAN GEARING ELEMENTS; BEARINGS
    • F16C33/00Parts of bearings; Special methods for making bearings or parts thereof
    • F16C33/30Parts of ball or roller bearings
    • F16C33/38Ball cages
    • F16C33/3837Massive or moulded cages having cage pockets surrounding the balls, e.g. machined window cages
    • F16C33/3862Massive or moulded cages having cage pockets surrounding the balls, e.g. machined window cages comprising two annular parts joined together
    • F16C33/3875Massive or moulded cages having cage pockets surrounding the balls, e.g. machined window cages comprising two annular parts joined together made from plastic, e.g. two injection moulded parts joined by a snap fit
    • FMECHANICAL ENGINEERING; LIGHTING; HEATING; WEAPONS; BLASTING
    • F16ENGINEERING ELEMENTS AND UNITS; GENERAL MEASURES FOR PRODUCING AND MAINTAINING EFFECTIVE FUNCTIONING OF MACHINES OR INSTALLATIONS; THERMAL INSULATION IN GENERAL
    • F16CSHAFTS; FLEXIBLE SHAFTS; ELEMENTS OR CRANKSHAFT MECHANISMS; ROTARY BODIES OTHER THAN GEARING ELEMENTS; BEARINGS
    • F16C33/00Parts of bearings; Special methods for making bearings or parts thereof
    • F16C33/30Parts of ball or roller bearings
    • F16C33/38Ball cages
    • F16C33/3887Details of individual pockets, e.g. shape or ball retaining means
    • FMECHANICAL ENGINEERING; LIGHTING; HEATING; WEAPONS; BLASTING
    • F16ENGINEERING ELEMENTS AND UNITS; GENERAL MEASURES FOR PRODUCING AND MAINTAINING EFFECTIVE FUNCTIONING OF MACHINES OR INSTALLATIONS; THERMAL INSULATION IN GENERAL
    • F16CSHAFTS; FLEXIBLE SHAFTS; ELEMENTS OR CRANKSHAFT MECHANISMS; ROTARY BODIES OTHER THAN GEARING ELEMENTS; BEARINGS
    • F16C19/00Bearings with rolling contact, for exclusively rotary movement
    • F16C19/02Bearings with rolling contact, for exclusively rotary movement with bearing balls essentially of the same size in one or more circular rows
    • F16C19/04Bearings with rolling contact, for exclusively rotary movement with bearing balls essentially of the same size in one or more circular rows for radial load mainly
    • F16C19/06Bearings with rolling contact, for exclusively rotary movement with bearing balls essentially of the same size in one or more circular rows for radial load mainly with a single row or balls
    • FMECHANICAL ENGINEERING; LIGHTING; HEATING; WEAPONS; BLASTING
    • F16ENGINEERING ELEMENTS AND UNITS; GENERAL MEASURES FOR PRODUCING AND MAINTAINING EFFECTIVE FUNCTIONING OF MACHINES OR INSTALLATIONS; THERMAL INSULATION IN GENERAL
    • F16CSHAFTS; FLEXIBLE SHAFTS; ELEMENTS OR CRANKSHAFT MECHANISMS; ROTARY BODIES OTHER THAN GEARING ELEMENTS; BEARINGS
    • F16C2208/00Plastics; Synthetic resins, e.g. rubbers
    • F16C2208/20Thermoplastic resins
    • F16C2208/52Polyphenylene sulphide [PPS]
    • FMECHANICAL ENGINEERING; LIGHTING; HEATING; WEAPONS; BLASTING
    • F16ENGINEERING ELEMENTS AND UNITS; GENERAL MEASURES FOR PRODUCING AND MAINTAINING EFFECTIVE FUNCTIONING OF MACHINES OR INSTALLATIONS; THERMAL INSULATION IN GENERAL
    • F16CSHAFTS; FLEXIBLE SHAFTS; ELEMENTS OR CRANKSHAFT MECHANISMS; ROTARY BODIES OTHER THAN GEARING ELEMENTS; BEARINGS
    • F16C2208/00Plastics; Synthetic resins, e.g. rubbers
    • F16C2208/20Thermoplastic resins
    • F16C2208/60Polyamides [PA]

Landscapes

  • Engineering & Computer Science (AREA)
  • General Engineering & Computer Science (AREA)
  • Mechanical Engineering (AREA)
  • Rolling Contact Bearings (AREA)

Abstract

【課題】高回転により大きな遠心力が負荷されても、二枚の環状体が分離することを防止する。
【解決手段】対向面11を衝合させて二枚の環状体10を結合させた玉軸受用保持器であって、一方の環状体10の隣り合うポケット12間の外径側を軸方向に延出させて外径側凸部13を形成すると共に内径側を凹ませて内径側凹部14を形成し、かつ、他方の環状体10の隣り合うポケット12間の内径側を軸方向に延出させて内径側凸部15を形成すると共に外径側を凹ませて外径側凹部16を形成し、外径側凸部13を外径側凹部16に挿入すると共に内径側凸部15を内径側凹部14に挿入することにより外径側凸部13と内径側凸部15を軸方向で係合させ、外径側凸部13と内径側凸部15との係合面13a,15aを、外径側凸部13および内径側凸部15の基端側よりも先端側が厚肉となるように軸方向に対して傾斜させる。
【選択図】図1

Description

本発明は、玉を転動自在に保持する合成樹脂製の玉軸受用保持器、およびその保持器を外輪および内輪間に組み込んだ玉軸受に関する。
例えば、発動機を有する車両のトランスミッションのギヤ支持軸には、深溝玉軸受やアンギュラ玉軸受などの各種の玉軸受が広く使用されている。
この種の玉軸受は、外径面に内側転走面が形成された内輪と、その内輪の外側に配置され、内径面に外側転走面が形成された外輪と、内輪の内側転走面と外輪の外側転走面との間に転動自在に介在された複数の玉と、内輪と外輪との間に配され、各玉を円周方向等間隔に保持する保持器とで主要部が構成されている。この外輪あるいは内輪のいずれか一方がハウジングなどの固定部分に装着され、他方が回転軸などの回転部分に装着される。
特に、電動車両やハイブリッド車両においては、高速のモータ回転が入力されるため、回転軸などの回転部分は高回転となる傾向にある。その結果、潤滑不足、トルク(発熱)、遠心力による保持器の変形などが問題となる。この潤滑不足やトルク(発熱)による保持器の変形に対しては保持器の形状を工夫することで解決することができ、また、軽量な合成樹脂製の保持器を使用することで遠心力による保持器の変形を抑制することが可能である。
このように遠心力による保持器の変形を抑制することを目的とした軽量の合成樹脂製の保持器は種々提案されている(例えば、特許文献1参照)。この特許文献1に開示された保持器は、円環状をなす主部と、その主部の軸方向片面に互いに間隔をあけて円周方向等配で一体的に突設された一対ずつの弾性片とで構成され、これら一対ずつの弾性片の間に凹設されて外径側と内径側とに開口したポケットを備え、そのポケットで玉を転動自在に保持する冠形状を有する。このような冠形状の保持器では、玉を片側のみから保持しており、大きな遠心力を負荷した時に不均等な変形により玉がポケットから脱落する可能性がある。
このような懸念を解消するため、保持器の形状を軸方向で対称とした保持器が種々提案されている(例えば、特許文献2〜4参照)。これら特許文献2〜4に開示された保持器は、軸方向に向き合う二枚の環状体の対向面に玉を収容する半球状のポケットを周方向の複数箇所に形成し、環状体のそれぞれの対向面を衝合させて二枚の環状体を結合させた対称形状を有する。
これら二枚の環状体を結合させるための手段として、特許文献2の保持器では、軸方向に突出する係合爪を環状体の隣り合うポケット間に設け、その係合爪を係合させる係合孔を環状体の隣り合うポケット間に形成した構造を備えている。また、特許文献3の保持器では、二枚の環状体の隣り合うポケット間をアキシャル方向に貫通する貫通締結部材により二枚の環状体を締結した構造を備えている。さらに、特許文献4の保持器では、軸方向に突出する突起部を環状体の隣り合うポケット間に設け、その突起部が挿入される貫通孔を環状体の隣り合うポケット間に形成し、その貫通孔に突起部との隙間を埋める固定片を挿入した構造を備えている。
特開平11−264418号公報 特開2006−226430号公報 特開2008−64221号公報 特開2009−281399号公報
ところで、特許文献1に開示された冠形状の保持器では、前述したように玉を片側のみから保持しており、大きな遠心力を負荷した時に不均等な変形により玉がポケットから脱落する可能性がある。また、このような懸念を解消するために提案された特許文献2〜4の保持器では以下のような問題があった。
まず、特許文献2の保持器では、二枚の環状体を結合させるために係合爪を係合孔に係合させる構造を採用しているが、高回転になればなるほど、二枚の環状体を割り広げようとする力が大きくなることから、高回転に対応するためには係合爪を十分に大きくして強度を確保しなければならず、それに伴って係合孔を大きくすると、ポケット間の柱部となる部位の強度を確保することが困難となる。また、係合爪が係合孔から抜け難くするためには係合爪の先端を鋭角に尖らせた形状とすることになり、その場合、係合爪の折損や磨耗粉の発生を引き起こすことになる。
また、特許文献3,4の保持器では、二枚の環状体を結合させるために貫通締結部材や固定片の別部材を必要とし、部品点数が増加すると共に、貫通締結部材や固定片を挿入する作業を必要とし、組立工数が増加することにもなる。
そこで、本発明は前述の問題点に鑑みて提案されたもので、その目的とするところは、部品点数や組立工数を増加させることなく、十分な強度を確保しつつ、高回転により大きな遠心力が負荷された場合であっても、二枚の環状体が分離することを確実に防止し得る玉軸受用保持器および玉軸受を提供することにある。
前述の目的を達成するための技術的手段として、本発明は、軸方向に向き合う二枚の環状体の対向面に玉を収容する半球状のポケットを周方向の複数箇所に形成し、その対向面を衝合させて二枚の環状体を結合させた玉軸受用保持器であって、一方の環状体の隣り合うポケット間の外径側を軸方向に延出させて外径側凸部を形成すると共に内径側を凹ませて内径側凹部を形成し、かつ、他方の環状体の隣り合うポケット間の内径側を軸方向に延出させて内径側凸部を形成すると共に外径側を凹ませて外径側凹部を形成し、外径側凸部を外径側凹部に挿入すると共に内径側凸部を内径側凹部に挿入することにより外径側凸部と内径側凸部を軸方向で係合させ、外径側凸部と内径側凸部との係合面を、外径側凸部および内径側凸部の基端側よりも先端側が厚肉となるように軸方向に対して傾斜させたことを特徴とする。
本発明では、外径側凸部と内径側凸部を軸方向で係合させることにより、その外径側凸部と内径側凸部との係合面に沿って摩擦力が発生する。また、外径側凸部と内径側凸部との係合面を、外径側凸部および内径側凸部の基端側よりも先端側が厚肉となるように軸方向に対して傾斜させたことにより、外径側凸部と内径側凸部との係合面の法線方向に発生した反力の軸方向成分が現出する。この外径側凸部と内径側凸部との係合面に沿って発生する摩擦力と、その係合面の法線方向に発生する反力の軸方向成分との相乗作用により、高回転により大きな遠心力が負荷された場合であっても、二枚の環状体が軸方向に分離することを確実に防止することができる。
本発明において、外径側凸部と内径側凸部との係合面の傾斜角度を5°以上とすることが望ましい。このように傾斜角度を設定すれば、高回転により大きな遠心力が負荷された時の係合面の変形を抑制することが容易となり、係合面に反力の軸方向成分を確実に作用させることができて二枚の環状体の結合力を確保することが容易となる。なお、係合面の傾斜角度が5°よりも小さいと、高回転により大きな遠心力が負荷された場合、係合面の変形を抑制することが困難となり、係合面に反力の軸方向成分を確実に作用させることが難しくなる。
本発明において、内径側凸部を外径側凸部よりも厚肉にした構造が望ましい。このようにすれば、高回転により大きな遠心力が負荷された際、外径側凸部よりも厚肉にした内径側凸部の質量が外径側凸部よりも大きいことから、その内径側凸部が外径側凸部よりも大きく変形する。ここで、外径側凸部と内径側凸部との係合面は、外径側凸部および内径側凸部の基端側よりも先端側が厚肉となるように軸方向に対して傾斜していることから、内径側凸部の変形は、外径側凸部と内径側凸部との係合面での結合力を高めるように作用する。
本発明において、外径側凸部と内径側凸部とを周方向の三箇所以上に形成することが望ましい。このようにすれば、外径側凸部と内径側凸部との係合面での結合力を確保することが容易となって二枚の環状体が軸方向に分離することを未然に防止することができる。なお、外径側凸部と内径側凸部とを周方向の一箇所あるいは二箇所に形成するだけでは、外径側凸部と内径側凸部との係合面での結合力を確保することが困難となる。
本発明において、外径側凸部と内径側凸部との相対位置を識別するための指標を、軸方向に向き合う二枚の環状体の反対向面にそれぞれ設けることが望ましい。このようにすれば、玉軸受の組み立て時、つまり、外輪と内輪との間に玉を介在させた状態でその軸方向外側から保持器を組み付けるに際して、軸方向に向き合う二枚の環状体の反対向面に設けられた指標に基づいて、外輪および内輪により目視し難い外径側凸部と内径側凸部の相対位置を合わせることが容易となり、保持器の組み付け性の向上が図れる。
本発明において、一方の環状体の外径側凸部および内径側凹部と周方向に隣接させて外径側凹部および内径側凸部を形成し、他方の環状体の内径側凸部および外径側凹部と周方向に隣接させて内径側凹部および外径側凸部を形成した構造が望ましい。このような構造にすれば、一つの金型で製作した一種の環状体を使用して一方の環状体と他方の環状体とすることができ、製品コストの低減が図れる。
本発明において、一方の環状体のポケットの周方向端部を軸方向に延出させて舌片部を形成すると共に、他方の環状体のポケットの周方向端部に舌片部を収容する切り欠き部を形成した構造が望ましい。このような構造とすれば、高回転により大きな遠心力が負荷された場合、一方の環状体と他方の環状体が相互に軸方向外側へ離隔してポケットが開こうとしても、舌片部により玉をポケット内に収容した状態を維持することが容易となる。
本発明において、ポケットの一方の周方向端部に舌片部を形成すると共に他方の周方向端部に切り欠き部を形成した構造が望ましい。このような構造にすれば、一つの金型で製作した一種の環状体を使用して一方の環状体と他方の環状体とすることができ、製品コストの低減が図れる。
本発明における環状体は、保持器の軽量化が図れる点で合成樹脂製であることが有効である。また、この環状体は、コスト面や耐油性の点を考慮すれば、PPS、PA66あるいはPA46から選択されたいずれか一つの合成樹脂で成形されていることが望ましい。
以上の構成を具備した保持器に、互いに相対回転する外輪および内輪と、外輪と内輪との間に介在する玉とを付加すれば、玉軸受を構成することができる。
本発明によれば、外径側凸部と内径側凸部を軸方向で係合させることにより、その外径側凸部と内径側凸部との係合面に沿って発生する摩擦力と、外径側凸部と内径側凸部との係合面を、外径側凸部および内径側凸部の基端側よりも先端側が厚肉となるように軸方向に対して傾斜させたことにより、外径側凸部と内径側凸部との係合面の法線方向に発生する反力の軸方向成分との相乗作用により、高回転により大きな遠心力が負荷された場合であっても、二枚の環状体が軸方向に分離することを確実に防止することができる。
その結果、部品点数や組立工数を増加させることなく、十分な強度を確保しつつ、二枚の環状体が分離することを確実に防止し得る玉軸受用保持器を提供することができ、電動車両やハイブリッド車両において使用される高回転軸受に好適な自動車用途の玉軸受を提供できる。
本発明の実施形態で、保持器を構成する二枚の環状体を示す組立分解斜視図である。 結合前の二枚の環状体を示す部分展開図である。 図2のA−A線に沿う断面図である。 図2のB−B線に沿う断面図である。 結合後の二枚の環状体を示す部分展開図である。 図5のC−C線に沿う断面図である。 図5のD−D線に沿う断面図である。 本発明の実施形態で、図1の保持器を組み込んだ玉軸受を示す断面図である。
本発明に係る玉軸受用保持器および玉軸受の実施形態を以下に詳述する。
この実施形態の玉軸受1は、図8に示すように、外径面に内側転走面2aが形成された内輪2と、その内輪2の外側に配置され、内径面に外側転走面3aが形成された外輪3と、内輪2の内側転走面2aと外輪3の外側転走面3aとの間に転動自在に介在された複数の玉4と、内輪2と外輪3との間に配され、各玉4を円周方向等間隔に保持する保持器5とで主要部が構成されている。この外輪3あるいは内輪2のいずれか一方がハウジングなどの固定部分に装着され、他方が回転軸などの回転部分に装着される。
この玉軸受1は、電動車両やハイブリッド車両において使用される高回転軸受として好適であり、潤滑不足、トルク(発熱)、遠心力による保持器5の変形を抑制することを目的とした軽量の合成樹脂製の保持器5を備えている。この種の保持器5は、図1に示すように、軸方向に向き合う二枚の環状体10の対向面11に玉4を収容する半球状のポケット12を周方向の複数箇所に形成し、環状体10のそれぞれの対向面11を衝合させて二枚の環状体10を結合させた対称形状を有する。この実施形態の保持器5は、これら二枚の環状体10を結合させるための手段として、以下の結合構造を具備する。
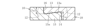
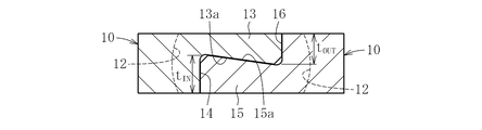
図2は結合前の二枚の環状体10を示し、図3は図2のA−A線に沿う断面で、図4は図2のB−B線に沿う断面である。同図に示すように、一方の環状体10(図2および図3の左側参照)の隣り合うポケット12間の外径側を軸方向に延出させて外径側凸部13を形成すると共に内径側を凹ませて内径側凹部14を形成し、かつ、他方の環状体10(図2および図3の右側参照)の隣り合うポケット12間の内径側を軸方向に延出させて内径側凸部15を形成すると共に外径側を凹ませて外径側凹部16を形成する。
この構造において、外径側凸部13を外径側凹部16に挿入すると共に内径側凸部15を内径側凹部14に挿入することにより、外径側凸部13と内径側凸部15を軸方向で係合させる。また、外径側凸部13と内径側凸部15との係合面13a,15aを、外径側凸部13および内径側凸部15の基端側よりも先端側が厚肉となるように軸方向に対して傾斜させている。
また、一方の環状体10(図2および図4の左側参照)の外径側凸部13および内径側凹部14と周方向に隣接させて外径側凹部16および内径側凸部15を形成し、他方の環状体10(図2および図4の右側参照)の内径側凸部15および外径側凹部16と周方向に隣接させて内径側凹部14および外径側凸部13を形成した構造としている。このような構造を採用したことにより、一つの金型で製作した一種の環状体10を使用して一方の環状体10と他方の環状体10とすることができ、製品コストの低減が図れる。
図5は結合後の二枚の環状体10を示し、図6は図5のC−C線に沿う断面で、図7は図5のD−D線に沿う断面である。同図に示すように、二枚の環状体10のそれぞれの対向面11を衝合させ、外径側凸部13と内径側凸部15を所定の締め代でもって軸方向で係合させることにより、その外径側凸部13と内径側凸部15との係合面13a,15aに沿って摩擦力が発生する。また、外径側凸部13と内径側凸部15との係合面13a,15aを、外径側凸部13および内径側凸部15の基端側よりも先端側が厚肉となるように軸方向に対して傾斜させたことにより、外径側凸部13と内径側凸部15との係合面13a,15aの法線方向に発生した反力の軸方向成分が現出する。
この外径側凸部13と内径側凸部15との係合面13a,15aに沿って発生する摩擦力と、その係合面13a,15aの法線方向に発生する反力の軸方向成分との相乗作用により、高回転により大きな遠心力が負荷された場合であっても、二枚の環状体10が軸方向に分離することを確実に防止することができる。
この実施形態では、外径側凸部13と内径側凸部15とを周方向の三箇所以上に形成する。このように外径側凸部13と内径側凸部15とを三箇所以上に形成することにより、外径側凸部13と内径側凸部15との係合面13a,15aでの結合力を確保することが容易となって二枚の環状体10が軸方向に分離することを未然に防止することができる。
なお、外径側凸部13と内径側凸部15とを周方向の一箇所あるいは二箇所に形成するだけでは、外径側凸部13と内径側凸部15との係合面13a,15aでの結合力を確保することが困難となる。
この実施形態の結合構造では、外径側凸部13と内径側凸部15との係合面13a,15aの傾斜角度θ(図3および図4参照)を5°以上とする必要がある。このように傾斜角度θを設定することにより、高回転により大きな遠心力が負荷された時の係合面13a,15aの変形を抑制することが容易となり、係合面13a,15aに反力の軸方向成分を確実に作用させることができて二枚の環状体10の結合力を確保することが容易となる。
なお、係合面13a,15aの傾斜角度θが5°よりも小さいと、高回転により大きな遠心力が負荷された場合、係合面13a,15aの変形を抑制することが困難となり、係合面13a,15aに反力の軸方向成分を確実に作用させることが難しくなる。
また、この結合構造では、図6および図7に示すように、内径側凸部15を外径側凸部13よりも厚肉にしている(tIN>tOUT)。このように内径側凸部15を外径側凸部13よりも厚肉にすることにより、高回転により大きな遠心力が負荷された際、外径側凸部13よりも厚肉にした内径側凸部15の質量が外径側凸部13よりも大きいことから、その内径側凸部15が外径側凸部13よりも大きく変形する。
ここで、外径側凸部13と内径側凸部15との係合面13a,15aは、外径側凸部13および内径側凸部15の基端側よりも先端側が厚肉となるように軸方向に対して傾斜していることから、内径側凸部15の変形は、外径側凸部13と内径側凸部15との係合面13a,15aでの結合力を高めるように作用する。
この玉軸受1の組み立てにおいては、外輪3と内輪2との間に玉4を周方向等間隔に介在させた状態でその軸方向外側から二枚の環状体10を組み付ける。その場合、外輪3および内輪2により環状体10の外径側凸部13および内径側凸部15を目視しずらく、外径側凸部13と内径側凸部15とを係合させることが困難となる可能性がある。
そこで、外径側凸部13と内径側凸部15との相対位置を識別するための指標17を、軸方向に向き合う二枚の環状体10の反対向面18にそれぞれ設ける。これにより、玉軸受1の組み立て時、外輪3と内輪2との間に玉4を介在させた状態でその軸方向外側から環状体10を組み付けるに際して、軸方向に向き合う二枚の環状体10の反対向面18に設けられた指標17に基づいて、外輪3および内輪2により目視し難い外径側凸部13と内径側凸部15の相対位置を合わせることが容易となり、保持器5の組み付け性の向上が図れる。
なお、指標17としては、二枚の環状体10の反対向面18に突起や凹みなどを形成したり、あるいは着色などによるマークを付すことにより実現可能である。この実施形態では、図1、図2および図5に示すように凹みとしている。
この実施形態では、一方の環状体10(図2の左側参照)のポケット12の周方向端部を軸方向に延出させて舌片部19を形成すると共に、他方の環状体10(図2の右側参照)のポケット12の周方向端部に舌片部19を収容する切り欠き部20を形成している。このような構造とすることにより、高回転により大きな遠心力が負荷された場合、一方の環状体10と他方の環状体10が相互に軸方向外側へ離隔してポケット12が開こうとしても、舌片部19により玉4をポケット12内に収容した状態を維持することが容易となる(図5参照)。
なお、ポケット12の一方の周方向端部に舌片部19を形成すると共に他方の周方向端部に切り欠き部20を形成する。これにより、一つの金型で製作した一種の環状体10を使用して一方の環状体10と他方の環状体10とすることができ、製品コストの低減が図れる。
以上で説明した二枚の環状体10は、保持器5の軽量化が図れる点で合成樹脂製としている。ここで、コスト面や耐油性の点を考慮すれば、PPS(ポリフェニレンサルファイド)、PA66(ポリアミド66)あるいはPA46(ポリアミド46)から選択されたいずれか一つの合成樹脂で成形することが有効である。例えば、使用油の中に樹脂攻撃性の成分(リン、硫黄)が多く含まれている場合には、耐油性の優劣がPPS>PA46>PA66であることから、PPSを使用することが好ましい。また、樹脂材料の価格を考慮すれば、PA66>PA46>PPSであることから、使用油の樹脂攻撃性を考慮した上で材料を選定することが望ましい。
本発明は前述した実施形態に何ら限定されるものではなく、本発明の要旨を逸脱しない範囲内において、さらに種々なる形態で実施し得ることは勿論のことであり、本発明の範囲は、特許請求の範囲によって示され、さらに特許請求の範囲に記載の均等の意味、および範囲内のすべての変更を含む。
1 玉軸受
2 内輪
3 外輪
4 玉
5 保持器
10 環状体
11 対向面
12 ポケット
13 外径側凸部
13a 係合面
14 内径側凹部
15 内径側凸部
15a 係合面
16 外径側凹部
17 指標
18 反対向面
19 舌片部
20 切り欠き部
θ 傾斜角度

Claims (11)

  1. 軸方向に向き合う二枚の環状体の対向面に玉を収容する半球状のポケットを周方向の複数箇所に形成し、前記対向面を衝合させて二枚の環状体を結合させた玉軸受用保持器であって、
    一方の環状体の隣り合うポケット間の外径側を軸方向に延出させて外径側凸部を形成すると共に内径側を凹ませて内径側凹部を形成し、かつ、他方の環状体の隣り合うポケット間の内径側を軸方向に延出させて内径側凸部を形成すると共に外径側を凹ませて外径側凹部を形成し、前記外径側凸部を外径側凹部に挿入すると共に前記内径側凸部を内径側凹部に挿入することにより前記外径側凸部と内径側凸部を軸方向で係合させ、前記外径側凸部と内径側凸部との係合面を、外径側凸部および内径側凸部の基端側よりも先端側が厚肉となるように軸方向に対して傾斜させたことを特徴とする玉軸受用保持器。
  2. 前記外径側凸部と前記内径側凸部との係合面の傾斜角度を5°以上とした請求項1に記載の玉軸受用保持器。
  3. 前記内径側凸部を前記外径側凸部よりも厚肉にした請求項1又は2に記載の玉軸受用保持器。
  4. 前記外径側凸部と前記内径側凸部とを周方向の三箇所以上に形成した請求項1〜3のいずれか一項に記載の玉軸受用保持器。
  5. 前記外径側凸部と前記内径側凸部との相対位置を識別するための指標を、軸方向に向き合う二枚の環状体の反対向面にそれぞれ設けた請求項1〜4のいずれか一項に記載の玉軸受用保持器。
  6. 前記一方の環状体の外径側凸部および内径側凹部と周方向に隣接させて外径側凹部および内径側凸部を形成し、前記他方の環状体の内径側凸部および外径側凹部と周方向に隣接させて内径側凹部および外径側凸部を形成した請求項1〜5のいずれか一項に記載の玉軸受用保持器。
  7. 前記一方の環状体のポケットの周方向端部を軸方向に延出させて舌片部を形成すると共に、他方の環状体のポケットの周方向端部に前記舌片部を収容する切り欠き部を形成した請求項1〜6のいずれか一項に記載の玉軸受用保持器。
  8. 前記ポケットの一方の周方向端部に舌片部を形成すると共に他方の周方向端部に切り欠き部を形成した請求項7に記載の玉軸受用保持器。
  9. 前記環状体は合成樹脂製である請求項1〜8のいずれか一項に記載の玉軸受用保持器。
  10. 前記環状体はPPS、PA66あるいはPA46から選択されたいずれか一つの合成樹脂で成形されている請求項1〜9のいずれか一項に記載の玉軸受用保持器。
  11. 請求項1〜10のいずれか一項に記載の保持器と、互いに相対回転する外輪および内輪と、前記外輪と内輪との間に介在する玉とを備えた玉軸受。
JP2010135249A 2010-06-14 2010-06-14 玉軸受用保持器および玉軸受 Active JP5697367B2 (ja)

Priority Applications (2)

Application Number Priority Date Filing Date Title
JP2010135249A JP5697367B2 (ja) 2010-06-14 2010-06-14 玉軸受用保持器および玉軸受
PCT/JP2011/062613 WO2011158651A1 (ja) 2010-06-14 2011-06-01 玉軸受用保持器および玉軸受

Applications Claiming Priority (1)

Application Number Priority Date Filing Date Title
JP2010135249A JP5697367B2 (ja) 2010-06-14 2010-06-14 玉軸受用保持器および玉軸受

Publications (2)

Publication Number Publication Date
JP2012002243A true JP2012002243A (ja) 2012-01-05
JP5697367B2 JP5697367B2 (ja) 2015-04-08

Family

ID=45348059

Family Applications (1)

Application Number Title Priority Date Filing Date
JP2010135249A Active JP5697367B2 (ja) 2010-06-14 2010-06-14 玉軸受用保持器および玉軸受

Country Status (2)

Country Link
JP (1) JP5697367B2 (ja)
WO (1) WO2011158651A1 (ja)

Cited By (9)

* Cited by examiner, † Cited by third party
Publication number Priority date Publication date Assignee Title
JP2014020468A (ja) * 2012-07-19 2014-02-03 Jtekt Corp 樹脂製保持器
WO2016072223A1 (ja) * 2014-11-04 2016-05-12 Ntn株式会社 合成樹脂製保持器および玉軸受
JP2016138617A (ja) * 2015-01-28 2016-08-04 株式会社ジェイテクト 転がり軸受
JP2017072257A (ja) * 2016-12-06 2017-04-13 Ntn株式会社 合成樹脂製保持器および玉軸受
JP2018003997A (ja) * 2016-07-05 2018-01-11 株式会社ジェイテクト 転がり軸受
KR102064496B1 (ko) * 2018-11-29 2020-01-09 셰플러코리아(유) 윤활성과 결합성이 향상된 볼 베어링용 케이지
JP2021067367A (ja) * 2021-02-04 2021-04-30 株式会社ジェイテクト 転がり軸受
WO2023272953A1 (zh) * 2021-06-30 2023-01-05 人本股份有限公司 具有分体式保持架的深沟球轴承
CN116324195A (zh) * 2020-09-11 2023-06-23 日本精工株式会社 滚珠轴承用树脂制保持架以及滚珠轴承

Families Citing this family (3)

* Cited by examiner, † Cited by third party
Publication number Priority date Publication date Assignee Title
DE102015220363B4 (de) * 2015-10-20 2020-08-13 Aktiebolaget Skf Zweiteiliger Lagerkäfig
FI127034B (fi) * 2015-11-13 2017-10-13 Akaan Työvälinepalvelu Oy Menetelmä työkalun tai vastaavan esineen valmistamiseksi
DE102019127288A1 (de) * 2019-10-10 2021-04-15 Schaeffler Technologies AG & Co. KG Zweiteiliger Lagerkäfig sowie Wälzlager mit einem solchen Lagerkäfig

Citations (9)

* Cited by examiner, † Cited by third party
Publication number Priority date Publication date Assignee Title
JPS4821687Y1 (ja) * 1970-01-08 1973-06-25
JPS643851Y2 (ja) * 1983-07-27 1989-02-01
EP1010909A1 (fr) * 1998-12-18 2000-06-21 Snr Roulements Cage pour roulement à billes
JP2003336646A (ja) * 2002-05-22 2003-11-28 Nsk Ltd 転がり軸受
JP2004076778A (ja) * 2002-08-12 2004-03-11 Ntn Corp 合成樹脂製保持器および深溝玉軸受
EP1707647A1 (fr) * 2005-04-01 2006-10-04 S.N.R. Roulements Roulements à bague renforcée comprenant une cage pourvue d'un déflecteur
JP2006300261A (ja) * 2005-04-22 2006-11-02 Ntn Corp 玉軸受
JP2007040383A (ja) * 2005-08-02 2007-02-15 Nsk Ltd 玉軸受用保持器及び玉軸受
JP2008121817A (ja) * 2006-11-14 2008-05-29 Jtekt Corp 転がり軸受用保持器

Patent Citations (9)

* Cited by examiner, † Cited by third party
Publication number Priority date Publication date Assignee Title
JPS4821687Y1 (ja) * 1970-01-08 1973-06-25
JPS643851Y2 (ja) * 1983-07-27 1989-02-01
EP1010909A1 (fr) * 1998-12-18 2000-06-21 Snr Roulements Cage pour roulement à billes
JP2003336646A (ja) * 2002-05-22 2003-11-28 Nsk Ltd 転がり軸受
JP2004076778A (ja) * 2002-08-12 2004-03-11 Ntn Corp 合成樹脂製保持器および深溝玉軸受
EP1707647A1 (fr) * 2005-04-01 2006-10-04 S.N.R. Roulements Roulements à bague renforcée comprenant une cage pourvue d'un déflecteur
JP2006300261A (ja) * 2005-04-22 2006-11-02 Ntn Corp 玉軸受
JP2007040383A (ja) * 2005-08-02 2007-02-15 Nsk Ltd 玉軸受用保持器及び玉軸受
JP2008121817A (ja) * 2006-11-14 2008-05-29 Jtekt Corp 転がり軸受用保持器

Cited By (14)

* Cited by examiner, † Cited by third party
Publication number Priority date Publication date Assignee Title
JP2014020468A (ja) * 2012-07-19 2014-02-03 Jtekt Corp 樹脂製保持器
WO2016072223A1 (ja) * 2014-11-04 2016-05-12 Ntn株式会社 合成樹脂製保持器および玉軸受
JP2016089924A (ja) * 2014-11-04 2016-05-23 Ntn株式会社 合成樹脂製保持器および玉軸受
US9982716B2 (en) 2014-11-04 2018-05-29 Ntn Corporation Synthetic resin retainer and ball bearing
JP2016138617A (ja) * 2015-01-28 2016-08-04 株式会社ジェイテクト 転がり軸受
CN107575468A (zh) * 2016-07-05 2018-01-12 株式会社捷太格特 滚动轴承
JP2018003997A (ja) * 2016-07-05 2018-01-11 株式会社ジェイテクト 転がり軸受
CN107575468B (zh) * 2016-07-05 2021-01-05 株式会社捷太格特 滚动轴承
JP2017072257A (ja) * 2016-12-06 2017-04-13 Ntn株式会社 合成樹脂製保持器および玉軸受
KR102064496B1 (ko) * 2018-11-29 2020-01-09 셰플러코리아(유) 윤활성과 결합성이 향상된 볼 베어링용 케이지
CN116324195A (zh) * 2020-09-11 2023-06-23 日本精工株式会社 滚珠轴承用树脂制保持架以及滚珠轴承
JP2021067367A (ja) * 2021-02-04 2021-04-30 株式会社ジェイテクト 転がり軸受
WO2023272953A1 (zh) * 2021-06-30 2023-01-05 人本股份有限公司 具有分体式保持架的深沟球轴承
US12181000B2 (en) 2021-06-30 2024-12-31 C&U Company Limited. Deep groove ball bearing with split cage

Also Published As

Publication number Publication date
JP5697367B2 (ja) 2015-04-08
WO2011158651A1 (ja) 2011-12-22

Similar Documents

Publication Publication Date Title
JP5697367B2 (ja) 玉軸受用保持器および玉軸受
CN103109100B (zh) 滚动轴承
US8714832B2 (en) Conical roller cage
JP2011007286A (ja) 深みぞ玉軸受およびギヤ支持装置
WO2012157411A1 (ja) 玉軸受用保持器および玉軸受
US20040141672A1 (en) Resin-made ball retainer for a rolling bearing
WO2012120996A1 (ja) 玉軸受用保持器および玉軸受
JP2011256963A (ja) 玉軸受用保持器および玉軸受
JP2011085219A (ja) 転がり軸受
JP5894491B2 (ja) 転がり軸受
JP2009281399A (ja) 深溝玉軸受用保持器及び深溝玉軸受
JP5591609B2 (ja) 玉軸受用保持器および玉軸受
JP5653798B2 (ja) 玉軸受用保持器および玉軸受
JP2011047474A (ja) 軸受用保持器および軸受
JP5623312B2 (ja) 玉軸受用保持器および玉軸受
JP2011137510A (ja) 転がり軸受およびその保持器
JP5781365B2 (ja) 玉軸受用保持器および玉軸受
JP2012102845A (ja) 玉軸受用保持器および玉軸受
JP2012255479A (ja) 玉軸受用保持器および玉軸受
JP2013213555A (ja) 合成樹脂製保持器および玉軸受
JP2009275799A (ja) 深溝玉軸受
JP5376310B2 (ja) 深みぞ玉軸受用の合成樹脂製保持器および深みぞ玉軸受
JP2012031937A (ja) 車輪軸受装置
JP2014005913A (ja) 転がり軸受
JP2018197560A (ja) 冠型保持器及びそれを備えた転がり軸受

Legal Events

Date Code Title Description
A621 Written request for application examination

Free format text: JAPANESE INTERMEDIATE CODE: A621

Effective date: 20130527

A131 Notification of reasons for refusal

Free format text: JAPANESE INTERMEDIATE CODE: A131

Effective date: 20140116

A521 Request for written amendment filed

Free format text: JAPANESE INTERMEDIATE CODE: A523

Effective date: 20140220

A131 Notification of reasons for refusal

Free format text: JAPANESE INTERMEDIATE CODE: A131

Effective date: 20140804

A521 Request for written amendment filed

Free format text: JAPANESE INTERMEDIATE CODE: A523

Effective date: 20140909

TRDD Decision of grant or rejection written
A01 Written decision to grant a patent or to grant a registration (utility model)

Free format text: JAPANESE INTERMEDIATE CODE: A01

Effective date: 20150128

A61 First payment of annual fees (during grant procedure)

Free format text: JAPANESE INTERMEDIATE CODE: A61

Effective date: 20150210

R150 Certificate of patent or registration of utility model

Ref document number: 5697367

Country of ref document: JP

Free format text: JAPANESE INTERMEDIATE CODE: R150

R250 Receipt of annual fees

Free format text: JAPANESE INTERMEDIATE CODE: R250

R250 Receipt of annual fees

Free format text: JAPANESE INTERMEDIATE CODE: R250

R250 Receipt of annual fees

Free format text: JAPANESE INTERMEDIATE CODE: R250

R250 Receipt of annual fees

Free format text: JAPANESE INTERMEDIATE CODE: R250

R250 Receipt of annual fees

Free format text: JAPANESE INTERMEDIATE CODE: R250

R250 Receipt of annual fees

Free format text: JAPANESE INTERMEDIATE CODE: R250

R250 Receipt of annual fees

Free format text: JAPANESE INTERMEDIATE CODE: R250

R250 Receipt of annual fees

Free format text: JAPANESE INTERMEDIATE CODE: R250

R250 Receipt of annual fees

Free format text: JAPANESE INTERMEDIATE CODE: R250