JP2010152182A - 光学補正ユニット、レンズ鏡筒及び撮像装置 - Google Patents

光学補正ユニット、レンズ鏡筒及び撮像装置 Download PDF

Info

Publication number
JP2010152182A
JP2010152182A JP2008331471A JP2008331471A JP2010152182A JP 2010152182 A JP2010152182 A JP 2010152182A JP 2008331471 A JP2008331471 A JP 2008331471A JP 2008331471 A JP2008331471 A JP 2008331471A JP 2010152182 A JP2010152182 A JP 2010152182A
Authority
JP
Japan
Prior art keywords
correction unit
movable member
yoke
magnet
optical correction
Prior art date
Legal status (The legal status is an assumption and is not a legal conclusion. Google has not performed a legal analysis and makes no representation as to the accuracy of the status listed.)
Granted
Application number
JP2008331471A
Other languages
English (en)
Other versions
JP2010152182A5 (ja
JP5394727B2 (ja
Inventor
Keiichi Nobori
慶一 登
Koji Hoshi
浩二 星
Shintaro Okada
慎太郎 岡田
Current Assignee (The listed assignees may be inaccurate. Google has not performed a legal analysis and makes no representation or warranty as to the accuracy of the list.)
Sigma Corp
Original Assignee
Sigma Corp
Priority date (The priority date is an assumption and is not a legal conclusion. Google has not performed a legal analysis and makes no representation as to the accuracy of the date listed.)
Filing date
Publication date
Application filed by Sigma Corp filed Critical Sigma Corp
Priority to JP2008331471A priority Critical patent/JP5394727B2/ja
Publication of JP2010152182A publication Critical patent/JP2010152182A/ja
Publication of JP2010152182A5 publication Critical patent/JP2010152182A5/ja
Application granted granted Critical
Publication of JP5394727B2 publication Critical patent/JP5394727B2/ja
Active legal-status Critical Current
Anticipated expiration legal-status Critical

Links

Images

Landscapes

  • Adjustment Of Camera Lenses (AREA)
  • Studio Devices (AREA)

Abstract

【課題】ガイド軸が必要ない3軸タイプの光学補正ユニットにおいて、ユニットの小型化を達成しつつ、補正レンズの駆動効率を向上させる。
【解決手段】ユニットに加わる振動に起因する像ぶれを補正する補正レンズ111と、前記補正レンズを保持する可動部材112と、ユニットの基部を構成するベース部材121と、前記ベース部材121に対して前記可動部材112を、前記補正レンズ111の光軸と略直交する平面上で並進及び回転自在に支持する支持手段と、前記補正レンズ111の位置を検出する位置検出手段125と、前記可動部材112を、前記光軸に略直交する方向に移動させる3つの駆動手段と、を備える光学補正ユニットにおいて、前記駆動手段は少なくとも、前記ベース部材側に設けられたコイル124と、前記可動部材側において、前記コイル124にそれぞれ対向する位置に設けられた磁石141及びヨーク142と、を有する。
【選択図】図4

Description

本発明は、撮影時に発生する像ぶれを補正するための光学補正ユニット、及びそれを備えたレンズ鏡筒並びに撮像装置に関する。
近年では、撮影における手ぶれによる像ぶれの失敗を減らすために、手ぶれによる像ぶれを補正するための手ぶれ補正機能が搭載されたカメラが多く見られるようになっている。手ぶれ補正機能を実現するための手段としては、結像光学系内に光軸と垂直な平面内を移動可能な補正レンズを有し、手ぶれ等に起因するカメラの振動を打ち消す方向にこの補正レンズを駆動させて像ぶれを補正するレンズ内光学式補正タイプと、撮影する際にイメージャの撮像領域を狭め、バッファメモリに一時記憶した複数の画像を比較することで、画像処理の段階で像ぶれを補正する電子式補正タイプがある。また、イメージャ自体を駆動させることで像ぶれを補正するカメラ内光学式補正タイプも見られる。
しかしながら電子式補正タイプでは、撮影時にイメージャの一部分しか利用されないため高精細な画像が得られないことや、1枚ずつ撮影されることの多い静止画のぶれ補正にはあまり効果的ではない等の理由から、一眼レフタイプのデジタルカメラには一般的に光学式補正タイプの手ぶれ補正機能が搭載されている。
このような光学式補正タイプの具体的な構成としては、2方向への駆動力の合力により補正レンズの駆動制御を行う2軸タイプのものと、駆動力が発生する方向を1つ追加して3方向への駆動力の合力で駆動制御する3軸タイプのものとが見られる。
2軸タイプはその構造上、像ぶれ補正機構の重心と駆動力の発生方向とを一致させにくいため、その状態で補正レンズを駆動すると回転モーメントが発生し、補正レンズに回転運動が生じてしまうという問題があった。そこで、この問題を解決するためにアクチュエータの駆動方向と一致する方向に補正レンズを摺動させるための2方向のガイド軸を有する構造が提案されている。
2軸タイプでガイド軸を有したものとしては、例えば特許文献1がある。特許文献1に開示の発明では、像ぶれ補正装置を、補正レンズと、この補正レンズを支持する第1の移動枠と、この第1の移動枠をレンズ系の光軸と直交する第1の方向へ移動可能に支持する第2の移動枠と、この第2の移動枠を光軸と直交する方向であって第1の方向とも直交する第2の方向へ移動可能に支持する固定基盤と、第1の移動枠を第1の方向へ移動させる第1の電動アクチュエータと、第2の移動枠を第2の方向へ移動させる第2の電動アクチュエータと、補正レンズの位置を検出する2つのホール素子等を有した構成としている。
移動枠間、移動枠と固定基盤間の移動を可能とするために、それらの移動枠と固定基盤には互いに自在に摺動可能な軸と軸受けからなる構造を有しており、第1の移動枠は、第1の移動枠に設けられた第1のヨークと、第1のヨークに設けられた第1のマグネットと、固定基盤に設けられ、第1のマグネットと対向する第1のコイルとから構成される第1の電動アクチュエータが発生する推進力によって、第2の移動枠に対して第1の方向に移動され、また、第2の移動枠は、第1の移動枠に設けられた第2のヨークと、第1のヨークに設けられた第2のマグネットと、固定基盤に設けられ、第2のマグネットと対向する第2のコイルとから構成される第2の電動アクチュエータが発生する推進力によって、固定基盤に対して第2の方向に移動される。
第1のコイルと第2のコイルの巻線の外側には、磁性金属やマグネットからなる磁性部材が配置される。それぞれの磁性部材が第1のマグネットと第2のマグネットの間で発生する磁力相互作用により、2つのマグネットを有する第1の移動枠は、2つのコイルを有する固定基盤に対して吸引又は反発される。
さらに、第1の移動枠及び第2の移動枠の位置検出を行う2つのホール素子が、上述したそれぞれの磁性部材と重なるように配置される。第1のホール素子は第1のマグネットの磁力を、第2のホール素子は第2のマグネットの磁力をそれぞれ検出することで、第1及び第2の移動枠を介して補正レンズの位置を検出するように構成されている。
また、3軸タイプとしては例えば特許文献2がある。特許文献2に開示の発明では、アクチュエータを、レンズ鏡筒内に固定された固定側部材である固定板、この固定板に対して移動可能に支持された可動側部材である移動枠、及び、この移動枠を支持する球状体である3つのスチールボールを備えた平行移動装置を有した構成としている。
平行移動装置は、スチールボールを移動枠に吸着させる球状体吸着手段である球状体用磁石と、スチールボールが固定板と移動枠の間で滑らかに転がるように固定板に取り付けられたスチールボール受け、及び移動枠に取り付けられたスチールボール受けを有する。
さらに、アクチュエータは、固定板に取り付けられた3つの駆動用コイルと、移動枠の、駆動用コイルに夫々対応する位置に取り付けられた3つの駆動用磁石と、各駆動用コイルの内側に配置された位置検出手段である磁気センサと、を有する。
また、アクチュエータは、駆動用磁石の磁力によって移動枠を固定板に吸着させるために、固定板に取り付けられた吸着用ヨークと、駆動用磁石の磁力を固定板の方に効果的に差し向けるように、駆動用磁石の裏側に取り付けられたバックヨークと、を有する。
駆動用コイル、及びこれらに対応する位置に取り付けられた3つの駆動用磁石は、移動枠を、固定板に対して並進運動させ、且つ回転運動させることができる駆動手段を構成する。また、駆動用磁石は、移動枠を固定板に吸着させるための吸着用磁石として作用し、吸着用ヨークは、吸着用磁石に吸着される磁性体として作用する。
特開2007−212876号公報 特開2007−086808号公報
しかしながら、上記の従来技術では以下のような問題点があった。すなわち、特許文献1に開示の発明では、軸と軸受けからなるガイド部材を有するため、2つの移動枠とそのベースとなる固定基盤とからなる3層構造を採用せざるを得ず、これにより構造の複雑化と部品点数の増加を招き、コストの上昇と組立工数の増加が避けられなかった。
また、コイルの中心に設けられた磁性部材と固定基盤に設けられたマグネットとの磁力相互作用により、軸と軸受けとの間に生じる隙間に起因する光軸と平行な向きのガタツキを低減することはできるが、回転モーメントが発生する構成であることは変わらないため、移動枠の回転に起因する光軸と垂直な向きのガタツキをなくすことはできなかった。
さらに、ガイド軸と軸受けとの間に発生する摩擦の静止摩擦係数と動摩擦係数との違いにより、制御入力に対する出力が一定しないという問題があるために移動枠の制御が困難であり、特に補正レンズの微小駆動時に駆動応答性を劣化させるという問題があった。
また、特許文献1の実施例では磁気回路を構成するヨークをコの字形状としているため、ヨークを有する第1の移動枠が径方向に大型化することとなり、補正ユニットの小型化を妨げていた。
次に、特許文献2に開示の発明では、補正レンズを駆動すると、可動側部材に設けられた駆動用磁石及びバックヨークと、固定側部材に設けられた吸着用ヨークとの相対位置が変化する構成となっている。このため、吸着用ヨークに作用する磁力に変化が生じて吸着用ヨーク内に渦電流が発生し、これによる動作抵抗でアクチュエータの駆動効率が低下するという問題があった。
また本構成においては、駆動用磁石と吸着用ヨークとの距離を変化させると、これに伴って両部材の間に発生する磁束密度と磁気吸引力とが変化する。磁気吸引力の変化は、さらに、可動側部材と固定側部材との間に挟持されるスチールボールとそのボール受け面間の圧力の変化に繋がる。従って、駆動用磁石と吸着用ヨークとの間の距離によっては磁気吸引力が大きくなり、ボール受け面の圧力が高すぎる状態となる。その結果、そのボール受け面の傷又は凹み等により耐久性の低下へと繋がる。
つまり、アクチュエータの出力向上を目的として駆動用磁石と吸着用ヨークとの距離を短縮した際に、磁気吸引力増加によるボール受け面の耐久性低下が懸念される。これを防ぐためには駆動用磁石と吸着用ヨークとの距離を大きく取らざるを得ず、アクチュエータの出力低下や大型化に繋がる可能性があった。また、ボール受け面の耐久性向上のために高い硬度の金属板を受け面に追加する等の対策では、部品点数増化や組立工程の増加といった問題だけでなく、駆動用磁石と吸着用ヨークとの間の渦電流やコギング増加に起因するぶれ補正性能の低下及び消費電流の増加を招く可能性があった。
以上の理由により、本構成ではアクチュエータ出力の向上を図ることが難しく、可動側部材の重量増を伴う補正レンズの大型化等への対応が難しかった。
本発明はこのような状況に鑑みてなされたものであり、ガイド軸が必要ない3軸タイプの光学補正ユニットであって、ユニットの小型化を達成しつつ、補正レンズの駆動効率を向上させることを目的とする。
上記目的を達成するために、本発明を実施の光学補正ユニットは、ユニットに加わる振動に起因する像ぶれを補正する補正レンズと、補正レンズを保持する可動部材と、ユニットの基部を構成するベース部材と、ベース部材に対して可動部材を、補正レンズの光軸と略直交する平面上で並進及び回転自在に支持する支持手段と、補正レンズの位置を検出する位置検出手段と、可動部材を、光軸に略直交する方向に移動させる3つの駆動手段と、を備え、駆動手段は少なくとも、ベース部材側に設けられたコイルと、可動部材側において、コイルにそれぞれ対向する位置に設けられた磁石及びヨークと、を有する構成としたものである。
さらに本発明を実施の光学補正ユニットは、上記発明において、磁石のコイルと対向しない面にバックヨークと、吸着用磁石と吸着用ヨークとからなる付勢手段と、を有し、また、ヨークを、コイルに対向する対向部と、対向部を互いに連結する連結部とからなる一体形状とし、磁石との間の磁気吸引によって可動部材に固定する構成としたものである。
さらに、本発明を実施のレンズ鏡筒は、上記発明に記載の光学補正ユニットを備えた構成としたものである。
さらに、本発明を実施の撮像装置は、上記発明に記載のレンズ鏡筒を備えた構成としたものである。
本発明を実施の光学補正ユニット、レンズ鏡筒及び撮像装置によれば、ガイド軸を用いない3軸タイプの光学補正ユニットであって、光学補正ユニットの小型化を達成しつつ、補正レンズの駆動効率を向上させることができる。
以下、添付の図面に従って、本発明を実施するための最良の形態について説明する。なお、この実施の形態により本発明が限定されるものではない。
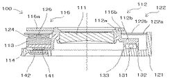
図1は、本発明の一実施形態である光学補正ユニットの外観を示した斜視図であり、図2は、図1に示した光学補正ユニットの展開斜視図である。図3は、光学補正ユニットの上面図であり、説明のために一部の部材を破線で示している。図4は、図3中に示したA−A線断面図である。図5は、位置検出手段の動作原理を説明するための図であり、図5aは構成の概略を示す説明図、図5bは磁石に対するホール素子の位置と出力電圧の関係を説明するグラフである。図6は、駆動手段の拡大断面図であり、駆動手段内に形成される磁気回路を説明するための図である。図7は、本発明のレンズ鏡筒及び撮像装置のぶれ補正制御の概念を示すブロック図である。
まず、本発明の光学補正ユニットの構成について説明する。光学補正ユニット100は、図1及び図2に示すように概ね円盤形状の外径を有していて、ユニットに加わる振動に起因する像ぶれを補正する補正レンズ111と、補正レンズを保持するレンズ保持枠112(特許請求の範囲に記載の可動部材に相当)と、光学補正ユニットのベースとなるベース部材121と、補正レンズ111の光軸と直交する平面において光軸を中心とする円周上に120°間隔で設けられ、レンズ保持枠112とベース部材121との間に挟まれてレンズ保持枠を支持する3つの鋼球131(特許請求の範囲に記載の球体に相当)と、ベース部材121に固定される回路基板122(特許請求の範囲に記載の基板に相当)等を備えている。
レンズ保持枠112とベース部材121には、3つの鋼球131に対応する位置に、それぞれ可動側鋼球受け部132と固定側鋼球受け部133とが設けられており、鋼球131はこれらの受け部に挟まれている。これによりレンズ保持枠112はベース部材121に対して、光軸と直交する平面内で円滑に移動することができる。本実施形態では、可動側鋼球受け部132と固定側鋼球受け部133とは同一の半径を持つ円形の凹形状となっており、凹形状の壁面によって鋼球131の脱落が防止される。なお、可動側鋼球受け部132と固定側鋼球受け部133、及び鋼球131は、特許請求の範囲に記載の支持手段を構成している。
レンズ保持枠112は、補正レンズ111がかしめられる円筒部112aと、永久磁石113(特許請求の範囲に記載の磁石に相当)、バックヨーク114、及び可動側鋼球受け部132を備えるフランジ部112bとから構成されている。バックヨーク114は、このフランジ部112bにインサート成形されることで固定されている。このバックヨーク114は軟磁性体の金属で作られており、永久磁石113はこのバックヨーク114に対して磁気吸引されて保持されている。永久磁石113とバックヨーク114との間の保持力をさらに高めるために、これらの間に接着剤や両面粘着テープ等の接着手段を介在させることも考えられる。レンズ保持枠112の円筒部112aにはさらに可動ヨーク115(特許請求の範囲に記載のヨークに相当)が設けられるが、この可動ヨーク115は、円筒部112aのフランジ部112bを有さない側の端部に、永久磁石113と対向する位置に取り付けられる。
可動ヨーク115と、フランジ部112bと、円筒部112aとに囲まれている円筒形状の空気領域には、概ね円環形状の回路基板122が配置される。回路基板122は、図4及び図6に示すように、回路パターンがプリントされたフレキシブルプリント基板122aと補強用のガラスエポキシ等からなる補強板122bとから構成されている。回路基板122は、レンズ保持枠112に取り付けられた各種部材と干渉しないように、ベース部材121から伸長する不図示のボスにビス123で固定されている。この回路基板122には、不図示の電源により電力が供給されるコイル124が実装されており、永久磁石113と対向する位置に固定されている。
すなわち、回路基板122を通じてベース部材121側に固定されるコイル124は、レンズ保持枠112を介して光軸と直交する方向に移動可能な可動ヨーク115と永久磁石113とに挟まれるような構成となっている。これにより、レンズ保持枠112を光軸と直交する平面上で駆動するための駆動力を発生する駆動手段が構成される。この駆動手段は、特許請求の範囲に記載の駆動手段に対応している。なお、レンズ保持枠112の駆動については後に詳述する。
図2及び図3に示すように、本発明の光学補正ユニット100はこの駆動手段を3つ有しており、これらは光軸と直行する平面において光軸を中心とする円周上に120°の間隔で、上述した鋼球131の支持手段と干渉しない位置に設けられている。本実施形態では、隣り合う駆動手段と支持手段とが光軸を中心に60°ずれて配置されている。さらに、各コイル124は概ね矩形形状をしており、その長辺が光軸を中心とする円周の接線方向と一致するように配置されている。
回路基板122に実装される各コイル124の巻線の内側には、ホール素子125が合計で3つ実装されている。すなわち各ホール素子125は、対応する永久磁石113と可動ヨーク115とに挟まれた空間中に位置しており、同時に、ホール素子125の検出部が永久磁石113の磁極境界線上に来るように配置されている。ホール素子125は、可動部材であるレンズ保持枠112の移動によって発生する、永久磁石113からの磁束密度の変化を検知する。3つのホール素子125の出力から、そのときの補正レンズ111の位置を知ることができる。これらのホール素子125と永久磁石113とで、特許請求の範囲に記載の位置検出手段を構成している。ホール素子125の位置検出の原理、及び、ぶれ補正の原理については後に詳述する。
なお、これ以降に説明する光学補正ユニット100に備えられた各部材の配置は、レンズ保持枠112がベース部材121に対してセンタリングされた状態を基準として説明する。レンズ保持枠112がセンタリングされた状態とは、補正レンズ111の光軸とベース部材121の中心軸とが一致し、さらに、各駆動手段の各部材の中心が光軸方向に一直線に並んだ状態を指すものとする。
ここで、駆動手段を構成する可動ヨーク115について説明する。レンズ保持枠112の円筒部112a先端に設けられる可動ヨーク115は、永久磁石113及びコイル124に対応する位置に設けられる3つの対向部115aと、それらを繋ぐ連結部115bとを有するフラットな一体形状のプレスパーツである。対向部115aは対応する永久磁石113と同じような広さを持った形状であり、連結部115bは可動ヨーク115全体の強度と軽量化を両立できる範囲で対向部115aよりも細い形状となっており、可動ヨーク115は全体として概ねY字形状となっている。
この可動ヨーク115は軟磁性体の金属で作られており、このためレンズ保持枠112に設けられた永久磁石113との間で磁気吸引力が発生する。可動ヨーク115はこの吸引力を利用してレンズ保持枠112に吸着され、円筒部112aの先端に設けられた位置決め凸部115cと対応する複数の切り欠き部115dのみによって位置決めされる。これらは、特許請求の範囲に記載の位置決め手段を構成している。
このような構成とすることによって、磁束を整流するためのヨーク(本実施形態の可動ヨーク115)が磁束を発生するための永久磁石113と一体となって移動するので、可動ヨーク115に作用する磁力は常に一定となる。従って、磁石とヨークの相対位置が変化するような構成と比べて、可動ヨーク115内に渦電流が発生せず、これによる動作抵抗によってレンズ保持枠112の駆動効率が低下することもない。
また、3つの駆動手段のためのヨークを一体形状とし、この可動ヨーク115を磁気吸引力のみでレンズ保持枠112の円筒部112aを利用して固定可能としたので、3つの単体ヨークを可動部材に個別に固定する場合と比べて、単体ヨーク用の固定部材が不要となり、部品点数や組立工数を大幅に削減できる。さらに、ヨークの形状をコの字形状とした場合と比べて、上下のヨークを結ぶ連結部が不要となるため、部品点数の削減やユニットの小型化が達成できる。
ホール素子125を用いた位置検出の原理について、図5を参照して説明する。ホール素子125は、磁束密度を検知し、検知した磁束密度に応じた電圧を出力する磁気センサの一種である。図5aに示すように、ホール素子125の近傍に検出用磁石126が配置されているときを考える。
検出用磁石126は、図示のように角型平板状の2極磁石が2枚重なった構成となっており、その着磁方向は、磁石の平面方向を2等分するように極性を異ならせていると共に、その平面方向と直交する厚み方向をも2等分するように極性を異ならせている。このような構成とすると、検出用磁石126の両端には垂直方向に互いに逆向きの磁束が発生し、検出用磁石126を2極磁石1枚のみで構成するよりも、高い磁束密度が得られるようになる。検出用磁石126の垂直方向には軟磁性体の金属で作られたヨーク127を2つ配置している。これにより、漏洩磁束の少ない磁気回路が構成できる。ホール素子125は、この検出用磁石126の平面方向のS極とN極間の磁極境界線の延長上に位置しており、この状態を基準とする。
図5bは、検出用磁石126が形成する磁界の磁束密度を表したグラフであり、横軸は平面方向の距離、縦軸は磁束密度を示している。検出用磁石126の磁極境界線上では磁束密度がゼロとなる。図5aの構成では、検出用磁石126の磁極境界線に垂直な方向に移動したときに、ホール素子125は検出用磁石126の磁束密度を検知し、グラフに示した磁束密度に比例した電圧を出力する。
検出用磁石126の磁極境界線上の近傍では、磁束密度は図中の破線にあるような所定の範囲内では良好な直線性(リニアリティ)を示す。ホール素子125の検出精度は、検出用磁石126の1mmの移動に対して数μmのオーダーであるものが多い。従って、磁束密度のリニアリティが確保された領域内で検知された磁束密度を利用することで、ホール素子125の位置を高精度に検出することが可能となる。なお、リニアリティが確保できる領域は、検出用磁石126の大きさ、ホール素子125の動作特性、さらに検出用磁石126とホール素子125との間の空間距離等に依存する。
本実施形態では、上述した検出用磁石126が駆動手段を構成する永久磁石113を兼ねる構成としており、永久磁石113の着磁は上述した検出用磁石126と同様としてある。これにより、2つの磁石を別部材として設ける場合と比べて、重量増加の抑制やスペースの効率的な利用が可能となる。また、本実施形態の可動ヨーク115とバックヨーク114が、上述したヨーク127の役割を果たす。
次に、図3に示す上面図及び図4に示すA−A線断面図を用いて、駆動手段を構成する各部材の、光軸に垂直な平面方向での大小関係を説明する。なお図3においては説明をわかりやすくするために、可動ヨーク115と回路基板122を半透明とし、破線で示している。
概ね円盤形状を有する光学補正ユニット100の半径方向に関しては、可動ヨーク115、永久磁石113、バックヨーク114は概ね同一の大きさを有しており、コイル124はそれらよりも若干小さくなっている。接線方向に関しては、可動ヨーク115とバックヨーク114の大きさは、コイル124巻線の内径と外径の間に収まる大きさとなっており、また、永久磁石113の大きさは、コイル124巻線の内径よりも若干小さくなっている。これらの各部材の大きさの違いは、光学補正ユニット100の光学補正を行おうとする範囲や可動部の重量、使用するホール素子125の動作特性等により決定される。
光軸方向においてコイル124が永久磁石113と重なる領域は、レンズ保持枠112をベース部材121に対して駆動させる力を発生する駆動力発生部として機能する。本実施形態によれば、永久磁石113と重なるのはコイル124の長辺部分である。以下に、本実施形態の駆動手段において駆動力が発生する原理を簡単に説明する。
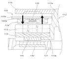
図6に示すように、レンズ保持枠112に固定された永久磁石113は、レンズ保持枠112にインサート成形されたバックヨーク114と、レンズ保持枠112の円筒部112a先端に磁気吸引により固定された可動ヨーク115とで挟まれることによって、各永久磁石113から発生する磁束は漏れが少なく整った向きで効率的に互いのヨークの方向に差し向けられる。これにより、各駆動手段は図6に書き込まれるような磁気回路を構成する。
上述したように、回路基板122に実装されるコイル124の長辺は磁気回路中に位置しており、このコイル124に通電するとコイル124内を流れる電子にローレンツ力が働くので、これによりレンズ保持枠112はベース部材121に対して駆動されることになる。発生する駆動力の向きはフレミング左手の法則に従う。
本実施形態では、上述した3つの駆動手段は図3に示すように、各コイル124の長辺が光軸を中心とする円周の接線方向を向くように120°間隔で配置されている。従って、各駆動手段の駆動力は円周の半径方向に120°間隔で3軸あることになる。上述したように、レンズ保持枠112は支持手段によって光軸と直交する平面内で移動自在とされているので、レンズ保持枠112は3つの駆動軸に沿って、ベース部材121に対して並進移動される。それら3軸に沿った駆動を適切に組み合わせることによって、任意の位置にレンズ保持枠112を移動させることが可能となる。
次に、レンズ保持枠112が光軸方向に移動しないようにするために、レンズ保持枠112をベース部材121側に付勢する付勢手段について説明する。図2及び図4にあるように、レンズ保持枠112の各バックヨーク114には、それぞれ吸着用磁石141が、永久磁石113の取り付けられる面とは反対側の面に磁気吸引によって取り付けられている。吸着用磁石141と永久磁石113との間の保持力をさらに高めるために、これらの間に接着剤や両面粘着テープ等の接着手段を介在させることも考えられる。また、ベース部材121の裏側であって、これら吸着用磁石141と対応する位置には、それぞれ吸着用ヨーク142が接着剤や両面粘着テープ等の接着手段によって固定されている。この吸着用ヨーク142は、レンズ保持枠112に固定される可動ヨーク115と同様に軟磁性体の金属で作られているので、吸着用磁石141と吸着用ヨーク142との間にも磁気吸引力が発生する。これらの吸着用磁石141と吸着用ヨーク142とで、特許請求の範囲に記載の付勢手段を構成している。
なお、吸着用ヨーク142は、ベース部材121の背面に設けられた凹部内に固定されているので、吸着用ヨーク142と吸着用磁石141との間の距離を短くすることができる。このため、吸着用磁石141を大きくしなくても、レンズ保持枠112の付勢に必要な吸着力が得られる。
以上のような構成とすることによって、吸着用の磁石を駆動力発生用の磁石で兼用させた場合と比べて、レンズ保持枠112の吸着力を任意に設定することができるので、支持手段を構成する鋼球131にかかる圧力を必要最小限に抑えることができる。これにより、鋼球131の受け部に高い硬度の金属板等を別途設ける必要がなく、支持手段の耐久性を維持することが可能となる。さらに、受け部の耐久性を気にせずに、永久磁石113やコイル124の大型化による駆動手段の駆動力向上を図ることができる。
また本実施形態の付勢手段では、付勢するための専用部材を可動部材側にも設けることになるが、このような構成では、吸着用の磁石を駆動力発生用の磁石で兼用させた場合と比べて、可動部材とベース部材との間で渦電流が発生することはないので動作抵抗が発生せず、駆動手段の出力効率の低下を防ぐことができる。さらに、吸着用ヨーク142と吸着用磁石141との間のコギングにより、ベース部材121に対するレンズ保持枠112の回転運動が抑制されるので、回転止め等の新たな部材を追加する必要がなくなる。
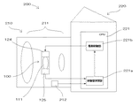
図7は、上述してきた構成及び機能を有した光学補正ユニット100を備えた本発明のレンズ鏡筒の一実施形態を示したブロック図であり、さらに、このレンズ鏡筒とカメラ本体とからなるカメラシステムのブロック図を示している。このカメラシステムは、本発明の撮像装置の一実施形態を示すものである。
カメラシステム200は、レンズ鏡筒210及びカメラ本体220から構成されている。レンズ鏡筒210は概ね円筒形状であり、内部に結像光学系211を備えている。レンズ鏡筒210の後端部には不図示のレンズ側マウントが設けられている。また、カメラ本体220の前面には不図示のカメラ側マウントが設けられており、双方のマウントが結合することでレンズ鏡筒210とカメラ本体220とが着脱可能に固定される。
結像光学系211の光軸上のカメラ本体220内部には、被写体光を光電変換する不図示の撮像素子(CCD、CMOS等)が設けられている。また、カメラ本体220背面には不図示の表示装置(LCD、有機EL等)が設けられており、さらに、カメラ本体220には記録メディア用のスロットが設けられている。これにより、このカメラ本体220は、撮像素子で得られた画像情報を記録メディアに記録したり、表示装置に表示したりすることができる。
レンズ鏡筒210内には、さらに上述してきた光学補正ユニット100が備えられている。この光学補正ユニット100の補正レンズ111は、レンズ鏡筒210の結像光学系211の一部を構成している。また光学補正ユニット100のベース部材121は、センタリング状態にある光学補正ユニット100の補正レンズ111の光軸が結像光学系の光軸と一致するように、レンズ鏡筒210内に固定されている。
レンズ鏡筒210には2つのジャイロセンサ212が備えられており、カメラシステム200のピッチ方向とヨー方向の回転を検知する。これらのジャイロセンサ212が、撮影者の手の震えや揺れ等によってカメラシステム200に働く加速度、角速度、又は角加速度からカメラ姿勢の変化を検出し、検出されたカメラ姿勢情報がCPU221内の制御量演算部221aに入力される。
また、すでに述べたように、光学補正ユニット100内で位置検出系を構成する3つのホール素子125は、永久磁石113の移動に伴う磁束の変化を検出する。3つのホール素子125の出力から、そのときの補正レンズ111の位置がわかる。検出された補正レンズ111の位置情報もCPU221内の制御量演算部221aに入力される。
CPU221内の制御量演算部221aでは、入力されたカメラ姿勢情報及び補正レンズ位置情報が比較され、ぶれ補正に必要な制御量が算出される。算出された制御量は、同じくCPU221内にある駆動制御部221bに送られる。
駆動制御部221bでは、算出された制御量に基づいて、ぶれ量を補正するために必要な補正レンズ111の駆動量及び駆動方向が演算され、各駆動手段のコイル124に流す電流量等が適切に制御される。
上述した実施形態では支持手段を構成する球体として鋼球131を用いたが、金属ではなく例えばセラミック製の球を用いてもよい。セラミックは金属に比べて熱膨張が少ないので、セラミック球を用いた支持手段を採用することによって、気温変動が大きいような過酷な環境にも耐えうる光学補正ユニットを実現することができる。
また、可動ヨーク115の位置決め手段を、可動ヨーク115に設けた切り欠き部115dと、レンズ保持枠112に設けた位置決め凸部115cとで構成していたが、これを、可動ヨーク115に設けられた穴部と、レンズ保持枠112に設けた位置決めピンとしてもよい。
上述した実施形態では、光軸を中心とする円周上に配置された各駆動手段の駆動力出力軸の交点が、光軸上に来るような構成としていたが、少なくとも1つの駆動手段の駆動力の発生方向を、光軸を中心とする円周の接線方向としてもよい。駆動力の発生方向を円周の接線方向とするためには、駆動力発生部として機能するコイル124の長辺を、光軸を中心とする円周の接線方向ではなく半径方向を向くように配置すればよい。これによりこの駆動手段は円周の接線方向の駆動力を発生することができる。また、ホール素子125が円周の接線方向の移動を検出するためには、駆動手段内の永久磁石113の着磁方向を光軸に直交する平面において90°回転させる。すなわち、永久磁石113の磁極境界線が円周の半径方向を向くように配置すればよい。
また、本発明の実施形態として光学補正ユニット100を有するレンズ鏡筒を交換レンズ210とし、これをカメラ本体220に結合したカメラシステム200について説明したが、ぶれ補正を行うための各種演算部をレンズ鏡筒内に配置することで、レンズ鏡筒のみでぶれ補正を行うことも可能である。
さらに、本発明の撮像装置の一実施形態としてカメラシステム200について説明したが、これに限られるものではなく、例えばビデオカメラやコンパクトデジタルカメラに適用することも可能である。
以上説明したように、本発明の光学補正ユニット、レンズ鏡筒及び撮像装置によれば、ガイド軸を用いない3軸タイプの光学補正ユニットであって、光学補正ユニットの小型化を達成しつつ、補正レンズの駆動効率を向上させることが可能となる。
本発明の一実施形態である光学補正ユニットの外観を示した斜視図である。 図1に示した光学補正ユニットの展開斜視図である。 図1に示した光学補正ユニットの上面図である。 図3中に示したA−A線断面図である。 位置検出手段の動作原理を説明するための図であり、図5aは構成の概略を示す説明図、図5bは磁石に対するホール素子の位置と出力電圧の関係を説明するグラフである。 駆動手段の拡大断面図であり、駆動手段内に形成される磁気回路を説明するための図である。 本発明のレンズ鏡筒及び撮像装置のぶれ補正制御の概念を示すブロック図である。
符号の説明
100 光学補正ユニット
111 補正レンズ
112 レンズ保持枠
113 永久磁石
114 バックヨーク
115 可動ヨーク
115a 対向部
115b 連結部
115c 位置決め凸部
115d 切り欠き部
121 ベース部材
122 回路基板
124 コイル
125 ホール素子
131 鋼球
141 吸着用磁石
142 吸着用ヨーク
200 カメラシステム
210 レンズ鏡筒
211 結像光学系
212 ジャイロセンサ
220 カメラ本体
221 CPU
221a 制御量演算部
221b 駆動制御部

Claims (12)

  1. 振動に起因する像ぶれを補正する補正レンズと、
    前記補正レンズを保持する可動部材と、
    ユニットの基部を構成するベース部材と、
    前記ベース部材に対して前記可動部材を、前記補正レンズの光軸と略直交する平面上で並進及び回転自在に支持する支持手段と、
    前記補正レンズの位置を検出する位置検出手段と、
    前記可動部材を、前記光軸に略直交する方向に移動させる3つの駆動手段と、
    を備える光学補正ユニットにおいて、
    前記駆動手段は少なくとも、
    前記ベース部材側に設けられたコイルと、
    前記可動部材側において、前記コイルにそれぞれ対向する位置に設けられた磁石及びヨークと、
    を有することを特徴とする光学補正ユニット。
  2. 前記コイルは、前記ベース部材に固定された基板を介して前記ベース部材側に固定されており、前記光軸と平行な方向において、前記磁石と前記ヨークとの間の領域に配置されることを特徴とする請求項1に記載の光学補正ユニット。
  3. 前記駆動手段はさらに、前記磁石の前記コイルと対向しない面にバックヨークを有することを特徴とする請求項1又は2に記載の光学補正ユニット。
  4. 前記駆動手段は、前記光軸を中心とする円周上に略120°間隔で配置されることを特徴とする請求項1乃至3のいずれかに記載の光学補正ユニット。
  5. 前記支持手段は、球体と、前記可動部材及び前記ベース部材に設けられた受け部とからなり、前記光軸を中心とする円周上に略120°間隔で配置されることを特徴とする請求項1乃至4のいずれかに記載の光学補正ユニット。
  6. 前記光学補正ユニットは、さらに、前記可動部材を前記ベース部材側に付勢する付勢手段を有し、前記付勢手段は、前記可動部材側又は前記ベース部材側のどちらか一方に設けられた吸着用磁石と、前記可動部材側又は前記ベース部材のもう一方に設けられた吸着用ヨークと、を有することを特徴とする請求項1乃至5のいずれかに記載の光学補正ユニット。
  7. 前記吸着用磁石は、前記バックヨークとの間の磁気吸引によって、前記可動部材に固定されることを特徴とする請求項6に記載の光学補正ユニット。
  8. 前記ヨークは、前記コイルに対向する対向部と、前記対向部を互いに連結する連結部とからなる一体形状をしており、前記可動部材と前記ヨークとを位置決めする位置決め手段と、前記可動部材と前記磁石との間に発生する磁気吸引力とによって、前記可動部材に固定されることを特徴とする請求項1乃至7のいずれかに記載の光学補正ユニット。
  9. 前記位置決め手段は、前記ヨーク又は前記可動部材のどちらか一方に設けられた切り欠き部と、前記ヨーク又は前記可動部材のもう一方に設けられた凸部とで位置決めされることを特徴とする請求項8に記載の光学補正ユニット。
  10. 前記駆動手段の出力発生方向の交点が、前記光軸上に位置することを特徴とする請求項1乃至9のいずれかに記載の光学補正ユニット。
  11. 請求項1乃至10のいずれかに記載の光学補正ユニットを備えたことを特徴とするレンズ鏡筒。
  12. 請求項11に記載のレンズ鏡筒を備えたことを特徴とする撮像装置。
JP2008331471A 2008-12-25 2008-12-25 光学補正ユニット、レンズ鏡筒及び撮像装置 Active JP5394727B2 (ja)

Priority Applications (1)

Application Number Priority Date Filing Date Title
JP2008331471A JP5394727B2 (ja) 2008-12-25 2008-12-25 光学補正ユニット、レンズ鏡筒及び撮像装置

Applications Claiming Priority (1)

Application Number Priority Date Filing Date Title
JP2008331471A JP5394727B2 (ja) 2008-12-25 2008-12-25 光学補正ユニット、レンズ鏡筒及び撮像装置

Publications (3)

Publication Number Publication Date
JP2010152182A true JP2010152182A (ja) 2010-07-08
JP2010152182A5 JP2010152182A5 (ja) 2012-02-02
JP5394727B2 JP5394727B2 (ja) 2014-01-22

Family

ID=42571325

Family Applications (1)

Application Number Title Priority Date Filing Date
JP2008331471A Active JP5394727B2 (ja) 2008-12-25 2008-12-25 光学補正ユニット、レンズ鏡筒及び撮像装置

Country Status (1)

Country Link
JP (1) JP5394727B2 (ja)

Cited By (11)

* Cited by examiner, † Cited by third party
Publication number Priority date Publication date Assignee Title
JP2012032525A (ja) * 2010-07-29 2012-02-16 Olympus Imaging Corp 像振れ補正装置及びカメラ
JP2012150427A (ja) * 2010-12-28 2012-08-09 Sigma Corp 光学的像振れ補正装置及び撮像装置
WO2014003281A1 (en) * 2012-06-29 2014-01-03 Lg Innotek Co., Ltd. Camera module
JP2014115406A (ja) * 2012-12-07 2014-06-26 Nidec Copal Corp レンズ駆動装置
JP2014142463A (ja) * 2013-01-23 2014-08-07 Nidec Copal Corp レンズ駆動装置
JP2015106084A (ja) * 2013-11-29 2015-06-08 オリンパス株式会社 レンズ駆動装置
KR101609351B1 (ko) 2015-04-08 2016-04-05 자화전자(주) Ois 액츄에이터
CN106125453A (zh) * 2016-08-24 2016-11-16 中山联合光电科技股份有限公司 一种新型镜头防抖机构
CN116366949A (zh) * 2021-12-28 2023-06-30 三星电机株式会社 传感器移位致动器和相机模块
KR20230096589A (ko) * 2021-12-23 2023-06-30 삼성전기주식회사 카메라 모듈
KR20230096383A (ko) * 2021-12-23 2023-06-30 삼성전기주식회사 센서 시프팅 액추에이터

Citations (8)

* Cited by examiner, † Cited by third party
Publication number Priority date Publication date Assignee Title
JPH103101A (ja) * 1996-06-18 1998-01-06 Nikon Corp ブレ補正装置
JP2007017517A (ja) * 2005-07-05 2007-01-25 Fujinon Corp 像振れ補正装置
JP2007086808A (ja) * 2006-12-18 2007-04-05 Tamron Co Ltd アクチュエータ、及びそれを備えたレンズユニット、カメラ
JP2007102033A (ja) * 2005-10-06 2007-04-19 Pentax Corp ステージ装置のロック機構
JP2008224723A (ja) * 2007-03-08 2008-09-25 Fujifilm Corp 手振れ補正装置及びそれを備えた光学機器
JP2008233385A (ja) * 2007-03-19 2008-10-02 Chinontec Kk ぶれ防止装置、レンズ鏡筒および光学機器
JP2008281660A (ja) * 2007-05-09 2008-11-20 Hoya Corp ステージ装置及びカメラの手振補正装置
JP2008304532A (ja) * 2007-06-05 2008-12-18 Tamron Co Ltd アクチュエータ及びそれを備えたレンズユニット、カメラ

Patent Citations (8)

* Cited by examiner, † Cited by third party
Publication number Priority date Publication date Assignee Title
JPH103101A (ja) * 1996-06-18 1998-01-06 Nikon Corp ブレ補正装置
JP2007017517A (ja) * 2005-07-05 2007-01-25 Fujinon Corp 像振れ補正装置
JP2007102033A (ja) * 2005-10-06 2007-04-19 Pentax Corp ステージ装置のロック機構
JP2007086808A (ja) * 2006-12-18 2007-04-05 Tamron Co Ltd アクチュエータ、及びそれを備えたレンズユニット、カメラ
JP2008224723A (ja) * 2007-03-08 2008-09-25 Fujifilm Corp 手振れ補正装置及びそれを備えた光学機器
JP2008233385A (ja) * 2007-03-19 2008-10-02 Chinontec Kk ぶれ防止装置、レンズ鏡筒および光学機器
JP2008281660A (ja) * 2007-05-09 2008-11-20 Hoya Corp ステージ装置及びカメラの手振補正装置
JP2008304532A (ja) * 2007-06-05 2008-12-18 Tamron Co Ltd アクチュエータ及びそれを備えたレンズユニット、カメラ

Cited By (19)

* Cited by examiner, † Cited by third party
Publication number Priority date Publication date Assignee Title
JP2012032525A (ja) * 2010-07-29 2012-02-16 Olympus Imaging Corp 像振れ補正装置及びカメラ
JP2012150427A (ja) * 2010-12-28 2012-08-09 Sigma Corp 光学的像振れ補正装置及び撮像装置
WO2014003281A1 (en) * 2012-06-29 2014-01-03 Lg Innotek Co., Ltd. Camera module
US9380212B2 (en) 2012-06-29 2016-06-28 Lg Innotek Co., Ltd. Camera module
JP2014115406A (ja) * 2012-12-07 2014-06-26 Nidec Copal Corp レンズ駆動装置
JP2014142463A (ja) * 2013-01-23 2014-08-07 Nidec Copal Corp レンズ駆動装置
JP2015106084A (ja) * 2013-11-29 2015-06-08 オリンパス株式会社 レンズ駆動装置
KR101609351B1 (ko) 2015-04-08 2016-04-05 자화전자(주) Ois 액츄에이터
CN106125453A (zh) * 2016-08-24 2016-11-16 中山联合光电科技股份有限公司 一种新型镜头防抖机构
KR20230096589A (ko) * 2021-12-23 2023-06-30 삼성전기주식회사 카메라 모듈
KR20230096383A (ko) * 2021-12-23 2023-06-30 삼성전기주식회사 센서 시프팅 액추에이터
KR102632375B1 (ko) * 2021-12-23 2024-02-02 삼성전기주식회사 센서 시프팅 액추에이터
KR102632371B1 (ko) * 2021-12-23 2024-02-02 삼성전기주식회사 카메라 모듈
US12212850B2 (en) 2021-12-23 2025-01-28 Samsung Electro-Mechanics Co., Ltd. Sensor shifting actuator
US12348845B2 (en) 2021-12-23 2025-07-01 Samsung Electro-Mechanics Co., Ltd. Camera module
CN116366949A (zh) * 2021-12-28 2023-06-30 三星电机株式会社 传感器移位致动器和相机模块
KR20230100341A (ko) * 2021-12-28 2023-07-05 삼성전기주식회사 센서 시프팅 액추에이터 및 이를 포함하는 카메라 모듈
KR102632373B1 (ko) 2021-12-28 2024-02-02 삼성전기주식회사 센서 시프팅 액추에이터 및 이를 포함하는 카메라 모듈
US12439158B2 (en) 2021-12-28 2025-10-07 Samsung Electro-Mechanics Co., Ltd. Camera module with sensor shifting actuator

Also Published As

Publication number Publication date
JP5394727B2 (ja) 2014-01-22

Similar Documents

Publication Publication Date Title
JP5394727B2 (ja) 光学補正ユニット、レンズ鏡筒及び撮像装置
US8767120B2 (en) Camera drive device
JP5266091B2 (ja) 光学補正ユニット、レンズ鏡筒及び撮像装置
JP5769712B2 (ja) 傾き補正ユニット
JP5658071B2 (ja) 像振れ補正装置
JP4804564B2 (ja) 振れ補正装置を有する光学機器
US8442393B2 (en) Shake correction apparatus in digital camera
JP6257187B2 (ja) 像振れ補正装置、レンズ鏡筒、光学機器、および撮像装置
JP5132295B2 (ja) 撮像装置および光学機器
JP5232048B2 (ja) 光学補正ユニット組立方法及び光学補正ユニット、光学補正ユニットを有するレンズ鏡筒及び撮像装置
US11165325B2 (en) Drive apparatus having drive unit using magnetic circuit
JP2012118517A (ja) 手振れ補正ユニット
WO2014188656A1 (ja) カメラユニット
JP5383743B2 (ja) 振れ補正装置を有する光学機器
JP5483988B2 (ja) 像振れ補正装置
JP5289994B2 (ja) 光学補正ユニット、レンズ鏡筒及び撮像装置
JP2019152785A (ja) ステージ装置及びステージ装置を備える撮像装置
JP6235450B2 (ja) 手振れ補正ユニット
JP2013003552A (ja) 像振れ補正装置および光学機器
JP2012032526A (ja) 像振れ補正装置及びカメラ
JP5159090B2 (ja) 光学機器
JP2013125228A5 (ja)
JP2013125228A (ja) 像ブレ補正装置およびそれを備える光学機器、撮像装置
JP5239856B2 (ja) ブレ補正装置及びそれを用いた光学機器
JP5365088B2 (ja) 像振れ補正装置、およびそれを用いた光学機器

Legal Events

Date Code Title Description
A521 Request for written amendment filed

Free format text: JAPANESE INTERMEDIATE CODE: A523

Effective date: 20111208

A621 Written request for application examination

Free format text: JAPANESE INTERMEDIATE CODE: A621

Effective date: 20111208

A977 Report on retrieval

Free format text: JAPANESE INTERMEDIATE CODE: A971007

Effective date: 20120925

A131 Notification of reasons for refusal

Free format text: JAPANESE INTERMEDIATE CODE: A131

Effective date: 20121023

A521 Request for written amendment filed

Free format text: JAPANESE INTERMEDIATE CODE: A523

Effective date: 20121211

A131 Notification of reasons for refusal

Free format text: JAPANESE INTERMEDIATE CODE: A131

Effective date: 20130507

A521 Request for written amendment filed

Free format text: JAPANESE INTERMEDIATE CODE: A523

Effective date: 20130619

TRDD Decision of grant or rejection written
A01 Written decision to grant a patent or to grant a registration (utility model)

Free format text: JAPANESE INTERMEDIATE CODE: A01

Effective date: 20131015

A61 First payment of annual fees (during grant procedure)

Free format text: JAPANESE INTERMEDIATE CODE: A61

Effective date: 20131017

R150 Certificate of patent or registration of utility model

Ref document number: 5394727

Country of ref document: JP

Free format text: JAPANESE INTERMEDIATE CODE: R150

Free format text: JAPANESE INTERMEDIATE CODE: R150

R250 Receipt of annual fees

Free format text: JAPANESE INTERMEDIATE CODE: R250

R250 Receipt of annual fees

Free format text: JAPANESE INTERMEDIATE CODE: R250

R250 Receipt of annual fees

Free format text: JAPANESE INTERMEDIATE CODE: R250

R250 Receipt of annual fees

Free format text: JAPANESE INTERMEDIATE CODE: R250

R250 Receipt of annual fees

Free format text: JAPANESE INTERMEDIATE CODE: R250

R250 Receipt of annual fees

Free format text: JAPANESE INTERMEDIATE CODE: R250

R250 Receipt of annual fees

Free format text: JAPANESE INTERMEDIATE CODE: R250

R250 Receipt of annual fees

Free format text: JAPANESE INTERMEDIATE CODE: R250

R250 Receipt of annual fees

Free format text: JAPANESE INTERMEDIATE CODE: R250

R250 Receipt of annual fees

Free format text: JAPANESE INTERMEDIATE CODE: R250