JP2010093352A - 画像読取り装置 - Google Patents
画像読取り装置 Download PDFInfo
- Publication number
- JP2010093352A JP2010093352A JP2008258614A JP2008258614A JP2010093352A JP 2010093352 A JP2010093352 A JP 2010093352A JP 2008258614 A JP2008258614 A JP 2008258614A JP 2008258614 A JP2008258614 A JP 2008258614A JP 2010093352 A JP2010093352 A JP 2010093352A
- Authority
- JP
- Japan
- Prior art keywords
- reading
- mode
- cleaning member
- cleaning
- image
- Prior art date
- Legal status (The legal status is an assumption and is not a legal conclusion. Google has not performed a legal analysis and makes no representation as to the accuracy of the status listed.)
- Granted
Links
- 238000004140 cleaning Methods 0.000 claims abstract description 165
- 239000011521 glass Substances 0.000 abstract description 44
- 238000011109 contamination Methods 0.000 abstract 1
- 238000000034 method Methods 0.000 description 14
- 230000007423 decrease Effects 0.000 description 5
- 230000003287 optical effect Effects 0.000 description 5
- 239000000428 dust Substances 0.000 description 4
- 239000000853 adhesive Substances 0.000 description 3
- 230000001070 adhesive effect Effects 0.000 description 3
- 239000000463 material Substances 0.000 description 3
- VTYYLEPIZMXCLO-UHFFFAOYSA-L Calcium carbonate Chemical compound [Ca+2].[O-]C([O-])=O VTYYLEPIZMXCLO-UHFFFAOYSA-L 0.000 description 2
- 238000001514 detection method Methods 0.000 description 2
- 238000010586 diagram Methods 0.000 description 2
- 230000006870 function Effects 0.000 description 2
- 238000003384 imaging method Methods 0.000 description 2
- 239000000126 substance Substances 0.000 description 2
- 238000011144 upstream manufacturing Methods 0.000 description 2
- 238000009825 accumulation Methods 0.000 description 1
- 239000002390 adhesive tape Substances 0.000 description 1
- 238000003705 background correction Methods 0.000 description 1
- 229910000019 calcium carbonate Inorganic materials 0.000 description 1
- 239000000835 fiber Substances 0.000 description 1
- 239000000945 filler Substances 0.000 description 1
- 239000003292 glue Substances 0.000 description 1
- 239000007788 liquid Substances 0.000 description 1
- 230000007774 longterm Effects 0.000 description 1
- 230000002093 peripheral effect Effects 0.000 description 1
- 229920001721 polyimide Polymers 0.000 description 1
- 239000009719 polyimide resin Substances 0.000 description 1
- 239000000843 powder Substances 0.000 description 1
Images
Classifications
-
- H—ELECTRICITY
- H04—ELECTRIC COMMUNICATION TECHNIQUE
- H04N—PICTORIAL COMMUNICATION, e.g. TELEVISION
- H04N1/00—Scanning, transmission or reproduction of documents or the like, e.g. facsimile transmission; Details thereof
- H04N1/04—Scanning arrangements, i.e. arrangements for the displacement of active reading or reproducing elements relative to the original or reproducing medium, or vice versa
- H04N1/12—Scanning arrangements, i.e. arrangements for the displacement of active reading or reproducing elements relative to the original or reproducing medium, or vice versa using the sheet-feed movement or the medium-advance or the drum-rotation movement as the slow scanning component, e.g. arrangements for the main-scanning
- H04N1/121—Feeding arrangements
-
- H—ELECTRICITY
- H04—ELECTRIC COMMUNICATION TECHNIQUE
- H04N—PICTORIAL COMMUNICATION, e.g. TELEVISION
- H04N1/00—Scanning, transmission or reproduction of documents or the like, e.g. facsimile transmission; Details thereof
- H04N1/00909—Cleaning arrangements or preventing or counter-acting contamination from dust or the like
-
- H—ELECTRICITY
- H04—ELECTRIC COMMUNICATION TECHNIQUE
- H04N—PICTORIAL COMMUNICATION, e.g. TELEVISION
- H04N1/00—Scanning, transmission or reproduction of documents or the like, e.g. facsimile transmission; Details thereof
- H04N1/04—Scanning arrangements, i.e. arrangements for the displacement of active reading or reproducing elements relative to the original or reproducing medium, or vice versa
- H04N1/12—Scanning arrangements, i.e. arrangements for the displacement of active reading or reproducing elements relative to the original or reproducing medium, or vice versa using the sheet-feed movement or the medium-advance or the drum-rotation movement as the slow scanning component, e.g. arrangements for the main-scanning
- H04N1/121—Feeding arrangements
- H04N1/1235—Feeding a sheet past a transparent plate; Details thereof
-
- H—ELECTRICITY
- H04—ELECTRIC COMMUNICATION TECHNIQUE
- H04N—PICTORIAL COMMUNICATION, e.g. TELEVISION
- H04N1/00—Scanning, transmission or reproduction of documents or the like, e.g. facsimile transmission; Details thereof
- H04N1/04—Scanning arrangements, i.e. arrangements for the displacement of active reading or reproducing elements relative to the original or reproducing medium, or vice versa
- H04N1/0464—Scanning arrangements, i.e. arrangements for the displacement of active reading or reproducing elements relative to the original or reproducing medium, or vice versa capable of performing non-simultaneous scanning at more than one scanning station
-
- H—ELECTRICITY
- H04—ELECTRIC COMMUNICATION TECHNIQUE
- H04N—PICTORIAL COMMUNICATION, e.g. TELEVISION
- H04N1/00—Scanning, transmission or reproduction of documents or the like, e.g. facsimile transmission; Details thereof
- H04N1/04—Scanning arrangements, i.e. arrangements for the displacement of active reading or reproducing elements relative to the original or reproducing medium, or vice versa
- H04N1/10—Scanning arrangements, i.e. arrangements for the displacement of active reading or reproducing elements relative to the original or reproducing medium, or vice versa using flat picture-bearing surfaces
- H04N1/1013—Scanning arrangements, i.e. arrangements for the displacement of active reading or reproducing elements relative to the original or reproducing medium, or vice versa using flat picture-bearing surfaces with sub-scanning by translatory movement of at least a part of the main-scanning components
-
- H—ELECTRICITY
- H04—ELECTRIC COMMUNICATION TECHNIQUE
- H04N—PICTORIAL COMMUNICATION, e.g. TELEVISION
- H04N1/00—Scanning, transmission or reproduction of documents or the like, e.g. facsimile transmission; Details thereof
- H04N1/04—Scanning arrangements, i.e. arrangements for the displacement of active reading or reproducing elements relative to the original or reproducing medium, or vice versa
- H04N1/19—Scanning arrangements, i.e. arrangements for the displacement of active reading or reproducing elements relative to the original or reproducing medium, or vice versa using multi-element arrays
- H04N1/191—Scanning arrangements, i.e. arrangements for the displacement of active reading or reproducing elements relative to the original or reproducing medium, or vice versa using multi-element arrays the array comprising a one-dimensional array, or a combination of one-dimensional arrays, or a substantially one-dimensional array, e.g. an array of staggered elements
- H04N1/192—Simultaneously or substantially simultaneously scanning picture elements on one main scanning line
- H04N1/193—Simultaneously or substantially simultaneously scanning picture elements on one main scanning line using electrically scanned linear arrays, e.g. linear CCD arrays
Landscapes
- Engineering & Computer Science (AREA)
- Multimedia (AREA)
- Signal Processing (AREA)
- Facsimile Scanning Arrangements (AREA)
- Facsimiles In General (AREA)
- Exposure Or Original Feeding In Electrophotography (AREA)
Abstract
【解決手段】自動原稿搬送装置にて原稿を読取りガラス40の直上で搬送しつつ読取り位置Aで原稿画像を光学的に読み取る画像読取り装置。読取りガラス40上の直上には、ブラシ状の清掃部材45が読取り位置Aに対向して回転可能に配置されている。清掃部材45は原稿搬送方向Bの下流側へ回転して読取りガラス40上を清掃する。選択された読取りモードに応じて、清掃部材45による清掃頻度、回転速度又は回転回数を変更する。
【選択図】図2
Description
原稿を1枚ずつ送り出し、読取り位置を通過させる原稿搬送手段と、
前記読取り位置を搬送される原稿の画像を光学的に読み取る読取り手段と、
前記読取り位置を搬送される原稿と前記読取り手段との間に配置された透明部材と、
前記透明部材の原稿通過面を摺擦して清掃する弾性変形可能な清掃部材と、
前記清掃部材の回転及び他の部材の駆動を制御する制御手段と、
を備え、
前記制御手段は、複数種類の読取りモードで装置を動作させるとともに、複数種類の清掃モードで前記清掃部材を動作させ、かつ、選択された読取りモードに応じて清掃部材による清掃頻度を変更すること、
を特徴とする。
原稿を1枚ずつ送り出し、読取り位置を通過させる原稿搬送手段と、
前記読取り位置を搬送される原稿の画像を光学的に読み取る読取り手段と、
前記読取り位置を搬送される原稿と前記読取り手段との間に配置された透明部材と、
前記透明部材の原稿通過面を摺擦して清掃する弾性変形可能な清掃部材と、
前記清掃部材の回転及び他の部材の駆動を制御する制御手段と、
を備え、
前記制御手段は、複数種類の読取りモードで装置を動作させるとともに、複数種類の清掃モードで前記清掃部材を動作させ、かつ、選択された読取りモードに応じて清掃部材の回転速度及び/又は回転回数を変更すること、
を特徴とする。
原稿を1枚ずつ送り出し、読取り位置を通過させる原稿搬送手段と、
前記読取り位置を搬送される原稿の画像を光学的に読み取る読取り手段と、
前記読取り位置を搬送される原稿と前記読取り手段との間に配置された透明部材と、
前記透明部材の原稿通過面を摺擦して清掃する弾性変形可能な清掃部材と、
前記清掃部材の回転及び他の部材の駆動を制御する制御手段と、
を備え、
前記制御手段は、複数種類の読取りモードで装置を動作させるとともに、複数種類の清掃モードで前記清掃部材を動作させ、かつ、前記清掃部材による清掃動作を行わないときには清掃動作を行うときよりも原稿を搬送する間隔を小さく設定すること、
を特徴とする。
図1に示すように、本発明の一実施例である画像読取り装置10は、図示しないプラテンガラス上に載置された原稿の画像を読み取るプラテンセット方式と、自動原稿搬送装置20にて搬送される原稿を読み取るシートスルー方式とを備え、読取り光学系(スキャナ)50が設置されている。
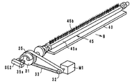
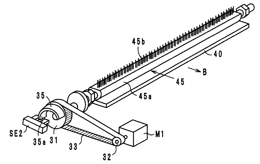
図2に示すように、読取りガラス40の読取り位置Aに対向してブラシ状の清掃部材45が回転可能に配置されている。また、清掃部材45に対して原稿搬送方向Bの下流側にはたき部材46が配置されている。清掃部材45は、軸部材45aの平坦な面に弾性変形可能な清掃ブラシ45bを搬送方向Bとは直交する方向にライン状に固定したもので、モータM1(図5参照)によって所定のタイミング、速度で正転又は逆転駆動される。また、軸部材45aの清掃ブラシ45bとは対向する外周面には、シェーディング補正のために、白基準判別部材(白色フィルム)45cを貼着してもよい。
画像読取り装置10の制御部について図6を参照して説明する。制御部はCPU60を中心として構成され、CPU60はプログラムなどを格納したROM61、RAM62、メモリ63を内蔵している。CPU60に入力される情報は、選択された読取りモード(以下に詳述する)、枚数カウンタ64からの読取り枚数、読取り位置Aの上流側に配置した原稿センサSE1(図2参照)からの原稿先端及び後端の検出信号、清掃部材45のホームポジションセンサSE2からの検出信号などである。また、CPU60は各種ローラなどの原稿搬送系や清掃モータM1などを制御する。
以下の表1(A)に生産性(読取り速度)と清掃性の関係を示し、表1(B)に清掃部材45の回転回数、回転速度と清掃性の関係を示し、表1(C)に高品位画像への要求性を示し、表1(D)に筋状ノイズの発生率を示す。
次に、原稿搬送間隔で実行される清掃動作の頻度、清掃部材45の回転速度、回転回数について以下の表2に示す。600dpiのカラーCCDにて読取りを行い、原稿搬送(読取り)速度は197mm/sである。
以下に、前記表2に基づく清掃動作の制御例について説明する。まず、選択された読取りモードに応じて清掃部材45による清掃頻度を変更する。具体的には、選択された読取りモードがカラーモード又はモノクロモードであるとき、清掃部材45による清掃頻度を、カラーモード時のほうがモノクロモード時よりも多くなるように切り換える。選択された読取りモードが高解像度モード又は低解像度モードであるとき、清掃部材45による清掃頻度を、高解像度モード時のほうが低解像度モード時よりも多くなるように切り換える。選択された読取りモードがコピーモード又はファックス/スキャンモードであるとき、清掃部材45による清掃頻度を、コピーモード時のほうがファックス/スキャンモード時よりも多くなるように切り換える。このような制御は以下に制御例1として説明する。
次に、読取りモードに応じて清掃部材45による清掃頻度を変更する制御例1について説明する。なお、ここでの制御例1及び以下に示す制御例2,3は、図示しない複写機での動作も関連して説明する。また、「ジョブ」とはトレイ21に載置された任意の枚数の原稿に対するコピー動作や画像読取り動作を意味する。
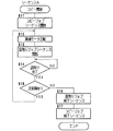
次に、読取りモードに応じて清掃部材45の回転速度を変更する制御例2について説明する。図11に示すように、複写機でのコピーが開始されると、コピージョブシーケンスが開始され(ステップS41)、続いて、清掃部材45の回転速度を設定する(ステップS42)。ここで設定される回転速度は、前記表2(B)に示したように、それぞれの読取りモードに応じた所定の速度である。
次に、読取りモードに応じて清掃部材45の回転回数を変更する制御例3について説明する。図12に示すように、複写機でのコピーが開始されると、コピージョブシーケンスが開始され(ステップS51)、続いて、清掃部材45の回転回数を設定する(ステップS52)。ここで設定される回転回数は、前記表2(C)に示したように、それぞれの読取りモードに応じた所定の回数である。
なお、本発明に係る画像読取り装置は、前記実施例に限定されるものではなく、その要旨の範囲内で種々に変更することができる。
20…自動原稿搬送装置
40…読取りガラス
45…清掃部材
45b…清掃ブラシ
50…読取り光学系
60…CPU
M1…清掃モータ
A…読取り位置
B…原稿搬送方向
Claims (14)
- 原稿を1枚ずつ送り出し、読取り位置を通過させる原稿搬送手段と、
前記読取り位置を搬送される原稿の画像を光学的に読み取る読取り手段と、
前記読取り位置を搬送される原稿と前記読取り手段との間に配置された透明部材と、
前記透明部材の原稿通過面を摺擦して清掃する弾性変形可能な清掃部材と、
前記清掃部材の回転及び他の部材の駆動を制御する制御手段と、
を備え、
前記制御手段は、複数種類の読取りモードで装置を動作させるとともに、複数種類の清掃モードで前記清掃部材を動作させ、かつ、選択された読取りモードに応じて清掃部材による清掃頻度を変更すること、
を特徴とする画像読取り装置。 - 前記制御手段は、選択された読取りモードがカラーモード又はモノクロモードであるとき、前記清掃部材による清掃頻度を、カラーモード時のほうがモノクロモード時よりも多くなるように切り換えること、を特徴とする請求項1に記載の画像読取り装置。
- 前記制御手段は、選択された読取りモードが高解像度モード又は低解像度モードであるとき、前記清掃部材による清掃頻度を、高解像度モード時のほうが低解像度モード時よりも多くなるように切り換えること、を特徴とする請求項1に記載の画像読取り装置。
- 前記制御手段は、選択された読取りモードがコピーモード又はファックス/スキャンモードであるとき、前記清掃部材による清掃頻度を、コピーモード時のほうがファックス/スキャンモード時よりも多くなるように切り換えること、を特徴とする請求項1に記載の画像読取り装置。
- 前記制御手段は、前記清掃部材による清掃動作を行わないときには清掃動作を行うときよりも原稿を搬送する間隔を小さく設定することを特徴とする請求項1に記載の画像読取り装置。
- 原稿を1枚ずつ送り出し、読取り位置を通過させる原稿搬送手段と、
前記読取り位置を搬送される原稿の画像を光学的に読み取る読取り手段と、
前記読取り位置を搬送される原稿と前記読取り手段との間に配置された透明部材と、
前記透明部材の原稿通過面を摺擦して清掃する弾性変形可能な清掃部材と、
前記清掃部材の回転及び他の部材の駆動を制御する制御手段と、
を備え、
前記制御手段は、複数種類の読取りモードで装置を動作させるとともに、複数種類の清掃モードで前記清掃部材を動作させ、かつ、選択された読取りモードに応じて清掃部材の回転速度及び/又は回転回数を変更すること、
を特徴とする画像読取り装置。 - 前記制御手段は、選択された読取りモードがモノクロモード又はカラーモードであるとき、前記清掃部材の回転速度を、モノクロモード時のほうがカラーモード時よりも速くなるように切り換えること、を特徴とする請求項6に記載の画像読取り装置。
- 前記制御手段は、選択された読取りモードが低解像度モード又は高解像度モードであるとき、前記清掃部材の回転速度を、低解像度モード時のほうが高解像度モード時よりも速くなるように切り換えること、を特徴とする請求項6に記載の画像読取り装置。
- 前記制御手段は、選択された読取りモードがファックス/スキャンモード又はコピーモードであるとき、前記清掃部材の回転速度を、ファックス/スキャンモード時のほうがコピーモード時よりも速くなるように切り換えること、を特徴とする請求項6に記載の画像読取り装置。
- 前記制御手段は、選択された読取りモードがカラーモード又はモノクロモードであるとき、前記清掃部材の回転回数を、カラーモード時のほうがモノクロモード時よりも多くなるように切り換えること、を特徴とする請求項6に記載の画像読取り装置。
- 前記制御手段は、選択された読取りモードが高解像度モード又は低解像度モードであるとき、前記清掃部材の回転回数を、高解像度モード時のほうが低解像度モード時よりも多くなるように切り換えること、を特徴とする請求項6に記載の画像読取り装置。
- 前記制御手段は、選択された読取りモードがコピーモード又はファックス/スキャンモードであるとき、前記清掃部材の回転回数を、コピーモード時のほうがファックス/スキャンモード時よりも多くなるように切り換えること、を特徴とする請求項6に記載の画像読取り装置。
- 原稿を1枚ずつ送り出し、読取り位置を通過させる原稿搬送手段と、
前記読取り位置を搬送される原稿の画像を光学的に読み取る読取り手段と、
前記読取り位置を搬送される原稿と前記読取り手段との間に配置された透明部材と、
前記透明部材の原稿通過面を摺擦して清掃する弾性変形可能な清掃部材と、
前記清掃部材の回転及び他の部材の駆動を制御する制御手段と、
を備え、
前記制御手段は、複数種類の読取りモードで装置を動作させるとともに、複数種類の清掃モードで前記清掃部材を動作させ、かつ、前記清掃部材による清掃動作を行わないときには清掃動作を行うときよりも原稿を搬送する間隔を小さく設定すること、
を特徴とする画像読取り装置。 - 前記清掃部材はブラシであり、該ブラシの少なくとも前記透明部材と接触する部分は透明部材より剛性が弱く接触によって弾性変形すること、を特徴とする請求項1ないし請求項13のいずれかに記載の画像読取り装置。
Priority Applications (2)
| Application Number | Priority Date | Filing Date | Title |
|---|---|---|---|
| JP2008258614A JP5262540B2 (ja) | 2008-10-03 | 2008-10-03 | 画像読取り装置 |
| US12/571,118 US8363290B2 (en) | 2008-10-03 | 2009-09-30 | Image reading apparatus |
Applications Claiming Priority (1)
| Application Number | Priority Date | Filing Date | Title |
|---|---|---|---|
| JP2008258614A JP5262540B2 (ja) | 2008-10-03 | 2008-10-03 | 画像読取り装置 |
Publications (2)
| Publication Number | Publication Date |
|---|---|
| JP2010093352A true JP2010093352A (ja) | 2010-04-22 |
| JP5262540B2 JP5262540B2 (ja) | 2013-08-14 |
Family
ID=42075599
Family Applications (1)
| Application Number | Title | Priority Date | Filing Date |
|---|---|---|---|
| JP2008258614A Active JP5262540B2 (ja) | 2008-10-03 | 2008-10-03 | 画像読取り装置 |
Country Status (2)
| Country | Link |
|---|---|
| US (1) | US8363290B2 (ja) |
| JP (1) | JP5262540B2 (ja) |
Cited By (3)
| Publication number | Priority date | Publication date | Assignee | Title |
|---|---|---|---|---|
| JP2013042468A (ja) * | 2011-08-19 | 2013-02-28 | Konica Minolta Business Technologies Inc | 画像読み取り装置 |
| JP2013126208A (ja) * | 2011-12-16 | 2013-06-24 | Konica Minolta Business Technologies Inc | 画像読み取り装置及び画像形成装置 |
| JP2014049937A (ja) * | 2012-08-31 | 2014-03-17 | Konica Minolta Inc | 画像読取装置および画像形成装置 |
Families Citing this family (12)
| Publication number | Priority date | Publication date | Assignee | Title |
|---|---|---|---|---|
| JP4424437B1 (ja) * | 2008-09-10 | 2010-03-03 | コニカミノルタビジネステクノロジーズ株式会社 | 画像読取り装置 |
| JP4883122B2 (ja) * | 2009-03-30 | 2012-02-22 | ブラザー工業株式会社 | 画像処理装置 |
| JP4985785B2 (ja) * | 2010-01-06 | 2012-07-25 | コニカミノルタビジネステクノロジーズ株式会社 | 画像読取装置およびその制御方法 |
| JP5825549B2 (ja) * | 2011-06-08 | 2015-12-02 | 株式会社リコー | シート搬送装置、画像読取装置及び画像形成装置 |
| JP5751555B2 (ja) * | 2012-05-30 | 2015-07-22 | 株式会社沖データ | 画像読取装置及び複合装置 |
| US8964260B2 (en) * | 2012-10-17 | 2015-02-24 | Samsung Electronics Co., Ltd. | Method of controlling scan speed of scanner including automatic document feeder and scanner performing the same |
| JP2014120785A (ja) * | 2012-12-13 | 2014-06-30 | Canon Inc | 画像読取装置 |
| JP2014120978A (ja) * | 2012-12-18 | 2014-06-30 | Canon Inc | 画像読取装置及び画像形成装置 |
| JP6759747B2 (ja) * | 2016-06-21 | 2020-09-23 | コニカミノルタ株式会社 | 搬送装置および画像形成装置 |
| JP6836131B2 (ja) * | 2016-10-19 | 2021-02-24 | コニカミノルタ株式会社 | 画像読取装置および画像形成装置 |
| CN110958356B (zh) * | 2018-09-27 | 2022-01-25 | 光宝电子(广州)有限公司 | 扫描仪 |
| CN110764345B (zh) * | 2019-10-25 | 2021-08-17 | 山东万恒电子通讯设备有限公司 | 一种具有散热功能的稳定性高的投影设备 |
Citations (3)
| Publication number | Priority date | Publication date | Assignee | Title |
|---|---|---|---|---|
| JP2004236252A (ja) * | 2003-02-03 | 2004-08-19 | Kyocera Mita Corp | クリーニング装置及びこれを備えた画像形成装置 |
| JP2008005165A (ja) * | 2006-06-21 | 2008-01-10 | Konica Minolta Business Technologies Inc | 画像読取装置 |
| JP2008207417A (ja) * | 2007-02-26 | 2008-09-11 | Seiko Epson Corp | ファクシミリ装置、およびファクシミリ装置の印刷方法 |
Family Cites Families (8)
| Publication number | Priority date | Publication date | Assignee | Title |
|---|---|---|---|---|
| JP3645737B2 (ja) | 1999-03-12 | 2005-05-11 | 株式会社リコー | 読取装置 |
| US7043187B2 (en) * | 2001-09-05 | 2006-05-09 | Eastman Kodak Company | Conductive fiber brush cleaner having brush speed control |
| JP2003337454A (ja) * | 2002-05-21 | 2003-11-28 | Fuji Xerox Co Ltd | 画像形成装置 |
| JP2004020668A (ja) * | 2002-06-13 | 2004-01-22 | Konica Minolta Holdings Inc | 画像形成装置 |
| US7370659B2 (en) * | 2003-08-06 | 2008-05-13 | Micron Technology, Inc. | Photolithographic stepper and/or scanner machines including cleaning devices and methods of cleaning photolithographic stepper and/or scanner machines |
| US8085448B2 (en) * | 2007-03-29 | 2011-12-27 | Canon Denshi Kabushiki Kaisha | Image reading apparatus and control method thereof |
| JP4985146B2 (ja) * | 2007-06-27 | 2012-07-25 | コニカミノルタビジネステクノロジーズ株式会社 | 画像形成装置 |
| JP4443589B2 (ja) * | 2007-07-04 | 2010-03-31 | シャープ株式会社 | 現像装置およびこれを備える画像形成装置 |
-
2008
- 2008-10-03 JP JP2008258614A patent/JP5262540B2/ja active Active
-
2009
- 2009-09-30 US US12/571,118 patent/US8363290B2/en active Active
Patent Citations (3)
| Publication number | Priority date | Publication date | Assignee | Title |
|---|---|---|---|---|
| JP2004236252A (ja) * | 2003-02-03 | 2004-08-19 | Kyocera Mita Corp | クリーニング装置及びこれを備えた画像形成装置 |
| JP2008005165A (ja) * | 2006-06-21 | 2008-01-10 | Konica Minolta Business Technologies Inc | 画像読取装置 |
| JP2008207417A (ja) * | 2007-02-26 | 2008-09-11 | Seiko Epson Corp | ファクシミリ装置、およびファクシミリ装置の印刷方法 |
Cited By (3)
| Publication number | Priority date | Publication date | Assignee | Title |
|---|---|---|---|---|
| JP2013042468A (ja) * | 2011-08-19 | 2013-02-28 | Konica Minolta Business Technologies Inc | 画像読み取り装置 |
| JP2013126208A (ja) * | 2011-12-16 | 2013-06-24 | Konica Minolta Business Technologies Inc | 画像読み取り装置及び画像形成装置 |
| JP2014049937A (ja) * | 2012-08-31 | 2014-03-17 | Konica Minolta Inc | 画像読取装置および画像形成装置 |
Also Published As
| Publication number | Publication date |
|---|---|
| JP5262540B2 (ja) | 2013-08-14 |
| US8363290B2 (en) | 2013-01-29 |
| US20100085616A1 (en) | 2010-04-08 |
Similar Documents
| Publication | Publication Date | Title |
|---|---|---|
| JP5262540B2 (ja) | 画像読取り装置 | |
| JP5012929B2 (ja) | 画像読取装置、画像形成装置および自動原稿搬送装置 | |
| JP4424437B1 (ja) | 画像読取り装置 | |
| US7755813B2 (en) | Image reading apparatus | |
| JP2004048184A (ja) | 画像読取装置 | |
| US9036225B2 (en) | Image reading apparatus | |
| JP5115438B2 (ja) | 画像読取り装置 | |
| JP5093039B2 (ja) | 画像読取り装置 | |
| JP5093038B2 (ja) | 画像読取り装置 | |
| JP2010089851A (ja) | 画像読取り装置 | |
| JP5668720B2 (ja) | 原稿読取装置およびその制御方法 | |
| JP2011010182A (ja) | 画像読取装置および方法 | |
| JP5071268B2 (ja) | 画像読み取り装置 | |
| JP2021164015A (ja) | 自動原稿搬送装置、画像読み取り装置および画像形成装置 | |
| JP4915247B2 (ja) | 画像読取り装置 | |
| JP5409325B2 (ja) | シート搬送装置、画像形成装置及び画像読取装置 | |
| JP5056030B2 (ja) | 画像読取り装置 | |
| JP5092981B2 (ja) | 画像読取装置およびこれを備える画像形成装置 | |
| JP2010074576A (ja) | 画像読取り装置 | |
| JP4703496B2 (ja) | 原稿搬送読取装置、画像形成装置 | |
| JP2010074483A (ja) | 画像読取り装置 | |
| JP2005328156A (ja) | 画像読取装置 | |
| JP2010068248A (ja) | 画像読取り装置 | |
| JP4905236B2 (ja) | 画像読取り装置及び画像形成装置 | |
| JP2009124660A (ja) | 画像読取装置および画像形成装置 |
Legal Events
| Date | Code | Title | Description |
|---|---|---|---|
| A621 | Written request for application examination |
Free format text: JAPANESE INTERMEDIATE CODE: A621 Effective date: 20110415 |
|
| A977 | Report on retrieval |
Free format text: JAPANESE INTERMEDIATE CODE: A971007 Effective date: 20120813 |
|
| A131 | Notification of reasons for refusal |
Free format text: JAPANESE INTERMEDIATE CODE: A131 Effective date: 20120821 |
|
| A521 | Written amendment |
Free format text: JAPANESE INTERMEDIATE CODE: A523 Effective date: 20121019 |
|
| RD02 | Notification of acceptance of power of attorney |
Free format text: JAPANESE INTERMEDIATE CODE: A7422 Effective date: 20121019 |
|
| TRDD | Decision of grant or rejection written | ||
| A01 | Written decision to grant a patent or to grant a registration (utility model) |
Free format text: JAPANESE INTERMEDIATE CODE: A01 Effective date: 20130402 |
|
| A61 | First payment of annual fees (during grant procedure) |
Free format text: JAPANESE INTERMEDIATE CODE: A61 Effective date: 20130415 |
|
| R150 | Certificate of patent or registration of utility model |
Free format text: JAPANESE INTERMEDIATE CODE: R150 Ref document number: 5262540 Country of ref document: JP Free format text: JAPANESE INTERMEDIATE CODE: R150 |
|
| S111 | Request for change of ownership or part of ownership |
Free format text: JAPANESE INTERMEDIATE CODE: R313111 |
|
| R350 | Written notification of registration of transfer |
Free format text: JAPANESE INTERMEDIATE CODE: R350 |
