JP2010091250A - 蓄冷熱交換器 - Google Patents

蓄冷熱交換器 Download PDF

Info

Publication number
JP2010091250A
JP2010091250A JP2009077144A JP2009077144A JP2010091250A JP 2010091250 A JP2010091250 A JP 2010091250A JP 2009077144 A JP2009077144 A JP 2009077144A JP 2009077144 A JP2009077144 A JP 2009077144A JP 2010091250 A JP2010091250 A JP 2010091250A
Authority
JP
Japan
Prior art keywords
cold storage
storage material
material container
refrigerant
heat exchange
Prior art date
Legal status (The legal status is an assumption and is not a legal conclusion. Google has not performed a legal analysis and makes no representation as to the accuracy of the status listed.)
Granted
Application number
JP2009077144A
Other languages
English (en)
Other versions
JP5444782B2 (ja
Inventor
Naoki Yokoyama
直樹 横山
Yoshio Miyata
喜夫 宮田
Etsuo Hasegawa
恵津夫 長谷川
Masahiro Shitaya
昌宏 下谷
Atsushi Abei
淳 安部井
Ryoichi Sanada
良一 真田
Taku Ando
卓 安藤
Seiji Inoue
誠司 井上
Katsutoshi Enomoto
勝利 榎本
Current Assignee (The listed assignees may be inaccurate. Google has not performed a legal analysis and makes no representation or warranty as to the accuracy of the list.)
Denso Corp
Original Assignee
Denso Corp
Priority date (The priority date is an assumption and is not a legal conclusion. Google has not performed a legal analysis and makes no representation as to the accuracy of the date listed.)
Filing date
Publication date
Application filed by Denso Corp filed Critical Denso Corp
Priority to JP2009077144A priority Critical patent/JP5444782B2/ja
Priority to DE102009040544.5A priority patent/DE102009040544B4/de
Priority to US12/584,843 priority patent/US9372034B2/en
Priority to CN201410272921.3A priority patent/CN104089436B/zh
Priority to KR1020100021529A priority patent/KR101213564B1/ko
Priority to CN201010134266A priority patent/CN101846418A/zh
Publication of JP2010091250A publication Critical patent/JP2010091250A/ja
Application granted granted Critical
Publication of JP5444782B2 publication Critical patent/JP5444782B2/ja
Active legal-status Critical Current
Anticipated expiration legal-status Critical

Links

Images

Classifications

    • FMECHANICAL ENGINEERING; LIGHTING; HEATING; WEAPONS; BLASTING
    • F28HEAT EXCHANGE IN GENERAL
    • F28DHEAT-EXCHANGE APPARATUS, NOT PROVIDED FOR IN ANOTHER SUBCLASS, IN WHICH THE HEAT-EXCHANGE MEDIA DO NOT COME INTO DIRECT CONTACT
    • F28D20/00Heat storage plants or apparatus in general; Regenerative heat-exchange apparatus not covered by groups F28D17/00 or F28D19/00
    • BPERFORMING OPERATIONS; TRANSPORTING
    • B60VEHICLES IN GENERAL
    • B60HARRANGEMENTS OF HEATING, COOLING, VENTILATING OR OTHER AIR-TREATING DEVICES SPECIALLY ADAPTED FOR PASSENGER OR GOODS SPACES OF VEHICLES
    • B60H1/00Heating, cooling or ventilating [HVAC] devices
    • B60H1/00492Heating, cooling or ventilating [HVAC] devices comprising regenerative heating or cooling means, e.g. heat accumulators
    • B60H1/005Regenerative cooling means, e.g. cold accumulators
    • FMECHANICAL ENGINEERING; LIGHTING; HEATING; WEAPONS; BLASTING
    • F28HEAT EXCHANGE IN GENERAL
    • F28DHEAT-EXCHANGE APPARATUS, NOT PROVIDED FOR IN ANOTHER SUBCLASS, IN WHICH THE HEAT-EXCHANGE MEDIA DO NOT COME INTO DIRECT CONTACT
    • F28D1/00Heat-exchange apparatus having stationary conduit assemblies for one heat-exchange medium only, the media being in contact with different sides of the conduit wall, in which the other heat-exchange medium is a large body of fluid, e.g. domestic or motor car radiators
    • F28D1/02Heat-exchange apparatus having stationary conduit assemblies for one heat-exchange medium only, the media being in contact with different sides of the conduit wall, in which the other heat-exchange medium is a large body of fluid, e.g. domestic or motor car radiators with heat-exchange conduits immersed in the body of fluid
    • F28D1/04Heat-exchange apparatus having stationary conduit assemblies for one heat-exchange medium only, the media being in contact with different sides of the conduit wall, in which the other heat-exchange medium is a large body of fluid, e.g. domestic or motor car radiators with heat-exchange conduits immersed in the body of fluid with tubular conduits
    • F28D1/053Heat-exchange apparatus having stationary conduit assemblies for one heat-exchange medium only, the media being in contact with different sides of the conduit wall, in which the other heat-exchange medium is a large body of fluid, e.g. domestic or motor car radiators with heat-exchange conduits immersed in the body of fluid with tubular conduits the conduits being straight
    • F28D1/0535Heat-exchange apparatus having stationary conduit assemblies for one heat-exchange medium only, the media being in contact with different sides of the conduit wall, in which the other heat-exchange medium is a large body of fluid, e.g. domestic or motor car radiators with heat-exchange conduits immersed in the body of fluid with tubular conduits the conduits being straight the conduits having a non-circular cross-section
    • F28D1/05366Assemblies of conduits connected to common headers, e.g. core type radiators
    • F28D1/05383Assemblies of conduits connected to common headers, e.g. core type radiators with multiple rows of conduits or with multi-channel conduits
    • FMECHANICAL ENGINEERING; LIGHTING; HEATING; WEAPONS; BLASTING
    • F28HEAT EXCHANGE IN GENERAL
    • F28DHEAT-EXCHANGE APPARATUS, NOT PROVIDED FOR IN ANOTHER SUBCLASS, IN WHICH THE HEAT-EXCHANGE MEDIA DO NOT COME INTO DIRECT CONTACT
    • F28D20/00Heat storage plants or apparatus in general; Regenerative heat-exchange apparatus not covered by groups F28D17/00 or F28D19/00
    • F28D20/02Heat storage plants or apparatus in general; Regenerative heat-exchange apparatus not covered by groups F28D17/00 or F28D19/00 using latent heat
    • FMECHANICAL ENGINEERING; LIGHTING; HEATING; WEAPONS; BLASTING
    • F28HEAT EXCHANGE IN GENERAL
    • F28DHEAT-EXCHANGE APPARATUS, NOT PROVIDED FOR IN ANOTHER SUBCLASS, IN WHICH THE HEAT-EXCHANGE MEDIA DO NOT COME INTO DIRECT CONTACT
    • F28D20/00Heat storage plants or apparatus in general; Regenerative heat-exchange apparatus not covered by groups F28D17/00 or F28D19/00
    • F28D2020/0004Particular heat storage apparatus
    • F28D2020/0013Particular heat storage apparatus the heat storage material being enclosed in elements attached to or integral with heat exchange conduits
    • FMECHANICAL ENGINEERING; LIGHTING; HEATING; WEAPONS; BLASTING
    • F28HEAT EXCHANGE IN GENERAL
    • F28DHEAT-EXCHANGE APPARATUS, NOT PROVIDED FOR IN ANOTHER SUBCLASS, IN WHICH THE HEAT-EXCHANGE MEDIA DO NOT COME INTO DIRECT CONTACT
    • F28D21/00Heat-exchange apparatus not covered by any of the groups F28D1/00 - F28D20/00
    • F28D2021/0019Other heat exchangers for particular applications; Heat exchange systems not otherwise provided for
    • F28D2021/0068Other heat exchangers for particular applications; Heat exchange systems not otherwise provided for for refrigerant cycles
    • F28D2021/0071Evaporators
    • FMECHANICAL ENGINEERING; LIGHTING; HEATING; WEAPONS; BLASTING
    • F28HEAT EXCHANGE IN GENERAL
    • F28FDETAILS OF HEAT-EXCHANGE AND HEAT-TRANSFER APPARATUS, OF GENERAL APPLICATION
    • F28F2275/00Fastening; Joining
    • F28F2275/04Fastening; Joining by brazing
    • YGENERAL TAGGING OF NEW TECHNOLOGICAL DEVELOPMENTS; GENERAL TAGGING OF CROSS-SECTIONAL TECHNOLOGIES SPANNING OVER SEVERAL SECTIONS OF THE IPC; TECHNICAL SUBJECTS COVERED BY FORMER USPC CROSS-REFERENCE ART COLLECTIONS [XRACs] AND DIGESTS
    • Y02TECHNOLOGIES OR APPLICATIONS FOR MITIGATION OR ADAPTATION AGAINST CLIMATE CHANGE
    • Y02EREDUCTION OF GREENHOUSE GAS [GHG] EMISSIONS, RELATED TO ENERGY GENERATION, TRANSMISSION OR DISTRIBUTION
    • Y02E60/00Enabling technologies; Technologies with a potential or indirect contribution to GHG emissions mitigation
    • Y02E60/14Thermal energy storage

Landscapes

  • Engineering & Computer Science (AREA)
  • Physics & Mathematics (AREA)
  • Thermal Sciences (AREA)
  • Mechanical Engineering (AREA)
  • General Engineering & Computer Science (AREA)
  • Heat-Exchange Devices With Radiators And Conduit Assemblies (AREA)
  • Air-Conditioning For Vehicles (AREA)

Abstract

【課題】効率的な蓄冷と、安定した放冷とを両立し、かつ高い生産性を実現すること。
【解決手段】蓄冷熱交換器としての蒸発器40は、ほぼ一定の間隔で配置された複数の冷
媒管45を有し、複数の収容部を形成している。複数の収容部のうちの一部には、複数の
フィン46が配置され、残部には、複数の蓄冷材容器47が配置されている。2つのフィ
ン46の間に2つの冷媒管45が配置され、さらにこれら2つの冷媒管45の間にひとつ
の蓄冷材容器47が配置されている。蓄冷材容器47は、主壁から延びる熱交換部として
の内柱47bを有する。蓄冷材容器47は、ろう材によって2つの冷媒管45と接合され
ている。
【選択図】図4

Description

本発明は、冷凍サイクル装置に用いられる蓄冷熱交換器に関するものである。
従来、空調装置には、冷凍サイクル装置が用いられている。この冷凍サイクル装置が停止している状態においても、限定された冷房を提供する試みがなされている。例えば、車両用空調装置では、走行用エンジンによって冷凍サイクル装置が駆動される。このため、車両が一時的に停車している間に、エンジンが停止すると、冷凍サイクル装置が停止する。このような一時的な停車中に、限定された冷房を提供するために、蒸発器に蓄冷材を付加した蓄冷熱交換器が提案されている。例えば、特許文献1ないし特許文献5に記載の蓄冷熱交換器が知られている。
特開2004−184071号公報 特開2002−274165号公報 特表2006−503253号公報 特開2002−225536号公報 特開2001−107035号公報
特許文献1および特許文献2の技術によると、蓄冷材の片面に冷媒チューブが配置され、蓄冷材の他の片面には空気と熱交換するためのフィンが配置されている。この構成では、蓄冷材が片面だけから冷却される。このため、蓄冷材を十分に冷却できないおそれがある。また、蓄冷材の他の片面では、空気が蓄冷材と直接的に熱交換する。このため、一時的に高い温度の空気が到来すると、蓄えられた冷熱が不意に失われるおそれがある。このように、従来の技術では、蓄冷材を効率的に冷却することと、蓄冷材の蓄冷状態を安定的に推移させることとが困難であった。
特許文献3および4の技術によると、熱交換器の一部にだけ蓄冷材を設けている。ところが、蓄冷材の冷熱は、冷媒チューブの長さ方向に沿って冷媒チューブを伝導してフィンに到達する。このため、高い放冷能力を得ることが困難であった。また、隣接する2つの冷媒チューブの間には、蓄冷材とフィンとが位置づけられるため、高い生産性を実現することが困難であった。
また、特許文献5の技術は、熱交換器のフィンに代えて蓄冷材を設けている。しかし、この構成では、複数の蓄冷材セルを冷媒チューブの間に配置するため、高い生産性を実現することが困難であった。
本発明は、上記問題点に鑑み、効率的な蓄冷と、安定した放冷とを両立した蓄冷熱交換器を提供することを目的とする。
本発明は、上記問題点に鑑み、高い生産性を実現できる蓄冷熱交換器を提供することを他の目的とする。
上記目的を達成するために、下記の技術的手段を採用することができる。
請求項1に記載の発明では、冷媒通路を有し、互いに間隔を設けて配置された複数の冷媒管(45)と、蓄冷材(50)を収容する部屋を区画する蓄冷材容器であって、蓄冷材へ向けて突出した熱交換部(47b、247b、347b、447b、547b、647b)を有するとともに、2つの冷媒管の間に配置されて2つの冷媒管と接合された蓄冷材容器(47、247、347、447、547、647、747e、747f、847、947)とを備え、蓄冷材容器の両側に位置する2つの冷媒管は、蓄冷材容器とは反対側において空気と熱交換するための空気通路を区画していることを特徴とする蓄冷熱交換器という技術的手段を採用する。この蓄冷熱交換器によると、蓄冷材は、両側に配置された冷媒管によって効率的に冷却される。このため、効率的な蓄冷が可能となる。また、蓄冷材と空気通路との間には、少なくとも冷媒管が介在する。このため、蓄冷材から空気通路への放熱が安定的に行われる。さらに、蓄冷材容器は、蓄冷材内へ向けて突出した熱交換部を有する。このため、蓄冷材への蓄冷と、蓄冷材からの放冷とが効率的に行われる。加えて、蓄冷材容器は、冷媒管と接合されるから、高い機械的強度が得られるとともに、高い熱伝導性が得られる。
請求項2に記載の発明では、さらに、空気通路に配置されたフィン(46)を備えるという技術的手段を採用する。この発明によると、空気通路における空気との熱交換を促進することができる。
請求項3に記載の発明では、複数の冷媒管は、ほぼ一定の間隔で配置され、空気通路の厚さと蓄冷材容器の厚さ(T)とがほぼ同じであるという技術的手段を採用する。この発明によると、空気通路と蓄冷材容器とを入れ替え可能である。このため、多数の冷媒管を有する蓄冷熱交換器における蓄冷材容器の設置数、設置位置などの選択自由度が高められる。
請求項4に記載の発明では、蓄冷材容器は、複数の冷媒管が形成する合計間隔のうちの10%以上50%以下に配置されているという技術的手段を採用する。この発明によると、蓄冷材による放冷能力と、冷媒による冷房能力との両立を図ることができる。
請求項5に記載の発明では、蓄冷材容器は、ろう材によって2つの冷媒管に接合されているという技術的手段を採用する。この発明によると、ろう材によって冷媒管と蓄冷材容器との間の熱伝達を高くすることができる。さらに、冷媒管とフィンとを接合するために一般的に用いられているろう材と、ろう付け工程とを適用することができる。
請求項6に記載の発明では、熱交換部は、蓄冷材容器の外殻(47a、447a)の間を連結する内柱(47b、447b)であるという技術的手段を採用する。この発明によると、内柱を有する管によって蓄冷材容器を提供できる。このような管は、例えば押し出し製法によって提供される多穴押し出し管として知られている。
請求項7に記載の発明では、熱交換部は、蓄冷材容器内に配置されたインナフィン(247b、347b)であるという技術的手段を採用する。この発明によると、製造が容易なインナフィンによって熱交換部を提供することができる。
請求項8に記載の発明では、熱交換部は、前記蓄冷材容器の外殻(47a、447a、547a、647a)から延びる突部(47b、447b、547b、647b)であるという技術的手段を採用する。この発明によると、少ない部品点数で蓄冷材容器を提供することができる。
請求項9に記載の発明では、蓄冷材容器、および他の蓄冷材容器を含む複数の蓄冷材容器を備え、複数の蓄冷材容器が、等間隔に配置されているという技術的手段を採用する。この発明によると、温度分布を抑制することができる。
請求項10に記載の発明では、蓄冷材容器、および他の蓄冷材容器を含む複数の蓄冷材容器を備え、複数の蓄冷材容器が、冷媒管の配列方向に関して、中央に対して左右に均等に配置されているという技術的手段を採用する。この発明によると、蓄冷熱交換器の左右における温度分布を抑制することができる。
請求項11に記載の発明では、複数の蓄冷材容器が、中央に対して左右に対称に配置されているという技術的手段を採用する。この発明によると、蓄冷熱交換器の左右における温度分布を対称にすることができる。
請求項12に記載の発明では、冷媒管と蓄冷材容器と空気通路とで提供される熱交換領域が単一の通風路に対応して配置されているという技術的手段を採用する。この発明によると、蓄冷熱交換器が提供する熱交換領域によって、ひとつの通風路を流れる空気が冷却される。
請求項13に記載の発明では、冷媒管と蓄冷材容器と空気通路とで提供される熱交換領域が、複数の部分熱交換領域に区画され、それぞれの部分熱交換領域が、区画された異なる通風路に対応して配置されているという技術的手段を採用する。この発明によると、蓄冷熱交換器が提供する複数の部分熱交換領域によって、区画された複数の通風路を流れる空気を別々に冷却することができる。
請求項14に記載の発明では、蓄冷材容器と、その両側に位置する2つの冷媒管とが第1の蓄冷単位を構成しており、第1の蓄冷単位と同じ構成をもち、通風方向に関して第1の蓄冷単位に積層して配置された第2の蓄冷単位を備え、第1の蓄冷単位に属する蓄冷材容器(47、747e)と、第2の蓄冷単位に属する蓄冷材容器(47、747f)との間に断熱部分としての間隔が設けられているという技術的手段を採用する。この発明によると、2つの蓄冷単位の間に温度差を生じる場合でも、2つの蓄冷材容器における蓄冷、放冷の効率の低下を抑制することができる。
請求項15に記載の発明では、蓄冷材容器と、その両側に位置する2つの冷媒管とが第1の蓄冷単位を構成しており、第1の蓄冷単位と同じ構成をもち、通風方向に関して第1の蓄冷単位に積層して配置された第2の蓄冷単位を備え、第1の蓄冷単位に属する蓄冷材容器(847、947)と、第2の蓄冷単位に属する蓄冷材容器(847、947)とが断熱部分としての仕切板(847g)または絞り部(947h)を介して連結されているという技術的手段を採用する。この発明によると、2つの蓄冷単位の間に温度差を生じる場合でも、それらの間にわたって配置された蓄冷材容器における蓄冷、放冷の効率の低下を抑制することができる。
なお、特許請求の範囲および上記各手段に記載の括弧内の符号は、ひとつの態様として後述する実施形態に記載の具体的手段との対応関係を示す。
本発明を適用した第1実施形態にかかる冷凍サイクル装置を示すブロック図である。 第1実施形態の蒸発器の平面図である。 第1実施形態の蒸発器の側面図である。 図2のIV−IV断面の一部を示す拡大断面図である。 図3のV−V断面の一部を示す拡大断面図である。 占有率RMと蓄冷材の容積VMとの関係を示すグラフである。 占有率RMと蓄冷材の伝熱面積AMとの関係を示すグラフである。 占有率RMとフィンの面積AFとの関係を示すグラフである。 占有率RMと蓄冷材の放冷能力WMとの関係を示すグラフである。 占有率RMと冷媒の冷房能力WRとの関係を示すグラフである。 第2実施形態の蒸発器を示す拡大断面図である。 第2実施形態の蒸発器を示す拡大断面図である。 第3実施形態の蒸発器を示す拡大断面図である。 第3実施形態の蒸発器を示す拡大断面図である。 第4実施形態の蒸発器を示す拡大断面図である。 第5実施形態の蒸発器を示す拡大断面図である。 第6実施形態の蓄冷材容器を示す断面図である。 第7実施形態の蒸発器を示す拡大断面図である。 第8実施形態の蒸発器を示す拡大断面図である。 第9実施形態の蒸発器を示す拡大断面図である。 第10実施形態にかかるエジェクタ式冷凍サイクル装置を示すブロック図である。 第11実施形態にかかる空調装置を示す断面図である。 第11実施形態の蒸発器の平面図である。 第12実施形態の蒸発器の平面図である。 第13実施形態の蒸発器の平面図である。 第14実施形態の蒸発器の平面図である。
(第1実施形態)
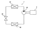
図1は、本発明の第1実施形態としての冷凍サイクル装置1の構成を示すブロック図である。冷凍サイクル装置1は、車両用の空調装置に用いられる。冷凍サイクル装置1は、圧縮機10、放熱器20、減圧器30、および蒸発器40を有する。これら構成部品は、配管によって環状に接続され、冷媒循環路を構成する。圧縮機10は、車両の走行用の動力源2である内燃機関によって駆動される。このため、動力源2が停止すると、圧縮機10も停止する。圧縮機10は、蒸発器40から冷媒を吸引し、圧縮し、放熱器20へ吐出する。放熱器20は、高温冷媒を冷却する。放熱器20は、凝縮器とも呼ばれる。減圧器30は、放熱器20によって冷却された冷媒を減圧する。減圧器30は、固定の絞り、温度式膨張弁、あるいはエジェクタによって提供されうる。蒸発器40は、減圧器30によって減圧された冷媒を蒸発させ、媒体を冷却する。蒸発器40は、車室に供給される空気を冷却する。冷凍サイクル装置1は、さらに、高圧側液冷媒と低圧側ガス冷媒とを熱交換する内部熱交換、余剰冷媒を蓄えるレシーバまたはアキュムレータのタンク要素を備えることができる。また、動力源2は、内燃機関あるいは電動機によって提供されうる。
図2は、第1実施形態の蓄冷熱交換器としての蒸発器40の平面図である。図3は、図2の側面図である。図4は、図2のIV−IV断面の一部を示す拡大断面図である。図5は、図3のV−V断面の一部を示す拡大断面図である。
図2および図3において、蒸発器40は、複数に分岐した冷媒通路部材を有する。この冷媒通路部材は、アルミニウム等の金属製の通路部材によって提供される。冷媒通路部材は、組をなして位置づけられたヘッダ41、42、43、44と、それらヘッダの間を連結する複数の冷媒管45とによって提供されている。
図2および図3において、第1ヘッダ41と第2ヘッダ42とは、組をなしており、互いに所定距離れて平行に配置されている。第3ヘッダ43と第4ヘッダ44とも、組をなしており、互いに所定距離れて平行に配置されている。第1ヘッダ41と第2ヘッダ42との間には、複数の冷媒管45が等間隔に配列されている。各冷媒管45は、その端部において対応するヘッダ41、42内に連通している。これら第1ヘッダ41と、第2ヘッダ42と、それらの間に配置された複数の冷媒管45によって第1熱交換部48が形成されている。第3ヘッダ43と第4ヘッダ44との間には、複数の冷媒管45が等間隔に配列されている。各冷媒管45は、その端部において対応するヘッダ43、44内に連通している。これら第3ヘッダ43と、第4ヘッダ44と、それらの間に配置された複数の冷媒管45によって第2熱交換部49が形成されている。この結果、蒸発器40は、2層に配置された第1熱交換部48と第2熱交換部49とを有する。空気の流れ方向に関して、第2熱交換部49が上流側に配置され、第1熱交換部48が下流側に配置されている。
第1ヘッダ41の端部には、冷媒入口としてのジョイントが設けられている。第1ヘッダ41内は、その長さ方向のほぼ中央に設けられた仕切板によって、第1区画と第2区画とに区画されている。これに対応して、複数の冷媒管45は、第1群と第2群とに区分されている。冷媒は、第1ヘッダ41の第1区画に供給される。冷媒は、第1区画から、第1群に属する複数の冷媒管45に分配される。冷媒は、第1群を通して第2ヘッダ42に流入し、集合される。冷媒は、第2ヘッダ42から、第2群に属する複数の冷媒管45に再び分配される。冷媒は、第2群を通して第1ヘッダ41の第2区画に流入する。このように、第1熱交換部48においては、冷媒をU字状に流す流路が形成される。
第3ヘッダ43の端部には、冷媒出口としてのジョイントが設けられている。第3ヘッダ43内は、その長さ方向のほぼ中央に設けられた仕切板によって、第1区画と第2区画とに区画されている。これに対応して、複数の冷媒管45は、第1群と第2群とに区分されている。第3ヘッダ43の第1区画は、第1ヘッダ41の第2区画に隣接している。第3ヘッダ43の第1区画と第1ヘッダ41の第2区画とは連通している。冷媒は、第1ヘッダ41の第2区画から、第3ヘッダ43の第1区画に流入する。冷媒は、第1区画から、第1群に属する複数の冷媒管45に分配される。冷媒は、第1群を通して第4ヘッダ44に流入し、集合される。冷媒は、第4ヘッダ44から、第2群に属する複数の冷媒管45に再び分配される。冷媒は、第2群を通して第3ヘッダ43の第2区画に流入する。このように、第2熱交換部49においては、冷媒をU字状に流す流路が形成される。第3ヘッダ43の第2区画内の冷媒は、冷媒出口から流出し、圧縮機10へ向けて流れる。
図4および図5において、冷媒管45は、内部に複数の冷媒通路を有する多穴管である。冷媒管45は、扁平管とも呼ばれる。この多穴管は、押出製法によって得ることができる。複数の冷媒通路は、冷媒管45の長手方向に沿って延びており、冷媒管45の両端に開口している。複数の冷媒管45は、列をなして並べられている。各列において、複数の冷媒管45は、その主面が対向するように配置されている。複数の冷媒管45は、互いに隣接する2つの冷媒管45の間に、空気と熱交換するための空気通路と、後述する蓄冷材容器を収容するための収容部とを区画している。
蒸発器40は、車室へ供給される空気と接触面積を増加させるためのフィン部材を備える。フィン部材は、複数のコルゲート型のフィン46によって提供されている。フィン46は、隣接する2つの冷媒管45の間に区画された空気通路に配置されている。フィン46は、隣接する2つの冷媒管45と熱的に結合している。フィン46は、熱伝達に優れた接合材によって、隣接する2つの冷媒管45に接合されている。接合材としては、ろう材を用いることができる。フィン46は、薄いアルミニウム等の金属板が波状に曲げられた形状をもっており、ルーバーと呼ばれる空気通路を備える。
蒸発器40は、さらに、複数の蓄冷材容器47を有している。蓄冷材容器47は、アルミニウムウ等の金属製である。蓄冷材容器47は、扁平な筒状である。蓄冷材容器47は、その長手方向両端において、筒をその厚さ方向に押しつぶすことによって閉じられ、内部に蓄冷材を収容するための部屋を区画している。蓄冷材容器47は、広い主面を両面に有している。これら2つの主面を提供する2つの主壁は、それぞれが冷媒管45と平行に配置されている。
蓄冷材容器47は、隣接する2つの冷媒管45の間に配置されている。蓄冷材容器47は、その両側に配置された2つの冷媒管45に熱的に結合している。蓄冷材容器47は、熱伝達に優れた接合材によって、隣接する2つの冷媒管45に接合されている。接合材としては、ろう材または接着剤などの樹脂材料を用いることができる。蓄冷材容器47は、冷媒管にろう付けされている。蓄冷材容器47と冷媒管45との間には、それらの間を広い断面積によって連結するために大量のろう材が配置されている。このろう材は、蓄冷材容器47と冷媒管45との間にろう材の箔を配置することによって提供することができる。この結果、蓄冷材容器47は、冷媒管45との間で良好な熱伝導を示す。
図4および図5において、蓄冷材容器47の厚さTは、空気通路の厚さとほぼ等しい。よって、蓄冷材容器47の厚さTは、フィン46の厚さとほぼ等しい。フィン46と蓄冷材容器47とは、入れ替え可能である。この結果、複数のフィン46と複数の蓄冷材容器47との配置パターンを、高い自由度をもって設定することができる。蓄冷材容器47の厚さTは、冷媒管45の厚さよりも明らかに大きい。この構成は、大量の蓄冷材50を収容するために有効である。蓄冷材容器47は、フィン46とほぼ同じ長さLを有する。この結果、蓄冷材容器47は、隣接する2つの冷媒管45の間に区画された収容部の長手方向のほぼ全体を占めている。蓄冷材容器47とヘッダ41、42、43、44との間の隙間は、フィン46の切片、あるいは樹脂などの充填材によって埋めることが望ましい。
蓄冷材容器47は、その外面を提供する外殻47aと、複数の内柱47bとを有している。内柱47bは、蓄冷材50を収容する部屋の内部へ向けて、主壁から延び出している。内柱47bは、蓄冷材容器47の2つの大きい主壁の間を連結している。内柱47bは、蓄冷材容器47の長手方向に沿って伸びている。複数の内柱47bは、蓄冷材容器47内の部屋を、空気の流れ方向に沿って並ぶ複数の小部屋に区画する。これら小部屋は、蓄冷材容器47の両端部において互いに連通されている。複数の部屋には、蓄冷材50が収容されている。それぞれの小部屋の断面積は、冷媒管45内の冷媒通路より十分に大きい。
図2において、複数の冷媒管45は、ほぼ一定の間隔で配置されている。それら複数の冷媒管45の間には、複数の隙間が形成されている。これら複数の隙間には、複数のフィン46と複数の蓄冷材容器47とが、所定の規則性をもって配置されている。隙間のうちの一部は、空気通路である。隙間のうちの残部は、収容部である。複数の冷媒管45の間に形成された合計間隔のうちの10%以上50%以下が収容部とされる。収容部には、蓄冷材容器47が配置されている。蓄冷材容器47は、蒸発器40の全体にほぼ均等に分散して配置されている。蓄冷材容器47の両側に位置する2つの冷媒管45は、蓄冷材容器47とは反対側において空気と熱交換するための空気通路を区画している。別の観点では、2つのフィン46の間に2つの冷媒管45が配置され、さらにこれら2つの冷媒管45の間にひとつの蓄冷材容器47が配置されている。
蓄冷材容器47と、その両側に位置する2つの冷媒管45とがひとつの蓄冷単位を構成している。蒸発器40には、同じ構成をもつ複数の蓄冷単位が配置されている。これらの蓄冷単位は、等間隔に配置されている。また、複数の蓄冷単位は、左右均等に配置されている。また、複数の蓄冷単位は、左右に対称に配置されている。
また、第1熱交換部48に属する複数の第1蓄冷単位と、第2熱交換部49に属する複数の第2蓄冷単位とは、通風方向に関して積層して配置されている。そして、第1蓄冷単位に属する蓄冷材容器47と、第2蓄冷単位に属する蓄冷材容器47とは、互いに独立しており、それらの間には断熱部分としての間隔が設けられている。 以下、冷媒管45を蒸発器40の端からの数によって特定して説明する。蒸発器40の最も端には、サイドプレートと呼ばれる補強板が配置されている。補強板と、最も端、すなわち1番目の冷媒管45との間には、フィン46が配置されている。この1番目の冷媒管45と、2番目の冷媒管45との間には、フィン46が配置されている。この結果、1番目の冷媒管45の両側には、フィン46が配置されている。2番目の冷媒管45と3番目の冷媒管45との間には、蓄冷材容器47が配置されている。3番目の冷媒管45と4番目の冷媒管45との間には、フィン46が配置されている。4番目の冷媒管45と5番目の冷媒管45との間には、フィン46が配置されている。5番目の冷媒管45と6番目の冷媒管45との間には、蓄冷材容器47が配置されている。6番目の冷媒管45と7番目の冷媒管45との間には、フィン46が配置されている。このような配列が、蒸発器40の一端から他端まで繰り返されている。
図2に示された構造では、蒸発器40の両端には、フィン46が配置され、蓄冷材容器47は配置されない。さらに、蒸発器40の両端に位置する冷媒管45の両側にはフィン46が配置され、蓄冷材容器47は配置されない。複数の冷媒管45のうち、特定の2つの冷媒管45の間には、蓄冷材容器47だけが収容され、フィン46は収容されていない。これら蓄冷材容器47の両外側に位置する2つの冷媒管45のさらに外側には、それぞれフィン46が配置されている。この結果、蓄冷材容器47の両側には、冷媒管45とフィン46とが、冷媒管45の配列方向に関して左右対称に配置されている。この左右対称の配置は、蒸発器40の全体にわたって例外なく提供されている。
図6ないし図10は、蓄冷材容器47の占有率と、蒸発器40の各種特性との関係を示すグラフである。図2の構成では、蓄冷材容器47は、複数の隙間のうちの1/3を占有している。残る2/3の隙間は、フィン46が占有している。蓄冷材容器47の占有率は約33%である。占有率は、高い放冷能力が発揮できるように設定されたものである。本発明者らは、占有率に対する蒸発器の性能を種々の観点から考察した。この考察によると、占有率を所定範囲内に設定することで、優れた性能が期待される。例えば、図6に図示されるように、占有率RMを大きくするにつれて、蓄冷材50の容積VMを多くできる。また、図7に図示されるように、占有率RMを大きくするにつれて、蓄冷材50と接する伝熱面積AMを大きくできる。さらに、図8に図示されるように、占有率RMを大きくすることで、フィン46の面積AFは相対的に低下する。こういった種々の特性を考慮すると、蓄冷材50による冷房能力、すなわち放冷能力WMは、所定占有率にピークをもつカーブを描く。図9は、占有率RMと放冷能力WMとの関係を示すグラフである。占有率RMを、およそ10%以上かつ60%以下の範囲内の値とすることで、高い放冷能力WMが得られる。特に、およそ30%付近が高い放冷能力WMを得る上で望ましい。さらに、図10に図示されるように、冷媒による冷房能力WRは、占有率RMが大きくなるにつれて低下する。空調装置として求められる能力を考慮すると、冷媒による冷房能力WRは、高いほうが望ましい。そこで、占有率RMは、50%以下の値とすることが好ましい。この実施形態では、蓄冷材による放冷能力WMと、冷媒による冷房能力WRとのバランスを考慮して、占有率RMを約33%とした。
次に、この実施形態の作動を説明する。乗員からの空調要求、例えば冷房要求があると、圧縮機10は動力源2によって駆動される。圧縮機10は蒸発器40から冷媒を吸入し、圧縮して、吐出する。圧縮機10から吐出された冷媒は、放熱器20で放熱される。放熱器20から出た冷媒は、減圧器30によって減圧され、蒸発器40に供給される。冷媒は、蒸発器40において蒸発し、蓄冷材容器47を冷却するとともに、フィン46を介して空気を冷却する。車両が一時停止すると、動力源2は消費エネルギを減らすために停止し、圧縮機10が停止する。その後、蒸発器40の冷媒は徐々に冷却能力を失ってゆく。この過程で、蓄冷材50は、徐々に放冷し、空気を冷却する。このとき、空気の熱は、フィン46、冷媒管45、および蓄冷材容器47を通して、蓄冷材50に伝導する。この結果、冷凍サイクル装置1が一時的に停止しても、蓄冷材50によって空気を冷却することができる。やがて、車両が再び走行を始めると、動力源2が再び圧縮機10を駆動する。このため、冷凍サイクル装置1は、再び蓄冷材50を冷却し、蓄冷する。
この実施形態では、蓄冷材容器47に対して冷媒管45およびフィン46(空気通路)が左右対称に位置づけられる。このため、蓄冷材容器47の大きい2つの主壁から、蓄冷材50が効率的に冷却される。また、蓄冷材容器47は、左右から均等に蓄冷される。また、蓄冷材容器47は、左右へ均等に放冷する。しかも、蓄冷材容器47は、フィン46と直接に隣接して配置されていない。蓄冷材容器47は、少なくとも冷媒管45を通してフィン46と熱的に結合する。このため、一時的に高すぎる温度の空気が流れても、蓄冷材50からの過剰な放冷が阻止される。
また、蒸発器40全体における蓄冷材容器47の占有率が1/3であるため、冷媒による冷房能力を大幅に損なうことなく、蓄冷材による放冷能力を高くすることができる。また、熱交換部としての内柱47bは、蓄冷材容器47と蓄冷材50との接触面積を大きくする。このため、蓄冷材50と蓄冷材容器47との効率的な熱交換を実現することができる。さらに、蓄冷材容器47は、ろう材によって冷媒管45に接合されている。このため、高い熱伝導性が得られるとともに、高い生産性を提供することができる。
この実施形態では、蒸発器40はひとつの熱交換領域を提供している。この熱交換領域は、ひとつの空調ダクト内に区画された単一の通風路に対応して配置されている。複数の蓄冷材容器47は、蒸発器40の全体にわたって、等間隔に設けられている。この結果、複数の蓄冷材容器47は、蒸発器40の全体にわたって、一様に分布している。特に、蓄冷材容器47は、冷媒管の配列方向に関して左右方向に均等に分布している。また、蓄冷材容器47は、冷媒管の配列方向に関して蒸発器40の熱交換領域の中央を基準として、左右対称に位置付けられている。このような構成によると、空調ダクト内の左右方向における温度分布を抑制することができる。
(第2実施形態)
図11および図12は、本発明の第2実施形態としての蒸発器を示す拡大断面図である。図11は、図2のIV−IV断面の一部に相当する。図12は、図3のV−V断面の一部に相当する。第1実施形態と同じ構成には同一の符号を付した。
蓄冷材容器247は、外殻247aを有する。外殻247aは、板材を扁平な筒状に曲げた形状をもつ。外殻247aの中には、コルゲート状のインナフィン247bが収容されている。インナフィン247bは、熱交換部を提供する。インナフィン247bの複数の頂部は、外殻247aの両側の主壁にろう付けされている。インナフィン247bの峰と谷は、蓄冷材容器47の長手方向に沿って延びている。この構成によると、インナフィン247bが、蓄冷材50と蓄冷材容器247との接触面積を大きくする。
(第3実施形態)
図13および図14は、本発明の第3実施形態としての蒸発器を示す拡大断面図である。図13は、図2のIV−IV断面の一部に相当する。図14は、図3のV−V断面の一部に相当する。第1実施形態と同じ構成には同一の符号を付した。
蓄冷材容器347は、外殻347aを有する。外殻347aは、板材を扁平な筒状に曲げた形状をもつ。外殻347aの中には、コルゲート状のインナフィン347bが収容されている。インナフィン347bの複数の頂部は、外殻347aの両側の主壁にろう付けされている。インナフィン347bは、熱交換部を提供する。インナフィン347bの峰と谷は、蓄冷材容器47の長手方向に沿って延びている。この構成によると、インナフィン347bが、蓄冷材50と蓄冷材容器347との接触面積を大きくする。
(第4実施形態)
図15は、本発明の第4実施形態としての蒸発器を示す拡大断面図である。図15は、図2のIV−IV断面の一部に相当する。第1実施形態と同じ構成には同一の符号を付した。
蓄冷材容器447は、第1熱交換部48と第2熱交換部49との両方にわたる幅Wを有する。蒸発器40が備える2層の熱交換部48、49の両方にまたがって広がる幅Wをもつことで、蓄冷材50の容積を多くすることができる。蓄冷材容器447は、外殻447aと、熱交換部としての複数の内柱447bとを有している。複数の内柱447bは、蓄冷材容器447内の部屋を、2層の熱交換部48、49の積層方向に並べられた複数の小部屋に区画する。蓄冷材容器447の一側面に2つの冷媒管45が配置され、他の側面にも2つの冷媒管45が配置されている。従って、ひとつの蓄冷材容器447の片面に、複数の冷媒管45が配置されている。このように、蓄冷材容器447は、幅Wの方向に沿って複数の容器ユニットに分割されていてもよい。この場合、それぞれの容器ユニットは、第1実施形態と同じ長さLを有する。複数の容器ユニットは、束ねられて大型の蓄冷材容器を構成し、隣接する2つの冷媒管45の間に区画された収容部を満たす。
(第5実施形態)
図16は、本発明の第5実施形態としての蒸発器を示す拡大断面図である。図16は、図2のIV−IV断面の一部に相当する。第1実施形態と同じ構成には同一の符号を付した。
蓄冷材容器547は、その外面を提供する外殻547aと、複数の突部547bとを有している。突部547bは、蓄冷材容器547の2つの大きい主壁から内側へ向けて延び出している。突部547bは、熱交換部を提供する。蓄冷材容器547内は、連続したひとつの部屋を形成している。外殻547aの側壁には、注入穴としての穴547cが設けられている。穴547cは、蒸発器40の上流側面あるいは下流側面に面して設けられている。蓄冷材容器547内には、蓄冷材50が収容されている。穴547cには、エポキシなどの硬化性の樹脂547dが充填されている。蒸発器40の製造過程では、まず、蓄冷材容器547、冷媒管45およびフィン46などの部品を用意する。次に、これら部品を仮組みする。その後、組み立てられた中間品を、ろう付け炉に搬入し、全体的にろう付けする。このろう付け工程により、蓄冷材容器547は、冷媒管45にろう付けされる。ろう付け工程の後、穴547cから蓄冷材50を注入する。さらにその後、穴547cに樹脂547dを注入し、穴547cを塞ぐ。この実施形態によると、蓄冷材容器547を蒸発器40の組立工程において簡単に組み付けることができる。この実施形態の構成は、この明細書に記載された他の実施形態にも適用することができる。
(第6実施形態)
図17は、本発明の第6実施形態としての蒸発器に用いられる蓄冷材容器を示す断面図である。蓄冷材容器647は、板材を筒状に曲げ、その両端を重ねて接合した形状を有している。外殻647aは、扁平な筒状である。外殻647aの長手方向の両端は、筒を厚さ方向へつぶして閉じられている。外殻647aが提供する2つの大きい主壁には、複数のディンプルが形成されている。それぞれのディンプルは、蓄冷材容器647の内部へ向けて突出した複数の突部647bを提供する。突部647bは、熱交換部を提供する。対向して位置する2つの突部647bは、その頂部で接合されている。複数の突部647bは、蓄冷材50と蓄冷材容器647との接触面積を大きくするために貢献する。この実施形態の蓄冷材容器647は、この明細書に記載された他の実施形態の蓄冷材容器に代えて用いることができる。
(第7実施形態)
図18は、本発明の第7実施形態としての蒸発器を示す拡大断面図である。図18は、図2のIV−IV断面の一部に相当する。先行する実施形態の説明を参照することができる構成には同一の符号を付した。第1熱交換部48に属して第1蓄冷単位を構成する蓄冷材容器747eと、第2熱交換部49に属して第2蓄冷単位を構成する蓄冷材容器747fとが、独立している。さらに、蓄冷材容器747eと蓄冷材容器747fとは、断熱部分としての間隔を設けて、互いに離れて位置付けられており、それらの間に空間が形成されている。この空間は、蓄冷材容器747fと、蓄冷材容器747eとの間に断熱性を与える断熱部分として機能する。この構成によると、蓄冷材容器747eと蓄冷材容器747fとの間の熱伝導を抑制し、望ましい態様では熱的に分離することができる。この結果、蓄冷材容器747eの温度と、蓄冷材容器747fの温度とを異なる温度とすることができる。また、蓄冷材容器747e内の蓄冷材50と、蓄冷材容器747f内の蓄冷材50との間の熱伝導、および蓄冷材50の流動を抑制することができる。なお、蓄冷材容器747eと蓄冷材容器747fとの間に断熱材を配置してもよい。また、蓄冷材容器747eと蓄冷材容器747fとは、外殻の中にインナフィンを収容した構成を採用したが、蓄冷材容器747e、747fに代えて、第1実施形態から第6実施形態に示した構造の蓄冷材容器を用いることができる。
冷媒の流れに関して、第1熱交換部48の冷媒管45が上流側に位置し、第2熱交換部49の冷媒管45が下流側に位置する。このため、第1熱交換部48の冷媒管45内の冷媒が気液二相状態であっても、第2熱交換部49の冷媒管45内の冷媒は過熱ガス状態になることがある。この結果、第1熱交換部48の冷媒管45の温度が蓄冷材50の融点以下であっても、第2熱交換部49の冷媒管45の温度が蓄冷材50の融点以上となることがある。このように、第1熱交換部48と第2熱交換部49との間には、冷媒の流れに起因する温度差が生じる場合がある。また、空気流れに関して、第1熱交換部48は下流側に位置し、第2熱交換部49は上流側に位置する。このため、空気の流れにも依存して、第1熱交換部48と第2熱交換部49との間に温度差が生じることがある。このような温度差が生じる場合、単一の蓄冷材容器では、蓄冷、放冷の効率が低下するおそれがある。
第1熱交換部48と第2熱交換部49との間に温度差が生じた場合でも、蓄冷材容器747eと蓄冷材容器747fとの間に断熱部分を設けているから、蓄冷、放冷の効率低下を抑制することができる。例えば、一方の蓄冷材容器747eだけを融点以下に維持して、蓄冷材容器747eだけに蓄冷させることができる。
(第8実施形態)
図19は、本発明の第8実施形態としての蒸発器を示す拡大断面図である。図19は、図2のIV−IV断面の一部に相当する。先行する実施形態の説明を参照することができる構成には同一の符号を付した。第1熱交換部48と第2熱交換部49とに渡ってひとつの蓄冷材容器847が設けられている。ただし、蓄冷材容器847の内部は、仕切板847gによって区画されている。この仕切板847gは、第1熱交換部48と第2熱交換部49との間において、蓄冷材容器847内の蓄冷材50に断熱性を与える断熱部分として機能する。
よって、第1熱交換部48に属して第1蓄冷単位を構成する蓄冷材容器と、第2熱交換部49に属して第2蓄冷単位を構成する蓄冷材容器とが、断熱部分としての仕切板847gを介して連結されている。
この構成によると、蓄冷材容器847内の蓄冷材50における熱伝導、および蓄冷材50の流動を抑制することができる。なお、蓄冷材容器847に代えて、第1実施形態から第6実施形態に示した構造の蓄冷材容器を用いることができる。第1熱交換部48と第2熱交換部49との間に温度差が生じた場合でも、蓄冷材容器847内に断熱部分を設けているから、蓄冷、放冷の効率低下を抑制することができる。
(第9実施形態)
図20は、本発明の第9実施形態としての蒸発器を示す拡大断面図である。図20は、図2のIV−IV断面の一部に相当する。先行する実施形態の説明を参照することができる構成には同一の符号を付した。第1熱交換部48と第2熱交換部49とに渡ってひとつの蓄冷材容器947が設けられているが、その内部は、絞り部947hによって区画されている。この絞り部947hは、第1熱交換部48と第2熱交換部49との間において、蓄冷材容器947内の蓄冷材50に断熱性を与える断熱部分として機能する。
よって、第1熱交換部48に属して第1蓄冷単位を構成する蓄冷材容器と、第2熱交換部49に属して第2蓄冷単位を構成する蓄冷材容器とが、断熱部分としての絞り部947hを介して連結されている。
この構成によると、蓄冷材容器947内の蓄冷材50における熱伝導、および蓄冷材50の流動を抑制することができる。なお、蓄冷材容器947に代えて、第1実施形態から第6実施形態に示した構造の蓄冷材容器を用いることができる。第1熱交換部48と第2熱交換部49との間に温度差が生じた場合でも、蓄冷材容器947内に断熱部分を設けているから、蓄冷、放冷の効率低下を抑制することができる。
なお、絞り部947hは、プレス加工によって、蓄冷材容器947の中央に対向する溝状の凹部を設けることにより形成することができる。絞り部947hにおいては、蓄冷材50の流通が完全に遮断されてもよい。また、絞り部947hにおいては、蓄冷材50を充填する際の作業性に配慮して、僅かな流通を許容する絞られた通路を設けてもよい。
(第10実施形態)
図21は、本発明の第10実施形態としてのエジェクタ式の冷凍サイクル装置1001の構成を示すブロック図である。先行する実施形態の説明を参照することができる構成には同一の符号を付した。
冷凍サイクル装置1001は、高圧冷媒入口と、低圧冷媒入口と、混合冷媒出口とをもつエジェクタ60を備えている。エジェクタ60は、高圧冷媒入口に供給される冷媒をノズルから噴射することにより、低圧冷媒入口から冷媒を吸引する。さらに、エジェクタ60は、ノズルから噴射された冷媒と、低圧冷媒入口から吸引された冷媒とを混合し、減速昇圧させて混合冷媒出口から流出させる。蒸発器1040は、第1実施形態の蒸発器40とほぼ同じ構造をもつ。ただし、蒸発器1040は、第3ヘッダ43の第1区画と第1ヘッダ41の第2区画との連通部分を備えない。これに代えて、蒸発器1040は、第1ヘッダ41の第2区画に独立した冷媒出口を有し、第3ヘッダ43の第1区画に独立した冷媒入口を有する。この結果、蒸発器1040は、独立した2層の熱交換部1048、1049を有する。空気流れに関して、第1熱交換部1048は下流側に位置付けられ、第2熱交換部1049は上流側に位置付けられる。冷凍サイクル装置1001は、放熱器20の下流において分岐している。一方の経路には第1の減圧器31が設けられ、エジェクタ60の高圧冷媒入口に接続されている。他方の経路には、第2の減圧器32が設けられ、第1熱交換部1048の入口に接続されている。第1熱交換部1048の出口は、エジェクタ60の低圧冷媒入口に接続されている。エジェクタ60の混合冷媒出口は、第2熱交換部1049の入口に接続されている。第2熱交換部1049の出口は、圧縮機10に接続されている。この構成では、第1熱交換部1048はエジェクタ60の吸引側に接続され、第2熱交換部1049はエジェクタ60の吐出側に接続される。この結果、第1熱交換部1048は、第2熱交換部1049よりも低温になる。このように、この冷凍サイクル装置1001では、第1熱交換部1048と第2熱交換部1049との間に温度差が生じる。
蒸発器1040に設けられた蓄冷材容器は、先行する実施形態に図示され、説明された構成を備えることができる。さらに、蒸発器1040には、第7実施形態ないし第9実施形態に図示され、説明された蓄冷材容器を採用することが望ましい。このような組合せは、第1熱交換部1048と第2熱交換部1049との間の温度差を維持することを可能とする。
(第11実施形態)
図22は、本発明の第11実施形態としての空調装置70の構成を示すブロック図である。先行する実施形態の説明を参照することができる構成には同一の符号を付した。
空調装置70は、車両用空調装置であって、運転席側と助手席側といった車内の2つの領域に異なる温度の空気を供給する。空調装置70は、送風機71と、温度調節ユニット72と、吹出ユニット76a、76bとを有する。温度調節ユニット72内には、蒸発器40が通風路の全体にわたって設けられている。温度調節ユニット72内には、通風路を2つの通風路に区画するセンタープレート73が設けられている。センタープレート73は、蒸発器40の直下流側から延在している。センタープレート73によって区画されたそれぞれの通風路には、エアミックスドア75a、75bと、ヒータコア74a、74bとが設けられている。エアミックスドア75a、75bは、ヒータコア74a、74bを通過する温風量と、ヒータコア74a、74bをバイパスする冷風量とを調節することにより、それらが混合された吹出空気の温度を調節する。エアミックスドア75aとエアミックスドア75bとは、それぞれ独立して調節可能である。それぞれの通風路の下流には、運転席側の吹出ユニット76aと、助手席側の吹出ユニット76bとが設けられている。それぞれの吹出ユニット76a、76bは、デフロスタ吹出口、フェイス吹出口、フット吹出口などの複数の吹出口をもつ。それぞれの吹出ユニット76a、76bは、複数の吹出口のいずれか、または組合せからの吹出しを許容する。
図23は、蒸発器40上におけるセンタープレート73の位置を示している。センタープレート73は、蒸発器40の熱交換部分の中央に位置付けられている。センタープレート73は、冷媒管45の長手方向と平行に位置付けられている。センタープレート73は、中央に位置する冷媒管45の延長上に位置して広がっている。センタープレート73の空気流れ上流端の縁は、中央に位置する冷媒管45に近接しているか、直接的にあるいはクッション材を介して間接的に接触している。この結果、センタープレート73は、蒸発器40の熱交換領域を、2つの部分熱交換領域に区画し、それぞれの部分熱交換領域をセンタープレート73が区画する通風路に対応付けている。
この実施形態では、センタープレート73を基準として、蓄冷材容器47が冷媒管45の配列方向に関して左右に7本づつ、すなわち均等本数づつ配置されている。それぞれの蓄冷材容器47は、同じ容積をもつから、センタープレート73を基準として、蓄冷材50が左右に均等量づつ配置されている。これにより、運転席側と助手席側とにおける蓄冷量、蓄冷効果の差を抑制することができる。例えば、放冷する際の温度差を抑制することができる。この結果、運転席側と助手席側とにおける温度差を抑制することができる。
加えて、センタープレート73を基準として、蓄冷材容器47が左右に対称に配置されている。これにより、運転席側と助手席側とにおいて、温度分布の差を抑制することができる。また、別の観点では、対称の温度分布を提供することができ、対称に配置されたエアミックスドア75a、75b、ヒータコア74a、74b、および吹出ユニット76a、76bに適合した温度分布を提供することができる。さらに、それぞれの通風路の領域においては、複数の蓄冷材容器47が均等に分散して配置されている。これにより、それぞれの通風路内における温度分布が抑制される。
(第12実施形態)
図24は、本発明の第12実施形態としての蒸発器1240の平面図である。先行する実施形態の説明を参照することができる構成には同一の符号を付した。蒸発器1240は、先行する実施形態の空調装置70に装着されている。
蒸発器1240は、センタープレート73を基準として、右半部に3セット、左半部に3セットの蓄冷材容器47を有している。すなわち、蓄冷材容器47は、左右に均等本数づつ配置されている。よって、蓄冷材50が左右に均等量づつ配置されている。これにより、運転席側と助手席側とにおける温度差を抑制することができる。
加えて、センタープレート73を基準として、蓄冷材容器47が左右に対称に配置されている。これにより、運転席側と助手席側とにおいて、温度分布の差を抑制することができる。また、別の観点では、対称の温度分布を提供することができる。
さらに、それぞれの通風路の領域においては、中央部に3セットの蓄冷材容器47が集中的に配置されている。これにより、それぞれの通風路内においては、過剰な温度分布の発生が防止される。なお、蒸発器1240は、センタープレート73を持たない単一の通風路をもつ空調装置にも適用することができる。
(第13実施形態)
図25は、本発明の第13実施形態としての蒸発器1340の平面図である。先行する実施形態の説明を参照することができる構成には同一の符号を付した。蒸発器1340は、先行する実施形態の空調装置70に装着されている。
蒸発器1340は、センタープレート73を基準として、右半部に3セット、左半部に3セットの蓄冷材容器47を有している。すなわち、蓄冷材容器47は、左右に均等本数づつ配置されている。よって、蓄冷材50が左右に均等量づつ配置されている。これにより、運転席側と助手席側とにおける温度差を抑制することができる。
センタープレート73を基準として、蓄冷材容器47は左右に非対称に配置されている。さらに、それぞれの通風路の領域においては、図中左側に3セットの蓄冷材容器47が偏って配置されている。このような非対称の配置は、非対称の温度分布を提供する。このような構成は、空調装置70の構成に起因する偏った温度分布の要請など特殊な要請に適合するために有効な場合がある。なお、蒸発器1340は、センタープレート73を持たない単一の通風路をもつ空調装置にも適用することができる。
(第14実施形態)
図26は、本発明の第14実施形態としての蒸発器1440の平面図である。先行する実施形態の説明を参照することができる構成には同一の符号を付した。蒸発器1440は、先行する実施形態の空調装置70に装着されている。
蒸発器1440は、センタープレート73を基準として、右半部に5セット、左半部に4セットの蓄冷材容器47を有している。すなわち、蓄冷材容器47は、左右に異なる本数づつ配置されている。よって、蓄冷材50は左右に異なる量づつ配置されている。これにより、運転席側と助手席側とにおいて異なる蓄冷効果を得ることができる。
センタープレート73を基準として、蓄冷材容器47は左右に非対称に配置されている。さらに、それぞれの通風路の領域においては、図中左側にやや多くの蓄冷材容器47が偏って配置されている。このような非対称の配置は、非対称の温度分布を提供する。このような構成は、空調装置70の構成に起因する偏った温度分布の要請など特殊な要請に適合するために有効な場合がある。なお、蒸発器1440は、センタープレート73を持たない単一の通風路をもつ空調装置にも適用することができる。
(他の実施形態)
本発明は上述した実施形態にのみ限定されるものではなく、次のように変形または拡張することができる。例えば、蓄冷材容器は、収容部のうちの1/2、2/5、1/4、1/5といった割合を占有してもよい。
蓄冷材容器の長さLは、冷媒管あるいはフィンに比べて明らかに短い長さであってもよい。この場合、収容部の残部には、短いフィン、あるいは樹脂などの充填材が装着される。
蓄冷材容器の内部にインナフィンが採用される場合、外殻にインナフィンの頂部を露出させる開口を設け、インナフィンの頂部を冷媒管に直接に接合してもよい。
冷媒管は、多穴押出管、あるいはディンプルを形成した板材を筒状に曲げた管によって提供することができる。さらに、フィンは省略することができる。このような熱交換器は、フィンレス型とも呼ばれる。フィンに代えて、冷媒管から延び出す突条などを設けて、空気との熱交換を促進してもよい。
本発明は、種々の流れ経路をもつ蒸発器に適用することができる。例えば、第1実施形態のような左右Uターン型に代えて、一方向型、前後Uターン型などの蒸発器に本発明を適用してもよい。
さらに、本発明は、冷凍用、暖房用、給湯用といった冷凍サイクル装置に適用されてもよい。さらに、本発明は、エジェクタを備える冷凍サイクル装置に適用されてもよい。
1、101 冷凍サイクル装置、
10 圧縮機、
20 放熱器、
30、31、32 減圧器、
40、1040、1240、1340、1440 蒸発器、
41、42、43、44 ヘッダ、
45 冷媒管、
46 フィン、
47、247、347、447、547、647、747e、747f、847、947 蓄冷材容器、
47a、247a、347a、447a、547a、647a 外殻、
47b、247b、347b、447b、547b、647b 熱交換部、
48、1048 第1熱交換部、
49、1049 第2熱交換部、
50 蓄冷材、
60 エジェクタ、
70 空調装置。

Claims (15)

  1. 冷媒通路を有し、互いに間隔を設けて配置された複数の冷媒管(45)と、
    蓄冷材(50)を収容する部屋を区画する蓄冷材容器であって、前記蓄冷材へ向けて突出した熱交換部(47b、247b、347b、447b、547b、647b)を有するとともに、2つの前記冷媒管の間に配置されて2つの前記冷媒管と接合された蓄冷材容器(47、247、347、447、547、647、747e、747f、847、947)とを備え、
    前記蓄冷材容器の両側に位置する2つの前記冷媒管は、前記蓄冷材容器とは反対側において空気と熱交換するための空気通路を区画していることを特徴とする蓄冷熱交換器。
  2. さらに、前記空気通路に配置されたフィン(46)を備えることを特徴とする請求項1に記載の蓄冷熱交換器。
  3. 複数の前記冷媒管は、ほぼ一定の間隔で配置され、前記空気通路の厚さと前記蓄冷材容器の厚さ(T)とがほぼ同じであることを特徴とする請求項1または2に記載の蓄冷熱交換器。
  4. 前記蓄冷材容器は、複数の前記冷媒管が形成する合計間隔のうちの10%以上50%以下に配置されていることを特徴とする請求項1から3のいずれかに記載の蓄冷熱交換器。
  5. 前記蓄冷材容器は、ろう材によって2つの前記冷媒管に接合されていることを特徴とする請求項1から4のいずれかに記載の蓄冷熱交換器。
  6. 前記熱交換部は、前記蓄冷材容器の外殻(47a、447a)の間を連結する内柱(47b、447b)であることを特徴とする請求項1から5のいずれかに記載の蓄冷熱交換器。
  7. 前記熱交換部は、前記蓄冷材容器内に配置されたインナフィン(247b、347b)であることを特徴とする請求項1から5のいずれかに記載の蓄冷熱交換器。
  8. 前記熱交換部は、前記蓄冷材容器の外殻(47a、447a、547a、647a)から延びる突部(47b、447b、547b、647b)であることを特徴とする請求項1から5のいずれかに記載の蓄冷熱交換器。
  9. 前記蓄冷材容器、および他の蓄冷材容器を含む複数の蓄冷材容器を備え、
    前記複数の蓄冷材容器が、等間隔に配置されていることを特徴とする請求項1から8のいずれかに記載の蓄冷熱交換器。
  10. 前記蓄冷材容器、および他の蓄冷材容器を含む複数の蓄冷材容器を備え、
    前記複数の蓄冷材容器が、前記冷媒管の配列方向に関して、中央に対して左右に均等に配置されていることを特徴とする請求項1から9のいずれかに記載の蓄冷熱交換器。
  11. 前記複数の蓄冷材容器が、中央に対して左右に対称に配置されていることを特徴とする請求項10に記載の蓄冷熱交換器。
  12. 前記冷媒管と前記蓄冷材容器と前記空気通路とで提供される熱交換領域が単一の通風路に対応して配置されていることを特徴とする請求項1から11のいずれかに記載の蓄冷熱交換器。
  13. 前記冷媒管と前記蓄冷材容器と前記空気通路とで提供される熱交換領域が、複数の部分熱交換領域に区画され、それぞれの部分熱交換領域が、区画された異なる通風路に対応して配置されていることを特徴とする請求項1から11のいずれかに記載の蓄冷熱交換器。
  14. 前記蓄冷材容器と、その両側に位置する2つの前記冷媒管とが第1の蓄冷単位を構成しており、
    前記第1の蓄冷単位と同じ構成をもち、通風方向に関して前記第1の蓄冷単位に積層して配置された第2の蓄冷単位を備え、
    前記第1の蓄冷単位に属する前記蓄冷材容器(47、747e)と、前記第2の蓄冷単位に属する前記蓄冷材容器(47、747f)との間に断熱部分としての間隔が設けられていることを特徴とする請求項1から13のいずれかに記載の蓄冷熱交換器。
  15. 前記蓄冷材容器と、その両側に位置する2つの前記冷媒管とが第1の蓄冷単位を構成しており、
    前記第1の蓄冷単位と同じ構成をもち、通風方向に関して前記第1の蓄冷単位に積層して配置された第2の蓄冷単位を備え、
    前記第1の蓄冷単位に属する前記蓄冷材容器(847、947)と、前記第2の蓄冷単位に属する前記蓄冷材容器(847、947)とが断熱部分としての仕切板(847g)または絞り部(947h)を介して連結されていることを特徴とする請求項1から13のいずれかに記載の蓄冷熱交換器。
JP2009077144A 2008-09-12 2009-03-26 蓄冷熱交換器 Active JP5444782B2 (ja)

Priority Applications (6)

Application Number Priority Date Filing Date Title
JP2009077144A JP5444782B2 (ja) 2008-09-12 2009-03-26 蓄冷熱交換器
DE102009040544.5A DE102009040544B4 (de) 2008-09-12 2009-09-08 Wärmeaustauscher mit einem Kältespeicher
US12/584,843 US9372034B2 (en) 2008-09-12 2009-09-11 Cool-storage type heat exchanger
CN201410272921.3A CN104089436B (zh) 2009-03-26 2010-03-10 蓄冷型热交换器
KR1020100021529A KR101213564B1 (ko) 2009-03-26 2010-03-10 냉기 저장형 열교환기
CN201010134266A CN101846418A (zh) 2009-03-26 2010-03-10 蓄冷型热交换器

Applications Claiming Priority (3)

Application Number Priority Date Filing Date Title
JP2008235408 2008-09-12
JP2008235408 2008-09-12
JP2009077144A JP5444782B2 (ja) 2008-09-12 2009-03-26 蓄冷熱交換器

Publications (2)

Publication Number Publication Date
JP2010091250A true JP2010091250A (ja) 2010-04-22
JP5444782B2 JP5444782B2 (ja) 2014-03-19

Family

ID=42006192

Family Applications (1)

Application Number Title Priority Date Filing Date
JP2009077144A Active JP5444782B2 (ja) 2008-09-12 2009-03-26 蓄冷熱交換器

Country Status (3)

Country Link
US (1) US9372034B2 (ja)
JP (1) JP5444782B2 (ja)
DE (1) DE102009040544B4 (ja)

Cited By (33)

* Cited by examiner, † Cited by third party
Publication number Priority date Publication date Assignee Title
JP2011006058A (ja) * 2009-05-22 2011-01-13 Showa Denko Kk 蓄冷機能付きエバポレータ
JP2012042167A (ja) * 2010-08-23 2012-03-01 Showa Denko Kk 蓄冷機能付きエバポレータ
JP2013104580A (ja) * 2011-11-10 2013-05-30 Denso Corp 蓄冷熱交換器
WO2013186983A1 (ja) * 2012-06-14 2013-12-19 株式会社デンソー 蓄冷熱交換器
JP2014035099A (ja) * 2012-08-07 2014-02-24 Denso Corp 蓄冷熱交換器
JP2014055763A (ja) * 2013-11-07 2014-03-27 Keihin Thermal Technology Corp 蓄冷機能付きエバポレータ
JP2014224668A (ja) * 2013-04-15 2014-12-04 株式会社リコー 反応材成形体及び蓄放熱ユニット
WO2014196163A1 (ja) * 2013-06-03 2014-12-11 株式会社デンソー 蓄冷熱交換器
JP2015007518A (ja) * 2013-06-26 2015-01-15 サンデン株式会社 蓄冷熱交換器
JP2015007490A (ja) * 2013-06-25 2015-01-15 株式会社デンソー エジェクタ式冷凍サイクル
JP2015010776A (ja) * 2013-06-28 2015-01-19 株式会社ケーヒン・サーマル・テクノロジー 熱交換器
WO2015045344A1 (ja) * 2013-09-25 2015-04-02 株式会社デンソー 蓄冷熱交換器
JP2015090249A (ja) * 2013-11-07 2015-05-11 株式会社ケーヒン・サーマル・テクノロジー 蓄冷機能付きエバポレータ
KR101727810B1 (ko) * 2015-07-27 2017-04-18 에스피엑스플로우테크놀로지 주식회사 열교환기용 모듈유닛
JP2017096553A (ja) * 2015-11-24 2017-06-01 ダイムラー・アクチェンゲゼルシャフトDaimler AG 冷凍サイクルシステム
JP2017116254A (ja) * 2017-02-08 2017-06-29 株式会社ケーヒン・サーマル・テクノロジー 蓄冷機能付きエバポレータ
US9719732B2 (en) 2012-08-22 2017-08-01 Denso Corporation Cold storage heat exchanger
JP2017142067A (ja) * 2017-05-30 2017-08-17 株式会社デンソー 蓄冷熱交換器
JP2017187217A (ja) * 2016-04-05 2017-10-12 株式会社デンソー 冷媒蒸発器
WO2018008299A1 (ja) * 2016-07-08 2018-01-11 株式会社デンソー 蓄冷熱交換器
WO2018008298A1 (ja) * 2016-07-08 2018-01-11 株式会社デンソー 蓄冷熱交換器
WO2018025528A1 (ja) 2016-08-04 2018-02-08 株式会社日本クライメイトシステムズ 蓄冷エバポレータ
DE112016004451T5 (de) 2015-10-01 2018-07-26 Denso Corporation Kältespeicherwärmetauscher
JP2018167704A (ja) * 2017-03-30 2018-11-01 株式会社デンソー 空調装置
US10352599B2 (en) 2012-04-02 2019-07-16 Denso Corporation Evaporator
JP2019182226A (ja) * 2018-04-11 2019-10-24 株式会社デンソー 蒸発器
JP2019182085A (ja) * 2018-04-05 2019-10-24 株式会社デンソー 蒸発器
US10589597B2 (en) 2015-11-03 2020-03-17 Denso Corporation Vehicle air conditioner with auxiliary heat exchanger
US10596877B2 (en) 2015-04-28 2020-03-24 Denso Corporation Air conditioning device for vehicle
KR20200048308A (ko) * 2018-10-29 2020-05-08 한국생산기술연구원 Pcm적용 판형 열교환기
US10696128B2 (en) 2015-10-01 2020-06-30 Denso Corporation Cold storage heat exchanger
DE202019105225U1 (de) * 2019-09-20 2020-12-22 Akg Verwaltungsgesellschaft Mbh Wärmeaustauscher
US11073342B2 (en) 2016-06-01 2021-07-27 Denso Corporation Regenerative heat exchanger

Families Citing this family (24)

* Cited by examiner, † Cited by third party
Publication number Priority date Publication date Assignee Title
JP5525726B2 (ja) * 2008-12-26 2014-06-18 株式会社ケーヒン・サーマル・テクノロジー 蓄冷機能付きエバポレータ
JP5408017B2 (ja) 2009-06-05 2014-02-05 株式会社デンソー 蓄冷熱交換器
CN101865574B (zh) * 2010-06-21 2013-01-30 三花控股集团有限公司 换热器
JP5768480B2 (ja) * 2011-05-10 2015-08-26 株式会社デンソー 蓄冷熱交換器
US9109841B2 (en) 2011-10-06 2015-08-18 Halla Visteon Climate Control Corporation Air to refrigerant heat exchanger with phase change material
US9242530B2 (en) * 2011-10-28 2016-01-26 Hanon Systems Heat exchanger with phase change material manifolds
JP5772748B2 (ja) * 2012-07-23 2015-09-02 株式会社デンソー 蒸発器
FR2996630B1 (fr) * 2012-10-09 2014-12-19 Commissariat Energie Atomique Procede de realisation d'un echangeur de chaleur contenant un materiau a changement de phase, echangeur obtenu et utilisations aux hautes temperatures.
FR3007514B1 (fr) * 2013-06-20 2017-12-15 Valeo Systemes Thermiques Tube a reservoir de materiau a changement de phases pour faisceau d'echange de chaleur, notamment pour un evaporateur d'un circuit de climatisation d'un vehicule
WO2015004720A1 (ja) * 2013-07-08 2015-01-15 三菱電機株式会社 熱交換器、及び空気調和機
KR101534978B1 (ko) 2013-12-23 2015-07-08 현대자동차주식회사 열교환기 및 그 제조방법
US20150198386A1 (en) * 2014-01-16 2015-07-16 Halla Visteon Climate Control Corp. Tube-fin thermal storage evaporator
US9789746B2 (en) * 2014-03-25 2017-10-17 Ford Global Technologies, Llc Adsorption air-conditioning system
JP6217525B2 (ja) * 2014-05-23 2017-10-25 株式会社デンソー 熱交換器
JP6410660B2 (ja) * 2014-06-17 2018-10-24 株式会社ケーヒン・サーマル・テクノロジー 蓄冷機能付きエバポレータ
FR3025873B1 (fr) * 2014-09-17 2016-12-23 Valeo Systemes Thermiques Evaporateur stockeur avec design plaques gaufrettes facilitant la congelation du pcm
CN105823150B (zh) * 2015-01-05 2018-08-03 中国科学院宁波材料技术与工程研究所 冷却装置及空调冰箱一体机
JP6623912B2 (ja) 2015-04-30 2019-12-25 株式会社デンソー 蒸発器
US10179498B2 (en) * 2015-05-30 2019-01-15 Air International Inc. Storage evaporator having phase change material for use in vehicle air conditioning system
US20160377350A1 (en) * 2015-06-29 2016-12-29 Honeywell International Inc. Optimized plate fin heat exchanger for improved compliance to improve thermal life
CN105004206B (zh) * 2015-08-06 2018-10-16 浙江嘉熙科技有限公司 相变抑制传热板式热交换器
JP6699507B2 (ja) * 2016-10-24 2020-05-27 株式会社デンソー 空調装置
US20220243986A1 (en) * 2019-06-04 2022-08-04 Pranav Vikas India Pvt Limited Ccf heater core assembly
DE102021202339A1 (de) 2021-03-10 2022-09-15 Psa Automobiles Sa Kühlvorrichtung für ein Kraftfahrzeug

Citations (5)

* Cited by examiner, † Cited by third party
Publication number Priority date Publication date Assignee Title
JPH01129587U (ja) * 1988-02-23 1989-09-04
JPH0254069U (ja) * 1988-10-06 1990-04-19
JP2000205777A (ja) * 1999-01-18 2000-07-28 Denso Corp 蓄熱用熱交換装置および車両用空調装置
JP2002274165A (ja) * 2001-01-05 2002-09-25 Behr Gmbh & Co 自動車用空調装置
JP2007099082A (ja) * 2005-10-04 2007-04-19 Mitsubishi Heavy Ind Ltd 蓄冷式冷房ユニット

Family Cites Families (12)

* Cited by examiner, † Cited by third party
Publication number Priority date Publication date Assignee Title
US4723601A (en) * 1985-03-25 1988-02-09 Nippondenso Co., Ltd. Multi-layer type heat exchanger
US5239839A (en) * 1991-06-17 1993-08-31 James Timothy W Thermal energy storage apparatus enabling use of aqueous or corrosive thermal storage media
JP3305460B2 (ja) * 1993-11-24 2002-07-22 昭和電工株式会社 熱交換器
JP3334386B2 (ja) 1994-12-21 2002-10-15 株式会社デンソー 蓄冷式冷房装置
DE19753601A1 (de) * 1997-12-03 1999-06-10 Behr Gmbh & Co Kältespeicher, insbesondere für ein Kraftfahrzeug
JP2001107035A (ja) 1999-08-05 2001-04-17 Denso Corp 蓄熱材およびこれを用いた空調装置用蓄熱器
DE10247268A1 (de) * 2002-10-10 2004-05-13 Behr Gmbh & Co. Kältemittelverdampfer
FR2847973B1 (fr) 2002-11-29 2006-01-27 Valeo Climatisation Echangeur de chaleur a inertie thermique pour circuit de fluide caloporteur, notamment de vehicule automobile.
JP4667077B2 (ja) * 2004-03-09 2011-04-06 昭和電工株式会社 ジョイントプレート半製品、ジョイントプレート、ジョイントプレートの製造方法および熱交換器
DE102004035818A1 (de) 2004-07-23 2006-03-16 Valeo Klimasysteme Gmbh Wärmetauscher mit Latentspeicher
KR20080026738A (ko) 2006-09-21 2008-03-26 한라공조주식회사 증발기
KR101260765B1 (ko) * 2007-09-03 2013-05-06 한라비스테온공조 주식회사 증발기

Patent Citations (5)

* Cited by examiner, † Cited by third party
Publication number Priority date Publication date Assignee Title
JPH01129587U (ja) * 1988-02-23 1989-09-04
JPH0254069U (ja) * 1988-10-06 1990-04-19
JP2000205777A (ja) * 1999-01-18 2000-07-28 Denso Corp 蓄熱用熱交換装置および車両用空調装置
JP2002274165A (ja) * 2001-01-05 2002-09-25 Behr Gmbh & Co 自動車用空調装置
JP2007099082A (ja) * 2005-10-04 2007-04-19 Mitsubishi Heavy Ind Ltd 蓄冷式冷房ユニット

Cited By (48)

* Cited by examiner, † Cited by third party
Publication number Priority date Publication date Assignee Title
JP2011006058A (ja) * 2009-05-22 2011-01-13 Showa Denko Kk 蓄冷機能付きエバポレータ
JP2012042167A (ja) * 2010-08-23 2012-03-01 Showa Denko Kk 蓄冷機能付きエバポレータ
JP2013104580A (ja) * 2011-11-10 2013-05-30 Denso Corp 蓄冷熱交換器
US10352599B2 (en) 2012-04-02 2019-07-16 Denso Corporation Evaporator
WO2013186983A1 (ja) * 2012-06-14 2013-12-19 株式会社デンソー 蓄冷熱交換器
JP2013256262A (ja) * 2012-06-14 2013-12-26 Denso Corp 蓄冷熱交換器
JP2014035099A (ja) * 2012-08-07 2014-02-24 Denso Corp 蓄冷熱交換器
US9989315B2 (en) 2012-08-07 2018-06-05 Denso Corporation Cold storage heat exchanger
US9719732B2 (en) 2012-08-22 2017-08-01 Denso Corporation Cold storage heat exchanger
JP2014224668A (ja) * 2013-04-15 2014-12-04 株式会社リコー 反応材成形体及び蓄放熱ユニット
WO2014196163A1 (ja) * 2013-06-03 2014-12-11 株式会社デンソー 蓄冷熱交換器
JP2015014447A (ja) * 2013-06-03 2015-01-22 株式会社デンソー 蓄冷熱交換器
CN105264324B (zh) * 2013-06-03 2017-09-29 株式会社电装 蓄冷热交换器
CN105264324A (zh) * 2013-06-03 2016-01-20 株式会社电装 蓄冷热交换器
JP2015007490A (ja) * 2013-06-25 2015-01-15 株式会社デンソー エジェクタ式冷凍サイクル
JP2015007518A (ja) * 2013-06-26 2015-01-15 サンデン株式会社 蓄冷熱交換器
JP2015010776A (ja) * 2013-06-28 2015-01-19 株式会社ケーヒン・サーマル・テクノロジー 熱交換器
JP2015064136A (ja) * 2013-09-25 2015-04-09 株式会社デンソー 蓄冷熱交換器
US10401062B2 (en) 2013-09-25 2019-09-03 Denso Corporation Cold storage heat exchanger
WO2015045344A1 (ja) * 2013-09-25 2015-04-02 株式会社デンソー 蓄冷熱交換器
JP2014055763A (ja) * 2013-11-07 2014-03-27 Keihin Thermal Technology Corp 蓄冷機能付きエバポレータ
JP2015090249A (ja) * 2013-11-07 2015-05-11 株式会社ケーヒン・サーマル・テクノロジー 蓄冷機能付きエバポレータ
US10596877B2 (en) 2015-04-28 2020-03-24 Denso Corporation Air conditioning device for vehicle
KR101727810B1 (ko) * 2015-07-27 2017-04-18 에스피엑스플로우테크놀로지 주식회사 열교환기용 모듈유닛
US10900717B2 (en) 2015-07-27 2021-01-26 Spx Flow Technology Korea Co., Ltd. Heat exchanger module unit
US10696128B2 (en) 2015-10-01 2020-06-30 Denso Corporation Cold storage heat exchanger
DE112016004451B4 (de) 2015-10-01 2022-06-02 Denso Corporation Kältespeicherwärmetauscher
DE112016004451T5 (de) 2015-10-01 2018-07-26 Denso Corporation Kältespeicherwärmetauscher
US10589597B2 (en) 2015-11-03 2020-03-17 Denso Corporation Vehicle air conditioner with auxiliary heat exchanger
JP2017096553A (ja) * 2015-11-24 2017-06-01 ダイムラー・アクチェンゲゼルシャフトDaimler AG 冷凍サイクルシステム
JP2017187217A (ja) * 2016-04-05 2017-10-12 株式会社デンソー 冷媒蒸発器
US11073342B2 (en) 2016-06-01 2021-07-27 Denso Corporation Regenerative heat exchanger
WO2018008299A1 (ja) * 2016-07-08 2018-01-11 株式会社デンソー 蓄冷熱交換器
WO2018008298A1 (ja) * 2016-07-08 2018-01-11 株式会社デンソー 蓄冷熱交換器
CN109414975A (zh) * 2016-07-08 2019-03-01 株式会社电装 蓄冷热交换器
JPWO2018008299A1 (ja) * 2016-07-08 2018-11-08 株式会社デンソー 蓄冷熱交換器
US11148508B2 (en) 2016-07-08 2021-10-19 Denso Corporation Cold-storage heat exchanger
WO2018025528A1 (ja) 2016-08-04 2018-02-08 株式会社日本クライメイトシステムズ 蓄冷エバポレータ
JP2018021725A (ja) * 2016-08-04 2018-02-08 株式会社日本クライメイトシステムズ 蓄冷エバポレータ
EP3480545A4 (en) * 2016-08-04 2019-07-03 Japan Climate Systems Corporation COLD STORAGE EVAPORATORS
JP2017116254A (ja) * 2017-02-08 2017-06-29 株式会社ケーヒン・サーマル・テクノロジー 蓄冷機能付きエバポレータ
JP2018167704A (ja) * 2017-03-30 2018-11-01 株式会社デンソー 空調装置
JP2017142067A (ja) * 2017-05-30 2017-08-17 株式会社デンソー 蓄冷熱交換器
JP2019182085A (ja) * 2018-04-05 2019-10-24 株式会社デンソー 蒸発器
JP2019182226A (ja) * 2018-04-11 2019-10-24 株式会社デンソー 蒸発器
KR20200048308A (ko) * 2018-10-29 2020-05-08 한국생산기술연구원 Pcm적용 판형 열교환기
KR102114863B1 (ko) * 2018-10-29 2020-05-26 한국생산기술연구원 Pcm적용 판형 열교환기
DE202019105225U1 (de) * 2019-09-20 2020-12-22 Akg Verwaltungsgesellschaft Mbh Wärmeaustauscher

Also Published As

Publication number Publication date
JP5444782B2 (ja) 2014-03-19
DE102009040544A1 (de) 2010-05-12
DE102009040544B4 (de) 2024-12-19
US20100065244A1 (en) 2010-03-18
US9372034B2 (en) 2016-06-21

Similar Documents

Publication Publication Date Title
JP5444782B2 (ja) 蓄冷熱交換器
CN104089436B (zh) 蓄冷型热交换器
CN100483060C (zh) 使用存贮流体的热交换器
JP4788766B2 (ja) 熱交換器及び冷凍空調装置
CN104541120B (zh) 蓄冷热交换器
US20150168047A1 (en) Cold storage heat exchanger
JP6183100B2 (ja) 蓄冷熱交換器
WO2010150774A1 (ja) 蓄冷機能付きエバポレータ
CN103959004A (zh) 热交换器
US6431264B2 (en) Heat exchanger with fluid-phase change
US10696128B2 (en) Cold storage heat exchanger
CN105452793A (zh) 用于热交换束的具有相变材料的容器的管道,特别是用于车辆的空调系统的蒸发器
JP6281394B2 (ja) 蓄冷熱交換器
JP5141730B2 (ja) 熱交換器及び冷凍空調装置
JP2014020757A (ja) 蓄冷熱交換器
JP2010243066A (ja) 蓄冷熱交換器
JP6573030B2 (ja) 蓄冷熱交換器
JP2015137807A (ja) 蓄冷熱交換器
JP6126361B2 (ja) 蓄冷機能付き空気冷却器
JP2017142067A (ja) 蓄冷熱交換器
WO2022044741A1 (ja) 蓄冷熱交換器
JP2019120412A (ja) 熱交換器

Legal Events

Date Code Title Description
A621 Written request for application examination

Free format text: JAPANESE INTERMEDIATE CODE: A621

Effective date: 20120321

A977 Report on retrieval

Free format text: JAPANESE INTERMEDIATE CODE: A971007

Effective date: 20130529

A131 Notification of reasons for refusal

Free format text: JAPANESE INTERMEDIATE CODE: A131

Effective date: 20130709

A521 Request for written amendment filed

Free format text: JAPANESE INTERMEDIATE CODE: A523

Effective date: 20130906

TRDD Decision of grant or rejection written
A01 Written decision to grant a patent or to grant a registration (utility model)

Free format text: JAPANESE INTERMEDIATE CODE: A01

Effective date: 20131126

A61 First payment of annual fees (during grant procedure)

Free format text: JAPANESE INTERMEDIATE CODE: A61

Effective date: 20131209

R151 Written notification of patent or utility model registration

Ref document number: 5444782

Country of ref document: JP

Free format text: JAPANESE INTERMEDIATE CODE: R151

R250 Receipt of annual fees

Free format text: JAPANESE INTERMEDIATE CODE: R250

R250 Receipt of annual fees

Free format text: JAPANESE INTERMEDIATE CODE: R250

R250 Receipt of annual fees

Free format text: JAPANESE INTERMEDIATE CODE: R250

R250 Receipt of annual fees

Free format text: JAPANESE INTERMEDIATE CODE: R250

R250 Receipt of annual fees

Free format text: JAPANESE INTERMEDIATE CODE: R250

R250 Receipt of annual fees

Free format text: JAPANESE INTERMEDIATE CODE: R250

R250 Receipt of annual fees

Free format text: JAPANESE INTERMEDIATE CODE: R250

R250 Receipt of annual fees

Free format text: JAPANESE INTERMEDIATE CODE: R250

R250 Receipt of annual fees

Free format text: JAPANESE INTERMEDIATE CODE: R250

R250 Receipt of annual fees

Free format text: JAPANESE INTERMEDIATE CODE: R250