JP2010070187A - 滑り止めチェーン - Google Patents

滑り止めチェーン Download PDF

Info

Publication number
JP2010070187A
JP2010070187A JP2009208775A JP2009208775A JP2010070187A JP 2010070187 A JP2010070187 A JP 2010070187A JP 2009208775 A JP2009208775 A JP 2009208775A JP 2009208775 A JP2009208775 A JP 2009208775A JP 2010070187 A JP2010070187 A JP 2010070187A
Authority
JP
Japan
Prior art keywords
cable
chain
tire
tension cable
slip
Prior art date
Legal status (The legal status is an assumption and is not a legal conclusion. Google has not performed a legal analysis and makes no representation as to the accuracy of the status listed.)
Granted
Application number
JP2009208775A
Other languages
English (en)
Other versions
JP5564223B2 (ja
Inventor
Aegyd Pengg
ペング、エジット
Bernhard Nies
ニース、ベルンハルト
Current Assignee (The listed assignees may be inaccurate. Google has not performed a legal analysis and makes no representation or warranty as to the accuracy of the list.)
Pewag Schneeketten GmbH and Co KG
Original Assignee
Pewag Schneeketten GmbH and Co KG
Priority date (The priority date is an assumption and is not a legal conclusion. Google has not performed a legal analysis and makes no representation as to the accuracy of the date listed.)
Filing date
Publication date
Application filed by Pewag Schneeketten GmbH and Co KG filed Critical Pewag Schneeketten GmbH and Co KG
Publication of JP2010070187A publication Critical patent/JP2010070187A/ja
Application granted granted Critical
Publication of JP5564223B2 publication Critical patent/JP5564223B2/ja
Active legal-status Critical Current
Anticipated expiration legal-status Critical

Links

Images

Classifications

    • BPERFORMING OPERATIONS; TRANSPORTING
    • B60VEHICLES IN GENERAL
    • B60CVEHICLE TYRES; TYRE INFLATION; TYRE CHANGING; CONNECTING VALVES TO INFLATABLE ELASTIC BODIES IN GENERAL; DEVICES OR ARRANGEMENTS RELATED TO TYRES
    • B60C27/00Non-skid devices temporarily attachable to resilient tyres or resiliently-tyred wheels
    • B60C27/06Non-skid devices temporarily attachable to resilient tyres or resiliently-tyred wheels extending over the complete circumference of the tread, e.g. made of chains or cables
    • B60C27/08Non-skid devices temporarily attachable to resilient tyres or resiliently-tyred wheels extending over the complete circumference of the tread, e.g. made of chains or cables involving lugs or rings taking up wear, e.g. chain links, chain connectors
    • BPERFORMING OPERATIONS; TRANSPORTING
    • B60VEHICLES IN GENERAL
    • B60CVEHICLE TYRES; TYRE INFLATION; TYRE CHANGING; CONNECTING VALVES TO INFLATABLE ELASTIC BODIES IN GENERAL; DEVICES OR ARRANGEMENTS RELATED TO TYRES
    • B60C27/00Non-skid devices temporarily attachable to resilient tyres or resiliently-tyred wheels
    • B60C27/006Non-skid devices temporarily attachable to resilient tyres or resiliently-tyred wheels provided with protective parts, e.g. rubber elements to protect the rim portion

Landscapes

  • Mechanical Engineering (AREA)
  • Engineering & Computer Science (AREA)
  • Tires In General (AREA)
  • Ropes Or Cables (AREA)
  • Hand Tools For Fitting Together And Separating, Or Other Hand Tools (AREA)
  • Solid-Sorbent Or Filter-Aiding Compositions (AREA)
  • Transition And Organic Metals Composition Catalysts For Addition Polymerization (AREA)
  • Package Frames And Binding Bands (AREA)
  • Gears, Cams (AREA)
  • Pistons, Piston Rings, And Cylinders (AREA)
  • Optical Measuring Cells (AREA)
  • Golf Clubs (AREA)
  • Aiming, Guidance, Guns With A Light Source, Armor, Camouflage, And Targets (AREA)

Abstract

【課題】伸長可能な内側ケーブル又は外側ケーブルとの結合を提供する。
【解決手段】連鎖網状チェーンからなる踏面横断部2と、装着時にタイヤの側面に設置される側方ケーブル、例えばタイヤの外側面に設置される外側ケーブルと、タイヤの他方の側面に設置されるテンションケーブル6、例えばタイヤ6の内側面に設置される内側ケーブル20とを有する滑り止めチェーンにおいて、テンションケーブル20上に結合部材21が設けられ、該結合部材の各々に少なくとも一個の踏面横断部2を備えたテンションケーブル20と結合したフック22、若しくは連鎖網状チェーンのチェーン部品が直接に懸架され、かつ該結合部材が前記テンションケーブルの外装材に滑らないように係止される。さらに前記テンションケーブル20の外装材を固定又は係止するための少なくとも一個の突起が、前記テンションケーブルの側に向いた結合部材の内側の表面に設けられる。
【選択図】図7

Description

本発明は、踏面横断部と、装着時にタイヤの一側面(例えばタイヤの外側面)に位置する側方ケーブルと、装着時にタイヤの反対側(たとえばタイヤの内側面)に位置する引張ケーブルとを有する連鎖網状チェーンからなる滑り止めチェーンに関する。
本出願において、側方ケーブルはテンションケーブルとして使用されない側方チェーンを意味する。側方ケーブルは好ましくは例えばタイヤの外周に沿って一周する閉じた、すなわちループ状の実施形態を有する。ここで主に示される滑り止めチェーンでは、装着状態においてタイヤの内側のケーブルが滑り止めチェーンを緊張させる機能を果たすが、外側のケーブルをテンションケーブルとして構成することも可能である。
オーストリア特許第500295(B1)号は車両のタイヤのリム上に装着される滑り止めチェーンであって、タイヤの外側のテンションケーブルのためにブラケットを形成するリム保護部材を、リムと接触する可能性のある滑り止めチェーンの一部分に備えたものを開示している。この公知のリム保護部材は緊張のために張設されるテンションケーブルが通過するブラケットを有している。この公知の発明の最大の欠点は、タイヤの内側で滑り止めチェーンのテンションケーブルが張設され、タイヤの外側では側方ケーブルのみが装着された状態のとき、踏面横断部と側方ケーブルの丈夫な結合が確保されないことである。
欧州特許公開第1520734(A2)号は踏面横断部がフックで側方ケーブルに懸架された雪道用チェーンの張力調節装置を開示している。この張力調節装置のクロスヘッドは、フックが懸架される側方ケーブルのチェーンリンク部を取り囲んでいるが、フックそのものは拘束していないので、フックは従来と同様にリムと接触しうる。欧州特許公開第0976588(A1)号では、リム保護装置がフックと連鎖網状チェーンの末端リンクとを一緒に取り囲むことが記載されている。
踏面横断部を、テンションケーブル(内側ケーブルを含む)に結合するために、米国特許第2685321号はクリップでありながらテンションケーブルに沿って移動可能であるものを取付けることを提案している。
欧州特許公開第0911194(A2)号及び日本特許出願第2002−301918(A)号は連鎖網状チェーンの末端を側方ケーブルに固定するための係止を提案しているが、伸長可能なケーブルへの固定に用いるものではない。
テンションケーブルに沿って移動しないように踏面横断部をテンションケーブルに結合するための他の方法は、テンションケーブルの外装材に不連続部を設け、それらの場所でテンションケーブルの断面積を小さくすることである。この外装材の不連続部はテンションケーブルを踏面横断部に結合するためのフックの固定に使用される。しかし従来技術のこの方法には、工程が非常に煩瑣であり製造コストを上昇させるという問題点がある。また、フックの側方への滑りを外装材によりおおむね防止し得たとしても、依然テンションケーブルを軸として回転し得るという問題点がある。テンションケーブルの周りでのフックの回転が可能であるために、とりわけ内側の場合には、装着が一層困難になる。
オーストリア特許第500295号公報 欧州特許公開第1520734(A2)号公報 欧州特許公開第0976588(A1)号公報 米国特許第2685321号公報 欧州特許公開第0911194(A2)号公報 特許公開公報第2002−301918号
従って、本発明の目的は、従来技術における上述の問題点を解決し、耐久性がありかつ安定した位置を保つことのできる伸長可能な内側ケーブル又は外側ケーブルとの結合を提供することである。
この目的は、冒頭に述べたタイプの滑り止めチェーン、すなわち、テンションケーブルの付加的な外装材に対して、滑らないように係止された結合部材を備え、該結合部材の各々に対して、少なくとも一つの踏面横断部でテンションケーブルに結合されたフック又は連鎖網状チェーンの各々が直接に懸架されるような滑り止めチェーンの発明により達成される。
上記の課題は本発明に係る解決手段によって効率的に解決され、滑り止めチェーンの特に安定した作用と簡単な取扱とが得られる。
前記結合部材が、タイヤ外面から離れる向きのフロントピースとタイヤ外面に向かう向きのリヤピースの2個の部品から構成されるならば、組立が簡単となる利点がある。
フックの簡単な固定のため、前記結合部材はフックが懸架される少なくとも一個の開口を有していても良い。
前記結合部材に、テンションケーブルの外装材を固定又は係止するように突起が配置された案内路が配設されることにより、結合部材の良好な保持が確保される。このときU字型の断面を有する案内路の半体ずつが、結合部材のフロントピース及び結合部材のリヤピース内に配設される。
前記結合部材のフロントピース及びリヤピースが少なくとも一個の締結具、たとえばリベット又はねじで互いに結合されることにより、それらの良好な結合が確保される。
本発明の他の実施例では、前期結合部材は、テンションケーブルに係止することができる下側部品であって、少なくとも一部分が側方ケーブルから突出して実質的にタイヤ側面と平行に延在し、また前記フックのための結合用穴を有するものを備えている。前記結合用穴には取付具が設けられ、前記フックは装着時に該取付具の一部分を通過し、また該取付具は装着時に前記下側部品に押し付けられ少なくとも前記部分を実質的に取り囲むように構成されている。
テンションケーブルへの良好な係止効果は、テンションケーブルに面する前記結合部材の内面上に、テンションケーブルの外装材を固定又は係止するための少なくとも1個の突起を設けることにより達成される。特に、この実施例においては、前記下側部品の少なくとも前記ケーブルの表面に面する内面上に、ケーブルの方へ向いた少なくとも1個の係止突起を設けている。
もし前記テンションケーブルが引張弾性ケーブル(引張弾性=引張力による弾性)及び遠心力で作動するターンバックルとして構成されるならば、快適な取扱及び良好な機能性の見地から特に好適である。遠心力で作動するターンバックルは、例えば本出願人の国際特許出願2008/058304(A2)号公報に開示されている。かかる引張弾性ケーブルは、例えば外装材の役割をはたすラッピング材で取り囲まれた引張りバネを備えることができる。
別の好適な実施例においては、引張弾性ケーブルはフィラメントを備えたクラッディングを有し、テンションケーブルの最大伸び長さを超えて伸びない阻止用索体として機能する。このことはテンションケーブルの保護、特に上記の引張りばねの過剰な伸びの予防に役立つ。フィラメントは好適にはポリエステル及び/又はケブラーをベースとする一種類のプラスチックからなる。
本発明の別の実施例において、踏面横断部は側方ケーブルの少なくとも一個のチェーンリンクにそれぞれ懸架されたフックによって外側の側方ケーブルと結合されており、各フックに対して、該フックと少なくとも一個のチェーンリンクを取り囲むリム保護カバーが設けられている。この構成により、踏面横断部に対する側方ケーブルの良好な結合と、非常に効率的なリム保護が達成される。
この別の実施例において、該リム保護カバーがタイヤの外側面と反対側を向くフロントピースと、タイヤの外側面に向かうリヤピースとを有し、該フロント及びリヤピースは少なくとも一個のチェーンリンクとフックとを収容するための凹部を有することにより、滑り止めチェーン上のリム保護カバーの事後装着がかなり容易化される。この装着はまた、前記リム保護カバーのフロントピース及びリヤピースが前記少なくとも一個のチェーンリンクとフックに固定するためのスナップアクション結合部を有し、前記リム保護手段の二側面のうち少なくとも一方が1個以上の突起を有し、他方が前記突起に対応する1個以上の開口を有し、前記突起が前記開口により所定位置にスナップされる構成によって、さらに容易化される。好ましくは前記リム保護カバーは装着時に前記フックと、側方ケーブルの該フックが懸架されるチェーンリンクと、このチェーンリンクの左右に隣接するチェーンリンクの一部分を実質的に取り囲む。また、リム保護カバーをプラスチック製とすることにより車輪リムの引っ掻き傷が効果的に防止される。
この取扱と快適な操作は、少なくとも一個のリム保護カバーを独特の方法、例えば特別の色彩の付加により個別化することでさらに改善される。この個別化は、使用者がタイヤ上のチェーンの相対位置を一目で判断できるので、特にチェーンの装着及び取り外しの際に有用である。
本発明及び本発明の他の効果は、図面に表された非限定的な実施例に基づいて以下に詳細に説明される。
外側の側方ケーブルと内側の側方ケーブルを有する本発明に係る滑り止めチェーンを装着したタイヤの外側面図である。 図1の滑り止めチェーンの外側の側方ケーブルの一部分において、フックが側方ケーブルのチェーンリンクに懸架して側方ケーブルを踏面横断部に結合した状態を表す斜視図である。 本発明に係るリム保護カバーの開いた状態を装置の外側から見た斜視図である。 本発明に係るリム保護カバーの開いた状態を装置の内側から見た斜視図である。 リム保護カバーが装着された状態における図2の側方ケーブルの一部分の斜視図である。 踏面横断部のチェーンケーブルが懸架した状態における、図5のリム保護カバーの装着時の斜視図である。 本発明に係る結合部材により踏面横断部のチェーンケーブルが内側ケーブルに固定される様子を表した図である。 内側ケーブル(踏面横断部を除いてある)を配置された結合部材及びターンバックルと共に表した図である。 懸架されたフックにより内側ケーブルを滑り止めチェーンの踏面横断部に結合するための結合部材を表した図である。 図9の結合部材のフロントピースを表した図である。 図9の結合部材のリヤピースを表した図である。 内側ケーブルが挿入された状態の図9の結合部材の一つのピースの斜視図である。 図9の結合部材が組み立てられ、一部が開かれて内側ケーブルが挿入された状態を示す斜視図である。 図9の結合部材が組み立てられ内側ケーブルに装着された状態を表す図である。 本発明に係る滑り止めチェーンの踏面横断部の2個のチェーンケーブルの末端部若しくは末端リンクがフックの仲介を介さずに直接懸架されている、本発明に係る結合部材の別の実施例が、内側ケーブルに装着された状態を表す斜視図である。 図15の結合部材の正面図である。 内側ケーブルに係止することのできる結合部材の他の実施例の装着状態を表した図である。 図17の結合部材の分解図である。 図17の結合部材の下側部品の一つの実施例の斜視図である。 図17の結合部材の下側部品の別の実施例の斜視図である。 図17の結合部材が内側に部分的に装着された状態を表す斜視図である。 阻止用索体を含む外装材(ラッピング)を有する側方ケーブルの一部分を表す図である。 図22の側方ケーブルが伸長した状態を表す図である。 ゴム糸を含む外層部を有する側方ケーブルの一実施例の一部分を表す図である。 図24の側方ケーブルの緩んだ位置における断面図である。 図24の側方ケーブルの伸びた位置における断面図である。
図1に示されるように、本発明に係る滑り止めチェーン1は、踏面横断部2を備えた連鎖網状チェーンと、装着時にタイヤ2の外側に位置する側方ケーブル10とを有している。
踏面横断部2は、各フック5が側方ケーブル10の少なくとも一個のチェーンリンク4に懸架することにより側方ケーブル10と結合している(図2)。各フック5に対して、フック5と少なくとも一個のチェーンリンク4とを取り囲むリム保護カバー11が設けられている。装着と取り外しを容易にするために、少なくとも一個のリム保護カバー11が、例えば個別の彩色により特に個別化されている。図1では一個のリム保護カバー12が色分け(ドット掛け)されている。リム保護カバー12を見分けることで、車輪上のチェーンの正確な位置が指示される。個別化は、例えば一個ののリム保護カバー12に他のリム保護カバー11と異なる色を付することにより行える。
図3に示されるように、カバー11はタイヤ外側面から離れる向きのフロントピース13とタイヤ外側面に向かう向きのリヤピース14を有している。フロントピース13とリヤピース14は、少なくとも一個のチェーンリンク4とフック5が差し込まれる凹部15を有している。
図4に示されるように、カバー11のフロントピース13とリヤピース14は、スナップアクション結合手段によりフック5及び少なくとも一個のチェーンリンク4に固定することができる。このときカバー11の二側面の少なくとも一方が1個の突起16を有し、他方が該突起16に対応する1個以上の開口17を有し、前記開口17内で前記突起16が所定位置にスナップされる。
また、前記リム保護カバー11のフロントピース13及びリヤピース14は、ヒンジ型ジョイント18により結合することができる。さらにフロントピース13及びリヤピース14は、ジョイント18と共に一体の部品として構成することができる。一体構成のリム保護カバー11においては、特に製造技術上の理由から、カバー11をプラスチック製とすることが望ましい。また、リム保護カバー11の材料としてプラスチックを使用することにより、リムの損傷に対する非常に良い保護が得られる。
図5及び6に示されるように、リム保護カバー11はフック5及び該フックが懸架される側方ケーブル10のチェーンリンク4(これらの図には表れない)、及びこのチェーンリンク4の左右に隣接するチェーンリンク4’、4’’の一部を実質的に取り囲んでいる。
図7及び8に例示されるように、滑り止めチェーン1のテンションケーブルはタイヤ6の内側面に位置する内側ケーブル20の形態をとり、そこに結合部材21が滑動も回転もしないように係止される。図8に例示されるように、結合部材21は内側ケーブル20の全体に配置され、2個の隣り合う結合部材21の間には所定の空隙が維持されている。(図8には内側ケーブル20とそれに直接に取付けられた滑り止めチェーン1の構成要素のみが示されている。)好ましくは内側ケーブル20は、例えば出願人の国際特許出願第2008/058304(A2)号公報に記載された一つの実施例のような、遠心力で作動するターンバックル7を有する引張弾性ケーブルとして構成される。
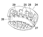
図9に示されるように、内側ケーブル20と連鎖網状チェーン若しくは踏面横断部2とを結合するフック22を、又は直接に踏面横断部2のチェーン部材(下記図15も参照)を、各結合部材21に懸架することができる。
図10及び11は、結合部材を2個の部品、すなわちタイヤ外側面を離れる向きのフロントピース13とタイヤ外側面に向かう向きのリヤピース14で構成しうることを示している。この実施例では、フロント及びリヤピース23、24は同じ構成であり、同一の部品をフロント及びリヤピースとして使用することができ好適である。このとき結合部材21は2個の同一の半体で構成される(図13)。
フック22を懸架するための少なくとも一個の開口が、構成要素23,24の上側の部品(車輪の弧状表面に向かう部分)に設けられている。結合部材21(フロント及びリヤピース)の材料としては、プラスチックと金属の両方が考慮される。
図11に示されるように、結合部材21は内側ケーブル20の外装材を固定又は係止するための突起27が配置された案内路26を備えることができる。このときU字状の横断面を有する案内路26の半体が、結合部材21のフロントピース23と結合部材21のリヤピース24の両方に配設される。
図12ないし14は、結合部材21に内側ケーブル20が挿入される様子を示している。他方のピースの対応する開口29にぴったり結合する形状を有する案内ボルト28が、フロントピース23又はリヤピース24の内側面上に配設され、内側ケーブル20上の良好な装着を保証する。フロント及びリヤピースが同一の構成である実施例では、案内ボルト及び対応する開口29が同じ構成要素に設けられ、構成要素23、24の案内ボルトはそれぞれ他方の構成要素の開口と結合する。これにより、結合部材21のフロントピース23とリヤピース24のぴったりした結合が実現される。このようにして結合部材21の内側ケーブル20への係止が容易に実行される。
再び図9を参照すれば、結合部材21のフロントピース23及びリヤピース24は、さらに少なくとも一個の締結具34、例えばリベット又はねじによって相互に結合することができる。
図15及び16に示される別の実施例は、連鎖網状チェーン又は踏面横断部2のチェーンケーブル30に直接に懸架することも可能な結合部品31を備える。ここでは2個の末端チェーンリンクが、結合部品の2個の反対側の末端部32に懸架され、それぞれリベット又はネジ33により結合部品31から脱落しないように固定される。結合部品31(フロント及びリヤピース)の材料としては、プラスチックと金属の両方が考慮される。
図17及び18に表される本発明の別の実施例では、結合部材41が内側ケーブル20に係止される下側部品43を有することにより滑り及び回転が防止される。内側20の踏面横断部2又は連鎖網状チェーンへの結合は、フック42の結合部材41への結合によって行われる。
図19及び20は下側部品43、43’の等しく好適な実施例を示し、図からわかるように、これらの構成要素は、実質的にU字状の横断面を有する曲げ金属部品で構成され、U字状のベース部品44、44’が膨出してチャンネルとなり内側ケーブル20を受けるように構成されている。さらに下側部品43、43’は、内側ケーブル20の表面に向かう内側面上に1個又は数個の係止突起45,45’を備えていても良い。下側部品43はまたフック42のための1個又は2個以上の結合穴部47が設けられた少なくとも一個のセクション46を有していても良い。
図21を参照すると、前記セクション46は装着時に側方ケーブル20から離れる方向に突出し、実質的にタイヤ側面と平行に延在している。また、装着時にフック42によって部分的に係止される、プラスチック製カバーの形態を有する取付具48が設けられ、該取付具48が下側部品43を押圧するようにすることができる。少なくとも該下側部品のセクション46は装着時には実質的に取付具48に取り囲まれている。好ましくは下側部品43は金属で、取付具48はプラスチックで製造することができる。
結合部材21、31、41が固定される内側ケーブル20は、好ましくは引張ばね19の形態をとる引張弾性ケーブル(条体)を備えることが有益である。引張りばね19から形成された条体は、図8に例示されるようにターンバックル7を用いて環状に閉じられる。ターンバックルは遠心力で作動する方式であり、滑り止めチェーン1が装着された車輪が回転する時にターンバックルを介したケーブルの移動を阻止する。しかしテンションケーブルの弾性が相応であれば、ターンバックルを使わずに構成することも可能である。
図22ないし26を参照すると、引張りばね19はケーシングとして作用する外被(外装材)91,92に収容することができる。このカバーによりケーブル20に装着された結合部材21,31,41は移動を阻止され、そのため連鎖網状チェーンの形状が維持され安定化される。さらに外被91,92は引張りばね19が過剰に伸びないように保護する。これは所望の型の引張りばねを滑り止めチェーンの使用状態における張設要素として使用するために実質的に十分なものである。図22ないし24においては、引張りばねの外装材のうちケーブル20の末端部に近い部分は説明のため取り除いてある。
図22は、踏面横断部93が定まった最大長さを持つ外被91を示している。緩んだ時にはこれらの踏面横断部93は図のように丸まり又は巻かれる。図23に示されるように、テンションケーブルが伸びた時には阻止用策体93’が可逆的に伸び、踏面横断部の直線的整列関係に対応する長さを超えて伸びるのを防止する。踏面横断部の可逆的整列関係のため、引張りばねはいつでも弾性により元の長さに復帰することができる。
図24は外被92の可能な別の実施例を示している。ここでは外被92は、引張りばねの周囲に均等に分配され、緩んだ状態の時に引張りばねから所定の距離に配置されるように取付けられたたゴム糸94を含む。テンションケーブル20が伸びた時には個々の織糸の相互結合を介して、外被92の半径は当然縮小する。ゴム糸94は半径が縮小しうる限度まで平らに押圧される。末端部の伸長の緩んだ状態及び作用状態における外被92の横断面図をあらわす断面図25及び26にもこの点が示されている。図26からわかるように、ゴム糸94’は伸長により、該ゴム糸の占めるスペースが縮小しうる限度まで変形され絞られる。
外被91,92の別の利点は、滑り止めチェーンの装着及び取り外しの際に使用者の指が保護されることである。コイルスプリングの伸張の際には常に、皮膚又は身体の他の部分が開いたコイルの間に入り込み、テンションケーブルが弾力で元の長さに復したときにそこに挟まる危険がある。前記の外被により、このことが簡単に防止できる。
外被の材料として、必要な磨耗抵抗性と引張強さを保持するポリエステル及び/又はケブラーをベースとするフィラメントを使用することができる。
図示した実施例では、側方ケーブル10は装着状態においてタイヤの外側面上にあり、滑り止めチェーンはタイヤの内面の内側ケーブル20として配置されるテンションケーブルによって伸ばされている。しかし本発明は内側及び外側のケーブルの役割を逆にした実施例を含むこともでき、その場合は滑り止めチェーンはテンションケーブルが(外側テンションケーブルとして)タイヤの外側に来るように装着される。

Claims (14)

  1. 踏面横断部(2)を有する連鎖網状チェーンと、装着時にタイヤの一側面(3)上に設置される側方ケーブル(10)と、装着時にタイヤの他方の側面上に設置されるテンションケーブル(20)からなる滑り止めチェーン(1)であって、前記テンションケーブルは伸張可能であり、その上に結合部材(21,31,41)がテンションケーブルの外装材(91,93)に滑らないように係止され、それぞれ少なくとも一個の踏面横断部(2)とテンションケーブル(20)とを結合する、前記フック(22,42)又は連鎖網状チェーンのチェーン部品(30)が前記結合部材(21,31,41)に直接に懸架されることを特徴とする滑り止めチェーン(1)。
  2. 前記テンションケーブルが装着時にタイヤの内側面(6)上に位置する内側ケーブル(2)で構成され、前記側方ケーブルは装着時にタイヤの外側面(3)上に位置することを特徴とする請求項1記載の滑り止めチェーン。
  3. 前記結合部材(21,41)の各々が前記フック(22,42)を懸架するための少なくとも一個の開口を有することを特徴とする請求項1又は2記載の滑り止めチェーン。
  4. 前記結合部材(21)の各々がタイヤの側面から離れる方向のフロントピース(23)とタイヤの側面に向かう方向のリヤピース(24)で構成されていることを特徴とする請求項1から3のいずれか1項記載の滑り止めチェーン。
  5. 前記結合部材(21,31,41)の各々が、案内路(26,44)を有し、該案内路に固定又は係止のための突起(27,45)が配設されていることを特徴とする請求項4記載の滑り止めチェーン。
  6. 全ての結合部材(21,31,41)のフロントピース(23)と、全ての結合部材(21,31,41)のリヤピース(24)の両方に、U字状の横断面を持つ案内路(26,44)の半体がそれぞれ配設されていることを特徴とする請求項5記載の滑り止めチェーン。
  7. 全ての結合部材(21,31)のフロントピース(23)とリヤピース(24)が少なくとも一個の締結具(34)、例えばリベット又はネジで相互に結合されていることを特徴とする請求項4ないし6のいずれか一項に記載の滑り止めチェーン。
  8. 一個の結合部材のフロントピース(23)及びリヤピース(24)の構成が同一に構成されていることを特徴とする請求項4ないし7のいずれか一項に記載の滑り止めチェーン。
  9. 結合部材(41)の各々がテンションケーブル(20)に係止可能な下側部品(43)を有し、前記下側部品は装着時に前記側方ケーブルから離れる方向に向きタイヤ側面と実質的に平行に延在する少なくとも一個のセクション(46)を有し、該部分がフック(42)のための結合穴(47)を備え、さらに前記フック(42)が通過可能な部分を有し前記下側部品を押圧するように構成された取付具(48)が設けられ、前記下側部品は少なくとも前記セクション(46)に実質的に取り囲まれていることを特徴とする請求項1ないし3のいずれか一項に記載の滑り止めチェーン。
  10. 前記下側部品(43)が、少なくともテンションケーブル(20)の表面に向いた側の表面上に、テンションケーブル(20)に向いた少なくとも一個の係止用突起を有することを特徴とする請求項9記載の滑り止めチェーン。
  11. 前記テンションケーブル(20)が遠心力により作動するターンバックル(7)を備えた引張弾性ケーブルとして構成されていることを特徴とする請求項1ないし10のいずれか一項に記載の滑り止めチェーン。
  12. 前記テンションケーブル(20)が踏面横断部として作用するケーブル(93,94)の最大伸びを限度として伸長するフィラメントを有する外装材(91,92)を備えた引張弾性ケーブルとして構成されていることを特徴とする請求項1ないし11のいずれか一項に記載の滑り止めチェーン。
  13. 前記フィラメントがポリエステルベースのプラスチック及びケブラーベースのプラスチックのグループから選択された一種類のプラスチックからなることを特徴とする請求項12記載の滑り止めチェーン。
  14. 前記引張弾性を有するテンションケーブルが、外装材として作用する外被で取り囲まれた引張りばね(19)を有していることを特徴とする請求項11から13のいずれか一項に記載の滑り止めチェーン。
JP2009208775A 2008-09-16 2009-09-10 滑り止めチェーン Active JP5564223B2 (ja)

Applications Claiming Priority (4)

Application Number Priority Date Filing Date Title
ATA1445/2008 2008-09-16
AT0144508A AT507348A1 (de) 2008-09-16 2008-09-16 Gleitschutzkette
EP09450148.3 2009-08-12
EP09450148A EP2163408B1 (de) 2008-09-16 2009-08-12 Gleitzschutzkette

Related Child Applications (2)

Application Number Title Priority Date Filing Date
JP2013152588A Division JP2013241180A (ja) 2008-09-16 2013-07-23 滑り止めチェーン
JP2014071115A Division JP2014141252A (ja) 2008-09-16 2014-03-31 滑り止めチェーン

Publications (2)

Publication Number Publication Date
JP2010070187A true JP2010070187A (ja) 2010-04-02
JP5564223B2 JP5564223B2 (ja) 2014-07-30

Family

ID=41361358

Family Applications (4)

Application Number Title Priority Date Filing Date
JP2009208774A Active JP5254163B2 (ja) 2008-09-16 2009-09-10 リム保護カバーを有する滑り止めチェーン
JP2009208775A Active JP5564223B2 (ja) 2008-09-16 2009-09-10 滑り止めチェーン
JP2013152588A Pending JP2013241180A (ja) 2008-09-16 2013-07-23 滑り止めチェーン
JP2014071115A Pending JP2014141252A (ja) 2008-09-16 2014-03-31 滑り止めチェーン

Family Applications Before (1)

Application Number Title Priority Date Filing Date
JP2009208774A Active JP5254163B2 (ja) 2008-09-16 2009-09-10 リム保護カバーを有する滑り止めチェーン

Family Applications After (2)

Application Number Title Priority Date Filing Date
JP2013152588A Pending JP2013241180A (ja) 2008-09-16 2013-07-23 滑り止めチェーン
JP2014071115A Pending JP2014141252A (ja) 2008-09-16 2014-03-31 滑り止めチェーン

Country Status (8)

Country Link
US (2) US20100065175A1 (ja)
EP (2) EP2163408B1 (ja)
JP (4) JP5254163B2 (ja)
AT (3) AT507348A1 (ja)
DE (1) DE502009000359D1 (ja)
ES (1) ES2358313T3 (ja)
PL (2) PL2163408T3 (ja)
RU (1) RU2499683C2 (ja)

Cited By (3)

* Cited by examiner, † Cited by third party
Publication number Priority date Publication date Assignee Title
JP2010116039A (ja) * 2008-11-12 2010-05-27 Peerless Chain Co 張力装置を備えた自動引き締め式牽引装置
JP2012062048A (ja) * 2010-09-15 2012-03-29 Pewag Schneeketten Gmbh & Co Kg サイドウォール保護カバーを備える滑り止めチェーン
JP2013220813A (ja) * 2012-04-16 2013-10-28 Pewag Schneeketten Gmbh & Co Kg スノーチェーンの接地面ネットの接続装置

Families Citing this family (7)

* Cited by examiner, † Cited by third party
Publication number Priority date Publication date Assignee Title
AT507348A1 (de) * 2008-09-16 2010-04-15 Pewag Schneeketten Gmbh & Co Gleitschutzkette
DE202014102213U1 (de) * 2014-05-12 2015-08-14 Rud Ketten Rieger & Dietz Gmbh U. Co. Kg Felgenschutzelement für eine Fahrzeug-Gleitschutzvorrichtung
JP6465363B2 (ja) * 2016-01-07 2019-02-06 太陽誘電株式会社 弾性波デバイスおよびその製造方法
DE102016217233A1 (de) * 2016-09-09 2018-03-15 Rud Ketten Rieger & Dietz Gmbh U. Co. Kg Reifenkette zur vereinfachten Montage und Nachrüstset für eine Reifenkette
US11548769B2 (en) * 2018-07-30 2023-01-10 Toyota Motor Engineering & Manufacturing North America, Inc. Chain link adapter
DE102020203068A1 (de) 2020-03-11 2021-09-16 Rud Ketten Rieger & Dietz Gmbh U. Co. Kg Felgenschutzvorrichtung für Reifenketten sowie Reifenkette mit einer derartigen Felgenschutzvorrichtung
JP2022021048A (ja) * 2020-07-21 2022-02-02 株式会社カーメイト 滑り止めチェーン用リムプロテクター

Citations (2)

* Cited by examiner, † Cited by third party
Publication number Priority date Publication date Assignee Title
JPH0541905U (ja) * 1991-11-14 1993-06-08 オカモト株式会社 タイヤ滑り止めネツト
EP0911194A2 (en) * 1997-10-20 1999-04-28 Burns Bros., Inc. Tire chain for dual wheel tires

Family Cites Families (25)

* Cited by examiner, † Cited by third party
Publication number Priority date Publication date Assignee Title
US1335165A (en) * 1919-03-11 1920-03-30 Hick Harry Joseph Equalizing-retainer for tire-chains
US2682907A (en) * 1951-10-03 1954-07-06 Max E Krueger Traction increasing means for tires
US2673586A (en) 1952-02-21 1954-03-30 Harold W Petrie Antiskid chain means for vehicle wheels
US2685321A (en) 1952-09-08 1954-08-03 Harold W Petrie Antiskid chain means for wheels
US2714914A (en) * 1953-01-14 1955-08-09 Real Clavette Anti-skid device for tires
CH574334A5 (ja) * 1974-02-27 1976-04-15 Bula Karl
CH641732A5 (de) * 1979-11-06 1984-03-15 Sulzer Ag Netz- oder kettenartige gleitschutzvorrichtung fuer fahrzeugraeder.
US4261404A (en) * 1980-02-28 1981-04-14 Lew Hyok S Structurally continuous continuous snow chain
DE3906486A1 (de) * 1989-03-01 1990-09-13 Weissenfels Contiweiss Gleitschutzkette
US5280816A (en) * 1991-01-11 1994-01-25 Connelly Ernest M Tire sidewall protector
DE4225802C2 (de) * 1992-07-31 1997-03-06 Rud Ketten Rieger & Dietz Felgenschutz für mit Gleitschutzketten zu versehende Fahrzeugräder
JPH0618004U (ja) * 1992-08-20 1994-03-08 早川ゴム株式会社 自動車タイヤ用滑り止め具のロープ輪の根締め金具
US5299613A (en) * 1993-02-02 1994-04-05 Burns Bros., Inc. Tire chain cross member assemblies and tire chains using the same
JPH0732830A (ja) * 1993-07-19 1995-02-03 Sumitomo Rubber Ind Ltd タイヤ用滑り止め具
JPH10151922A (ja) * 1996-11-26 1998-06-09 Okamoto Ind Inc タイヤ用滑り止め装置
EP0976588A1 (de) 1998-07-30 2000-02-02 Regina Ottinger Vorrichtung zum Schutz einer Felge eines Fahrzeugrades
JP2000071728A (ja) * 1998-08-27 2000-03-07 Ottinger Regina 車両の車輪外周部を保護する装置
JP3769725B2 (ja) 2001-04-03 2006-04-26 株式会社三富士製作所 タイヤチェーンの内側支持装置
DE10348636B4 (de) 2002-10-21 2016-06-30 Regina Ottinger Kette zum Aufziehen auf einen Fahrzeugreifen
ITMI20030456U1 (it) 2003-10-02 2005-04-03 Maggi Catene Spa Dispositivo di tensionamento perfezionato per catene da neve
EP1752318B9 (en) * 2005-08-12 2008-01-09 Thule S.p.A. Snow chains with a limited bulk
EP1752320A1 (en) 2005-08-12 2007-02-14 Thule S.p.A. Snow chain with elastic mounting system
ATE408530T1 (de) * 2005-12-30 2008-10-15 Thule Spa System zur befestigung eines kettenstrangs an den innenstrang einer gleitschutzkette mit geringer bauhöhe
AT504599B1 (de) 2006-11-17 2008-11-15 Pewag Schneeketten Gmbh & Co Kg Spannschloss für eine gleitschutzkette
AT507348A1 (de) * 2008-09-16 2010-04-15 Pewag Schneeketten Gmbh & Co Gleitschutzkette

Patent Citations (2)

* Cited by examiner, † Cited by third party
Publication number Priority date Publication date Assignee Title
JPH0541905U (ja) * 1991-11-14 1993-06-08 オカモト株式会社 タイヤ滑り止めネツト
EP0911194A2 (en) * 1997-10-20 1999-04-28 Burns Bros., Inc. Tire chain for dual wheel tires

Cited By (3)

* Cited by examiner, † Cited by third party
Publication number Priority date Publication date Assignee Title
JP2010116039A (ja) * 2008-11-12 2010-05-27 Peerless Chain Co 張力装置を備えた自動引き締め式牽引装置
JP2012062048A (ja) * 2010-09-15 2012-03-29 Pewag Schneeketten Gmbh & Co Kg サイドウォール保護カバーを備える滑り止めチェーン
JP2013220813A (ja) * 2012-04-16 2013-10-28 Pewag Schneeketten Gmbh & Co Kg スノーチェーンの接地面ネットの接続装置

Also Published As

Publication number Publication date
EP2163408A1 (de) 2010-03-17
PL2163408T3 (pl) 2011-06-30
RU2499683C2 (ru) 2013-11-27
JP5254163B2 (ja) 2013-08-07
JP2010070186A (ja) 2010-04-02
ATE518675T1 (de) 2011-08-15
EP2163409B1 (de) 2011-08-03
ATE497449T1 (de) 2011-02-15
JP2014141252A (ja) 2014-08-07
US20100065176A1 (en) 2010-03-18
AT507348A1 (de) 2010-04-15
US8240348B2 (en) 2012-08-14
PL2163409T3 (pl) 2011-12-30
JP5564223B2 (ja) 2014-07-30
RU2009134569A (ru) 2011-03-20
EP2163408B1 (de) 2011-02-02
US20100065175A1 (en) 2010-03-18
EP2163409A1 (de) 2010-03-17
DE502009000359D1 (de) 2011-03-17
JP2013241180A (ja) 2013-12-05
ES2358313T3 (es) 2011-05-09

Similar Documents

Publication Publication Date Title
JP5564223B2 (ja) 滑り止めチェーン
CN101541569B (zh) 用于机动车辆的车轮的附着链
CA2824999C (en) Self-locking clip systems and methods
US8127405B2 (en) Reusable hose bundling sleeve
CA1186203A (en) Auxiliary traction device for tires and cable end connector therefor
RU2121931C1 (ru) Цепь противоскольжения для автомобильных шин, установленных на ободе колеса транспортного средства
JPS625082B2 (ja)
KR101935643B1 (ko) 타이어 미끄럼 방지 장치
CA2749420C (en) Tire chain and method of modifying a tire chain
JP2009522164A (ja) 滑り止め装置のための中央締め付けシステムおよびこれを有する滑り止め装置
ITMI991646A1 (it) Dispositivo di autotensionamento per catene da neve
JPH07322Y2 (ja) タイヤ用滑り止めネット
JPH0210723B2 (ja)
JPS6390409A (ja) タイヤ滑り止め装置の取付方法
JP3652850B2 (ja) タイヤ滑り止め具
JP2888277B2 (ja) タイヤ用滑り止め装置
JP2013220813A (ja) スノーチェーンの接地面ネットの接続装置
JPH07205622A (ja) タイヤチェーン
KR100411395B1 (ko) 이륜차용 스노우 체인
JP2004122951A (ja) タイヤ用滑止具及びこれに用いる掛止部集約部材
JPS6341210A (ja) タイヤ滑り止め装置
JPH11254930A (ja) タイヤ用滑止め装置及びタイヤ用滑止め装置の外側締付け具
JPH01208209A (ja) 自動車タイヤのスリップ防止装置
JP2001191769A (ja) タイヤ滑り止め装置及びこれに用いる締め付け装置
JPH10157425A (ja) タイヤ用滑り止め装置

Legal Events

Date Code Title Description
A621 Written request for application examination

Free format text: JAPANESE INTERMEDIATE CODE: A621

Effective date: 20101020

A131 Notification of reasons for refusal

Free format text: JAPANESE INTERMEDIATE CODE: A131

Effective date: 20130107

A521 Request for written amendment filed

Free format text: JAPANESE INTERMEDIATE CODE: A523

Effective date: 20130318

A02 Decision of refusal

Free format text: JAPANESE INTERMEDIATE CODE: A02

Effective date: 20130416

A521 Request for written amendment filed

Free format text: JAPANESE INTERMEDIATE CODE: A523

Effective date: 20130723

A521 Request for written amendment filed

Free format text: JAPANESE INTERMEDIATE CODE: A821

Effective date: 20130723

A911 Transfer to examiner for re-examination before appeal (zenchi)

Free format text: JAPANESE INTERMEDIATE CODE: A911

Effective date: 20130814

A912 Re-examination (zenchi) completed and case transferred to appeal board

Free format text: JAPANESE INTERMEDIATE CODE: A912

Effective date: 20130906

A521 Request for written amendment filed

Free format text: JAPANESE INTERMEDIATE CODE: A523

Effective date: 20140331

A61 First payment of annual fees (during grant procedure)

Free format text: JAPANESE INTERMEDIATE CODE: A61

Effective date: 20140616

R150 Certificate of patent or registration of utility model

Ref document number: 5564223

Country of ref document: JP

Free format text: JAPANESE INTERMEDIATE CODE: R150

R250 Receipt of annual fees

Free format text: JAPANESE INTERMEDIATE CODE: R250

R250 Receipt of annual fees

Free format text: JAPANESE INTERMEDIATE CODE: R250

R250 Receipt of annual fees

Free format text: JAPANESE INTERMEDIATE CODE: R250

R250 Receipt of annual fees

Free format text: JAPANESE INTERMEDIATE CODE: R250

R250 Receipt of annual fees

Free format text: JAPANESE INTERMEDIATE CODE: R250

R250 Receipt of annual fees

Free format text: JAPANESE INTERMEDIATE CODE: R250

R250 Receipt of annual fees

Free format text: JAPANESE INTERMEDIATE CODE: R250

R250 Receipt of annual fees

Free format text: JAPANESE INTERMEDIATE CODE: R250

R250 Receipt of annual fees

Free format text: JAPANESE INTERMEDIATE CODE: R250