JP2010062839A - スキャナ装置 - Google Patents

スキャナ装置 Download PDF

Info

Publication number
JP2010062839A
JP2010062839A JP2008226101A JP2008226101A JP2010062839A JP 2010062839 A JP2010062839 A JP 2010062839A JP 2008226101 A JP2008226101 A JP 2008226101A JP 2008226101 A JP2008226101 A JP 2008226101A JP 2010062839 A JP2010062839 A JP 2010062839A
Authority
JP
Japan
Prior art keywords
cover
document
scanner
main body
front cover
Prior art date
Legal status (The legal status is an assumption and is not a legal conclusion. Google has not performed a legal analysis and makes no representation as to the accuracy of the status listed.)
Granted
Application number
JP2008226101A
Other languages
English (en)
Other versions
JP5241386B2 (ja
Inventor
Teruji Yoshida
照治 吉田
Hideaki Shibata
英明 柴田
Yasuhiro Matsuda
安弘 松田
Masaaki Yamashita
政明 山下
Current Assignee (The listed assignees may be inaccurate. Google has not performed a legal analysis and makes no representation or warranty as to the accuracy of the list.)
PFU Ltd
Original Assignee
PFU Ltd
Priority date (The priority date is an assumption and is not a legal conclusion. Google has not performed a legal analysis and makes no representation as to the accuracy of the date listed.)
Filing date
Publication date
Application filed by PFU Ltd filed Critical PFU Ltd
Priority to JP2008226101A priority Critical patent/JP5241386B2/ja
Priority to US12/536,550 priority patent/US8169669B2/en
Priority to CN2009101710327A priority patent/CN101668101B/zh
Publication of JP2010062839A publication Critical patent/JP2010062839A/ja
Application granted granted Critical
Publication of JP5241386B2 publication Critical patent/JP5241386B2/ja
Active legal-status Critical Current
Anticipated expiration legal-status Critical

Links

Images

Classifications

    • HELECTRICITY
    • H04ELECTRIC COMMUNICATION TECHNIQUE
    • H04NPICTORIAL COMMUNICATION, e.g. TELEVISION
    • H04N1/00Scanning, transmission or reproduction of documents or the like, e.g. facsimile transmission; Details thereof
    • H04N1/00519Constructional details not otherwise provided for, e.g. housings, covers
    • H04N1/00525Providing a more compact apparatus, e.g. sheet discharge tray in cover
    • HELECTRICITY
    • H04ELECTRIC COMMUNICATION TECHNIQUE
    • H04NPICTORIAL COMMUNICATION, e.g. TELEVISION
    • H04N1/00Scanning, transmission or reproduction of documents or the like, e.g. facsimile transmission; Details thereof
    • H04N1/00519Constructional details not otherwise provided for, e.g. housings, covers
    • H04N1/00525Providing a more compact apparatus, e.g. sheet discharge tray in cover
    • H04N1/00535Providing a more compact apparatus, e.g. sheet discharge tray in cover using rotatably mounted or foldable components
    • HELECTRICITY
    • H04ELECTRIC COMMUNICATION TECHNIQUE
    • H04NPICTORIAL COMMUNICATION, e.g. TELEVISION
    • H04N1/00Scanning, transmission or reproduction of documents or the like, e.g. facsimile transmission; Details thereof
    • H04N1/00519Constructional details not otherwise provided for, e.g. housings, covers
    • H04N1/00551Top covers or the like
    • H04N1/00554Latches or hinges therefor
    • HELECTRICITY
    • H04ELECTRIC COMMUNICATION TECHNIQUE
    • H04NPICTORIAL COMMUNICATION, e.g. TELEVISION
    • H04N1/00Scanning, transmission or reproduction of documents or the like, e.g. facsimile transmission; Details thereof
    • H04N1/00567Handling of original or reproduction media, e.g. cutting, separating, stacking
    • H04N1/00631Ejecting or stacking
    • HELECTRICITY
    • H04ELECTRIC COMMUNICATION TECHNIQUE
    • H04NPICTORIAL COMMUNICATION, e.g. TELEVISION
    • H04N1/00Scanning, transmission or reproduction of documents or the like, e.g. facsimile transmission; Details thereof
    • H04N1/04Scanning arrangements, i.e. arrangements for the displacement of active reading or reproducing elements relative to the original or reproducing medium, or vice versa
    • H04N1/12Scanning arrangements, i.e. arrangements for the displacement of active reading or reproducing elements relative to the original or reproducing medium, or vice versa using the sheet-feed movement or the medium-advance or the drum-rotation movement as the slow scanning component, e.g. arrangements for the main-scanning
    • HELECTRICITY
    • H04ELECTRIC COMMUNICATION TECHNIQUE
    • H04NPICTORIAL COMMUNICATION, e.g. TELEVISION
    • H04N2201/00Indexing scheme relating to scanning, transmission or reproduction of documents or the like, and to details thereof
    • H04N2201/0077Types of the still picture apparatus
    • H04N2201/0081Image reader

Landscapes

  • Engineering & Computer Science (AREA)
  • Multimedia (AREA)
  • Signal Processing (AREA)
  • Facsimiles In General (AREA)

Abstract

【課題】簡単な構造により、スキャナ本体の前面が小さくても原稿排出台の原稿排出方向長さを十分に確保する。
【解決手段】スキャナ装置10は、原稿挿入口14及び原稿排出口16が設けられているスキャナ本体12を備え、原稿挿入口14から原稿を取り込んで読み込みを行った後、原稿排出口16から排出する。スキャナ装置10は、スキャナ本体12の上面を覆う上面カバー20と、スキャナ本体12の前面を覆う前面カバー18とをさらに備える。前面カバー18の下端部側とスキャナ本体12の前方下部とが接続されると共に、前面カバー18の上端部側が上面カバー20の前端部側と旋回可能に接続されており、前面カバー18をスキャナ本体12の前面から開くことにより上面カバー20及び前面カバー18が原稿排出台28を形成するようになっている。
【選択図】図3

Description

本発明は、スキャナ本体に旋回可能に取り付けられたカバーが原稿排出トレーとして機能するようになっているスキャナ装置に関する。
スキャナ装置は、原稿挿入口と原稿排出口とを備え、原稿挿入口から挿入された原稿を読み込んだ後に原稿排出口から排出するようになっている。また、スキャナ装置は、複数枚の原稿を載置するための原稿台と、排出される原稿を受けための原稿排出台とをさらに備えており、原稿台に載置された複数の原稿の束の一番上の原稿を原稿挿入口に順次送り込んで読み込みを行い、読み取りが終わって原稿排出口から排出される原稿を原稿排出台上に溜めて置くことができるようになっている。
近年、オフィス等では、個人の机の上に置いて紙文書を電子化する用途に適した小型の卓上スキャナの需要が高まっている。このような卓上スキャナでは、非使用時の占有面積を小さくするために、特許文献1のように、原稿台をスキャナ本体上に折り畳むことができるようになっていることが望ましい。また、原稿排出台も、非使用時にはスキャナ本体内に収容して使用時に原稿排出台をスキャナ本体から前方に引き出せるようにしたり、スキャナ本体上に折り畳めるようになっていることが望ましい。
特開2004−343271号公報
スキャナ装置では、操作性を高めるために、操作ボタンがスキャナ本体の上面に設けられる一方、原稿排出口は、排出される原稿の取り扱い性を考慮してスキャナ装置の前面の下部に設けられることが多い。また、原稿排出台は、原稿排出口から排出される原稿を受けて蓄積するために、原稿排出方向に十分な長さが必要となる。したがって、十分な長さの原稿排出台をスキャナ本体に折り畳めるようにするためには、スキャナ本体の前面と上面とを滑らかな曲面で接続して一つの連続的な表面のように形成して、原稿排出台をスキャナ本体に折り畳んだときに原稿排出台がスキャナ本体の表面に概ね沿って延びることができるようにしたり、原稿排出口の上方に延びるスキャナ本体の前面を傾斜面にして実質的に上面をなくし操作ボタンをこの傾斜面上に設けるようにしたりしなければならず、デザイン面に制約を生じさせていた。また、原稿排出台を入れ子式にすることにより、原稿排出台に必要な長さを確保することもあるが、この場合、機構上故障が多くなりやすいという問題があった。
よって、本発明の目的は、上記従来技術に存する問題を解決して、簡単な構造により、スキャナ本体の前面が小さくても原稿排出台の原稿排出方向長さを十分に確保することを可能にすることにある。
上記目的を達成するために、本発明によれば、後方上部に原稿挿入口が設けられ且つ前面下部に原稿排出口が設けられているスキャナ本体を備え、前記原稿挿入口から原稿を取り込んで読み込みを行った後、前記原稿排出口から排出するスキャナ装置であって、前記スキャナ本体の上面を覆うように設けられた上面カバーと、前記スキャナ本体の前面を覆うように設けられた前面カバーとをさらに備え、前記前面カバーが前記スキャナ本体の前記前面に対して開閉可能になるように前記前面カバーの下端部側と前記スキャナ本体の前方下部とが接続されると共に、前記前面カバーの上端部側が前記上面カバーの前端部側と旋回可能に接続されており、前記前面カバーを前記スキャナ本体の前記前面から離れる方向に開くことにより前記上面カバー及び前記前面カバーが前記上面及び前記前面から離されて、前記原稿排出口から排出される原稿を受ける原稿排出台を形成するようになっているスキャナ装置が提供される。
上記スキャナ装置では、スキャナ本体の前面を覆う前面カバーとスキャナ本体の上面を覆う上面カバーとが互いに旋回可能に接続されており、前面カバーをスキャナ本体の前面から開くことにより、前面カバーと上面カバーの両方で原稿排出台を形成するので、前面カバーと上面カバーの長さを合わせて原稿排出台として必要な原稿排出方向長さを確保すればよく、前面カバーの高さを低くした場合でも原稿排出方向に十分な原稿排出台の長さを確保でき、デザインの自由度が向上する。また、原稿排出台に入れ子式の構造を採用していないので、構造が簡単であり、故障の発生を低減させることが可能である。
前記スキャナ装置が、前記スキャナ本体の後方上部に旋回可能に取り付けられており折り畳んだときに外装カバーとして機能する原稿台をさらに備えることが好ましい。
また、上記スキャナ装置では、前記前面カバーは、前記スキャナ本体の前記前面において前記排出口の上側部分のみを覆うようになっていると共に、前記スキャナ本体の前方下部と前記前面カバーの下端部とを結合するアーム部を有しており、前記上面カバー及び前記前面カバーが前記原稿排出台を形成するように前記スキャナ本体の前記前面から前記前面カバーを開いたときに前記前面カバーが前記原稿排出口から排出される原稿を受けることができる位置に移動するようになっていることが好ましい。このような構造であれば、スキャナ本体から前面カバーを開いて前面カバーと上面カバーとで原稿排出台を形成させたときに原稿排出口から排出された原稿を原稿台で受けることができるようになるだけでなく、前面カバーでスキャナ本体の前面を覆った状態でも、原稿排出口から原稿を排出することができ、原稿排出台を必要としない環境下においてコンパクトな状態でスキャナ装置を使用することが可能になる。
上記スキャナ装置では、前記前面カバーの下端部が前記スキャナ本体の前方下部に位置するカバー支点部を中心として旋回可能に前記スキャナ本体に接続されていることが好ましい。
上記スキャナ装置において、前記上面カバーが前記上面を覆うように配置されているときに上側に位置する前記上面カバーの面が前記スキャナ本体の前記上面と同じ外観を有していることが好ましい。
また、前記スキャナ本体の前記上面に操作ボタンが設けられており、前記上面カバーは、前記上面を覆うように配置されているときに前記上面の前記操作ボタンの上を覆う部分に操作ボタン窓部を有し、前記上面カバーが前記上面を覆うように配置されているときでも前記操作ボタンを操作できるようになっていることが好ましい。
本発明によれば、前面カバーと上面カバーの長さを合わせて原稿排出台として必要な長さを確保すればよい。したがって、例えば、スキャナ本体を側方から見たときに多角形状を有するような形状に形成したときに前面部分の高さが低くても原稿排出台の原稿排出方向長さを十分に確保でき、スキャナ装置のデザイン面の自由度を高めることが可能になる。
以下、図面を参照して、本発明のスキャナ装置の好ましい実施形態を説明する。
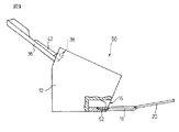
最初に、図1〜図7を参照して、本発明の第1の実施形態のスキャナ装置10を説明する。スキャナ装置10は、オフィスの机の上などで使用することを意図した卓上タイプのものであり、五角形状の側面を有した概略五角柱形状のスキャナ本体12を備えている。スキャナ本体12の後方上部には原稿挿入口14が設けられている一方、スキャナ本体12の前面下部には原稿排出口16が設けられており、原稿挿入口14から取り込まれた原稿が読み込まれた後、原稿排出口16から排出されるようになっている。
さらに、スキャナ装置10は、スキャナ本体12の前面を覆う前面カバー18と、スキャナ本体12の上面を覆う上面カバー20とを備えている。
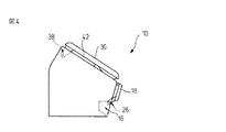
前面カバー18は、図1に示されているようにスキャナ本体12の前面のうち原稿排出口16よりも上方の部分のみを覆うように配置される一方、上面カバー20は、図3に示されているようにスキャナ本体12の上面の中央部に設けられた凹部22に収容されるように配置されており、スキャナ本体12の上面の凹部22の底面のほぼ全体を覆うようになっている。なお、前面カバー18は、磁石やラッチなどの一時保持機構(図示せず)を用いてスキャナ本体12の前面を覆った状態に一時的に保持できるようになっている。
前面カバー18の下端部の両側部からはアーム24が延びており、このアーム24がカバー支点部26を中心として旋回可能にスキャナ本体12の原稿排出口16の近傍に取り付けられている。カバー支点部26は、例えば、スキャナ本体12の原稿排出口16の近傍に設けられたカバー旋回軸と、前面カバー18のアーム24に設けられておりスキャナ本体12のカバー旋回軸が挿入されるカバー旋回軸孔との組み合わせから構成されることもでき、前面カバー18の両側部のアーム24から側方に突出するカバー旋回軸と、スキャナ本体12の原稿排出口16の近傍に設けられており前面カバー18のカバー旋回軸が挿入されるカバー旋回軸孔との組み合わせから構成することもできる。カバー支点部26は、前面カバー18の下端部とスキャナ本体12の前方下部とを旋回可能に接続するものであればよく、他の任意の構造により構成することも可能である。
前面カバー18のアーム24の長さは、スキャナ本体12の前面を覆う状態からカバー支点部26を中心としてスキャナ本体12から離れる方向に前面カバー18を旋回させて前面カバー18を開いたときに、図3及び図5に示されているように、スキャナ本体12の原稿排出口16から排出される原稿を前面カバー18の上に受けることができる位置まで前面カバー18が下がることができるように定められている。
さらに、前面カバー18と上面カバー20とは、互いに隣接する部分、すなわち前面カバー18の上端部側と上面カバー20の前端部側とにおいて互いと旋回可能に接続されており、カバー支点部26を中心として前面カバー18を旋回させることにより、前面カバー18及び上面カバー20をそれぞれスキャナ本体12の前面及び上面から引き離して、図1に示されているように原稿排出口16から排出される原稿を受けるための原稿排出台28を形成させるようになっている。
また、図3に示されるように、上面カバー20の内側の原稿挿入口14側にさらに補助カバー30を旋回可能に取り付け、原稿排出台28を形成するように前面カバー18及び上面カバー20をスキャナ本体12から開いたときに上面カバー20に対して補助カバー30をさらに旋回させて原稿排出台28を延長できるようにしてもよい。
スキャナ本体12の上面の凹部22の底面には、読み込みを開始させるためのスキャンボタンのようなスキャナ装置10を操作するための操作ボタン32が設けられている。また、上面カバー20には、スキャナ本体12の上面を覆うように上面カバー20を配置したときに操作ボタン32が設けられた部分を覆う位置に、操作ボタン窓34が設けられており、上面カバー20でスキャナ本体12の上面を覆った状態でも、操作ボタン窓34を通して操作ボタン32を操作できるようになっている。操作ボタン窓34を透明な可撓性フィルムで覆って、操作ボタン32を視認でき且つ操作ボタン32を操作できるようにしてもよい。
なお、図2と図3とを比較すると分かるように、原稿排出台16を閉じて上面カバー20をスキャナ本体12の上面の凹部22内に収容したときに上側を向く上面カバー20の表面と、スキャナ本体12の上面の凹部22の底面とは、同じデザインを有している。このように構成することにより、原稿排出台28を折り畳んだ状態でスキャナ装置10を使用するときと、原稿排出台28を開いた状態でスキャナ装置10を使用するときとで、同じ外観を持たせることができ、デザインの統一性を高めることが可能になる。
スキャナ本体12の後方上部に設けられた原稿挿入口14の近傍には、原稿挿入口14に挿入する原稿を載置するための原稿台36が原稿台支点部38を中心として旋回可能に取り付けられており、スキャナ本体12に向かって折り畳むように閉じたときに、原稿台36がスキャナ本体12の外装カバーとして機能するようになっている。原稿台支点部38は、例えば、スキャナ本体12の原稿挿入口14の近傍の両側部から側方内側に突出する原稿台旋回軸と、原稿台36の両側部に設けられておりスキャナ本体12の原稿台旋回軸が挿入される原稿台旋回軸孔との組み合わせから構成さることもでき、原稿台36の両側部から側方外側に向けて突出する原稿台旋回軸と、スキャナ本体12の原稿挿入口14の近傍の両側部に設けられており原稿台36の原稿台旋回軸が挿入される原稿台旋回軸孔との組み合わせから構成することもできる。原稿台支点部38は、スキャナ本体12と原稿台36とを旋回可能に接続するものであればよく、他の任意の構造により構成することも可能である。
さらに、原稿台支点部38の旋回動作に抵抗を与えて、原稿台36をゆっくりと旋回させるようにすることで、動作に高級感を与えるようにしてもよい。例えば、図6及び図7に示されているように、ロータリダンパ39を介して旋回可能にスキャナ本体12に取り付けられている歯車41に原稿台36に設けられた歯車43を係合させ、ロータリダンパ39で原稿台支点部38を中心とした原稿台36の旋回動作に抵抗を与えることにより、原稿台36をゆっくり旋回させるようにすればよい。
原稿台36の原稿台支点部38と反対側の端縁部には、原稿台延長プレート40が入れ子式に収納されており、原稿台36がスキャナ本体12から離れる方向に旋回されて開かれているときに原稿台36から原稿台延長プレート40を引き出すことにより原稿台36の原稿挿入方向長さを延長できるようになっている。
また、原稿台36上には、図2及び図3中の横方向に摺動可能な二つの原稿ガイド42が設けられており、原稿ガイド42を横方向(原稿台36の幅方向)に摺動させることにより原稿ガイド原稿の両側部に接触させるように配置して原稿の左右方向の移動を抑制し、原稿を原稿挿入口14に適切に誘導できるようになっている。詳細には、各原稿ガイド42は、図6において最もよく示されているように、原稿台36上に横方向に摺動可能に取り付けられた第1の原稿ガイド部42aと、スキャナ本体12の原稿挿入口14の近傍に横方向に摺動可能に取り付けられており少なくとも一部が原稿挿入口14内まで延びる第2の原稿ガイド部42bとを含んでおり、第1の原稿ガイド部42aと第1の原稿ガイド部42aが第2の原稿ガイド部42bに対してガイド支点部44を中心として旋回可能に接続され互いに横方向に連動できるようになっている。
このような構成をとることにより、原稿台36上の原稿を原稿挿入口14まで正確に誘導できるようにすると共に、原稿台36をスキャナ本体12に折り畳むときに原稿挿入口14付近の原稿ガイド部分がスキャナ本体12と干渉して原稿台36の旋回を妨げることがないようにしている。
なお、スキャナ本体12の上面に設けられた凹部22は、上面カバー20がスキャナ本体12の上面の凹部22内に収容して配置されているときでも、図2に示されているように、凹部22の少なくとも後側部分において、上面カバー20の上方に空間を確保できるように形成されている。これにより、上面カバー20をスキャナ本体12の上面の凹部22内に収容している状態で原稿台36をスキャナ本体12に折り畳んだときに、上面カバー20の上方に原稿台36の第1の原稿ガイド部42aを収納し、図1に示されているように原稿台36の両側部をスキャナ本体12の上面の両側部にできるだけ密着させることができるようにしている。
また、原稿台36がスキャナ本体12に折り畳まれて閉じられているときには、原稿挿入口14が外部に開放された状態となる。そこで、非使用時に原稿挿入口14に埃などの異物が侵入することを防止するために、スキャナ本体12の原稿挿入口14の近傍にスキャナ本体12に対して旋回可能な原稿挿入口カバー46を設け、原稿台36を閉じた状態のときに原稿挿入口14を閉鎖できるようにすることが好ましい。
次に、図1〜図7に示されているスキャナ装置10の動作について説明する。
非使用時には、原稿台36、原稿排出台28及び原稿挿入口カバー46は何れも折り畳まれて図1に示されているようにコンパクトな形態になっている。この状態から原稿挿入口カバー46を開き、さらにスキャナ本体12から離れる方向に原稿台36を旋回させて開くと、図2に示されているように、上面カバー20が露出した状態となる。必要であれば、原稿台36の原稿台支点部38と反対側の端縁(上端縁)から原稿台延長プレート40を引き出して原稿台36を延長して、より長い原稿を原稿台36に置くことができるようにしてもよい。
原稿排出口16は前面カバー18によって覆われていないので、この状態でも、上面カバー20の操作ボタン窓34を通して操作ボタン32のスキャンボタンを押せば、読み込み動作を開始し、原稿台36に載置した原稿を原稿挿入口14からスキャナ本体12内に取り込み、読み込み済みの原稿を原稿排出口16から排出することができる。なお、この状態では、原稿排出台28がないので、原稿排出口16の外に原稿が排出されるスペースを確保しておくことが必要である。
図2に示されている状態から、スキャナ本体12の前面から離れる方向に前面カバー18を開くと、上面カバー20も前面カバー18と共にスキャナ本体12から離されて、図3に示されているように原稿排出台28を形成する。前面カバー18はアーム24を介してスキャナ本体12の前方下部に接続されているので、カバー支点部26を中心として前面カバー18を旋回させると、図1に示されているように、前面カバー18が原稿排出口16から排出される原稿を受けることができる位置まで下方へ移動し、原稿排出口16から排出された原稿を原稿排出台28上で受け取ることができるようになる。必要に応じて、上面カバー20の内側に収納されている補助カバー30を上面カバー20に対して旋回させて開くことにより、原稿排出台28を延長させて、より長い原稿を受け取ることができるようにしもよい。
なお、スキャナ本体12に上面カバー20が取り付けられているときの上面カバー20の上側表面とスキャナ本体12の上面の凹部22の底面とが同じデザインを有するようになっているので、原稿排出台28を形成するためにスキャナ本体12の上面から上面カバー20を取り外しても上面カバー20がスキャナ本体12の上面を覆っているときと外観が変化せず、デザインの統一感が得られるようになっている。
次に、図8及び図9を参照して、本発明の第2の実施形態のスキャナ装置50を説明する。図8及び図9において、第1の実施形態と共通する部分には同じ参照番号を付している。
第2の実施形態のスキャナ装置50は、スキャナ本体12の前方下部と前面カバー18の下端部とを接続する接続機構において第1の実施形態のスキャナ装置10と異なっている。第1の実施形態のスキャナ装置10では、前面カバー18が前面カバー18の下端部から延びるアーム24を介してカバー支点部26を中心として旋回可能にスキャナ本体12の前方下部に取り付けられているのに対して、第2の実施形態のスキャナ装置50では、図8及び図9に示されているように、前面カバー18の下端部から延びる円弧状のアーム52をスキャナ本体12の原稿排出口16の下方に設けられた円弧状に延びるアーム収容孔54内に摺動可能に収容することにより前面カバー18とスキャナ本体12とを接続し、アーム収容孔54内で前面カバー18のアーム52を前後に摺動させることにより、スキャナ本体12の前面に対して前面カバー18を開閉できるようにしている。第2の実施形態のスキャナ装置50のその他の構造は第1の実施形態のスキャナ装置10と同じであるので、ここでは詳しく説明しない。このような構造の第2の実施形態のスキャナ装置50でも第1の実施形態と同じ作用効果を得ることができる。
以上、図示された実施形態に基づいて本発明のスキャナ装置10,50を説明したが、本発明のスキャナ装置10,50は図示された実施形態に限定されるものではない。例えば、図示される実施形態では、スキャナ装置10,50のスキャナ本体12は、側面から見たときに五角柱形状となっているが、スキャナ本体12は、任意の形状とすることができ、五角柱形状以外の多角柱形状、例えば三角柱形状や直方体形状としてもよい。また、前面カバー18がスキャナ本体12の原稿排出口16よりも上方の部分のみを覆うようになっているが、前面カバー18が原稿排出口16を含めたスキャナ本体12の前面全体を覆うようになっていてもよい。
原稿台及び原稿排出台を閉じた状態の本発明の第1の実施形態によるスキャナ装置の斜視図である。 原稿台を開き且つ原稿排出台を閉じた状態の図1のスキャナ装置の斜視図である。 原稿台及び原稿排出台を開いた状態の図1のスキャナ装置の斜視図である。 図1に示される状態のスキャナ装置の側面図である。 図3に示される状態のスキャナ装置の側面図である。 図3に示される状態のスキャナ装置の原稿台支点部付近の拡大図である。 図6の原稿台支点部の詳細な構造を示す断面図である。 原稿台及び原稿排出台が閉じた状態の本発明の第2の実施形態によるスキャナ装置の部分断面側面図である。 原稿台及び原稿排出台が開いた状態の図8のスキャナ装置の部分断面側面図である。
符号の説明
10 スキャナ装置
12 スキャナ本体
14 原稿挿入口
16 原稿排出口
18 前面カバー
20 上面カバー
24 アーム
26 カバー支点部
28 原稿排出台
36 原稿台
38 原稿台支点部
50 スキャン装置
52 アーム

Claims (6)

  1. 後方上部に原稿挿入口が設けられ且つ前面下部に原稿排出口が設けられているスキャナ本体を備え、前記原稿挿入口から原稿を取り込んで読み込みを行った後、前記原稿排出口から排出するスキャナ装置であって、
    前記スキャナ本体の上面を覆うように設けられた上面カバーと、前記スキャナ本体の前面を覆うように設けられた前面カバーとをさらに備え、前記前面カバーが前記スキャナ本体の前記前面に対して開閉可能になるように前記前面カバーの下端部側と前記スキャナ本体の前方下部とが接続されると共に、前記前面カバーの上端部側が前記上面カバーの前端部側と旋回可能に接続されており、前記前面カバーを前記スキャナ本体の前記前面から離れる方向に開くことにより前記上面カバー及び前記前面カバーが前記上面及び前記前面から離されて、前記原稿排出口から排出される原稿を受ける原稿排出台を形成するようになっていることを特徴とするスキャナ装置。
  2. 前記スキャナ装置が、前記スキャナ本体の後方上部に旋回可能に取り付けられており折り畳んだときに外装カバーとして機能する原稿台をさらに備える、請求項1に記載のスキャナ装置。
  3. 前記前面カバーは、前記スキャナ本体の前記前面において前記排出口の上側部分のみを覆うようになっていると共に、前記スキャナ本体の前方下部と前記前面カバーの下端部とを結合するアーム部を有しており、前記上面カバー及び前記前面カバーが前記原稿排出台を形成するように前記スキャナ本体の前記前面から前記前面カバーを開いたときに前記前面カバーが前記原稿排出口から排出される原稿を受けることができる位置に移動するようになっている、請求項1又は請求項2に記載のスキャナ装置。
  4. 前記前面カバーの下端部側が前記スキャナ本体の前方下部に位置するカバー支点部を中心として旋回可能に前記スキャナ本体に接続されている、請求項1から請求項3の何れか一項に記載のスキャナ装置。
  5. 前記上面カバーが前記上面を覆うように配置されているときに上側に位置する前記上面カバーの面が前記スキャナ本体の前記上面と同じ外観を有している、請求項1から請求項4の何れか一項に記載のスキャナ装置。
  6. 前記スキャナ本体の前記上面に操作ボタンが設けられており、前記上面カバーは、前記上面を覆うように配置されているときに前記上面の前記操作ボタンの上を覆う部分に操作ボタン窓部を有し、前記上面カバーが前記上面を覆うように配置されているときでも前記操作ボタンを操作できるようになっている、請求項1から請求項5の何れか一項に記載のスキャナ装置。
JP2008226101A 2008-09-03 2008-09-03 スキャナ装置 Active JP5241386B2 (ja)

Priority Applications (3)

Application Number Priority Date Filing Date Title
JP2008226101A JP5241386B2 (ja) 2008-09-03 2008-09-03 スキャナ装置
US12/536,550 US8169669B2 (en) 2008-09-03 2009-08-06 Scanner device
CN2009101710327A CN101668101B (zh) 2008-09-03 2009-08-28 扫描设备

Applications Claiming Priority (1)

Application Number Priority Date Filing Date Title
JP2008226101A JP5241386B2 (ja) 2008-09-03 2008-09-03 スキャナ装置

Publications (2)

Publication Number Publication Date
JP2010062839A true JP2010062839A (ja) 2010-03-18
JP5241386B2 JP5241386B2 (ja) 2013-07-17

Family

ID=41725041

Family Applications (1)

Application Number Title Priority Date Filing Date
JP2008226101A Active JP5241386B2 (ja) 2008-09-03 2008-09-03 スキャナ装置

Country Status (3)

Country Link
US (1) US8169669B2 (ja)
JP (1) JP5241386B2 (ja)
CN (1) CN101668101B (ja)

Cited By (13)

* Cited by examiner, † Cited by third party
Publication number Priority date Publication date Assignee Title
JP2013056723A (ja) * 2011-09-07 2013-03-28 Brother Industries Ltd シート積載装置
US8699101B2 (en) 2011-09-07 2014-04-15 Brother Kogyo Kabushiki Kaisha Image readers
US8746681B2 (en) 2011-09-07 2014-06-10 Brother Kogyo Kabushiki Kaisha Sheet feeders
JP2014129160A (ja) * 2012-12-28 2014-07-10 Brother Ind Ltd 画像読取装置
JP2016113301A (ja) * 2016-02-09 2016-06-23 キヤノン電子株式会社 シート搬送装置
WO2017086478A1 (ja) * 2015-11-20 2017-05-26 キヤノン電子株式会社 シート搬送装置
JP2017095230A (ja) * 2015-11-20 2017-06-01 キヤノン電子株式会社 シート搬送装置
JP2017098713A (ja) * 2015-11-20 2017-06-01 キヤノン電子株式会社 カバーおよびカバーを備えたシート搬送装置
JP2017095227A (ja) * 2015-11-20 2017-06-01 キヤノン電子株式会社 シート搬送装置、情報読取装置
JP2018002370A (ja) * 2016-06-30 2018-01-11 セイコーエプソン株式会社 媒体排出装置、画像読取装置
JP2021059456A (ja) * 2016-06-30 2021-04-15 セイコーエプソン株式会社 画像読取装置
JP2022189072A (ja) * 2021-06-10 2022-12-22 株式会社Pfu 媒体搬送装置
US11632481B2 (en) 2019-01-31 2023-04-18 Seiko Epson Corporation Medium discharging apparatus including a discharge tray containing multiple trays arranged in multiple postures forming different angles and image reading apparatus

Families Citing this family (41)

* Cited by examiner, † Cited by third party
Publication number Priority date Publication date Assignee Title
JP5235568B2 (ja) * 2008-09-11 2013-07-10 株式会社Pfu 外装カバー付きスキャナ装置
JP5467924B2 (ja) * 2010-05-07 2014-04-09 株式会社Pfu 画像読取装置
JP1438725S (ja) * 2011-09-07 2015-04-06
JP1437655S (ja) * 2011-09-07 2015-03-30
USD690754S1 (en) * 2012-03-13 2013-10-01 Yokogawa Electric Corporation Scanner for confocal microscope
USD690341S1 (en) * 2012-03-13 2013-09-24 Yokogawa Electric Corporation Scanner for confocal microscope
USD716305S1 (en) * 2012-04-27 2014-10-28 Panasonic Corporation Scanner
USD700908S1 (en) * 2012-09-27 2014-03-11 Pfu Limited Scanner
USD713845S1 (en) * 2012-09-27 2014-09-23 Pfu Limited Scanner
JP5935635B2 (ja) * 2012-09-28 2016-06-15 ブラザー工業株式会社 画像読取装置および搬送装置
USD692891S1 (en) * 2012-12-12 2013-11-05 Pfu Limited Scanner
JP5915579B2 (ja) * 2013-03-29 2016-05-11 ブラザー工業株式会社 画像読取装置及び媒体搬送装置
JP1511876S (ja) * 2014-03-14 2015-11-09
JP6135579B2 (ja) * 2014-03-28 2017-05-31 ブラザー工業株式会社 給紙装置
JP1523547S (ja) * 2014-07-30 2015-05-18
JP1524980S (ja) * 2014-09-30 2015-06-01
JP1530514S (ja) * 2015-01-27 2016-08-01
JP1536672S (ja) * 2015-03-20 2015-11-02
JP1549837S (ja) * 2015-11-02 2016-05-23
JP6084273B1 (ja) * 2015-11-18 2017-02-22 株式会社Pfu 原稿撮像装置
USD780181S1 (en) * 2015-12-03 2017-02-28 Avision Inc. Scanner
USD794640S1 (en) * 2016-09-08 2017-08-15 Canon Denshi Kabushiki Kaisha Scanner
JP6838697B2 (ja) * 2016-09-30 2021-03-03 セイコーエプソン株式会社 記録装置
USD797744S1 (en) * 2016-09-30 2017-09-19 Hewlett-Packard Development Company, L.P. Imaging device
JP6792197B2 (ja) * 2016-12-19 2020-11-25 セイコーエプソン株式会社 画像読取装置
JP1591417S (ja) * 2017-04-21 2017-11-20
JP1593606S (ja) * 2017-07-31 2018-11-19
JP1597537S (ja) * 2017-09-19 2018-02-13
JP6946938B2 (ja) 2017-10-31 2021-10-13 セイコーエプソン株式会社 画像読取装置
JP1607437S (ja) * 2017-12-26 2018-12-17
JP1640742S (ja) * 2019-02-27 2020-03-02
USD881887S1 (en) * 2019-03-19 2020-04-21 Avision Inc. Scanner
TWD200035S (zh) * 2019-03-19 2019-10-01 虹光精密工業股份有限公司 掃描器
JP1647873S (ja) * 2019-06-19 2019-12-16 スキャナー
JP7272183B2 (ja) * 2019-08-29 2023-05-12 セイコーエプソン株式会社 画像読取装置、開閉装置
JP1685733S (ja) * 2020-07-07 2021-05-24 スキャナー
JP1685734S (ja) * 2020-07-07 2021-05-24 スキャナー
JP1686554S (ja) * 2020-11-13 2021-05-31
JP1686553S (ja) * 2020-11-13 2021-05-31
JP1699931S (ja) * 2021-06-07 2021-11-15
CN115580683A (zh) * 2022-10-09 2023-01-06 上海汉图科技有限公司 扫描仪和包括其的打印机

Citations (15)

* Cited by examiner, † Cited by third party
Publication number Priority date Publication date Assignee Title
JPH0240755U (ja) * 1988-09-12 1990-03-20
JPH0550860U (ja) * 1991-12-05 1993-07-02 村田機械株式会社 ファクシミリ装置
JPH06326801A (ja) * 1994-04-25 1994-11-25 Matsushita Graphic Commun Syst Inc 情報通信装置
JPH08297452A (ja) * 1995-04-26 1996-11-12 Canon Inc 画像形成装置
JPH0971343A (ja) * 1995-09-04 1997-03-18 Fuji Xerox Co Ltd 画情報処理装置
JPH10120228A (ja) * 1996-10-21 1998-05-12 Brother Ind Ltd プリンタの紙送り関連部材用アース構造
JP2000083128A (ja) * 1999-10-01 2000-03-21 Matsushita Graphic Communication Systems Inc ファクシミリ装置
JP2000355145A (ja) * 1999-06-14 2000-12-26 Nec Corp プリンタの防塵構造
JP2001069280A (ja) * 1999-08-25 2001-03-16 Canon Inc 画像読取装置及び複合装置
JP2001069281A (ja) * 1999-08-25 2001-03-16 Canon Inc 画像読取装置及び複合装置
JP2002344690A (ja) * 2001-05-14 2002-11-29 Canon Inc シート搬送装置及びファクシミリ装置
JP2003207968A (ja) * 2002-01-16 2003-07-25 Sony Corp 画像形成装置
JP2004343271A (ja) * 2003-05-14 2004-12-02 Pfu Ltd スキャナ装置
JP2004345247A (ja) * 2003-05-22 2004-12-09 Matsushita Electric Ind Co Ltd インクジェット式記録装置
JP2007318523A (ja) * 2006-05-26 2007-12-06 Sanyo Electric Co Ltd ファクシミリ装置

Family Cites Families (16)

* Cited by examiner, † Cited by third party
Publication number Priority date Publication date Assignee Title
US5382998A (en) * 1992-04-08 1995-01-17 Konica Corporation Image forming apparatus of a clamshell type
JPH09222841A (ja) * 1996-02-15 1997-08-26 Brother Ind Ltd 画像形成装置における冷却装置
US6961152B1 (en) * 1998-01-08 2005-11-01 Brother Kogyo Kabushiki Kaisha Multi-functional device having vertically arranged scanner and printer sections
JP3428444B2 (ja) * 1998-06-30 2003-07-22 株式会社Pfu 複合端末装置
JP2005053592A (ja) * 2003-08-01 2005-03-03 Canon Inc 記録装置
JP4292991B2 (ja) * 2003-12-26 2009-07-08 ブラザー工業株式会社 画像形成装置
US7379687B2 (en) * 2004-11-12 2008-05-27 Canon Kabushiki Kaisha Image forming apparatus with first and second opening and closing units
US7627967B1 (en) * 2006-09-15 2009-12-08 Brian Peter Torvik Greeting card and display box
USD610154S1 (en) * 2008-09-05 2010-02-16 Pfu Limited Portion of a scanner
USD609711S1 (en) * 2008-09-05 2010-02-09 Pfu Limited Portion of a scanner
USD610152S1 (en) * 2008-09-05 2010-02-16 Pfu Limited Portion of a scanner
USD610148S1 (en) * 2008-09-05 2010-02-16 Pfu Limited Scanner
USD610155S1 (en) * 2008-09-05 2010-02-16 Pfu Limited Portion of a scanner
USD610147S1 (en) * 2008-09-05 2010-02-16 Pfu Limited Scanner
USD616889S1 (en) * 2008-09-05 2010-06-01 Pfu Limited Scanner
JP5235568B2 (ja) * 2008-09-11 2013-07-10 株式会社Pfu 外装カバー付きスキャナ装置

Patent Citations (15)

* Cited by examiner, † Cited by third party
Publication number Priority date Publication date Assignee Title
JPH0240755U (ja) * 1988-09-12 1990-03-20
JPH0550860U (ja) * 1991-12-05 1993-07-02 村田機械株式会社 ファクシミリ装置
JPH06326801A (ja) * 1994-04-25 1994-11-25 Matsushita Graphic Commun Syst Inc 情報通信装置
JPH08297452A (ja) * 1995-04-26 1996-11-12 Canon Inc 画像形成装置
JPH0971343A (ja) * 1995-09-04 1997-03-18 Fuji Xerox Co Ltd 画情報処理装置
JPH10120228A (ja) * 1996-10-21 1998-05-12 Brother Ind Ltd プリンタの紙送り関連部材用アース構造
JP2000355145A (ja) * 1999-06-14 2000-12-26 Nec Corp プリンタの防塵構造
JP2001069281A (ja) * 1999-08-25 2001-03-16 Canon Inc 画像読取装置及び複合装置
JP2001069280A (ja) * 1999-08-25 2001-03-16 Canon Inc 画像読取装置及び複合装置
JP2000083128A (ja) * 1999-10-01 2000-03-21 Matsushita Graphic Communication Systems Inc ファクシミリ装置
JP2002344690A (ja) * 2001-05-14 2002-11-29 Canon Inc シート搬送装置及びファクシミリ装置
JP2003207968A (ja) * 2002-01-16 2003-07-25 Sony Corp 画像形成装置
JP2004343271A (ja) * 2003-05-14 2004-12-02 Pfu Ltd スキャナ装置
JP2004345247A (ja) * 2003-05-22 2004-12-09 Matsushita Electric Ind Co Ltd インクジェット式記録装置
JP2007318523A (ja) * 2006-05-26 2007-12-06 Sanyo Electric Co Ltd ファクシミリ装置

Cited By (19)

* Cited by examiner, † Cited by third party
Publication number Priority date Publication date Assignee Title
JP2013056723A (ja) * 2011-09-07 2013-03-28 Brother Industries Ltd シート積載装置
US8602410B2 (en) 2011-09-07 2013-12-10 Brother Kogyo Kabushiki Kaisha Sheet stackable devices
US8699101B2 (en) 2011-09-07 2014-04-15 Brother Kogyo Kabushiki Kaisha Image readers
US8746681B2 (en) 2011-09-07 2014-06-10 Brother Kogyo Kabushiki Kaisha Sheet feeders
US9010749B2 (en) 2011-09-07 2015-04-21 Brother Kogyo Kabushiki Kaisha Sheet feeders
JP2014129160A (ja) * 2012-12-28 2014-07-10 Brother Ind Ltd 画像読取装置
JP2017095230A (ja) * 2015-11-20 2017-06-01 キヤノン電子株式会社 シート搬送装置
WO2017086478A1 (ja) * 2015-11-20 2017-05-26 キヤノン電子株式会社 シート搬送装置
JP2017098713A (ja) * 2015-11-20 2017-06-01 キヤノン電子株式会社 カバーおよびカバーを備えたシート搬送装置
JP2017095227A (ja) * 2015-11-20 2017-06-01 キヤノン電子株式会社 シート搬送装置、情報読取装置
US10301139B2 (en) 2015-11-20 2019-05-28 Canon Denshi Kabushiki Kaisha Sheet conveyance apparatus
US10815091B2 (en) 2015-11-20 2020-10-27 Canon Denshi Kabushiki Kaisha Sheet conveyance apparatus
JP2016113301A (ja) * 2016-02-09 2016-06-23 キヤノン電子株式会社 シート搬送装置
JP2018002370A (ja) * 2016-06-30 2018-01-11 セイコーエプソン株式会社 媒体排出装置、画像読取装置
US10165140B2 (en) 2016-06-30 2018-12-25 Seiko Epson Corporation Medium discharging device and image reading apparatus
US10498914B2 (en) 2016-06-30 2019-12-03 Seiko Epson Corporation Medium discharging device and image reading apparatus
JP2021059456A (ja) * 2016-06-30 2021-04-15 セイコーエプソン株式会社 画像読取装置
US11632481B2 (en) 2019-01-31 2023-04-18 Seiko Epson Corporation Medium discharging apparatus including a discharge tray containing multiple trays arranged in multiple postures forming different angles and image reading apparatus
JP2022189072A (ja) * 2021-06-10 2022-12-22 株式会社Pfu 媒体搬送装置

Also Published As

Publication number Publication date
CN101668101A (zh) 2010-03-10
JP5241386B2 (ja) 2013-07-17
US20100053701A1 (en) 2010-03-04
CN101668101B (zh) 2011-12-14
US8169669B2 (en) 2012-05-01

Similar Documents

Publication Publication Date Title
JP5241386B2 (ja) スキャナ装置
JP5235568B2 (ja) 外装カバー付きスキャナ装置
CN110875995B (zh) 介质输送装置及图像读取单元
US7281298B2 (en) Upright vacuum cleaner with foldable handle
US8272637B2 (en) Sheet tray unit with three tray portions and tray stopper, and image recording device comprising said sheet tray unit
JP4582356B2 (ja) 給紙カセット装置及び画像記録装置
US6714326B1 (en) Image reading apparatus and image processing apparatus
JP4716058B2 (ja) 給紙カセット装置及び画像記録装置
US20060274495A1 (en) Supporting device having cable extending between two housings
JP5987509B2 (ja) 記録装置
JP6940808B2 (ja) 画像読取装置
JP4495195B2 (ja) スキャナ装置
CN101048298B (zh) 用于电子器件的显示板驱动机构
JP4858498B2 (ja) シート保持装置及び画像記録装置
JP4012116B2 (ja) スキャナ装置
CN112445095B (zh) 图像形成设备
JP2001150857A (ja) インデックス装置
JP4403761B2 (ja) 画像形成装置
CN112644188A (zh) 具有盖体的影像形成装置及其托盘结构
JPH0863260A (ja) 携帯用情報処理装置
JP2007098752A (ja) 画像形成装置の操作部及び操作部を備えた画像形成装置
JP4656321B2 (ja) 画像読取り装置における原稿カバーの開閉装置および画像読取り装置
JP3155344B2 (ja) 記録装置
JP2008152160A (ja) 鍵盤蓋の開閉装置
JP2011020828A (ja) 記録装置

Legal Events

Date Code Title Description
A621 Written request for application examination

Free format text: JAPANESE INTERMEDIATE CODE: A621

Effective date: 20110302

A977 Report on retrieval

Free format text: JAPANESE INTERMEDIATE CODE: A971007

Effective date: 20120706

A131 Notification of reasons for refusal

Free format text: JAPANESE INTERMEDIATE CODE: A131

Effective date: 20120731

A521 Request for written amendment filed

Free format text: JAPANESE INTERMEDIATE CODE: A523

Effective date: 20120919

TRDD Decision of grant or rejection written
A01 Written decision to grant a patent or to grant a registration (utility model)

Free format text: JAPANESE INTERMEDIATE CODE: A01

Effective date: 20130305

A61 First payment of annual fees (during grant procedure)

Free format text: JAPANESE INTERMEDIATE CODE: A61

Effective date: 20130402

FPAY Renewal fee payment (event date is renewal date of database)

Free format text: PAYMENT UNTIL: 20160412

Year of fee payment: 3

R150 Certificate of patent or registration of utility model

Free format text: JAPANESE INTERMEDIATE CODE: R150

Ref document number: 5241386

Country of ref document: JP

Free format text: JAPANESE INTERMEDIATE CODE: R150