JP2010052964A - 誘電体セラミックおよびその製造方法ならびに積層セラミックコンデンサ - Google Patents
誘電体セラミックおよびその製造方法ならびに積層セラミックコンデンサ Download PDFInfo
- Publication number
- JP2010052964A JP2010052964A JP2008217585A JP2008217585A JP2010052964A JP 2010052964 A JP2010052964 A JP 2010052964A JP 2008217585 A JP2008217585 A JP 2008217585A JP 2008217585 A JP2008217585 A JP 2008217585A JP 2010052964 A JP2010052964 A JP 2010052964A
- Authority
- JP
- Japan
- Prior art keywords
- ceramic
- dielectric ceramic
- dielectric
- batio
- capacitor
- Prior art date
- Legal status (The legal status is an assumption and is not a legal conclusion. Google has not performed a legal analysis and makes no representation as to the accuracy of the status listed.)
- Granted
Links
- 239000000919 ceramic Substances 0.000 title claims abstract description 135
- 239000003985 ceramic capacitor Substances 0.000 title claims abstract description 34
- 238000004519 manufacturing process Methods 0.000 title claims description 12
- 239000000843 powder Substances 0.000 claims description 34
- 239000003990 capacitor Substances 0.000 claims description 21
- 239000000203 mixture Substances 0.000 claims description 21
- 239000002245 particle Substances 0.000 claims description 15
- 239000002994 raw material Substances 0.000 claims description 15
- 238000010304 firing Methods 0.000 claims description 11
- 150000001875 compounds Chemical class 0.000 claims description 5
- 238000002156 mixing Methods 0.000 claims description 5
- 229910052684 Cerium Inorganic materials 0.000 claims description 4
- 229910052692 Dysprosium Inorganic materials 0.000 claims description 4
- 229910052691 Erbium Inorganic materials 0.000 claims description 4
- 229910052693 Europium Inorganic materials 0.000 claims description 4
- 229910052688 Gadolinium Inorganic materials 0.000 claims description 4
- 229910052689 Holmium Inorganic materials 0.000 claims description 4
- 229910052765 Lutetium Inorganic materials 0.000 claims description 4
- 229910052779 Neodymium Inorganic materials 0.000 claims description 4
- 229910052777 Praseodymium Inorganic materials 0.000 claims description 4
- 229910052772 Samarium Inorganic materials 0.000 claims description 4
- 229910052771 Terbium Inorganic materials 0.000 claims description 4
- 229910052775 Thulium Inorganic materials 0.000 claims description 4
- 229910052769 Ytterbium Inorganic materials 0.000 claims description 4
- 229910052746 lanthanum Inorganic materials 0.000 claims description 4
- 229910052727 yttrium Inorganic materials 0.000 claims description 4
- 229910052748 manganese Inorganic materials 0.000 claims description 3
- 229910052720 vanadium Inorganic materials 0.000 claims description 3
- 238000000465 moulding Methods 0.000 claims description 2
- 239000011575 calcium Substances 0.000 description 11
- 238000009826 distribution Methods 0.000 description 8
- 238000011156 evaluation Methods 0.000 description 7
- 229910052744 lithium Inorganic materials 0.000 description 4
- 238000000034 method Methods 0.000 description 4
- 239000002002 slurry Substances 0.000 description 4
- 239000007858 starting material Substances 0.000 description 4
- XLYOFNOQVPJJNP-UHFFFAOYSA-N water Substances O XLYOFNOQVPJJNP-UHFFFAOYSA-N 0.000 description 4
- WHXSMMKQMYFTQS-UHFFFAOYSA-N Lithium Chemical compound [Li] WHXSMMKQMYFTQS-UHFFFAOYSA-N 0.000 description 3
- 229910004298 SiO 2 Inorganic materials 0.000 description 3
- 239000012298 atmosphere Substances 0.000 description 3
- 239000011230 binding agent Substances 0.000 description 3
- 239000003989 dielectric material Substances 0.000 description 3
- 238000002474 experimental method Methods 0.000 description 3
- 238000009413 insulation Methods 0.000 description 3
- 239000011572 manganese Substances 0.000 description 3
- 238000002360 preparation method Methods 0.000 description 3
- 238000005245 sintering Methods 0.000 description 3
- LFQSCWFLJHTTHZ-UHFFFAOYSA-N Ethanol Chemical compound CCO LFQSCWFLJHTTHZ-UHFFFAOYSA-N 0.000 description 2
- 229910010413 TiO 2 Inorganic materials 0.000 description 2
- JRPBQTZRNDNNOP-UHFFFAOYSA-N barium titanate Chemical compound [Ba+2].[Ba+2].[O-][Ti]([O-])([O-])[O-] JRPBQTZRNDNNOP-UHFFFAOYSA-N 0.000 description 2
- 229910002113 barium titanate Inorganic materials 0.000 description 2
- 238000001035 drying Methods 0.000 description 2
- 238000001704 evaporation Methods 0.000 description 2
- 230000008020 evaporation Effects 0.000 description 2
- 238000000445 field-emission scanning electron microscopy Methods 0.000 description 2
- AMWRITDGCCNYAT-UHFFFAOYSA-L hydroxy(oxo)manganese;manganese Chemical compound [Mn].O[Mn]=O.O[Mn]=O AMWRITDGCCNYAT-UHFFFAOYSA-L 0.000 description 2
- CPLXHLVBOLITMK-UHFFFAOYSA-N magnesium oxide Inorganic materials [Mg]=O CPLXHLVBOLITMK-UHFFFAOYSA-N 0.000 description 2
- 239000000395 magnesium oxide Substances 0.000 description 2
- 239000012299 nitrogen atmosphere Substances 0.000 description 2
- OYPRJOBELJOOCE-UHFFFAOYSA-N Calcium Chemical compound [Ca] OYPRJOBELJOOCE-UHFFFAOYSA-N 0.000 description 1
- BVKZGUZCCUSVTD-UHFFFAOYSA-L Carbonate Chemical compound [O-]C([O-])=O BVKZGUZCCUSVTD-UHFFFAOYSA-L 0.000 description 1
- 101100513612 Microdochium nivale MnCO gene Proteins 0.000 description 1
- XHCLAFWTIXFWPH-UHFFFAOYSA-N [O-2].[O-2].[O-2].[O-2].[O-2].[V+5].[V+5] Chemical compound [O-2].[O-2].[O-2].[O-2].[O-2].[V+5].[V+5] XHCLAFWTIXFWPH-UHFFFAOYSA-N 0.000 description 1
- QVGXLLKOCUKJST-UHFFFAOYSA-N atomic oxygen Chemical compound [O] QVGXLLKOCUKJST-UHFFFAOYSA-N 0.000 description 1
- 229910052916 barium silicate Inorganic materials 0.000 description 1
- HMOQPOVBDRFNIU-UHFFFAOYSA-N barium(2+);dioxido(oxo)silane Chemical compound [Ba+2].[O-][Si]([O-])=O HMOQPOVBDRFNIU-UHFFFAOYSA-N 0.000 description 1
- 239000010953 base metal Substances 0.000 description 1
- 229910052791 calcium Inorganic materials 0.000 description 1
- 229910010293 ceramic material Inorganic materials 0.000 description 1
- 238000012512 characterization method Methods 0.000 description 1
- 239000011362 coarse particle Substances 0.000 description 1
- 239000004020 conductor Substances 0.000 description 1
- 230000000694 effects Effects 0.000 description 1
- 230000005684 electric field Effects 0.000 description 1
- 238000009472 formulation Methods 0.000 description 1
- 239000007789 gas Substances 0.000 description 1
- 239000011521 glass Substances 0.000 description 1
- 239000003112 inhibitor Substances 0.000 description 1
- 238000010030 laminating Methods 0.000 description 1
- AXZKOIWUVFPNLO-UHFFFAOYSA-N magnesium;oxygen(2-) Chemical compound [O-2].[Mg+2] AXZKOIWUVFPNLO-UHFFFAOYSA-N 0.000 description 1
- 239000000463 material Substances 0.000 description 1
- 239000003960 organic solvent Substances 0.000 description 1
- SIWVEOZUMHYXCS-UHFFFAOYSA-N oxo(oxoyttriooxy)yttrium Chemical compound O=[Y]O[Y]=O SIWVEOZUMHYXCS-UHFFFAOYSA-N 0.000 description 1
- 239000001301 oxygen Substances 0.000 description 1
- 229910052760 oxygen Inorganic materials 0.000 description 1
- 229920002037 poly(vinyl butyral) polymer Polymers 0.000 description 1
- 230000002195 synergetic effect Effects 0.000 description 1
- 229910001935 vanadium oxide Inorganic materials 0.000 description 1
Images
Classifications
-
- H—ELECTRICITY
- H01—ELECTRIC ELEMENTS
- H01G—CAPACITORS; CAPACITORS, RECTIFIERS, DETECTORS, SWITCHING DEVICES, LIGHT-SENSITIVE OR TEMPERATURE-SENSITIVE DEVICES OF THE ELECTROLYTIC TYPE
- H01G4/00—Fixed capacitors; Processes of their manufacture
- H01G4/33—Thin- or thick-film capacitors (thin- or thick-film circuits; capacitors without a potential-jump or surface barrier specially adapted for integrated circuits, details thereof, multistep manufacturing processes therefor)
-
- C—CHEMISTRY; METALLURGY
- C04—CEMENTS; CONCRETE; ARTIFICIAL STONE; CERAMICS; REFRACTORIES
- C04B—LIME, MAGNESIA; SLAG; CEMENTS; COMPOSITIONS THEREOF, e.g. MORTARS, CONCRETE OR LIKE BUILDING MATERIALS; ARTIFICIAL STONE; CERAMICS; REFRACTORIES; TREATMENT OF NATURAL STONE
- C04B35/00—Shaped ceramic products characterised by their composition; Ceramics compositions; Processing powders of inorganic compounds preparatory to the manufacturing of ceramic products
- C04B35/01—Shaped ceramic products characterised by their composition; Ceramics compositions; Processing powders of inorganic compounds preparatory to the manufacturing of ceramic products based on oxide ceramics
- C04B35/46—Shaped ceramic products characterised by their composition; Ceramics compositions; Processing powders of inorganic compounds preparatory to the manufacturing of ceramic products based on oxide ceramics based on titanium oxides or titanates
- C04B35/462—Shaped ceramic products characterised by their composition; Ceramics compositions; Processing powders of inorganic compounds preparatory to the manufacturing of ceramic products based on oxide ceramics based on titanium oxides or titanates based on titanates
- C04B35/465—Shaped ceramic products characterised by their composition; Ceramics compositions; Processing powders of inorganic compounds preparatory to the manufacturing of ceramic products based on oxide ceramics based on titanium oxides or titanates based on titanates based on alkaline earth metal titanates
- C04B35/468—Shaped ceramic products characterised by their composition; Ceramics compositions; Processing powders of inorganic compounds preparatory to the manufacturing of ceramic products based on oxide ceramics based on titanium oxides or titanates based on titanates based on alkaline earth metal titanates based on barium titanates
- C04B35/4682—Shaped ceramic products characterised by their composition; Ceramics compositions; Processing powders of inorganic compounds preparatory to the manufacturing of ceramic products based on oxide ceramics based on titanium oxides or titanates based on titanates based on alkaline earth metal titanates based on barium titanates based on BaTiO3 perovskite phase
-
- B—PERFORMING OPERATIONS; TRANSPORTING
- B82—NANOTECHNOLOGY
- B82Y—SPECIFIC USES OR APPLICATIONS OF NANOSTRUCTURES; MEASUREMENT OR ANALYSIS OF NANOSTRUCTURES; MANUFACTURE OR TREATMENT OF NANOSTRUCTURES
- B82Y30/00—Nanotechnology for materials or surface science, e.g. nanocomposites
-
- H—ELECTRICITY
- H01—ELECTRIC ELEMENTS
- H01G—CAPACITORS; CAPACITORS, RECTIFIERS, DETECTORS, SWITCHING DEVICES, LIGHT-SENSITIVE OR TEMPERATURE-SENSITIVE DEVICES OF THE ELECTROLYTIC TYPE
- H01G4/00—Fixed capacitors; Processes of their manufacture
- H01G4/002—Details
- H01G4/018—Dielectrics
- H01G4/06—Solid dielectrics
- H01G4/08—Inorganic dielectrics
- H01G4/12—Ceramic dielectrics
- H01G4/1209—Ceramic dielectrics characterised by the ceramic dielectric material
- H01G4/1218—Ceramic dielectrics characterised by the ceramic dielectric material based on titanium oxides or titanates
- H01G4/1227—Ceramic dielectrics characterised by the ceramic dielectric material based on titanium oxides or titanates based on alkaline earth titanates
-
- H—ELECTRICITY
- H01—ELECTRIC ELEMENTS
- H01G—CAPACITORS; CAPACITORS, RECTIFIERS, DETECTORS, SWITCHING DEVICES, LIGHT-SENSITIVE OR TEMPERATURE-SENSITIVE DEVICES OF THE ELECTROLYTIC TYPE
- H01G4/00—Fixed capacitors; Processes of their manufacture
- H01G4/30—Stacked capacitors
-
- C—CHEMISTRY; METALLURGY
- C04—CEMENTS; CONCRETE; ARTIFICIAL STONE; CERAMICS; REFRACTORIES
- C04B—LIME, MAGNESIA; SLAG; CEMENTS; COMPOSITIONS THEREOF, e.g. MORTARS, CONCRETE OR LIKE BUILDING MATERIALS; ARTIFICIAL STONE; CERAMICS; REFRACTORIES; TREATMENT OF NATURAL STONE
- C04B2235/00—Aspects relating to ceramic starting mixtures or sintered ceramic products
- C04B2235/02—Composition of constituents of the starting material or of secondary phases of the final product
- C04B2235/30—Constituents and secondary phases not being of a fibrous nature
- C04B2235/32—Metal oxides, mixed metal oxides, or oxide-forming salts thereof, e.g. carbonates, nitrates, (oxy)hydroxides, chlorides
- C04B2235/3201—Alkali metal oxides or oxide-forming salts thereof
- C04B2235/3203—Lithium oxide or oxide-forming salts thereof
-
- C—CHEMISTRY; METALLURGY
- C04—CEMENTS; CONCRETE; ARTIFICIAL STONE; CERAMICS; REFRACTORIES
- C04B—LIME, MAGNESIA; SLAG; CEMENTS; COMPOSITIONS THEREOF, e.g. MORTARS, CONCRETE OR LIKE BUILDING MATERIALS; ARTIFICIAL STONE; CERAMICS; REFRACTORIES; TREATMENT OF NATURAL STONE
- C04B2235/00—Aspects relating to ceramic starting mixtures or sintered ceramic products
- C04B2235/02—Composition of constituents of the starting material or of secondary phases of the final product
- C04B2235/30—Constituents and secondary phases not being of a fibrous nature
- C04B2235/32—Metal oxides, mixed metal oxides, or oxide-forming salts thereof, e.g. carbonates, nitrates, (oxy)hydroxides, chlorides
- C04B2235/3205—Alkaline earth oxides or oxide forming salts thereof, e.g. beryllium oxide
- C04B2235/3206—Magnesium oxides or oxide-forming salts thereof
-
- C—CHEMISTRY; METALLURGY
- C04—CEMENTS; CONCRETE; ARTIFICIAL STONE; CERAMICS; REFRACTORIES
- C04B—LIME, MAGNESIA; SLAG; CEMENTS; COMPOSITIONS THEREOF, e.g. MORTARS, CONCRETE OR LIKE BUILDING MATERIALS; ARTIFICIAL STONE; CERAMICS; REFRACTORIES; TREATMENT OF NATURAL STONE
- C04B2235/00—Aspects relating to ceramic starting mixtures or sintered ceramic products
- C04B2235/02—Composition of constituents of the starting material or of secondary phases of the final product
- C04B2235/30—Constituents and secondary phases not being of a fibrous nature
- C04B2235/32—Metal oxides, mixed metal oxides, or oxide-forming salts thereof, e.g. carbonates, nitrates, (oxy)hydroxides, chlorides
- C04B2235/3205—Alkaline earth oxides or oxide forming salts thereof, e.g. beryllium oxide
- C04B2235/3208—Calcium oxide or oxide-forming salts thereof, e.g. lime
-
- C—CHEMISTRY; METALLURGY
- C04—CEMENTS; CONCRETE; ARTIFICIAL STONE; CERAMICS; REFRACTORIES
- C04B—LIME, MAGNESIA; SLAG; CEMENTS; COMPOSITIONS THEREOF, e.g. MORTARS, CONCRETE OR LIKE BUILDING MATERIALS; ARTIFICIAL STONE; CERAMICS; REFRACTORIES; TREATMENT OF NATURAL STONE
- C04B2235/00—Aspects relating to ceramic starting mixtures or sintered ceramic products
- C04B2235/02—Composition of constituents of the starting material or of secondary phases of the final product
- C04B2235/30—Constituents and secondary phases not being of a fibrous nature
- C04B2235/32—Metal oxides, mixed metal oxides, or oxide-forming salts thereof, e.g. carbonates, nitrates, (oxy)hydroxides, chlorides
- C04B2235/3224—Rare earth oxide or oxide forming salts thereof, e.g. scandium oxide
-
- C—CHEMISTRY; METALLURGY
- C04—CEMENTS; CONCRETE; ARTIFICIAL STONE; CERAMICS; REFRACTORIES
- C04B—LIME, MAGNESIA; SLAG; CEMENTS; COMPOSITIONS THEREOF, e.g. MORTARS, CONCRETE OR LIKE BUILDING MATERIALS; ARTIFICIAL STONE; CERAMICS; REFRACTORIES; TREATMENT OF NATURAL STONE
- C04B2235/00—Aspects relating to ceramic starting mixtures or sintered ceramic products
- C04B2235/02—Composition of constituents of the starting material or of secondary phases of the final product
- C04B2235/30—Constituents and secondary phases not being of a fibrous nature
- C04B2235/32—Metal oxides, mixed metal oxides, or oxide-forming salts thereof, e.g. carbonates, nitrates, (oxy)hydroxides, chlorides
- C04B2235/3224—Rare earth oxide or oxide forming salts thereof, e.g. scandium oxide
- C04B2235/3225—Yttrium oxide or oxide-forming salts thereof
-
- C—CHEMISTRY; METALLURGY
- C04—CEMENTS; CONCRETE; ARTIFICIAL STONE; CERAMICS; REFRACTORIES
- C04B—LIME, MAGNESIA; SLAG; CEMENTS; COMPOSITIONS THEREOF, e.g. MORTARS, CONCRETE OR LIKE BUILDING MATERIALS; ARTIFICIAL STONE; CERAMICS; REFRACTORIES; TREATMENT OF NATURAL STONE
- C04B2235/00—Aspects relating to ceramic starting mixtures or sintered ceramic products
- C04B2235/02—Composition of constituents of the starting material or of secondary phases of the final product
- C04B2235/30—Constituents and secondary phases not being of a fibrous nature
- C04B2235/32—Metal oxides, mixed metal oxides, or oxide-forming salts thereof, e.g. carbonates, nitrates, (oxy)hydroxides, chlorides
- C04B2235/3224—Rare earth oxide or oxide forming salts thereof, e.g. scandium oxide
- C04B2235/3227—Lanthanum oxide or oxide-forming salts thereof
-
- C—CHEMISTRY; METALLURGY
- C04—CEMENTS; CONCRETE; ARTIFICIAL STONE; CERAMICS; REFRACTORIES
- C04B—LIME, MAGNESIA; SLAG; CEMENTS; COMPOSITIONS THEREOF, e.g. MORTARS, CONCRETE OR LIKE BUILDING MATERIALS; ARTIFICIAL STONE; CERAMICS; REFRACTORIES; TREATMENT OF NATURAL STONE
- C04B2235/00—Aspects relating to ceramic starting mixtures or sintered ceramic products
- C04B2235/02—Composition of constituents of the starting material or of secondary phases of the final product
- C04B2235/30—Constituents and secondary phases not being of a fibrous nature
- C04B2235/32—Metal oxides, mixed metal oxides, or oxide-forming salts thereof, e.g. carbonates, nitrates, (oxy)hydroxides, chlorides
- C04B2235/3224—Rare earth oxide or oxide forming salts thereof, e.g. scandium oxide
- C04B2235/3229—Cerium oxides or oxide-forming salts thereof
-
- C—CHEMISTRY; METALLURGY
- C04—CEMENTS; CONCRETE; ARTIFICIAL STONE; CERAMICS; REFRACTORIES
- C04B—LIME, MAGNESIA; SLAG; CEMENTS; COMPOSITIONS THEREOF, e.g. MORTARS, CONCRETE OR LIKE BUILDING MATERIALS; ARTIFICIAL STONE; CERAMICS; REFRACTORIES; TREATMENT OF NATURAL STONE
- C04B2235/00—Aspects relating to ceramic starting mixtures or sintered ceramic products
- C04B2235/02—Composition of constituents of the starting material or of secondary phases of the final product
- C04B2235/30—Constituents and secondary phases not being of a fibrous nature
- C04B2235/32—Metal oxides, mixed metal oxides, or oxide-forming salts thereof, e.g. carbonates, nitrates, (oxy)hydroxides, chlorides
- C04B2235/3231—Refractory metal oxides, their mixed metal oxides, or oxide-forming salts thereof
- C04B2235/3239—Vanadium oxides, vanadates or oxide forming salts thereof, e.g. magnesium vanadate
-
- C—CHEMISTRY; METALLURGY
- C04—CEMENTS; CONCRETE; ARTIFICIAL STONE; CERAMICS; REFRACTORIES
- C04B—LIME, MAGNESIA; SLAG; CEMENTS; COMPOSITIONS THEREOF, e.g. MORTARS, CONCRETE OR LIKE BUILDING MATERIALS; ARTIFICIAL STONE; CERAMICS; REFRACTORIES; TREATMENT OF NATURAL STONE
- C04B2235/00—Aspects relating to ceramic starting mixtures or sintered ceramic products
- C04B2235/02—Composition of constituents of the starting material or of secondary phases of the final product
- C04B2235/30—Constituents and secondary phases not being of a fibrous nature
- C04B2235/32—Metal oxides, mixed metal oxides, or oxide-forming salts thereof, e.g. carbonates, nitrates, (oxy)hydroxides, chlorides
- C04B2235/3262—Manganese oxides, manganates, rhenium oxides or oxide-forming salts thereof, e.g. MnO
-
- C—CHEMISTRY; METALLURGY
- C04—CEMENTS; CONCRETE; ARTIFICIAL STONE; CERAMICS; REFRACTORIES
- C04B—LIME, MAGNESIA; SLAG; CEMENTS; COMPOSITIONS THEREOF, e.g. MORTARS, CONCRETE OR LIKE BUILDING MATERIALS; ARTIFICIAL STONE; CERAMICS; REFRACTORIES; TREATMENT OF NATURAL STONE
- C04B2235/00—Aspects relating to ceramic starting mixtures or sintered ceramic products
- C04B2235/02—Composition of constituents of the starting material or of secondary phases of the final product
- C04B2235/30—Constituents and secondary phases not being of a fibrous nature
- C04B2235/34—Non-metal oxides, non-metal mixed oxides, or salts thereof that form the non-metal oxides upon heating, e.g. carbonates, nitrates, (oxy)hydroxides, chlorides
- C04B2235/3418—Silicon oxide, silicic acids or oxide forming salts thereof, e.g. silica sol, fused silica, silica fume, cristobalite, quartz or flint
-
- C—CHEMISTRY; METALLURGY
- C04—CEMENTS; CONCRETE; ARTIFICIAL STONE; CERAMICS; REFRACTORIES
- C04B—LIME, MAGNESIA; SLAG; CEMENTS; COMPOSITIONS THEREOF, e.g. MORTARS, CONCRETE OR LIKE BUILDING MATERIALS; ARTIFICIAL STONE; CERAMICS; REFRACTORIES; TREATMENT OF NATURAL STONE
- C04B2235/00—Aspects relating to ceramic starting mixtures or sintered ceramic products
- C04B2235/02—Composition of constituents of the starting material or of secondary phases of the final product
- C04B2235/50—Constituents or additives of the starting mixture chosen for their shape or used because of their shape or their physical appearance
- C04B2235/54—Particle size related information
- C04B2235/5418—Particle size related information expressed by the size of the particles or aggregates thereof
- C04B2235/5445—Particle size related information expressed by the size of the particles or aggregates thereof submicron sized, i.e. from 0,1 to 1 micron
-
- C—CHEMISTRY; METALLURGY
- C04—CEMENTS; CONCRETE; ARTIFICIAL STONE; CERAMICS; REFRACTORIES
- C04B—LIME, MAGNESIA; SLAG; CEMENTS; COMPOSITIONS THEREOF, e.g. MORTARS, CONCRETE OR LIKE BUILDING MATERIALS; ARTIFICIAL STONE; CERAMICS; REFRACTORIES; TREATMENT OF NATURAL STONE
- C04B2235/00—Aspects relating to ceramic starting mixtures or sintered ceramic products
- C04B2235/02—Composition of constituents of the starting material or of secondary phases of the final product
- C04B2235/50—Constituents or additives of the starting mixture chosen for their shape or used because of their shape or their physical appearance
- C04B2235/54—Particle size related information
- C04B2235/5418—Particle size related information expressed by the size of the particles or aggregates thereof
- C04B2235/5454—Particle size related information expressed by the size of the particles or aggregates thereof nanometer sized, i.e. below 100 nm
-
- C—CHEMISTRY; METALLURGY
- C04—CEMENTS; CONCRETE; ARTIFICIAL STONE; CERAMICS; REFRACTORIES
- C04B—LIME, MAGNESIA; SLAG; CEMENTS; COMPOSITIONS THEREOF, e.g. MORTARS, CONCRETE OR LIKE BUILDING MATERIALS; ARTIFICIAL STONE; CERAMICS; REFRACTORIES; TREATMENT OF NATURAL STONE
- C04B2235/00—Aspects relating to ceramic starting mixtures or sintered ceramic products
- C04B2235/02—Composition of constituents of the starting material or of secondary phases of the final product
- C04B2235/50—Constituents or additives of the starting mixture chosen for their shape or used because of their shape or their physical appearance
- C04B2235/54—Particle size related information
- C04B2235/5463—Particle size distributions
- C04B2235/5481—Monomodal
-
- C—CHEMISTRY; METALLURGY
- C04—CEMENTS; CONCRETE; ARTIFICIAL STONE; CERAMICS; REFRACTORIES
- C04B—LIME, MAGNESIA; SLAG; CEMENTS; COMPOSITIONS THEREOF, e.g. MORTARS, CONCRETE OR LIKE BUILDING MATERIALS; ARTIFICIAL STONE; CERAMICS; REFRACTORIES; TREATMENT OF NATURAL STONE
- C04B2235/00—Aspects relating to ceramic starting mixtures or sintered ceramic products
- C04B2235/65—Aspects relating to heat treatments of ceramic bodies such as green ceramics or pre-sintered ceramics, e.g. burning, sintering or melting processes
- C04B2235/658—Atmosphere during thermal treatment
- C04B2235/6582—Hydrogen containing atmosphere
-
- C—CHEMISTRY; METALLURGY
- C04—CEMENTS; CONCRETE; ARTIFICIAL STONE; CERAMICS; REFRACTORIES
- C04B—LIME, MAGNESIA; SLAG; CEMENTS; COMPOSITIONS THEREOF, e.g. MORTARS, CONCRETE OR LIKE BUILDING MATERIALS; ARTIFICIAL STONE; CERAMICS; REFRACTORIES; TREATMENT OF NATURAL STONE
- C04B2235/00—Aspects relating to ceramic starting mixtures or sintered ceramic products
- C04B2235/65—Aspects relating to heat treatments of ceramic bodies such as green ceramics or pre-sintered ceramics, e.g. burning, sintering or melting processes
- C04B2235/658—Atmosphere during thermal treatment
- C04B2235/6583—Oxygen containing atmosphere, e.g. with changing oxygen pressures
- C04B2235/6584—Oxygen containing atmosphere, e.g. with changing oxygen pressures at an oxygen percentage below that of air
-
- C—CHEMISTRY; METALLURGY
- C04—CEMENTS; CONCRETE; ARTIFICIAL STONE; CERAMICS; REFRACTORIES
- C04B—LIME, MAGNESIA; SLAG; CEMENTS; COMPOSITIONS THEREOF, e.g. MORTARS, CONCRETE OR LIKE BUILDING MATERIALS; ARTIFICIAL STONE; CERAMICS; REFRACTORIES; TREATMENT OF NATURAL STONE
- C04B2235/00—Aspects relating to ceramic starting mixtures or sintered ceramic products
- C04B2235/65—Aspects relating to heat treatments of ceramic bodies such as green ceramics or pre-sintered ceramics, e.g. burning, sintering or melting processes
- C04B2235/658—Atmosphere during thermal treatment
- C04B2235/6588—Water vapor containing atmospheres
-
- C—CHEMISTRY; METALLURGY
- C04—CEMENTS; CONCRETE; ARTIFICIAL STONE; CERAMICS; REFRACTORIES
- C04B—LIME, MAGNESIA; SLAG; CEMENTS; COMPOSITIONS THEREOF, e.g. MORTARS, CONCRETE OR LIKE BUILDING MATERIALS; ARTIFICIAL STONE; CERAMICS; REFRACTORIES; TREATMENT OF NATURAL STONE
- C04B2235/00—Aspects relating to ceramic starting mixtures or sintered ceramic products
- C04B2235/70—Aspects relating to sintered or melt-casted ceramic products
- C04B2235/74—Physical characteristics
- C04B2235/78—Grain sizes and shapes, product microstructures, e.g. acicular grains, equiaxed grains, platelet-structures
- C04B2235/781—Nanograined materials, i.e. having grain sizes below 100 nm
-
- C—CHEMISTRY; METALLURGY
- C04—CEMENTS; CONCRETE; ARTIFICIAL STONE; CERAMICS; REFRACTORIES
- C04B—LIME, MAGNESIA; SLAG; CEMENTS; COMPOSITIONS THEREOF, e.g. MORTARS, CONCRETE OR LIKE BUILDING MATERIALS; ARTIFICIAL STONE; CERAMICS; REFRACTORIES; TREATMENT OF NATURAL STONE
- C04B2235/00—Aspects relating to ceramic starting mixtures or sintered ceramic products
- C04B2235/70—Aspects relating to sintered or melt-casted ceramic products
- C04B2235/74—Physical characteristics
- C04B2235/78—Grain sizes and shapes, product microstructures, e.g. acicular grains, equiaxed grains, platelet-structures
- C04B2235/782—Grain size distributions
- C04B2235/784—Monomodal
-
- C—CHEMISTRY; METALLURGY
- C04—CEMENTS; CONCRETE; ARTIFICIAL STONE; CERAMICS; REFRACTORIES
- C04B—LIME, MAGNESIA; SLAG; CEMENTS; COMPOSITIONS THEREOF, e.g. MORTARS, CONCRETE OR LIKE BUILDING MATERIALS; ARTIFICIAL STONE; CERAMICS; REFRACTORIES; TREATMENT OF NATURAL STONE
- C04B2235/00—Aspects relating to ceramic starting mixtures or sintered ceramic products
- C04B2235/70—Aspects relating to sintered or melt-casted ceramic products
- C04B2235/74—Physical characteristics
- C04B2235/78—Grain sizes and shapes, product microstructures, e.g. acicular grains, equiaxed grains, platelet-structures
- C04B2235/785—Submicron sized grains, i.e. from 0,1 to 1 micron
-
- C—CHEMISTRY; METALLURGY
- C04—CEMENTS; CONCRETE; ARTIFICIAL STONE; CERAMICS; REFRACTORIES
- C04B—LIME, MAGNESIA; SLAG; CEMENTS; COMPOSITIONS THEREOF, e.g. MORTARS, CONCRETE OR LIKE BUILDING MATERIALS; ARTIFICIAL STONE; CERAMICS; REFRACTORIES; TREATMENT OF NATURAL STONE
- C04B2235/00—Aspects relating to ceramic starting mixtures or sintered ceramic products
- C04B2235/70—Aspects relating to sintered or melt-casted ceramic products
- C04B2235/74—Physical characteristics
- C04B2235/79—Non-stoichiometric products, e.g. perovskites (ABO3) with an A/B-ratio other than 1
-
- Y—GENERAL TAGGING OF NEW TECHNOLOGICAL DEVELOPMENTS; GENERAL TAGGING OF CROSS-SECTIONAL TECHNOLOGIES SPANNING OVER SEVERAL SECTIONS OF THE IPC; TECHNICAL SUBJECTS COVERED BY FORMER USPC CROSS-REFERENCE ART COLLECTIONS [XRACs] AND DIGESTS
- Y10—TECHNICAL SUBJECTS COVERED BY FORMER USPC
- Y10T—TECHNICAL SUBJECTS COVERED BY FORMER US CLASSIFICATION
- Y10T29/00—Metal working
- Y10T29/43—Electric condenser making
- Y10T29/435—Solid dielectric type
Landscapes
- Engineering & Computer Science (AREA)
- Chemical & Material Sciences (AREA)
- Power Engineering (AREA)
- Ceramic Engineering (AREA)
- Manufacturing & Machinery (AREA)
- Microelectronics & Electronic Packaging (AREA)
- Materials Engineering (AREA)
- Nanotechnology (AREA)
- Structural Engineering (AREA)
- Organic Chemistry (AREA)
- Physics & Mathematics (AREA)
- Composite Materials (AREA)
- Condensed Matter Physics & Semiconductors (AREA)
- General Physics & Mathematics (AREA)
- Crystallography & Structural Chemistry (AREA)
- Inorganic Chemistry (AREA)
- Compositions Of Oxide Ceramics (AREA)
- Ceramic Capacitors (AREA)
- Inorganic Insulating Materials (AREA)
Abstract
【解決手段】誘電体セラミック層2を構成する誘電体セラミックとして、主成分がBaTiO3系であり、副成分としてLiを含み、Li含有量e[モル部]が、主成分100モル部に対し、0.5≦e≦6.0であり、当該誘電体セラミックのグレインについて、グレイン径の平均値Rg[μm]が0.06<Rg<0.17、より好ましくは0.06<Rg<0.14であり、その標準偏差σg[μm]がσg<0.075であるものを用いる。
【選択図】図1
Description
0.96≦m≦1.03、
0≦x≦0.2、
0.2≦a≦5.0、
0≦b≦2.0、
0.2≦c≦1.0、および
0.5≦d≦4.0
の各条件を満足する。
96≦m≦1.03、0≦x≦0.2、0.2≦a≦5.0、0≦b≦2.0、0.2≦c≦1.0、および0.5≦d≦4.0の各条件を満足するとき、寿命特性をさらに向上させることができる。
0.96≦m≦1.03、
0≦x≦0.2、
0.2≦a≦5.0、
0≦b≦2.0、
0.2≦c≦1.0、および
0.5≦d≦4.0
の各条件を満足するようにされることが好ましい。
実験例1では、グレインの粒度分布およびLi添加量が、寿命特性に与える影響を調べた。
まず、主成分の出発原料として、BaCO3およびTiO2を用いて、表1に示す平均粒子径(Rb)および標準偏差(σb)を有するBa1.007TiO3粉末を準備した。平均粒子径(Rb)および標準偏差(σb)は、FE−SEMにて観察し、300個の粒子から、平均円相当径として解析し、算出した。次に、副成分と混合するに先立って、出発原料のBa1.007TiO3粉末を秤量した後、水を媒体としてボールミルにより湿式混合し、凝集体を解砕した。
組成式:100Ba1.007TiO3+1.0DyO3/2+0.7MgO+0.3MnO+1.5SiO2+eLiO1/2
で表され、かつ上記組成式中の係数eが表1に示す「Li添加量e」となるように、上記Ba1.007TiO3粉末と配合し、水を媒体としてボールミルにより混合した。その後、蒸発乾燥により試料1〜18の各々に係る誘電体原料配合物を得た。なお、試料1〜9と試料10〜18とは、平均粒子径(Rb)および標準偏差(σb)ならびにLi添加量eの各々については互いに同じであるが、以下に進める積層セラミックコンデンサの作製工程において、セラミック層の厚みが異ならされた点で異なっている。
上記誘電体原料配合物に、ポリビニルブチラール系バインダおよびエタノールを加えて、ボールミルにより湿式混合し、セラミックスラリーを得た。このセラミックスラリーをリップコータによりシート成形し、セラミックグリーンシートを得た。このとき、後述するように、セラミックグリーンシートとして、焼成後の厚みが0.9μmとなるものと1.0μmとなるものとの2種類の厚みのものを作製した。
特性評価として、誘電率、誘電損失(DF)、容量温度特性、および高温負荷寿命特性を評価した。
実験例2は、寿命特性向上にとって、より好ましい組成範囲を規定するために実施したものである。
まず、主成分の出発原料として、BaCO3、CaCO3およびTiO2の各粉末を準備し、これら粉末を、表3に示されたmおよびxをそれぞれ有する(Ba1-xCax)mTiO3の組成になるように秤量し、次いで、熱処理し、表3に示す平均粒子径(Rb)および標準偏差(σb)を有する(Ba1-xCax)mTiO3粉末を得た。次に、副成分と混合するに先立って、出発原料の(Ba1-xCax)mTiO3粉末を秤量した後、水を媒体としてボールミルにより湿式混合し、凝集体を解砕した。
組成式:100(Ba1-xCax)mTiO3+aRO3/2+bMgO+cMO+dSiO2+eLiO1/2
で表され、かつ表3にそれぞれ示す、M成分およびR成分をそれぞれ用いながら、係数a、b、c、dおよびeを有する組成となるように、上記(Ba1-xCax)mTiO3粉末と配合し、水を媒体としてボールミルにより混合した。その後、蒸発乾燥により試料101〜128の各々に係る誘電体原料配合物を得た。
実験例1の場合と同様の操作を経て、各試料に係る積層セラミックコンデンサを得た。誘電体セラミック層の厚みは、0.8μmとした。
実験例1の場合と同様の特性評価およびセラミック微構造観察を行なった。その結果が表4に示されている。
組成式:100(Ba1-xCax)mTiO3+aRO3/2+bMgO+cMO+dSiO2+eLiO1/2において、
0.96≦m≦1.03、
0≦x≦0.2、
0.2≦a≦5.0、
0≦b≦2.0、
0.2≦c≦1.0、および
0.5≦d≦4.0
の各条件を満足しており、その結果、比誘電率が1500以上であり、温度特性がX5R特性を満足し、平均故障時間が150時間以上であって寿命特性がより向上している。
実験例3は、平均グレイン径について、より好ましい範囲を求めようとするものである。
表5に示す平均粒子径(Rb)および標準偏差(σb)を有するBaTiO3系粉末を用いたことを除いて、実験例1における試料1に係る誘電体原料配合物の場合と同様にして、試料201および202の各々に係る誘電体原料配合物を得た。
実験例1の場合と同様の操作を経て、各試料に係る積層セラミックコンデンサを得た。誘電体セラミック層の厚みは、0.9μmとした。
実験例1の場合と同様の特性評価およびセラミック微構造観察を行なった。特性評価の結果が表6に示されている。
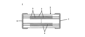
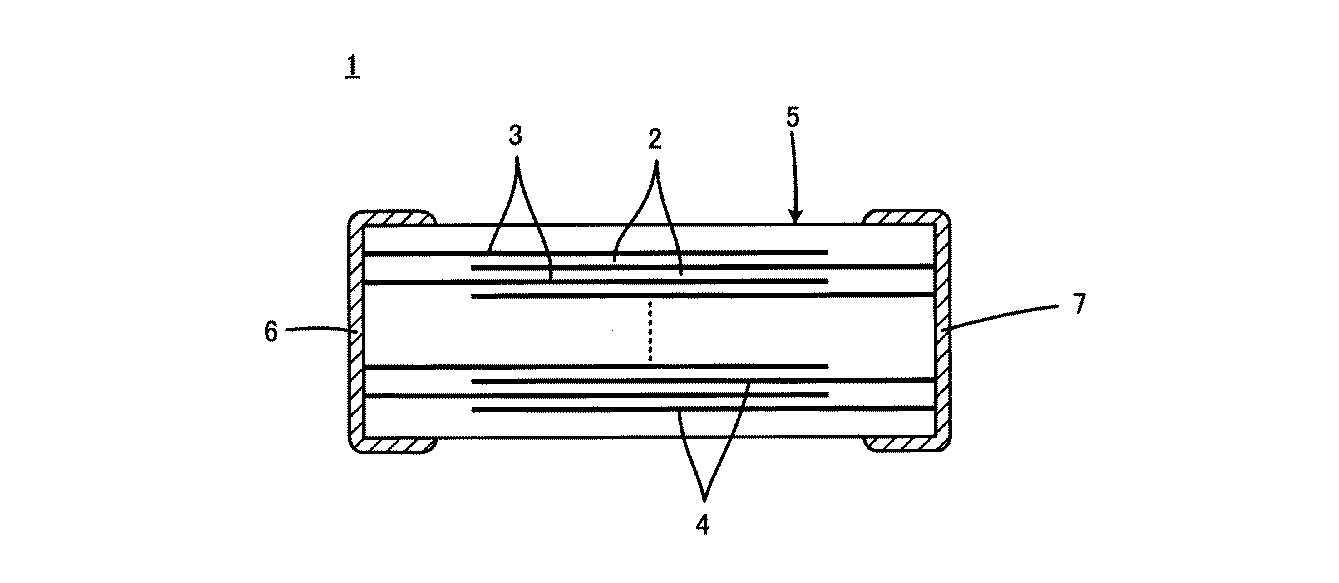
2 誘電体セラミック層
3,4 内部電極
5 コンデンサ本体
6,7 外部電極
Claims (5)
- 主成分がBaTiO3系である誘電体セラミックであって、
副成分としてLiを含み、Li含有量e[モル部]が、主成分100モル部に対し、0.5≦e≦6.0であり、
当該誘電体セラミックのグレインについて、グレイン径の平均値Rg[μm]が0.06<Rg<0.17であり、その標準偏差σg[μm]がσg<0.075である、
誘電体セラミック。 - 組成式:100(Ba1-xCax)mTiO3+aRO3/2+bMgO+cMO+dSiO2+eLiO1/2 (m、a、b、c、dおよびeはモル比を示す。RはLa、Ce、Pr、Nd、Sm、Eu、Gd、Tb、Dy、Ho、Er、Tm、Yb、LuおよびYから選ばれる少なくとも1種を含有する。Mは、MnおよびVの少なくとも一方を含有する。)で表され、かつ、
0.96≦m≦1.03、
0≦x≦0.2、
0.2≦a≦5.0、
0≦b≦2.0、
0.2≦c≦1.0、および
0.5≦d≦4.0
の各条件を満足する、請求項1に記載の誘電体セラミック。 - グレイン径の平均値Rg[μm]が0.06<Rg<0.14であり、その標準偏差σg[μm]がσg<0.075である、請求項1または2に記載の誘電体セラミック。
- 積層された複数の誘電体セラミック層、および前記誘電体セラミック層間の特定の界面に沿って形成された複数の内部電極をもって構成される、コンデンサ本体と、
前記コンデンサ本体の外表面上の互いに異なる位置に形成され、かつ前記内部電極の特定のものに電気的に接続される、複数の外部電極と
を備え、
前記内部電極の積層方向に隣り合うものの間に位置する前記誘電体セラミック層の厚みは1μm未満であり、かつ、
前記誘電体セラミック層は、請求項1ないし3のいずれかに記載の誘電体セラミックからなる、
積層セラミックコンデンサ。 - BaTiO3系を主成分とするBaTiO3系セラミック粉末を用意する工程と、
Li化合物を含む副成分を用意する工程と、
前記BaTiO3系セラミック粉末に前記副成分を混合することによって、セラミック原料粉末を得る工程と、
前記セラミック原料粉末を成形することによって、セラミック成形体を得る工程と、
前記セラミック成形体を焼成することによって、誘電体セラミックを得る工程と
を備え、
前記セラミック原料粉末において、Li含有量e[モル部]が、主成分100モル部に対し、0.5≦e≦6.0であり、
前記BaTiO3系セラミック粉末において、粒径の平均値Rb[μm]が0.06<Rb<0.17であり、その標準偏差σb[μm]がσb<0.065である、
誘電体セラミックの製造方法。
Priority Applications (4)
| Application Number | Priority Date | Filing Date | Title |
|---|---|---|---|
| JP2008217585A JP5109872B2 (ja) | 2008-08-27 | 2008-08-27 | 積層セラミックコンデンサおよびその製造方法 |
| US12/540,743 US8248754B2 (en) | 2008-08-27 | 2009-08-13 | Dielectric ceramic, method for producing dielectric ceramic, and monolithic ceramic capacitor |
| CN2009101666644A CN101665354B (zh) | 2008-08-27 | 2009-08-26 | 电介质陶瓷及其制造方法、和叠层陶瓷电容器 |
| KR1020090079608A KR101064475B1 (ko) | 2008-08-27 | 2009-08-27 | 유전체 세라믹 및 그 제조방법 그리고 적층 세라믹 콘덴서 |
Applications Claiming Priority (1)
| Application Number | Priority Date | Filing Date | Title |
|---|---|---|---|
| JP2008217585A JP5109872B2 (ja) | 2008-08-27 | 2008-08-27 | 積層セラミックコンデンサおよびその製造方法 |
Publications (2)
| Publication Number | Publication Date |
|---|---|
| JP2010052964A true JP2010052964A (ja) | 2010-03-11 |
| JP5109872B2 JP5109872B2 (ja) | 2012-12-26 |
Family
ID=41725133
Family Applications (1)
| Application Number | Title | Priority Date | Filing Date |
|---|---|---|---|
| JP2008217585A Active JP5109872B2 (ja) | 2008-08-27 | 2008-08-27 | 積層セラミックコンデンサおよびその製造方法 |
Country Status (4)
| Country | Link |
|---|---|
| US (1) | US8248754B2 (ja) |
| JP (1) | JP5109872B2 (ja) |
| KR (1) | KR101064475B1 (ja) |
| CN (1) | CN101665354B (ja) |
Cited By (6)
| Publication number | Priority date | Publication date | Assignee | Title |
|---|---|---|---|---|
| WO2012120712A1 (ja) * | 2011-03-04 | 2012-09-13 | 太陽誘電株式会社 | 積層セラミックコンデンサ |
| JP2012214316A (ja) * | 2011-03-31 | 2012-11-08 | Tdk Corp | 誘電体磁器組成物および電子部品 |
| JP2013112536A (ja) * | 2011-11-25 | 2013-06-10 | Samsung Electro-Mechanics Co Ltd | 高誘電率セラミックスの製造方法 |
| JP2014022714A (ja) * | 2012-07-20 | 2014-02-03 | Samsung Electro-Mechanics Co Ltd | 積層セラミック電子部品及びその製造方法 |
| JP2016117605A (ja) * | 2014-12-19 | 2016-06-30 | サムソン エレクトロ−メカニックス カンパニーリミテッド. | 誘電体セラミックスおよびその製造方法 |
| JP2021082779A (ja) * | 2019-11-22 | 2021-05-27 | 太陽誘電株式会社 | セラミック電子部品およびその製造方法 |
Families Citing this family (4)
| Publication number | Priority date | Publication date | Assignee | Title |
|---|---|---|---|---|
| KR102000686B1 (ko) * | 2011-10-21 | 2019-07-17 | 삼성전기주식회사 | 적층 세라믹 전자부품 |
| WO2017012788A1 (en) * | 2015-07-17 | 2017-01-26 | Epcos Ag | Dielectric composition, dielectric element, electronic component and laminated electronic component |
| CN107721409A (zh) * | 2017-10-09 | 2018-02-23 | 宁夏钜晶电子材料科技有限公司 | 多层片式热敏陶瓷器件制备方法 |
| KR102793994B1 (ko) | 2022-06-22 | 2025-04-09 | 국립공주대학교 산학협력단 | 이종 크기의 유전체 나노 입자로 구성되는 층 및 이를 포함하는 Zn 금속 이차전지 |
Citations (10)
| Publication number | Priority date | Publication date | Assignee | Title |
|---|---|---|---|---|
| JP2007258661A (ja) * | 2005-09-28 | 2007-10-04 | Kyocera Corp | 積層セラミックコンデンサおよびその製法 |
| WO2008066119A1 (en) * | 2006-11-29 | 2008-06-05 | Kyocera Corporation | Dielectric ceramic and capacitor |
| JP2008133162A (ja) * | 2006-11-29 | 2008-06-12 | Kyocera Corp | チタン酸バリウム粉末およびその製法、ならびに誘電体磁器 |
| JP2008133163A (ja) * | 2006-11-29 | 2008-06-12 | Kyocera Corp | チタン酸バリウム粉末およびその製法、ならびに誘電体磁器 |
| WO2008114619A1 (ja) * | 2007-03-16 | 2008-09-25 | Kyocera Corporation | 誘電体磁器およびコンデンサ |
| WO2009119613A1 (ja) * | 2008-03-25 | 2009-10-01 | 京セラ株式会社 | 積層セラミックコンデンサ |
| WO2009119444A1 (ja) * | 2008-03-24 | 2009-10-01 | 京セラ株式会社 | 積層セラミックコンデンサ |
| WO2009119614A1 (ja) * | 2008-03-24 | 2009-10-01 | 京セラ株式会社 | 積層セラミックコンデンサ |
| JP2010006634A (ja) * | 2008-06-26 | 2010-01-14 | Kyocera Corp | 誘電体磁器およびそれを用いた積層セラミックコンデンサ |
| JP2010006633A (ja) * | 2008-06-26 | 2010-01-14 | Kyocera Corp | 誘電体磁器およびそれを用いた積層セラミックコンデンサ |
Family Cites Families (16)
| Publication number | Priority date | Publication date | Assignee | Title |
|---|---|---|---|---|
| US171938A (en) | 1876-01-11 | Improvement in tinners fire-pots | ||
| JPH0750753B2 (ja) * | 1987-08-21 | 1995-05-31 | 株式会社東芝 | トランジスタ装置 |
| JP3024537B2 (ja) * | 1995-12-20 | 2000-03-21 | 株式会社村田製作所 | 積層セラミックコンデンサ |
| JP3487539B2 (ja) * | 1997-05-06 | 2004-01-19 | 太陽誘電株式会社 | 誘電体磁器 |
| JP3878778B2 (ja) | 1999-07-21 | 2007-02-07 | Tdk株式会社 | 誘電体磁器組成物および電子部品 |
| US6544916B1 (en) | 1999-10-05 | 2003-04-08 | Tdk Corporation | Manufacture method of dielectric ceramic composition |
| JP4407299B2 (ja) * | 2004-01-30 | 2010-02-03 | Tdk株式会社 | 積層セラミックコンデンサ |
| JP4483659B2 (ja) * | 2005-04-04 | 2010-06-16 | Tdk株式会社 | 電子部品、誘電体磁器組成物およびその製造方法 |
| JP4936825B2 (ja) * | 2006-08-02 | 2012-05-23 | 太陽誘電株式会社 | 積層セラミックコンデンサ |
| JP2008066119A (ja) | 2006-09-07 | 2008-03-21 | Ricoh Co Ltd | 電源制御装置、インターロック装置及び電気機器 |
| JP2008114619A (ja) | 2006-10-31 | 2008-05-22 | Mitsubishi Fuso Truck & Bus Corp | 車両のパネル取り付け構造 |
| JP5071070B2 (ja) | 2007-09-18 | 2012-11-14 | Nok株式会社 | 中空糸膜モジュール及び中空糸膜モジュールの製造方法 |
| JP2009119613A (ja) | 2007-11-12 | 2009-06-04 | Toray Ind Inc | 繊維強化プラスチック成形体およびその製造方法 |
| JP5119871B2 (ja) | 2007-11-12 | 2013-01-16 | セイコーエプソン株式会社 | プリンタ |
| EP2320936A1 (en) | 2008-07-16 | 2011-05-18 | PAION Deutschland GmbH | Prevention and treatment of radiation injury |
| WO2010006633A1 (de) | 2008-07-18 | 2010-01-21 | Siemens Aktiengesellschaft | Verfahren zum betreiben eines automatisierungssystems, computerprogramm sowie computerprogrammprodukt |
-
2008
- 2008-08-27 JP JP2008217585A patent/JP5109872B2/ja active Active
-
2009
- 2009-08-13 US US12/540,743 patent/US8248754B2/en active Active
- 2009-08-26 CN CN2009101666644A patent/CN101665354B/zh active Active
- 2009-08-27 KR KR1020090079608A patent/KR101064475B1/ko active Active
Patent Citations (10)
| Publication number | Priority date | Publication date | Assignee | Title |
|---|---|---|---|---|
| JP2007258661A (ja) * | 2005-09-28 | 2007-10-04 | Kyocera Corp | 積層セラミックコンデンサおよびその製法 |
| WO2008066119A1 (en) * | 2006-11-29 | 2008-06-05 | Kyocera Corporation | Dielectric ceramic and capacitor |
| JP2008133162A (ja) * | 2006-11-29 | 2008-06-12 | Kyocera Corp | チタン酸バリウム粉末およびその製法、ならびに誘電体磁器 |
| JP2008133163A (ja) * | 2006-11-29 | 2008-06-12 | Kyocera Corp | チタン酸バリウム粉末およびその製法、ならびに誘電体磁器 |
| WO2008114619A1 (ja) * | 2007-03-16 | 2008-09-25 | Kyocera Corporation | 誘電体磁器およびコンデンサ |
| WO2009119444A1 (ja) * | 2008-03-24 | 2009-10-01 | 京セラ株式会社 | 積層セラミックコンデンサ |
| WO2009119614A1 (ja) * | 2008-03-24 | 2009-10-01 | 京セラ株式会社 | 積層セラミックコンデンサ |
| WO2009119613A1 (ja) * | 2008-03-25 | 2009-10-01 | 京セラ株式会社 | 積層セラミックコンデンサ |
| JP2010006634A (ja) * | 2008-06-26 | 2010-01-14 | Kyocera Corp | 誘電体磁器およびそれを用いた積層セラミックコンデンサ |
| JP2010006633A (ja) * | 2008-06-26 | 2010-01-14 | Kyocera Corp | 誘電体磁器およびそれを用いた積層セラミックコンデンサ |
Cited By (8)
| Publication number | Priority date | Publication date | Assignee | Title |
|---|---|---|---|---|
| WO2012120712A1 (ja) * | 2011-03-04 | 2012-09-13 | 太陽誘電株式会社 | 積層セラミックコンデンサ |
| US8908353B2 (en) | 2011-03-04 | 2014-12-09 | Taiyo Yuden Co., Ltd. | Laminated ceramic capacitor |
| JP2012214316A (ja) * | 2011-03-31 | 2012-11-08 | Tdk Corp | 誘電体磁器組成物および電子部品 |
| JP2013112536A (ja) * | 2011-11-25 | 2013-06-10 | Samsung Electro-Mechanics Co Ltd | 高誘電率セラミックスの製造方法 |
| JP2014022714A (ja) * | 2012-07-20 | 2014-02-03 | Samsung Electro-Mechanics Co Ltd | 積層セラミック電子部品及びその製造方法 |
| JP2016117605A (ja) * | 2014-12-19 | 2016-06-30 | サムソン エレクトロ−メカニックス カンパニーリミテッド. | 誘電体セラミックスおよびその製造方法 |
| JP2021082779A (ja) * | 2019-11-22 | 2021-05-27 | 太陽誘電株式会社 | セラミック電子部品およびその製造方法 |
| JP7421313B2 (ja) | 2019-11-22 | 2024-01-24 | 太陽誘電株式会社 | セラミック電子部品およびその製造方法 |
Also Published As
| Publication number | Publication date |
|---|---|
| JP5109872B2 (ja) | 2012-12-26 |
| US20100053843A1 (en) | 2010-03-04 |
| KR20100025493A (ko) | 2010-03-09 |
| US8248754B2 (en) | 2012-08-21 |
| KR101064475B1 (ko) | 2011-09-15 |
| CN101665354B (zh) | 2013-04-03 |
| CN101665354A (zh) | 2010-03-10 |
Similar Documents
| Publication | Publication Date | Title |
|---|---|---|
| JP5109872B2 (ja) | 積層セラミックコンデンサおよびその製造方法 | |
| JP5565528B2 (ja) | 積層セラミックコンデンサ、および積層セラミックコンデンサの製造方法 | |
| JP5811103B2 (ja) | 積層セラミックコンデンサ及び積層セラミックコンデンサの製造方法 | |
| JP5152017B2 (ja) | 誘電体セラミックおよび積層セラミックコンデンサ | |
| JP4992918B2 (ja) | 誘電体セラミックおよび積層セラミックコンデンサ | |
| JP5224147B2 (ja) | 誘電体セラミック、及び積層セラミックコンデンサ | |
| JP4831142B2 (ja) | 誘電体セラミックおよび積層セラミックコンデンサ | |
| JP5316353B2 (ja) | 誘電体セラミックおよび積層セラミックコンデンサ | |
| JP5370212B2 (ja) | 誘電体セラミックおよび積層セラミックコンデンサ | |
| JPWO2015040869A1 (ja) | 積層セラミックコンデンサおよびその製造方法 | |
| JP6089770B2 (ja) | 誘電体磁器組成物および電子部品 | |
| JP5409443B2 (ja) | 積層セラミックコンデンサ | |
| JP2010208905A (ja) | 誘電体セラミックの製造方法と誘電体セラミック、及び積層セラミックコンデンサの製造方法と積層セラミックコンデンサ | |
| JP5655866B2 (ja) | 積層セラミックコンデンサ及び積層セラミックコンデンサの製造方法 | |
| JP2011071162A (ja) | 積層セラミック電子部品 | |
| JP2011162401A (ja) | 誘電体セラミックおよび積層セラミックコンデンサ | |
| JP2014112730A (ja) | 積層セラミックコンデンサ | |
| JP4697582B2 (ja) | 誘電体セラミック及び誘電体セラミックの製造方法、並びに積層セラミックコンデンサ | |
| JP4548423B2 (ja) | 誘電体セラミックおよび積層セラミックコンデンサ | |
| JP2013065592A (ja) | 積層セラミックコンデンサ | |
| JP2005263508A (ja) | 誘電体磁器組成物、積層型セラミックコンデンサ及びその製造方法 | |
| JP5516763B2 (ja) | 誘電体セラミックおよび積層セラミックコンデンサ | |
| JP5729419B2 (ja) | 積層セラミックコンデンサ | |
| JP5354834B2 (ja) | 誘電体磁器組成物及び磁器コンデンサとそれらの製造方法 | |
| JP2005272263A (ja) | 誘電体磁器組成物、積層型セラミックコンデンサ及びその製造方法 |
Legal Events
| Date | Code | Title | Description |
|---|---|---|---|
| A621 | Written request for application examination |
Free format text: JAPANESE INTERMEDIATE CODE: A621 Effective date: 20101117 |
|
| A977 | Report on retrieval |
Free format text: JAPANESE INTERMEDIATE CODE: A971007 Effective date: 20120130 |
|
| A131 | Notification of reasons for refusal |
Free format text: JAPANESE INTERMEDIATE CODE: A131 Effective date: 20120214 |
|
| A521 | Request for written amendment filed |
Free format text: JAPANESE INTERMEDIATE CODE: A523 Effective date: 20120309 |
|
| TRDD | Decision of grant or rejection written | ||
| A01 | Written decision to grant a patent or to grant a registration (utility model) |
Free format text: JAPANESE INTERMEDIATE CODE: A01 Effective date: 20120911 |
|
| A01 | Written decision to grant a patent or to grant a registration (utility model) |
Free format text: JAPANESE INTERMEDIATE CODE: A01 |
|
| A61 | First payment of annual fees (during grant procedure) |
Free format text: JAPANESE INTERMEDIATE CODE: A61 Effective date: 20120924 |
|
| FPAY | Renewal fee payment (event date is renewal date of database) |
Free format text: PAYMENT UNTIL: 20151019 Year of fee payment: 3 |
|
| R150 | Certificate of patent or registration of utility model |
Ref document number: 5109872 Country of ref document: JP Free format text: JAPANESE INTERMEDIATE CODE: R150 Free format text: JAPANESE INTERMEDIATE CODE: R150 |
