JP2010047114A - 自動車のフレーム構造 - Google Patents

自動車のフレーム構造 Download PDF

Info

Publication number
JP2010047114A
JP2010047114A JP2008213099A JP2008213099A JP2010047114A JP 2010047114 A JP2010047114 A JP 2010047114A JP 2008213099 A JP2008213099 A JP 2008213099A JP 2008213099 A JP2008213099 A JP 2008213099A JP 2010047114 A JP2010047114 A JP 2010047114A
Authority
JP
Japan
Prior art keywords
width direction
vehicle width
mount bracket
cab mount
vehicle
Prior art date
Legal status (The legal status is an assumption and is not a legal conclusion. Google has not performed a legal analysis and makes no representation as to the accuracy of the status listed.)
Granted
Application number
JP2008213099A
Other languages
English (en)
Other versions
JP5354154B2 (ja
Inventor
Hideto Yamada
秀人 山田
Hidetsugu Okada
英嗣 岡田
Current Assignee (The listed assignees may be inaccurate. Google has not performed a legal analysis and makes no representation or warranty as to the accuracy of the list.)
Mazda Motor Corp
Original Assignee
Mazda Motor Corp
Priority date (The priority date is an assumption and is not a legal conclusion. Google has not performed a legal analysis and makes no representation as to the accuracy of the date listed.)
Filing date
Publication date
Application filed by Mazda Motor Corp filed Critical Mazda Motor Corp
Priority to JP2008213099A priority Critical patent/JP5354154B2/ja
Priority to US12/473,898 priority patent/US8002064B2/en
Priority to DE102009035219.8A priority patent/DE102009035219B4/de
Priority to CN2009101709300A priority patent/CN101654119B/zh
Priority to US12/708,489 priority patent/US8141904B2/en
Publication of JP2010047114A publication Critical patent/JP2010047114A/ja
Application granted granted Critical
Publication of JP5354154B2 publication Critical patent/JP5354154B2/ja
Expired - Fee Related legal-status Critical Current
Anticipated expiration legal-status Critical

Links

Images

Classifications

    • BPERFORMING OPERATIONS; TRANSPORTING
    • B62LAND VEHICLES FOR TRAVELLING OTHERWISE THAN ON RAILS
    • B62DMOTOR VEHICLES; TRAILERS
    • B62D21/00Understructures, i.e. chassis frame on which a vehicle body may be mounted
    • B62D21/02Understructures, i.e. chassis frame on which a vehicle body may be mounted comprising longitudinally or transversely arranged frame members
    • BPERFORMING OPERATIONS; TRANSPORTING
    • B62LAND VEHICLES FOR TRAVELLING OTHERWISE THAN ON RAILS
    • B62DMOTOR VEHICLES; TRAILERS
    • B62D21/00Understructures, i.e. chassis frame on which a vehicle body may be mounted
    • B62D21/09Means for mounting load bearing surfaces

Landscapes

  • Engineering & Computer Science (AREA)
  • Chemical & Material Sciences (AREA)
  • Combustion & Propulsion (AREA)
  • Transportation (AREA)
  • Mechanical Engineering (AREA)
  • Body Structure For Vehicles (AREA)

Abstract

【課題】自動車の前突時にサイドフレームの車幅方向断面のせん断変形を抑制することができる自動車のフレーム構造を提供する。
【解決手段】車幅方向に離間して車両前後方向に延びる一対のサイドフレーム13であって、車幅方向内方に開口したコ字状断面のアウタパネル51と車幅方向外方に開口したコ字状断面のインナパネル53とを接合して形成された閉断面を有するサイドフレーム13と、サイドフレーム13の前部の車幅方向外側に設けられキャビンを支持するキャブマウントブラケット31とを有し、キャブマウントブラケット31は、その上部がアウタパネル51の側面51aに接合され車幅方向外方に延び、その下部がアウタパネル51の側面51aよりも車幅方向内方に延びた延設部分61を有しこの延設部分61がインナパネル53の下面53aに接合されている。
【選択図】図5

Description

本発明は、自動車のフレーム構造に係わり、特に、車両前後方向に延びる一対のサイドフレームの前部の車幅方向外側に設けられたキャブマウントブラケットによりキャビンを支持する、所謂ラダーフレームを備えた自動車のフレーム構造に関する。
従来から、キャブトラック等のラダーフレームを有する自動車のフレーム構造において、キャビンを取り付けるためのキャブマウントブラケットを、サイドフレームの車幅方向外側に取り付けたフレーム構造が知られている。具体的には、このキャブマウントブラケットは、ほぼ四角形断面を有するサイドフレームの車幅方向外側の側面に取り付けられている。そして、キャブマウントブラケットの上部には、キャビンが取り付けられる。そしてこのような自動車のフレーム構造としては、特許文献1に記載されたものがある。
特開2002−205662号公報
しかしながら、従来用いられていた自動車のフレーム構造では、自動車の前突時にサイドフレームの断面形状が大きく変形してしまうという問題があった。具体的には、前突時にサイドフレームに力が加わると、サイドフレームの車幅方向断面にせん断力が生じ、この断面がせん断変形してしまう。特にサイドフレームが2枚のパネルを接合して形成されている場合には、これらパネルの接合部にせん断力が集中してしまう。
そこで本発明は、上述した問題点を解決するためになされたものであり、自動車の前突時にサイドフレームの車幅方向断面のせん断変形を抑制することができる自動車のフレーム構造を提供することを目的とする。
上述した課題を解決するために、本発明は、車幅方向に離間して車両前後方向に延びる一対のサイドフレームであって、車幅方向内方に開口したコ字状断面のアウタパネルと車幅方向外方に開口したコ字状断面のインナパネルとを接合して形成された閉断面を有するサイドフレームと、前記サイドフレームの前部の車幅方向外側に設けられキャビンを支持するキャブマウントブラケットとを有し、キャブマウントブラケットは、その上部がアウタパネルの側面に接合され車幅方向外方に延び、その下部がアウタパネルの側面よりも車幅方向内方に延びた延設部分を有しこの延設部分がインナパネルの下面に接合されていること特徴とする。
このように構成された本発明によれば、キャブマウントブラケットの延設部分によってインナパネルの下面を支持することができ、これによりアウタパネルとインナパネルを接合して形成された閉断面の変形を防止することができる。
また、本発明において、好ましくは、サイドフレームは、キャブマウントブラケット周辺で車幅方向又は上下方向の少なくとも一方に傾斜するように屈曲する屈曲部を備え、キャブマウントブラケットは、その上部がアウタパネルの側面に接合された上側部材、その下部が車幅方向内側に延設部分が設けられた下側部材として形成され、これらの上側部材と下側部材とが接合されて形成されると共に、この延設部分がアウタパネルとインナパネルの下面に接合されている。
このように構成された本発明によれば、キャブマウントブラケットを上側部材上側部材と下側部材の2つの部材で形成するため、キャブマウントブラケットを屈曲部に設けるときに、キャブマウントブラケットの位置合わせを容易に行うことができる。
また、本発明において、好ましくは、キャブマウントブラケットの下側部材の延設部分は、車両前後方向のそれぞれの端部に設けられ、車幅方向に延び且つ下方に突出して形成された一対の突部を備える。
このように構成された本発明によれば、車幅方向に延び且つ下方に突出した突部を設けることによって、延設部分の車幅方向の剛性を高めることができる。
また、本発明において、好ましくは、キャブマウントブラケットの下側部材の車幅方向外側端部分の車両前後方向垂直断面は、上方に開口したコ字形状とされ、上側部材の車両前後方向垂直断面は、下側部材の開口上に架設されて下側部材と閉断面を形成するように下方に開口した略コ字形状とされ、さらに上側部材は、下側部材の車幅方向外側端部分から延設部分にかけて車幅方向に延びるようになっている。
このような構成によれば、下側部材の車幅方向外側端部分、及び上側部材によって閉断面を形成することができ、これにより、キャブマウントブラケットの車両前後方向の剛性を確保することができる。
また、本発明において、好ましくは、キャブマウントブラケットの延設部分の幅が車幅方向内方に向かって狭まるように形成され、さらに、車幅方向に延びて前記一対のサイドフレームを連結するクロスメンバを備え、このクロスメンバが、キャブマウントブラケットの延設部分の車幅方向内側端部を跨いでインナパネルの下面に接合されている。
このような構成によれば、延設部分の車幅方向内方の幅を狭めることによって、クロスメンバを取り付けるための領域を確保することができる。そしてこれにより、クロスメンバをインナパネルの下面にしっかりと固定することができ、クロスメンバによってフレーム構造の剛性をさらに高めることができる。
また、本発明において、好ましくは、キャブマウントブラケットの下側部材の車幅方向外側端部は、上側部材の車幅方向外側端部よりも車幅方向内側に位置し、車幅方向内方に湾曲したU字形状に切り欠かれて形成されている。
この構成によれば、上側部材から下側部材の車幅方向外側端部に伝達された力を分散させることができ、さらに下側部材の車幅方向の長さを短くすることができる。
また、本発明において、好ましくは、サイドフレームの屈曲部は、前輪近傍で後側下方に向けて屈曲しており、キャブマウントブラケットは、屈曲部にあるインナパネルの下面を支持するようになっている。
このような構成によれば、屈曲部にあるインナパネルの下面を支持することによって、キャブマウントブラケットを用いて屈曲部の下面が変形するのを防止することができる。
このように本発明によれば、自動車の前突時にサイドフレームの車幅方向断面のせん断変形を抑制することができる。
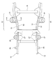
以下、図面を参照して、本発明の実施形態による自動車のフレーム構造について説明する。図1は、本発明の実施形態による自動車のフレーム構造を示す側面図であり、図2は、本実施形態による自動車のフレーム構造を示す平面図であり、図3は、サイドフレームの車幅方向断面を示す断面図である。尚、本実施形態では、自動車としてキャブトラックを例に挙げて説明をするが、本発明にかかる自動車のフレーム構造は、キャブトラック以外の自動車に適用することも可能である。
まず、図1及び図2に示すように、キャブトラック1は、エンジンルーム3、及び車室5を含むキャビン7と、キャビン7の車両前後方向後方にある荷台9とを備え、このキャビン7及び荷台9は、所定のラダーフレーム11に取り付けられている。このラダーフレーム11は、所定の間隔を隔てて設けられた2本のサイドフレーム13を、複数のクロスメンバ15で連結して構成される。
サイドフレーム13は、前輪21の車両前方から後輪23の車両後方まで車両前後方向に延び、その軸線に沿ってサスペンションタワー25と、サスペンションタワー25の前後に設けられたサスペンションアーム取付用ブラケット27と、キャビン7を支持するためのキャブマウントブラケット29,31,33と、荷台9を支持するための荷台マウントブラケット35,37とが設けられている。このサイドフレーム13は、前輪21近傍に、所定の方向に屈曲した屈曲部41を有する。この屈曲部41は、サイドフレーム13を車両前後方向の軸線に対して傾斜させて形成されている。具体的には、サイドフレーム13は、屈曲部41において車両の前方から後方に向かって車幅方向外方に傾斜し、且つ下方に傾斜している。これにより、車室5下側のサイドフレーム13間の幅が、前輪の位置でのサイドフレーム13間の幅よりも広く、且つ車室5下側のサイドフレーム13の高さ位置が、前輪21の位置でのサイドフレーム13の高さ位置よりも低くなっている。これにより、サイドフレーム13によって安定してキャビン7を支持することができ、且つ車室5の高さを確保することができるようになっている。
次に、図3に示すように、サイドフレーム13は、車幅方向内方に開口したコ字状断面のアウタパネル51と、車幅方向外方に開口したコ字状断面のインナパネル53とを有する。そしてサイドフレーム13は、アウタパネル51とインナパネル53の一部が重複するよう両者を接合して形成されており、閉断面を形成するようになっている。また、インナパネル53の内壁には、車両前後方向に延びるレインフォースメント55,57が取り付けられている。このレインフォースメント55,57は、インナパネル53の内壁に取り付けられており、サイドフレーム13の車幅方向の曲げ剛性を高めるようになっている。
また、サイドフレーム13の車両前側及び中央部には、キャビン7をサイドフレーム13に取り付けるための複数対のキャブマウントブラケット29,31,33が接合されており(図2参照)、これらキャブマウントブラケット29,31,33は、前輪21よりも車両前側、屈曲部41、及び車室5よりも車両後側にそれぞれ設けられている。本実施形態にかかる自動車のフレーム構造は、屈曲部41に設けられたキャブマウントブラケット31によってサイドフレーム13のせん断変形を防止するものであり、以下では、屈曲部41に設けられたキャブマウントブラケット31の構成について詳細に説明をする。
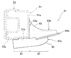
図4は本発明の実施形態にかかる自動車のフレーム構造の車両前方の底面図であり、図5は図4のA−A´断面を下側から見た断面斜視図である。また、図6は車幅方向外方から見たキャブマウントブラケット31の側面図であり、図7はキャブマウントブラケット31の底面図であり、図8は自動車のフレーム構造の車両前方の底面図である。
先ず、図4及び図5に示すように、キャブマウントブラケット31は、車両前後方向に延びるサイドフレーム13の前部に接合されており、その車両後方には、クロスメンバ15が設けられている。
次に、図6から図8に示すように、キャブマウントブラケット31は、その上部がアウタパネル51の車幅方向外側の側面51aに固定されて、車幅方向外方に延びるようになっている。さらにキャブマウントブラケット31は、その下部に車幅方向内方に延びる延設部分61を有する。そして、この延設部分61は、インナパネル53の下面53aに固定されており、キャブマウントブラケット31は、アウタパネル51の側面51aとインナパネル53の下面を連結して、インナパネル53を下側から支持するようになっている。そしてこのキャブマウントブラケット31は、上側部材63と、下側部材65を互いに接合して形成されており、キャブマウントブラケット31を複数の部材で形成することにより、キャブマウントブラケット31を屈曲部41に取り付けるときの位置合わせを容易にすることができる。
上側部材63は、車幅方向外方から見たときに下方に開口した略コ字形状を有する。そして、この上側部材63の車幅方向内方側端部63aも同様に略コ字形状断面を有し、アウタパネル51の側面51aに固定される。そして上側部材63は、アウタパネル51の側面51aから、車幅方向外方に延びる。そして、上側部材63の車幅方向中央部には水平面63bが形成されている。この水平面63bには、キャビン7を取り付けるときに使用するブッシュ(図示せず)が挿入される穴63cが設けられている。
下側部材65は、車幅方向内方に延びる延設部分61と、この延設部分61よりも車幅方向外方に形成され上側部材61と接合されるようになっている外方端部分67とによって構成される。
延設部分61は、アウタパネル51の側面51a付近から、インナパネル53の下面53aまで延びており、アウタパネル51の下面51b、及びインナパネル53の下面53aと接合されている。また、延設部分61は、その車両前後方向のそれぞれの端部に、一対の突部71を備える。この突部71は、下方に突出しており、延設部分61の車幅方向内側端部まで延びている。このように延設部分61に突部71を設けることにより、延設部分61の車幅方向の屈曲強度が増す。また、突部71の間には、突部71によって規定され車幅方向に延びる溝73が形成されており、この溝73の底部から突部表面までの距離は、車幅方向内方に向かって長くなるようになっている。
また、外方端部分67の車両前後方向垂直断面は、上方に開口したコ字形状とされ、アウタパネル51の側面51a付近から、車幅方向外方に向かって延びており、その端部67aが、上側部材63の車幅方向外側端部63dよりも車幅方向内側に位置する。また、外方端部分67の車両前後方向の壁部67b,67cは、それぞれ上側部材63の車両前後方向内壁63e,63fに接合されており、上側部材63と外方端部分67は、閉断面を形成するようになっている。また、外方端部分67の車幅方向外方の端部67aは、車幅方向内方に湾曲したU字形状に切り欠かれている。端部67aをU字形状とするとともに溝73の底部から突部71頂部までの距離を外方に向けて短くすることにより、ブッシュの装着を容易としつつ、上側部材63から端部67aの前後方向に伝達された力を分散させることができる。
次に、図7及び図8に示すように、上記のようなキャブマウントブラケット31は、その上部にある上側部材63が、アウタパネル51の側面51aに接合され、その下部にある下側部材65が、車幅方向内方に延びてアウタパネル51の下面51b、及びインナパネル53の下面53aに接合される。そして図7及び図8は、キャブマウントブラケット31が屈曲部41の下面に接合されおり、その車両後方には、車幅方向内方に延びるクロスメンバ15が設けられているのを示している。キャブマウントブラケット31の接合位置は、屈曲部41及びキャビン7の車室5の位置を考慮して決定される。すなわち上述のように屈曲部41は、車室5の高さを確保するために設けられているので、車室5の前部は屈曲部41の周辺に位置するようになる。そしてこのキャブマウントブラケット31は、車室5の前部を支持するような位置に配置され、図7に示すように屈曲部41に設けられてもよく、又は車室5の前部の位置に応じて屈曲部41の車両前後方向の位置に設けられてもよい。
次に、図9、及び図10を参照して、本発明の実施形態による自動車のフレーム構造の作用を説明する。ここで、図9は、従来の自動車のフレーム構造のサイドフレーム101及びこのサイドフレーム101の屈曲部に取り付けられたキャブマウントブラケット103を示す車幅方向断面図であり、図10は、本実施形態にかかる自動車のフレーム構造の車幅方向断面図である。
図9の状態(a)は、既存のフレーム構造のサイドフレーム101の通常の状態を示す。そしてこのフレーム構造の自動車が前突すると、サイドフレーム101の車両前後方向に圧縮力が作用する。そしてサイドフレーム101が圧縮されると、インナパネル105とアウタパネル107を接合して形成されている閉断面にせん断力が発生する。そしてこのときインナパネル105とアウタパネル107の接合部周辺に応力が集中して、図9の状態(b)に示すように、インナパネル105とアウタパネル107を接合して形成された閉断面がねじれ、インナパネル105が下方に歪むように変形する。
次に、図10に示すように、本実施形態にかかる自動車のフレーム構造では、インナパネル53とアウタパネル51によって形成されている閉断面にせん断力が発生して、インナパネル53が下方に変形しようとしても、インナパネル53の下面53aのアウタパネル51との接合部位よりも車幅方向内側の部位が、下側部材65によって支持されているため、閉断面の変形が抑制される。そして、下側部材65は、アウタパネル51の下面51b、及び上側部材63を介してアウタパネル51の側面51aに連結されているため、インナパネル53によって下方に押されても、下側部材65の脱落を抑制できる。また、下側部材65がインナパネル53の下面53aによって下方に押されても、下側部材65の延設部分61に突部71が設けられているため、下側部材65が車幅方向に対してせん断変形するのを抑制できるようになっている。
尚、本実施形態では、キャブマウントブラケット31は、屈曲部41周辺に設けられることとしたが、キャブマウントブラケット31の接合位置を、以下のようにすることで、更にサイドフレーム13の変形を防止することができる。
図11は、本実施形態にかかる自動車のフレーム構造の屈曲部41周辺を車幅方向外側から見た側面図である。図11に示すように、キャブマウントブラケット31の車両前方側端部が、サイドフレーム13の屈曲点Fよりも車両前方でサイドフレーム13に接合されていることが好ましい。ここでいう屈曲点Fとは、車両後方に向けて下側に傾斜したサイドフレーム13の下面が平坦になる箇所である。
このキャブマウントブラケット31が屈曲点Fよりも車両前方に位置するようなフレーム構造によれば、自動車の前突時に前輪21が後方に押されると、この前輪21がその車両後方に設けられたキャブマウントブラケット31に接触し、キャブマウントブラケット31も車両後方に押される。そしてキャブマウントブラケット31が車両後方に押されると、サイドフレーム13の屈曲点Fよりも前方にあるキャブマウントブラケット31の車両前方側端部が、インナパネル53の下面53aを押し上げることとなる。そしてキャブマウントブラケット31がインナパネル53の下面53aを押し上げることにより、サイドフレーム13のせん断変形をさらに抑制することができる。
次に、本発明の実施形態にかかる自動車のフレーム構造の変形例について、図12乃至図14を参照して説明する。ここで、図12は、変形例にかかるキャブマウントブラケットの底面図である。
図12に示すように、キャブマウントブラケット81の延設部分83の幅は、車幅方向内方に向かって狭まるようになっており、同様に突部85もキャブマウントブラケット81の内側に曲がって延びるようになっている。これにより、キャブマウントブラケット81の車幅方向内側端部81aの車両前後方向の長さは、中央部の車両前後方向の長さよりも短くなる。
図13は、変形例にかかる自動車のフレーム構造の車両前方の底面図であり、さらに図14は、図13のB−B´断面を下側からみた断面斜視図である。図13及び図14に示すように、上述のキャブマウントブラケット81は、屈曲部41周辺のサイドフレーム13の下面にそれぞれ設けられている。そしてサイドフレーム13の間には、これらサイドフレーム13を連結するクロスメンバ91が設けられている。
クロスメンバ91は、車幅方向端部にそれぞれ、切り欠き部93を備えており、インナパネル13の下面に接合されたときに、キャブマウントブラケット81の車幅方向内側端部81aを跨ぐようになっている。そしてキャブマウントブラケット81がインナパネル53の下面に取り付けられたときに、キャブマウントブラケット81の車幅方向内側端部81aが、クロスメンバ91の切り欠き部93に配置されるようになり、キャブマウントブラケット81とクロスメンバが重ならないようになっている。
このように、キャブマウントブラケット81の車幅方向内側端部81aの車両前後方向の長さを短くし、且つクロスメンバ91の端部に切り欠き部93を設けることによって、キャブマウントブラケット81が設けられている屈曲部41周辺にクロスメンバ91を容易に配置して、屈曲部41の強度を補強することができる。
本発明の実施形態による自動車のフレーム構造を示す側面図である。 本発明の実施形態による自動車のフレーム構造を示す平面図である。 本発明の実施形態におけるサイドフレームの車幅方向断面を示す断面図である。 本発明の実施形態による自動車のフレーム構造の車両前方の底面図である。 図4のA−A´断面を下側からみた断面斜視図である。 本発明の実施形態における車両前方から見たキャブマウントブラケットの正面図である。 本発明の実施形態における車幅方向外方から見たキャブマウントブラケットの側面図である。 本発明の実施形態におけるキャブマウントブラケットの底面図である。 従来の自動車のフレーム構造のサイドフレーム及びこのサイドフレームの屈曲部に取り付けられたキャブマウントブラケットを示す車幅方向断面図である。 本発明の実施形態による自動車のフレーム構造の車幅方向断面図である。 本発明の実施形態による自動車のフレーム構造の屈曲部周辺を車幅方向外側から見た側面図である。 本発明の実施形態の変形例によるキャブマウントブラケットの底面図である。 本発明の実施形態の変形例による自動車のフレーム構造の車両前方の底面図である。 図13のB−B´断面を下側からみた断面斜視図である。
符号の説明
7 キャビン
13 サイドフレーム
31,81 キャブマウントブラケット
41 屈曲部
51 アウタパネル
53 インナパネル
61 延設部分
63 上側部材
65 下側部材
71 突部
91 クロスメンバ

Claims (7)

  1. 車幅方向に離間して車両前後方向に延びる一対のサイドフレームであって、車幅方向内方に開口したコ字状断面のアウタパネルと車幅方向外方に開口したコ字状断面のインナパネルとを接合して形成された閉断面を有するサイドフレームと、
    前記サイドフレームの前部の車幅方向外側に設けられキャビンを支持するキャブマウントブラケットとを有し、
    前記キャブマウントブラケットは、その上部が前記アウタパネルの側面に接合され車幅方向外方に延び、その下部が前記アウタパネルの側面よりも車幅方向内方に延びた延設部分を有しこの延設部分が前記インナパネルの下面に接合されていること特徴とする自動車のフレーム構造。
  2. 前記サイドフレームは、前記キャブマウントブラケット周辺で車幅方向又は上下方向の少なくとも一方に傾斜するように屈曲する屈曲部を備え、
    前記キャブマウントブラケットは、その上部が前記アウタパネルの側面に接合された上側部材、その下部が車幅方向内側に延設部分が設けられた下側部材として形成され、これらの上側部材と下側部材とが接合されて形成されると共に、この延設部分が前記アウタパネルとインナパネルの下面に接合されている請求項1に記載の自動車のフレーム構造。
  3. 前記キャブマウントブラケットの下側部材の延設部分は、車両前後方向のそれぞれの端部に設けられ、車幅方向に延び且つ下方に突出して形成された一対の突部を備える請求項2に記載の自動車のフレーム構造。
  4. 前記キャブマウントブラケットの下側部材の車幅方向外側端部分の車両前後方向垂直断面は、上方に開口した略コ字形状とされ、
    前記上側部材の車両前後方向垂直断面は、下側部材の開口上に架設されて前記下側部材と閉断面を形成するように下方に開口したコ字形状とされ、
    さらに前記上側部材は、前記下側部材の車幅方向外側端部分から前記延設部分にかけて車幅方向に延びるようになっている請求項2又は請求項3に記載の自動車のフレーム構造。
  5. 前記キャブマウントブラケットの延設部分の幅が車幅方向内方に向かって狭まるように形成され、
    さらに、車幅方向に延びて前記一対のサイドフレームを連結するクロスメンバを備え、このクロスメンバが、前記キャブマウントブラケットの延設部分の車幅方向内側端部を跨いで前記インナパネルの下面に接合されている請求項1乃至請求項4の何れか1項に記載の自動車のフレーム構造。
  6. 前記キャブマウントブラケットの下側部材の車幅方向外側端部は、前記上側部材の車幅方向外側端部よりも車幅方向内側に位置し、車幅方向内方に湾曲したU字形状に切り欠かれて形成されている請求項2乃至請求項5の何れか1項に記載の自動車のフレーム構造。
  7. 前記サイドフレームの屈曲部は、前輪近傍で後側下方に向けて屈曲しており、
    前記キャブマウントブラケットは、前記屈曲部にある前記インナパネルの下面を支持するようになっている請求項2乃至請求項6の何れか1項に記載の自動車のフレーム構造。
JP2008213099A 2008-08-21 2008-08-21 自動車のフレーム構造 Expired - Fee Related JP5354154B2 (ja)

Priority Applications (5)

Application Number Priority Date Filing Date Title
JP2008213099A JP5354154B2 (ja) 2008-08-21 2008-08-21 自動車のフレーム構造
US12/473,898 US8002064B2 (en) 2008-08-21 2009-05-28 Frame structure of automotive vehicle
DE102009035219.8A DE102009035219B4 (de) 2008-08-21 2009-07-29 Rahmenstruktur eines Fahrzeugs und Verfahren zum Bereitstellen derselben
CN2009101709300A CN101654119B (zh) 2008-08-21 2009-08-21 汽车的车架结构
US12/708,489 US8141904B2 (en) 2008-08-21 2010-02-18 Energy absorbing structure for a vehicle

Applications Claiming Priority (1)

Application Number Priority Date Filing Date Title
JP2008213099A JP5354154B2 (ja) 2008-08-21 2008-08-21 自動車のフレーム構造

Publications (2)

Publication Number Publication Date
JP2010047114A true JP2010047114A (ja) 2010-03-04
JP5354154B2 JP5354154B2 (ja) 2013-11-27

Family

ID=41695675

Family Applications (1)

Application Number Title Priority Date Filing Date
JP2008213099A Expired - Fee Related JP5354154B2 (ja) 2008-08-21 2008-08-21 自動車のフレーム構造

Country Status (4)

Country Link
US (1) US8002064B2 (ja)
JP (1) JP5354154B2 (ja)
CN (1) CN101654119B (ja)
DE (1) DE102009035219B4 (ja)

Cited By (8)

* Cited by examiner, † Cited by third party
Publication number Priority date Publication date Assignee Title
JP2015166207A (ja) * 2014-03-03 2015-09-24 トヨタ自動車株式会社 車両骨格構造
JP2015214197A (ja) * 2014-05-08 2015-12-03 トヨタ自動車株式会社 車両前部構造
JP2016211568A (ja) * 2015-05-12 2016-12-15 ゼネラル・エレクトリック・カンパニイ 燃焼エンジンのベースフレームアセンブリ
JP2019534205A (ja) * 2016-10-31 2019-11-28 アピコ アマタ カンパニー リミテッド シャーシ上の連結点用強化部品およびその製造
JP2021098419A (ja) * 2019-12-20 2021-07-01 日野自動車株式会社 車両のフレーム構造
CN113635979A (zh) * 2021-08-21 2021-11-12 重庆长安汽车股份有限公司 一种货箱安装结构及车辆
JPWO2023100341A1 (ja) * 2021-12-03 2023-06-08
CN116981612A (zh) * 2021-03-19 2023-10-31 五十铃自动车株式会社 架结构

Families Citing this family (30)

* Cited by examiner, † Cited by third party
Publication number Priority date Publication date Assignee Title
US8141904B2 (en) * 2008-08-21 2012-03-27 Ford Global Technologies, Llc Energy absorbing structure for a vehicle
JP5354154B2 (ja) 2008-08-21 2013-11-27 マツダ株式会社 自動車のフレーム構造
JP5367152B2 (ja) * 2010-02-18 2013-12-11 フォード グローバル テクノロジーズ、リミテッド ライアビリティ カンパニー 車両の前面衝突エネルギー吸収構造
DE202011000731U1 (de) * 2011-03-30 2011-06-01 Schmitz Cargobull AG, 48341 Profilträger für ein Fahrzeugchassis und Nutzfahrzeugchassis mit einem solchen Profilträger
JP5827032B2 (ja) * 2011-04-28 2015-12-02 株式会社ヨロズ クロスメンバ
CN103213621B (zh) * 2013-04-28 2016-02-03 长城汽车股份有限公司 车身第二支撑和具有该车身第二支撑的车辆
CN103407494B (zh) * 2013-08-27 2016-01-27 长城汽车股份有限公司 用于车架的纵梁
JP5983583B2 (ja) * 2013-11-01 2016-08-31 トヨタ自動車株式会社 車両の骨格構造
JP6440736B2 (ja) * 2014-04-01 2018-12-19 深▲せん▼市智輪電動車駆動技術有限公司 電気自動車のフレームシステム
JP6449562B2 (ja) * 2014-06-13 2019-01-09 トヨタ自動車株式会社 車両用骨格構造
US9757825B2 (en) * 2014-06-27 2017-09-12 Ford Global Technologies, Llc Pickup box front sill, floor and headboard construction
KR101569355B1 (ko) 2014-10-28 2015-11-17 주식회사 포스코 어퍼암 및 쇽업소버 장착 브래킷 및 이를 포함하는 차량용 프레임
US9423093B1 (en) 2014-12-19 2016-08-23 Allyn Clark Under-vehicle ground effect system
JP6172179B2 (ja) * 2015-02-25 2017-08-02 マツダ株式会社 自動車の側部車体構造
CN106005018B (zh) * 2015-03-27 2018-03-20 本田技研工业株式会社 车身前部结构
JP6485259B2 (ja) * 2015-07-06 2019-03-20 トヨタ自動車株式会社 車両用フレームの接合構造
US9718353B2 (en) * 2015-09-01 2017-08-01 Ronald Scott Bandy Chassis for independent suspension system
CN105365887B (zh) * 2015-12-16 2017-10-10 上汽通用五菱汽车股份有限公司 一种三腔体多层焊接前纵梁
KR101855766B1 (ko) * 2016-04-28 2018-05-09 현대자동차 주식회사 엔진룸 보강유닛
US10011303B1 (en) * 2017-06-05 2018-07-03 GM Global Technology Operations LLC Vehicle frame, body, and cabin structure assembly
JP6816698B2 (ja) * 2017-10-16 2021-01-20 トヨタ自動車株式会社 サイドレールおよびサイドレールの製造方法
JP6852641B2 (ja) * 2017-10-16 2021-03-31 トヨタ自動車株式会社 サイドレールおよびサイドレールの製造方法
JP6624182B2 (ja) * 2017-11-16 2019-12-25 スズキ株式会社 車体構造
CN111976834A (zh) * 2019-05-22 2020-11-24 上海汽车集团股份有限公司 车辆及其前纵梁
JP2021004005A (ja) * 2019-06-27 2021-01-14 いすゞ自動車株式会社 車両用ラダーフレーム
JP7205404B2 (ja) 2019-06-28 2023-01-17 トヨタ自動車株式会社 車両構造
JP6923035B1 (ja) * 2020-04-02 2021-08-18 トヨタ自動車株式会社 車両骨格構造
US11648989B2 (en) 2021-02-19 2023-05-16 Bendix Commercial Vehicle Systems Llc Heavy-duty vehicle frame rail clamp on mounting bracket, and method of installing the same
USD1023848S1 (en) * 2022-09-07 2024-04-23 Traxxas, L.P. Model vehicle chassis rail
USD1051246S1 (en) 2022-09-07 2024-11-12 Traxxas, L.P. Model vehicle platform assembly

Citations (5)

* Cited by examiner, † Cited by third party
Publication number Priority date Publication date Assignee Title
JPS6246779A (ja) * 1985-08-26 1987-02-28 Nissan Motor Co Ltd 自動車のキヤブマウント構造
JPS6422530U (ja) * 1987-07-30 1989-02-06
JP2003252235A (ja) * 2002-03-05 2003-09-10 Isuzu Motors Ltd サイドメンバとクロスメンバとの連結構造
JP2005306329A (ja) * 2004-04-26 2005-11-04 Mitsubishi Motors Corp 牽引フック取付構造
JP2008094135A (ja) * 2006-10-06 2008-04-24 Toyota Motor Corp 車両のボデー支持構造

Family Cites Families (44)

* Cited by examiner, † Cited by third party
Publication number Priority date Publication date Assignee Title
US1552702A (en) * 1921-03-02 1925-09-08 Clarence R Irish Automobile body support
US1514981A (en) * 1923-07-09 1924-11-11 Merville Blaise Francois Felix Mounting of motor-car bodies on their chassis
US1652357A (en) * 1923-11-06 1927-12-13 William D Harper Vehicle-body support
US1737177A (en) * 1928-01-24 1929-11-26 Int Motor Co Mounting for bus bodies
US1982105A (en) * 1933-05-26 1934-11-27 Studebaker Corp Vehicle construction
US2136122A (en) * 1935-03-21 1938-11-08 Midland Steel Prod Co Chassis side rail
US2384096A (en) * 1940-11-14 1945-09-04 Nash Kelvinator Corp Body mount
US2403145A (en) 1941-07-17 1946-07-02 Budd Edward G Mfg Co Wheel and motor suspension, especially for automobiles
BE471188A (ja) * 1946-02-14
US2769656A (en) * 1953-07-31 1956-11-06 Int Harvester Co Vehicle cab and front end mounting
US3149856A (en) * 1959-08-17 1964-09-22 Smith Corp A O Motor vehicle having increased ground clearance level floor space
US3101809A (en) * 1961-10-06 1963-08-27 Int Harvester Co Vehicle cab mounting means
US3554596A (en) * 1969-02-06 1971-01-12 White Motor Corp Cab support
DE2757784C2 (de) * 1976-12-27 1984-12-13 Toyota Shatai K.K., Kariya, Aichi Vorrichtung zum Unterdrücken von Schwingungen in einem Fahrzeug
US5149132A (en) * 1991-02-04 1992-09-22 A. O. Smith Corporation Split rear truck frame
JPH0589159U (ja) 1992-05-09 1993-12-03 マツダ株式会社 車両のサスペンションクロスメンバー構造
JPH0699849A (ja) * 1992-09-18 1994-04-12 Nissan Motor Co Ltd 自動車のボデーマウント構造
JP2842102B2 (ja) 1992-10-16 1998-12-24 三菱自動車エンジニアリング株式会社 フレーム補強構造
JPH06329049A (ja) * 1993-05-21 1994-11-29 Nissan Motor Co Ltd フレーム型車両のキャブマウント部構造
US5561902A (en) 1994-09-28 1996-10-08 Cosma International Inc. Method of manufacturing a ladder frame assembly for a motor vehicle
JP3381444B2 (ja) 1995-03-03 2003-02-24 日産自動車株式会社 車体の強度部材構造
US5915727A (en) 1996-05-31 1999-06-29 Dana Corporation Mounting structure for vehicle frame assembly
US6428046B1 (en) 1997-10-17 2002-08-06 The Budd Company Front cradle for a vehicle
US5897139A (en) 1998-02-05 1999-04-27 Chrysler Corporation Front suspension casting
JP2000272537A (ja) * 1999-03-29 2000-10-03 Isuzu Motors Ltd 車両のシャシフレーム衝突安全装置
US6439608B1 (en) * 1999-08-31 2002-08-27 Dana Corporation Bracket and side rail structure for supporting a steering gear on a vehicle frame assembly
US6398262B1 (en) 2000-09-26 2002-06-04 Dana Corporation Modular subframe assembly for a motor vehicle
US6866295B2 (en) 2000-12-28 2005-03-15 Dana Corporation Modular cast independent front suspension subframe
JP2002205662A (ja) 2001-01-11 2002-07-23 Toyota Auto Body Co Ltd キャブオーバ型車のフレーム構造
US6733021B1 (en) 2001-10-26 2004-05-11 Dana Corporation Vehicle subframe mounting
DE10158107C1 (de) 2001-11-27 2003-02-27 Daimler Chrysler Ag Modulartiges Fahrgestell für Nutzfahrzeuge
DE10219275B4 (de) 2002-04-30 2009-09-10 Daimler Ag Fahrgestell für ein Nutzfahrzeug
GB0214773D0 (en) 2002-06-26 2002-08-07 Ford Global Tech Inc Vehicle chassis
US6733040B1 (en) * 2002-07-02 2004-05-11 Dana Corporation Closed channel structural member having internal reinforcement for vehicle body and frame assembly
US6866285B1 (en) * 2003-11-25 2005-03-15 Trailer hitch and draw bar system
CN100482518C (zh) * 2004-10-13 2009-04-29 日产自动车株式会社 车辆的车架结构
DE102006009300A1 (de) 2006-03-01 2007-09-06 Daimlerchrysler Ag Einzelradaufhängung für eine Hochlenkerachse
EP1834862B1 (en) 2006-03-15 2010-05-05 Mazda Motor Corporation Vehicle front body structure
JP4233053B2 (ja) 2006-04-27 2009-03-04 本田技研工業株式会社 車体前部構造
US7862085B2 (en) 2006-11-28 2011-01-04 Gm Global Technologies Operations, Inc. Three-dimensional vehicle frame
US7802816B2 (en) 2008-05-27 2010-09-28 Honda Motor Company Ltd. Control arm support brackets and vehicles using same
US7762619B2 (en) 2008-07-29 2010-07-27 Ford Global Technologies, Llc Sequential crash hinges in automotive frame rails
US8141904B2 (en) * 2008-08-21 2012-03-27 Ford Global Technologies, Llc Energy absorbing structure for a vehicle
JP5354154B2 (ja) 2008-08-21 2013-11-27 マツダ株式会社 自動車のフレーム構造

Patent Citations (5)

* Cited by examiner, † Cited by third party
Publication number Priority date Publication date Assignee Title
JPS6246779A (ja) * 1985-08-26 1987-02-28 Nissan Motor Co Ltd 自動車のキヤブマウント構造
JPS6422530U (ja) * 1987-07-30 1989-02-06
JP2003252235A (ja) * 2002-03-05 2003-09-10 Isuzu Motors Ltd サイドメンバとクロスメンバとの連結構造
JP2005306329A (ja) * 2004-04-26 2005-11-04 Mitsubishi Motors Corp 牽引フック取付構造
JP2008094135A (ja) * 2006-10-06 2008-04-24 Toyota Motor Corp 車両のボデー支持構造

Cited By (13)

* Cited by examiner, † Cited by third party
Publication number Priority date Publication date Assignee Title
US9394003B2 (en) 2014-03-03 2016-07-19 Toyota Jidosha Kabushiki Kaisha Vehicle framework structure
JP2015166207A (ja) * 2014-03-03 2015-09-24 トヨタ自動車株式会社 車両骨格構造
JP2015214197A (ja) * 2014-05-08 2015-12-03 トヨタ自動車株式会社 車両前部構造
JP2016211568A (ja) * 2015-05-12 2016-12-15 ゼネラル・エレクトリック・カンパニイ 燃焼エンジンのベースフレームアセンブリ
JP2019534205A (ja) * 2016-10-31 2019-11-28 アピコ アマタ カンパニー リミテッド シャーシ上の連結点用強化部品およびその製造
JP2021098419A (ja) * 2019-12-20 2021-07-01 日野自動車株式会社 車両のフレーム構造
JP7381327B2 (ja) 2019-12-20 2023-11-15 日野自動車株式会社 車両のフレーム構造
CN116981612A (zh) * 2021-03-19 2023-10-31 五十铃自动车株式会社 架结构
CN113635979A (zh) * 2021-08-21 2021-11-12 重庆长安汽车股份有限公司 一种货箱安装结构及车辆
CN113635979B (zh) * 2021-08-21 2022-11-04 重庆长安汽车股份有限公司 一种货箱安装结构及车辆
WO2023100341A1 (ja) * 2021-12-03 2023-06-08 三菱自動車工業株式会社 車体フレームの前部構造
JPWO2023100341A1 (ja) * 2021-12-03 2023-06-08
JP7790445B2 (ja) 2021-12-03 2025-12-23 三菱自動車工業株式会社 車体フレームの前部構造

Also Published As

Publication number Publication date
JP5354154B2 (ja) 2013-11-27
DE102009035219B4 (de) 2017-11-16
DE102009035219A8 (de) 2010-08-12
DE102009035219A1 (de) 2010-04-08
US8002064B2 (en) 2011-08-23
CN101654119B (zh) 2013-05-08
CN101654119A (zh) 2010-02-24
US20100045072A1 (en) 2010-02-25

Similar Documents

Publication Publication Date Title
JP5354154B2 (ja) 自動車のフレーム構造
JP4654917B2 (ja) 車体後部構造
JP6090128B2 (ja) 車両の前部車体構造
JP5352682B2 (ja) 車体フロア構造
CN109204572B (zh) 汽车的下部车体构造
US20150321700A1 (en) Vehicle front section structure
CN108725588B (zh) 车身底板构造
CN103987615A (zh) 汽车的车身前部结构
JP5321334B2 (ja) 車両のカウル部構造
CN100408409C (zh) 汽车下部车身结构
JP2009280106A (ja) 車両用フレーム構造
US12448051B2 (en) Pillar construction
JP4919144B2 (ja) 車両の乗降用ステップ取付構造
JP2008137483A (ja) 車体前部構造
JP4133723B2 (ja) 自動車の前部車体構造
JP5402010B2 (ja) 車両の下部車体構造
JP2008302911A (ja) 車体構造
JP6062294B2 (ja) オープンカーの前部車体構造
CN112789213A (zh) 副车架构造
JP5546898B2 (ja) 自動車の前部車体構造
JP5496727B2 (ja) 自動車の前部車体構造
JP5000219B2 (ja) 車両のサイドシル構造
JP7544287B2 (ja) 車体フレーム
JP4204362B2 (ja) キャブの変形防止構造
JP4798437B2 (ja) 車体前部構造

Legal Events

Date Code Title Description
A621 Written request for application examination

Free format text: JAPANESE INTERMEDIATE CODE: A621

Effective date: 20110620

A521 Written amendment

Free format text: JAPANESE INTERMEDIATE CODE: A523

Effective date: 20120618

A131 Notification of reasons for refusal

Free format text: JAPANESE INTERMEDIATE CODE: A131

Effective date: 20121025

A977 Report on retrieval

Free format text: JAPANESE INTERMEDIATE CODE: A971007

Effective date: 20121025

A521 Written amendment

Free format text: JAPANESE INTERMEDIATE CODE: A523

Effective date: 20121221

A131 Notification of reasons for refusal

Free format text: JAPANESE INTERMEDIATE CODE: A131

Effective date: 20130410

A521 Written amendment

Free format text: JAPANESE INTERMEDIATE CODE: A523

Effective date: 20130606

TRDD Decision of grant or rejection written
A01 Written decision to grant a patent or to grant a registration (utility model)

Free format text: JAPANESE INTERMEDIATE CODE: A01

Effective date: 20130731

A61 First payment of annual fees (during grant procedure)

Free format text: JAPANESE INTERMEDIATE CODE: A61

Effective date: 20130813

R150 Certificate of patent or registration of utility model

Ref document number: 5354154

Country of ref document: JP

Free format text: JAPANESE INTERMEDIATE CODE: R150

Free format text: JAPANESE INTERMEDIATE CODE: R150

LAPS Cancellation because of no payment of annual fees