JP2010024006A - 画像形成装置 - Google Patents

画像形成装置 Download PDF

Info

Publication number
JP2010024006A
JP2010024006A JP2008189178A JP2008189178A JP2010024006A JP 2010024006 A JP2010024006 A JP 2010024006A JP 2008189178 A JP2008189178 A JP 2008189178A JP 2008189178 A JP2008189178 A JP 2008189178A JP 2010024006 A JP2010024006 A JP 2010024006A
Authority
JP
Japan
Prior art keywords
sheet
paper
image forming
path
conveyance
Prior art date
Legal status (The legal status is an assumption and is not a legal conclusion. Google has not performed a legal analysis and makes no representation as to the accuracy of the status listed.)
Granted
Application number
JP2008189178A
Other languages
English (en)
Other versions
JP5256902B2 (ja
Inventor
Seiichi Kogure
成一 小暮
Yasumasa Mihara
康正 三原
Current Assignee (The listed assignees may be inaccurate. Google has not performed a legal analysis and makes no representation or warranty as to the accuracy of the list.)
Ricoh Co Ltd
Original Assignee
Ricoh Co Ltd
Priority date (The priority date is an assumption and is not a legal conclusion. Google has not performed a legal analysis and makes no representation as to the accuracy of the date listed.)
Filing date
Publication date
Application filed by Ricoh Co Ltd filed Critical Ricoh Co Ltd
Priority to JP2008189178A priority Critical patent/JP5256902B2/ja
Priority to US12/460,633 priority patent/US8380096B2/en
Publication of JP2010024006A publication Critical patent/JP2010024006A/ja
Application granted granted Critical
Publication of JP5256902B2 publication Critical patent/JP5256902B2/ja
Active legal-status Critical Current
Anticipated expiration legal-status Critical

Links

Images

Classifications

    • BPERFORMING OPERATIONS; TRANSPORTING
    • B41PRINTING; LINING MACHINES; TYPEWRITERS; STAMPS
    • B41JTYPEWRITERS; SELECTIVE PRINTING MECHANISMS, i.e. MECHANISMS PRINTING OTHERWISE THAN FROM A FORME; CORRECTION OF TYPOGRAPHICAL ERRORS
    • B41J13/00Devices or arrangements of selective printing mechanisms, e.g. ink-jet printers or thermal printers, specially adapted for supporting or handling copy material in short lengths, e.g. sheets
    • B41J13/0009Devices or arrangements of selective printing mechanisms, e.g. ink-jet printers or thermal printers, specially adapted for supporting or handling copy material in short lengths, e.g. sheets control of the transport of the copy material
    • B41J13/0045Devices or arrangements of selective printing mechanisms, e.g. ink-jet printers or thermal printers, specially adapted for supporting or handling copy material in short lengths, e.g. sheets control of the transport of the copy material concerning sheet refeed sections of automatic paper handling systems, e.g. intermediate stackers
    • BPERFORMING OPERATIONS; TRANSPORTING
    • B41PRINTING; LINING MACHINES; TYPEWRITERS; STAMPS
    • B41JTYPEWRITERS; SELECTIVE PRINTING MECHANISMS, i.e. MECHANISMS PRINTING OTHERWISE THAN FROM A FORME; CORRECTION OF TYPOGRAPHICAL ERRORS
    • B41J13/00Devices or arrangements of selective printing mechanisms, e.g. ink-jet printers or thermal printers, specially adapted for supporting or handling copy material in short lengths, e.g. sheets
    • B41J13/0063Handling thick cut sheets, e.g. greeting cards or postcards, larger than credit cards, e.g. using means for enabling or facilitating the conveyance of thick sheets

Landscapes

  • Delivering By Means Of Belts And Rollers (AREA)
  • Ink Jet (AREA)
  • Control Or Security For Electrophotography (AREA)

Abstract

【課題】ハガキなどのコシの強い用紙を反転部を通じて搬送するときに回転ローラ対から用紙後端が抜けた際のばたつきによる搬送位置ずれが生じて画像品質が低下する。
【解決手段】用紙12の後端12aが挟持ローラ22と搬送ローラ27とのニップ部を通過し、第2の用紙センサ71によって用紙12の後端12aを検知した後、搬送ローラ27を逆転駆動して用紙12を矢示B方向に搬送して、引き戻し距離内に反転部(反転経路)及び回転ローラ対を有さない引き戻し経路80内に用紙12を引き戻し、その後、画像形成位置に向けて用紙12を搬送する。
【選択図】図9

Description

本発明は画像形成装置に関し、特に用紙を反転して搬送する搬送経路を有する画像形成装置に関する。
プリンタ、ファクシミリ、複写装置、プロッタ、これらの複合機等の画像形成装置として、例えばインク液滴を吐出する記録ヘッドを用いた液体吐出記録方式の画像形成装置としてインクジェット記録装置などが知られている。この液体吐出記録方式の画像形成装置は、記録ヘッドからインク滴を、搬送される用紙に対して吐出して、画像形成(記録、印字、印写、印刷も同義語で使用する。)を行なうものであり、記録ヘッドが主走査方向に移動しながら液滴を吐出して画像を形成するシリアル型画像形成装置と、記録ヘッドが移動しない状態で液滴を吐出して画像を形成するライン型ヘッドを用いるライン型画像形成装置がある。
なお、本願において、液体吐出記録方式の「画像形成装置」は、紙、糸、繊維、布帛、皮革、金属、プラスチック、ガラス、木材、セラミックス等の媒体にインクを着弾させて画像形成を行う装置を意味し、また、「画像形成」とは、文字や図形等の意味を持つ画像を媒体に対して付与することだけでなく、パターン等の意味を持たない画像を媒体に付与すること(単に液滴を媒体に着弾させること)をも意味する。また、「インク」とは、インクと称されるものに限らず、記録液、定着処理液、液体などと称されるものなど、画像形成を行うことができるすべての液体の総称として用いる。また、「用紙」とは、材質を紙に限定するものではなく、上述したOHPシート、布なども含み、インク滴が付着されるものの意味であり、被記録媒体、記録媒体、記録紙、記録用紙などと称されるものを含むものの総称として用いる。
このような液体吐出方式の画像形成装置においては、高画質化を図るためには記録ヘッドから吐出する液滴の着弾位置精度を高める必要があり、液滴を吐出する記録ヘッドの構造とともに、用紙も高精度で搬送し、記録ヘッドによる画像形成位置における用紙の平面性、記録ヘッドと用紙間の距離を精度よく確保する必要がある。
用紙の搬送精度や平面性を高めるために、用紙を搬送ベルトに吸着して搬送し、用紙と記録ヘッドとの距離を一定に保ち、かつ用紙の送りを正確に制御して用紙の位置ずれを防止し、用紙の浮きを防止して、用紙と記録ヘッドとの当たりによるジャムや汚れを防止することが行われている。
ところで、画像形成装置において、用紙を記録ヘッド(画像形成手段)による画像形成位置に搬送する搬送経路として、用紙を給紙して略90°用紙搬送方向を転換し、給紙手段からの給紙方向と画像形成位置における用紙の搬送方向が反対になるように、用紙を反転して搬送する搬送経路を備えるものがある。
特開2006−027799号公報
このような反転部(反転経路)を有している搬送経路を通じて用紙を搬送する場合、ハガキなどの厚さが厚い厚紙やコシの強い用紙(これを「厚紙」という。)を搬送するとき、反転部の手前(上流側)に設けられたローラ対を抜ける時(ローラのニップを抜ける時)に厚紙が跳ねて送り精度が乱れ、画像品質が低下することがある。
そこで、従来、特許文献2には厚紙記録媒体を搬送するとき、該厚紙記録媒体の搬送方向後端部が搬送ローラとピンチローラによる挟持から抜ける際にピンチローラをリリースすることで、記録媒体のずれ自体を抑制し、メカ構成に起因する着弾位置のずれによる突発的なずれを抑制することが記載されている。同様な構成として特許文献3もある。
特開2007−152792号公報 特開2005−335911号公報
その他、厚紙の搬送に関しては専用の給紙搬送経路を設けることなども行われる。
特開平10−297038号公報
しかしながら、上述した特許文献2に記載されているように用紙が反転部において搬送ローラとピンチローラによる挟持などのローラ対から抜ける際にローラ対をリリースする構成にあっては、機構が複雑になり、また、リリースするタイミングが厳しく品質が安定しないなどの課題がある。また、ハガキなどのコシの強い用紙の場合、ローラ対から抜けた際の位置ずれが大きくなり、画像への影響が小さくないという課題もある。
本発明は上記の課題に鑑みてなされたものであり、簡単な構成で、用紙が反転部手前の回転ローラ対を抜けるときに生じる搬送送り精度の低下を低減して画像品質を向上することを目的とする。
上記の課題を解決するため、本発明に係る画像形成装置は、
画像形成手段による画像形成位置に対して用紙を反転して搬送する搬送経路と、
前記搬送経路内で、前記用紙の反転が完了するよりも前の位置で前記用紙を挟持する回転ローラ対と、
前記搬送経路の前記回転ローラ対よりも下流側の位置に臨み、前記用紙が引き戻される引き戻し経路と、
前記搬送経路で前記用紙を給紙搬送するとき、前記用紙の後端が前記回転ローラ対を抜けた後、前記用紙を前記引き戻し経路内に一旦引き戻す制御をする搬送制御手段と、を備え、
前記引き戻し経路内には前記用紙が引き戻される範囲内に前記用紙に搬送力を与えるローラ対が設けられていない
構成とした。
ここで、前記引き戻し経路が、両面印刷時に前記用紙を再給紙する両面搬送経路の一部又は前記用紙を手差し給紙する手差し給紙経路の少なくとも一部である構成とできる。
また、前記搬送制御手段は、前記用紙の厚み、前記用紙の種類、前記用紙の長さ、前記用紙の長さ及び幅、前記用紙を搬送するときの負荷、環境温度、環境温度の履歴、日時、地域の少なくともいずれかに基づいて、前記用紙を引き戻し経路に引き戻す制御をする構成とできる。
また、前記搬送制御手段は、前記用紙を前記引き戻し経路内に引き戻した後前記画像形成位置に前記用紙を搬送するときの搬送速度を、前記用紙を前記引き戻し経路内に引き戻さないときの搬送速度よりも遅くする構成とできる。
また、前記搬送制御手段は、前記用紙を前記引き戻し経路内に引き戻した後前記画像形成位置に前記用紙を搬送するときの搬送速度の加速度を、前記用紙を前記引き戻し経路内に引き戻さないときの搬送速度の加速度よりも小さくする構成とできる。
本発明に係る画像形成装置によれば、画像形成手段による画像形成位置に対して用紙を反転して搬送する搬送経路と、搬送経路内で、用紙の反転が完了するよりも前の位置で用紙を挟持する回転ローラ対と、搬送経路の回転ローラ対よりも下流側の位置に臨み、用紙が引き戻される引き戻し経路と、搬送経路で用紙を給紙搬送するとき、用紙の後端が回転ローラ対を抜けた後、用紙を引き戻し経路内に一旦引き戻す制御をする搬送制御手段と、を備え、引き戻し経路内には用紙が引き戻される範囲内に用紙に搬送力を与えるローラ対が設けられていない構成としたので、簡単な構成で、用紙が反転部手前の回転ローラ対を抜けるときに生じる搬送送り精度の低下を低減して画像品質を向上することができる。
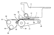
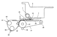
以下、本発明の実施の形態について添付図面を参照して説明する。先ず、本発明に係る画像形成装置の一例について図1及び図2を参照して説明する。なお、図1は同画像形成装置の機構部の全体構成を説明する側面説明図、図2は同機構部の平面説明図である。
この画像形成装置は、図示しない左右の側板に横架したガイド部材であるガイドロッド1とガイドレール2とでキャリッジ3を主走査方向に摺動自在に保持し、主走査モータ4で駆動プーリ6Aと従動プーリ6Bとの間に張架したタイミングベルト5を介して主走査方向に移動走査する。
このキャリッジ3には、例えば、それぞれイエロー(Y)、シアン(C)、マゼンタ(M)、ブラック(K)のインク滴を吐出する液体吐出ヘッドからなる画像形成手段としての4個の記録ヘッド7y、7c、7m、7k(色を区別しないときは「記録ヘッド7」という。)を複数のインク吐出口(ノズル)を主走査方向と交叉する方向に配列し、インク滴吐出方向を下方に向けて装着している。
記録ヘッド7を構成する液体吐出ヘッドとしては、圧電素子などの圧電アクチュエータ、発熱抵抗体などの電気熱変換素子を用いて液体の膜沸騰による相変化を利用するサーマルアクチュエータ、温度変化による金属相変化を用いる形状記憶合金アクチュエータ、静電力を用いる静電アクチュエータなどを、液滴を吐出するための圧力を発生する圧力発生手段として備えたものなどを使用できる。また、各色毎に独立したヘッド構成に限るものではなく、複数の色の液滴を吐出する複数のノズルで構成されるノズル列を有する1又は複数の液体吐出ヘッドで構成することもできる。
また、キャリッジ3には、記録ヘッド7に各色のインクを供給するための各色のサブタンク8を搭載している。このサブタンク8にはインク供給チューブ9を介して図示しないメインタンク(インクカートリッジ)からインクが補充供給される。
一方、給紙カセット10などの用紙積載部(圧板)11上に積載した用紙12を給紙するための給紙部として、用紙積載部11から用紙12を1枚ずつ分離給送する半月コロ(給紙ローラ)13及び給紙ローラ13に対向し、摩擦係数の大きな材質からなる分離パッド14を備え、この分離パッド14は給紙ローラ13側に付勢されている。
そして、この給紙部から給紙された用紙12を記録ヘッド7の下方側で搬送するため、用紙12を静電吸着して搬送するための搬送ベルト21と、給紙部からガイド15を介して送られる用紙12を搬送ベルト21との間で挟んで搬送する挟持ローラ(レジストローラ、カウンタローラともいう。)22と、略鉛直上方に送られる用紙12を略90°方向転換させ、給紙方向に対して反転させる方向に搬送する搬送ベルト21上に倣わせる搬送ガイド23と、押さえ部材24で搬送ベルト21側に付勢された押圧ローラ25とを備えている。
ここで、用紙12を反転する反転部(反転経路)は搬送ベルト21を掛け回している搬送ローラ27の周面で構成され、挟持ローラ22は用紙12が搬送ローラ27によって反転が完了する位置よりも上流側(手前)に配置されており、搬送ローラ27と挟持ローラ22にて回転ローラ対を構成している。また、搬送ベルト21表面を帯電させるための帯電手段である帯電ローラ26を備えている。
搬送ベルト21は、無端状ベルトであり、搬送ローラ27とテンションローラ28との間に掛け渡されて、副走査モータ31からタイミングベルト32及びタイミングローラ33を介して搬送ローラ27が回転されることで、ベルト搬送方向(副走査方向)に周回するように構成している。なお、搬送ベルト21の裏面側には記録ヘッド7による画像形成領域に対応してガイド部材29を配置している。また、帯電ローラ26は、搬送ベルト21の表層に接触し、搬送ベルト21の回動に従動して回転するように配置されている。
ここで、用紙12を反転する反転部(反転経路)は搬送ベルト21を掛け回している搬送ローラ27の周面及びこれに対向する部材で構成され、挟持ローラ22は用紙12が搬送ローラ27によって反転が完了する位置よりも上流側(手前)に配置されており、搬送ローラ27と挟持ローラ22にて回転ローラ対を構成している。
また、図2に示すように、搬送ローラ27の軸にはエンコーダホイール34を取り付け、このエンコーダホイール34を読取るエンコーダセンサ35を設けて、これらのエンコーダホイール34及びエンコーダセンサ35によってロータリエンコーダ36を構成している。また、図1に示すように、キャリッジ3の主走査方向に沿ってエンコーダスケール42を配置し、キャリッジ3にエンコーダスケール42を読取るエンコーダセンサ43を設けて、これらのエンコーダスケール42及びエンコーダセンサ43によってリニアエンコーダ44を構成している。
また、キャリッジ3の主走査方向の一側部には用紙12の先端などを検知する第1の用紙センサ70を取り付けている。さらに、搬送ローラ21に対向し、押圧ローラ25よりも用紙搬送方向上流側で用紙12の後端を検知する第2の用紙センサ71を配置している。
さらに、記録ヘッド7で記録された用紙12を排紙するための排紙部として、搬送ベルト21から用紙12を分離するための分離爪51と、排紙ローラ52及び排紙コロ(拍車)53と、排紙される用紙12をストックする排紙トレイ54とを備えている。
また、背部には両面給紙ユニット61が着脱自在に装着されている。この両面給紙ユニット61は搬送ベルト21の逆方向回転で戻される用紙12を取り込んで反転させて再度挟持ローラ22と搬送ベルト21との間に給紙する。
この両面給紙ユニット61の用紙取り込み位置は、用紙12の反転が完了した位置と略同じ位置であり、少なくとも搬送経路の回転ローラ対(搬送ローラ27と挟持ローラ22とのニップ部)よりも用紙搬送方向下流側の位置に臨んでいる。ここでは、後述するように、両面給紙ユニット61への用紙取り込み経路を用紙が引き戻される引き戻し経路として使用する。
さらに、図2に示すように、キャリッジ3の走査方向の一方側の非印字領域には、記録ヘッド7のノズルの状態を維持し、回復するための維持回復機構56を配置している。この維持回復機56は、記録ヘッド7の各ノズル面をキャピングするための各キャップ57と、ノズル面をワイピングするためのブレード部材であるワイパーブレード58と、増粘した記録液を排出するために記録に寄与しない液滴を吐出させる空吐出を行うときの液滴を受ける空吐出受け59などを備えている。
このように構成した画像形成装置において、給紙部から用紙12が1枚ずつ分離給紙され、略鉛直上方に給紙された用紙12はガイド15で案内され、搬送ベルト21と挟持ローラ22との間に挟まれて搬送され、更に先端を搬送ガイド23で案内されて押圧ローラ25で搬送ベルト21に押し付けられ、略90°搬送方向を転換される(反転される)。
このとき、図示しない制御部によってACバイアス供給部から帯電ローラ26に対して正負が交互に繰り返す交番電圧を印加して、搬送ベルト21を交番する帯電電圧パターン、すなわち、周回方向である副走査方向に、プラスとマイナスが交互に所定の幅で繰り返されるパターンで帯電させる。この帯電した搬送ベルト21上に用紙12が給送されると、用紙12が搬送ベルト21に静電力で吸着され、通常の用紙の場合(引き戻し搬送動作を行わない場合)には、そのまま搬送ベルト21の周回移動によって用紙12が記録ヘッド7による画像形成位置に向けて副走査方向に搬送される。
そこで、キャリッジ3を往路及び復路方向に移動させながら画像信号に応じて記録ヘッド7を駆動することにより、停止している用紙12にインク滴を吐出して1行分を記録し、用紙12を所定量搬送後、次の行の記録を行う。記録終了信号又は用紙12の後端が記録領域に到達した信号を受けることにより、記録動作を終了して、用紙12を排紙トレイ54に排紙する。
また、両面印刷の場合には、表面(最初に印刷する面)の記録が終了したときに、搬送ベルト21を逆回転させることで、記録済みの用紙12を両面給紙ユニット61内に送り込み、第1反転ローラ62、第2反転ローラ63、押圧ローラ64などで構成される反転経路を通じて用紙12を反転させて(裏面が印刷面となる状態にして)再度挟持ローラ22と搬送ベルト21との間に給紙し、タイミング制御を行って、前述したと同様に搬送ベル21上に搬送して裏面に記録を行った後、排紙トレイ54に排紙する
また、印字(記録)待機中にはキャリッジ3は維持回復機構55側に移動されて、キャップ57で記録ヘッド7のノズル面がキャッピングされて、ノズルを湿潤状態に保つことによりインク乾燥による吐出不良を防止する。また、キャップ57で記録ヘッド7をキャッピングした状態でノズルから記録液を吸引し、増粘した記録液や気泡を排出する回復動作を行い、この回復動作によって記録ヘッド7のノズル面に付着したインクを清掃除去するためにワイパーブレード58でワイピングを行う。また、記録開始前、記録途中などに記録と関係しないインクを吐出する空吐出動作を行う。これによって、記録ヘッド7の安定した吐出性能を維持する。
次に、この画像形成装置の制御部の概要について図3のブロック図を参照して説明する。
この制御部200は、本発明に係る搬送制御手段を兼ねた、この装置全体の制御を司るCPU211と、CPU211が実行する本発明に係るプログラムを含むプログラム、その他の固定データを格納するROM202と、画像データ等を一時格納するRAM203と、装置の電源が遮断されている間もデータを保持するための書き換え可能な不揮発性メモリ204と、画像データに対する各種信号処理、並び替え等を行う画像処理やその他装置全体を制御するための入出力信号を処理するASIC205とを備えている。
また、この制御部200は、ホスト側とのデータ、信号の送受を行うためのI/F206と、記録ヘッド7を駆動制御するためのデータ転送手段、駆動波形を生成する駆動波形生成手段を含む印刷制御部207と、キャリッジ3側に設けた記録ヘッド7を駆動するためのヘッドドライバ(ドライバIC)208と、主走査モータ4及び副走査モータ31を駆動するためのモータ駆動部210と、帯電ローラ34にACバイアスを供給するACバイアス供給部212と、エンコーダセンサ43、35からの各検出信号、その他のセンサ群215からの検知信号を入力するためのI/O213などを備えている。センサ群215には、少なくとも前述した第1、第2の用紙センサ70、71を含み、また、ドット形成位置のズレを来たす要因としての環境温度を検出する温度センサを含んでいる。

また、この制御部200には、この装置に必要な情報の入力及び表示を行うための操作パネル214が接続されている。
ここで、制御部200は、パーソナルコンピュータ等の情報処理装置、イメージスキャナなどの画像読み取り装置、デジタルカメラなどの撮像装置などのホスト側からの画像データ等をケーブル或いはネットを介してI/F206で受信する。
そして、制御部200のCPU201は、I/F206に含まれる受信バッファ内の印刷データを読み出して解析し、ASIC205にて必要な画像処理、データの並び替え処理等を行い、この画像データをヘッド駆動制御部207からヘッドドライバ208に転送する。なお、画像出力するためのドットパターンデータの生成は後述するようにホスト側のプリンタドライバで行っている。
印刷制御部207は、上述した画像データをシリアルデータでヘッドドライバ208に転送するとともに、この画像データの転送及び転送の確定などに必要な転送クロックやラッチ信号、滴制御信号(マスク信号)などをヘッドドライバ208に出力する以外にも、ROMに格納されている駆動信号のパターンデータをD/A変換するD/A変換器及び電圧増幅器、電流増幅器等で構成される駆動波形生成部及びヘッドドライバに与える駆動波形選択手段を含み、1の駆動パルス(駆動信号)或いは複数の駆動パルス(駆動信号)で構成される駆動波形を生成してヘッドドライバ208に対して出力する。
ヘッドドライバ208は、シリアルに入力される記録ヘッド7の1行分に相当する画像データに基づいて印刷制御部207から与えられる駆動波形を構成する駆動信号を選択的に記録ヘッド7の液滴を吐出させるエネルギーを発生する駆動素子(例えば前述したような圧電素子)に対して印加することで記録ヘッド7を駆動する。このとき、駆動波形を構成する駆動パルスを選択することによって、例えば、大滴(大ドット)、中滴(中ドット)、小滴(小ドット)など、大きさの異なるドットを打ち分けることができる。
また、CPU201は、リニアエンコーダを構成するエンコーダセンサ43からの検出パルスをサンプリングして得られる速度検出値及び位置検出値と、予め格納した速度・位置プロファイルから得られる速度目標値及び位置目標値とに基づいて主走査モータ4に対する駆動出力値(制御値)を算出してモータ駆動部210を介して主走査モータ4を駆動する。同様に、ロータリエンコーダを構成するエンコーダセンサ35からの検出パルスをサンプリングして得られる速度検出値及び位置検出値と、予め格納した速度・位置プロファイルから得られる速度目標値及び位置目標値とに基づいて副走査モータ31対する駆動出力値(制御値)を算出してモータ駆動部210を介しモータドライバを介して副走査モータ31を駆動する。
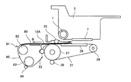
次に、このような画像形成装置における用紙搬送時の用紙後端の振動(ばたつき)による着弾位置ずれについて図4及び図5を参照して説明する。
前述したように、前述したように給紙カセット10から給紙された用紙12Aは挟持ローラ22と搬送ローラ27とで挟持されて、搬送ローラ27の周面の搬送ベルト21に吸着され、用紙搬送方向が反転されて、図4に示すように、搬送ベルト21の周回移動により矢示A方向に画像形成位置に向けて送られる。
このとき、第1の用紙センサ(反射型センサ)70によって用紙12の先端が検知され、そのタイミング(パルス数)及び搬送速度の少なくともいずれから算出された距離がRAM203に記憶される。先端を検知された用紙12は、挟持ローラ22及び押圧ローラ25によって搬送ローラ27及び搬送ベルト21に押し付けられながら、記録ヘッド7による画像形成位置まで搬送されることになる。
これにより、記録ヘッド7を主走査方向に移動しながら用紙12に画像を形成し、1行分を記録し、用紙12を所定量搬送後、次の行の記録を行う。
ところが、図5に示すように、用紙12のコシが強い場合、用紙12の後端12aが挟持ローラ33と搬送ローラ27とのニップ部を抜けた瞬間、用紙12の後端12aが破線図示ように跳ね上がり、後端12aが矢示方向に暴れる(振動する)ことがある。この結果、用紙12の負荷変動が大きくなって、用紙搬送量が変動し、用紙12に対する記録ヘッド7の相対的な位置が正規の位置からずれてしまうことがある。
そのため、このまま画像形成を行なうと、記録ヘッド7からのインク吐出によって用紙12上に形成されるドット位置(滴着弾位置)がずれることになり、記録品位(画像品質)が損なわれることになる。
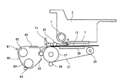
そこで、本発明の第1実施形態について図6ないし図8の模式的説明図及び制御部200によって行われる用紙搬送制御の処理を示すフロー図を参照して説明する。
前述したと同様、図6に示すように、搬送ローラ27を正転駆動して給紙された用紙12を矢示A方向に搬送する。
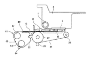
そして、用紙12の後端12aが挟持ローラ22と搬送ローラ27とのニップ部を通過し、第2の用紙センサ(反射型センサ)71によって用紙12の後端12aを検知した後、搬送ローラ27を逆転駆動して用紙12を矢示B方向に搬送して、図7に示すように、引き戻し距離内に反転部(反転経路)及び回転ローラ対を有さない引き戻し経路80内に用紙12を引き戻す。なお、引き戻し経路80は両面ユニット61内の両面搬送経路60の一部、即ち、用紙12を引き戻す距離(範囲)内では反転部及び回転ローラを有していない搬送経路部分で構成している。
その後、図8に示すように、搬送ローラ27を正転駆動して、再度用紙12を記録ヘッド7による画像形成位置に向けて搬送し、第1の用紙センサ70で用紙12の先端を検知した後記録動作を行う。このとき、引き戻し経路80は用紙12を引き戻す距離(範囲)内では反転部及び回転ローラを有していないので、挟持ローラ22と搬送ローラ27との間を抜けるときのような用紙後端の振動(暴れ)は発生しないので、安定した高精度の用紙送りを行うことができる。
なお、引き戻し経路80から用紙12の搬送を行うときに、用紙12と搬送ベルト21間にスリップが発生すると、結果として印字ずれが発生してしまうことになるため、スリップを防止する必要がある。
この場合、用紙12の再度の送り込み時(引き戻し経路80から矢示A方向に用紙12を搬送する時)の搬送速度及び加速度(搬送ローラ27の駆動各加速度)の少なくともいずれかは、搬送ベルト21と挟持ローラ22で用紙12を搬送する通常搬送時の搬送速度及び加速度より小さくすることが有効である。搬送ベルト21と用紙12の吸着力にもよるが、実験によると、通常の半分まで搬送速度と加速度を小さくすればスリップを完全になくすことが可能であった。
このように、画像形成手段による画像形成位置に対して用紙を反転して搬送する搬送経路と、搬送経路内で、用紙の反転が完了するよりも前の位置で用紙を挟持する回転ローラ対と、搬送経路の回転ローラ対よりも下流側の位置に臨み、用紙が引き戻される引き戻し経路と、搬送経路で用紙を給紙搬送するとき、用紙の後端が回転ローラ対を抜けた後、用紙を引き戻し経路内に一旦引き戻す制御をする手段とを備えて、引き戻し経路内には用紙が引き戻される範囲内に用紙に搬送力を与えるローラ対が設けられていない構成とすることで、簡単な構成で、用紙が反転部手前の回転ローラ対を抜けるときに生じる搬送送り精度の低下を低減して画像品質を向上することができる。
次に、本発明の第2実施形態について図10を参照して説明する。なお、図10は同実施形態における用紙搬送制御の処理を示すフロー図である。
ここでは、用紙12の厚さを検知する用紙厚さ検知手段を挟持ローラ33の用紙搬送方向上流側に設け、搬送する用紙12の厚さが所定厚さ未満か否かを判別する。そして、用紙12の厚さが所定厚さ未満であるときには、用紙12を引き戻さないで、そのまま画像形成(記録動作)を行う。これに対し、用紙12の厚さが所定厚さ以上であるときには、前述したように引き戻し経路80内への引き戻しを行った後再度画像形成位置に向けて搬送する動作を行った後記録動作を行う。
このようにすることで、挟持ローラ22と搬送ローラ27とのニップ部を抜けるときに用紙後端部に振動が発生しにくい薄い用紙を使用する場合の生産性を向上できるとともに、はがきなどの厚い用紙を使用するときの印字の乱れを防止できる。なお、実験した画像形成装置によれば、厚さが120μm未満の用紙(記録媒体)では、ローラニップ開放による印字位置ズレが2μm以下であったため、画像への影響は軽微であることが確認された。
次に、本発明の第3実施形態について図11を参照して説明する。なお、図11は同実施形態における用紙搬送制御の処理を示すフロー図である。
ここでは、搬送ローラ21を正転して初期搬送負荷N0を検知し、用紙12を給紙して、通紙時の搬送負荷N1を検知する。なお、搬送負荷の検知には、DCモータ(副走査モータ31)の電流値を用いてもいいし、挟持ローラ22の移動量を用いてもよい。
そして、通紙時の搬送負荷N1と初期搬送負荷N0との差(N1−N0)が所定値未満か否かを判別する。このとき、搬送負荷の差(N1−N0)が所定値未満であるときには、用紙12を引き戻さないで、そのまま画像形成(記録動作)を行う。これに対し、搬送負荷の差(N1−N0)が所定値以上であるときには、前述したように引き戻し経路80内への引き戻しを行った後再度画像形成位置に向けて搬送する動作を行った後記録動作を行う。
つまり、用紙の厚みが厚いときには厚みが薄い場合に比べて搬送負荷が大きくなることから、挟持ローラ22と搬送ローラ27とのニップ部を抜けるときに用紙後端部に振動が発生しにくい搬送負荷が小さい薄い用紙を使用する場合の生産性を向上できるとともに、はがきなどの搬送負荷が大きくなる厚い用紙を使用するときの印字の乱れを防止できる。なお、実験した画像形成装置によれば、搬送負荷の差が150[mN・m]未満の用紙(記録媒体)では、ローラニップ開放による印字位置ズレが小さく、画像への影響は軽微であることが確認された。
次に、本発明の第4実施形態について図12を参照して説明する。なお、図12は同実施形態における用紙搬送制御の処理を示すフロー図である。
ここでは、搬送ローラ21を正転し、環境温度Tを検知し、検知温度Tが所定温度を超えるているか否かを判別する。このとき、環境温度Tが所定温度を超えているときには、用紙12を引き戻さないで、そのまま画像形成(記録動作)を行う。これに対し、環境温度Tが所定温度以下であるときには、前述したように引き戻し経路80内への引き戻しを行った後再度画像形成位置に向けて搬送する動作を行った後記録動作を行う。
つまり、環境温度と用紙のコシとは、強い相関があり、特に15℃以下の環境では用紙のコシが非常に強くなることが分かっている。そこで、挟持ローラ22と搬送ローラ27とのニップ部を抜けるときに用紙後端部に振動が発生しにくい環境温度の場合の生産性を向上できるとともに、用紙のコシが強くなる環境温度のときの印字の乱れを防止できる。
次に、本発明の第5実施形態について説明する。
ここでは、用紙を引き戻し経路に引き戻すか、そのまま画像形成を行うかの判断(判別)を、前記第4実施形態の画像形成時の温度に代えて、用紙12(装置)が放置されていた環境の温度履歴によって行うようにしている。環境温度の履歴はVRAM104などの不揮発性メモリに格納しておく。これによって、冬場の早朝環境などであっても、用紙後端が挟持ローラ22と搬送ローラ21とのニップ部を抜ける際の位置ずれが画像形成に影響を与えないようにすることができる。
なお、より効率的な判断を行なうために、用紙自体の温度を直接検知するようにすることもできる。
また、温度センサの搭載がコスト面、レイアウト上難しい場合は、ホストコンピュータ(情報処理装置)から使用地域や使用日時などを取り込んで、環境温度や用紙の温度を予測し、予測した温度に基づいて用紙を引き戻し経路に引き戻すか、そのまま画像形成を行うかの判断を行うようにすることもできる。例えば、使用地域の各日時(月単位などでもよい。)における過去の平均温湿度情報をメモリに格納保持しておき、情報処理装置からの使用地域、当該使用日時情報を取り込むことで、温湿度を予測することができる。
次に、本発明の第6実施形態について図13を参照して説明する。なお、図13は同実施形態における用紙搬送制御の処理を示すフロー図である。
ここでは、用紙を引き戻し経路に引き戻すか、そのまま画像形成を行うかの判断(判別)を、用紙種別(用紙種類)によって行うようにしている。具体的には、例えばホストコンピュータより入力される用紙種類、あるいは、装置本体の操作部214から入力される用紙種類、若しくは検知した用紙種類の情報を取り込み、用紙が、ハガキ/封筒/厚紙の場合は一旦引き戻してから画像形成を行い、それ以外の紙種類の場合にはそのまま画像形成を行なう。
これにより、効率よく生産性を高めつつ、用紙後端がニップを抜ける時の位置ずれが画像形成に影響を与えないようにすることができる。
また、特に、ハガキに低温環境で画像形成をする場合、低温でさらにコシが強くなったハガキのために、位置ずれ量が増大することがある(実験によると100μm以上になることがある)。このため、生産性を重視する場合は、このような複合条件(用紙種別、環境温度など)が重なったときのみ、引き戻し処理を行なうことも有効である。
次に本発明の第7実施形態について図14を参照して説明する。なお、図14は同実施形態における用紙搬送制御の処理を示すフロー図である。
ここでは、用紙を引き戻し経路に引き戻すか、そのまま画像形成を行うかの判断(判別)を、用紙サイズ(用紙の長さ及び幅の少なくともいずれか)によって行うようにしている。具体的には、例えばホストコンピュータより入力される用紙サイズ、あるいは、装置本体の操作部214から入力される用紙サイズ、若しくは検知した用紙サイズの情報を取り込み、用紙サイズが所定サイズ以下の場合は一旦引き戻してから画像形成を行い、それ以外のサイズの場合にはそのまま画像形成を行なう。
サイズの小さな用紙はサイズの大きな用紙に比べて相対的にニップ部を抜けたときの暴れが発生しやすいので、そのような小さなサイズの用紙の場合には一旦引き戻してから画像形成を行うことで、効率よく生産性を高めつつ、用紙後端がニップを抜ける時の位置ずれが画像形成に影響を与えないようにすることができる。
なお、予め設定された用紙の長さと用紙種別とのデータテーブルを参照して、用紙サイズから前記第6実施形態の用紙種類(用紙種別)を推定して、用紙種類に応じて引き戻すか否かを判別するようにすることもできる。
また、用紙の長さの検知は、第2の用紙センサ71を用いることもできるし、あるいは、負荷変動値を用いてもよい。また、用紙の長さは、ホストコンピュータから入力された用紙サイズデータを用いて得ることもできる。また、用紙の幅の検知は、第1の用紙センサ70を用いてもよいし、挟持ローラ33に負荷がかかる幅を検知してもよい。また、用紙の幅は、ホストコンピュータから入力された用紙サイズデータを用いて得ることもできる。
なお、本発明に係る画像形成装置は、インクジェットプリンタ以外にも、ファクシミリ装置、複写装置、プリンタ/ファックス/コピア複合機などにも適用することができる。さらに、インク以外の液体(記録液)、例えばレジスト、医療分野におけるDNA試料などを吐出させる画像形成装置などにも適用することができる。
本発明に係る画像形成装置の一例を示す機構部の全体構成を説明する側面説明図である。 同機構部の平面説明図である。 同装置の制御部の概要を示すブロック図である。 用紙搬送時の用紙後端の振動(ばたつき)による着弾位置ずれの説明に供する用紙後端がニップ部で挟持されている状態の説明図である。 同じく用紙後端がニップ部を抜けときの説明図である。 本発明の第1実施形態の説明に供する用紙後端を検知した状態の用紙位置の説明図である。 同じく用紙を引き戻し経路に引き戻した状態の用紙位置の説明図である。 同じく用紙を引き戻し経路から画像形成位置に搬送して印字するときの説明図である。 同じく用紙搬送制御の処理を示すフロー図である。 本発明の第2実施形態における用紙搬送制御の処理を示すフロー図である。 本発明の第3実施形態における用紙搬送制御の処理を示すフロー図である。 本発明の第4実施形態における用紙搬送制御の処理を示すフロー図である。 本発明の第6実施形態における用紙搬送制御の処理を示すフロー図である。 本発明の第7実施形態における用紙搬送制御の処理を示すフロー図である。
符号の説明
3…キャリッジ
7…記録ヘッド(液体吐出ヘッド)
10…給紙カセット
21…搬送ベルト
22…挟持ローラ
27…搬送ローラ
60…両面搬送経路
80…引き戻し経路

Claims (5)

  1. 画像形成手段による画像形成位置に対して用紙を反転して搬送する搬送経路と、
    前記搬送経路内で、前記用紙の反転が完了するよりも前の位置で前記用紙を挟持する回転ローラ対と、
    前記搬送経路の前記回転ローラ対よりも下流側の位置に臨み、前記用紙が引き戻される引き戻し経路と、
    前記搬送経路で前記用紙を給紙搬送するとき、前記用紙の後端が前記回転ローラ対を抜けた後、前記用紙を前記引き戻し経路内に一旦引き戻す制御をする搬送制御手段と、を備え、
    前記引き戻し経路内には前記用紙が引き戻される範囲内に前記用紙に搬送力を与えるローラ対が設けられていない
    ことを特徴とする画像形成装置。
  2. 請求項1に記載の画像形成装置において、前記引き戻し経路が、両面印刷時に前記用紙を再給紙する両面搬送経路の一部又は前記用紙を手差し給紙する手差し給紙経路の少なくとも一部であることを特徴とする画像形成装置。
  3. 請求項1又は2に記載の画像形成装置において、前記搬送制御手段は、前記用紙の厚み、前記用紙の種類、前記用紙の長さ、前記用紙の長さ及び幅、前記用紙を搬送するときの負荷、環境温度、環境温度の履歴、日時、地域の少なくともいずれかに基づいて、前記用紙を引き戻し経路に引き戻す制御をすることを特徴とする画像形成装置。
  4. 請求項1ないし3のいずれかに記載の画像形成装置において、前記搬送制御手段は、前記用紙を前記引き戻し経路内に引き戻した後前記画像形成位置に前記用紙を搬送するときの搬送速度を、前記用紙を前記引き戻し経路内に引き戻さないときの搬送速度よりも遅くすることを特徴とする画像形成装置。
  5. 請求項1ないし3のいずれかに記載の画像形成装置において、前記搬送制御手段は、前記用紙を前記引き戻し経路内に引き戻した後前記画像形成位置に前記用紙を搬送するときの搬送速度の加速度を、前記用紙を前記引き戻し経路内に引き戻さないときの搬送速度の加速度よりも小さくすることを特徴とする画像形成装置。
JP2008189178A 2008-07-22 2008-07-22 画像形成装置 Active JP5256902B2 (ja)

Priority Applications (2)

Application Number Priority Date Filing Date Title
JP2008189178A JP5256902B2 (ja) 2008-07-22 2008-07-22 画像形成装置
US12/460,633 US8380096B2 (en) 2008-07-22 2009-07-22 Image forming apparatus with pull-in path for recording medium

Applications Claiming Priority (1)

Application Number Priority Date Filing Date Title
JP2008189178A JP5256902B2 (ja) 2008-07-22 2008-07-22 画像形成装置

Publications (2)

Publication Number Publication Date
JP2010024006A true JP2010024006A (ja) 2010-02-04
JP5256902B2 JP5256902B2 (ja) 2013-08-07

Family

ID=41568768

Family Applications (1)

Application Number Title Priority Date Filing Date
JP2008189178A Active JP5256902B2 (ja) 2008-07-22 2008-07-22 画像形成装置

Country Status (2)

Country Link
US (1) US8380096B2 (ja)
JP (1) JP5256902B2 (ja)

Cited By (2)

* Cited by examiner, † Cited by third party
Publication number Priority date Publication date Assignee Title
JP2012076249A (ja) * 2010-09-30 2012-04-19 Brother Industries Ltd 画像記録装置
US11138549B2 (en) 2016-04-25 2021-10-05 Hitachi Transport System, Ltd. Delivery plan making system and delivery plan making method

Families Citing this family (2)

* Cited by examiner, † Cited by third party
Publication number Priority date Publication date Assignee Title
KR102118408B1 (ko) * 2014-07-07 2020-06-03 삼성전자 주식회사 터치 감지 디바이스에서 터치 동작을 수행하는 방법
US11494602B2 (en) 2020-09-15 2022-11-08 Ricoh Company, Ltd. Image forming apparatus

Citations (5)

* Cited by examiner, † Cited by third party
Publication number Priority date Publication date Assignee Title
JP2002348019A (ja) * 2001-05-21 2002-12-04 Fuji Xerox Co Ltd 画像形成装置
JP2004018195A (ja) * 2002-06-18 2004-01-22 Toshiba Tec Corp 画像形成装置と画像形成装置の制御方法
JP2006027799A (ja) * 2004-07-15 2006-02-02 Ricoh Co Ltd 画像形成装置
JP2006264930A (ja) * 2005-03-24 2006-10-05 Seiko Epson Corp 情報処理装置及びその制御方法
JP2007062238A (ja) * 2005-09-01 2007-03-15 Ricoh Co Ltd 画像形成装置

Family Cites Families (14)

* Cited by examiner, † Cited by third party
Publication number Priority date Publication date Assignee Title
JPH0597113A (ja) * 1991-09-30 1993-04-20 Ricoh Co Ltd 記録装置の帯束機
JPH10297038A (ja) 1997-04-23 1998-11-10 Canon Inc 画像形成装置
JP4204508B2 (ja) * 2004-04-27 2009-01-07 株式会社リコー 画像形成装置
JP4919601B2 (ja) * 2004-05-06 2012-04-18 株式会社リコー 画像形成装置
JP4295663B2 (ja) * 2004-05-12 2009-07-15 株式会社リコー 画像形成装置
JP2005335911A (ja) 2004-05-28 2005-12-08 Canon Inc 記録装置
JP4369826B2 (ja) * 2004-08-20 2009-11-25 株式会社リコー 用紙反転装置及び該用紙反転装置を備えた画像形成装置
JP4551289B2 (ja) * 2005-07-19 2010-09-22 株式会社リコー 画像形成装置
JP4822757B2 (ja) * 2005-07-26 2011-11-24 株式会社リコー 画像形成装置
WO2007046309A1 (en) * 2005-10-20 2007-04-26 Ricoh Company, Ltd. Image forming apparatus
JP5043327B2 (ja) 2005-12-06 2012-10-10 キヤノン株式会社 記録装置
JP4760402B2 (ja) 2006-01-30 2011-08-31 ブラザー工業株式会社 画像形成装置および画像形成装置の制御プログラム
US7561823B2 (en) * 2006-04-06 2009-07-14 Lexmark International, Inc. Short passive duplex unit and method of use
JP4921280B2 (ja) * 2007-08-10 2012-04-25 株式会社リコー 画像形成装置

Patent Citations (5)

* Cited by examiner, † Cited by third party
Publication number Priority date Publication date Assignee Title
JP2002348019A (ja) * 2001-05-21 2002-12-04 Fuji Xerox Co Ltd 画像形成装置
JP2004018195A (ja) * 2002-06-18 2004-01-22 Toshiba Tec Corp 画像形成装置と画像形成装置の制御方法
JP2006027799A (ja) * 2004-07-15 2006-02-02 Ricoh Co Ltd 画像形成装置
JP2006264930A (ja) * 2005-03-24 2006-10-05 Seiko Epson Corp 情報処理装置及びその制御方法
JP2007062238A (ja) * 2005-09-01 2007-03-15 Ricoh Co Ltd 画像形成装置

Cited By (2)

* Cited by examiner, † Cited by third party
Publication number Priority date Publication date Assignee Title
JP2012076249A (ja) * 2010-09-30 2012-04-19 Brother Industries Ltd 画像記録装置
US11138549B2 (en) 2016-04-25 2021-10-05 Hitachi Transport System, Ltd. Delivery plan making system and delivery plan making method

Also Published As

Publication number Publication date
US8380096B2 (en) 2013-02-19
US20100021192A1 (en) 2010-01-28
JP5256902B2 (ja) 2013-08-07

Similar Documents

Publication Publication Date Title
JP5699552B2 (ja) 画像形成装置
JP5664145B2 (ja) 画像形成装置
JP6236814B2 (ja) 画像形成装置
JP4903114B2 (ja) 画像形成装置
JP2009166370A (ja) 画像形成装置
JP5256902B2 (ja) 画像形成装置
JP4913711B2 (ja) 画像形成装置
JP4897966B2 (ja) 画像形成装置
JP5472356B2 (ja) 画像形成装置
JP4724099B2 (ja) 給紙装置及び画像形成装置
JP2004351837A (ja) 画像形成装置
JP2011056772A (ja) 画像形成装置、画像形成システム、画像形成プログラムおよびそれを記録した記録媒体
JP5648431B2 (ja) 画像形成装置
JP2010202370A (ja) 画像形成装置
JP5581895B2 (ja) 画像形成装置及びプログラム
JP4190002B2 (ja) 給紙装置及び画像形成装置
JP2010201869A (ja) 画像形成装置及びプログラム
JP2007313725A (ja) 画像形成装置
JP2007062249A (ja) 画像形成装置
JP4688190B2 (ja) 画像形成装置及びプログラム
JP4732085B2 (ja) サーボ制御装置及び画像形成装置並びにプログラム
JP2004237693A (ja) 画像形成装置
JP2005066960A (ja) 画像形成装置
JP4632936B2 (ja) 画像形成装置
JP4623649B2 (ja) 画像形成装置

Legal Events

Date Code Title Description
A621 Written request for application examination

Free format text: JAPANESE INTERMEDIATE CODE: A621

Effective date: 20110324

A977 Report on retrieval

Free format text: JAPANESE INTERMEDIATE CODE: A971007

Effective date: 20120706

A131 Notification of reasons for refusal

Free format text: JAPANESE INTERMEDIATE CODE: A131

Effective date: 20120710

A521 Written amendment

Free format text: JAPANESE INTERMEDIATE CODE: A523

Effective date: 20120901

TRDD Decision of grant or rejection written
A01 Written decision to grant a patent or to grant a registration (utility model)

Free format text: JAPANESE INTERMEDIATE CODE: A01

Effective date: 20130326

A61 First payment of annual fees (during grant procedure)

Free format text: JAPANESE INTERMEDIATE CODE: A61

Effective date: 20130408

FPAY Renewal fee payment (event date is renewal date of database)

Free format text: PAYMENT UNTIL: 20160502

Year of fee payment: 3

R151 Written notification of patent or utility model registration

Ref document number: 5256902

Country of ref document: JP

Free format text: JAPANESE INTERMEDIATE CODE: R151