JP2010023887A - 縦型袋詰め包装方法及び装置 - Google Patents

縦型袋詰め包装方法及び装置 Download PDF

Info

Publication number
JP2010023887A
JP2010023887A JP2008188234A JP2008188234A JP2010023887A JP 2010023887 A JP2010023887 A JP 2010023887A JP 2008188234 A JP2008188234 A JP 2008188234A JP 2008188234 A JP2008188234 A JP 2008188234A JP 2010023887 A JP2010023887 A JP 2010023887A
Authority
JP
Japan
Prior art keywords
bag
steam
preheating
vertical
filling
Prior art date
Legal status (The legal status is an assumption and is not a legal conclusion. Google has not performed a legal analysis and makes no representation as to the accuracy of the status listed.)
Granted
Application number
JP2008188234A
Other languages
English (en)
Other versions
JP5450996B2 (ja
Inventor
Shinichi Fuchida
伸一 泓田
Kazunori Yamamoto
和徳 山本
Current Assignee (The listed assignees may be inaccurate. Google has not performed a legal analysis and makes no representation or warranty as to the accuracy of the list.)
Toyo Jidoki Co Ltd
Original Assignee
Toyo Jidoki Co Ltd
Priority date (The priority date is an assumption and is not a legal conclusion. Google has not performed a legal analysis and makes no representation as to the accuracy of the date listed.)
Filing date
Publication date
Application filed by Toyo Jidoki Co Ltd filed Critical Toyo Jidoki Co Ltd
Priority to JP2008188234A priority Critical patent/JP5450996B2/ja
Priority to US12/380,147 priority patent/US8245485B2/en
Priority to AT09005316T priority patent/ATE477912T1/de
Priority to EP20090005316 priority patent/EP2147774B1/en
Priority to DE200960000126 priority patent/DE602009000126D1/de
Priority to ES09005316T priority patent/ES2350512T3/es
Publication of JP2010023887A publication Critical patent/JP2010023887A/ja
Application granted granted Critical
Publication of JP5450996B2 publication Critical patent/JP5450996B2/ja
Active legal-status Critical Current
Anticipated expiration legal-status Critical

Links

Images

Classifications

    • BPERFORMING OPERATIONS; TRANSPORTING
    • B29WORKING OF PLASTICS; WORKING OF SUBSTANCES IN A PLASTIC STATE IN GENERAL
    • B29CSHAPING OR JOINING OF PLASTICS; SHAPING OF MATERIAL IN A PLASTIC STATE, NOT OTHERWISE PROVIDED FOR; AFTER-TREATMENT OF THE SHAPED PRODUCTS, e.g. REPAIRING
    • B29C65/00Joining or sealing of preformed parts, e.g. welding of plastics materials; Apparatus therefor
    • B29C65/02Joining or sealing of preformed parts, e.g. welding of plastics materials; Apparatus therefor by heating, with or without pressure
    • B29C65/08Joining or sealing of preformed parts, e.g. welding of plastics materials; Apparatus therefor by heating, with or without pressure using ultrasonic vibrations
    • BPERFORMING OPERATIONS; TRANSPORTING
    • B29WORKING OF PLASTICS; WORKING OF SUBSTANCES IN A PLASTIC STATE IN GENERAL
    • B29CSHAPING OR JOINING OF PLASTICS; SHAPING OF MATERIAL IN A PLASTIC STATE, NOT OTHERWISE PROVIDED FOR; AFTER-TREATMENT OF THE SHAPED PRODUCTS, e.g. REPAIRING
    • B29C65/00Joining or sealing of preformed parts, e.g. welding of plastics materials; Apparatus therefor
    • B29C65/02Joining or sealing of preformed parts, e.g. welding of plastics materials; Apparatus therefor by heating, with or without pressure
    • B29C65/18Joining or sealing of preformed parts, e.g. welding of plastics materials; Apparatus therefor by heating, with or without pressure using heated tools
    • BPERFORMING OPERATIONS; TRANSPORTING
    • B29WORKING OF PLASTICS; WORKING OF SUBSTANCES IN A PLASTIC STATE IN GENERAL
    • B29CSHAPING OR JOINING OF PLASTICS; SHAPING OF MATERIAL IN A PLASTIC STATE, NOT OTHERWISE PROVIDED FOR; AFTER-TREATMENT OF THE SHAPED PRODUCTS, e.g. REPAIRING
    • B29C65/00Joining or sealing of preformed parts, e.g. welding of plastics materials; Apparatus therefor
    • B29C65/02Joining or sealing of preformed parts, e.g. welding of plastics materials; Apparatus therefor by heating, with or without pressure
    • B29C65/18Joining or sealing of preformed parts, e.g. welding of plastics materials; Apparatus therefor by heating, with or without pressure using heated tools
    • B29C65/24Joining or sealing of preformed parts, e.g. welding of plastics materials; Apparatus therefor by heating, with or without pressure using heated tools characterised by the means for heating the tool
    • B29C65/26Hot fluid
    • BPERFORMING OPERATIONS; TRANSPORTING
    • B29WORKING OF PLASTICS; WORKING OF SUBSTANCES IN A PLASTIC STATE IN GENERAL
    • B29CSHAPING OR JOINING OF PLASTICS; SHAPING OF MATERIAL IN A PLASTIC STATE, NOT OTHERWISE PROVIDED FOR; AFTER-TREATMENT OF THE SHAPED PRODUCTS, e.g. REPAIRING
    • B29C65/00Joining or sealing of preformed parts, e.g. welding of plastics materials; Apparatus therefor
    • B29C65/72Joining or sealing of preformed parts, e.g. welding of plastics materials; Apparatus therefor by combined operations or combined techniques, e.g. welding and stitching
    • BPERFORMING OPERATIONS; TRANSPORTING
    • B29WORKING OF PLASTICS; WORKING OF SUBSTANCES IN A PLASTIC STATE IN GENERAL
    • B29CSHAPING OR JOINING OF PLASTICS; SHAPING OF MATERIAL IN A PLASTIC STATE, NOT OTHERWISE PROVIDED FOR; AFTER-TREATMENT OF THE SHAPED PRODUCTS, e.g. REPAIRING
    • B29C65/00Joining or sealing of preformed parts, e.g. welding of plastics materials; Apparatus therefor
    • B29C65/78Means for handling the parts to be joined, e.g. for making containers or hollow articles, e.g. means for handling sheets, plates, web-like materials, tubular articles, hollow articles or elements to be joined therewith; Means for discharging the joined articles from the joining apparatus
    • B29C65/7858Means for handling the parts to be joined, e.g. for making containers or hollow articles, e.g. means for handling sheets, plates, web-like materials, tubular articles, hollow articles or elements to be joined therewith; Means for discharging the joined articles from the joining apparatus characterised by the feeding movement of the parts to be joined
    • B29C65/7879Means for handling the parts to be joined, e.g. for making containers or hollow articles, e.g. means for handling sheets, plates, web-like materials, tubular articles, hollow articles or elements to be joined therewith; Means for discharging the joined articles from the joining apparatus characterised by the feeding movement of the parts to be joined said parts to be joined moving in a closed path, e.g. a rectangular path
    • B29C65/7882Means for handling the parts to be joined, e.g. for making containers or hollow articles, e.g. means for handling sheets, plates, web-like materials, tubular articles, hollow articles or elements to be joined therewith; Means for discharging the joined articles from the joining apparatus characterised by the feeding movement of the parts to be joined said parts to be joined moving in a closed path, e.g. a rectangular path said parts to be joined moving in a circular path
    • BPERFORMING OPERATIONS; TRANSPORTING
    • B29WORKING OF PLASTICS; WORKING OF SUBSTANCES IN A PLASTIC STATE IN GENERAL
    • B29CSHAPING OR JOINING OF PLASTICS; SHAPING OF MATERIAL IN A PLASTIC STATE, NOT OTHERWISE PROVIDED FOR; AFTER-TREATMENT OF THE SHAPED PRODUCTS, e.g. REPAIRING
    • B29C66/00General aspects of processes or apparatus for joining preformed parts
    • B29C66/01General aspects dealing with the joint area or with the area to be joined
    • B29C66/02Preparation of the material, in the area to be joined, prior to joining or welding
    • B29C66/024Thermal pre-treatments
    • B29C66/0242Heating, or preheating, e.g. drying
    • BPERFORMING OPERATIONS; TRANSPORTING
    • B29WORKING OF PLASTICS; WORKING OF SUBSTANCES IN A PLASTIC STATE IN GENERAL
    • B29CSHAPING OR JOINING OF PLASTICS; SHAPING OF MATERIAL IN A PLASTIC STATE, NOT OTHERWISE PROVIDED FOR; AFTER-TREATMENT OF THE SHAPED PRODUCTS, e.g. REPAIRING
    • B29C66/00General aspects of processes or apparatus for joining preformed parts
    • B29C66/01General aspects dealing with the joint area or with the area to be joined
    • B29C66/03After-treatments in the joint area
    • B29C66/034Thermal after-treatments
    • B29C66/0342Cooling, e.g. transporting through welding and cooling zone
    • BPERFORMING OPERATIONS; TRANSPORTING
    • B29WORKING OF PLASTICS; WORKING OF SUBSTANCES IN A PLASTIC STATE IN GENERAL
    • B29CSHAPING OR JOINING OF PLASTICS; SHAPING OF MATERIAL IN A PLASTIC STATE, NOT OTHERWISE PROVIDED FOR; AFTER-TREATMENT OF THE SHAPED PRODUCTS, e.g. REPAIRING
    • B29C66/00General aspects of processes or apparatus for joining preformed parts
    • B29C66/01General aspects dealing with the joint area or with the area to be joined
    • B29C66/05Particular design of joint configurations
    • B29C66/10Particular design of joint configurations particular design of the joint cross-sections
    • B29C66/11Joint cross-sections comprising a single joint-segment, i.e. one of the parts to be joined comprising a single joint-segment in the joint cross-section
    • B29C66/112Single lapped joints
    • B29C66/1122Single lap to lap joints, i.e. overlap joints
    • BPERFORMING OPERATIONS; TRANSPORTING
    • B29WORKING OF PLASTICS; WORKING OF SUBSTANCES IN A PLASTIC STATE IN GENERAL
    • B29CSHAPING OR JOINING OF PLASTICS; SHAPING OF MATERIAL IN A PLASTIC STATE, NOT OTHERWISE PROVIDED FOR; AFTER-TREATMENT OF THE SHAPED PRODUCTS, e.g. REPAIRING
    • B29C66/00General aspects of processes or apparatus for joining preformed parts
    • B29C66/01General aspects dealing with the joint area or with the area to be joined
    • B29C66/05Particular design of joint configurations
    • B29C66/20Particular design of joint configurations particular design of the joint lines, e.g. of the weld lines
    • B29C66/23Particular design of joint configurations particular design of the joint lines, e.g. of the weld lines said joint lines being multiple and parallel or being in the form of tessellations
    • B29C66/232Particular design of joint configurations particular design of the joint lines, e.g. of the weld lines said joint lines being multiple and parallel or being in the form of tessellations said joint lines being multiple and parallel, i.e. the joint being formed by several parallel joint lines
    • BPERFORMING OPERATIONS; TRANSPORTING
    • B29WORKING OF PLASTICS; WORKING OF SUBSTANCES IN A PLASTIC STATE IN GENERAL
    • B29CSHAPING OR JOINING OF PLASTICS; SHAPING OF MATERIAL IN A PLASTIC STATE, NOT OTHERWISE PROVIDED FOR; AFTER-TREATMENT OF THE SHAPED PRODUCTS, e.g. REPAIRING
    • B29C66/00General aspects of processes or apparatus for joining preformed parts
    • B29C66/01General aspects dealing with the joint area or with the area to be joined
    • B29C66/345Progressively making the joint, e.g. starting from the middle
    • B29C66/3452Making complete joints by combining partial joints
    • BPERFORMING OPERATIONS; TRANSPORTING
    • B29WORKING OF PLASTICS; WORKING OF SUBSTANCES IN A PLASTIC STATE IN GENERAL
    • B29CSHAPING OR JOINING OF PLASTICS; SHAPING OF MATERIAL IN A PLASTIC STATE, NOT OTHERWISE PROVIDED FOR; AFTER-TREATMENT OF THE SHAPED PRODUCTS, e.g. REPAIRING
    • B29C66/00General aspects of processes or apparatus for joining preformed parts
    • B29C66/40General aspects of joining substantially flat articles, e.g. plates, sheets or web-like materials; Making flat seams in tubular or hollow articles; Joining single elements to substantially flat surfaces
    • B29C66/41Joining substantially flat articles ; Making flat seams in tubular or hollow articles
    • B29C66/43Joining a relatively small portion of the surface of said articles
    • B29C66/431Joining the articles to themselves
    • B29C66/4312Joining the articles to themselves for making flat seams in tubular or hollow articles, e.g. transversal seams
    • B29C66/43121Closing the ends of tubular or hollow single articles, e.g. closing the ends of bags
    • BPERFORMING OPERATIONS; TRANSPORTING
    • B29WORKING OF PLASTICS; WORKING OF SUBSTANCES IN A PLASTIC STATE IN GENERAL
    • B29CSHAPING OR JOINING OF PLASTICS; SHAPING OF MATERIAL IN A PLASTIC STATE, NOT OTHERWISE PROVIDED FOR; AFTER-TREATMENT OF THE SHAPED PRODUCTS, e.g. REPAIRING
    • B29C66/00General aspects of processes or apparatus for joining preformed parts
    • B29C66/80General aspects of machine operations or constructions and parts thereof
    • B29C66/81General aspects of the pressing elements, i.e. the elements applying pressure on the parts to be joined in the area to be joined, e.g. the welding jaws or clamps
    • B29C66/814General aspects of the pressing elements, i.e. the elements applying pressure on the parts to be joined in the area to be joined, e.g. the welding jaws or clamps characterised by the design of the pressing elements, e.g. of the welding jaws or clamps
    • B29C66/8141General aspects of the pressing elements, i.e. the elements applying pressure on the parts to be joined in the area to be joined, e.g. the welding jaws or clamps characterised by the design of the pressing elements, e.g. of the welding jaws or clamps characterised by the surface geometry of the part of the pressing elements, e.g. welding jaws or clamps, coming into contact with the parts to be joined
    • B29C66/81411General aspects of the pressing elements, i.e. the elements applying pressure on the parts to be joined in the area to be joined, e.g. the welding jaws or clamps characterised by the design of the pressing elements, e.g. of the welding jaws or clamps characterised by the surface geometry of the part of the pressing elements, e.g. welding jaws or clamps, coming into contact with the parts to be joined characterised by its cross-section, e.g. transversal or longitudinal, being non-flat
    • B29C66/81425General aspects of the pressing elements, i.e. the elements applying pressure on the parts to be joined in the area to be joined, e.g. the welding jaws or clamps characterised by the design of the pressing elements, e.g. of the welding jaws or clamps characterised by the surface geometry of the part of the pressing elements, e.g. welding jaws or clamps, coming into contact with the parts to be joined characterised by its cross-section, e.g. transversal or longitudinal, being non-flat being stepped, e.g. comprising a shoulder
    • BPERFORMING OPERATIONS; TRANSPORTING
    • B29WORKING OF PLASTICS; WORKING OF SUBSTANCES IN A PLASTIC STATE IN GENERAL
    • B29CSHAPING OR JOINING OF PLASTICS; SHAPING OF MATERIAL IN A PLASTIC STATE, NOT OTHERWISE PROVIDED FOR; AFTER-TREATMENT OF THE SHAPED PRODUCTS, e.g. REPAIRING
    • B29C66/00General aspects of processes or apparatus for joining preformed parts
    • B29C66/80General aspects of machine operations or constructions and parts thereof
    • B29C66/81General aspects of the pressing elements, i.e. the elements applying pressure on the parts to be joined in the area to be joined, e.g. the welding jaws or clamps
    • B29C66/814General aspects of the pressing elements, i.e. the elements applying pressure on the parts to be joined in the area to be joined, e.g. the welding jaws or clamps characterised by the design of the pressing elements, e.g. of the welding jaws or clamps
    • B29C66/8141General aspects of the pressing elements, i.e. the elements applying pressure on the parts to be joined in the area to be joined, e.g. the welding jaws or clamps characterised by the design of the pressing elements, e.g. of the welding jaws or clamps characterised by the surface geometry of the part of the pressing elements, e.g. welding jaws or clamps, coming into contact with the parts to be joined
    • B29C66/81427General aspects of the pressing elements, i.e. the elements applying pressure on the parts to be joined in the area to be joined, e.g. the welding jaws or clamps characterised by the design of the pressing elements, e.g. of the welding jaws or clamps characterised by the surface geometry of the part of the pressing elements, e.g. welding jaws or clamps, coming into contact with the parts to be joined comprising a single ridge, e.g. for making a weakening line; comprising a single tooth
    • BPERFORMING OPERATIONS; TRANSPORTING
    • B29WORKING OF PLASTICS; WORKING OF SUBSTANCES IN A PLASTIC STATE IN GENERAL
    • B29CSHAPING OR JOINING OF PLASTICS; SHAPING OF MATERIAL IN A PLASTIC STATE, NOT OTHERWISE PROVIDED FOR; AFTER-TREATMENT OF THE SHAPED PRODUCTS, e.g. REPAIRING
    • B29C66/00General aspects of processes or apparatus for joining preformed parts
    • B29C66/80General aspects of machine operations or constructions and parts thereof
    • B29C66/83General aspects of machine operations or constructions and parts thereof characterised by the movement of the joining or pressing tools
    • B29C66/832Reciprocating joining or pressing tools
    • B29C66/8322Joining or pressing tools reciprocating along one axis
    • B29C66/83221Joining or pressing tools reciprocating along one axis cooperating reciprocating tools, each tool reciprocating along one axis
    • BPERFORMING OPERATIONS; TRANSPORTING
    • B29WORKING OF PLASTICS; WORKING OF SUBSTANCES IN A PLASTIC STATE IN GENERAL
    • B29CSHAPING OR JOINING OF PLASTICS; SHAPING OF MATERIAL IN A PLASTIC STATE, NOT OTHERWISE PROVIDED FOR; AFTER-TREATMENT OF THE SHAPED PRODUCTS, e.g. REPAIRING
    • B29C66/00General aspects of processes or apparatus for joining preformed parts
    • B29C66/80General aspects of machine operations or constructions and parts thereof
    • B29C66/84Specific machine types or machines suitable for specific applications
    • B29C66/843Machines for making separate joints at the same time in different planes; Machines for making separate joints at the same time mounted in parallel or in series
    • B29C66/8432Machines for making separate joints at the same time mounted in parallel or in series
    • BPERFORMING OPERATIONS; TRANSPORTING
    • B29WORKING OF PLASTICS; WORKING OF SUBSTANCES IN A PLASTIC STATE IN GENERAL
    • B29CSHAPING OR JOINING OF PLASTICS; SHAPING OF MATERIAL IN A PLASTIC STATE, NOT OTHERWISE PROVIDED FOR; AFTER-TREATMENT OF THE SHAPED PRODUCTS, e.g. REPAIRING
    • B29C66/00General aspects of processes or apparatus for joining preformed parts
    • B29C66/80General aspects of machine operations or constructions and parts thereof
    • B29C66/84Specific machine types or machines suitable for specific applications
    • B29C66/849Packaging machines
    • BPERFORMING OPERATIONS; TRANSPORTING
    • B29WORKING OF PLASTICS; WORKING OF SUBSTANCES IN A PLASTIC STATE IN GENERAL
    • B29CSHAPING OR JOINING OF PLASTICS; SHAPING OF MATERIAL IN A PLASTIC STATE, NOT OTHERWISE PROVIDED FOR; AFTER-TREATMENT OF THE SHAPED PRODUCTS, e.g. REPAIRING
    • B29C66/00General aspects of processes or apparatus for joining preformed parts
    • B29C66/90Measuring or controlling the joining process
    • B29C66/91Measuring or controlling the joining process by measuring or controlling the temperature, the heat or the thermal flux
    • B29C66/914Measuring or controlling the joining process by measuring or controlling the temperature, the heat or the thermal flux by controlling or regulating the temperature, the heat or the thermal flux
    • B29C66/9141Measuring or controlling the joining process by measuring or controlling the temperature, the heat or the thermal flux by controlling or regulating the temperature, the heat or the thermal flux by controlling or regulating the temperature
    • B29C66/91411Measuring or controlling the joining process by measuring or controlling the temperature, the heat or the thermal flux by controlling or regulating the temperature, the heat or the thermal flux by controlling or regulating the temperature of the parts to be joined, e.g. the joining process taking the temperature of the parts to be joined into account
    • BPERFORMING OPERATIONS; TRANSPORTING
    • B29WORKING OF PLASTICS; WORKING OF SUBSTANCES IN A PLASTIC STATE IN GENERAL
    • B29CSHAPING OR JOINING OF PLASTICS; SHAPING OF MATERIAL IN A PLASTIC STATE, NOT OTHERWISE PROVIDED FOR; AFTER-TREATMENT OF THE SHAPED PRODUCTS, e.g. REPAIRING
    • B29C66/00General aspects of processes or apparatus for joining preformed parts
    • B29C66/90Measuring or controlling the joining process
    • B29C66/91Measuring or controlling the joining process by measuring or controlling the temperature, the heat or the thermal flux
    • B29C66/914Measuring or controlling the joining process by measuring or controlling the temperature, the heat or the thermal flux by controlling or regulating the temperature, the heat or the thermal flux
    • B29C66/9141Measuring or controlling the joining process by measuring or controlling the temperature, the heat or the thermal flux by controlling or regulating the temperature, the heat or the thermal flux by controlling or regulating the temperature
    • B29C66/91421Measuring or controlling the joining process by measuring or controlling the temperature, the heat or the thermal flux by controlling or regulating the temperature, the heat or the thermal flux by controlling or regulating the temperature of the joining tools
    • BPERFORMING OPERATIONS; TRANSPORTING
    • B29WORKING OF PLASTICS; WORKING OF SUBSTANCES IN A PLASTIC STATE IN GENERAL
    • B29CSHAPING OR JOINING OF PLASTICS; SHAPING OF MATERIAL IN A PLASTIC STATE, NOT OTHERWISE PROVIDED FOR; AFTER-TREATMENT OF THE SHAPED PRODUCTS, e.g. REPAIRING
    • B29C66/00General aspects of processes or apparatus for joining preformed parts
    • B29C66/90Measuring or controlling the joining process
    • B29C66/91Measuring or controlling the joining process by measuring or controlling the temperature, the heat or the thermal flux
    • B29C66/914Measuring or controlling the joining process by measuring or controlling the temperature, the heat or the thermal flux by controlling or regulating the temperature, the heat or the thermal flux
    • B29C66/9141Measuring or controlling the joining process by measuring or controlling the temperature, the heat or the thermal flux by controlling or regulating the temperature, the heat or the thermal flux by controlling or regulating the temperature
    • B29C66/91431Measuring or controlling the joining process by measuring or controlling the temperature, the heat or the thermal flux by controlling or regulating the temperature, the heat or the thermal flux by controlling or regulating the temperature the temperature being kept constant over time
    • BPERFORMING OPERATIONS; TRANSPORTING
    • B29WORKING OF PLASTICS; WORKING OF SUBSTANCES IN A PLASTIC STATE IN GENERAL
    • B29CSHAPING OR JOINING OF PLASTICS; SHAPING OF MATERIAL IN A PLASTIC STATE, NOT OTHERWISE PROVIDED FOR; AFTER-TREATMENT OF THE SHAPED PRODUCTS, e.g. REPAIRING
    • B29C66/00General aspects of processes or apparatus for joining preformed parts
    • B29C66/90Measuring or controlling the joining process
    • B29C66/91Measuring or controlling the joining process by measuring or controlling the temperature, the heat or the thermal flux
    • B29C66/914Measuring or controlling the joining process by measuring or controlling the temperature, the heat or the thermal flux by controlling or regulating the temperature, the heat or the thermal flux
    • B29C66/9141Measuring or controlling the joining process by measuring or controlling the temperature, the heat or the thermal flux by controlling or regulating the temperature, the heat or the thermal flux by controlling or regulating the temperature
    • B29C66/91441Measuring or controlling the joining process by measuring or controlling the temperature, the heat or the thermal flux by controlling or regulating the temperature, the heat or the thermal flux by controlling or regulating the temperature the temperature being non-constant over time
    • B29C66/91443Measuring or controlling the joining process by measuring or controlling the temperature, the heat or the thermal flux by controlling or regulating the temperature, the heat or the thermal flux by controlling or regulating the temperature the temperature being non-constant over time following a temperature-time profile
    • B29C66/91445Measuring or controlling the joining process by measuring or controlling the temperature, the heat or the thermal flux by controlling or regulating the temperature, the heat or the thermal flux by controlling or regulating the temperature the temperature being non-constant over time following a temperature-time profile by steps
    • BPERFORMING OPERATIONS; TRANSPORTING
    • B29WORKING OF PLASTICS; WORKING OF SUBSTANCES IN A PLASTIC STATE IN GENERAL
    • B29CSHAPING OR JOINING OF PLASTICS; SHAPING OF MATERIAL IN A PLASTIC STATE, NOT OTHERWISE PROVIDED FOR; AFTER-TREATMENT OF THE SHAPED PRODUCTS, e.g. REPAIRING
    • B29C66/00General aspects of processes or apparatus for joining preformed parts
    • B29C66/90Measuring or controlling the joining process
    • B29C66/93Measuring or controlling the joining process by measuring or controlling the speed
    • B29C66/934Measuring or controlling the joining process by measuring or controlling the speed by controlling or regulating the speed
    • B29C66/93441Measuring or controlling the joining process by measuring or controlling the speed by controlling or regulating the speed the speed being non-constant over time
    • BPERFORMING OPERATIONS; TRANSPORTING
    • B29WORKING OF PLASTICS; WORKING OF SUBSTANCES IN A PLASTIC STATE IN GENERAL
    • B29CSHAPING OR JOINING OF PLASTICS; SHAPING OF MATERIAL IN A PLASTIC STATE, NOT OTHERWISE PROVIDED FOR; AFTER-TREATMENT OF THE SHAPED PRODUCTS, e.g. REPAIRING
    • B29C66/00General aspects of processes or apparatus for joining preformed parts
    • B29C66/90Measuring or controlling the joining process
    • B29C66/93Measuring or controlling the joining process by measuring or controlling the speed
    • B29C66/934Measuring or controlling the joining process by measuring or controlling the speed by controlling or regulating the speed
    • B29C66/93451Measuring or controlling the joining process by measuring or controlling the speed by controlling or regulating the speed by controlling or regulating the rotational speed, i.e. the speed of revolution
    • BPERFORMING OPERATIONS; TRANSPORTING
    • B65CONVEYING; PACKING; STORING; HANDLING THIN OR FILAMENTARY MATERIAL
    • B65BMACHINES, APPARATUS OR DEVICES FOR, OR METHODS OF, PACKAGING ARTICLES OR MATERIALS; UNPACKING
    • B65B31/00Packaging articles or materials under special atmospheric or gaseous conditions; Adding propellants to aerosol containers
    • B65B31/04Evacuating, pressurising or gasifying filled containers or wrappers by means of nozzles through which air or other gas, e.g. an inert gas, is withdrawn or supplied
    • B65B31/06Evacuating, pressurising or gasifying filled containers or wrappers by means of nozzles through which air or other gas, e.g. an inert gas, is withdrawn or supplied the nozzle being arranged for insertion into, and withdrawal from, the mouth of a filled container and operating in conjunction with means for sealing the container mouth
    • BPERFORMING OPERATIONS; TRANSPORTING
    • B65CONVEYING; PACKING; STORING; HANDLING THIN OR FILAMENTARY MATERIAL
    • B65BMACHINES, APPARATUS OR DEVICES FOR, OR METHODS OF, PACKAGING ARTICLES OR MATERIALS; UNPACKING
    • B65B43/00Forming, feeding, opening or setting-up containers or receptacles in association with packaging
    • B65B43/42Feeding or positioning bags, boxes, or cartons in the distended, opened, or set-up state; Feeding preformed rigid containers, e.g. tins, capsules, glass tubes, glasses, to the packaging position; Locating containers or receptacles at the filling position; Supporting containers or receptacles during the filling operation
    • B65B43/46Feeding or positioning bags, boxes, or cartons in the distended, opened, or set-up state; Feeding preformed rigid containers, e.g. tins, capsules, glass tubes, glasses, to the packaging position; Locating containers or receptacles at the filling position; Supporting containers or receptacles during the filling operation using grippers
    • B65B43/465Feeding or positioning bags, boxes, or cartons in the distended, opened, or set-up state; Feeding preformed rigid containers, e.g. tins, capsules, glass tubes, glasses, to the packaging position; Locating containers or receptacles at the filling position; Supporting containers or receptacles during the filling operation using grippers for bags
    • BPERFORMING OPERATIONS; TRANSPORTING
    • B65CONVEYING; PACKING; STORING; HANDLING THIN OR FILAMENTARY MATERIAL
    • B65BMACHINES, APPARATUS OR DEVICES FOR, OR METHODS OF, PACKAGING ARTICLES OR MATERIALS; UNPACKING
    • B65B43/00Forming, feeding, opening or setting-up containers or receptacles in association with packaging
    • B65B43/42Feeding or positioning bags, boxes, or cartons in the distended, opened, or set-up state; Feeding preformed rigid containers, e.g. tins, capsules, glass tubes, glasses, to the packaging position; Locating containers or receptacles at the filling position; Supporting containers or receptacles during the filling operation
    • B65B43/50Feeding or positioning bags, boxes, or cartons in the distended, opened, or set-up state; Feeding preformed rigid containers, e.g. tins, capsules, glass tubes, glasses, to the packaging position; Locating containers or receptacles at the filling position; Supporting containers or receptacles during the filling operation using rotary tables or turrets
    • BPERFORMING OPERATIONS; TRANSPORTING
    • B65CONVEYING; PACKING; STORING; HANDLING THIN OR FILAMENTARY MATERIAL
    • B65BMACHINES, APPARATUS OR DEVICES FOR, OR METHODS OF, PACKAGING ARTICLES OR MATERIALS; UNPACKING
    • B65B51/00Devices for, or methods of, sealing or securing package folds or closures; Devices for gathering or twisting wrappers, or necks of bags
    • B65B51/10Applying or generating heat or pressure or combinations thereof
    • B65B51/14Applying or generating heat or pressure or combinations thereof by reciprocating or oscillating members
    • B65B51/146Closing bags
    • BPERFORMING OPERATIONS; TRANSPORTING
    • B65CONVEYING; PACKING; STORING; HANDLING THIN OR FILAMENTARY MATERIAL
    • B65BMACHINES, APPARATUS OR DEVICES FOR, OR METHODS OF, PACKAGING ARTICLES OR MATERIALS; UNPACKING
    • B65B51/00Devices for, or methods of, sealing or securing package folds or closures; Devices for gathering or twisting wrappers, or necks of bags
    • B65B51/10Applying or generating heat or pressure or combinations thereof
    • B65B51/22Applying or generating heat or pressure or combinations thereof by friction or ultrasonic or high-frequency electrical means, i.e. by friction or ultrasonic or induction welding
    • B65B51/225Applying or generating heat or pressure or combinations thereof by friction or ultrasonic or high-frequency electrical means, i.e. by friction or ultrasonic or induction welding by ultrasonic welding
    • BPERFORMING OPERATIONS; TRANSPORTING
    • B29WORKING OF PLASTICS; WORKING OF SUBSTANCES IN A PLASTIC STATE IN GENERAL
    • B29CSHAPING OR JOINING OF PLASTICS; SHAPING OF MATERIAL IN A PLASTIC STATE, NOT OTHERWISE PROVIDED FOR; AFTER-TREATMENT OF THE SHAPED PRODUCTS, e.g. REPAIRING
    • B29C2795/00Printing on articles made from plastics or substances in a plastic state
    • BPERFORMING OPERATIONS; TRANSPORTING
    • B29WORKING OF PLASTICS; WORKING OF SUBSTANCES IN A PLASTIC STATE IN GENERAL
    • B29CSHAPING OR JOINING OF PLASTICS; SHAPING OF MATERIAL IN A PLASTIC STATE, NOT OTHERWISE PROVIDED FOR; AFTER-TREATMENT OF THE SHAPED PRODUCTS, e.g. REPAIRING
    • B29C35/00Heating, cooling or curing, e.g. crosslinking or vulcanising; Apparatus therefor
    • B29C35/02Heating or curing, e.g. crosslinking or vulcanizing during moulding, e.g. in a mould
    • B29C35/04Heating or curing, e.g. crosslinking or vulcanizing during moulding, e.g. in a mould using liquids, gas or steam
    • B29C35/049Heating or curing, e.g. crosslinking or vulcanizing during moulding, e.g. in a mould using liquids, gas or steam using steam or damp
    • BPERFORMING OPERATIONS; TRANSPORTING
    • B29WORKING OF PLASTICS; WORKING OF SUBSTANCES IN A PLASTIC STATE IN GENERAL
    • B29CSHAPING OR JOINING OF PLASTICS; SHAPING OF MATERIAL IN A PLASTIC STATE, NOT OTHERWISE PROVIDED FOR; AFTER-TREATMENT OF THE SHAPED PRODUCTS, e.g. REPAIRING
    • B29C66/00General aspects of processes or apparatus for joining preformed parts
    • B29C66/70General aspects of processes or apparatus for joining preformed parts characterised by the composition, physical properties or the structure of the material of the parts to be joined; Joining with non-plastics material
    • B29C66/71General aspects of processes or apparatus for joining preformed parts characterised by the composition, physical properties or the structure of the material of the parts to be joined; Joining with non-plastics material characterised by the composition of the plastics material of the parts to be joined
    • BPERFORMING OPERATIONS; TRANSPORTING
    • B29WORKING OF PLASTICS; WORKING OF SUBSTANCES IN A PLASTIC STATE IN GENERAL
    • B29CSHAPING OR JOINING OF PLASTICS; SHAPING OF MATERIAL IN A PLASTIC STATE, NOT OTHERWISE PROVIDED FOR; AFTER-TREATMENT OF THE SHAPED PRODUCTS, e.g. REPAIRING
    • B29C66/00General aspects of processes or apparatus for joining preformed parts
    • B29C66/70General aspects of processes or apparatus for joining preformed parts characterised by the composition, physical properties or the structure of the material of the parts to be joined; Joining with non-plastics material
    • B29C66/72General aspects of processes or apparatus for joining preformed parts characterised by the composition, physical properties or the structure of the material of the parts to be joined; Joining with non-plastics material characterised by the structure of the material of the parts to be joined
    • B29C66/723General aspects of processes or apparatus for joining preformed parts characterised by the composition, physical properties or the structure of the material of the parts to be joined; Joining with non-plastics material characterised by the structure of the material of the parts to be joined being multi-layered
    • BPERFORMING OPERATIONS; TRANSPORTING
    • B29WORKING OF PLASTICS; WORKING OF SUBSTANCES IN A PLASTIC STATE IN GENERAL
    • B29CSHAPING OR JOINING OF PLASTICS; SHAPING OF MATERIAL IN A PLASTIC STATE, NOT OTHERWISE PROVIDED FOR; AFTER-TREATMENT OF THE SHAPED PRODUCTS, e.g. REPAIRING
    • B29C66/00General aspects of processes or apparatus for joining preformed parts
    • B29C66/70General aspects of processes or apparatus for joining preformed parts characterised by the composition, physical properties or the structure of the material of the parts to be joined; Joining with non-plastics material
    • B29C66/73General aspects of processes or apparatus for joining preformed parts characterised by the composition, physical properties or the structure of the material of the parts to be joined; Joining with non-plastics material characterised by the intensive physical properties of the material of the parts to be joined, by the optical properties of the material of the parts to be joined, by the extensive physical properties of the parts to be joined, by the state of the material of the parts to be joined or by the material of the parts to be joined being a thermoplastic or a thermoset
    • B29C66/739General aspects of processes or apparatus for joining preformed parts characterised by the composition, physical properties or the structure of the material of the parts to be joined; Joining with non-plastics material characterised by the intensive physical properties of the material of the parts to be joined, by the optical properties of the material of the parts to be joined, by the extensive physical properties of the parts to be joined, by the state of the material of the parts to be joined or by the material of the parts to be joined being a thermoplastic or a thermoset characterised by the material of the parts to be joined being a thermoplastic or a thermoset
    • B29C66/7392General aspects of processes or apparatus for joining preformed parts characterised by the composition, physical properties or the structure of the material of the parts to be joined; Joining with non-plastics material characterised by the intensive physical properties of the material of the parts to be joined, by the optical properties of the material of the parts to be joined, by the extensive physical properties of the parts to be joined, by the state of the material of the parts to be joined or by the material of the parts to be joined being a thermoplastic or a thermoset characterised by the material of the parts to be joined being a thermoplastic or a thermoset characterised by the material of at least one of the parts being a thermoplastic
    • B29C66/73921General aspects of processes or apparatus for joining preformed parts characterised by the composition, physical properties or the structure of the material of the parts to be joined; Joining with non-plastics material characterised by the intensive physical properties of the material of the parts to be joined, by the optical properties of the material of the parts to be joined, by the extensive physical properties of the parts to be joined, by the state of the material of the parts to be joined or by the material of the parts to be joined being a thermoplastic or a thermoset characterised by the material of the parts to be joined being a thermoplastic or a thermoset characterised by the material of at least one of the parts being a thermoplastic characterised by the materials of both parts being thermoplastics
    • BPERFORMING OPERATIONS; TRANSPORTING
    • B29WORKING OF PLASTICS; WORKING OF SUBSTANCES IN A PLASTIC STATE IN GENERAL
    • B29CSHAPING OR JOINING OF PLASTICS; SHAPING OF MATERIAL IN A PLASTIC STATE, NOT OTHERWISE PROVIDED FOR; AFTER-TREATMENT OF THE SHAPED PRODUCTS, e.g. REPAIRING
    • B29C66/00General aspects of processes or apparatus for joining preformed parts
    • B29C66/80General aspects of machine operations or constructions and parts thereof
    • B29C66/81General aspects of the pressing elements, i.e. the elements applying pressure on the parts to be joined in the area to be joined, e.g. the welding jaws or clamps
    • B29C66/814General aspects of the pressing elements, i.e. the elements applying pressure on the parts to be joined in the area to be joined, e.g. the welding jaws or clamps characterised by the design of the pressing elements, e.g. of the welding jaws or clamps
    • B29C66/8141General aspects of the pressing elements, i.e. the elements applying pressure on the parts to be joined in the area to be joined, e.g. the welding jaws or clamps characterised by the design of the pressing elements, e.g. of the welding jaws or clamps characterised by the surface geometry of the part of the pressing elements, e.g. welding jaws or clamps, coming into contact with the parts to be joined
    • B29C66/81411General aspects of the pressing elements, i.e. the elements applying pressure on the parts to be joined in the area to be joined, e.g. the welding jaws or clamps characterised by the design of the pressing elements, e.g. of the welding jaws or clamps characterised by the surface geometry of the part of the pressing elements, e.g. welding jaws or clamps, coming into contact with the parts to be joined characterised by its cross-section, e.g. transversal or longitudinal, being non-flat
    • B29C66/81421General aspects of the pressing elements, i.e. the elements applying pressure on the parts to be joined in the area to be joined, e.g. the welding jaws or clamps characterised by the design of the pressing elements, e.g. of the welding jaws or clamps characterised by the surface geometry of the part of the pressing elements, e.g. welding jaws or clamps, coming into contact with the parts to be joined characterised by its cross-section, e.g. transversal or longitudinal, being non-flat being convex or concave
    • B29C66/81422General aspects of the pressing elements, i.e. the elements applying pressure on the parts to be joined in the area to be joined, e.g. the welding jaws or clamps characterised by the design of the pressing elements, e.g. of the welding jaws or clamps characterised by the surface geometry of the part of the pressing elements, e.g. welding jaws or clamps, coming into contact with the parts to be joined characterised by its cross-section, e.g. transversal or longitudinal, being non-flat being convex or concave being convex
    • BPERFORMING OPERATIONS; TRANSPORTING
    • B29WORKING OF PLASTICS; WORKING OF SUBSTANCES IN A PLASTIC STATE IN GENERAL
    • B29LINDEXING SCHEME ASSOCIATED WITH SUBCLASS B29C, RELATING TO PARTICULAR ARTICLES
    • B29L2031/00Other particular articles
    • B29L2031/712Containers; Packaging elements or accessories, Packages
    • B29L2031/7128Bags, sacks, sachets

Landscapes

  • Engineering & Computer Science (AREA)
  • Mechanical Engineering (AREA)
  • Physics & Mathematics (AREA)
  • Thermal Sciences (AREA)
  • Chemical & Material Sciences (AREA)
  • Dispersion Chemistry (AREA)
  • Package Closures (AREA)
  • Vacuum Packaging (AREA)
  • Basic Packing Technique (AREA)
  • Supplying Of Containers To The Packaging Station (AREA)

Abstract

【課題】スチーム脱気を行う縦型袋詰め包装において、確実且つ安定した超音波シールを行える包装方法及び包装機を提供する。
【解決手段】被充填物の充填を行った後に袋B内にスチームノズル23を挿入してスチームを噴射し、袋内の空気を置換脱気する縦型袋詰め包装機1。スチーム脱気後に、スチームで加熱された挟圧板27,29で超音波シールを施すシール部を予熱し、シール部全体を均一な温度に予熱する。次いで超音波シール装置35でシール部を超音波シールする。
【選択図】 図1

Description

本願発明は、スチーム脱気を行う縦型袋詰め包装方法及び装置に関する。さらに詳細に言えば、袋を吊下げ状態に保持して移送すると共に、その移送途中において被包装物の充填、袋内の空気をスチームで置換するスチーム脱気、袋口の超音波シールを順次行う縦型袋詰め包装方法及び装置に関する。
袋を吊下げ状態で支持して移送しながら被包装物を充填して包装する所謂縦型袋詰め包装において、被包装物を充填した後にスチームを袋内へ吹き込んでこのスチームにより袋内の空気を置換して脱気を行うことは従来から知られている。スチーム脱気装置を備える一般的な縦型袋詰め包装機では、このスチーム脱気を行った後に、内蔵したヒータにより熱せられる一対の熱板で袋口を挟圧し、袋口をシールしている。
一方、包装袋の袋口の他のシール方法として超音波シールも従来から知られている。超音波シールではホーンとアンビルとで袋口を挟圧し、その状態でホーンを超音波振動させることにより袋口シール部において発熱させて該シール部を溶着するが、その際に、ホーンの超音波振動により袋口シール部の内面に付着した被包装物を切断することができるので、所謂噛み込みによるシール不良を防止できるという利点がある。
特開平3−126528号及びは特開2000−142605号は、プラスチックチューブを超音波シールするに当たり、その超音波シールの前処理として袋口内周面に熱風を吹き付けて予熱する技術を開示している。
また、特開2004−67177号は、被包装物を充填し、チャンバー内で真空脱気を行い、袋口を仮シールした後に超音波シールを行う真空包装方法及び装置を開示している。この仮シールは、超音波シールのための予熱処理ではなく、袋口を溶着密閉するものであり、超音波シールは、仮にその仮シール部に噛み込みなどによる不具合があっても袋口の密閉を完全にするためにその仮シールの下側に形成されるようになっている。
特開平3−126528号公報 特開2000−142605号公報 特開2004−67177号公報
ところで、スチーム脱気を行う際、スチームを吹き込むことにより袋口のシール部の温度は上昇するが、温度上昇は場所によって異なり、例えば100℃のスチームを使用した場合、袋の幅方法中央付近では例えば95℃から100℃に、袋の両側縁部付近では60℃前後になったりする。前述の熱板を使用するヒートシール装置では、比較的に袋の上下方向での幅が広い、例えば5mmから10mmの幅を備えた熱板を用いて、袋内面にラミネートされた溶着層が溶融する温度、例えばポリプロピレンの場合には160℃前後の熱をシール部に直接加える構成であるために、前述のスチーム吹込みによる温度上昇が場所によって不均一であっても熱板によるシールには殆ど影響がない。
ところが、超音波シールでは前述の通り、外部の熱源を用いてシール部に熱を付与するのではなく、超音波シール部に熱を発生させるものであり、袋口のシール部に効率よく超音波振動を伝達するためにホーンの挟圧面の幅が狭く形成されている。そして、超音波振動により発生する熱量は、シール部内での位置に関係なく、すなわちホーン及びアンビルの長手方向いずれの位置でも略均一である。従ってスチーム脱気による昇温に位置によってバラツキがあると、トータル熱量にバラツキが生じ、熱量が不足の部分では溶着が不完全となり、熱量が過剰な部分では過熱状態となって袋の外側にラミネートされた層まで溶融してシール部が溶断されてしまう。上記特許文献にはこれらスチーム脱気により発生する袋上の不均一な熱分布の問題は勿論、スチーム脱気した袋を超音波シールする際の問題点、特に如何に予熱処理を行うべきかについての開示は一切ない。
本願発明は上記従来例の問題点に鑑みなされたものであり、スチーム脱気を行う縦型袋詰め包装において、確実且つ安定した超音波シールを行える包装方法及び包装機を提供することを目的とする。
上記課題を解決するために、本発明に係る、吊下げ状態に保持した袋を所定の軌道に沿って移送しながら該袋内に被充填物を充填して包装する縦型袋詰め包装方法においては、以下の工程を含むように構成した。
袋内に被充填物を充填する充填工程。
袋内の空気をスチームで置換して脱気するスチーム脱気工程。
袋の袋口のシール部を予熱する予熱工程。
袋口のシール部を超音波シールする超音波シール工程。
そして、その予熱工程はスチーム脱気工程と超音波シール工程との間に設けられ、その予熱工程において、シール部は、予熱をする前のシール部の最も温度の高い部分の温度以上で、袋の内面側の材料の溶融温度未満の温度に予熱されるようになっている。
その予熱工程における予熱処理は、スチーム脱気工程で使用するスチームの供給源と同じスチーム供給源から供給されるスチームを用いて行われるようにすることができる。
また、その予熱工程での予熱処理は、熱源により加熱される互いに接離自在な一対の挟圧部材で袋口のシール部を挟圧することにより行うことができる。
上記課題を解決するために、本発明に係る、吊下げ状態に保持した袋を所定の軌道に沿って移送しながら該袋内に被充填物を充填して包装する縦型袋詰め包装機においては、間欠回転する回転テーブルと、その回転テーブルに周方向所定の間隔で取付けられ、袋を吊下げ状態に保持し、回転テーブルの間欠回転によって所定の停止位置に順次停止させられる複数の保持部材と、回転テーブルの外周に沿って所定の停止位置の1つに配置された、袋内に被充填物を充填する充填装置と、回転テーブル外周に沿って所定の停止位置の他の1つに配置された、袋内の空気をスチームで置換して脱気するスチーム脱気装置と、回転テーブル外周に沿って、回転テーブルの回転方向においてスチーム脱気装置が配置された停止位置の次の停止位置に配置された、袋の袋口のシール部を超音波シールする超音波シール装置と、袋の袋口のシール部を超音波シールに先立って所定の予熱温度に予熱する予熱装置とを備えている。そして、その予熱装置はスチーム脱気装置と同じ停止位置に配置され、予熱をする前の袋口のシール部の最も温度の高い部分の温度以上で、前記袋の内面側の材料の溶融温度未満の温度にシール部を予熱するようにした。
その予熱装置は、袋口のシール部を挟圧する互いに接離自在な一対の挟圧部材と、該挟圧部材を加熱する熱源とを備えて構成することができる。
さらに、各挟圧部材の内部にスチームの流れる流路が形成され、該流路にはスチーム脱気装置で使用されるスチームの供給源と同じ供給源からスチームが供給されるようにすることができる。
予熱装置の他の構成として、互いに向かって所定の距離だけ接離自在な一対の熱板と、その各熱板内に設けられた加熱源としてのヒータを備えて構成し、その熱板は、該熱板が互いに向かって所定の距離だけ移動したときに、袋口のシール部に所定の位置まで接近する放熱部を備えており、袋のシール部を、この放熱部からの輻射熱により予熱することができる。
さらに、超音波シールは袋の袋口の縁部から離れた位置に施され、熱板は、該熱板が互いに向かって所定の距離だけ移動したときに、袋のシール部より上の位置から袋口の縁部までの間で前記袋を挟圧する挟圧部を備えるように構成することができる。
上記の如く構成された本願発明においては、スチーム脱気後、超音波シール前に、シール部で一番温度の高い部分での温度以上で、袋内面の材料の溶融温度未満の温度にシール部を予熱するので、シール部全体を超音波シールを施すに先立って均一な温度とすることができ、その状態で超音波シールを行うので、確実且つ安定した超音波シールを実現できる。
予熱処理を行う際に、スチーム脱気処理で使用するスチームの供給源と同じ供給源からのスチームを使用することにより、別個の予熱するための熱源が不要となる。また、これにより、スチーム脱気でのスチームの温度変更に伴って必要となる予熱温度の変更も同時に行われるので、きわめて好都合である。
予熱部材に挟圧部と放熱部とを設けると、予熱処理と所謂化粧シールとを同時に行うことができ、作業効率が向上する。
以下図面を参照して本発明の実施の形態について説明するが、以下の実施の形態は例示的に示すものであり、本願発明の範囲がそれに限定されるものではない。
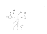
図1は本発明の第1の実施の形態に係る縦型袋詰め包装機(以下、「包装機」という)1の全体の構成を示す全体構成斜視図である。この実施の形態では包装機1は回転テーブル3を備えたロータリー式である。回転テーブル3には、対になって袋Bの両側縁部を挟持して保持するグリッパ5が円周方向所定の間隔で設けられ、回転テーブル3の間欠回転に伴ってステーション即ち停止位置S1からS10へと順次移動する。このステーションS1からS10において、回転テーブル3が停止中に各種の処理工程が実行される。なお、本実施の形態の包装機1は所謂ダブル型で、各工程では2つの袋Bに対して同時に同じ処理をするようになっている。
最初のステーションS1は給袋工程であり、図示しない袋マガジンから水平姿勢の袋Bを袋取出し吸盤7で取出して上方へ移動し、その袋Bの袋口を袋供給チャック8で挟持し、袋Bをグリッパ5へ向けて移送しながら90度姿勢を垂直状態に変更し、それをグリッパが受け取って保持する。次のステーションS2は印刷工程であり、プリンタ9によって袋Bに製造日等を印刷する。ステーションS3は開袋工程で、開口吸盤10とエアーノズル11を使用して袋Bを開く。ステーションS4は固形物をファンネル12を介して袋Bに充填する工程、ステーションS5はタンク13から液状充填物をノズル14を介して充填する工程である。
次にステーションS6ではスチーム脱気工程と袋のシール部の予熱工程が実行され、スチーム脱気装置21と予熱装置25とを備えている。これについては後述する。ステーションS7では超音波シール工程が実行され、超音波シール装置35を備えている。これについても後述する。ステーションS8では、ステーションS7で超音波シールを施された部分から袋Bの袋口の縁部Baまでに化粧シールを施し、袋Bを両側から挟圧する化粧シール用熱板15を使用する。なお、ここで施す化粧シールは、袋Bの超音波シールを施した位置から袋口縁部までの部分において、袋Bの両側のシートが溶着されていないと袋口が開いて見栄えが悪かったり、或いは両側のシートの間に異物が入り込むことも有り得るので、これらを防止するために行うものである。従って化粧シールには完全な密封性は要求されない。ステーションS9は冷却板16を用いて超音波シールと化粧シールを施した部分を冷却する冷却工程である。そして最後のステーションS10では製品として袋Bが搬出コンベア17上へ排出される。なお、本願の特許請求の範囲及び明細書において「シール部」とは超音波シールを施される或いは施された部分をいう。
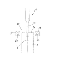
次にステーションS6でのスチーム脱気処理と袋Bのシール部の予熱処理及びステーションS7での超音波シール処理について図2乃至図7を参照して説明する。前述の通りステーションS6にはスチーム脱気装置21が配置されている。スチーム脱気装置21は公知のとおり、充填物を袋の中に充填した後に、袋内にスチームを吹き込んで袋内部の空気をスチームで置換することにより袋内を脱気するものである。スチーム脱気装置21は、図示しないスチーム供給源と、これに接続したスチームノズル23とを備えている。また、このステーションS6には予熱装置25も配置され、この予熱装置25は袋Bを挟んで位置する対となった予熱部材としての挟圧板27、29を備えている。この挟圧板27、29は袋Bの全幅を超えて延びる断面方形の細長い部材であり、その内部には長手方向に延びるスチーム流路28、30が形成され、図示しない配管により前述のスチーム脱気装置21のスチーム供給源に繋がっている。
図2においてステーションS5で液状充填物の充填をされた袋BがステーションS6に移動してきて停止する。このとき袋Bの両側縁部を挟持するグリッパ5,5は互いに近づいた位置にあって袋Bの袋口縁部Baは開いている。(図において袋Bの幅方向は紙面に垂直な方向である。図3乃至13において同じ。)スチームノズル23は図示しない支持装置により上下動可能に支持されており、袋Bがこの工程に移動してくるときには上昇した位置にある。一方予熱装置25の挟圧板27、29は袋Bを挟んで両側に位置し、図示しない駆動機構により互いに接離可能になっている。このような挟圧板27,29を互いに接離可能に移動させる駆動機構は、対になった熱板で袋口を挟圧してシールする従来知られたヒートシール装置でも用いられており、本実施の形態でもそのような従来知られて駆動機構を使用するので、詳細な説明は省略する。図示のとおり袋BがステーションS6に移動してきたときには挟圧板27、29は互いに遠ざかった位置にある。なお、挟圧板27,29のスチーム流路28、30には前述したとおりスチーム供給源からスチームが供給されて所定の温度、例えば100℃のスチームが供給される場合には略それに近い温度に加温されている。
袋BがステーションS6で停止すると、先ずスチームノズル23が降下してその先端が袋Bの中に挿入される(図3)。挟圧板27、29はそのままの位置に留まっている。スチームノズル23からのスチームの噴射は、この実施の形態ではスチームノズル23の下降開始と同時であるが、袋口縁部Baに接近したとき、或いは袋B内にスチームノズル23の先端が挿入された後など。適宜なタイミングを選択できる。そしてスチームノズル23が袋B内に挿入された後所定のタイミングで両側のグリッパ5が互いに遠ざかり、袋Bの袋口を緊張させる。これにより、袋口はスチームノズル23の周囲に略密着する(図4)。この間もスチームの袋B内への噴射は続けられ、袋B内の空気のスチームによる置換が行われる。挟圧板27、29は離れたままである。
所定の時間スチームの噴射を行った後、スチームノズル23が袋Bから引抜かれ、グリッパ5、5がさらに互いから遠ざかって袋口を緊張させて閉じる。それと略同時に挟圧板27、29が互いに接近して袋口を両側から挟圧して加熱する(図5)。挟圧して加熱する範囲は、少なくとも次の工程S7で超音波シールされるシール部分を含み、本実施の形態では超音波シールするシール部分の少し下から袋口縁部Baまでを加熱するようになっている。そして所定の時間に渡っての加熱が行われると挟圧板27、29は互いに遠去かる(図6)。
次いで袋Bは袋口を閉じた状態でステーションS7に移動される。そこには超音波シール装置35が配置され、その互いに接離可能に支持されたホーン36とアンビル37とが互いに離れた位置で待機している(図6)。そして、袋Bが停止すると図中矢印の通り互いに向かって移動し、袋Bを挟んで当接する。そしてホーン36に超音波振動が付与されると、公知のとおり袋Bのこのシール部分に熱が発生し、袋の内面側の素材が溶融し、シールが行われる。
ところで、図2から図4に渡ってスチーム脱気処理を行っている間、袋B内へ噴射されるスチームにより、袋Bの袋口は、後の超音波シール工程でシールを施される部分が加熱されるが、その温度は場所によってバラツキがある。一般的には袋Bの幅方向中央部付近は比較的に高く、両側縁部は低くなる。そして、予熱処理を行う前において超音波シールを施す部分で最も温度が高い部分の温度は、スチームの吹き込み量、吹き込み時間、袋口の開口状態、被充填物の充填状態、さらにはスチーム脱気処理をしてから予熱処理を開始するまでの時間(温度低下時間)などによって異なるが、例えば使用するスチームの温度が100℃である場合、それと同等或いはそれより5〜10℃低くなるのが一般的である。このように温度にバラツキが生じているシール部分即ち超音波シールを施す部分を、同じスチームで略スチームと同等の温度に加熱された挟圧板で挟圧加熱することにより、超音波シールするシール部分の温度を均一にすることができる。
一方、ステーションS7で施される超音波シールは、超音波振動によりシール部に生じる摩擦により発生する熱を利用するものであるが、この摩擦により発生する熱量はシール部のどの位置でも均一となる。従って、ステーションS6でスチーム脱気をしただけで袋BをステーションS7に移動して超音波シールを施すと、シール部の各部において、スチーム脱気の際に加えられて残っていた熱量と超音波シールを施す際に発生する熱量との総和に、シール部の各部においてバラツキが生じ、シール不良が生じてしまう。すなわち、熱量が不足する部分では袋内面が溶着せず、熱量が過剰な部分では袋の外側の層まで溶かしてしまい、裂断を生じたりする。しかし、本実施の形態によれば、スチーム脱気を行った後に予熱処理を行い、シール部全体について温度を均一にしておくので、超音波シールを行う際にシール部全体について熱量が均一となり、良好なシール状態を得ることができる。勿論、予熱処理を行う際には、その予熱温度は袋Bの内面側の素材の溶融温度より低くする。
なお、上記ではスチームで挟圧板を加熱し、その挟圧板で袋のシール部を挟圧して予熱する構成としたが、挟圧板同様細長い部材にその長手方向に沿って多数のスチーム噴射口を設け、これを袋のシール部に接近させてスチームを噴射し、シール部を均一温度に予熱するような構成も可能である。
次に図8乃至13を参照して第2の実施の形態に係る包装機51を説明する。図8乃至13は第1の実施の形態に係る図2乃至7にそれぞれ対応する。この包装機51は、第1の実施の形態に係る包装機1とは使用する予熱装置が異なるのみで他の構成は同じであるので、同じ部材には同じ参照番号を使用し、その詳細な説明は省略する。なお、後述するとおりこの第2の実施の形態では予熱時に同時に化粧シールを行い、第1の実施の形態のように超音波シール後の化粧シールは行わない。従って超音波シール工程の次はシール部冷却工程となるため、第1の実施の形態より工程を少なくできる。
図8において符号21はスチームノズル23を備えたスチーム脱気装置である。符号53は予熱装置であり、一対の熱板54、61とを備えている。この熱板54、61は第1の実施の形態の挟圧板27、29と同じように断面略方形で、長さが袋Bの幅より長くなった細長い形状をしている。形状において挟圧板27、29と異なる点は、互いに向き合った作用面55と62に段差が設けられている点である。すなわち、下側の放熱面56、63と、それより前方にそれぞれ位置する上側の挟圧面57、64とから成っている。さらにこの予熱装置53では第1の実施の形態と異なり、スチームを利用せず、加熱源としてヒータ58、65をそれぞれ熱板54,61に内蔵している。図8は袋BがステーションS6へ移動してきて停止し、スチームノズル23がスチームの噴射を開始して下降を始める状態である。熱板54,61は互いに離れた位置に留まっている。
図9ではスチームノズル23の先端が袋B内に挿入されている。熱板54,61は前の位置の留まっている。図10ではグリッパ5、5が互いに所定の距離だけ遠ざかり、袋口を緊張させ、スチームノズル23の周囲に密着させている。図11ではスチームノズル23が袋Bから引き出され、一方、熱板54と61とが所定の距離だけ互いに向かって移動している。この状態で上側の挟圧面57、64は袋Bの超音波シールされるシール部より上側で袋Bを挟んで互いに当接しているが、下側の放熱面56、63は袋Bから僅かな距離だけ離れている。即ち、挟圧面57、64は超音波シールされる部分より袋口縁部に近い側に化粧シールを施す。一方、放熱面56、63からは熱が放射され、その輻射熱によって超音波シールされるシール部分に対して予熱処理を施す。ここで、例えば袋Bの内側面の材料がポリプロピレンの場合、溶融温度は160℃位であるが、熱板54,61はそれとほぼ同じに加熱される。従って、袋口側を化粧シールできると共に、超音波シールをする部分を均一温度に予熱することができる。但し、輻射熱であるために160℃より若干低い温度に予熱される。
こうして化粧シールと超音波シール部の予熱を行った後、熱板54と61は互いに遠ざけられ(図12)、袋BはステーションS7へ移動させられ、第1の実施の形態と同様に、ホーン36とアンビル37とを備えた超音波シール装置35を用いて超音波シールを施される。この第2の実施の形態では化粧シールと予熱処理とを同時に行えるという利点がある。
本願の実施の形態に係る縦型袋詰め包装機の全体構成斜視図である。 第1の実施の形態でのスチーム脱気工程の開始時を示す図である。 スチームノズルが袋内に挿入された状態の図である。 袋口を緊張させた状態の図である。 スチームノズルが袋から抜き出され、挟圧板がシール部を予熱している状態を示す図である。 挟圧板が離れた状態を示す図である。 超音波シールを施している状態を示す図である。 第2の実施の形態の、第1の実施の形態の図2に対応する図である。 第2の実施の形態の、第1の実施の形態の図3に対応する図である。 第2の実施の形態の、第1の実施の形態の図4に対応する図である。 第2の実施の形態の、第1の実施の形態の図5に対応する図である。 第2の実施の形態の、第1の実施の形態の図6に対応する図である。 第2の実施の形態の、第1の実施の形態の図7に対応する図である。
符号の説明
1:縦型袋詰め包装機 3:回転テーブル 5:グリッパ 21:スチーム脱気装置 23:スチームノズル 25:予熱装置 27,29:挟圧板 28、30:スチーム流路 35:超音波シール装置 36:ホーン 37:アンビル

Claims (8)

  1. 吊下げ状態に保持した袋を所定の軌道に沿って移送しながら該袋内に被充填物を充填して包装する縦型袋詰め包装方法において、
    前記袋内に被充填物を充填する充填工程と、
    前記袋内の空気をスチームで置換して脱気するスチーム脱気工程と、
    前記袋の袋口のシール部を予熱する予熱工程と、
    前記袋口のシール部を超音波シールする超音波シール工程とを含み、
    前記予熱工程は前記スチーム脱気工程と前記超音波シール工程との間に設けられ、
    前記予熱工程において、前記シール部は、予熱をする前のシール部の最も温度の高い部分の温度以上で、前記袋の内面側の材料の溶融温度未満の温度に予熱される
    ことを特徴とする、縦型袋詰め包装方法。
  2. 請求項1記載の縦型袋詰め包装方法において、前記予熱工程における予熱処理は、前記スチーム脱気工程で使用するスチームの供給源と同じスチーム供給源から供給されるスチームを用いて行われることを特徴とする、縦型袋詰め包装方法。
  3. 請求項1記載の縦型袋詰め包装方法において、前記予熱工程における予熱処理は、熱源により加熱される互いに接離自在な一対の挟圧部材で前記袋口のシール部を挟圧することにより行うことを特徴とする、縦型袋詰め包装方法。
  4. 吊下げ状態に保持した袋を所定の軌道に沿って移送しながら該袋内に被充填物を充填して包装する縦型袋詰め包装機において、
    間欠回転する回転テーブルと、前記回転テーブルに周方向所定の間隔で取付けられ、前記袋を吊下げ状態に保持し、前記回転テーブルの間欠回転によって所定の停止位置に順次停止させられる複数の保持部材と、前記回転テーブルの外周に沿って前記所定の停止位置の1つに配置された、前記袋内に被充填物を充填する充填装置と、前記回転テーブル外周に沿って前記所定の停止位置の他の1つに配置された、前記袋内の空気をスチームで置換して脱気するスチーム脱気装置と、前記回転テーブル外周に沿って、前記回転テーブルの回転方向において前記スチーム脱気装置が配置された停止位置の次の停止位置に配置された、前記袋の袋口のシール部を超音波シールする超音波シール装置と、前記袋の袋口のシール部を前記超音波シールに先立って所定の予熱温度に予熱する予熱装置とを備え、前記予熱装置は前記スチーム脱気装置と同じ停止位置に配置され、前記所定の予熱温度は、予熱をする前の袋口のシール部の最も温度の高い部分の温度以上で、前記袋の内面側の材料の溶融温度未満であることを特徴とする、縦型袋詰め包装機。
  5. 請求項4記載の縦型袋詰め包装機において、前記予熱装置は、前記袋口のシール部を挟圧する互いに接離自在な一対の挟圧部材と、該挟圧部材を加熱する熱源とを備えていることを特徴とする、縦型袋詰め包装機。
  6. 請求項5記載の縦型袋詰め包装機において、前記各挟圧部材の内部にスチームの流れる流路が形成され、該流路には前記スチーム脱気装置で使用されるスチームの供給源と同じ供給源からスチームが供給されることを特徴とする、縦型袋詰め包装機。
  7. 請求項4記載の縦型袋詰め包装機において、前記予熱装置は、互いに向かって所定の距離だけ接離自在な一対の熱板と、前記各熱板内に設けられた加熱源としてのヒータを備え、前記熱板は、該熱板が互いに向かって前記所定の距離だけ移動したときに、前記袋口のシール部に所定の位置まで接近する放熱部を備え、前記シール部は、前記放熱部からの輻射熱により予熱されることを特徴とする、縦型袋詰め包装機。
  8. 請求項7記載の縦型袋詰め包装機において、前記超音波シールは前記袋の袋口の縁部から離れた位置に施され、前記熱板は、該熱板が互いに向かって前記所定の距離だけ移動したときに、前記袋の前記シール部より上の位置から前記袋口の縁部までの間で前記袋を挟圧する挟圧部を備えていることを特徴とする、縦型袋詰め包装機。
JP2008188234A 2008-07-22 2008-07-22 縦型袋詰め包装方法及び装置 Active JP5450996B2 (ja)

Priority Applications (6)

Application Number Priority Date Filing Date Title
JP2008188234A JP5450996B2 (ja) 2008-07-22 2008-07-22 縦型袋詰め包装方法及び装置
US12/380,147 US8245485B2 (en) 2008-07-22 2009-02-24 Vertical-type bag packaging method and apparatus
AT09005316T ATE477912T1 (de) 2008-07-22 2009-04-14 Verfahren und vorrichtung zum vertikalen verpacken in beuteln
EP20090005316 EP2147774B1 (en) 2008-07-22 2009-04-14 Vertical - type bag packaging method and apparatus
DE200960000126 DE602009000126D1 (de) 2008-07-22 2009-04-14 Verfahren und Vorrichtung zum vertikalen Verpacken in Beuteln
ES09005316T ES2350512T3 (es) 2008-07-22 2009-04-14 Método y aparato de empaquetado de bolsas de tipo vertical.

Applications Claiming Priority (1)

Application Number Priority Date Filing Date Title
JP2008188234A JP5450996B2 (ja) 2008-07-22 2008-07-22 縦型袋詰め包装方法及び装置

Publications (2)

Publication Number Publication Date
JP2010023887A true JP2010023887A (ja) 2010-02-04
JP5450996B2 JP5450996B2 (ja) 2014-03-26

Family

ID=41202282

Family Applications (1)

Application Number Title Priority Date Filing Date
JP2008188234A Active JP5450996B2 (ja) 2008-07-22 2008-07-22 縦型袋詰め包装方法及び装置

Country Status (6)

Country Link
US (1) US8245485B2 (ja)
EP (1) EP2147774B1 (ja)
JP (1) JP5450996B2 (ja)
AT (1) ATE477912T1 (ja)
DE (1) DE602009000126D1 (ja)
ES (1) ES2350512T3 (ja)

Cited By (8)

* Cited by examiner, † Cited by third party
Publication number Priority date Publication date Assignee Title
JP2015182806A (ja) * 2014-03-26 2015-10-22 東洋自動機株式会社 袋詰め包装方法及び袋詰め包装機
JP2015214366A (ja) * 2014-05-13 2015-12-03 東洋自動機株式会社 エアバッグ付き袋への気体封入方法及び気体封入装置
JP2016147688A (ja) * 2015-02-12 2016-08-18 東洋自動機株式会社 グリッパー装置および袋詰め包装機
KR20170064987A (ko) 2015-12-02 2017-06-12 도요지도키 가부시키가이샤 초음파 밀봉방법 및 장치
WO2017217167A1 (ja) * 2016-06-15 2017-12-21 ゼネラルパッカー株式会社 包装機および包装機におけるシール方法
WO2021241035A1 (ja) * 2020-05-23 2021-12-02 オリヒロエンジニアリング株式会社 内容物入りフィルム包装袋、縦型製袋充填包装機、内容物入りフィルム包装袋の製造方法
JP2022114171A (ja) * 2021-01-26 2022-08-05 Pacraft株式会社 シール装置
JP2022551465A (ja) * 2019-10-14 2022-12-09 クライオバック・エル・エル・シー 包装装置およびプロセス

Families Citing this family (25)

* Cited by examiner, † Cited by third party
Publication number Priority date Publication date Assignee Title
DE102008020256A1 (de) * 2008-04-22 2009-10-29 Haver & Boecker Ohg Packanlage
JP5399224B2 (ja) * 2009-12-11 2014-01-29 東洋自動機株式会社 袋詰め包装機
DE102011101040A1 (de) * 2011-05-09 2012-11-15 Haver & Boecker Ohg Rotierbare Packmaschine und Verfahren zum Füllen von offenen Säcken
DE102011101047A1 (de) * 2011-05-09 2012-11-15 Haver & Boecker Ohg Rotierbare Packmaschine und Verfahren zum Füllen von offenen Säcken
DE102013104804B4 (de) * 2013-05-08 2015-10-22 Waldorf Technik Gmbh & Co. Kg Verpackungsverfahren, Verpackungsvorrichtung sowie Spritzgussanlage mit Verpackungsvorrichtung
DE102013104800B4 (de) * 2013-05-08 2015-09-10 Waldorf Technik Gmbh & Co. Kg Verpackungsverfahren, Verpackungsvorrichtung sowie Spritzgussanlage mit Verpackungsvorrichtung
JP6040406B2 (ja) * 2013-05-10 2016-12-07 ゼネラルパッカー株式会社 ガス充填包装方法とその包装機
JP6069174B2 (ja) 2013-05-31 2017-02-01 東洋自動機株式会社 袋詰め包装機における超音波シール装置
EP3177534B1 (en) * 2014-08-08 2020-10-07 Mars, Incorporated Pouch residual air reduction device
JP2016055878A (ja) * 2014-09-05 2016-04-21 東洋自動機株式会社 気体流路付き袋並びに袋の包装方法及び装置
KR20160063017A (ko) * 2014-11-26 2016-06-03 권오성 진공 포장 장치
US9991417B2 (en) * 2015-07-31 2018-06-05 International Business Machines Corporation Resonant cavity strained III-V photodetector and LED on silicon substrate
ES2808775T3 (es) 2016-04-29 2021-03-01 Pouch Partners Gmbh Máquina rotatoria y procedimiento para el sellado de bolsas de láminas
CN108541248B (zh) 2016-06-20 2020-04-03 朗锐包装技术(沧州)有限公司 一种封口装置
CN106184909B (zh) * 2016-07-18 2018-08-07 蚌埠市众邦包装厂 一种全自动多功能块状产品包装设备
RU2736338C1 (ru) * 2017-04-05 2020-11-16 Дженерал Пэкер Ко., Лтд. Способ упаковки, используемый в устройстве для подачи и упаковки оболочек, и устройство для подачи и упаковки оболочек
JP6957267B2 (ja) * 2017-08-25 2021-11-02 Pacraft株式会社 搬送機構
JP2019043652A (ja) * 2017-09-06 2019-03-22 ゼネラルパッカー株式会社 三角サンドイッチ用包装機
WO2019207175A1 (es) * 2018-04-23 2019-10-31 Técnicas Mecánicas Ilerdenses, S.L. Máquina para llenar sacos con un producto a granel y procedimiento de llenado correspondiente
CN109823625B (zh) * 2019-03-11 2023-09-08 安徽御流包装机械有限公司 包装袋封口装置及包装袋封口方法
CN111703599B (zh) * 2020-06-28 2021-01-15 上海医安诺生物科技有限公司 一种可批量灌装的细胞输注液灌装装置
CN112319947B (zh) * 2020-11-12 2022-02-11 澧县津溥包装制品有限责任公司 一种食品包装用塑料热塑封口结构
KR102673028B1 (ko) * 2022-02-17 2024-06-05 지성한 리니어 타입의 진공 포장시스템
CN117208349B (zh) * 2023-11-07 2024-01-19 山西柏生元生物技术有限公司 一种中药材包装处理装置
IT202400004174A1 (it) * 2024-02-27 2025-08-27 Oxydis S R L S Macchina per la conservazione di prodotti e metodo di funzionamento relativo

Citations (5)

* Cited by examiner, † Cited by third party
Publication number Priority date Publication date Assignee Title
JPH0272024A (ja) * 1988-08-30 1990-03-12 Toppan Printing Co Ltd 液体紙容器の密封方法
JPH0995311A (ja) * 1994-06-30 1997-04-08 Ishii Shokuhin Kk 袋詰包装機の包装袋の脱気方法
JPH1120801A (ja) * 1997-06-30 1999-01-26 Oji Paper Co Ltd 容器蓋の高速接着方法およびその装置
JP2005022700A (ja) * 2003-07-02 2005-01-27 Seal Eitou Kk 熱シール装置
JP2008127031A (ja) * 2006-11-18 2008-06-05 Nihon Tetra Pak Kk 包装充填装置及び包装充填方法

Family Cites Families (24)

* Cited by examiner, † Cited by third party
Publication number Priority date Publication date Assignee Title
US4081942A (en) * 1976-08-02 1978-04-04 Rexham Corporation Machine and method for filling, introducing steam into, and sealing flexible pouches
US4312171A (en) * 1980-01-24 1982-01-26 Fmc Corporation Method and apparatus for purging air from containers
US4369611A (en) * 1980-07-07 1983-01-25 Rexham Corporation Top heat sealing unit for pouches
US4318431A (en) * 1980-12-08 1982-03-09 Rjr Foods, Inc. Electronic control system for a pouch packaging machine
US4418512A (en) * 1981-03-25 1983-12-06 Rexham Corporation Machine and method for making substantially air-free sealed pouches
US4418513A (en) * 1981-04-16 1983-12-06 Rexham Corporation Packaging machine with means for closing flexible pouches around a nozzle
US4423583A (en) * 1981-07-23 1984-01-03 Rexham Corporation Packaging machine with pouch gripping clamps
US4714506A (en) * 1982-07-01 1987-12-22 Hiroshi Yamashiro Method for making a dunnage shock absorber
JPH03126528A (ja) 1989-10-11 1991-05-29 Masemachitsuku Kk プラスチックチューブのシール方法
JPH07501029A (ja) * 1991-07-02 1995-02-02 ウェルドトロン オブ デラウェア,インコーポレイテッド 封着と包装方法及びその装置
US5341623A (en) * 1991-07-02 1994-08-30 Weldotron Of Delaware, Inc. Film sealing and packaging method and apparatus with adjustable seal quality
US5379572A (en) * 1992-04-17 1995-01-10 Sencorp Systems, Inc. Blister packaging system and method
US5353573A (en) * 1992-09-16 1994-10-11 Unique Packaging, Inc. Apparatus and method for forming, filling and sealing closed individual pinch pouches
US6199601B1 (en) * 1998-02-17 2001-03-13 Profile Packaging, Inc. Method and apparatus for filling flexible pouches
FI981219L (fi) * 1998-05-29 1999-11-30 Upm Kymmene Corp Menetelmä ja pakkauskone täytetyn pakkauksen muodostamiseksi, aihiomateriaaliraina ja täytetty pakkaus
JP2000142605A (ja) 1998-11-10 2000-05-23 Pola Chem Ind Inc 超音波シール方法及び装置
JP2001315718A (ja) * 2000-02-23 2001-11-13 Toyo Jidoki Co Ltd 包装容器のシール部のシール方法、該シール方法に使用する熱処理板及びシール部の検査方法
US6773527B2 (en) 2002-04-01 2004-08-10 Kimberly-Clark Worldwide, Inc. Method for obtaining improved ultrasonic bond strength
JP2004042447A (ja) * 2002-07-11 2004-02-12 Toyo Jidoki Co Ltd ストッカー装置付き製袋包装機
JP2004067177A (ja) 2002-08-07 2004-03-04 Toyo Jidoki Co Ltd 超音波シール装置を用いた袋の真空包装方法及び超音波シール装置を備えた真空包装機
JP2004244081A (ja) * 2003-02-17 2004-09-02 Toyo Jidoki Co Ltd 袋のシール装置
EP1808375A1 (de) 2006-01-13 2007-07-18 Hilcona Aktiengesellschaft Vorrichtung zur Dichtversiegelung von Verbundfolienbeuteln
EP1932770A1 (en) * 2006-12-12 2008-06-18 Toyo Jidoki Co., Ltd. Steam - replacement deaeration apparatus and method for use in bag packaging
US20090056281A1 (en) * 2007-08-27 2009-03-05 Pouch Pac Innovations, Llc Shaped Flexible Pouch With Elongated Neck And Method Of Manufacture

Patent Citations (5)

* Cited by examiner, † Cited by third party
Publication number Priority date Publication date Assignee Title
JPH0272024A (ja) * 1988-08-30 1990-03-12 Toppan Printing Co Ltd 液体紙容器の密封方法
JPH0995311A (ja) * 1994-06-30 1997-04-08 Ishii Shokuhin Kk 袋詰包装機の包装袋の脱気方法
JPH1120801A (ja) * 1997-06-30 1999-01-26 Oji Paper Co Ltd 容器蓋の高速接着方法およびその装置
JP2005022700A (ja) * 2003-07-02 2005-01-27 Seal Eitou Kk 熱シール装置
JP2008127031A (ja) * 2006-11-18 2008-06-05 Nihon Tetra Pak Kk 包装充填装置及び包装充填方法

Cited By (18)

* Cited by examiner, † Cited by third party
Publication number Priority date Publication date Assignee Title
JP2015182806A (ja) * 2014-03-26 2015-10-22 東洋自動機株式会社 袋詰め包装方法及び袋詰め包装機
JP2015214366A (ja) * 2014-05-13 2015-12-03 東洋自動機株式会社 エアバッグ付き袋への気体封入方法及び気体封入装置
JP2016147688A (ja) * 2015-02-12 2016-08-18 東洋自動機株式会社 グリッパー装置および袋詰め包装機
US10676226B2 (en) 2015-12-02 2020-06-09 Toyo Jidoki Co., Ltd. Ultrasonic sealing method and device for bags
KR20170064987A (ko) 2015-12-02 2017-06-12 도요지도키 가부시키가이샤 초음파 밀봉방법 및 장치
EP3184442A2 (en) 2015-12-02 2017-06-28 Toyo Jidoki Co., Ltd. Ultrasonic sealing method and device for bags
RU2743520C2 (ru) * 2016-06-15 2021-02-19 Дженерал Пэкер Ко., Лтд. Упаковочная машина и способ сварки в упаковочной машине
JP2017222383A (ja) * 2016-06-15 2017-12-21 ゼネラルパッカー株式会社 包装機および包装機におけるシール方法
WO2017217167A1 (ja) * 2016-06-15 2017-12-21 ゼネラルパッカー株式会社 包装機および包装機におけるシール方法
US10954017B2 (en) 2016-06-15 2021-03-23 General Packer Co., Ltd. Packaging machine and sealing method in packaging machine
JP2022551465A (ja) * 2019-10-14 2022-12-09 クライオバック・エル・エル・シー 包装装置およびプロセス
JP7556950B2 (ja) 2019-10-14 2024-09-26 クライオバック・エル・エル・シー 包装装置およびプロセス
US12129063B2 (en) 2019-10-14 2024-10-29 Cryovac, Llc Packaging apparatus and process
US12157591B2 (en) 2019-10-14 2024-12-03 Cryovac, Llc Packaging apparatus, heat sealer and heat sealer module
AU2020367375B2 (en) * 2019-10-14 2024-12-19 Cryovac, Llc Packaging apparatus and process
WO2021241035A1 (ja) * 2020-05-23 2021-12-02 オリヒロエンジニアリング株式会社 内容物入りフィルム包装袋、縦型製袋充填包装機、内容物入りフィルム包装袋の製造方法
JP2021185086A (ja) * 2020-05-23 2021-12-09 オリヒロエンジニアリング株式会社 内容物入りフィルム包装袋、縦型製袋充填包装機、内容物入りフィルム包装袋の製造方法
JP2022114171A (ja) * 2021-01-26 2022-08-05 Pacraft株式会社 シール装置

Also Published As

Publication number Publication date
DE602009000126D1 (de) 2010-09-30
US8245485B2 (en) 2012-08-21
US20100018160A1 (en) 2010-01-28
EP2147774A1 (en) 2010-01-27
ATE477912T1 (de) 2010-09-15
ES2350512T3 (es) 2011-01-24
EP2147774B1 (en) 2010-08-18
JP5450996B2 (ja) 2014-03-26

Similar Documents

Publication Publication Date Title
JP5450996B2 (ja) 縦型袋詰め包装方法及び装置
US3166462A (en) Method and apparatus for heat sealing packages
CN105083647B (zh) 向带有气囊的袋的气体封入方法及气体封入装置
JP6413053B2 (ja) 包装機
US9102424B2 (en) Jaw support for a pouch filler
CN102239043A (zh) 用于闭合最好为袋式的包装用具的闭合设备
US12162643B2 (en) Packaging machine
WO2010116519A1 (ja) 無菌充填包装機および無菌充填包装方法
JP2014218262A (ja) エアバッグ付き袋のエアバッグ部の気体圧力検査装置
TWI740563B (zh) 泡鼓包裝機及泡鼓包裝的製造方法
US8647246B2 (en) Pressure sealing system
CN106809444B (zh) 超声波密封方法及装置
JP5319222B2 (ja) 袋詰め包装機
CN102481748B (zh) 止回型倒出嘴的安装装置
EP0883546B1 (en) Sealing apparatus
JP4418085B2 (ja) 包装体のシール装置
JP2004276930A (ja) 縦型充填包装機の縦シール方法およびその装置
US6832462B2 (en) Process for making tube blanks
JPWO2004092017A1 (ja) 包装体の製造方法及びその製造装置
JP2000218718A (ja) 逆止弁付袋の連続製造装置
JP5088820B2 (ja) 包装充填装置及び包装充填方法
CN207359733U (zh) 一种带袋口预热功能的焊嘴机
JP4574584B2 (ja) 紙容器用縦シール接着機構
JPH05212797A (ja) パッキング材料をヒートシールするための方法及び装置
JP2012020776A (ja) 縦型製袋充填包装機の縦シール装置

Legal Events

Date Code Title Description
A621 Written request for application examination

Free format text: JAPANESE INTERMEDIATE CODE: A621

Effective date: 20110124

A977 Report on retrieval

Free format text: JAPANESE INTERMEDIATE CODE: A971007

Effective date: 20121018

A131 Notification of reasons for refusal

Free format text: JAPANESE INTERMEDIATE CODE: A131

Effective date: 20121120

A521 Request for written amendment filed

Free format text: JAPANESE INTERMEDIATE CODE: A523

Effective date: 20130108

A02 Decision of refusal

Free format text: JAPANESE INTERMEDIATE CODE: A02

Effective date: 20130129

A521 Request for written amendment filed

Free format text: JAPANESE INTERMEDIATE CODE: A523

Effective date: 20130422

A911 Transfer to examiner for re-examination before appeal (zenchi)

Free format text: JAPANESE INTERMEDIATE CODE: A911

Effective date: 20130430

A912 Re-examination (zenchi) completed and case transferred to appeal board

Free format text: JAPANESE INTERMEDIATE CODE: A912

Effective date: 20130705

A521 Request for written amendment filed

Free format text: JAPANESE INTERMEDIATE CODE: A523

Effective date: 20131125

A61 First payment of annual fees (during grant procedure)

Free format text: JAPANESE INTERMEDIATE CODE: A61

Effective date: 20131226

R150 Certificate of patent or registration of utility model

Ref document number: 5450996

Country of ref document: JP

Free format text: JAPANESE INTERMEDIATE CODE: R150

Free format text: JAPANESE INTERMEDIATE CODE: R150

R250 Receipt of annual fees

Free format text: JAPANESE INTERMEDIATE CODE: R250

R250 Receipt of annual fees

Free format text: JAPANESE INTERMEDIATE CODE: R250

R250 Receipt of annual fees

Free format text: JAPANESE INTERMEDIATE CODE: R250

R250 Receipt of annual fees

Free format text: JAPANESE INTERMEDIATE CODE: R250

R250 Receipt of annual fees

Free format text: JAPANESE INTERMEDIATE CODE: R250

R250 Receipt of annual fees

Free format text: JAPANESE INTERMEDIATE CODE: R250

R250 Receipt of annual fees

Free format text: JAPANESE INTERMEDIATE CODE: R250

R250 Receipt of annual fees

Free format text: JAPANESE INTERMEDIATE CODE: R250

R250 Receipt of annual fees

Free format text: JAPANESE INTERMEDIATE CODE: R250