JP2010023830A - マルチピース型フレーム組立体を有する自動二輪車 - Google Patents

マルチピース型フレーム組立体を有する自動二輪車 Download PDF

Info

Publication number
JP2010023830A
JP2010023830A JP2009166515A JP2009166515A JP2010023830A JP 2010023830 A JP2010023830 A JP 2010023830A JP 2009166515 A JP2009166515 A JP 2009166515A JP 2009166515 A JP2009166515 A JP 2009166515A JP 2010023830 A JP2010023830 A JP 2010023830A
Authority
JP
Japan
Prior art keywords
frame
motorcycle
coupling
mount
mounting
Prior art date
Legal status (The legal status is an assumption and is not a legal conclusion. Google has not performed a legal analysis and makes no representation as to the accuracy of the status listed.)
Granted
Application number
JP2009166515A
Other languages
English (en)
Other versions
JP5628490B2 (ja
Inventor
Joshua Hedtke
ヘドック ジョシュア
Current Assignee (The listed assignees may be inaccurate. Google has not performed a legal analysis and makes no representation or warranty as to the accuracy of the list.)
Harley Davidson Motor Co Group LLC
Original Assignee
Harley Davidson Motor Co Group LLC
Priority date (The priority date is an assumption and is not a legal conclusion. Google has not performed a legal analysis and makes no representation as to the accuracy of the date listed.)
Filing date
Publication date
Application filed by Harley Davidson Motor Co Group LLC filed Critical Harley Davidson Motor Co Group LLC
Publication of JP2010023830A publication Critical patent/JP2010023830A/ja
Application granted granted Critical
Publication of JP5628490B2 publication Critical patent/JP5628490B2/ja
Active legal-status Critical Current
Anticipated expiration legal-status Critical

Links

Images

Classifications

    • BPERFORMING OPERATIONS; TRANSPORTING
    • B62LAND VEHICLES FOR TRAVELLING OTHERWISE THAN ON RAILS
    • B62KCYCLES; CYCLE FRAMES; CYCLE STEERING DEVICES; RIDER-OPERATED TERMINAL CONTROLS SPECIALLY ADAPTED FOR CYCLES; CYCLE AXLE SUSPENSIONS; CYCLE SIDE-CARS, FORECARS, OR THE LIKE
    • B62K11/00Motorcycles, engine-assisted cycles or motor scooters with one or two wheels
    • B62K11/02Frames
    • B62K11/04Frames characterised by the engine being between front and rear wheels
    • BPERFORMING OPERATIONS; TRANSPORTING
    • B62LAND VEHICLES FOR TRAVELLING OTHERWISE THAN ON RAILS
    • B62KCYCLES; CYCLE FRAMES; CYCLE STEERING DEVICES; RIDER-OPERATED TERMINAL CONTROLS SPECIALLY ADAPTED FOR CYCLES; CYCLE AXLE SUSPENSIONS; CYCLE SIDE-CARS, FORECARS, OR THE LIKE
    • B62K11/00Motorcycles, engine-assisted cycles or motor scooters with one or two wheels
    • B62K11/02Frames
    • BPERFORMING OPERATIONS; TRANSPORTING
    • B62LAND VEHICLES FOR TRAVELLING OTHERWISE THAN ON RAILS
    • B62KCYCLES; CYCLE FRAMES; CYCLE STEERING DEVICES; RIDER-OPERATED TERMINAL CONTROLS SPECIALLY ADAPTED FOR CYCLES; CYCLE AXLE SUSPENSIONS; CYCLE SIDE-CARS, FORECARS, OR THE LIKE
    • B62K19/00Cycle frames
    • B62K19/18Joints between frame members
    • B62K19/24Screwed joints

Landscapes

  • Engineering & Computer Science (AREA)
  • Mechanical Engineering (AREA)
  • Automatic Cycles, And Cycles In General (AREA)
  • Motorcycle And Bicycle Frame (AREA)

Abstract

【課題】 マルチピース型フレーム組立体を有する自動二輪車の提供。
【解決手段】 自動二輪車は、操舵ヘッド及び第1のマウントを含む第1のフレームと、第1のフレームに結合されるエンジン−トランスミッション組立体と、操舵ヘッドに回転可能に結合される操舵組立体と、操舵組立体に回転可能に結合される前輪と、第1のフレームに回転可能に結合されるスイングアーム組立体と、スイングアーム組立体に回転可能に結合される後輪と、第1のマウントにネジ式締結具で結合される第2のマウントを含む第2のフレームと、スイングアーム組立体に結合される第1の端部及び第2のフレームに結合される第2の端部を含むサスペンション部品とを含む。サスペンション部品により第1のフレームに掛かる力は、第2のフレーム及び第2のマウントに伝達される。
【選択図】 図2

Description

本発明は、自動二輪車に関し、より詳細には、自動二輪車フレームに関する。
自動二輪車フレームは、典型的には、1ピースの溶接構造として構成され、自動二輪車の幾つかの部品(例えば、エンジン、トランスミッション、操舵部品、サスペンション部品等)が取り付けられる。リアスイングアームを組み込む自動二輪車では、例えば、ストラット若しくはショックアブソーバは、典型的には、単体のフレームの後部とスイングアームの間に搭載される。
自動二輪車フレームは、典型的には、1ピースの単体構造として構成されるので、自動二輪車の設計の微妙な変更(例えば、より広い幅のリアタイヤを組み込むために自動二輪車を修正すること)は、典型的には、フレームの完全な再設計を要する。
本発明は、一局面では、操舵ヘッド及び第1のマウントを含む第1のフレームと、第1のフレームに結合されるエンジン−トランスミッション組立体と、操舵ヘッドに回転可能に結合される操舵組立体と、操舵組立体に回転可能に結合される前輪と、第1のフレームに回転可能に結合されるスイングアーム組立体と、スイングアーム組立体に回転可能に結合される後輪と、第1のマウントにネジ式締結具で結合される第2のマウントを含む第2のフレームと、スイングアーム組立体に結合される第1の端部及び第2のフレームに結合される第2の端部を含むサスペンション部品とを含む自動二輪車を提供する。サスペンション部品により第1のフレームに掛かる力は、第2のフレーム及び第2のマウントに伝達される。
本発明は、その他の局面では、操舵ヘッドと、操舵ヘッドから後方に延在する少なくとも1つの長手方向のフレーム部材と、長手方向のフレーム部材に結合され凹部を有する第1のマウンチング部と、長手方向のフレーム部材に結合され突起を有する第2のマウンチング部とを有する第1のフレーム部を含む自動二輪車フレームを提供する。自動二輪車フレームは、また、第1のフレーム部に固定される第2のフレーム部を含む。第2のフレーム部は、第1のマウンチング部の凹部内に少なくとも部分的に受け入れられる突起を有する第1の結合部と、第2のマウンチング部の突起が少なくとも部分的に受け入れられる凹部を有する第2の結合部とを含む。
本発明は、その他の局面では、操舵ヘッドと、操舵ヘッドから後方に延在する少なくとも1つの長手方向のフレーム部材と、長手方向のフレーム部材に結合される第1のマウンチング部と、長手方向のフレーム部材に結合される第2のマウンチング部とを有する第1のフレーム部を含む自動二輪車フレームを提供する。第1及び第2のマウンチング部は、互いに対して向き合う関係のそれぞれの車両内側表面、及び、それぞれの車両外側表面を有する。自動二輪車フレームは、また、第1のフレーム部に固定される第2のフレーム部を含む。第2のフレーム部は、第1のマウンチング部の車両外側表面に係合される第1の結合部と、第2のマウンチング部の車両内側表面に係合される第2の結合部とを含む。
本発明の他の局面は、詳細な説明及び添付図面を考慮することで明らかになるだろう。
本発明のマルチピース型フレームを組み込む自動二輪車の側面図。 図1のマルチピース型フレームの側面図。 図2のマルチピース型フレームの反対側の側面図。 図2のマルチピース型フレームの分解斜視図。 図2のマルチピース型フレームの第1のフレームの後部の拡大斜視図。 図2のマルチピース型フレームの第2のフレームの拡大斜視図。 図2のライン7−7に沿って取られた図2のマルチピース型フレームを通る断面図。 図3のライン8−8に沿って取られた図2のマルチピース型フレームを通る断面図。 図2のライン9−9に沿って取られた図2のマルチピース型フレームを通る断面図。 図3のライン10−10に沿って取られた図2のマルチピース型フレームを通る断面図。
本発明の実施例を詳説する前に、理解されるべきこととして、本発明は、図面に図示された又は次の説明が付与された部品の構造及び配置の詳細にその用途が限定されるものでない。本発明は、他の実施例が可能であり、種々の態様で実現ないし実施されることができる。また、理解されるべきこととして、ここで用いられる専門語ないし用語は、説明の目的であり、限定としてみなされるべきでない。ここで“含む”や“有する”及びそれらの変形の使用は、その後に列挙されるアイテム及びその均等物のみならず、追加のアイテムを包含する意図で用いられている。特に特定ないし限定されない限り、用語“搭載される”、“接続される”、“支持される”及び“結合される”及びそれらの変形は、広い意味で用いられ、直接的及び間接的な搭載、接続、支持、及び結合を包含する。更に、“接続される”及び“結合される”は、物理的又は機械的な接続や結合に限定されない。
図1は、自動二輪車10を示し、自動二輪車10は、エンジン/トランスミッション組立体14、マルチピース型フレーム18、フロントフォーク組立体22、スイングアームないしリアフォーク組立体26、前輪30、後輪34、シート38及び燃料タンク42を含む。フレーム18は、前輪30を支持するフロントフォーク組立体22を回転可能に支持する操舵ヘッド44を含む。フロントフォーク組立体22は、自動二輪車10を操舵するための対のハンドルバー46を含む。リアフォーク組立体26は、自動二輪車10の後端にてフレーム18に結合され、後輪34を回転可能に支持する。シート38は、フレーム18に結合され、ライダーを支持するように構成される。燃料タンク42は、フレーム18により支持され、エンジン/トランスミッション組立体14に燃料を供給する。
エンジン/トランスミッション組立体14は、自動二輪車10の前輪30と後輪34の間のシート38の下方でフレーム18に結合される。図1の参照を続けるに、エンジン/トランスミッション組立体14は、エンジン/トランスミッション組立体14の別個の独立した部品を含む、エンジン50及びトランスミッション54を含む。エンジン50は、トランスミッション54の前方でフレーム18により支持されるV型ツインエンジン50を含む。エンジン50は、トランスミッション54に動力を与えるために従来の態様でプライマリチェーン(図示せず)を駆動するプライマリドライブスプロケット(図示せず)を含む、クランクシャフトのような出力シャフト(図示せず)を含む。
図2−4を参照するに、マルチピース型フレーム18は、第1の若しくはメインフレーム58と、メインフレーム58に固定される第2の若しくはテールフレーム62を含む。メインフレーム58は、操舵ヘッド44と、エンジン/トランスミッション組立体14を支持するように構成された対の略長手方向のフレーム部材66と、操舵ヘッド44及び長手方向のフレーム部材66間に延在する対のダウン管70と、フレームバックボーン74とを含む。メインフレーム58は、また、長手方向のフレーム部材66及びフレームバックボーン74間に延在する対のリアフレーム部材78を含む。図示のマルチピース型フレーム18の構成では、リアフレーム部材78は、長手方向のフレーム部材66及びフレーム58の他の部分(例えばフレームバックボーン74)に溶接される鋳造品である。リアフレーム部材78は、また、それぞれ、スイングアームないしリアフォーク組立体26を回転可能に搭載するためのスイングアームアクスル及びベアリング(図示せず)を受け入れるように構成されてもよい。或いは、リアフレーム部材78は、鋳造プロセスのような任意の適切なプロセスから作成されてもよく、若しくは、リアフレーム部材78は、スイングアームないしリアフォーク組立体26を支持しないメインフレーム58の後部を含んでもよい。更なる代替例として、メインフレーム58は、任意の多数の異なる構成を有してもよい。
テールフレーム62は、デュアルサポート86、長手方向のフレーム部材66に略平行な方向に各サポート86から延在する長手方向のフレーム部材88、及び、長手方向のフレーム部材88との間に斜めの角度を画成して各サポート86から延在する斜めフレーム部材90を含む。マルチピース型フレーム18の図示された構成では、サポート86は、フレーム88,90が溶接される鋳造品である。或いは、サポート86は、フレーム部材88,90と共に単一ピースとして一体的に形成されてもよい。図4を参照するに、各サポート86は、サスペンション部品94(例えばストラット)の一端が搭載されるマンチングボス92を含む(図2及び3も参照)。サスペンション部品94の他端は、リアフォーク組立体26に従来の態様で搭載される。従って、サスペンション部品94の上端により負荷されるサスペンション荷重若しくは力は、メインフレーム58に伝達若しくは到達する前にテールフレーム62を通過する。各サポート86は、また、自動二輪車10の他の部品(例えば、リアフェンダ、サドルバック、シーシーバー(sissy bar)、バックレスト、パッセンジャーシート等)が取り付けられる追加のマウンチングボス(符号なし)を含んでよい。
図4及び5を参照するに、メインフレーム58は、複数のマウント98a−98dを含み、テールフレーム62は、メインフレーム58の複数のマウント98a−98dに係合する複数のマウント102a−102dを含む。図2及び3に示すように、メインフレーム58上の2つのマウント98a,98bは、長手方向のフレーム部材66と略平行な方向に延在し、メインフレーム58上の残りのマウント98c,98dは、それぞれ、長手方向のフレーム部材66に対して斜めの角度でリアフレーム部材78から上方に延在する。或いは、マウント98a−98dは、テールフレーム62に接続するために多数の異なる方法の任意によりメインフレーム58上で方向付けられてもよい。
図4及び5を参照するに、メインフレーム58上のマウント98aは、突起として構成されたマウンチング部106aを含み、テールフレーム62上の対応するマウント102aは、凹部として構成された結合部106bを含み、結合部106b内には、マウンチング部106aが少なくとも部分的に受け入れられる。更に、メインフレーム58上のマウント98bは、凹部として構成されたマウンチング部110aを含み、テールフレーム62上の対応するマウント102bは、突起として構成された結合部110bを含み、結合部110bは、マウンチング部110a内に少なくとも部分的に受け入れられる。或いは、マウンチング部106a,110aの位置は、逆にされてもよく、結合部106b、110bの位置は、逆にされたマウンチング部106a,110aに対応するために逆にされてもよい。また、メインフレーム58は、代替的に単一のマウンチング106a若しくは110aのみを含んでよく、若しくは、2つのマウンチング部106a,110a以外を含んでもよい。同様に、テールフレーム62は、代替的に単一の結合部106b若しくは110bのみを含んでよく、若しくは、2つの結合部106b、110b以外を含んでもよい。
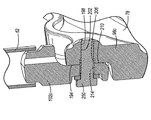
図5を参照するに、マウンチング部106aは、略平らなマウンチングフェース若しくはマウンチング面114、マウンチング面114に対して斜めの角度でマウンチング面114の上縁から延在する壁118、及び、マウンチング面114に対して斜めの角度でマウンチング面114の底縁から延在する壁122を含む。前述のように、マウンチング部106aは、壁118,122がマウント98a上で外側に向くように、突起として構成される。マウンチング部106aの図示の構成では、マウンチング面114及び壁118は、共通の上縁を共有し、マウンチング面114及び壁122は、共通の底縁を共有する。或いは、マウンチング106aは、それぞれ、マウンチング面114と壁118の間に遷移面を含み、マウンチング面114と壁122の間に遷移面を含むように構成されてもよい。マウンチング部106aは、また、マウント98aを貫通して延在する2つの穴126を含む。各穴126は、マウンチング面114から軸方向内方に離間されたネジ穴130、及び、ネジ穴130とマウンチング面114の間に延在するカウンタボア134を含む(図8参照)。
図6を参照するに、結合部106bは、略平らな結合フェース若しくは結合面138、結合面138に対して斜めの角度で結合面138の上縁から延在する壁142、及び、結合面138に対して斜めの角度で結合面138の底縁から延在する壁146を含む。前述のように、結合部106bは、壁142,146がマウント102a上で互いに向かって内側に対面する態様で、凹部として構成される。結合部106bの図示の構成では、結合面138及び壁142は、共通の上縁を共有し、結合面138及び壁146は、共通の底縁を共有する。或いは、結合部106bは、それぞれ、結合面138と壁142の間に遷移面を含み、結合面138と壁146の間に遷移面を含むように構成されてもよい。結合部106bは、また、マウント102aを貫通して延在する2つの結合穴150を含む。図8に示すように、結合穴150は、ネジが形成されない。
図8の参照を続けるに、マウンチング部106aの壁118,122は、約58度の開先角度αを画成し、結合部106bの壁142,146は、約50度の開先角度βを画成して、以下で詳説するように、マウンチング部106aの結合部106bに対する楔型結合を促進する。或いは、任意の多数の異なる組み合わせの壁118,122の開先角度及び壁142,146の開先角度は、マウンチング部106aの結合部106bに対する楔型結合を促進するために利用されてもよい。
図4及び5を参照するに、マウンチング部110aは、略平らなマウンチングフェース若しくはマウンチング面154、マウンチング面154に対して斜めの角度でマウンチング面154の上縁から延在する壁158、及び、マウンチング面154に対して斜めの角度でマウンチング面154の底縁から延在する壁162を含む。前述のように、マウンチング部110aは、壁158,162がマウント98b上で内側に向く態様で、凹部として構成される。マウンチング部110aの図示の構成では、マウンチング面154及び壁158は、共通の上縁を共有し、マウンチング面154及び壁162は、共通の底縁を共有する。或いは、マウンチング110aは、それぞれ、マウンチング面154と壁158の間に遷移面を含み、マウンチング面154と壁162の間に遷移面を含むように構成されてもよい。マウンチング部110aは、また、マウント98bを貫通して延在する2つの穴166を含む。図7に示すように、穴166は、ネジが形成されない。
図4を参照するに、結合部110bは、略平らな結合フェース若しくは結合面170、結合面170に対して斜めの角度で結合面170の上縁から延在する壁174、及び、結合面170に対して斜めの角度で結合面170の底縁から延在する壁178を含む。前述のように、結合部110bは、壁174,178がマウント102b上で互いに向かって外側に向く態様で、突起として構成される。結合部110bの図示の構成では、結合面170及び壁174は、共通の上縁を共有し、結合面170及び壁178は、共通の底縁を共有する。或いは、結合部110bは、それぞれ、結合面170と壁174の間に遷移面を含み、結合面170と壁178の間に遷移面を含むように構成されてもよい。結合部110bは、また、マウント102bを貫通して延在する2つの結合穴182を含む。各穴182は、結合面170から軸方向内方に離間されたネジ穴186、及び、ネジ穴186と結合面170の間に延在するカウンタボア190を含む(図7参照)。
図7の参照を続けるに、結合部110bの壁174,178は、約58度の開先角度αを画成し、マウンチング部110aの壁158,162は、約50度の開先角度βを画成して、以下で詳説するように、マウンチング部110aに対する結合部110bの楔型結合を促進する。或いは、任意の多数の異なる組み合わせの壁174,178の開先角度及び壁158,162の開先角度は、マウンチング部110aに対する結合部110bの楔型結合を促進するために利用されてもよい。
図5を参照するに、マウント98cは、略平らなマウンチングフェースないしマウンチング面194と、マウント98cを貫通して延在する穴198を含む。穴198は、マウンチング面194から軸方向内方に離間されたネジ穴202、及び、ネジ穴202とマウンチング面194の間に延在するカウンタボア206を含む(図10参照)。図4を参照するに、マウント102cは、略平らな結合フェースないし結合面210と、マウント102cを貫通して延在するネジ無しの穴214を含む(同様に図10参照)。
図5を参照するに、マウント98dは、略平らなマウンチングフェースないしマウンチング面218と、マウント98dを貫通して延在するネジ無しの穴222を含む。図4を参照するに、マウント102dは、略平らな結合フェースないし結合面226と、マウント102dを貫通して延在する穴230を含む(図10参照)。穴230は、結合面226から軸方向内方に離間されたネジ穴234、及び、ネジ穴234と結合面226の間に延在するカウンタボア238を含む。
図6,9及び10を参照するに、それぞれのマウント102a,102bは、テールフレーム62の対応するフレーム部材88に結合され、それぞれのマウント102c、102dは、テールフレーム62の対応するフレーム部材90に結合される(例えば、溶接により、圧入を用いて、等)。或いは、マウント102a−102dのそれぞれは、テールフレーム62の対応するフレーム部材88、90と共に単一ピースとして一体に形成されてもよい。
図4−6を参照するに、マウンチング部106aは、フレーム18の長手軸242に対して車両外側に向いている一方、結合部106bは、長手軸242に対して車両内側に向いている。しかし、マウンチング部110aは、長手軸242に対して車両内側に向いている一方、結合部110bは、長手軸242に対して車両外側に向いている。その結果、テールフレーム62は、長手軸242に略横断する方向で結合部106bとマウンチング部106aを係合させることにより、メインフレーム58に組み付けられることができる。同様に、テールフレーム62は、長手軸242に略横断する方向で結合部110bとマウンチング部110aを係合させることにより、メインフレーム58に組み付けられることができる。このような態様で、マウント98a−98dは、メインフレーム58へのテールフレーム62の固定を見越してそれぞれのマウント102a−102dに略同時に係合させられる。
図7を参照するに、締結具246(例えば、ネジボルト及びワッシャ)は、マウント98bの穴166を通って挿入され、次いで、マウント102bにおける対応する位置合わせされた結合穴182のカウンタボア190内に挿入される。締結具246は、それぞれの結合穴182のネジ穴186内に手で締め付けられてよく、これにより、結合部110bの壁174,178は、噛み合うマウンチング部110aのそれぞれの壁158,162に対して係合ないし楔打ちされる。図8に示すのと同様の態様で、締結具246は、マウント102a内の穴150を通して挿入され、次いで、マウント98aにおける対応する位置合わせされたマウンチング穴126のカウンタボア134内に挿入される。締結具246は、それぞれのマウンチング穴126のネジ穴130内に手で締め付けられてよく、これにより、結合部106bの壁142,146は、噛み合うマウンチング部106aのそれぞれの壁118,122に対して係合ない楔打ちされる。
図7及び8を参照するに、締結具246は、更に、従来のハンドツール(例えばレンチやラチェットソケット)を用いて更に締め付けられてよく、これにより、結合部106bの壁142,146及びマウンチング部110aの壁158,162は外側に撓み、結合面138がマウンチング面114に係合するのを可能とし、結合面170がマウンチング面154に係合するのを可能とし、取り付けられたマウント98a,102a及び取り付けられたマウント98b、102bによりそれぞれ形成される各結合部の寸法安定性が増加する。それぞれ、結合部106b及びマウンチング部110aの近傍位置でのマウント102a,98bのそれぞれの厚み“T”は、マウント102a,98bのそれぞれの全体幅“W”に比例すべきであり、それぞれのマウント102a,98bの壁142,146,158,162が、締結具246の所望のトルク設定で外側に撓むことが許容されてもよく、結合面138がマウンチング面114に係合することが可能となり、結合面170がマウンチング面154に係合することが可能となる。マウント102a,98bの図示の構成では、マウント102a,98bのそれぞれの全体幅Wに対するそれぞれのマウント102a,98bの厚さTの比は、約2:1である。
図9を参照するに、締結具250(例えば、ネジボルト及びワッシャ)は、マウント98dの穴222を通って挿入され、次いで、マウント102dにおける位置合わせされた穴230のカウンタボア238内に挿入される。締結具250は、ネジ穴234内に手で締め付けられてよく、次いで、従来のハンドツールを用いて締め付けられてよい。同様に、図10を参照するに、他の締結具250は、マウント102cの穴214を通って挿入され、次いで、マウント98cにおける位置合わせされた穴198のカウンタボア206内に挿入される。締結具250は、ネジ穴202内に手で締め付けられてよく、次いで、従来のハンドツールを用いて締め付けられてよい。
マウンチング部106aの結合部106bに対する食い込みないし楔打ち、及び、結合部110bのマウンチング部110aに対する食い込みないし楔打ちにより形成される結合部は、テールフレーム62に負荷される曲げ力若しくはせん断力が、締結具246自身を介して通るのではなく、リアフレーム部材78及びメインフレーム58の残りに直接伝達されることを可能とする。具体的には、サスペンション部品90によりメインフレーム58上に掛かるサスペンション荷重若しくは力は、マウント98a,98bを介してメインフレーム58に伝達される前に、初期的にテールフレーム及びマウント102a−102dを介して方向付けられる。その結果、締結具246は、テールフレーム62に負荷される曲げ力若しくはせん断力に無関係に、軸方向の張力でほとんど排他的に維持される。
マウンチング部106aの結合部106bに対する食い込みないし楔打ち、及び、結合部110bのマウンチング部110aに対する食い込みないし楔打ちにより形成される結合部は、また、テールフレーム62とメインフレーム58の間の締付力を増加させることなくテールフレーム62により大きい荷重が負荷されるのを可能とする(例えば、より重いサドルバックを可能とする)。更に、マウンチング部106aの結合部106bに対する食い込みないし楔打ち、及び、結合部110bのマウンチング部110aに対する食い込みないし楔打ちにより形成される結合部は、テールフレーム62とメインフレーム58の間のほとんど無い締付力で、テールフレーム62に負荷される曲げ力若しくはせん断力をテールフレーム62がメインフレーム58に直接伝達することを可能とする。更に、マウンチング部106aの結合部106bに対する食い込みないし楔打ち、及び、結合部110bのマウンチング部110aに対する食い込みないし楔打ちにより形成される結合部は、テールフレーム62若しくはメインフレーム58のいずれかに塗布される塗装の厚さの変動が原因となりうるマウンチング部106a,110a及び結合部106b、110bのサイズの変動を吸収する。
マウンチング部106aの結合部106bに対する食い込みないし楔打ち、及び、結合部110bのマウンチング部110aに対する食い込みないし楔打ちにより形成される結合部は、また、異なる幅のフェンダサポート94を備える異なる構成のテールフレーム62を必要とする異なるサイズのリアフェンダが、同一のメインフレーム58に結合されることを可能とする。それ故に、製造業者は、標準サイズのリアタイヤ及び附属のリアフェンダを有する自動二輪車を組み立てる際、及び、広幅のリアタイヤ及び附属の広幅のリアフェンダを有する自動二輪車を組み立てる際に、同一のメインフレーム58を利用することができる。標準サイズのリアタイヤ及びリアフェンダを有する自動二輪車を購入した顧客は、また、広幅のリアタイヤ及び附属のリアフェンダを収容するためにメインフレーム58を如何なる方法で修正する必要なく、標準サイズのリアタイヤ及びリアフェンダを広幅のリアタイヤ及び附属のリアフェンダに容易に置換することができる。
本発明の種々の特徴及び効果は、添付のクレームに付与される。

Claims (28)

  1. 自動二輪車であって、
    操舵ヘッド及び第1のマウントを含む第1のフレームと、
    前記第1のフレームに結合されるエンジン−トランスミッション組立体と、
    前記操舵ヘッドに回転可能に結合される操舵組立体と、
    前記操舵組立体に回転可能に結合される前輪と、
    前記第1のフレームに回転可能に結合されるスイングアーム組立体と、
    前記スイングアーム組立体に回転可能に結合される後輪と、
    前記第1のマウントにネジ式締結具で結合される第2のマウントを含む第2のフレームと、
    前記スイングアーム組立体に結合される第1の端部及び前記第2のフレームに結合される第2の端部を含むサスペンション部品とを含み、
    前記サスペンション部品により前記第1のフレームに掛かる力は、前記第2のフレーム及び第2のマウントに伝達される、自動二輪車。
  2. 前記第1のマウントは、マウンチング面、及び、前記マウンチング面に斜めの角度で前記マウンチング面から延在する第1及び第2の壁を含み、
    前記第2のマウントは、結合面、及び、前記結合面に斜めの角度で前記結合面から延在する第1及び第2の壁を含み、
    前記第1のマウントの第1及び第2の壁は、前記第1のフレームに対する前記第2のフレームの回転を実質的に防止するために、それぞれ前記第2のマウントの第1及び第2の壁に対して楔式に固定される、請求項1に記載の自動二輪車。
  3. 前記マウンチング面及び前記第1のマウント上の第1及び第2の壁は、前記第1のフレームに凹部を画成し、前記結合面及び前記第2のマウント上の第1及び第2の壁は、前記第2のフレームから延在する突起を画成し、前記突起は、前記凹部内に少なくとも部分的に受け入れられる、請求項2に記載の自動二輪車。
  4. 前記第1のマウントは、結合面、及び、前記結合面に斜めの角度で前記結合面から延在する第1及び第2の壁を含み、
    前記第2のマウントは、マウンチング面、及び、前記マウンチング面に斜めの角度で前記マウンチング面から延在する第1及び第2の壁を含み、
    前記第2のマウントの第1及び第2の壁は、前記第1のフレームに対する前記第2のフレームの回転を実質的に防止するために、それぞれ前記第1のマウントの第1及び第2の壁に対して楔式に固定される、請求項1に記載の自動二輪車。
  5. 前記マウンチング面及び前記第2のマウント上の第1及び第2の壁は、前記第2のフレームに凹部を画成し、前記結合面及び前記第1のマウント上の第1及び第2の壁は、前記第1のフレームから延在する突起を画成し、前記突起は、前記凹部内に少なくとも部分的に受け入れられる、請求項4に記載の自動二輪車。
  6. 前記サスペンション部品は、前記第2のマウントから離間した前記第2のフレームの位置にて前記第2のフレームに結合される、請求項1に記載の自動二輪車。
  7. 前記サスペンション部品の第2の端部は、前記第1のフレームに直接結合されない、請求項6に記載の自動二輪車。
  8. 前記第1のマウントは、車両外側の表面を含み、前記第2のマウントは、前記第1のマウントの前記車両外側の表面に係合する車両内側の表面を含む、請求項1に記載の自動二輪車。
  9. 前記第1のマウントは、前記第1のマウントを前記第2のマウントに固定するために前記ネジ式締結具を受け入れるように構成されたネジ穴を含む、請求項8に記載の自動二輪車。
  10. 前記第1のフレームに結合される第3のマウント及び前記第2のフレームに結合される第4のマウントを更に含み、
    前記第3のマウントは、車両内側の表面を含み、前記第4のマウントは、前記第3のマウントの車両内側の表面に係合する車両外側の表面を含む、請求項8に記載の自動二輪車。
  11. 前記第4のマウントは、前記第3のマウントに前記第4のマウントを固定するために他のネジ式締結具を受け入れるように構成されたネジ穴を含む、請求項10に記載の自動二輪車。
  12. 前記第2のマウントは、前記第2のフレームの前記第1のフレームへの組み付け中に、自動二輪車を通る長手軸に略横断する方向で、前記第1のマウントとの係合に至らされる、請求項1に記載の自動二輪車。
  13. 第1のフレーム部と、前記第1のフレーム部に固定される第2のフレーム部を含む自動二輪車フレームであって、
    前記第1のフレーム部は、
    操舵ヘッドと、
    前記操舵ヘッドから後方に延在する少なくとも1つの長手方向のフレーム部材と、
    前記長手方向のフレーム部材に結合され凹部を有する第1のマウンチング部と、
    前記長手方向のフレーム部材に結合され突起を有する第2のマウンチング部とを含み、
    前記第2のフレーム部は、
    前記第1のマウンチング部の凹部内に少なくとも部分的に受け入れられる突起を有する第1の結合部と、
    前記第2のマウンチング部の突起が少なくとも部分的に受け入れられる凹部を有する第2の結合部とを含む、自動二輪車フレーム。
  14. 前記第1のマウンチング部の凹部は、マウンチング面、及び、前記マウンチング面に斜めの角度で前記マウンチング面から延在する第1及び第2の壁により画成され、
    前記第1の結合部の突起は、結合面、及び、前記結合面に斜めの角度で前記結合面から延在する第1及び第2の壁により画成される、請求項13に記載の自動二輪車フレーム。
  15. 前記第1のマウンチング部の第1及び第2の壁は、前記第1のフレーム部に対する前記第2のフレーム部の回転を実質的に防止するために、それぞれ前記第1の結合部の第1及び第2の壁に楔式に固定される、請求項14に記載の自動二輪車フレーム。
  16. 前記第2の結合部の凹部は、第2の結合面、及び、前記第2の結合面に斜めの角度で前記第2の結合面から延在する第1及び第2の壁により画成され、
    前記第2のマウンチング部の突起は、第2のマウンチング面、及び、前記第2のマウンチング面に斜めの角度で前記第2のマウンチング面から延在する第1及び第2の壁により画成される、請求項14に記載の自動二輪車フレーム。
  17. 前記第2のマウンチング部の第1及び第2の壁は、前記第1のフレーム部に対する前記第2のフレーム部の回転を実質的に防止するために、それぞれ前記第2の結合部の第1及び第2の壁に楔式に固定される、請求項16に記載の自動二輪車フレーム。
  18. 前記第1のマウンチング部は、車両内側の表面を含み、前記第1の結合部は、前記第1のマウンチング部の車両内側の表面に係合する車両外側の表面を含む、請求項13に記載の自動二輪車フレーム。
  19. 前記第1の結合部は、前記第1の結合部に前記第1のマウンチング部を固定するためにネジ式締結具を受け入れるように構成されたネジ穴を含む、請求項18に記載の自動二輪車フレーム。
  20. 前記第2のマウンチング部は、車両外側の表面を含み、前記第2の結合部は、前記第2のマウンチング部の前記車両外側の表面に係合する車両内側の表面を含む、請求項18に記載の自動二輪車フレーム。
  21. 前記第2のマウンチング部は、前記第2の結合部に前記第2のマウンチング部を固定するためにネジ式締結具を受け入れるように構成されたネジ穴を含む、請求項20に記載の自動二輪車フレーム。
  22. 第1のフレーム部と、前記第1のフレーム部に固定される第2のフレーム部を含む自動二輪車フレームであって、
    前記第1のフレーム部は、
    操舵ヘッドと、
    前記操舵ヘッドから後方に延在する少なくとも1つの長手方向のフレーム部材と、
    前記長手方向のフレーム部材に結合される第1のマウンチング部と、
    前記長手方向のフレーム部材に結合される第2のマウンチング部とを含み、
    前記第1及び第2のマウンチング部は、互いに対して向き合う関係のそれぞれの車両内側表面及びそれぞれの車両外側表面を有し、
    前記第2のフレーム部は、
    前記第1のマウンチング部の車両外側表面に係合される第1の結合部と、
    前記第2のマウンチング部の車両内側表面に係合される第2の結合部とを含む、自動二輪車フレーム。
  23. 前記第1のマウンチング部は、凹部を含み、前記第1の結合部は、前記第1のマウンチング部の凹部内に少なくとも部分的に受け入れられる突起を含む、請求項22に記載の自動二輪車フレーム。
  24. 前記第1のマウンチング部の凹部は、マウンチング面、及び、前記マウンチング面に斜めの角度で前記マウンチング面から延在する第1及び第2の壁により画成され、
    前記第1の結合部の突起は、結合面、及び、前記結合面に斜めの角度で前記結合面から延在する第1及び第2の壁により画成され、
    前記第1のマウンチング部の第1及び第2の壁は、前記第1のフレーム部に対する前記第2のフレーム部の回転を実質的に防止するために、それぞれ前記第1の結合部の第1及び第2の壁に楔式に固定される、請求項23に記載の自動二輪車フレーム。
  25. 前記第2のマウンチング部は、突起を含み、前記第2の結合部は、前記第2のマウンチング部の突起が少なくとも部分的に受け入れられる凹部を含む、請求項23に記載の自動二輪車フレーム。
  26. 前記第2の結合部の凹部は、第2の結合面、及び、前記第2の結合面に斜めの角度で前記第2の結合面から延在する第1及び第2の壁により画成され、
    前記第2のマウンチング部の突起は、第2のマウンチング面、及び、前記第2のマウンチング面に斜めの角度で前記第2のマウンチング面から延在する第1及び第2の壁により画成され、
    前記第2のマウンチング部の第1及び第2の壁は、前記第1のフレーム部に対する前記第2のフレーム部の回転を実質的に防止するために、それぞれ前記第2の結合部の第1及び第2の壁に楔式に固定される、請求項25に記載の自動二輪車フレーム。
  27. 前記第1のマウンチング部は、前記第1の結合部に前記第1のマウンチング部を固定するためにネジ式締結具を受け入れるように構成されたネジ穴を含む、請求項22に記載の自動二輪車フレーム。
  28. 前記第2の結合部は、前記第2の結合部に前記第2のマウンチング部を固定するためにネジ式締結具を受け入れるように構成されたネジ穴を含む、請求項22に記載の自動二輪車フレーム。
JP2009166515A 2008-07-16 2009-07-15 マルチピース型フレーム組立体を有する自動二輪車及び自動二輪車フレーム Active JP5628490B2 (ja)

Applications Claiming Priority (2)

Application Number Priority Date Filing Date Title
US12/173,964 2008-07-16
US12/173,964 US8851496B2 (en) 2008-07-16 2008-07-16 Motorcycle having a multi-piece frame assembly

Publications (2)

Publication Number Publication Date
JP2010023830A true JP2010023830A (ja) 2010-02-04
JP5628490B2 JP5628490B2 (ja) 2014-11-19

Family

ID=41427494

Family Applications (1)

Application Number Title Priority Date Filing Date
JP2009166515A Active JP5628490B2 (ja) 2008-07-16 2009-07-15 マルチピース型フレーム組立体を有する自動二輪車及び自動二輪車フレーム

Country Status (3)

Country Link
US (1) US8851496B2 (ja)
JP (1) JP5628490B2 (ja)
DE (1) DE102009032846B4 (ja)

Cited By (2)

* Cited by examiner, † Cited by third party
Publication number Priority date Publication date Assignee Title
EP3002203A1 (en) 2014-10-02 2016-04-06 Kawasaki Jukogyo Kabushiki Kaisha Motorcycle
JP2017171139A (ja) * 2016-03-24 2017-09-28 本田技研工業株式会社 自動二輪車

Families Citing this family (15)

* Cited by examiner, † Cited by third party
Publication number Priority date Publication date Assignee Title
JP5112092B2 (ja) * 2008-01-31 2013-01-09 本田技研工業株式会社 自動2輪車のリアフレーム取付構造
US8616324B2 (en) * 2009-07-25 2013-12-31 Gary D. Chipp Sub-frame and component configuration for mounting of a motorcycle drop seat
US7994651B2 (en) * 2010-09-27 2011-08-09 Dov Frishberg Apparatus for converting the energy of waves on a body of water
JP2012136161A (ja) * 2010-12-27 2012-07-19 Honda Motor Co Ltd 鞍乗型車両
US8985416B2 (en) * 2013-01-10 2015-03-24 Harley-Davidson Motor Company Group, LLC Mounting interface for a removable motorcycle accessory
CN108100129B (zh) 2013-03-15 2020-08-18 北极星工业有限公司 两轮车辆
CN105658510B (zh) * 2013-11-07 2019-12-31 川崎重工业株式会社 跨乘式车辆的车身框架结构
US20190276110A1 (en) * 2014-12-29 2019-09-12 Peter Tristan Ridet System and method for dynamic motorcycle frame
JP6167151B2 (ja) * 2015-10-09 2017-07-19 本田技研工業株式会社 鞍乗り型車両
JP6605324B2 (ja) * 2015-12-24 2019-11-13 川崎重工業株式会社 スイングアームの支持構造
CN107150755A (zh) * 2017-03-20 2017-09-12 深圳市人行者科技有限公司 一种曲线车架
CN106882307A (zh) * 2017-04-10 2017-06-23 深圳市人行者科技有限公司 一种波浪形车架
JP6962661B2 (ja) * 2018-03-28 2021-11-05 本田技研工業株式会社 鞍乗型車両のシートフレーム
US11242103B2 (en) * 2020-05-06 2022-02-08 Lindby Custom, Inc Foot rest assembly for motorcycles
JP7584263B2 (ja) * 2020-09-28 2024-11-15 カワサキモータース株式会社 鞍乗型車両及びその車体フレーム構造

Citations (7)

* Cited by examiner, † Cited by third party
Publication number Priority date Publication date Assignee Title
JPS58133979A (ja) * 1982-02-01 1983-08-09 本田技研工業株式会社 自動二輪車等の分離式フレ−ムの結合構造
JPS5920780A (ja) * 1982-07-27 1984-02-02 本田技研工業株式会社 自動二輪車等のフレ−ム構造
JPS6055596U (ja) * 1983-09-26 1985-04-18 本田技研工業株式会社 自動二輪車のフレ−ム構造
JPS611488U (ja) * 1984-06-12 1986-01-07 本田技研工業株式会社 二輪車の分割式フレ−ムボデイ
JPH11278346A (ja) * 1998-03-31 1999-10-12 Honda Motor Co Ltd 自動2輪車の車体フレーム構造
JP2004067078A (ja) * 2002-05-31 2004-03-04 Harley-Davidson Motor Co Group Inc 取り外し可能部分を有する自動二輪車用フレーム
JP2007062601A (ja) * 2005-08-31 2007-03-15 Honda Motor Co Ltd 小型車両における気化器配設構造

Family Cites Families (40)

* Cited by examiner, † Cited by third party
Publication number Priority date Publication date Assignee Title
US1565624A (en) 1924-08-11 1925-12-15 Aeromarine Plane And Motor Com Detachable subframe for vehicles
US2445058A (en) * 1943-12-13 1948-07-13 Solar Corp Motor vehicle control mechanism for sequentially controlling wheel braking and motorspeed
US2408907A (en) * 1944-08-31 1946-10-08 Noblitt Sparks Ind Inc Metal furniture
US3872944A (en) 1972-06-09 1975-03-25 Lawrence S Shapiro Quick-connect coupling structures embodied in motorcycle for rapid take down
US3945463A (en) * 1974-07-27 1976-03-23 Yamaha Hatsudoki Kabushiki Kaisha Lubrication system for motorcycles
US4139072A (en) 1974-11-21 1979-02-13 Anthony Dawson Motorcycle formed of detachable frame members
US4500101A (en) 1980-09-22 1985-02-19 Honda Giken Kogyo Kabushiki Kaisha Rear fender structure for motorcycles
US4485884A (en) 1981-09-03 1984-12-04 Honda Giken Kogyo Kabushiki Kaisha Rear cowling mounting structure and fender for motorcycle
JPS6058073B2 (ja) 1981-09-04 1985-12-18 本田技研工業株式会社 自動二輪車
US4461366A (en) 1981-09-18 1984-07-24 Honda Motor Co., Ltd. Frame for motorcycles
US4660854A (en) 1984-12-18 1987-04-28 Yamaha Hatsudoki Kabushiki Kaisha Frame construction for motorcycles
US4805716A (en) 1987-08-12 1989-02-21 Honda Giken Kogyo Kabushiki Kaisha Motorcycle body frame structure
JP2678603B2 (ja) 1987-10-03 1997-11-17 本田技研工業株式会社 トランクを備えた自動二輪車
JPH042584A (ja) * 1990-04-17 1992-01-07 Honda Motor Co Ltd 自動二輪車用シートカウル
US5248012A (en) 1991-09-20 1993-09-28 Yamaha Hatsudoki Kabushiki Kaisha Detachable frame for motorcycle
JP3290192B2 (ja) * 1991-10-31 2002-06-10 ヤマハ発動機株式会社 自動二輪車
US5284221A (en) 1992-03-11 1994-02-08 Monte Warne Motorcycle frame
JP3328348B2 (ja) 1993-02-09 2002-09-24 本田技研工業株式会社 自動二輪車のフレーム構造
US5487443A (en) 1994-01-18 1996-01-30 Thurm; Kenneth R. Motorycle torsion suspension system
JP3503989B2 (ja) 1994-07-13 2004-03-08 本田技研工業株式会社 自動二輪車のフレーム構造
JP3362159B2 (ja) 1995-08-11 2003-01-07 ヤマハ発動機株式会社 自動二輪車の車体フレーム
JPH0995279A (ja) 1995-09-29 1997-04-08 Honda Motor Co Ltd 自動二輪車の車体フレーム
USD394234S (en) 1996-05-01 1998-05-12 Harley-Davidson Motor Company Motorcycle sissy bar side plate
JP3801282B2 (ja) 1996-12-20 2006-07-26 本田技研工業株式会社 自動2輪車等の車体フレーム構造
US6073948A (en) 1996-12-25 2000-06-13 Honda Giken Kogyo Kabushiki Kaisha Structure and method for mounting a motorcycle fender and backrest
US6003628A (en) 1997-07-25 1999-12-21 Jurrens; Jesse A. Motorcycle air-bag suspension system
JP3869122B2 (ja) * 1998-07-16 2007-01-17 本田技研工業株式会社 4輪バギー車の車体フレーム構造
JP4067661B2 (ja) 1998-09-11 2008-03-26 本田技研工業株式会社 自動二輪車の車体フレーム構造
JP4004150B2 (ja) 1998-09-11 2007-11-07 本田技研工業株式会社 リヤクッションブラケットの取付構造
US6257362B1 (en) 1999-07-28 2001-07-10 Harley-Davidson Motor Company Motorcycle fender mounting system
JP4364362B2 (ja) 1999-09-05 2009-11-18 本田技研工業株式会社 自動2輪車のフレーム構造
US6799781B2 (en) * 2000-03-13 2004-10-05 Bombardier Recreational Products Inc. Frames for all-terrain vehicles
JP2003011874A (ja) * 2001-06-29 2003-01-15 Suzuki Motor Corp 鞍乗型不整地走行車両の車体フレームおよびその製造方法
US6575259B2 (en) 2001-07-09 2003-06-10 Buell Motorcycle Company Motorcycle swing arm having removable section to facilitate removal of flexible drive member
US20040035623A1 (en) 2002-02-22 2004-02-26 Berthold Fecteau Frame configuration for a three-wheel vehicle
AU2003217908A1 (en) 2002-03-02 2003-09-16 William Soileau Wide motorcycle swing arm assembly
US7137468B2 (en) 2004-09-21 2006-11-21 Siddle Mark L Methods and apparatus for conversion of motorcycle rear suspension
JP2006117174A (ja) * 2004-10-25 2006-05-11 Yamaha Motor Co Ltd 自動二輪車
USD523379S1 (en) * 2005-03-02 2006-06-20 Bbr Motorsports, Inc. Motorcycle frame
BRPI0614599A2 (pt) 2005-08-09 2011-04-05 Bajaj Auto Ltd quadro de veìculo e método de fabricação de um veìculo

Patent Citations (7)

* Cited by examiner, † Cited by third party
Publication number Priority date Publication date Assignee Title
JPS58133979A (ja) * 1982-02-01 1983-08-09 本田技研工業株式会社 自動二輪車等の分離式フレ−ムの結合構造
JPS5920780A (ja) * 1982-07-27 1984-02-02 本田技研工業株式会社 自動二輪車等のフレ−ム構造
JPS6055596U (ja) * 1983-09-26 1985-04-18 本田技研工業株式会社 自動二輪車のフレ−ム構造
JPS611488U (ja) * 1984-06-12 1986-01-07 本田技研工業株式会社 二輪車の分割式フレ−ムボデイ
JPH11278346A (ja) * 1998-03-31 1999-10-12 Honda Motor Co Ltd 自動2輪車の車体フレーム構造
JP2004067078A (ja) * 2002-05-31 2004-03-04 Harley-Davidson Motor Co Group Inc 取り外し可能部分を有する自動二輪車用フレーム
JP2007062601A (ja) * 2005-08-31 2007-03-15 Honda Motor Co Ltd 小型車両における気化器配設構造

Cited By (3)

* Cited by examiner, † Cited by third party
Publication number Priority date Publication date Assignee Title
EP3002203A1 (en) 2014-10-02 2016-04-06 Kawasaki Jukogyo Kabushiki Kaisha Motorcycle
US9694870B2 (en) 2014-10-02 2017-07-04 Kawasaki Jukogyo Kabushiki Kaisha Motorcycle
JP2017171139A (ja) * 2016-03-24 2017-09-28 本田技研工業株式会社 自動二輪車

Also Published As

Publication number Publication date
JP5628490B2 (ja) 2014-11-19
DE102009032846A1 (de) 2010-01-21
US8851496B2 (en) 2014-10-07
DE102009032846B4 (de) 2018-05-03
US20100012415A1 (en) 2010-01-21

Similar Documents

Publication Publication Date Title
JP5628490B2 (ja) マルチピース型フレーム組立体を有する自動二輪車及び自動二輪車フレーム
US7770683B2 (en) Three-wheeled vehicle
JP4417029B2 (ja) 取り外し可能部分を有する自動二輪車用フレーム
US7806223B2 (en) Frame of motorcycle and engine bracket
JP5178248B2 (ja) 鞍乗り型車両の車体後部構造
US4852678A (en) Vehicle body frame for motorcycle
US8579063B2 (en) Motorcycle having detachable support members
US7832766B2 (en) Vehicle frame joint for a saddle-type vehicle, and vehicle frame incorporating same
JP2019034606A (ja) 鞍乗型車両の車体フレーム
JP6587290B2 (ja) 駆動軸の支持構造
JP2001071982A (ja) 自動二輪車における軸支持構造
JP4677290B2 (ja) リヤスイングアーム取付構造
US20100013180A1 (en) Three-wheeled vehicle with rear axle control link
JP7296517B2 (ja) 鞍乗り型車両
CN100395150C (zh) 摩托车
US11897569B2 (en) Saddle-riding vehicle provided with a frame having reduced stiffness against yaw movements
JP4371296B2 (ja) 車両のバーハンドル取付構造
JP6944483B2 (ja) 鞍乗り型車両のクッションユニット支持構造
CN108688754B (zh) 一种跨步式车辆
JP4754337B2 (ja) 自動二輪車の車体フレーム構造
EP4424578A1 (en) Straddled vehicle
JP7785113B2 (ja) バックミラー構造
JPH0764302B2 (ja) 自動二輪車の車体フレーム
JPS61129383A (ja) 自動二輪車の車体フレ−ム
JP2023051455A (ja) 鞍乗り型車両

Legal Events

Date Code Title Description
A621 Written request for application examination

Free format text: JAPANESE INTERMEDIATE CODE: A621

Effective date: 20120502

A977 Report on retrieval

Free format text: JAPANESE INTERMEDIATE CODE: A971007

Effective date: 20130722

A131 Notification of reasons for refusal

Free format text: JAPANESE INTERMEDIATE CODE: A131

Effective date: 20130806

A521 Request for written amendment filed

Free format text: JAPANESE INTERMEDIATE CODE: A523

Effective date: 20131018

A131 Notification of reasons for refusal

Free format text: JAPANESE INTERMEDIATE CODE: A131

Effective date: 20140408

A521 Request for written amendment filed

Free format text: JAPANESE INTERMEDIATE CODE: A523

Effective date: 20140702

TRDD Decision of grant or rejection written
A01 Written decision to grant a patent or to grant a registration (utility model)

Free format text: JAPANESE INTERMEDIATE CODE: A01

Effective date: 20140902

A61 First payment of annual fees (during grant procedure)

Free format text: JAPANESE INTERMEDIATE CODE: A61

Effective date: 20141002

R150 Certificate of patent or registration of utility model

Ref document number: 5628490

Country of ref document: JP

Free format text: JAPANESE INTERMEDIATE CODE: R150

R250 Receipt of annual fees

Free format text: JAPANESE INTERMEDIATE CODE: R250

R250 Receipt of annual fees

Free format text: JAPANESE INTERMEDIATE CODE: R250

R250 Receipt of annual fees

Free format text: JAPANESE INTERMEDIATE CODE: R250

R250 Receipt of annual fees

Free format text: JAPANESE INTERMEDIATE CODE: R250

R250 Receipt of annual fees

Free format text: JAPANESE INTERMEDIATE CODE: R250

R250 Receipt of annual fees

Free format text: JAPANESE INTERMEDIATE CODE: R250

S111 Request for change of ownership or part of ownership

Free format text: JAPANESE INTERMEDIATE CODE: R313113

R350 Written notification of registration of transfer

Free format text: JAPANESE INTERMEDIATE CODE: R350

R250 Receipt of annual fees

Free format text: JAPANESE INTERMEDIATE CODE: R250

R250 Receipt of annual fees

Free format text: JAPANESE INTERMEDIATE CODE: R250

R250 Receipt of annual fees

Free format text: JAPANESE INTERMEDIATE CODE: R250