JP2010020801A - マイクロコンピュータ - Google Patents

マイクロコンピュータ Download PDF

Info

Publication number
JP2010020801A
JP2010020801A JP2009245314A JP2009245314A JP2010020801A JP 2010020801 A JP2010020801 A JP 2010020801A JP 2009245314 A JP2009245314 A JP 2009245314A JP 2009245314 A JP2009245314 A JP 2009245314A JP 2010020801 A JP2010020801 A JP 2010020801A
Authority
JP
Japan
Prior art keywords
memory
clock
data
microcomputer
ddr
Prior art date
Legal status (The legal status is an assumption and is not a legal conclusion. Google has not performed a legal analysis and makes no representation as to the accuracy of the status listed.)
Granted
Application number
JP2009245314A
Other languages
English (en)
Other versions
JP4785153B2 (ja
Inventor
Yutaka Yoshida
吉田  裕
Tatsuya Kamei
達也 亀井
Current Assignee (The listed assignees may be inaccurate. Google has not performed a legal analysis and makes no representation or warranty as to the accuracy of the list.)
Renesas Technology Corp
Original Assignee
Renesas Technology Corp
Priority date (The priority date is an assumption and is not a legal conclusion. Google has not performed a legal analysis and makes no representation as to the accuracy of the date listed.)
Filing date
Publication date
Application filed by Renesas Technology Corp filed Critical Renesas Technology Corp
Priority to JP2009245314A priority Critical patent/JP4785153B2/ja
Publication of JP2010020801A publication Critical patent/JP2010020801A/ja
Application granted granted Critical
Publication of JP4785153B2 publication Critical patent/JP4785153B2/ja
Anticipated expiration legal-status Critical
Expired - Fee Related legal-status Critical Current

Links

Images

Landscapes

  • Microcomputers (AREA)

Abstract

【課題】ダブルデータレート(DDR)方式のシンクロナスDRAMを高速アクセス可能なマイクロコンピュータを提供する。
【解決手段】中央処理ユニット、メモリ制御手段、及びクロック制御部を有するマイクロコンピュータは、クロック制御部から供給されたクロックを外部クロックとしてマイクロコンピュータの外部に出力し、外部クロックを反転したクロックをマイクロコンピュータの外部に出力する。メモリ制御手段は、前記クロックに対応し、第1の電位状態と第2の電位状態とに遷移するデータストローブ信号を生成する。メモリ制御手段によって制御されるメモリは、データストローブ信号の立ち上がりエッジと立ち下がりエッジに同期してデータの入出力を行うDDR方式の同期型メモリである。メモリ制御手段は、同期型メモリにデータを書き込むとき、前記データストローブ信号の立ち上がりエッジと立ち下がりエッジに同期してデータを外部に出力する。
【選択図】図1

Description

本発明は、半導体メモリに接続されるマイクロコンピュータに関するものであり、特にダブルデータレート(DDR)方式のシンクロナスダイナミックランダムアクセスメモリ(SDRAM)と接続し、データの読み出しおよびデータの書き込みを行うマイクロコンピュータに適用して有効な技術に関するものである。
また、本発明は、前記マイクロコンピュータと、前記ダブルデータレート方式のシンクロナスダイナミックランダムメモリとにより構成されたマイクロコンピュータシステムに適用しても有効な技術に関するものである。
ダブルデータレート(DDR)方式を採用するシンクロナスランダムアクセスメモリ(SDRAM)にマイクロコンピュータを接続し、メモリからデータを読み出し、またはデータの書き込みを行う技術は従来から用いられている。この場合、マイクロコンピュータをDDR−SDRAMに接続させるための、マイクロコンピュータとDDR−SDRAMとの間に、マイクロコンピュータとメモリとは別にDDR方式のSDRAMを制御するためのメモリコントローラを接続していた。
特開平5−120114号公報
マイクロコンピュータとダブルデータレート(DDR)方式のメモリとを接続するために、メモリコントローラをマイクロコンピュータとDDR−SDRAMとは独立して設けた場合、マイクロコンピュータとメモリコントローラとの間、及びメモリコントローラとメモリとの間でアドレスやデータのやり取りを行う必要がある。そのため、データやアドレスのやり取りをメモリコントローラを介して行っている分、速度性能を落とすこととなっていた。更に、無駄な経路を信号が通過するため、消費電力の面でも無駄が生じていた。上記により、マイクロコンピュータとDDR−SDRAMとを組み合わせたマイコンシステムの性能向上の妨げとなっていた。
また、マイクロコンピュータとDDR−SDRAMとを一つの半導体基板に形成する場合にも、同一基板上に形成されたマイクロコンピュータとDDR−SDRAMとの外にDDR方式のメモリを制御するためのメモリコントローラを接続する必要があり、上述した如く、性能向上の妨げとなっていた。
更に、上記の如くマイクロコンピュータとDDR−SDRAMとの間にDDR方式のメモリコントローラを接続した場合、部品点数が増加し、実装面積が増大し、コストを下げる上での障害となっていた。
本発明の目的は、マイクロコンピュータとDDR方式のメモリコントローラの機能をマイクロコンピュータに内蔵することで、マイクロコンピュータとDDR−SDRAMとの間のデータの読み出しおよび書き込みの性能の向上を図ったマイクロコンピュータを提供することである。
更に、本発明の目的は、マイクロコンピュータにメモリコントローラを組み込むことで、部品点数を抑え、実装面積を縮小させることが可能となり、DDR方式のSDRAMを使用したシステムを安価に提供することにある。
本発明の前記並びにその他の目的と新規な特徴は本明細書の記述及び添付図面から明らかになるであろう。
本発明のうち代表的なものの概要を以下に簡単に説明する。
本発明では上記目的を達成するために、マイクロコンピュータと同一の半導体基板上に、前記マイクロコンピュータの中央処理ユニット(CPU)から出力される複数ビットからなるアドレス信号により、DDR−SDRAMからのデータの読み出しとデータの書き込みを行うためにダブルデータレート方式でメモリを制御するための各種ストローブ信号を生成し出力するメモリ制御手段と、前記中央処理ユニットとメモリ制御手段とに対してメモリ制御等に必要なクロックを供給するためのクロック制御手段とを形成する。
具体的には、マイクロコンピュータと同一の半導体基板上に、メモリ制御のためのアドレス信号の生成やストローブ信号の生成およびデータの入出力のための基準となる高速な内部クロック信号とメモリへ供給する低速な外部出力クロック信号とを使用してダブルデータレート方式でメモリからのデータの読み出しおよび書き込みを行うことを可能にする手段を形成する。
上記によりマイクロコンピュータとDDR−SDRAMとを直接接続し、マイクロコンピュータとDDR−SDRAMとの間にメモリコントローラを別に接続させる必要の無いマイクロコンピュータの提供が可能となる。更に、前記マイクロコンピュータとDDR−SDRAMとを直接接続したマイコンシステムの構築が可能となる。
更に、マイクロコンピュータとDDR方式のメモリを同一半導体基板上に形成する際、前記半導体基板外にDDR方式のメモリコントローラを接続させる必要の無いマイクロコンピュータやマイコンシステムの提供が可能となる。
以上により、マイクロコンピュータとメモリとの間のデータのやりとりの効率が向上し高速なデータ転送が可能となり、消費電力の低減も可能となる。更に、部品点数が少なく、従来よりも小面積で、低コストのシステムを提供することが可能となる。
本発明により、ダブルデータレート(DDR)方式のシンクロナスDRAM(SDRAM)を、メモリコントローラを別に接続すること無く、プロセッサに接続することが可能となる。更に、プロセッサ内部のクロックを利用することで、DDR−SDRAMの制御を行うための回路を削減することが可能となり、面積効率が高く、かつ、プロセッサとDDR−SDRAMとの間の高速アクセスが可能となる。
本発明に係わるマイクロコンピュータ及びメモリのブロック図。 本発明に係わるクロック制御部のブロック図。 本発明に係わるメモリ制御に必要となるクロックのタイミング図。 本発明に係わるマイクロコンピュータとメモリとの接続図。 本発明に係わるレジスタの概要図。 本発明に係わるダブルデータレートシンクロナスDRAM(DDR−DRAM)をリードアクセスした時のタイミングチャート。 本発明に係わるメモリ制御装置を使用してダブルデータレートシンクロナスDRAM(DDR−SDRAM)をライトアクセスした時のタイミングチャート。 本発明に係わるバスデータバッファと制御信号生成部とのブロック図。
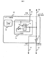
図1には本発明の代表的な実施形態の一つを示している。一つの半導体基板に形成されたマイクロコンピュータ(MPU:マイクロプロセッサユニット)と、一つの半導体基板上に形成されたダブルデータレート方式のシンクロナスDRAM(DDR−SDRAM)21とが示されている。図では、DDR−SDRAMは一つしか示されていないが、一つのマイクロコンピュータに複数のDDR−SDRAMを接続する構成であってもよい。
図1のマイクロプロセッサユニット内部の説明を行う。1は21のDDR方式のメモリを制御するメモリインタフェースモジュール、2は中央処理装置(CPU)及びキャッシュメモリ(Cache)とで構成されたモジュール、3はダイレクトメモリアクセスコントローラ(DMAC)モジュールである。2のCPU/Cacheモジュールと3のDMACモジュールは、1のメモリインタフェースモジュールに向けて、メモリに記憶されているデータの読み出し又はメモリにデータを記憶させるため、メモリ内の所定メモリセルを指定するためのアドレスの他に、アクセス要求も出力する。CPU/Cacheモジュールがメモリインタフェースモジュールに対して行うアクセス要求としては、メモリからのリードとメモリへのライトを行うためのメモリアクセス要求と、メモリインタフェースモジュール内部のレジスタ6に対するリード/ライトのレジスタアクセス要求などがある。DMACモジュールがメモリインタフェースモジュールに対して行うアクセス要求としては、メモリのリード/ライトを行うためのメモリアクセス要求がある。
上記に示した、CPU/Cacheモジュールからメモリインタフェース内のレジスタ6に対するレジスタアクセス要求のうち、レジスタへのライト要求を行う場合、CPU/Cacheモジュールはリクエストとしてレジスタライトアクセス要求をメモリインタフェースモジュール内のリクエスト制御部4に出力する。それと同時に、レジスタ6に書き込むデータを103を介してレジスタ6に出力する。CPU/Cacheモジュールより、レジスタへの書き込みの要求を受けたリクエスト制御部4はレジスタアクセスリクエスト101をレジスタR/W制御部5に出力する。レジスタアクセスリクエストを受けたレジスタR/W制御部は、レジスタ6に対してレジスタ書き込み信号102を出力する。上述した一連の動作により、CPU/Cacheモジュールからレジスタ6に送られるデータがレジスタ6に書き込まれる。
CPU/CacheモジュールがDDR−SDRAMに記憶されているデータを必要とした場合、CPU/Cacheモジュールはリクエストとしてメモリアクセス要求とDDR−SDRAMの所定箇所を指定するためのアドレスをメモリインタフェースモジュール内のリクエスト制御部4に出力する。メモリアクセス要求を受けたリクエスト制御部は、CPU/Cacheモジュールがメモリへのアクセスを要求していることを認識すると、メモリインタフェースモジュール内の外部バス制御部7にメモリアクセスリクエスト104を出力する。メモリアクセスリクエストを受けた外部バス制御部はアドレス制御部8、制御信号生成部9、データ制御部10を制御し、DDR−SDRAMとのメモリアクセスを開始する。
上述したアドレス制御部8ではあらかじめレジスタに記憶されているデータのうちのメモリアドレスと、リクエスト制御部4から出力されるリクエストアドレス107から、メモリへ出力するアドレス情報を生成する。生成されたアドレスは、DDR−SDRAMに接続されているアドレスバス34を介してメモリ21に転送される。制御信号生成部9では、あらかじめレジスタ6に記憶されたデータのなかのメモリ情報105を外部バス制御部7を介して受け取り、受け取ったメモリ情報にしたがってメモリアクセスに必要なメモリ制御信号35を生成し、メモリに出力する。メモリ制御信号としては、メモリからのリード/メモリへのライト等をメモリに指示するための各種コマンドである。データ制御部10は、外部バス制御部7からの指示により、バスデータバッファ11を制御し、DDR−SDRAMに接続されたデータバス36を介して行われる、マイクロプロセッサとメモリとの間のデータの授受の制御を行う。
なお、本実施例ではDMACモジュールを内蔵したマイクロプロセッサを用いているが、DMACモジュールを内蔵していないマイクロプロセッサでもよい。
図2では、図1のマイクロプロセッサの中に形成されているクロック制御部12の詳細例を示す。クロック制御部12は、基準となるクロックを生成するクロック生成部13、クロック生成部13で生成されたクロックの1/2の周波数を生成するクロック分周器14とで主に構成される。クロック生成部13にて生成されたクロックは、本実施例のマイクロプロセッサの基準クロック、つまり、中央処理ユニット等に供給される内部クロック30となる。なお、本実施例では基準クロックはクロック生成部にて生成しているが、外部から供給されるクロックであっても問題ない。
クロック分周器14は、ラッチ手段15と分周器用インバータ16とで主に構成される。ラッチ15の出力を分周器用インバータ16を通して反転してラッチの入力とし、クロック信号の立ち上がりでデータを取り込むことで、基準クロックつまり内部クロック13に対して1/2の周波数のクロックが生成される。クロック分周器で生成された内部クロックの1/2の周波数のクロックは、外部クロック31としてマイクロプロセッサの外部、つまり、DDR−SDRAMなどに出力される。また、クロック分周器で生成された内部クロックの1/2の周波数のクロックを外部クロック用インバータ17により反転した信号が、反転クロック32として外部に出力される。更に、基準クロックの1/2の周波数のクロックはメモリインタフェースモジュール1内の外部バス制御部にも送られ、出力コマンド同期化信号33として使用される。クロック分周器などの構成は本実施例の他にも多様な変形例が存在するが、それらについての説明は割愛する。
図3にはメモリインタフェースモジュール1でのコマンド同期タイミングを示す。
メモリインタフェースモジュールには、クロック制御部12から出力される、プロセッサの内部クロックと、前記内部クロックの1/2の周波数のコマンド同期化信号33とが供給されている。コマンド同期化信号は、プロセッサ外部のDDR−SDRAMに供給される外部クロックと同じ周波数で、同じ位相をもったクロックである。メモリインタフェースモジュールは、メモリが外部クロック31の立ち上がりで各種コマンドを受け取れるよう制御する。メモリは、外部クロックがLOWの期間(T2)にメモリに対して出力されたコマンドについては、外部クロックの次の立ち上がりの時点で受け取ることが可能であるが、外部クロックがHIGHの期間にメモリに対して与えられたコマンドについては受け取ることが出来ない。そのためコマンド出力可能期間、つまり外部クロックがLOWのときにのみ制御信号を出力し、コマンド出力不可期間には制御信号の出力はしないようにする必要がある。
なお、本実施例では、コマンドの出力サイクルを内部クロック(30)の1サイクルとしているが、コマンド出力サイクルを外部クロック(31)の1サイクルとしてもよい。
図4にマイクロプロセッサとダブルデータレート(DDR)方式のシンクロナスDRAMとの接続例を示す。DDR−SDRAM21のアクセスに必要なメモリ制御信号にはクロック(CLOCK)、反転クロック(/CLOCK)、クロックイネーブル信号(CKE)、チップセレクト信号(/CS)、ロウアドレスストローブ信号(/RAS)、カラムアドレスストローブ(/CAS)、ライトイネーブル信号(/WE)、データマスクイネーブル信号(DQM)、およびデータストローブ信号(DQS)がある。これらのメモリ制御信号の他には、メモリのアドレスを指定するためのアドレス(Addr.)と、マイクロプロセッサとメモリとの間でやり取りされるデータ(DATA)とがある。マイクロプロセッサは各種制御信号を出力することでダブルデータレートシンクロナスDRAMに対して、メモリの動作を規定するための各種コマンドやアドレス、データを与え、メモリからのリードやメモリへのライトアクセスを実現する。尚、図面において、アルファベットの上部に横線が入っている信号、及び、上記においてアルファベットの前に斜線が入っている信号は、信号がLOWレベルになったときに信号が活性化することを示している。
図5にはマイクロプロセッサ内のレジスタ6の概要図を示す。特に制限されないが、本実施形態ではレジスタ6は32ビットのレジスタで構成される。TRC0から2、 TPC0から2、RCD0から1、TRWL2から0にはメモリアクセスのタイミング情報が設定される。また、AMX2から0にはロウアドレスとカラムアドレスのそれぞれのビット数が設定される。これらのレジスタ6の内容は、使用するDDR−SDRAMの種類、動作周波数に合わせて設定することが可能である。
図6には、マイクロプロセッサによるDDR−SDRAMからのリードアクセス時のタイミングチャート、図7には、マイクロプロセッサにからDDR−SDRAMへのライトアクセス時のタイミングチャートを示している。
図6において、プロセッサの内部クロックの1周期であるTrサイクルでDDR−SDARMに対して図示していないACTVコマンドを発行する。それと伴にロウアドレス(Row)をアドレス(Addr.)線を介してメモりに通知する。Trに続くTrwサイクルの立ち上がり、つまり外部クロックの立ち上がりでメモリはアドレス線を介して印加されているロウアドレス(Row)を取り込む。その後メモリ21は規定のサイクルだけ待機する。規定サイクル経過した後、Tc1サイクルでREADコマンドを発行してカラムアドレス(c1)を通知し、Tc2サイクルの開始時、つまり外部クロックの立ち上がりの際にメモリ21はアドレス線を介して印加されているカラムアドレス(c1)を取り込む。その後、メモリに事前に規定されているレイテンシに応じた周期、Tc2、Tc3を待ってからリードDATAのサンプリングを行なう。なお、本実施例ではメモリのバースト長を4としているためTc1サイクルでREADコマンドを発行した4サイクル後に、後続のコマンドとしてオートプリチャージつきリードコマンドであるREADAコマンドを発行し、プリチャージを実行している。
メモリへの書き込みの際のタイミングを示している図7についても、TrサイクルでACTVコマンドを発行し、アドレス線(Addr.)を介してメモリに対してロウアドレスを供給する。メモリへ供給される外部クロックの、Trに続く次のサイクルであるTrwの立ち上がりで、メモリは供給されたロウアドレスを取り込む。次に、Tw1サイクルでWRITコマンドを発行し、アドレス線を介してメモリにカラムアドレスを供給する。更にTw1のサイクルにおいて、ライトDATAのドライブを行なう。なお、本実施例ではメモリのバースト長を4としているためTw1サイクルでWRITコマンドを発行した4サイクル後に、後続のコマンドとしてオートプリチャージつきライトコマンドであるWRITAコマンドを発行し、プリチャージを実行している。
さらに続くアクセスがTrで発行した時のロウアドレスと同一アドレスに対するアクセスの場合、アクセスの終了時にプリチャージつきのリード/ライトコマンドではなく、プリチャージなしのリード/ライトコマンドで終了し、Tc1サイクルのリードもしくはライトコマンドを発行するだけでアクセスを続けることも可能であり、Tr、Trwサイクルだけ高速にアクセスを行なうことができる。
図8には、図1で示したバスデータバッファ11と制御信号生成部9との詳細を示している。制御信号生成部については、データストローブ制御部50のみを示している。DDR−SDRAMでは、データ読み出し時にメモリから出力されるデータ信号の変化と、データストローブ信号の変化とは同一のタイミングである。メモリインタフェースは、データストローブ信号を外部クロックに対して90度位相を遅らせた信号でデータを取り込むようになっている。また、メモリ動作クロックとデータ変化タイミングは規定が無く、メモリ動作クロックでデータをサンプリングすることはできない。
一方、データ書き込み時、メモリはデータをデータストローブ信号の立ち上がりエッジ、及び立ち下がりエッジで取り込めるようにデータストローブ信号の出力が規定され、データストローブ信号に対してデータのセットアップ/ホールド時間が規定されている。
データの書き込み時に、メモリコントローラは外部クロックの立ち上がりと立ち下がりに同期してデータを出力し、同時に外部クロックに対して90度位相の遅れたデータストローブ信号を出力する必要がある。
メモリ動作の基準となる外部クロックと、外部クロックの2倍の周波数の内部クロックを共にプロセッサ内部で生成するため、外部クロックと内部クロックの位相差の制御が可能となる。また、外部クロックの2倍の周波数の内部クロックを使用することで、外部クロックに対して90度の位相シフトを容易に行うことが出来る。
外部クロックと内部クロックの位相差の制御が可能であるため、データの読み出し時のデータの取り込みの際にデータストローブ信号を使用せず、内部クロックの立ち上がりでデータを取り込むことが可能となる。内部クロックは外部クロックの2倍の周波数であり、外部クロックの立ち上がりと立ち下がりに同期して変化するデータを内部クロックの立ち上がりで取り込むことが可能となる。メモリの出力するデータストローブ信号を使用した場合、位相を90度遅らせるための位相シフト回路が必要となるが、本実施例の場合は特に必要とはならない。このことにより、周波数の変更に伴っても、位相シフト回路の変更が不要となるといった利点もある。更に、プロセッサ外部にメモリコントローラを設けた場合、データストローブ信号を90度位相を遅らせて取り込まれたデータとプロセッサ動作の基準となるクロックとの間に相関関係が無く、非同期信号となるためデータ信号の同期化回路が必要となってしまう。つまり速度的に不利となる。
データの書き込み時には、内部クロックを使用し、内部クロックの立ち下がりでデータストローブ信号が変化するように出力することで、外部クロックの90度位相シフトが容易に可能となる。読み出し時と同様に位相シフト回路が不要となる。データ信号はデータの読み込み時にはメモリ側からドライブされるので信号が衝突しないようにトライステートバッファによりドライブコントロールを行う。
また、外部クロックの2倍の周波数の内部クロックを使用することで、速度性能の向上のための外部クロックの周波数の変更にも対応できる。
以上、プロセッサ内部にDDR−SDRAMのメモリコントローラ及びクロック制御部を内蔵することによって、プロセッサ動作の基準となる内部クロックとメモリ動作の基準となる外部クロックとの供給が可能となり、メモリ制御信号の生成やデータ信号の入出力制御が簡単な回路で実現できる。更に、不要な同期化回路の削減も可能となる。
尚、上述した実施形態はあくまでも本発明の一つの実施形態であり、本発明が上記実施形態に限定されるものではない。例えば、図3に示した内部クロック、同期化信号及び外部クロックについての位相は図面に限定されるものではなく、同期化信号及び/又は外部クロックは、図面と反転した信号であってもよい。また、図8に関連する記載において、メモリからのデータの読み出しの際、内部クロックの立ち上がりでデータを取り込むのではなく、クロックの立ち下がりでデータを取り込むことも可能である。同様にデータの書き込みの際のタイミングについても同様のことが言える。
1 メモリインタフェースモジュール
2 CPU/Cacheモジュール
3 DMAC
4 リクエスト制御部
5 レジスタR/W制御部
6 レジスタ
7 外部バス制御部
8 アドレス制御部
9 制御信号
10 データ制御部
11 データバッファ
12 クロック制御部
13 クロック生成部
14 クロック分周器
15 ラッチ
16 分周器用インバータ
17 外部クロック用インバータ
20 マイクロプロセッサ
21 ダブルデータレートシンクロナスDRAM(DDR−SDRAM)
30 内部クロック
31 外部クロック
32 反転クロック
33 出力コマンド同期化信号
34 アドレス
35 メモリ制御信号
36 データ
101 レジスタアクセスリクエスト
102 レジスタ書き込み信号
103 データ
104 メモリアクセスリクエスト
105 メモリタイミング情報
106 メモリアドレス情報
107 リクエストアドレス

Claims (1)

  1. 中央処理ユニットと、
    前記中央処理ユニットに接続されたメモリ制御手段と、
    前記中央処理ユニットと前記メモリ制御手段とにクロックを供給するためのクロック制御部と、を有し、一つの半導体チップ上に形成されたマイクロコンピュータであって、
    前記マイクロコンピュータは、前記クロック制御部から供給されたクロックを外部クロックとしてマイクロコンピュータの外部に出力し、前記外部クロックを反転した外部反転クロックをマイクロコンピュータの外部に出力し、
    前記メモリ制御手段は、前記クロックに対応し、第1の電位状態と第2の電位状態とに遷移するデータストローブ信号を生成可能であり、
    前記メモリ制御手段によって制御されるメモリは、前記データストローブ信号の立ち上がりエッジと立ち下がりエッジに同期してデータの入出力を行うことが可能なダブルデータレート方式の同期型メモリであり、
    前記メモリ制御手段は、前記同期型メモリにデータを書き込むとき、前記データストローブ信号の立ち上がりエッジと立ち下がりエッジに同期してデータを外部に出力し、
    前記中央処理ユニットは、前記同期型メモリにアクセスするためのメモリアドレスを生成し、
    前記メモリ制御手段は、前記外部クロックに同期して前記メモリアドレスを出力することが可能であることを特徴とするマイクロコンピュータ。
JP2009245314A 2009-10-26 2009-10-26 マイクロコンピュータ及びマイコンシステム Expired - Fee Related JP4785153B2 (ja)

Priority Applications (1)

Application Number Priority Date Filing Date Title
JP2009245314A JP4785153B2 (ja) 2009-10-26 2009-10-26 マイクロコンピュータ及びマイコンシステム

Applications Claiming Priority (1)

Application Number Priority Date Filing Date Title
JP2009245314A JP4785153B2 (ja) 2009-10-26 2009-10-26 マイクロコンピュータ及びマイコンシステム

Related Parent Applications (1)

Application Number Title Priority Date Filing Date
JP2006155841A Division JP2006244528A (ja) 2006-06-05 2006-06-05 マイクロコンピュータ

Related Child Applications (1)

Application Number Title Priority Date Filing Date
JP2011048604A Division JP2011118932A (ja) 2011-03-07 2011-03-07 マイクロコンピュータ

Publications (2)

Publication Number Publication Date
JP2010020801A true JP2010020801A (ja) 2010-01-28
JP4785153B2 JP4785153B2 (ja) 2011-10-05

Family

ID=41705546

Family Applications (1)

Application Number Title Priority Date Filing Date
JP2009245314A Expired - Fee Related JP4785153B2 (ja) 2009-10-26 2009-10-26 マイクロコンピュータ及びマイコンシステム

Country Status (1)

Country Link
JP (1) JP4785153B2 (ja)

Cited By (1)

* Cited by examiner, † Cited by third party
Publication number Priority date Publication date Assignee Title
KR101113188B1 (ko) 2010-09-30 2012-02-16 주식회사 하이닉스반도체 동작 속도가 가변되는 비휘발성 메모리 장치 및 이를 위한 상보신호 제어 방법

Citations (7)

* Cited by examiner, † Cited by third party
Publication number Priority date Publication date Assignee Title
JPH05120114A (ja) * 1991-04-23 1993-05-18 Texas Instr Inc <Ti> マイクロプロセツサと同期して動作するランダムアクセスメモリ
JPH07105173A (ja) * 1993-09-30 1995-04-21 Hitachi Ltd データ処理装置
JPH07160249A (ja) * 1993-10-15 1995-06-23 Hitachi Ltd データプロセッサ及びデータ処理システム
JPH07282000A (ja) * 1994-04-04 1995-10-27 Hitachi Ltd バスインタフェース回路及びデータ転送システム
JPH09106671A (ja) * 1995-09-11 1997-04-22 Samsung Electron Co Ltd 半導体メモリ装置とその読出及び書込方法
JPH10199239A (ja) * 1996-12-27 1998-07-31 Fujitsu Ltd 半導体記憶装置システム及び半導体記憶装置
JPH11505047A (ja) * 1995-05-05 1999-05-11 シリコン、グラフィクス、インコーポレイテッド ソース同期クロック型データリンク

Patent Citations (7)

* Cited by examiner, † Cited by third party
Publication number Priority date Publication date Assignee Title
JPH05120114A (ja) * 1991-04-23 1993-05-18 Texas Instr Inc <Ti> マイクロプロセツサと同期して動作するランダムアクセスメモリ
JPH07105173A (ja) * 1993-09-30 1995-04-21 Hitachi Ltd データ処理装置
JPH07160249A (ja) * 1993-10-15 1995-06-23 Hitachi Ltd データプロセッサ及びデータ処理システム
JPH07282000A (ja) * 1994-04-04 1995-10-27 Hitachi Ltd バスインタフェース回路及びデータ転送システム
JPH11505047A (ja) * 1995-05-05 1999-05-11 シリコン、グラフィクス、インコーポレイテッド ソース同期クロック型データリンク
JPH09106671A (ja) * 1995-09-11 1997-04-22 Samsung Electron Co Ltd 半導体メモリ装置とその読出及び書込方法
JPH10199239A (ja) * 1996-12-27 1998-07-31 Fujitsu Ltd 半導体記憶装置システム及び半導体記憶装置

Cited By (2)

* Cited by examiner, † Cited by third party
Publication number Priority date Publication date Assignee Title
KR101113188B1 (ko) 2010-09-30 2012-02-16 주식회사 하이닉스반도체 동작 속도가 가변되는 비휘발성 메모리 장치 및 이를 위한 상보신호 제어 방법
US8482996B2 (en) 2010-09-30 2013-07-09 SK Hynix Inc. Nonvolatile memory apparatus with changeable operation speed and related signal control method

Also Published As

Publication number Publication date
JP4785153B2 (ja) 2011-10-05

Similar Documents

Publication Publication Date Title
JP2002007200A (ja) メモリ制御装置及び動作切替方法並びにインターフェース装置、半導体集積チップ、記録媒体
USRE44230E1 (en) Clock signal generation apparatus for use in semiconductor memory device and its method
JP4723679B2 (ja) 半導体記憶装置、メモリシステム、及び半導体記憶装置のリフレッシュ制御方法
US7716443B2 (en) Apparatus and method for controlling memory interface
JP2002358231A (ja) メモリ制御システム
JPH1116349A (ja) 同期型半導体記憶装置
JP3272914B2 (ja) 同期型半導体装置
JP2010192031A (ja) 半導体記憶装置及びこれを備えるメモリモジュール、並びに、データ処理システム
JP5733126B2 (ja) メモリインタフェース回路及びタイミング調整方法
JP2010165422A (ja) 半導体記憶装置及びそのリード待ち時間調整方法、メモリシステム、並びに半導体装置
JP2008112434A (ja) メモリクロック信号を送信するための、方法および回路
JP2002074952A (ja) 同期型半導体記憶装置及びその入力回路の制御方法
CN112041925A (zh) 用于在读取操作期间控制数据选通信号的系统及方法
JP2000030456A (ja) メモリデバイス
JP4079507B2 (ja) メモリ制御システムおよびメモリ制御方法
JP2002304885A (ja) 半導体集積回路
JP2011118932A (ja) マイクロコンピュータ
JP3865972B2 (ja) マイクロコンピュータおよびマイクロコンピュータを用いたシステム
JP2009282721A (ja) メモリコントローラ、メモリコントロールシステム及びメモリ遅延量制御方法
JP4785153B2 (ja) マイクロコンピュータ及びマイコンシステム
JP2003173290A (ja) メモリ制御装置
CN101609439A (zh) 具有分时总线的电子系统与共用电子系统的总线的方法
JP2006244528A (ja) マイクロコンピュータ
JP2008192264A (ja) 半導体記憶装置
US7103707B2 (en) Access control unit and method for use with synchronous dynamic random access memory device

Legal Events

Date Code Title Description
A621 Written request for application examination

Free format text: JAPANESE INTERMEDIATE CODE: A621

Effective date: 20091125

A711 Notification of change in applicant

Free format text: JAPANESE INTERMEDIATE CODE: A712

Effective date: 20100527

A977 Report on retrieval

Free format text: JAPANESE INTERMEDIATE CODE: A971007

Effective date: 20101220

A131 Notification of reasons for refusal

Free format text: JAPANESE INTERMEDIATE CODE: A131

Effective date: 20110105

A521 Written amendment

Free format text: JAPANESE INTERMEDIATE CODE: A523

Effective date: 20110307

A131 Notification of reasons for refusal

Free format text: JAPANESE INTERMEDIATE CODE: A131

Effective date: 20110421

A521 Written amendment

Free format text: JAPANESE INTERMEDIATE CODE: A523

Effective date: 20110615

TRDD Decision of grant or rejection written
A01 Written decision to grant a patent or to grant a registration (utility model)

Free format text: JAPANESE INTERMEDIATE CODE: A01

Effective date: 20110707

A01 Written decision to grant a patent or to grant a registration (utility model)

Free format text: JAPANESE INTERMEDIATE CODE: A01

A61 First payment of annual fees (during grant procedure)

Free format text: JAPANESE INTERMEDIATE CODE: A61

Effective date: 20110708

R150 Certificate of patent or registration of utility model

Free format text: JAPANESE INTERMEDIATE CODE: R150

FPAY Renewal fee payment (event date is renewal date of database)

Free format text: PAYMENT UNTIL: 20140722

Year of fee payment: 3

S531 Written request for registration of change of domicile

Free format text: JAPANESE INTERMEDIATE CODE: R313531

R350 Written notification of registration of transfer

Free format text: JAPANESE INTERMEDIATE CODE: R350

LAPS Cancellation because of no payment of annual fees