JP2010018761A - エピクロルヒドリンゴム組成物及びダイヤフラム - Google Patents
エピクロルヒドリンゴム組成物及びダイヤフラム Download PDFInfo
- Publication number
- JP2010018761A JP2010018761A JP2008182940A JP2008182940A JP2010018761A JP 2010018761 A JP2010018761 A JP 2010018761A JP 2008182940 A JP2008182940 A JP 2008182940A JP 2008182940 A JP2008182940 A JP 2008182940A JP 2010018761 A JP2010018761 A JP 2010018761A
- Authority
- JP
- Japan
- Prior art keywords
- acrylate
- epichlorohydrin
- rubber composition
- epichlorohydrin rubber
- rubber
- Prior art date
- Legal status (The legal status is an assumption and is not a legal conclusion. Google has not performed a legal analysis and makes no representation as to the accuracy of the status listed.)
- Granted
Links
Images
Landscapes
- Diaphragms And Bellows (AREA)
- Compositions Of Macromolecular Compounds (AREA)
Abstract
【解決手段】本発明に係るエピクロルヒドリンゴム組成物は、エピクロルヒドリンゴムとアクリル系ゴムとエピクロルヒドリン−エチレンオキシドゴムとを含有するブレンドゴムと、白色充填材と、を有し、前記ブレンドゴム100重量部中、その混合比が、エピクロルヒドリンゴム:アクリル系ゴム:エピクロルヒドリン−エチレンオキシドゴム=55重量%〜80重量%:10重量%〜30重量%:10重量%〜30重量%である、ことを特徴とする。前記ブレンドゴム100重量部に対し、前記白色充填剤を20重量%〜80重量%含有することも可能である。
【選択図】なし
Description
前記ブレンドゴム100重量部中、その混合比が、エピクロルヒドリンゴム:アクリル系ゴム:エピクロルヒドリン−エチレンオキシドゴム=55重量%〜80重量%:10重量%〜30重量%:5重量%〜30重量%である、ことを特徴とする。
本実施形態に係るエピクロルヒドリンゴム組成物は、エピクロルヒドリンゴムとアクリル系ゴムとエピクロルヒドリン−エチレンオキシドゴムとを含有するブレンドゴムと、白色充填材と、を有する。
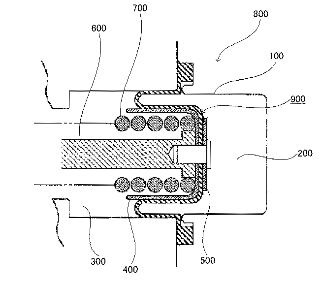
本実施形態に係るダイヤフラム900は、上述した実施形態にかかるエピクロルヒドリンゴム組成物を用いて成形されるものである。
エピクロルヒドリンゴムを60重量部と、活性塩素系メチルアクリレートゴムを20重量部と、エピクロルヒドリン−エチレンオキシドゴムを20重量部と、を含有させてブレンドゴム100重量部を準備した。そして、白色充填剤としてシリカを40重量部含有させた。
さらに、老化防止剤としてジブチルジチオカルバミン酸ニッケルを1重量部、老化防止剤として2,2,4−トリメチル−1,2−ジヒドロキノリンを0.5重量部、加工助剤としてステアリン酸を1重量部、補強剤としてFEFカーボンブラック(Fast Extruding Furnace black)を25重量部、ポリエーテルエステル系可塑剤を20重量部、受酸剤として水酸化カルシウムを3重量部、ペンタエリスリトールを1重量部、ブチルアルデヒド−アニリン縮合物を0.3重量部、6−メチルキノキサリン−2,3−ジチオカーボネートを1.2重量部、含有させて、実施例1に係る試験片を作成した。
エピクロルヒドリンゴムを60重量部と、活性塩素系メチルアクリレートゴムを25重量部と、エピクロルヒドリン−エチレンオキシドゴムを15重量部と、を含有させてブレンドゴム100重量部を準備した以外は、実施例1と同様にして試験片を作成した。
エピクロルヒドリンゴムを55重量部と、活性塩素系メチルアクリレートゴムを15重量部と、エピクロルヒドリン−エチレンオキシドゴムを30重量部と、を含有させてブレンドゴム100重量部を準備した以外は、実施例1と同様にして試験片を作成した。
エピクロルヒドリンゴムを65重量部と、活性塩素系メチルアクリレートゴムを30重量部と、エピクロルヒドリン−エチレンオキシドゴムを5重量部と、を含有させてブレンドゴム100重量部を準備した以外は、実施例1と同様にして試験片を作成した。
エピクロルヒドリンゴムを80重量部と、活性塩素系メチルアクリレートゴムを10重量部と、エピクロルヒドリン−エチレンオキシドゴムを10重量部と、を含有させてブレンドゴム100重量部を準備した以外は、実施例1と同様にして試験片を作成した。
エピクロルヒドリンゴムを100重量部とし、活性塩素系メチルアクリレートゴムを含有させず、エピクロルヒドリン−エチレンオキシドゴムを含有させず、白色充填剤を含有させず、FEF(Fast Extruding Furnace black)を40重量部とし、ポリエーテルエステル系可塑剤を15重量部とする以外は、実施例1と同様にして試験片を作成した。
エピクロルヒドリンゴムを55重量部とし、活性塩素系メチルアクリレートゴムを45重量部とし、エピクロルヒドリン−エチレンオキシドゴムを含有させない以外は、実施例1と同様にして試験片を作成した。
エピクロルヒドリンゴムを40重量部とし、活性塩素系メチルアクリレートゴムを20重量部とし、エピクロルヒドリン−エチレンオキシドゴムを40重量部とする以外は、実施例1と同様にして試験片を作成した。
エピクロルヒドリンゴムを80重量部とし、活性塩素系メチルアクリレートゴムを含有させず、エピクロルヒドリン−エチレンオキシドゴムを20重量部とする以外は、実施例1と同様にして試験片を作成した。
200 流体圧力室
300 上部室
400 上部センタープレート
500 下部センタープレート
600 センターピン
700 コイルスプリング
800 圧力応動装置
900 ダイヤフラム
Claims (13)
- エピクロルヒドリンゴムとアクリル系ゴムとエピクロルヒドリン−エチレンオキシドゴムとを含有するブレンドゴムと、白色充填材と、を有し、
前記ブレンドゴム100重量部中、その混合比が、エピクロルヒドリンゴム:アクリル系ゴム:エピクロルヒドリン−エチレンオキシドゴム=55重量%〜80重量%:10重量%〜30重量%:5重量%〜30重量%である、
ことを特徴とするエピクロルヒドリンゴム組成物。 - 前記ブレンドゴム100重量部に対し、前記白色充填剤を20重量%〜80重量%含有する、
ことを特徴とする請求項1記載のエピクロルヒドリンゴム組成物。 - 前記アクリル系ゴムは、メチルアクリレート、エチルアクリレート、プロピルアクリレート、ブチルアクリレート、2−エチルヘキシルアクリレート、メトキシメチルアクリレート、メトキシエチルアクリレート、エトキシエチルアクリレート、ブトキシエチルアクリレート、メチルチオエチルアクリレート、ヘキシルチオエチルアクリレート、シアノエチルアクリレート、シアノブチルアクリレート、及び、シアノオクチルアクリレートの少なくとも何れか一つをモノマーとする、
ことを特徴とする請求項1又は2記載のエピクロルヒドリンゴム組成物。 - 前記アクリル系ゴムは、2−クロルエチルビニルエーテル、2−クロルエチルアクリレート、ビニルベンジルクロライド、ビニルクロルアセテート、及び、アリルクロルアセテートのうち少なくとも何れか一つを含む活性塩素基含有モノマーを共重合成分として含む、
ことを特徴とする請求項3記載のエピクロルヒドリンゴム組成物。 - 前記白色充填材は、微粒子けい酸、炭酸カルシウム、酸化カルシウム、炭酸マグネシウム、及び、酸化チタンのうち少なくとも何れか一つを含む、
ことを特徴とする請求項1乃至4の何れか1項に記載のエピクロルヒドリンゴム組成物。 - ポリオール系架橋剤を含有する、
ことを特徴とする請求項1乃至5の何れか1項に記載のエピクロルヒドリンゴム組成物。 - 前記ポリオール系架橋剤は、2,2−ビス(4−ヒドロキシフェニル)プロパン、2,2−ビス(4−ヒドロキシフェニル)パーフルオロプロパン、ビス(4−ヒドロキシフェニル)スルホン、ビスフェノールA−ビス(ジフェニルホフェート)、4,4’−ジヒドロキシジフェニル、4,4’−ジヒドロキシジフェニルメタン、2,2−ビス(4−ヒドロキシフェニル)ブタン、6−メチルキノキサリン、及び、トリカーボネートのうち少なくとも何れか一つを含む、
ことを特徴とする請求項6記載のエピクロルヒドリンゴム組成物。 - 前記ブレンドゴム100重量部に対し、前記ポリオール系架橋剤を0.5重量部〜20重量部含有する、
ことを特徴とする請求項6又は7に記載のエピクロルヒドリンゴム組成物。 - 酸化鉛、酸化マグネシウム、水酸化アルミニウム、水酸化カルシウム、炭酸カルシウム、及び、酸化亜鉛のうち少なくとも何れか一つを含む受酸剤を含有する、
ことを特徴とする請求項1乃至8の何れか1項に記載のエピクロルヒドリンゴム組成物。 - ポリエーテルエステル系可塑剤を含有する、
ことを特徴とする請求項1乃至9の何れか1項に記載のエピクロルヒドリンゴム組成物。 - 前記ポリエーテルエステル系可塑剤は、ポリエチレングリコールブタン酸エステル、ポリエチレングリコールイソブタン酸エステル、ポリエチレングリコールジ(2−エチルブチル酸)エステル、ポリエチレングリコール(2−エチルヘキシル酸)エステル、ポリエチレングリコールデカン酸エステル、アジピン酸ジブトキシエタノール、アジピン酸ジ(ブチルジグリコール)、アジピン酸ジ(ブチルポリグリコール)、アジピン酸ジ(2−エチルヘキシロキシエタノール)、アジピン酸ジ(2−エチルヘキシルジグリコール)、アジピン酸ジ(2−エチルヘキシルポリグリコール)、アジピン酸ジオクトキシエタノール、アジピン酸ジ(オクチルジグリコール)、及び、アジピン酸ジ(オクチルポリグリコール)のうち少なくとも何れか一つを含む、
ことを特徴とする請求項10記載のエピクロルヒドリンゴム組成物。 - FEF(Fast Extruding Furnace black)、SRF(Semi-Reinforcing Furnace black)、HAF(High Abrasion Furnace black)、ISAF(Intermediate Super Abrasion Furnace black)、MAF(Medium Abrasion Furnace black)、SAF(Super Abrasion Furnace black)、GPF(General Purpose Furnace black)、FT(Fine Thermal Furnace black)、及び、MT(Medium Thermal Furnace black)のうち少なくとも何れか一つを含むカーボンブラックを含有する、
ことを特徴とする請求項1乃至11の何れか1項に記載のエピクロルヒドリンゴム組成物。 - 請求項1乃至請求項12のいずれかに記載のエピクロルヒドリンゴム組成物により形成されるダイヤフラム。
Priority Applications (1)
| Application Number | Priority Date | Filing Date | Title |
|---|---|---|---|
| JP2008182940A JP5280760B2 (ja) | 2008-07-14 | 2008-07-14 | エピクロルヒドリンゴム組成物及びダイヤフラム |
Applications Claiming Priority (1)
| Application Number | Priority Date | Filing Date | Title |
|---|---|---|---|
| JP2008182940A JP5280760B2 (ja) | 2008-07-14 | 2008-07-14 | エピクロルヒドリンゴム組成物及びダイヤフラム |
Publications (2)
| Publication Number | Publication Date |
|---|---|
| JP2010018761A true JP2010018761A (ja) | 2010-01-28 |
| JP5280760B2 JP5280760B2 (ja) | 2013-09-04 |
Family
ID=41703981
Family Applications (1)
| Application Number | Title | Priority Date | Filing Date |
|---|---|---|---|
| JP2008182940A Active JP5280760B2 (ja) | 2008-07-14 | 2008-07-14 | エピクロルヒドリンゴム組成物及びダイヤフラム |
Country Status (1)
| Country | Link |
|---|---|
| JP (1) | JP5280760B2 (ja) |
Cited By (3)
| Publication number | Priority date | Publication date | Assignee | Title |
|---|---|---|---|---|
| CN102618012A (zh) * | 2012-04-05 | 2012-08-01 | 天津鹏翎胶管股份有限公司 | 一种与氟橡胶粘结的环保氯醚橡胶组合物及应用 |
| RU2630562C1 (ru) * | 2016-05-04 | 2017-09-11 | Федеральное государственное бюджетное образовательное учреждение высшего профессионального образования "Чувашский государственный университет имени И.Н. Ульянова" | Резиновая смесь |
| JP2020050706A (ja) * | 2018-09-25 | 2020-04-02 | 日本ゼオン株式会社 | エピハロヒドリン系ゴム組成物およびゴム架橋物 |
Citations (9)
| Publication number | Priority date | Publication date | Assignee | Title |
|---|---|---|---|---|
| JPS50111153A (ja) * | 1974-02-14 | 1975-09-01 | ||
| JPS58111843A (ja) * | 1981-12-25 | 1983-07-04 | Osaka Soda Co Ltd | ブレンドゴム加硫組成物 |
| JPS591565A (ja) * | 1982-06-28 | 1984-01-06 | Osaka Soda Co Ltd | ブレンドゴム加硫組成物 |
| JPS61266458A (ja) * | 1985-05-20 | 1986-11-26 | Osaka Soda Co Ltd | エピクロルヒドリン系ゴム組成物 |
| JPS6474253A (en) * | 1987-09-16 | 1989-03-20 | Nippon Zeon Co | Rubber blend |
| JPH0782468A (ja) * | 1993-09-09 | 1995-03-28 | Fujikura Rubber Ltd | ダイヤフラム用エピクロルヒドリン組成物 |
| JPH07278426A (ja) * | 1994-04-14 | 1995-10-24 | Daiso Co Ltd | ブレンドゴム加硫用組成物 |
| JP2004107540A (ja) * | 2002-09-19 | 2004-04-08 | Nippon Zeon Co Ltd | エピハロヒドリンゴム組成物及びエピハロヒドリンゴム架橋成形体の製造方法 |
| WO2008050859A1 (fr) * | 2006-10-27 | 2008-05-02 | Daiso Co., Ltd. | Composition de caoutchouc pour vulcanisation |
-
2008
- 2008-07-14 JP JP2008182940A patent/JP5280760B2/ja active Active
Patent Citations (9)
| Publication number | Priority date | Publication date | Assignee | Title |
|---|---|---|---|---|
| JPS50111153A (ja) * | 1974-02-14 | 1975-09-01 | ||
| JPS58111843A (ja) * | 1981-12-25 | 1983-07-04 | Osaka Soda Co Ltd | ブレンドゴム加硫組成物 |
| JPS591565A (ja) * | 1982-06-28 | 1984-01-06 | Osaka Soda Co Ltd | ブレンドゴム加硫組成物 |
| JPS61266458A (ja) * | 1985-05-20 | 1986-11-26 | Osaka Soda Co Ltd | エピクロルヒドリン系ゴム組成物 |
| JPS6474253A (en) * | 1987-09-16 | 1989-03-20 | Nippon Zeon Co | Rubber blend |
| JPH0782468A (ja) * | 1993-09-09 | 1995-03-28 | Fujikura Rubber Ltd | ダイヤフラム用エピクロルヒドリン組成物 |
| JPH07278426A (ja) * | 1994-04-14 | 1995-10-24 | Daiso Co Ltd | ブレンドゴム加硫用組成物 |
| JP2004107540A (ja) * | 2002-09-19 | 2004-04-08 | Nippon Zeon Co Ltd | エピハロヒドリンゴム組成物及びエピハロヒドリンゴム架橋成形体の製造方法 |
| WO2008050859A1 (fr) * | 2006-10-27 | 2008-05-02 | Daiso Co., Ltd. | Composition de caoutchouc pour vulcanisation |
Cited By (4)
| Publication number | Priority date | Publication date | Assignee | Title |
|---|---|---|---|---|
| CN102618012A (zh) * | 2012-04-05 | 2012-08-01 | 天津鹏翎胶管股份有限公司 | 一种与氟橡胶粘结的环保氯醚橡胶组合物及应用 |
| RU2630562C1 (ru) * | 2016-05-04 | 2017-09-11 | Федеральное государственное бюджетное образовательное учреждение высшего профессионального образования "Чувашский государственный университет имени И.Н. Ульянова" | Резиновая смесь |
| JP2020050706A (ja) * | 2018-09-25 | 2020-04-02 | 日本ゼオン株式会社 | エピハロヒドリン系ゴム組成物およびゴム架橋物 |
| JP7187925B2 (ja) | 2018-09-25 | 2022-12-13 | 日本ゼオン株式会社 | エピハロヒドリン系ゴム組成物およびゴム架橋物 |
Also Published As
| Publication number | Publication date |
|---|---|
| JP5280760B2 (ja) | 2013-09-04 |
Similar Documents
| Publication | Publication Date | Title |
|---|---|---|
| JP5493354B2 (ja) | 架橋性ニトリルゴム組成物およびゴム架橋物 | |
| JP5476996B2 (ja) | 架橋性ニトリルゴム組成物およびゴム架橋物 | |
| TWI480323B (zh) | Acrylic rubber composition and vulcanized rubber and use thereof | |
| KR101800062B1 (ko) | 클로로프렌 고무 조성물 및 그의 가황 고무, 및 상기 가황 고무를 이용한 고무형물, 방진 고무 부재, 엔진 마운트 및 호스 | |
| JP6601407B2 (ja) | 架橋性ニトリルゴム組成物およびゴム架橋物 | |
| EP3269768B1 (en) | Nitrile rubber composition and cross-linked rubber | |
| JP2008179663A (ja) | 架橋性ニトリルゴム組成物およびゴム架橋物 | |
| EP3705506A1 (en) | Acrylic rubber | |
| JPWO2019124462A1 (ja) | ゴム組成物及びゴム成形品 | |
| JP5280760B2 (ja) | エピクロルヒドリンゴム組成物及びダイヤフラム | |
| US9441093B2 (en) | Acrylic rubber composition, and crosslinked product thereof | |
| JP2019116553A (ja) | アクリルゴム組成物、架橋性アクリルゴム組成物およびアクリルゴム架橋物 | |
| EP3269767B1 (en) | Nitrile rubber composition and cross-linked rubber | |
| KR20250047264A (ko) | 아크릴 고무 조성물 및 고무 가교물 | |
| CN112313274B (zh) | 交联性腈橡胶组合物和橡胶交联物 | |
| JP5433970B2 (ja) | アクリルゴム組成物 | |
| WO2006040944A1 (ja) | フッ素ゴム組成物 | |
| KR20180068976A (ko) | 가교성 고무 조성물의 제조 방법 | |
| US11549002B2 (en) | Rubber composition and rubber molded product | |
| JP7136128B2 (ja) | ゴム組成物、およびゴム架橋物 | |
| JP2007314588A (ja) | エピクロルヒドリンゴム組成物およびそれからなる成形体 | |
| JP2024090649A (ja) | アクリルゴム組成物 | |
| JP2023061577A (ja) | 架橋性アクリルゴム組成物およびゴム架橋物 | |
| JP2003064252A (ja) | 環境保護ヒドリンゴム組成物 |
Legal Events
| Date | Code | Title | Description |
|---|---|---|---|
| A621 | Written request for application examination |
Free format text: JAPANESE INTERMEDIATE CODE: A621 Effective date: 20110516 |
|
| A977 | Report on retrieval |
Free format text: JAPANESE INTERMEDIATE CODE: A971007 Effective date: 20130130 |
|
| A131 | Notification of reasons for refusal |
Free format text: JAPANESE INTERMEDIATE CODE: A131 Effective date: 20130205 |
|
| A521 | Request for written amendment filed |
Free format text: JAPANESE INTERMEDIATE CODE: A523 Effective date: 20130408 |
|
| TRDD | Decision of grant or rejection written | ||
| A01 | Written decision to grant a patent or to grant a registration (utility model) |
Free format text: JAPANESE INTERMEDIATE CODE: A01 Effective date: 20130521 |
|
| A61 | First payment of annual fees (during grant procedure) |
Free format text: JAPANESE INTERMEDIATE CODE: A61 Effective date: 20130523 |
|
| R150 | Certificate of patent or registration of utility model |
Free format text: JAPANESE INTERMEDIATE CODE: R150 Ref document number: 5280760 Country of ref document: JP Free format text: JAPANESE INTERMEDIATE CODE: R150 |
|
| S533 | Written request for registration of change of name |
Free format text: JAPANESE INTERMEDIATE CODE: R313533 |
|
| R350 | Written notification of registration of transfer |
Free format text: JAPANESE INTERMEDIATE CODE: R350 |
|
| R250 | Receipt of annual fees |
Free format text: JAPANESE INTERMEDIATE CODE: R250 |
|
| R250 | Receipt of annual fees |
Free format text: JAPANESE INTERMEDIATE CODE: R250 |
|
| R250 | Receipt of annual fees |
Free format text: JAPANESE INTERMEDIATE CODE: R250 |
|
| R250 | Receipt of annual fees |
Free format text: JAPANESE INTERMEDIATE CODE: R250 |
|
| R250 | Receipt of annual fees |
Free format text: JAPANESE INTERMEDIATE CODE: R250 |
|
| R250 | Receipt of annual fees |
Free format text: JAPANESE INTERMEDIATE CODE: R250 |
|
| S531 | Written request for registration of change of domicile |
Free format text: JAPANESE INTERMEDIATE CODE: R313531 |
|
| R350 | Written notification of registration of transfer |
Free format text: JAPANESE INTERMEDIATE CODE: R350 |
