JP2010016965A - 車両用回転電機 - Google Patents

車両用回転電機 Download PDF

Info

Publication number
JP2010016965A
JP2010016965A JP2008174051A JP2008174051A JP2010016965A JP 2010016965 A JP2010016965 A JP 2010016965A JP 2008174051 A JP2008174051 A JP 2008174051A JP 2008174051 A JP2008174051 A JP 2008174051A JP 2010016965 A JP2010016965 A JP 2010016965A
Authority
JP
Japan
Prior art keywords
frame
insulating portion
heat insulating
rotating electrical
electrical machine
Prior art date
Legal status (The legal status is an assumption and is not a legal conclusion. Google has not performed a legal analysis and makes no representation as to the accuracy of the status listed.)
Granted
Application number
JP2008174051A
Other languages
English (en)
Other versions
JP4650528B2 (ja
Inventor
Yoshitoshi Inoguchi
誉敏 猪口
Atsushi Umeda
梅田  敦司
Current Assignee (The listed assignees may be inaccurate. Google has not performed a legal analysis and makes no representation or warranty as to the accuracy of the list.)
Denso Corp
Original Assignee
Denso Corp
Priority date (The priority date is an assumption and is not a legal conclusion. Google has not performed a legal analysis and makes no representation as to the accuracy of the date listed.)
Filing date
Publication date
Family has litigation
First worldwide family litigation filed litigation Critical https://patents.darts-ip.com/?family=41259652&utm_source=google_patent&utm_medium=platform_link&utm_campaign=public_patent_search&patent=JP2010016965(A) "Global patent litigation dataset” by Darts-ip is licensed under a Creative Commons Attribution 4.0 International License.
Application filed by Denso Corp filed Critical Denso Corp
Priority to JP2008174051A priority Critical patent/JP4650528B2/ja
Priority to US12/458,020 priority patent/US8106547B2/en
Priority to EP09008563.0A priority patent/EP2141786B2/en
Publication of JP2010016965A publication Critical patent/JP2010016965A/ja
Application granted granted Critical
Publication of JP4650528B2 publication Critical patent/JP4650528B2/ja
Expired - Fee Related legal-status Critical Current
Anticipated expiration legal-status Critical

Links

Images

Classifications

    • HELECTRICITY
    • H02GENERATION; CONVERSION OR DISTRIBUTION OF ELECTRIC POWER
    • H02KDYNAMO-ELECTRIC MACHINES
    • H02K11/00Structural association of dynamo-electric machines with electric components or with devices for shielding, monitoring or protection
    • H02K11/04Structural association of dynamo-electric machines with electric components or with devices for shielding, monitoring or protection for rectification
    • H02K11/049Rectifiers associated with stationary parts, e.g. stator cores
    • H02K11/05Rectifiers associated with casings, enclosures or brackets
    • HELECTRICITY
    • H02GENERATION; CONVERSION OR DISTRIBUTION OF ELECTRIC POWER
    • H02KDYNAMO-ELECTRIC MACHINES
    • H02K5/00Casings; Enclosures; Supports
    • H02K5/04Casings or enclosures characterised by the shape, form or construction thereof
    • H02K5/08Insulating casings

Landscapes

  • Engineering & Computer Science (AREA)
  • Power Engineering (AREA)
  • Synchronous Machinery (AREA)
  • Motor Or Generator Cooling System (AREA)

Abstract

【課題】全体の冷却性の悪化を防止するとともに整流装置の冷却性を向上させることができる車両用回転電機を提供すること。
【解決手段】車両用交流発電機1は、回転子3と、回転子3と対向配置された固定子2と、回転子3および固定子2とを支持するフレーム6と、フレーム6の外端面に固定されて低損失素子が整流素子として用いられた整流装置5とを備えており、整流装置5とフレーム6との間に断熱部60が配置されている。
【選択図】図1

Description

本発明は、乗用車やトラック等に搭載される車両用回転電機に関する。
従来から、プラスフィン(プラスヒートシンク)とマイナスフィン(マイナスヒートシンク)が回転軸方向に2層構造を有し、マイナスフィンに圧入されたマイナスダイオードのベース部が、マイナスフィン端面からフレーム方向に突出してフレームの台座に直接接触することにより、マイナスダイオードの発熱をフレームに伝達して冷却性を向上させるようにした整流装置が知られている(例えば、特許文献1参照。)。
また、フレーム(リアブラケット)の内周面であってステータコイルと対向する部分に断熱材を介して熱反射性のある部材を配置することにより、整流装置のダイオードからフレーム(リアブラケット)への放熱を効率よく行うようにした車両用交流発電機が知られている(例えば、特許文献2参照。)。
特表2002−519987号公報(第5−8頁、図1−3) 特開平6−78504号公報(第2−3頁、図1−6)
ところで、特許文献1に開示された構造では、整流装置側の温度がフレームの温度よりも高いことが前提になっており、整流素子の低損失化等により整流装置側の温度がフレームの温度よりも低くなった場合には反対にフレームから熱をもらうことになり、整流装置の温度がフレームから伝わる熱によって上昇するという問題があった。また、このような場合に、特許文献2に開示された構造と特許文献1に開示された構造を組み合わせることでフレームの温度をさらに下げることも考えられるが、ステータコイルの熱がフレームに伝わらないようにすると、フレームに熱を逃がすことによるステータコイルの冷却が行えないことになるため、車両用交流発電機全体の冷却性が悪化する懸念があり、好ましい対策とはいえない。
本発明は、このような点に鑑みて創作されたものであり、その目的は、全体の冷却性の悪化を防止するとともに整流装置の冷却性を向上させることができる車両用回転電機を提供することにある。
上述した課題を解決するために、本発明の車両用回転電機は、回転子と、回転子と対向配置された固定子と、回転子および固定子とを支持するアルミニウムよりなるフレームと、フレームの外端面に固定されて低損失素子が整流素子として用いられた整流装置とを備える車両用回転電機であって、整流装置とフレームとの間に断熱部を配置している。
低損失素子を用いることにより整流装置自体の発熱量を下げることができ、しかも整流装置とフレームとの間に断熱部を配置することによりフレームから伝わる熱を遮断することができるため、整流装置の冷却性を向上させることができる。また、車両用回転電機の固定子で発生した熱をフレームに伝達することができるため、全体の冷却性悪化を防止することができる。
また、上述した低損失素子は、低損失ダイオードであることが望ましい。あるいは、上述した低損失素子は、MOSトランジスタであることが望ましい。これらの素子を用いることにより、一般に用いられるシリコンダイオードに比べて通電時の損失を少なくすることができる。
また、上述した断熱部は、アルミニウムより熱伝導率が小さい部材により形成されていることが望ましい。これにより、アルミニウムよりなるフレームを直接、整流装置に固定する場合に比べ、フレームからの伝熱を低減できるので、整流装置の冷却性を向上させることができる。
また、上述した断熱部は、ステンレスにより形成されていることが望ましい。上述した断熱部は、セラミックスにより形成されていることが望ましい。上述した断熱部は、樹脂により形成されていることが望ましい。上述したを断熱部は、ガラスにより形成されていることが望ましい。これらの部材を用いることにより容易に断熱部を形成することが可能となる。また、導電体としてのステンレス等を用いて断熱部を形成する場合には、整流装置の負極側放熱板とフレームの間の電気的接続を同時に行うことが可能となる。また、絶縁体としての樹脂等を用いて断熱部を形成する場合には、整流装置の正極側放熱板とフレームとの間の電気的絶縁の確保を同時に行うことが可能となる。
また、上述した断熱部は、空隙により形成されていることが望ましい。これにより、部品点数低減によるコスト低減とともに、断熱部を冷却風の通路として用いることによる冷却風量の増加が可能になる。
また、上述した整流装置は、ステンレスで形成されたネジを用いてフレームに固定されていることが望ましい。これにより、整流装置をフレームに固定するために用いられるネジを通して伝わる熱を低減することができる。
また、上述した整流装置は、正極側整流素子が接合された正極側放熱板と、負極側整流素子が接合された負極側放熱板を備え、負極側放熱板が断熱部を挟んでフレームと対向配置され、断熱部が導電体により形成されており、断熱部を通して負極側放熱板とフレームとの間を電気的に接続することが望ましい。具体的には、この断熱部は、ステンレスや中空構造の導電体であることが望ましい。これにより、断熱部を用いることで、整流装置とフレームとの間の断熱とともに電気的接続が可能になる。
以下、本発明の車両用回転電機を適用した一実施形態の車両用交流発電機について、図面を参照しながら詳細に説明する。
図1は、一実施形態の車両用交流発電機の全体構成を示す断面図である。図1に示す車両用交流発電機1は、固定子2、回転子3、ブラシ装置4、整流装置5、フレーム6、リヤカバー7、プーリ8等を含んで構成されている。
固定子2は、固定子鉄心21と、この固定子鉄心21に形成された複数個のスロットに所定の間隔で巻き回された三相の固定子巻線23とを備えている。回転子3は、絶縁処理された銅線を円筒状かつ同心状に巻き回した界磁巻線31を、それぞれが複数の磁極爪部を有するポールコア32によって、回転軸33を通して両側から挟み込んだ構造を有している。また、フロント側のポールコア32の端面には、冷却ファン34が溶接等によって取り付けられている。同様に、リヤ側のポールコア32の端面には、冷却ファン35が溶接等によって取り付けられている。
ブラシ装置4は、整流装置5から回転子3の界磁巻線に31に励磁電流を流すためのものであり、回転子3の回転軸33に形成されたスリップリング36、37のそれぞれに押圧するブラシ41、42を有する。
整流装置5は、フレーム6の外端面に固定されて、三相の固定子巻線23の出力電圧である三相交流電圧を整流して直流の出力電力を得るためのものであり、配線用電極を内部に含む端子台51と、所定の間隔で配置された正極側放熱板52および負極側放熱板53と、それぞれの放熱板に設けられた圧入孔に圧入することにより取り付けられた複数個の低損失素子としての整流素子を含んで構成されている。
フレーム6は、固定子2および回転子3を収容しており、回転子3が回転軸33を中心に回転可能な状態で支持されているとともに、回転子3のポールコア32の外周側に所定の隙間を介して配置された固定子2が固定されている。また、フレーム6は、固定子鉄心21の軸方向端面から突出した固定子巻線23に対向した部分に冷却風の吐出窓61が、軸方向端面に冷却風の吸入窓62がそれぞれ設けられている。リヤカバー7は、リヤ側のフレーム6の外側に取り付けられるブラシ装置4、整流装置5および制御装置12の全体を覆って、これらを保護するためのものである。リヤカバー7の軸方向端面であって整流装置5に対向する領域には、リヤ側の冷却ファン35の回転に伴って冷却風をリヤカバー7内に導入するための複数の吸気窓(図示せず)が形成されている。
上述した構造を有する車両用交流発電機1は、ベルト等を介してプーリ8にエンジン(図示せず)からの回転力が伝えられると回転子3が所定方向に回転する。この状態で回転子3の界磁巻線31に外部から励磁電圧を印加することにより、ポールコア32のそれぞれの爪部が励磁され、固定子巻線23に三相交流電圧を発生させることができ、整流装置5の出力端子からは直流の出力電力が取り出される。
図2は、車両用交流発電機1の結線図である。本実施形態では、整流装置は、一般に用いられているシリコンダイオードよりも通電時の損失が少ないMOSトランジスタ5a〜5fが整流素子として用いられている。制御装置12は、界磁巻線31に対する励磁電流の断続制御を行うとともに、整流装置5に備わった6個のMOSトランジスタ5a〜5fの導通タイミングを制御する。これら6個のMOSトランジスタ5a〜5fの内、3個のMOSトランジスタ5a〜5cが正極側放熱板52に接合され、他の3個のMOSトランジスタ5d〜5fが負極側放熱板53に接合されている。
上述したように、MOSトランジスタ5a〜5fのそれぞれは、一般のシリコンダイオードに比べて導通時の損失が少ないため、整流装置5の発熱量を抑えることができる。このため、フレーム6側に配置された整流装置5の負極側放熱板53の温度をフレーム6よりも低くすることが可能となる。本実施形態では、このような場合であっても、温度が高いフレーム6の熱が整流装置5に伝わらないように、フレーム6と整流装置5の間に断熱部60が配置されている。断熱部60は、フレーム6と整流装置5の負極側放熱板53の間にこれらによって挟持するように配置されている。
具体的には、断熱部60は、ステンレス、セラミックス、樹脂、ガラスのいずれか、あるいはこれらの組合せによって形成することができる。これらの部材を用いることにより容易に断熱部60を形成することが可能となり、負極側放熱板53をフレーム6の端面に直接接触させる場合に比べて、フレーム6から負極側放熱板53に伝わる熱を容易に遮断することができる。また、導電体であるステンレスを断熱部60として用いることにより、負極側放熱板53とフレーム6の間の電気的接続を同時に行うことが可能となる。
あるいは、断熱部60は、上述したステンレス等の部材を用いるのではなく、単に空隙により形成するようにしてもよい。これにより、部品点数低減によるコスト低減とともに、断熱部60を冷却風の通路として用いることによる冷却風量の増加が可能になる。
ところで、本実施形態では、整流装置5とフレーム6の間の熱の伝達を低減するために断熱部60を用いているため、整流装置5をフレーム6に固定する際にも熱が伝わりにくくする工夫が必要となる。特に、負極側放熱板53はフレーム6に対して電気的に直接接続する必要があるため、これらの間の熱の遮断が必要になる。
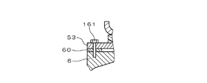
図3は、整流装置5の負極側放熱板53をフレーム6にネジを用いて固定した部分的な断面構造を示す図である。図3に示す構造では、負極側放熱板53とフレーム6との間に断熱部60を介在させた状態で、ステンレスで形成されたネジ161を用いて負極側放熱板53をフレーム6に固定している。ステンレスのネジ161を用いることにより、ネジ161を通してフレーム6から負極側放熱板53に熱が伝わりにくくすることができる。この場合に、ネジ161を介して負極側放熱板53をフレーム6に電気的に接続することができるが、断熱部60として導電体のステンレスを用いると、負極側放熱板53とフレーム6との間の電気抵抗をさらに低減することができる。
図4は、導電体の断熱部60の他の例を示す図である。図4(A)に示すように中央に貫通孔を有する円柱状の断熱部60を金属材料で形成した場合に、図4(B)に示すように中空構造にすることにより、断熱効果を持たせることができる。なお、この金属材料を、ステンレス等の熱が伝わりにくい材質とすることにより、さらに断熱効果を上げることができる。なお、中央の貫通孔は図3に示したネジ161を貫通させるためのものである。使用箇所によってはネジ161を貫通させる必要がないため、どの部分に使用するかによって貫通孔を省略したり、円柱形状を変更するようにしてもよい。
図5は、断熱部60を空隙とした場合の負極側放熱板53とフレーム6との電気的接続の例を示す部分的な断面図である。図5に示す構造では、断熱部60が空隙により形成されており、負極側放熱板53とフレーム6との間の電気的接続が導線162で行われている。導線162の両端にはワッシャ163が形成されており、これらをネジ164で負極側放熱板53とフレーム6のそれぞれに締め付け固定している。なお、導線162の固定は、溶接や半田付けで行うようにしてもよい。
このように、本実施形態の車両用交流発電機1では、低損失素子としてのMOSトランジスタを用いることにより整流装置5自体の発熱量を下げることができ、しかも整流装置5とフレーム6との間に断熱部60を配置することによりフレーム6から伝わる熱を遮断することができるため、整流装置5の冷却性を向上させることができる。また、車両用交流発電機1の固定子2で発生した熱をフレーム6に伝達することができるため、車両用交流発電機1全体の冷却性悪化を防止することができる。
なお、本発明は上記実施形態に限定されるものではなく、本発明の要旨の範囲内において種々の変形実施が可能である。例えば、上述した実施形態では、負極側放熱板53がフレーム6側に配置された整流装置5について説明したが、正極側放熱板52がフレーム6側に配置された整流装置についても本発明を適用することができる。この場合には、絶縁体としてのセラミックス、樹脂、ガラスを断熱部60として用いることにより、整流装置の正極側放熱板52とフレーム6との間の電気的絶縁の確保を同時に行うことが可能となる。また、この場合には、負極側放熱板53とフレーム6との電気的接続は、フレーム6から延びるスタットボルト65(図1)を介して行われるが、このスタットボルト65は熱が伝わりにくいステンレス等で形成することが望ましい。また、MOSトランジスタが1枚のパワー基板に配置された整流装置についても、本発明を適用することができるのは言うまでもない。
また、上述した実施形態では、整流装置5を低損失素子としてのMOSトランジスタ5a〜5fを用いて構成したが、他の低損失素子、例えば低損失ダイオードを用いて整流装置を構成するようにしてもよい。
また、上述した実施形態では、発電機能を有する車両用交流発電機1について説明したが、発電機と電動機の機能を有する車両用回転電機に本発明を適用するようにしてもよい。この場合には、制御装置12の制御によって整流装置5をインバータ動作させて固定子巻線23に三相交流電圧を印加し、回転子3を回転させればよい。
また、上述した実施形態では、アルミニウムより熱伝導率が小さい部材の一例としてステンレスを用いたが、他の部材を用いるようにしてもよい。
一実施形態の車両用交流発電機の全体構成を示す断面図である。 車両用交流発電機の結線図である。 整流装置の負極側放熱板をフレームにネジを用いて固定した部分的な断面構造を示す図である。 導電体の断熱部の他の例を示す図である。 断熱部を空隙とした場合の負極側放熱板とフレームとの電気的接続の例を示す部分的な断面図である。
符号の説明
1 車両用交流発電機
2 固定子
3 回転子
4 ブラシ装置
5 整流装置
6 フレーム
7 リヤカバー
8 プーリ
12 制御装置
51 端子台
52 正極側放熱板
53 負極側放熱板
60 断熱部
161、164 ネジ

Claims (13)

  1. 回転子と、前記回転子と対向配置された固定子と、前記回転子および前記固定子とを支持するアルミニウムよりなるフレームと、前記フレームの外端面に固定されて低損失素子が整流素子として用いられた整流装置とを備える車両用回転電機において、
    前記整流装置と前記フレームとの間に断熱部を配置することを特徴とする車両用回転電機。
  2. 請求項1において、
    前記低損失素子は、低損失ダイオードであることを特徴とする車両用回転電機。
  3. 請求項1において、
    前記低損失素子は、MOSトランジスタであることを特徴とする車両用回転電機。
  4. 請求項1〜3のいずれかにおいて、
    前記断熱部は、アルミニウムより熱伝導率が小さい部材により形成されていることを特徴とする車両用回転電機。
  5. 請求項1〜4のいずれかにおいて、
    前記断熱部は、ステンレスにより形成されていることを特徴とする車両用回転電機。
  6. 請求項1〜4のいずれかにおいて、
    前記断熱部は、セラミックスにより形成されていることを特徴とする車両用回転電機。
  7. 請求項1〜4のいずれかにおいて、
    前記断熱部は、樹脂により形成されていることを特徴とする車両用回転電機。
  8. 請求項1〜4のいずれかにおいて、
    前記断熱部は、ガラスにより形成されていることを特徴とする車両用回転電機。
  9. 請求項1〜4のいずれかにおいて、
    前記断熱部は、空隙により形成されていることを特徴とする車両用回転電機。
  10. 請求項1〜3のいずれかにおいて、
    前記整流装置は、アルミニウムより熱伝導率が小さい部材で形成されたネジを用いて前記フレームに固定されていることを特徴とする車両用回転電機。
  11. 請求項1〜3のいずれかにおいて、
    前記整流装置は、正極側整流素子が接合された正極側放熱板と、負極側整流素子が接合された負極側放熱板を備え、
    前記負極側放熱板が前記断熱部を挟んで前記フレームと対向配置され、
    前記断熱部が導電体により形成されており、前記断熱部を通して前記負極側放熱板と前記フレームとの間を電気的に接続することを特徴とする車両用回転電機。
  12. 請求項11において、
    前記断熱部は、アルミニウムより熱伝導率が小さい部材により形成されていることを特徴とする車両用回転電機。
  13. 請求項11において、
    前記断熱部は、中空構造の導電体であることを特徴とする車両用回転電機。
JP2008174051A 2008-07-03 2008-07-03 車両用回転電機 Expired - Fee Related JP4650528B2 (ja)

Priority Applications (3)

Application Number Priority Date Filing Date Title
JP2008174051A JP4650528B2 (ja) 2008-07-03 2008-07-03 車両用回転電機
US12/458,020 US8106547B2 (en) 2008-07-03 2009-06-29 Rotary electric machine for vehicles
EP09008563.0A EP2141786B2 (en) 2008-07-03 2009-06-30 Rotary electric machine for vehicles

Applications Claiming Priority (1)

Application Number Priority Date Filing Date Title
JP2008174051A JP4650528B2 (ja) 2008-07-03 2008-07-03 車両用回転電機

Publications (2)

Publication Number Publication Date
JP2010016965A true JP2010016965A (ja) 2010-01-21
JP4650528B2 JP4650528B2 (ja) 2011-03-16

Family

ID=41259652

Family Applications (1)

Application Number Title Priority Date Filing Date
JP2008174051A Expired - Fee Related JP4650528B2 (ja) 2008-07-03 2008-07-03 車両用回転電機

Country Status (3)

Country Link
US (1) US8106547B2 (ja)
EP (1) EP2141786B2 (ja)
JP (1) JP4650528B2 (ja)

Cited By (5)

* Cited by examiner, † Cited by third party
Publication number Priority date Publication date Assignee Title
JP2013146120A (ja) * 2012-01-13 2013-07-25 Denso Corp 車両用回転電機
JP2013236417A (ja) * 2012-05-07 2013-11-21 Mitsubishi Electric Corp 回転電機
JP2015061451A (ja) * 2013-09-19 2015-03-30 株式会社デンソー 回転電機
WO2016017164A1 (ja) * 2014-08-01 2016-02-04 パナソニックIpマネジメント株式会社 電子機器の断熱構造、その断熱構造を備えたモータ、および電子機器の断熱部材の形成方法
JP2017055660A (ja) * 2016-12-25 2017-03-16 株式会社デンソー 回転電機

Families Citing this family (6)

* Cited by examiner, † Cited by third party
Publication number Priority date Publication date Assignee Title
US8339000B2 (en) * 2010-01-21 2012-12-25 Remy Technologies, Llc Electric machine with isolated ground electronics
FR3010591B1 (fr) * 2013-09-09 2017-07-28 Valeo Equip Electr Moteur Combinaison d'un bloc de puissance et d'un bloc de filtrage pour machine electrique tournante pour vehicule automobile
EP3072330B1 (en) * 2013-11-21 2020-09-09 Vodafone IP Licensing Limited Telecommunication networks for content delivery and lawful interception, content filtering and further content services using a savi platform
JP6402646B2 (ja) * 2015-02-19 2018-10-10 株式会社豊田自動織機 電動過給器
DE112017005289T5 (de) * 2017-02-02 2019-07-25 Borgwarner Inc. Elektrische Maschine mit eingepresstem Elektronikmodul
FR3068185B1 (fr) * 2017-06-26 2019-12-13 Valeo Equipements Electriques Moteur Assemblage mecanique avec isolation electrique entre une machine electrique tournante et sa partie electronique

Citations (13)

* Cited by examiner, † Cited by third party
Publication number Priority date Publication date Assignee Title
JPS6416164U (ja) * 1987-07-20 1989-01-26
JPH0374163A (ja) * 1989-05-31 1991-03-28 Nippondenso Co Ltd 交流発電機
JPH0678504A (ja) * 1992-08-25 1994-03-18 Hitachi Ltd 車両用交流発電機
JPH06318657A (ja) * 1993-04-30 1994-11-15 Mitsubishi Electric Corp 半導体冷却装置
JPH08331818A (ja) * 1995-06-02 1996-12-13 Nippondenso Co Ltd 交流発電機
JPH099522A (ja) * 1995-06-23 1997-01-10 Nippondenso Co Ltd 車両用交流発電機及びショットキバリアダイオード
JPH09157440A (ja) * 1995-12-13 1997-06-17 Mitsubishi Electric Corp 樹脂組成物およびその樹脂組成物により封止された樹脂モールドモータ、樹脂封止型半導体装置、並びに、その樹脂組成物の硬化方法
JPH10331281A (ja) * 1997-05-30 1998-12-15 Sankyo Kogyo:Kk 保冷用建造物の屋上用外装式断熱構造とその施工方法
JP2004147486A (ja) * 2002-08-30 2004-05-20 Denso Corp 車両用交流発電機
JP2004208467A (ja) * 2002-12-26 2004-07-22 Denso Corp 多相交流回転電機搭載インバータ
JP2006504386A (ja) * 2002-10-28 2006-02-02 ヴァレオ エキプマン エレクトリク モトゥール オルタネータ、またはオルタネータ/スタータの後部に一体化された電力電子装置を冷却する装置
JP2007288848A (ja) * 2006-04-13 2007-11-01 Hitachi Ltd 回転電機のステータ及びその製造方法及び交流発電機
JP2008108950A (ja) * 2006-10-26 2008-05-08 Matsushita Electric Ind Co Ltd 直動装置および電子部品実装装置

Family Cites Families (9)

* Cited by examiner, † Cited by third party
Publication number Priority date Publication date Assignee Title
JP3514319B2 (ja) * 1993-07-26 2004-03-31 株式会社デンソー 回転電機
FR2768870B1 (fr) 1997-09-25 2003-09-26 Denso Corp Alternateur pour un vehicule automobile
JP3430016B2 (ja) * 1998-06-05 2003-07-28 三菱電機株式会社 車両用交流発電機
DE19828518A1 (de) 1998-06-26 1999-12-30 Bosch Gmbh Robert Elektrische Maschine, vorzugsweise Drehstromgenerator mit Gleichrichter-Baueinheit
US6327128B1 (en) 1998-10-07 2001-12-04 Electro-Dyn Electronics Corporation Automotive bridge rectifier assembly with thermal protection
JP3944357B2 (ja) 2001-02-08 2007-07-11 三菱電機株式会社 車両用交流発電機
FR2869739B1 (fr) 2005-05-09 2009-06-26 Valeo Equip Electr Moteur Alternateur, notamment pour vehicule automobile
JP2008174051A (ja) 2007-01-17 2008-07-31 Toyota Motor Corp 車両用空調装置およびその制御方法
FR2919770B1 (fr) 2007-08-01 2009-10-09 Valeo Equip Electr Moteur Dispositif de redressement de courant pour machine electrique tournante et machine electrique tournante comportant un tel dispositif

Patent Citations (13)

* Cited by examiner, † Cited by third party
Publication number Priority date Publication date Assignee Title
JPS6416164U (ja) * 1987-07-20 1989-01-26
JPH0374163A (ja) * 1989-05-31 1991-03-28 Nippondenso Co Ltd 交流発電機
JPH0678504A (ja) * 1992-08-25 1994-03-18 Hitachi Ltd 車両用交流発電機
JPH06318657A (ja) * 1993-04-30 1994-11-15 Mitsubishi Electric Corp 半導体冷却装置
JPH08331818A (ja) * 1995-06-02 1996-12-13 Nippondenso Co Ltd 交流発電機
JPH099522A (ja) * 1995-06-23 1997-01-10 Nippondenso Co Ltd 車両用交流発電機及びショットキバリアダイオード
JPH09157440A (ja) * 1995-12-13 1997-06-17 Mitsubishi Electric Corp 樹脂組成物およびその樹脂組成物により封止された樹脂モールドモータ、樹脂封止型半導体装置、並びに、その樹脂組成物の硬化方法
JPH10331281A (ja) * 1997-05-30 1998-12-15 Sankyo Kogyo:Kk 保冷用建造物の屋上用外装式断熱構造とその施工方法
JP2004147486A (ja) * 2002-08-30 2004-05-20 Denso Corp 車両用交流発電機
JP2006504386A (ja) * 2002-10-28 2006-02-02 ヴァレオ エキプマン エレクトリク モトゥール オルタネータ、またはオルタネータ/スタータの後部に一体化された電力電子装置を冷却する装置
JP2004208467A (ja) * 2002-12-26 2004-07-22 Denso Corp 多相交流回転電機搭載インバータ
JP2007288848A (ja) * 2006-04-13 2007-11-01 Hitachi Ltd 回転電機のステータ及びその製造方法及び交流発電機
JP2008108950A (ja) * 2006-10-26 2008-05-08 Matsushita Electric Ind Co Ltd 直動装置および電子部品実装装置

Cited By (7)

* Cited by examiner, † Cited by third party
Publication number Priority date Publication date Assignee Title
JP2013146120A (ja) * 2012-01-13 2013-07-25 Denso Corp 車両用回転電機
JP2013236417A (ja) * 2012-05-07 2013-11-21 Mitsubishi Electric Corp 回転電機
JP2015061451A (ja) * 2013-09-19 2015-03-30 株式会社デンソー 回転電機
WO2016017164A1 (ja) * 2014-08-01 2016-02-04 パナソニックIpマネジメント株式会社 電子機器の断熱構造、その断熱構造を備えたモータ、および電子機器の断熱部材の形成方法
JPWO2016017164A1 (ja) * 2014-08-01 2017-05-18 パナソニックIpマネジメント株式会社 電子機器の断熱構造、その断熱構造を備えたモータ、および電子機器の断熱部材の形成方法
US10418875B2 (en) 2014-08-01 2019-09-17 Panasonic Intellectual Property Management Co., Ltd. Thermal insulation structure for electronic device, motor provided with said thermal insulation structure, and method for forming thermal insulation member for electronic device
JP2017055660A (ja) * 2016-12-25 2017-03-16 株式会社デンソー 回転電機

Also Published As

Publication number Publication date
EP2141786A1 (en) 2010-01-06
JP4650528B2 (ja) 2011-03-16
EP2141786B1 (en) 2015-03-18
US8106547B2 (en) 2012-01-31
EP2141786B8 (en) 2015-05-27
US20100001595A1 (en) 2010-01-07
EP2141786B2 (en) 2018-05-02

Similar Documents

Publication Publication Date Title
JP4650528B2 (ja) 車両用回転電機
JP4754009B2 (ja) 車両用回転電機
JP3622350B2 (ja) 回転電機
CN112840539B (zh) 用于电流激励的电机的滑环系统的刷模块、电机和机动车
EP1768236A1 (en) Rotating electric machine integral with control device
JP2010514405A (ja) 回転電気機械の電流を整流するための装置、およびこのような装置を有する回転電気機械
JP2000253625A (ja) 車両用交流発電機
WO2014129037A1 (ja) インバータ付きモータ
JP4284860B2 (ja) 車両用交流発電機
JP4081444B2 (ja) オルタネータ、特に自動車用オルタネータ
JP2009060711A (ja) 車両用交流発電機及び整流装置
JP2002300756A (ja) 車両用交流発電機
JP2019161772A (ja) 回転電機
JP2010239727A (ja) 車両用交流発電機及び車両用発電電動装置
JP5211914B2 (ja) 車両用回転電機
JP4360024B2 (ja) 車両用交流発電機
JP2002142424A (ja) 車両用交流発電機
JP5955435B1 (ja) ベルト駆動式制御装置一体型交流電動発電機
JP4186838B2 (ja) 車両用発電機
JP2002136016A (ja) ブラシレス交流発電機
JP4692439B2 (ja) 車両用交流発電機
JP5083665B2 (ja) 車両用回転電機
JP2014128041A (ja) 車両用回転電機
JP2007166900A (ja) 車両用電源装置
JP4487739B2 (ja) 車両用交流発電機

Legal Events

Date Code Title Description
A621 Written request for application examination

Free format text: JAPANESE INTERMEDIATE CODE: A621

Effective date: 20091126

A131 Notification of reasons for refusal

Free format text: JAPANESE INTERMEDIATE CODE: A131

Effective date: 20100420

A521 Request for written amendment filed

Free format text: JAPANESE INTERMEDIATE CODE: A523

Effective date: 20100615

TRDD Decision of grant or rejection written
A01 Written decision to grant a patent or to grant a registration (utility model)

Free format text: JAPANESE INTERMEDIATE CODE: A01

Effective date: 20101116

A01 Written decision to grant a patent or to grant a registration (utility model)

Free format text: JAPANESE INTERMEDIATE CODE: A01

A61 First payment of annual fees (during grant procedure)

Free format text: JAPANESE INTERMEDIATE CODE: A61

Effective date: 20101129

R151 Written notification of patent or utility model registration

Ref document number: 4650528

Country of ref document: JP

Free format text: JAPANESE INTERMEDIATE CODE: R151

FPAY Renewal fee payment (event date is renewal date of database)

Free format text: PAYMENT UNTIL: 20131224

Year of fee payment: 3

R250 Receipt of annual fees

Free format text: JAPANESE INTERMEDIATE CODE: R250

R250 Receipt of annual fees

Free format text: JAPANESE INTERMEDIATE CODE: R250

R250 Receipt of annual fees

Free format text: JAPANESE INTERMEDIATE CODE: R250

R250 Receipt of annual fees

Free format text: JAPANESE INTERMEDIATE CODE: R250

R250 Receipt of annual fees

Free format text: JAPANESE INTERMEDIATE CODE: R250

R250 Receipt of annual fees

Free format text: JAPANESE INTERMEDIATE CODE: R250

LAPS Cancellation because of no payment of annual fees