JP2010014012A - 燃料圧力調整装置及びそれを備える燃料供給装置 - Google Patents

燃料圧力調整装置及びそれを備える燃料供給装置 Download PDF

Info

Publication number
JP2010014012A
JP2010014012A JP2008174440A JP2008174440A JP2010014012A JP 2010014012 A JP2010014012 A JP 2010014012A JP 2008174440 A JP2008174440 A JP 2008174440A JP 2008174440 A JP2008174440 A JP 2008174440A JP 2010014012 A JP2010014012 A JP 2010014012A
Authority
JP
Japan
Prior art keywords
fuel
seat
pressure adjusting
valve body
fuel pressure
Prior art date
Legal status (The legal status is an assumption and is not a legal conclusion. Google has not performed a legal analysis and makes no representation as to the accuracy of the status listed.)
Granted
Application number
JP2008174440A
Other languages
English (en)
Other versions
JP4650851B2 (ja
Inventor
Koichi Oshima
宏一 尾島
Shinya Nose
慎也 能瀬
Yoshihiko Onishi
善彦 大西
Current Assignee (The listed assignees may be inaccurate. Google has not performed a legal analysis and makes no representation or warranty as to the accuracy of the list.)
Mitsubishi Electric Corp
Original Assignee
Mitsubishi Electric Corp
Priority date (The priority date is an assumption and is not a legal conclusion. Google has not performed a legal analysis and makes no representation as to the accuracy of the date listed.)
Filing date
Publication date
Application filed by Mitsubishi Electric Corp filed Critical Mitsubishi Electric Corp
Priority to JP2008174440A priority Critical patent/JP4650851B2/ja
Priority to DE200910008750 priority patent/DE102009008750A1/de
Priority to CN2009101281317A priority patent/CN101619694B/zh
Publication of JP2010014012A publication Critical patent/JP2010014012A/ja
Application granted granted Critical
Publication of JP4650851B2 publication Critical patent/JP4650851B2/ja
Expired - Fee Related legal-status Critical Current
Anticipated expiration legal-status Critical

Links

Images

Classifications

    • FMECHANICAL ENGINEERING; LIGHTING; HEATING; WEAPONS; BLASTING
    • F02COMBUSTION ENGINES; HOT-GAS OR COMBUSTION-PRODUCT ENGINE PLANTS
    • F02MSUPPLYING COMBUSTION ENGINES IN GENERAL WITH COMBUSTIBLE MIXTURES OR CONSTITUENTS THEREOF
    • F02M59/00Pumps specially adapted for fuel-injection and not provided for in groups F02M39/00 -F02M57/00, e.g. rotary cylinder-block type of pumps
    • F02M59/02Pumps specially adapted for fuel-injection and not provided for in groups F02M39/00 -F02M57/00, e.g. rotary cylinder-block type of pumps of reciprocating-piston or reciprocating-cylinder type
    • F02M59/04Pumps specially adapted for fuel-injection and not provided for in groups F02M39/00 -F02M57/00, e.g. rotary cylinder-block type of pumps of reciprocating-piston or reciprocating-cylinder type characterised by special arrangement of cylinders with respect to piston-driving shaft, e.g. arranged parallel to that shaft or swash-plate type pumps
    • FMECHANICAL ENGINEERING; LIGHTING; HEATING; WEAPONS; BLASTING
    • F02COMBUSTION ENGINES; HOT-GAS OR COMBUSTION-PRODUCT ENGINE PLANTS
    • F02MSUPPLYING COMBUSTION ENGINES IN GENERAL WITH COMBUSTIBLE MIXTURES OR CONSTITUENTS THEREOF
    • F02M37/00Apparatus or systems for feeding liquid fuel from storage containers to carburettors or fuel-injection apparatus; Arrangements for purifying liquid fuel specially adapted for, or arranged on, internal-combustion engines
    • F02M37/0011Constructional details; Manufacturing or assembly of elements of fuel systems; Materials therefor
    • F02M37/0023Valves in the fuel supply and return system
    • F02M37/0029Pressure regulator in the low pressure fuel system
    • FMECHANICAL ENGINEERING; LIGHTING; HEATING; WEAPONS; BLASTING
    • F02COMBUSTION ENGINES; HOT-GAS OR COMBUSTION-PRODUCT ENGINE PLANTS
    • F02MSUPPLYING COMBUSTION ENGINES IN GENERAL WITH COMBUSTIBLE MIXTURES OR CONSTITUENTS THEREOF
    • F02M69/00Low-pressure fuel-injection apparatus ; Apparatus with both continuous and intermittent injection; Apparatus injecting different types of fuel
    • F02M69/02Pumps peculiar thereto

Landscapes

  • Engineering & Computer Science (AREA)
  • Chemical & Material Sciences (AREA)
  • Combustion & Propulsion (AREA)
  • Mechanical Engineering (AREA)
  • General Engineering & Computer Science (AREA)
  • Fuel-Injection Apparatus (AREA)
  • Safety Valves (AREA)
  • Control Of Fluid Pressure (AREA)

Abstract

【課題】燃料ポンプと一体に構成可能であり、燃料ポンプにより加圧された燃料を安定した圧力に調整する燃料圧力調整装置及びそれを備える燃料供給装置を得ることを目的とする。
【解決手段】燃圧調整孔62内に配設された筒状のケーシング66と、ケーシング66の一端側の内部に、一端を高圧燃料通路21に向けてケーシング66に同軸に圧入された筒状の弁座75と、弁体押圧座82Aを弁座75に向けて、ケーシング66に対して摺動可能にケーシング66内に配設された摺動部材80Aと、弁座75と摺動部材80Aの弁体押圧座82Aとの間に配設された弁体88と、弁体88を弁座75に着座させる方向に付勢するスプリング90と、摺動部材80Aの内外を連通する筒部開口流入孔81aと、弁座75の他端側の開口から筒部開口流入孔81aに至る燃料流路84と、を備えている。
【選択図】図7

Description

この発明は、燃料ポンプによりインジェクタに供給する燃料圧力を調整する燃料圧力調整装置及びそれを備える燃料供給装置に関する。
地球温暖化などの環境問題から、四輪自動車や二輪自動車のエンジンの低燃費化、及び排ガスのクリーン化が要求されている。このような背景の中、四輪自動車や二輪自動車のエンジンへの燃料供給システムには、キャブレタを用いた従来の機械式のものに代え、エンジンの低燃費化、及び排ガスのクリーン化を目的として、電子制御式の燃料供給装置が要求されている。
また、四輪自動車や中大型二輪自動車では、燃料タンク内に設置するインタンク式燃料供給装置が広く採用されている。しかし、小排気量のエンジンの小型二輪自動車では、燃料タンクの容量が小さいので、インタンク式燃料供給装置を小型二輪自動車に搭載するには、燃料タンクの大幅なレイアウトの見直しが必要となる。そこで、小型二輪自動車では、燃料タンクとインジェクタとの間の配管経路に搭載できるインライン式燃料供給装置が必要とされている。
ここで、一般的な燃料供給装置には、安定した燃料の圧力をエンジンに供給するための燃料圧力調整装置がセットで配設されている。
そして、インライン式燃料供給装置に対して燃料圧力調整装置を別体に配設する場合、インライン式燃料供給装置と燃料圧力調整装置との間の配管レイアウトが問題になることから、燃料圧力調整装置を燃料供給装置に内蔵することが必要とされている。
燃料圧力調整装置の一例として、第1の従来の燃料圧力調整装置が特許文献1に提案されている。
第1の従来の燃料圧力調整装置は、燃料ポンプからインジェクタに通ずる燃料通路に連通する燃料導入口と燃料タンクに連通する燃料吐出口とを有するケーシングと、ケーシングに収納され、内部に燃料導入口と燃料吐出口とを連通する連通路を有し、且つ端部に弁座を有する筒状部材と、ケーシング内の弁座より燃料吐出口側に配置され、弁座に着座することにより連通路を閉鎖する弁体と、燃料吐出口に設けられ、弁体を弁座に着座させる方向に付勢する平板状の板ばねとを備え、平板状の板ばねは、弁体を支持する凹部を弁体との間に若干の隙間を有して形成している。
第1の従来の燃料圧力調整装置は、燃料通路内の燃料の圧力が所定値以上になると、弁体が燃料の圧力により板ばねの付勢力に抗して変位する。これにより、弁体による連通路の閉鎖が解除されて、燃料通路から連通路に導かれた燃料が燃料タンク内に吐出するので、燃料通路内の燃料の圧力が略一定に保たれる。
しかしながら、第1の従来の燃料圧力調整装置の板ばねは、大面積のものを用いる必要がある。このため、第1の従来の燃料圧力調整装置を燃料供給装置に内蔵しようとする場合、第1の従来の燃料圧力調整装置を内蔵した燃料供給装置が大型化してしまい、小型の自動二輪車に対して当該燃料供給装置をインライン配置することが難しくなるという問題がある。
上記問題を鑑み、大面積の板ばねを用いることなく、小型に構成可能な巻きばねを用いたレギュレータ(第2の従来の燃料圧力調整装置)を内蔵した従来の燃料ポンプ(従来の燃料供給装置)が提案されている(例えば、特許文献2参照)。
従来の燃料供給装置は、ハウジング内に吸引室および圧力室が形成され、プランジャヘッドが斜板に対して接触状態に保持されている複数個のプランジャとそれらを収納するシリンダブロックとを有するものに、圧力室の圧力を調整する第2の従来の燃料圧力調整装置が配設されている。
そして、第2の従来の燃料圧力調整装置は、シリンダブロックに形成されたシリンダ内で、シリンダブロックに対してその位置が調整されて固着された固着台と、圧力室に連通するバルブ孔を閉塞・開放する圧力リリーフ弁と、該圧力リリーフ弁を押え、かつシリンダー内壁に接して摺動する圧力リリーフ弁押えと、圧力リリーフ弁が開放されたときにバルブ孔を吸引室に連通せしめる通路と、固着台と圧力リリーフ弁押えとの間に両者を押圧するように装着された巻きばねで構成されたスプリングと、により構成されている。
このとき、通路は、圧力リリーフ弁押えとバルブ孔側のシリンダの内壁との間に形成された流路空間、及び流路空間と吸引室につながる連絡通路とを連通するようにシリンダの壁部を貫通する孔により構成されている。
そして、第2の従来の燃料圧力調整装置は、インジェクタに供給される圧力室の燃料が所定値以上の圧力になると、圧力リリーフ弁が燃料の圧力によりスプリングの付勢力に抗してバルブ孔から離間する方向に変位し、バルブ孔が開放される。これにより、燃料が通路を介して吸引室に燃料が吐出されるので、圧力室内の圧力を略一定に保つようになっていた。つまり、インジェクタに供給される燃料の圧力も略一定に保つようになっていた。
特開2006−37856号公報 特開平10−339231号公報
第2の従来の燃料圧力調整装置は、圧力リリーフ弁を押圧する手段に巻きばねからなるスプリングを採用したので小型に構成可能である。従って、第2の従来の燃料圧力調整装置を内蔵した従来の燃料供給装置は、大型化することなく構成可能となる。しかしながら、第2の従来の燃料圧力調整装置のシリンダ内において、流路空間と、固着台と圧力リリーフ弁押えとの間に両者を押圧するように装着されたスプリングの配置空間と、は隔離されている。従って、バルブ孔と吸引室とを連通せしめる通路に燃料が流れた場合、大きな圧力差が、燃料が流れる流路空間と、燃料の流れないスプリングの配置空間との間に生じる。
従って、バルブ孔が開放されたときに、圧力リリーフ弁押えが燃料の圧力により押されると、通路とスプリングの配置空間との圧力差に相当する力が、圧力リリーフ弁押え及びスプリングに負荷されるので、圧力リリーフ弁押え及びスプリングが大きく揺動してしまう。
つまり、圧力リリーフ弁押え及びスプリングの揺動により、バルブ孔と吸引室とを連通せしめる通路の燃料の圧力が不安定となる。即ち、圧力室内の燃料の圧力も不安定となり、インジェクタに供給される燃料の圧力が変動してしまうという問題があった。
この発明は上記の課題を解決するためになされたものであり、燃料ポンプと一体に構成可能であり、燃料ポンプにより加圧された燃料を安定した圧力に調整可能な燃料圧力調整装置及びそれを備える燃料供給装置を得ることを目的とする。
第1燃料空間と第2燃料空間とを連通する燃圧調整孔内に配設され、第1燃料空間内の燃料圧力と第2燃料空間内の燃料圧力との差圧が一定となるように調整する燃料圧力調整装置であって、燃圧調整孔内に、一端側を第1燃料空間側に向けて配設された筒状のケーシングと、ケーシングの一端側の内部に、一端を第1燃料空間に向けてケーシングに同軸に圧入された筒状の弁座と、弁体押圧座、及び弁体押圧座に一端側が連結された筒部で構成され、弁体押圧座を弁座に向けて、ケーシングに対して軸方向に摺動可能にケーシング内に配設された摺動部材と、弁座の他端に着座可能に、弁座と弁体押圧座との間に配設され、弁座への着座時に弁座の他端側の開口を塞口する弁体と、弁体を弁座に着座させる方向に付勢する付勢手段と、摺動部材の内外を連通する連通路と、弁座の他端側の開口から連通路に至る燃料流路と、を備えている。
この発明の燃料圧力調整装置によれば、弁体による弁座の塞口が解除されたときに、弁座の開口から吐出される燃料は、燃料流路および連通路を介して摺動部材内部に導かれて第2燃料空間に放出される。これにより、燃料流路の燃料と摺動部材内の燃料との差圧がほぼなくなるので、弁体が弁体の塞口を解除するように変位したときに、摺動部材に衝突する燃料の流れによって摺動部材及びスプリングが大きく揺動することが抑えられる。そして、燃料圧力調整装置は、第1燃料空間と第2燃料空間を連通する燃料調整孔内に配設されるものであるので、燃料ポンプに一体に配設可能な構成でありつつも、第1燃料空間内の燃料の圧力を所定の値に安定して調整することができる。
以下、この発明を実施するための最良の形態について、図面を参照して説明する。
実施の形態1.
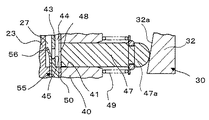
図1はこの発明の実施の形態1に係る燃料圧力調整装置を有する燃料供給システムの構成図、図2はこの発明の実施の形態1に係る燃料圧力調整装置を有する燃料供給装置の断面図、図3は図2のA部拡大図、図4は図2のIV−IV矢視断面図、図5はこの発明の実施の形態1に係る燃料圧力調整装置を有する燃料供給装置の吸入弁体の正面図、図6はこの発明の実施の形態1に係る燃料圧力調整装置を有する燃料供給装置の吐出弁体の正面図である。図7はこの発明の実施の形態1に係る燃料圧力調整装置の断面図であり、図2のB部拡大図に相当している。図8は図7のC部拡大図、図9はこの発明の実施の形態1に係る燃料圧力調整装置を有する燃料供給装置の燃料ポンプのピストンが下死点に位置した状態を示す図、図10はこの発明の実施の形態1に係る燃料圧力調整装置を有する燃料供給装置の燃料ポンプのピストンが上死点に位置した状態を示す図である。
なお、説明の便宜上、図2では、一つのピストンのみを図示している。
まず、燃料供給システム1の主な構成について説明する。
図1において、燃料供給システム1は、燃料タンク2、燃料タンク2の外部で低圧配管3を介して燃料タンク2に接続された燃料供給装置10、高圧配管4を介して燃料供給装置10に接続され、燃料供給装置10から供給された燃料を噴射するインジェクタ6、及び燃料供給装置10からインジェクタ6への燃料供給とインジェクタ6からの燃料の噴射タイミングを制御する駆動制御部7を有している。
また、燃料供給装置10は、インジェクタ6に高圧の燃料を供給するための燃料ポンプ30、燃料ポンプ30で加圧された燃料圧力が所定値以上となると高圧配管4に燃料を供給し、燃料ポンプ30の停止時に高圧配管4内の燃料圧力を保持する燃圧保持弁29、及びインジェクタ6に供給される燃料圧力を安定して所定値に調整する燃料圧力調整装置65Aなどがハウジング11に対して一体に設けられて構成されている。
そして、駆動制御部7は、燃料ポンプ30の駆動制御を行いインジェクタ6への燃料の供給を制御している。
次いで、燃料供給装置10の詳細について説明する。
図2において、ハウジング11が第1ボディ部12、及び第2ボディ部20により構成されている。
そして、第1ボディ部12は、一面に開口して所定の深さを有し、その穴形が円である穴部13、吸入口14aを有し、燃料タンク2(図1参照)の燃料をハウジング11に導く流入通路を形成する筒状の吸入ポート14を有している。そして、吸入ポート14は、第1ボディ部12の穴部13の底側に形成され、図示しないが、低圧配管3を介して燃料タンク2に接続されている。また、吸入ポート14内には、異物流入防止フィルタ16が配設されている。そして、吸入ポート14の孔は、穴部13に嵌入された後述のブッシュ61の連通孔61aを介して穴部13と接続されている。
また、第2ボディ部20は、燃料の吐出口22aを有する筒状の吐出ポート22、吐出ポート22の孔を介して吐出口22aに通ずるように形成された第1燃料空間としての高圧燃料通路21、及び第1ボディ部12の穴部13に嵌入された突部23を有している。なお、突部23は、穴部13の一面の開口から所定の深さの領域に嵌入されている。また、円環状のシール部材24が突部23の外周面に外嵌され、シール部材24が穴部13の内壁に押圧状態に接している。そして、図示しないが、吐出ポート22が高圧配管4を介してインジェクタ6に接続されている。
また、それぞれ穴部13の深さ方向に孔方向が一致する保持弁配設孔25、及びドレーン孔26が、高圧燃料通路21と穴部13とを連通するように突部23に形成されている。
また、燃圧保持弁29が、保持弁配設孔25に配設されている。燃圧保持弁29は燃料ポンプ30の稼働により保持弁配設孔25の高圧燃料通路21と反対側の開口から流入される燃料圧力が所定の圧力以上になると開弁して、燃料を高圧燃料通路21に吐出し、また、燃料ポンプ30の停止時、高圧配管4内の燃料圧力を保持するものである。
また、燃料ポンプ30には、以下に詳細を説明する容積型のアキシャルピストンポンプが用いられている。
図2〜図4、及び図7において、燃料ポンプ30は、穴部13の底に開口するように第1ボディ部12に形成された軸孔37に挿通されたシャフト31、穴部13内でシャフト31の一端に連結された斜板32、シャフト31を軸周りに回転させるモータ33、第1ボディ部12における突部23と斜板32の間の穴部13の位置に同軸に嵌入され、複数のシリンダ41を有する円柱状のシリンダブロック40、及びシリンダ41に摺動自在に配置されたピストン47を備えている。
このとき、シャフト31と穴部13のそれぞれの軸が一致し、また、シャフト31は軸孔37に配置された軸受38に回転自在に支持されている。
さらに、燃料ポンプ30は、図2、図3、及び図7に示されるように、シリンダブロック40と突部23との間に配設されたプレート43、プレート43とシリンダブロック40との間に介装された吸入弁体50、プレート43と突部23との間に介装された吐出弁体55、及びシリンダブロック40と穴部13の底との間に配設されたブッシュ61を備えている。
そして、第2燃料空間としての燃料溜め室15が、シリンダブロック40と穴部13の底との間に形成されている。
また、ブッシュ61が、図2及び図4に示されるように、例えば弾性を有する鉄系材料で穴部13の内周面に適合する外周形状の円筒形状に形成され、第1ボディ部12内におけるシリンダブロック40と穴部13の底との間の部位に嵌入されている。このとき、ブッシュ61の付勢力は、シリンダブロック40、吸入弁体50、プレート43、及び吐出弁体55をシャフト31の軸方向で、かつ、突部23に向かうように働いている。
また、前述したように、吸入ポート14の孔と燃料溜め室l5とを連通する連通孔61aが、ブッシュ61に形成されている。つまり、吸入ポート14から吸入される燃料は、燃料溜め室15に流入される。
また、高圧燃料通路21と燃料溜め室15とを連通する燃圧調整孔62が、吸入弁体50、吐出弁体55、プレート43、及びシリンダブロック40のそれぞれを貫通する貫通孔46と、ドレーン孔26と、により構成されている。なお、ドレーン孔26と、貫通孔46は同軸に連結されている。このとき、ドレーン孔26の貫通孔46側の孔径は、貫通孔46の孔径より大きくなっている。
斜板32は、シャフト31の一端に固定され、シャフト31への取付面と反対側の面が、シャフト31の軸方向に直交する平面に対して所定の傾きを有する傾斜面32aを構成している。
そして、孔方向がシリンダブロック40の軸方向に一致する3つのシリンダ41が、同心円上に孔中心が配置されるように、等角ピッチでシリンダブロック40に形成されている。
また、シリンダ41と平行な3つの吸入孔42のそれぞれが、シリンダ41のそれぞれに対して一対一で対応するようにシリンダブロック40に形成されている。
また、吸入弁体50は、図5に示さるように、例えば、弾性を有する金属材料を用いて薄板状に形成されている。そして、吸入弁体50は、3つのシリンダ孔51及び3つの吸入弁52を有し、詳細には図示しないが、シリンダ孔51がシリンダ41に対応し、また、吸入弁52が吸入孔42に対応するようにシリンダブロック40とプレート43との間に介装されている。
また、プレート43は、シリンダ孔51に対応する位置に形成された吐出孔45、及び対応するシリンダ41と吸入孔42の間のそれぞれを連通するように形成された吸入溝44を有している。
吸入溝44は、図2及び図4に示されるように、対応するシリンダ41と吸入孔42のプレート43側の開口を連通するようにプレート43に凹設されている。そして、吸入弁52は、以下に説明する圧力室48内の圧力に応じて、吸入溝44の方向に変位して吸入孔42を開閉するようになっている。
なお、圧力室48は、ピストン47が挿入された部位を除くシリンダ41の空間と、シリンダ孔51、吐出孔45、及び吸入溝44で構成される空間とする。
そして、吐出弁体55は、図6に示さるように、例えば、弾性を有する金属材料を用いて薄板状に形成されている。そして、吐出弁体55は、3つの吐出弁56を有し、吐出弁56がプレート43の吐出孔45と相対するようにプレート43と突部23との間に介装されている。
また、吐出溝27が、図2に示されるように、吐出孔45と保持弁配設孔25とを連通するように突部23の突出端面に凹設されている。そして、吐出弁56は圧力室48内の圧力に応じて、吐出溝27の方向に変位して吐出孔45を開閉するようになっている。
また、ピストン47は、その一端側が、シリンダ41のそれぞれに挿入され、シリンダ41の孔方向に沿って摺動可能となっている。また、ピストン47の他端は、半球部47aで構成されている。このとき、半球部47aの曲面部側が斜板32に向けられている。さらに、ピストン47の半球部47a側と、シリンダ41との間にピストン付勢スプリング49が配設されている。このとき、ピストン付勢スプリング49の付勢力は、ピストン47をシリンダ41から抜き出す方向に働いている。これにより、半球部47aの曲面部は、斜板32に押圧状態に当接している。
各ピストン47は、シャフト31の軸周りの回転に連動して斜板32が回転すると、図
9に示されるように、ピストン47が最もシリンダ41から突出された下死点と、図10に示されるようにピストン47が最もシリンダ41内に挿入された上死点と、の間を往復移動する。
次いで、燃料圧力調整装置65Aについて説明する。
図7及び図8において、燃料圧力調整装置65Aは、自身の軸方向の一端を高圧燃料通路21に向けて燃圧調整孔62に同軸に配置された筒状のケーシング66、及びケーシング66の軸方向の一端側の内部に、自身の軸方向の一端を高圧燃料通路21に向けてケーシング66に同軸に圧入された筒状の弁座75を備えている。
以下、軸方向の一端及び他端を単に一端及び他端と記載する。
さらに、燃料圧力調整装置65Aは、ケーシング66内における弁座75の他端側に、ケーシング66に対して軸方向に摺動可能に配設された摺動部材80A、弁座75の他端に着座可能に、弁座75と摺動部材80Aとの間に配設され、弁座75への着座時に弁座75の他端側の開口を塞口する弁体88、及び弁体88を弁座75に着座させる方向に付勢する付勢手段としてのスプリング90を備えている。以下、弁座75の他端側の開口をバルブ口75bとする。
そして、ケーシング66は、その一端側に、軸方向に所定の間隔をあけて外周面から径方向に突出する一対のツバ部67a,67bを有している。
このとき、ツバ部67a,67bの外径は、突部23の突出端側におけるドレーン孔26の孔径よりわずかに小さく、ツバ部67a,67bを除くケーシング66の外径は貫通孔46の孔径より僅かに小さくなっている。
そして、ケーシング66は、その一端側がドレーン孔26に配置され、ツバ部67bより他端側の部位が貫通孔46に配置されるように燃圧調整孔62に同軸に配設されている。
前述したように、ドレーン孔26の孔径は、貫通孔46の孔径より大きくなっている。
そして、ドレーン孔26の外縁より径方向内側に突出された吐出弁体55の壁面がケーシング移動抑制面69を構成している。
これにより、ツバ部67bの他端面とケーシング移動抑制面69とが当接したところで、それ以上のケーシング66の燃料溜め室15側への移動が規制される。
また、ケーシング66の孔68は、その一端から他端に向かって、順に径がステップ状に小さくなる第1孔部68a〜第4孔部68dが同軸に連結されて構成されている。
このとき、第1孔部68aは、その一端がドレーン孔26に接続され、他端は貫通孔46の一端から他端側に所定距離離間した位置まで延在している。
ここで、ケーシング66の他端側の開口を燃料流出口70とする。つまり、燃料流出口70は、燃料溜め室15に臨むように配置されている。
また、第1孔部68a〜第4孔部68dのうち、燃料流出口70と対向し、2番目に孔径の小さな第3の孔部68cを新たに第1スプリング保持孔68cとする。さらに、第1スプリング保持孔68cを構成するケーシング66の壁面から径方向内方に突出する壁面を第1スプリング座面72とする。
また、ツバ部67a,67bの間には、円環状のシール部材73がケーシング66に外嵌状態に装着されており、シール部材73は、第1ドレーン孔26の内壁に押圧状態に接している。
また、弁座75は、円筒形状であり、その軸方向を孔68の軸方向に一致させてケーシング66の一端側に圧入固定されている。但し、弁座75は、大きな力をケーシング66の軸方向に付加すれば、ケーシング66の軸方向に移動させることができるようになっている。つまり、弁座75は、ケーシング66への組み付け時に、ケーシング66の軸方向の位置を調整することが可能である。
また、弁座75の他端側は、図8に示されるように、一端に向かって漸次開口径が小さくなるテーパ状の第1座面75aを有している。
摺動部材80Aは、概略有底円筒状に形成され、その底部を構成する弁体押圧座82Aと、一端側が弁体押圧座82Aに連結された筒部81Aと、で構成されている。
また、摺動部材80Aの内外を連通する連通路としての筒部開口流入孔81aが、筒部81Aの一端側に周方向に180°の等角ピッチで2つ形成されている。さらに、弁体押圧座82Aには、径方向の中心部を貫通する小孔が形成されている。
そして、摺動部材80Aは、弁体押圧座82Aを弁座75側に向け、また、筒部81Aの他端側の開口がケーシング66の軸方向の他端側で燃料流出口70と相対するように、ケーシング66内にケーシング66の孔68の軸方向に摺動可能に配設されている。
そして、以下に説明する中継空間85及び流路隙間86からなる燃料流路84が、弁座75の他端側の開口から筒部開口流入孔81aに至るように形成されている。
中継空間85は、ケーシング66内の弁座75と摺動部材80Aとの間に形成される空間であり、また、流路隙間86は、中継空間85と筒部開口流入孔81aとを連通するように筒部81Aの一端側とケーシング66との間に形成された空間である。
なお、摺動部材80Aは、筒部81Aの軸方向の他端側の外周面と第2孔部68bの内壁面とが摺接した状態でケーシング66に対して軸方向に摺動するようになっている。
また、筒部81Aの内径は、弁体押圧座82A側で若干小さくなっている。ここで、筒部81Aの孔のうち、孔径の小さな側を第2スプリング保持孔93とする。そして、弁体押圧座82Aの内面が、第2スプリング保持孔93の壁面から径方向内方に突出する第2スプリング座面94を構成している。
このとき、第2スプリング保持孔93は、第1スプリング保持孔68cの一側に同軸に配置され、第2スプリング保持孔93の内径は、ケーシング66の第1スプリング保持孔68cの内径と同じになるように形成されている。
また、弁体押圧座82Aの外壁面は、図8に示されるように、開口径が、弁体押圧座82Aの軸方向の一端から他端に向かって漸次小さくなるテーパ状の第2座面82aを有している。
そして、球状の弁体88が弁座75と摺動部材80Aとの間に配設されている。
さらに、スプリング90が、第1スプリング座面72と、第1スプリング座面72と相対する第2スプリング座面94との間に縮設されている。これにより、スプリング90の付勢力は、弁体88を弁座75に着座させる方向に働く。すなわち、弁体88は、所定の圧力で弁座75に向かって摺動部材80Aに押されている。
このとき、スプリング90は、第1スプリング保持孔68c及び第2スプリング保持孔93の壁面によって摺動部材80Aの径方向への移動が規制される口径のものが用いられている。
また、弁体88は、弁座75における所定の径方向位置で、第1座面75aと周方向全域で当接し、弁座75の他端側の開口を塞口している。また、弁体88は弁体押圧座82Aにおける所定の径方向位置で、第2座面82aと周方向全域で当接している。
そして、高圧燃料通路21側から弁体88を押す圧力が所定値以下の場合には、弁体88は、スプリング90の付勢力により、第1座面75aと第2座面82aのそれぞれに押圧状態に当接されて保持され、また、高圧燃料通路21側から弁体88を押す圧力が所定値より大きくなると、スプリング90の付勢力に抗してバルブ口75bを解除するように変位する。
また、図8に示されるように、燃圧調整孔62の軸を含む燃料圧力調整装置65Aの断面おいて、燃圧調整孔62の軸方向に対する第1座面75aの傾斜角度θ1は、燃圧調整孔62の軸方向に対する第2座面75aの傾斜角度θ2より小さくなっている。
また、上記のように構成されたスプリング90、摺動部材80A、弁体88、及び弁座75は、ケーシング66の一端側の開口からスプリング90、摺動部材80A、弁体88、及び弁座75の順にケーシング66内に挿入されてケーシング66に組み付けられている。
上記のように構成された燃料供給システム1におけるインジェクタ6への燃料供給動作
について説明する。
初期状態として燃料溜め室15に燃料が充満されているものとする。
モータ33によりシャフト31が回転されるのに連動して斜板32が回転すると、各ピストン47は斜板32の回転角度に応じて、上死点と下死点の間を往復移動する。
以下、一つのピストンの往復移動に対する燃料の流れについて説明するが、いずれのピストン47が往復移動した場合でも、同様に燃料が流れる。
ピストン47が下死点の位置に向かうときに圧力室48内は減圧し、上死点に向かうときに圧力室48内が増圧される。
このとき、圧力室48内の圧力が、ピストン47の往復移動により、燃料溜め室15内の圧力より大きくなったり、小さくなったりする。
そして、圧力室48内の圧力が、燃料溜め室15の圧力より低い場合には、吸入弁52が吸入溝44側に変位して吸入孔42と圧力室48内との間が連通する。また、圧力室48内の圧力が、燃料溜め室15の圧力より高い場合には、吸入弁52がシリンダブロック40側に変位して吸入孔42を塞口するので、吸入孔42と圧力室48内との間の連通が遮断される。
上死点から下死点に向かう方向へピストン47が変位されることで、圧力室48内が減圧され、燃料溜め室15の燃料が、吸入孔42及び吸入溝44を介して圧力室48内に吸入される。このとき、圧力室48内の圧力が低いので、図9に示されるように、吐出弁56はプレート43側に変位し、吐出孔45を塞口する。
また、下死点から上死点に向かう方向へピストンが変位されると、圧力室48内が加圧される。圧力室48内が加圧されると、図10に示されるように、吐出弁56が吐出溝27側に変位して吐出孔45の塞口が解除される。そして、圧力室48内の高圧の燃料が、吐出孔45、吐出溝27、及び燃圧保持弁29を介して高圧燃料通路21に吐出される。
そして、高圧燃料通路21に吐出された燃料は、吐出ポート22を介してインジェクタ6に供給される。
このように、燃料ポンプ30は、燃料溜め室15に流入された燃料を加圧して高圧燃料通路21に吐出している。
次いで、燃料圧力調整装置65Aによるインジェクタ6への燃料圧力調整について説明する。
初期状態では、高圧燃料通路21内の圧力は、所定値より小さく、弁体88は、バルブ口75bを塞口しているものとする。
なお、高圧燃料通路21に接続されるドレーン孔26内の燃料圧力は、高圧燃料通路21と略同圧である。
高圧燃料通路21内の圧力が、所定値より大きくなると、弁体88はスプリング90の付勢力に抗して、バルブ口75bの塞口を解除するように変位する。つまり、高圧燃料通路21の燃料圧力が、所定値より大きくなると、高圧燃料通路21内の燃料と燃料溜め室15内の燃料との差圧がスプリング90の付勢力より大きくなるので、弁体88がスプリング90の付勢力に抗して燃料溜め室15側に変位し、バルブ口75bの塞口を解除する。そして、高圧燃料通路21側の燃料が、バルブ口75bから中継空間85に吐出される。
中継空間85に吐出された燃料は、流路隙間86、筒部開口流入孔81aを介して摺動部材80Aの内部に導かれ、燃料流出口70から燃料溜め室15に吐出される。
また、高圧燃料通路21内の燃料圧力が所定値より下がると、弁体88がスプリング90の付勢力によりバルブ口75bを塞口するように変位して高圧燃料通路21と燃料溜め室15との間の連通状態が遮断されるので、高圧燃料通路21内から燃料溜め室15への燃料の吐出が停止する。
上記のように、燃料圧力調整装置65Aが、高圧燃料通路21内の燃料と燃料溜め室15内の燃料との差圧が一定となるように調整する。言いかえると、燃料溜め室15内の燃料圧力の変動はほとんどないので、燃料圧力調整装置65Aは、高圧燃料通路21内の燃料圧力が略所定値になるように調整する。
この実施の形態1によれば、燃料圧力調整装置65Aが、高圧燃料通路21と燃料溜め室15とを連通する燃圧調整孔62に配置された筒状のケーシング66と、ケーシング66の一端側(高圧燃料通路21側)に同軸に圧入された弁座75と、弁体押圧座82Aを弁座75に向けて、ケーシング66に対して軸方向に摺動可能にケーシング66内に配設された摺動部材80Aと、弁座75と摺動部材80Aとの間に配置された弁体88と、摺動部材80A内に配置され、弁体88を弁座75に着座させる方向に付勢するスプリング90と、を備えている。
また、筒部開口流入孔81aが、摺動部材80Aの内外を連通するように筒部81Aに形成されている。さらに、燃料流路84が、ケーシング66内の弁座75と摺動部材80Aとの間に形成された中継空間85、及び中継空間85と筒部開口流入孔81aとを連通するように筒部81Aの一端側とケーシング66との間に形成された流路隙間86で構成されている。つまり、燃料流路84が、バルブ口75bから筒部開口流入孔81aに至るように形成されている。
従って、燃料圧力調整装置65Aにおいて、中継空間85に吐出される燃料は、スプリング90が配設された摺動部材80A内を通過して、燃料溜め室15に導かれる。これにより、燃料流路84の燃料圧力と摺動部材80A内の燃料圧力との差圧がほぼなくなる。従って、高圧燃料通路21内の燃料圧力と燃料溜め室15内の燃料圧力との差圧がスプリング90の付勢力より大きくなって、弁体88がバルブ口75bの塞口を解除するように変位したときに、摺動部材80Aに衝突する燃料の流れによって摺動部材80A及びスプリング90が大きく揺動することが抑えられる。
つまり、燃料圧力調整装置65Aは、高圧燃料通路21内の燃料圧力を略所定の値に安定して調整することができる。
さらに、筒部開口流入孔81aが、筒部81Aに等角ピッチで形成されているので、各筒部開口流入孔81aから摺動部材80Aの内部に流れ込む燃料圧力のベクトル和は、摺動部材80Aの径方向に関して略0となる。これにより、摺動部材80Aと第2の孔部68bとの間のわずかなクリアランスを有しているが、摺動部材80A内への燃料の流入時に、摺動部材80Aがガタつくことが極力防止できる。即ち、高圧燃料通路21内の燃料圧力を、さらに安定して略所定の値に調整することができる。
また、燃圧調整孔62に同軸に配置された弁座75及び摺動部材80A(弁体押圧座82A)の軸を含む燃料圧力調整装置65Aの断面において、弁座75及び摺動部材80Aの軸に対する弁座75の第1座面75aの傾斜角度θ1は、当該軸に対する摺動部材80Aの第2座面82aの傾斜角度θ2より小さい。つまり、弁体88と第2座面82aとの当接部で構成される円の直径d2が、弁体88と第1座面75aとの当接部で構成される円の直径d1より小さくなる。
このとき、摺動部材80Aの軸がわずかに燃圧調整孔62の軸から傾いた場合に、弁体88に働くモーメントを抑制できる。従って、高圧燃料通路21内の燃料圧力が所定の値より大きくなり、第1座面75aから離れた状態にある弁体88の中心が、摺動部材80Aの筒部81Aの軸上からずれにくくなる。そして、再度第1座面75aに着座するときに、即座に弁体88を第1座面75aの所定の位置に着座させることができるので、高圧燃料通路21内の燃料圧力をさらに安定して所定の値に調整することができる。
また、第1スプリング保持孔68c及び摺動部材80Aの内径とスプリング90の口径とを対応させれば、スプリング90を第1スプリング保持孔68c及び第2スプリング保持孔93の壁面に摺動部材80Aの径方向への移動が規制されるように第1スプリング座面72と第2スプリング座面94との間に縮設させることができる。つまり、ケーシング66及び摺動部材80Aの径方向におけるスプリング90の位置が自動的に決まるので、簡単にスプリング90をケーシング66と摺動部材80Aとの間に配設することができる。このとき、スプリング90の主体部を摺動部材80A内に配設する構成とすることにより、燃料圧力調整装置65Aを燃圧調整孔62に配設する際の燃圧調整孔62の軸方向の寸法を小さくすることができる。
また、スプリング90、摺動部材80A、弁体88、及び弁座75は、ケーシング66の一端側の開口からスプリング90、摺動部材80A、弁体88、及び弁座75の順にケーシングに挿入されてケーシング66に組み付けられている。単純な手順で燃料圧力調整装置65Aを組み立てることができるので、燃料圧力調整装置65Aを組み立てる際の製造コストを削減することができる。
また、弁座75のケーシング66の軸方向の位置を調整可能となっている。弁座75のケーシング66の軸方向の位置を調整することにより、弁体88がスプリング90から受ける付勢力を、言い換えれば、弁体88がバルブ口75bの塞口を解除するときの高圧燃料通路21と燃料溜め室15との差圧を仕様に合わせて適宜設定できる。
また、燃料圧力調整装置65Aは、大面積の板ばねを用いることなく小型に構成され、高圧燃料通路21と燃料溜め室15を連通する燃圧調整孔62に配設可能であるので燃料ポンプ30と一体に構成できる。従って、燃料供給装置10は、燃料ポンプ30と燃料圧力調整装置65Aとの間、及び燃料圧力調整装置65Aと燃料タンク2との間を燃料連絡配管で連結することなしにインラインで配置可能であり、そのうえ従来よりも安定した圧力の燃料をインジェクタ6に供給することができる。
なお、この実施の形態1では、弁体88は球状であるものとして説明したが、バルブ口75bを開閉可能に変位可能なものであれば他の形状でもよい。
実施の形態2.
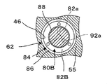
図11はこの発明の実施の形態2に係る燃料圧力調整装置の断面図、図12は図11のXII−XII矢視断面図である。
図11及び図12において、燃料圧力調整装置65Bの摺動部材80Bの弁体押圧座82Bには、連通路としての座部開口流入孔92aが、摺動部材80Bの内外を連通するように周方向に120°の等角ピッチに形成されている。このとき、座部開口流入孔92aは、弁体88と第2座面82aへの当接部における弁体押圧座82Bの径方向外方に開口面を有している。
なお、他の構成は、上記実施の形態1と同様である。
この実施の形態2の燃料圧力調整装置65Bによれば、連通路が、筒部開口流入孔81aに加え、さらに座部開口流入孔92aを備えるので、燃料を摺動部材80Bの内部に流入させるための流路が増え、燃料流路84の燃料圧力と摺動部材80Bの内部の燃料圧力との間の差が、実施の形態1よりさらに小さくなる。
従って、高圧燃料通路21内の燃料圧力と燃料溜め室15内の燃料圧力との差圧がスプリング90の付勢力より大きくなって、弁体88がバルブ口75bの塞口を解除するように変位したときに、摺動部材80Bに衝突する燃料の流れによってスプリング90が大きく揺動することが抑えられる。
つまり、高圧燃料通路21内の燃料の圧力を安定して略所定の値に調整することができる。
また、上記実施の形態2では、連通路は弁体押圧座82Bの弁体88の当接箇所の径方向外方の位置に開口し、摺動部材80Bの内外を連通する座部開口流入孔92aであるものとして説明したが、連通路は、図13、及び図14に示される第1の実施態様のように構成されていてもよい。
図13,14において、連通路は、弁体押圧座82Bに同軸に形成された流入用孔96、及び弁体押圧座82Bの弁体88の当接箇所の径方向外方の部位から流入用孔96の一端側の開口まで延在するように第2座面82aに形成された流入溝97で構成されている。
上記のように連通孔を流入用孔96、及び流入溝97で構成しても、燃料を摺動部材80Bの内部に流入させるための流路が増えるので、燃料流路84の燃料と摺動部材80Bの内部の燃料との間の差圧が、実施の形態1よりさらに小さくなる。つまり、高圧燃料通路21内の燃料圧力を安定して略所定の値に調整することができる。
実施の形態3.
図15はこの発明の実施の形態3に係る燃料圧力調整装置の断面図、図16は図15のXVI−XVI矢視断面図である。
図15及び図16において、燃料圧力調整装置65Cの摺動部材80Cは、樹脂により構成されている。樹脂としては、ナイロン、PPS(ポリフェニレンサルファイド)樹脂、及びPOM(ポリアセタール)樹脂などを用いることができる。
そして、連通路としての座部開口流入孔92bが、弁体押圧座82Cの外縁の一部を含むように開口し、筒部81Bの内外を連通するように、周方向に120°の等角ピッチで形成されている。このとき、筒部81Bに構成された座部開口流入孔92bの底面が、筒部81Bの外壁面から内壁面に向かって筒部81Bの軸方向の他端側に傾斜する傾斜壁面83により構成されている。
また、座部開口流入孔92bは、摺動部材80Cの軸方向に平行な壁面、及び摺動部材80Cの軸方向の一側から見たときに、開口内に露呈する壁面の一方、または両方の壁面のみにより構成されている。
なお、他の構成は、上記実施の形態1と同様である。
この実施の形態3によれば、筒部81Bに構成された座部開口流入孔92bの底面が、筒部81Bの外壁面から内壁面に向かって筒部81Bの軸方向の他端側に傾斜する傾斜壁面83により構成されている。
従って、燃料が、座部開口流入孔92bの開口を通過し、筒部81Bの軸方向の他端側に流れて傾斜壁面83に到達すると、流れの向きを徐々に摺動部材80Cの内側に向かう方向に向けながら摺動部材80C内に流入する。これにより、燃料が、座部開口流入孔92bを介して摺動部材80Cの内部に流れ込む際の圧力損失を低減することができるので、燃料流路84の燃料圧力と、摺動部材80Cの内部の燃料圧力との差圧を一層小さくすることができる。
従って、高圧燃料通路21内の燃料圧力と燃料溜め室15内の燃料圧力との差圧がスプリング90の付勢力より大きくなって、弁体88がバルブ口75bの塞口を解除するように変位したときに、摺動部材80Cに衝突する燃料の流れによって、摺動部材80C及びスプリング90が大きく揺動することが抑えられる。つまり、燃料圧力調整装置65Cは、高圧燃料通路21内の燃料の圧力を安定して略所定の値に調整することができる。
また、座部開口流入孔92bは、摺動部材80Cの軸方向に平行な壁面、及び摺動部材80Cの軸方向の一側から見たときに、開口内に露呈する壁面の一方、または両方の壁面のみにより構成されている。従って、摺動部材80Cを型形成する場合、筒部81Bの軸方向、かつ、相反する方向に引き抜く2面割の金型を用意すれば、摺動部材80Cを型整形できる。これに対し、例えば、燃料流入孔が、弁体押圧座82Cに開口せず、筒部81Bに直交するように形成されている場合には、当該燃料流入孔の延在方向に引き抜く金型が別途必要となる。
従って、座部開口流入孔92bを上記のように形成することにより、摺動部材80Cを形成する際の金型費用を抑制することができる。つまり、摺動部材80Cの製造単価を安くすることができる。
また、摺動部材80Cを樹脂で構成したことにより以下の効果が得られる。
例えば、ケーシング66が、金属材料として一般的なSUSなどで構成されている場合、摺動部材80Cを樹脂で構成したものは、摺動部材80CをSUSで構成したものより、ケーシング66と摺動部材80Cとの間の摺動抵抗を低減させることができる。摺動部材80Cが弁体88の変位にスムーズにケーシング66内を移動するので、高圧燃料通路21内の燃料圧力をより安定して所定の値に調整することができる。
また、摺動部材80Cを樹脂で構成したことにより、摺動部材80Cが軽量化されるので、摺動部材80Cは、弁体88の変位に即座に連動して変位する。これにより、高圧燃料通路21内の燃料圧力が急激に上がり下がりした場合でも、弁体88と摺動部材80Cが離間することが防止される。これにより、高圧燃料通路21内の燃料の圧力をさらに安定して所定値に調整することができる。
なお、この実施の形態3では、摺動部材80Cを樹脂で構成するものとして説明したが、摺動部材80CをSUSなどの金属で構成し、ケーシング66を樹脂により構成してもよい。この場合でも、摺動部材80C及びケーシング66をSUSなどの金属で構成したものより、ケーシング66と摺動部材80Cとの間の摺動抵抗を低減させることができる。
また、実施の形態1では、連通路は筒部開口流入孔81aであるものとして説明し、実施の形態2では、連通路は筒部開口流入孔81a及び座部開口流入孔92aからなるものとして説明した。しかし、座部開口流入孔92aの流路断面積が十分であれば、連通路は、座部開口流入孔92aだけで構成されているものでもよい。
この発明の実施の形態1に係る燃料圧力調整装置を有する燃料供給システムの構成図である。 この発明の実施の形態1に係る燃料圧力調整装置を有する燃料供給装置の断面図である。 図2のA部拡大図である。 図2のIV−IV矢視断面図である。 この発明の実施の形態1に係る燃料圧力調整装置を有する燃料供給装置の吸入弁体の正面図である。 この発明の実施の形態1に係る燃料圧力調整装置を有する燃料供給装置の吐出弁体の正面図である。 この発明の実施の形態1に係る燃料圧力調整装置の断面図である。 図7のC部拡大図である。 この発明の実施の形態1に係る燃料圧力調整装置を有する燃料供給装置の燃料ポンプのピストンが上死点に位置した状態を示す図である。 この発明の実施の形態1に係る燃料圧力調整装置を有する燃料供給装置の燃料ポンプのピストンが下死点に位置した状態を示す図である。 この発明の実施の形態2に係る燃料圧力調整装置の断面図である。 図11のXII−XII矢視断面図である。 この発明の第1の実施態様を示す燃料圧力調整装置の断面図である。 図13のXIV−XIV矢視断面図である。 この発明の実施の形態3に係る燃料圧力調整装置の断面図である。 図15のXVI−XVI矢視断面図である。
符号の説明
10 燃料供給装置、11 ハウジング、14 吸入ポート、14a 吸入口、15 燃料溜め室(第2燃料空間)、21 高圧燃料通路(第1燃料空間)、22 吐出ポート、22a 吐出口、62 燃圧調整孔62、65A〜65C 燃料圧力調整装置、66 ケーシング、68c 第3の孔部(第1スプリング保持孔)、72 第1スプリング座面、75 弁座、75a 第1座面、80A〜80C 摺動部材、81A,81B 筒部、81a 筒部開口流入孔(連通路)、82A〜82C 弁体押圧座、82a 第2座面、88 弁体、90 スプリング(付勢手段)、92a,92b 座部開口流入孔(連通路)、93 第2スプリング保持孔、94 第2スプリング座面。

Claims (13)

  1. 第1燃料空間と第2燃料空間とを連通する燃圧調整孔内に配設され、該第1燃料空間内の燃料圧力と該第2燃料空間内の燃料圧力との差圧が一定となるように調整する燃料圧力調整装置であって、
    上記燃圧調整孔内に、一端側を上記第1燃料空間側に向けて配設された筒状のケーシングと、
    上記ケーシングの一端側の内部に、一端を上記第1燃料空間に向けて該ケーシングに同軸に圧入された筒状の弁座と、
    弁体押圧座、及び該弁体押圧座に一端側が連結された筒部で構成され、上記弁体押圧座を上記弁座に向けて、上記ケーシングに対して軸方向に摺動可能に上記ケーシング内に配設された摺動部材と、
    上記弁座の他端に着座可能に、上記弁座と上記弁体押圧座との間に配設され、上記弁座への着座時に上記弁座の他端側の開口を塞口する弁体と、
    上記弁体を上記弁座に着座させる方向に付勢する付勢手段と、
    上記摺動部材の内外を連通する連通路と、
    上記弁座の他端側の開口から該連通路に至る燃料流路と、
    を備えることを特徴とする燃料圧力調整装置。
  2. 上記連通路は、上記弁体押圧座の上記弁体との当接箇所の径方向外方の位置に開口し、上記摺動部材の内外を連通する座部開口流入孔であることを特徴とする請求項1記載の燃料圧力調整装置。
  3. 上記座部開口流入孔は、上記摺動部材の軸方向に平行な壁面、及び上記摺動部材の軸方向の一側から見たときに、開口内に露呈する壁面の一方、または両方の壁面のみにより構成されていることを特徴とする請求項2記載の燃料圧力調整装置。
  4. 上記座部開口流入孔は、上記弁体押圧座の外縁の一部を含むように開口し、上記筒部に構成された上記座部開口流入孔の底面は、該筒部の外壁面から内壁面に向かって該筒部の軸方向の他端側に傾斜する傾斜壁面により構成されていることを特徴とする請求項2または請求項3記載の燃料圧力調整装置。
  5. 上記連通路は、上記筒部の一端側の内外を連通する筒部開口流入孔であり、
    上記燃料流路は、上記ケーシング内の上記弁座と上記摺動部材との間に形成された中継空間、及び該中継空間と上記筒部開口流入孔とを連通するように上記筒部の一端側と上記ケーシングとの間に形成された流路隙間により構成されていることを特徴とする請求項1記載の燃料圧力調整装置。
  6. 上記連通路は、上記弁体押圧座の上記弁体との当接箇所の径方向外方の位置に開口し、上記摺動部材の内外を連通する座部開口流入孔を備えることを特徴とする請求項5記載の燃料圧力調整装置。
  7. 上記連通路は、上記摺動部材の周方向に等角ピッチで形成されていることを特徴とする請求項1乃至請求項6のいずれか1項に記載の燃料圧力調整装置。
  8. 上記弁座の他端面は、該弁座の一側に向かって漸次開口径が小さくなる第1座面を有し、上記弁体押圧座の一端面は、該弁体押圧座の他端面に向かって漸次開口径が小さくなる第2座面を有し、上記第1座面及び第2座面は同軸に配置され、上記弁体は球形状に構成されて上記第1座面及び第2座面の間に配置され、
    上記弁座及び上記弁体押圧座の軸を含む断面において、該軸に対する上記第1座面の傾斜角度は、該軸に対する上記第2座面の傾斜角度より小さいことを特徴とする請求項1乃至請求項7のいずれか1項に記載の燃料圧力調整装置。
  9. 上記ケーシングは、上記摺動部材の他端側に対向して形成された所定の孔径の第1スプリング保持孔、及び該第1スプリング保持孔の壁面から径方向内方に突出する第1スプリング座面を有し、
    上記摺動部材は、上記第1スプリング保持孔の一側に同軸に配置され、かつ、該第1スプリング保持孔と同じ孔径の第2スプリング保持孔、及び該第2スプリング保持孔の壁面から径方向内方に突出する第2スプリング座面を有し、
    上記付勢手段は、上記第1スプリング保持孔及び第2スプリング保持孔の壁面に該第1スプリング保持孔及び該第2スプリング保持孔の径方向への移動が規制されて、上記第1スプリング座面と上記第2スプリング座面との間に縮設されたスプリングであることを特徴とする請求項1乃至請求項8のいずれか1項に記載の燃料圧力調整装置。
  10. 上記ケーシング及び上記摺動部材の一方が樹脂により構成され、他方が金属により構成されていることを特徴とする請求項1乃至請求項9のいずれか1項に記載の燃料圧力調整装置。
  11. 上記付勢手段、上記摺動部材、上記弁体、及び上記弁座は、上記ケーシングの一端側の開口から上記付勢手段、上記摺動部材、上記弁体、及び上記弁座の順に上記ケーシング内に挿入されて配設されていることを特徴とする請求項1乃至請求項10のいずれか1項に記載の燃料圧力調整装置。
  12. 上記弁座は、上記ケーシングの軸方向の位置を調整可能に構成されていることを特徴とする請求項1乃至請求項11のいずれか1項に記載の燃料圧力調整装置。
  13. 請求項1乃至請求項12のいずれか1項に記載の燃料圧力調整装置を備える燃料供給装置であって、
    上記燃料の吸入口を有する吸入ポート及び該燃料の吐出口を有する吐出ポートが設けられたハウジング、該ハウジング内に形成され、上記吐出ポートの上記吐出口に通ずる上記第1燃料空間、該ハウジング内に形成され、上記吸入ポートから吸入される上記燃料が流入される上記第2燃料空間、及び該第2燃料空間内の上記燃料を加圧して該第1燃料空間に吐出する燃料ポンプを有し、
    上記燃料圧力供給装置が、上記燃圧調整孔内に配設されていることを特徴とする燃料供給装置。
JP2008174440A 2008-07-03 2008-07-03 燃料圧力調整装置及びそれを備える燃料供給装置 Expired - Fee Related JP4650851B2 (ja)

Priority Applications (3)

Application Number Priority Date Filing Date Title
JP2008174440A JP4650851B2 (ja) 2008-07-03 2008-07-03 燃料圧力調整装置及びそれを備える燃料供給装置
DE200910008750 DE102009008750A1 (de) 2008-07-03 2009-02-12 Kraftstoffdruck-Einstellvorrichtung und Kraftstoffzufuhrvorrichtung, die selbige enthält
CN2009101281317A CN101619694B (zh) 2008-07-03 2009-03-05 燃料压力调整装置以及具有该调整装置的燃料供给装置

Applications Claiming Priority (1)

Application Number Priority Date Filing Date Title
JP2008174440A JP4650851B2 (ja) 2008-07-03 2008-07-03 燃料圧力調整装置及びそれを備える燃料供給装置

Publications (2)

Publication Number Publication Date
JP2010014012A true JP2010014012A (ja) 2010-01-21
JP4650851B2 JP4650851B2 (ja) 2011-03-16

Family

ID=41513074

Family Applications (1)

Application Number Title Priority Date Filing Date
JP2008174440A Expired - Fee Related JP4650851B2 (ja) 2008-07-03 2008-07-03 燃料圧力調整装置及びそれを備える燃料供給装置

Country Status (3)

Country Link
JP (1) JP4650851B2 (ja)
CN (1) CN101619694B (ja)
DE (1) DE102009008750A1 (ja)

Cited By (5)

* Cited by examiner, † Cited by third party
Publication number Priority date Publication date Assignee Title
WO2011094479A3 (en) * 2010-01-29 2012-02-02 Continental Automotive Systems, Inc Compact flow-through fuel pressure regulator
JP2012237250A (ja) * 2011-05-12 2012-12-06 Mitsubishi Electric Corp 燃料供給装置
DE102013222637A1 (de) 2013-04-23 2014-10-23 Mitsubishi Electric Corp. Kolbenpumpe
JP2015094346A (ja) * 2013-11-14 2015-05-18 株式会社ケーヒン 圧力調整弁装置
JPWO2016098482A1 (ja) * 2014-12-18 2017-07-13 日立オートモティブシステムズ株式会社 バルブ機構及びこれを備えた高圧燃料供給ポンプ

Families Citing this family (8)

* Cited by examiner, † Cited by third party
Publication number Priority date Publication date Assignee Title
EP2728163B1 (en) * 2012-10-30 2016-08-17 Delphi International Operations Luxembourg S.à r.l. Valve arrangement
JP5746393B1 (ja) 2014-04-28 2015-07-08 三菱電機株式会社 電動ポンプ
JP6311029B2 (ja) * 2014-09-29 2018-04-11 日立オートモティブシステムズ株式会社 バルブ機構、およびこのバルブ機構を吐出弁機構として備えた高圧燃料供給ポンプ
JP6384413B2 (ja) * 2015-07-03 2018-09-05 株式会社デンソー 高圧ポンプ
CN106640448A (zh) * 2016-08-30 2017-05-10 重庆万力联兴实业(集团)有限公司 燃油泵并联式低斜率压力特性压力调节装置
US10400911B2 (en) * 2017-11-30 2019-09-03 Sensata Technologies, Inc. In-line fluid pressure regulator
WO2021140829A1 (ja) * 2020-01-07 2021-07-15 日立Astemo株式会社 吐出弁機構及びそれを備えた高圧燃料供給ポンプ
CN112761834B (zh) * 2021-01-14 2022-04-15 北京理工大学 一种电控单体泵油压控制阀

Citations (3)

* Cited by examiner, † Cited by third party
Publication number Priority date Publication date Assignee Title
JPH11351096A (ja) * 1998-06-05 1999-12-21 Hitachi Ltd 燃料ポンプ
JP2001050174A (ja) * 1999-08-03 2001-02-23 Hitachi Ltd 燃料供給ポンプ
JP2005024022A (ja) * 2003-07-03 2005-01-27 Kayaba Ind Co Ltd 流体圧制御弁

Family Cites Families (2)

* Cited by examiner, † Cited by third party
Publication number Priority date Publication date Assignee Title
JPH10339231A (ja) 1997-06-06 1998-12-22 Hitachi Ltd 燃料ポンプ
FR2873757B1 (fr) 2004-07-28 2006-09-29 Snecma Moteurs Sa Tuyere convergente de turboreacteur

Patent Citations (3)

* Cited by examiner, † Cited by third party
Publication number Priority date Publication date Assignee Title
JPH11351096A (ja) * 1998-06-05 1999-12-21 Hitachi Ltd 燃料ポンプ
JP2001050174A (ja) * 1999-08-03 2001-02-23 Hitachi Ltd 燃料供給ポンプ
JP2005024022A (ja) * 2003-07-03 2005-01-27 Kayaba Ind Co Ltd 流体圧制御弁

Cited By (5)

* Cited by examiner, † Cited by third party
Publication number Priority date Publication date Assignee Title
WO2011094479A3 (en) * 2010-01-29 2012-02-02 Continental Automotive Systems, Inc Compact flow-through fuel pressure regulator
JP2012237250A (ja) * 2011-05-12 2012-12-06 Mitsubishi Electric Corp 燃料供給装置
DE102013222637A1 (de) 2013-04-23 2014-10-23 Mitsubishi Electric Corp. Kolbenpumpe
JP2015094346A (ja) * 2013-11-14 2015-05-18 株式会社ケーヒン 圧力調整弁装置
JPWO2016098482A1 (ja) * 2014-12-18 2017-07-13 日立オートモティブシステムズ株式会社 バルブ機構及びこれを備えた高圧燃料供給ポンプ

Also Published As

Publication number Publication date
JP4650851B2 (ja) 2011-03-16
CN101619694B (zh) 2011-12-28
DE102009008750A1 (de) 2010-08-19
CN101619694A (zh) 2010-01-06

Similar Documents

Publication Publication Date Title
JP4650851B2 (ja) 燃料圧力調整装置及びそれを備える燃料供給装置
US7165534B2 (en) Fuel feed system
JP4914701B2 (ja) 圧力調整弁
JP3924672B2 (ja) 船外機におけるベーパーセパレータ
CN106255823B (zh) 阀机构以及高压燃料泵
JP4296206B2 (ja) 燃料供給装置
US6681798B2 (en) Pressure regulator
JP2012097640A (ja) 燃料供給装置
CN101963116B (zh) 燃料供给装置
JP4584942B2 (ja) 高圧ポンプ用の燃料調整及び濾過装置
JP5846448B2 (ja) 気体燃料用圧力制御装置
JP2006183647A (ja) 燃料供給ポンプ
JP4175516B2 (ja) 燃料圧力調整装置
JP2017072026A (ja) 高圧燃料供給ポンプ
JP6897173B2 (ja) 高圧ポンプ
JP2010025016A (ja) 燃料供給装置
JPWO2012164650A1 (ja) プレッシャレギュレータ
JP5164573B2 (ja) 燃料供給装置
JP5323659B2 (ja) 圧力調整弁
JP2009174338A (ja) 燃料圧力調整器およびそれを用いた燃料供給装置
JP2007138903A (ja) 燃料供給圧力調整装置
JP4831077B2 (ja) 燃料圧力調整器およびそれを用いた燃料供給装置
JP2008157277A (ja) ピストン弁
KR100852868B1 (ko) 압력 조절기
JP2014229265A (ja) 圧力調整弁

Legal Events

Date Code Title Description
A977 Report on retrieval

Free format text: JAPANESE INTERMEDIATE CODE: A971007

Effective date: 20100416

A131 Notification of reasons for refusal

Free format text: JAPANESE INTERMEDIATE CODE: A131

Effective date: 20100427

A521 Request for written amendment filed

Free format text: JAPANESE INTERMEDIATE CODE: A523

Effective date: 20100625

A131 Notification of reasons for refusal

Free format text: JAPANESE INTERMEDIATE CODE: A131

Effective date: 20100817

A521 Request for written amendment filed

Free format text: JAPANESE INTERMEDIATE CODE: A523

Effective date: 20101004

TRDD Decision of grant or rejection written
A01 Written decision to grant a patent or to grant a registration (utility model)

Free format text: JAPANESE INTERMEDIATE CODE: A01

Effective date: 20101109

A01 Written decision to grant a patent or to grant a registration (utility model)

Free format text: JAPANESE INTERMEDIATE CODE: A01

A61 First payment of annual fees (during grant procedure)

Free format text: JAPANESE INTERMEDIATE CODE: A61

Effective date: 20101207

R150 Certificate of patent or registration of utility model

Free format text: JAPANESE INTERMEDIATE CODE: R150

Ref document number: 4650851

Country of ref document: JP

Free format text: JAPANESE INTERMEDIATE CODE: R150

FPAY Renewal fee payment (event date is renewal date of database)

Free format text: PAYMENT UNTIL: 20131224

Year of fee payment: 3

R250 Receipt of annual fees

Free format text: JAPANESE INTERMEDIATE CODE: R250

R250 Receipt of annual fees

Free format text: JAPANESE INTERMEDIATE CODE: R250

R250 Receipt of annual fees

Free format text: JAPANESE INTERMEDIATE CODE: R250

R250 Receipt of annual fees

Free format text: JAPANESE INTERMEDIATE CODE: R250

R250 Receipt of annual fees

Free format text: JAPANESE INTERMEDIATE CODE: R250

R250 Receipt of annual fees

Free format text: JAPANESE INTERMEDIATE CODE: R250

R250 Receipt of annual fees

Free format text: JAPANESE INTERMEDIATE CODE: R250

R250 Receipt of annual fees

Free format text: JAPANESE INTERMEDIATE CODE: R250

LAPS Cancellation because of no payment of annual fees