JP2010010657A - 化合物半導体発光素子およびそれを用いる照明装置ならびに化合物半導体発光素子の製造方法 - Google Patents

化合物半導体発光素子およびそれを用いる照明装置ならびに化合物半導体発光素子の製造方法 Download PDF

Info

Publication number
JP2010010657A
JP2010010657A JP2009060868A JP2009060868A JP2010010657A JP 2010010657 A JP2010010657 A JP 2010010657A JP 2009060868 A JP2009060868 A JP 2009060868A JP 2009060868 A JP2009060868 A JP 2009060868A JP 2010010657 A JP2010010657 A JP 2010010657A
Authority
JP
Japan
Prior art keywords
region
substrate
compound semiconductor
columnar crystal
layer
Prior art date
Legal status (The legal status is an assumption and is not a legal conclusion. Google has not performed a legal analysis and makes no representation as to the accuracy of the status listed.)
Granted
Application number
JP2009060868A
Other languages
English (en)
Other versions
JP5227224B2 (ja
Inventor
Armitage Robert
ロバート・アーミテイジ
Current Assignee (The listed assignees may be inaccurate. Google has not performed a legal analysis and makes no representation or warranty as to the accuracy of the list.)
Panasonic Electric Works Co Ltd
Original Assignee
Panasonic Electric Works Co Ltd
Priority date (The priority date is an assumption and is not a legal conclusion. Google has not performed a legal analysis and makes no representation as to the accuracy of the date listed.)
Filing date
Publication date
Application filed by Panasonic Electric Works Co Ltd filed Critical Panasonic Electric Works Co Ltd
Priority to JP2009060868A priority Critical patent/JP5227224B2/ja
Publication of JP2010010657A publication Critical patent/JP2010010657A/ja
Application granted granted Critical
Publication of JP5227224B2 publication Critical patent/JP5227224B2/ja
Expired - Fee Related legal-status Critical Current
Anticipated expiration legal-status Critical

Links

Images

Classifications

    • HELECTRICITY
    • H10SEMICONDUCTOR DEVICES; ELECTRIC SOLID-STATE DEVICES NOT OTHERWISE PROVIDED FOR
    • H10HINORGANIC LIGHT-EMITTING SEMICONDUCTOR DEVICES HAVING POTENTIAL BARRIERS
    • H10H20/00Individual inorganic light-emitting semiconductor devices having potential barriers, e.g. light-emitting diodes [LED]
    • H10H20/80Constructional details
    • H10H20/81Bodies
    • H10H20/819Bodies characterised by their shape, e.g. curved or truncated substrates
    • HELECTRICITY
    • H01ELECTRIC ELEMENTS
    • H01LSEMICONDUCTOR DEVICES NOT COVERED BY CLASS H10
    • H01L21/00Processes or apparatus adapted for the manufacture or treatment of semiconductor or solid state devices or of parts thereof
    • H01L21/02Manufacture or treatment of semiconductor devices or of parts thereof
    • H01L21/02104Forming layers
    • H01L21/02365Forming inorganic semiconducting materials on a substrate
    • H01L21/02367Substrates
    • H01L21/0237Materials
    • H01L21/02373Group 14 semiconducting materials
    • H01L21/02381Silicon, silicon germanium, germanium
    • HELECTRICITY
    • H01ELECTRIC ELEMENTS
    • H01LSEMICONDUCTOR DEVICES NOT COVERED BY CLASS H10
    • H01L21/00Processes or apparatus adapted for the manufacture or treatment of semiconductor or solid state devices or of parts thereof
    • H01L21/02Manufacture or treatment of semiconductor devices or of parts thereof
    • H01L21/02104Forming layers
    • H01L21/02365Forming inorganic semiconducting materials on a substrate
    • H01L21/02436Intermediate layers between substrates and deposited layers
    • H01L21/02439Materials
    • H01L21/02455Group 13/15 materials
    • H01L21/02458Nitrides
    • HELECTRICITY
    • H01ELECTRIC ELEMENTS
    • H01LSEMICONDUCTOR DEVICES NOT COVERED BY CLASS H10
    • H01L21/00Processes or apparatus adapted for the manufacture or treatment of semiconductor or solid state devices or of parts thereof
    • H01L21/02Manufacture or treatment of semiconductor devices or of parts thereof
    • H01L21/02104Forming layers
    • H01L21/02365Forming inorganic semiconducting materials on a substrate
    • H01L21/02518Deposited layers
    • H01L21/02521Materials
    • H01L21/02538Group 13/15 materials
    • H01L21/0254Nitrides
    • HELECTRICITY
    • H01ELECTRIC ELEMENTS
    • H01LSEMICONDUCTOR DEVICES NOT COVERED BY CLASS H10
    • H01L21/00Processes or apparatus adapted for the manufacture or treatment of semiconductor or solid state devices or of parts thereof
    • H01L21/02Manufacture or treatment of semiconductor devices or of parts thereof
    • H01L21/02104Forming layers
    • H01L21/02365Forming inorganic semiconducting materials on a substrate
    • H01L21/02518Deposited layers
    • H01L21/0257Doping during depositing
    • H01L21/02573Conductivity type
    • H01L21/02576N-type
    • HELECTRICITY
    • H01ELECTRIC ELEMENTS
    • H01LSEMICONDUCTOR DEVICES NOT COVERED BY CLASS H10
    • H01L21/00Processes or apparatus adapted for the manufacture or treatment of semiconductor or solid state devices or of parts thereof
    • H01L21/02Manufacture or treatment of semiconductor devices or of parts thereof
    • H01L21/02104Forming layers
    • H01L21/02365Forming inorganic semiconducting materials on a substrate
    • H01L21/02518Deposited layers
    • H01L21/0257Doping during depositing
    • H01L21/02573Conductivity type
    • H01L21/02579P-type
    • HELECTRICITY
    • H01ELECTRIC ELEMENTS
    • H01LSEMICONDUCTOR DEVICES NOT COVERED BY CLASS H10
    • H01L21/00Processes or apparatus adapted for the manufacture or treatment of semiconductor or solid state devices or of parts thereof
    • H01L21/02Manufacture or treatment of semiconductor devices or of parts thereof
    • H01L21/02104Forming layers
    • H01L21/02365Forming inorganic semiconducting materials on a substrate
    • H01L21/02518Deposited layers
    • H01L21/02587Structure
    • H01L21/0259Microstructure
    • H01L21/02603Nanowires
    • HELECTRICITY
    • H01ELECTRIC ELEMENTS
    • H01LSEMICONDUCTOR DEVICES NOT COVERED BY CLASS H10
    • H01L21/00Processes or apparatus adapted for the manufacture or treatment of semiconductor or solid state devices or of parts thereof
    • H01L21/02Manufacture or treatment of semiconductor devices or of parts thereof
    • H01L21/02104Forming layers
    • H01L21/02365Forming inorganic semiconducting materials on a substrate
    • H01L21/02612Formation types
    • H01L21/02617Deposition types
    • H01L21/0262Reduction or decomposition of gaseous compounds, e.g. CVD
    • HELECTRICITY
    • H01ELECTRIC ELEMENTS
    • H01LSEMICONDUCTOR DEVICES NOT COVERED BY CLASS H10
    • H01L21/00Processes or apparatus adapted for the manufacture or treatment of semiconductor or solid state devices or of parts thereof
    • H01L21/02Manufacture or treatment of semiconductor devices or of parts thereof
    • H01L21/02104Forming layers
    • H01L21/02365Forming inorganic semiconducting materials on a substrate
    • H01L21/02612Formation types
    • H01L21/02617Deposition types
    • H01L21/02636Selective deposition, e.g. simultaneous growth of mono- and non-monocrystalline semiconductor materials
    • H01L21/02639Preparation of substrate for selective deposition
    • HELECTRICITY
    • H01ELECTRIC ELEMENTS
    • H01LSEMICONDUCTOR DEVICES NOT COVERED BY CLASS H10
    • H01L21/00Processes or apparatus adapted for the manufacture or treatment of semiconductor or solid state devices or of parts thereof
    • H01L21/02Manufacture or treatment of semiconductor devices or of parts thereof
    • H01L21/02104Forming layers
    • H01L21/02365Forming inorganic semiconducting materials on a substrate
    • H01L21/02612Formation types
    • H01L21/02617Deposition types
    • H01L21/02636Selective deposition, e.g. simultaneous growth of mono- and non-monocrystalline semiconductor materials
    • H01L21/02647Lateral overgrowth
    • H01L21/0265Pendeoepitaxy
    • BPERFORMING OPERATIONS; TRANSPORTING
    • B82NANOTECHNOLOGY
    • B82YSPECIFIC USES OR APPLICATIONS OF NANOSTRUCTURES; MEASUREMENT OR ANALYSIS OF NANOSTRUCTURES; MANUFACTURE OR TREATMENT OF NANOSTRUCTURES
    • B82Y20/00Nanooptics, e.g. quantum optics or photonic crystals
    • HELECTRICITY
    • H10SEMICONDUCTOR DEVICES; ELECTRIC SOLID-STATE DEVICES NOT OTHERWISE PROVIDED FOR
    • H10HINORGANIC LIGHT-EMITTING SEMICONDUCTOR DEVICES HAVING POTENTIAL BARRIERS
    • H10H20/00Individual inorganic light-emitting semiconductor devices having potential barriers, e.g. light-emitting diodes [LED]
    • H10H20/80Constructional details
    • H10H20/81Bodies
    • H10H20/813Bodies having a plurality of light-emitting regions, e.g. multi-junction LEDs or light-emitting devices having photoluminescent regions within the bodies
    • HELECTRICITY
    • H10SEMICONDUCTOR DEVICES; ELECTRIC SOLID-STATE DEVICES NOT OTHERWISE PROVIDED FOR
    • H10HINORGANIC LIGHT-EMITTING SEMICONDUCTOR DEVICES HAVING POTENTIAL BARRIERS
    • H10H20/00Individual inorganic light-emitting semiconductor devices having potential barriers, e.g. light-emitting diodes [LED]
    • H10H20/80Constructional details
    • H10H20/81Bodies
    • H10H20/817Bodies characterised by the crystal structures or orientations, e.g. polycrystalline, amorphous or porous
    • H10H20/818Bodies characterised by the crystal structures or orientations, e.g. polycrystalline, amorphous or porous within the light-emitting regions

Landscapes

  • Engineering & Computer Science (AREA)
  • Microelectronics & Electronic Packaging (AREA)
  • Condensed Matter Physics & Semiconductors (AREA)
  • General Physics & Mathematics (AREA)
  • Manufacturing & Machinery (AREA)
  • Computer Hardware Design (AREA)
  • Physics & Mathematics (AREA)
  • Power Engineering (AREA)
  • Chemical & Material Sciences (AREA)
  • Materials Engineering (AREA)
  • Nanotechnology (AREA)
  • Crystallography & Structural Chemistry (AREA)
  • Led Devices (AREA)
  • Physical Vapour Deposition (AREA)
  • Physical Deposition Of Substances That Are Components Of Semiconductor Devices (AREA)

Abstract

【課題】ナノコラムを複数有して成る化合物半導体発光素子において、蛍光体を用いることなく、高い発光効率で、色味を高精度に調整可能とする。
【解決手段】Si基板4の一部領域にトレンチ11を形成し、そのトレンチ11内にさらにナノコラム2の化合物種結晶膜であるAlN層12を形成した後にナノコラム2を成長させることで、前記AlN層12の有る領域は、それが無い壁13上の領域に比べて、成長が速く、所定の時間成長させると、前記トレンチ11と壁13との段差を吸収して、p型層14の表面が略同じ高さとなる。これによって、同一基板でかつ単一の成長工程で簡単に、したがって低コストに、白色光などの所望の色味を実現できる。また、蛍光体を用いずに所望の色味を実現できるので、高い信頼性および長寿命化を図ることができるとともに、トレンチ11の面積を任意に調整し、色味を細かく高精度に調整できる。
【選択図】図1

Description

本発明は、化合物半導体内で電子と正孔とを結合させて発光させる化合物半導体発光素子およびそれを用いる照明装置ならびに化合物半導体発光素子の製造方法に関し、特に前記化合物半導体発光素子としては、ナノコラムやナノロッドと称される柱状結晶構造体を複数有して成るものに関する。
近年、窒化物半導体(以下、ナイトライドと呼ぶ。)を用いて、その中に発光層を形成し、外部から電流を注入して、この発光層内で電子と正孔とを結合させて発光させる発光素子の発展が目覚しい。また、上記発光素子から放出される光の一部で蛍光体を励起し、蛍光体で生じた光と発光素子からの光との混合で得られる白色光を光源として、照明装置へ応用することが注目されている。しかしながら、未だ高効率の要求を満たすものは得られていない。その理由として、特に蛍光体を用いて白色光を得る過程に注目すると、効率を低下させる要因が主に2つ存在するためである。
先ず第1は、波長変換することでエネルギーの一部が失われる(ストークスロス)ことである。詳しくは、発光素子から放出され、蛍光体に吸収された励起光は、発光素子から生じた光が持つエネルギーより低いエネルギーの光に波長変換され、再び外部に放出される。その時、発光素子からの励起光と蛍光体からの放出光とのそれぞれが持つエネルギーの差分だけ損失が生じ、効率を低下させることとなるからである。
第2は、蛍光体での非発光再結合による効率低下(蛍光体の内部量子効率の低下)である。詳しくは、蛍光体内に存在する結晶欠陥は、非発光再結合中心として機能し、励起光によって蛍光体内に生成されたキャリアの一部が、発光に寄与せず、前記結晶欠陥で捕獲されてしまい、蛍光体の発光効率を低下させることとなるからである。
したがって、蛍光体を用いて上述のような2段階を経ることで白色光を得る場合、著しく効率が低下することになり、発光素子の高効率化を阻んでいる。以上の説明は、本願出願人が先に提案した特許文献1の引用である。それに加えて、前記蛍光体を用いると、硫化物系、ケイ酸塩系およびハロケイ酸塩系蛍光体は、湿度による加水分解(水和反応)が生じるとともに、紫外光などの励起光によって急速に劣化するので、信頼性が低く、寿命が短いという問題がある。また、蛍光体を用いると、演色性や色味に欠けるという問題もある。すなわち、高演色の白色発光を実現する場合、現状では赤色蛍光体の発光が弱く、演色性と発光効率とはトレードオフの関係にある。一方、紫外発光半導体で、RGBの3色の蛍光体を励起する方法では、現在高効率の蛍光体は得られていない。
したがって、現在の技術では、高演色かつ信頼性の高い白色LEDを実現するためには、RGBの3色のチップを用いる方法しかないが、色ばらつきが生じない光学系の設計が困難であるとか、コストの点で一般照明レベルまでこの技術を適用するのは困難であるといった問題がある。
そこで、本願出願人は、上述のような技術的課題に対して、蛍光体を用いることなく、かつ前記柱状結晶構造体を用いることで、1チップで、白色などの多色発光を可能にした化合物半導体発光素子を提案している。具体的には、基板上に、前記柱状結晶構造体の通常の成長温度よりも低い温度で、結晶成長の核を成長させ、時間をかけて通常の成長温度まで上昇させることで前記核にばらつきを持たせる。その後、通常通り柱状結晶構造体を成長させることで、発光層の膜厚や組成もばらつかせ、各柱状結晶構造体を異なる波長で発光させている。なお、前記柱状結晶構造体の成長に関しては、特許文献2などに記載されている。
特開2007−123398号公報 特開2005−228936号公報
前記特許文献1に記載の手法は、同一基板でかつ単一の成長工程で簡単に、したがって低コストに、多色発光を可能にした固体光源を実現する優れた手法である。しかしながら、成長のばらつきを用いて多色発光を可能にしているので、照明用途など、個体光源の発光色を所望の色味に合わせ込む際の精度が低いという問題がある。
本発明の目的は、低コストで所望の色味を実現することができるとともに、色味の調整精度を向上させることが容易な化合物半導体発光素子およびそれを用いる照明装置ならびに化合物半導体発光素子の製造方法を提供することである。
本発明に係る化合物半導体発光素子は、基板と、前記基板の一方の面に設けられた第1電極と、前記基板における他方の面上にn型半導体層と発光層とp型半導体層とが順に積層されたナノスケールの複数の柱状結晶構造体と、前記複数の柱状結晶構造体の頂部に接続された第2電極と、前記基板の一部の領域である第1領域における前記他方の面側に設けられ、前記柱状結晶構造体の成長を制御する下地層とを備え、前記基板における前記第1領域を除く残余の領域の少なくとも一部である第2領域と当該第1領域とには、前記他方の面において段差が設けられている。
上記の構成によれば、導電性基板或いは絶縁性の基板上に導電性のバッファ層を備えるなどして、一方の面に第1電極が形成された基板上に、n型半導体層と発光層とp型半導体層とが順に積層して成り、ナノコラムやナノロッドなどと称されるナノスケールの柱状結晶構造体が複数形成され、この柱状結晶構造体の頂部に第2電極が接続されている。また、第1領域には柱状結晶構造体の成長を制御する下地層が設けられているので、第1領域と第2領域とで柱状結晶構造体の成長速度を変えることができる。
そして、下地層によって第1領域と第2領域とで柱状結晶構造体の成長速度を変えることによって、第1領域と第2領域との間には段差を吸収して柱状結晶構造体を略同じ高さに成長させることができる。そうすると、第1領域に形成された柱状結晶構造体と第2領域に形成された柱状結晶構造体とは、段差の分だけ長さが異なり、長さと太さ(径)の比が異なるため、発光する光の波長が異なる。すなわちアスペクト比が異なり、放射する光のスペクトルの最大強度を示す波長が異なる柱状結晶構造体を少なくとも2種類以上形成することができる。
この場合、蛍光体や複数のチップを用いることなく多色発光させることができるので、低コストで所望の色味を実現することができる。また、蛍光体を用いないので、信頼性を向上したり長寿命化を図ったりすることが容易である。また、成長ばらつきに頼ることなく、第1領域と第2領域との段差及び下地層の条件を設定することにより、各領域の柱状結晶構造体を複数の色に対応する所望の長さに設定することができるので、色味の調整精度を向上させることが容易である。さらに第1領域と第2領域との面積比率を変えることで色味を変化させることができるので、色味の調整の自由度が増大し、ユーザーニーズに合わせて色味を調整することが容易である。
また、前記第2領域の前記他方の面には、前記第1領域の下地層とは条件の異なる下地層が形成されていることが好ましい。
この構成によれば、第1領域の下地層と第2領域の下地層とで、個別に条件を設定することにより、第1及び第2領域における柱状結晶構造体の成長速度の差を、微調整することが容易となる結果、第1及び第2領域における柱状結晶構造体の長さの調整、すなわち発光色の色味の微調整が容易となる。
また、前記第1領域の下地層と前記第2領域の下地層とは、層の厚さ、及び材料のうち少なくとも一つが互いに異なる条件にされていることが好ましい。
第1領域の下地層と第2領域の下地層とにおいて、層の厚さ、及び材料のうち少なくとも一つを互いに異なる条件に設定することで、第1及び第2領域における柱状結晶構造体の成長速度を異ならせることができる。
また、前記下地層は、複数の島に分離されて形成され、前記第1領域の下地層を構成する島の大きさと、前記第2領域の下地層を構成する島の大きさとが互いに異なる条件にされているようにしてもよい。
この構成によれば、下地層の島の大きさに応じて柱状結晶構造体の太さ(径)が変化するので、第1領域の柱状結晶構造体と第2領域の柱状結晶構造体とで径を変えて、長さと径の比を異ならせることで、複数の波長の光を発光させることができる。
また、前記第1及び第2領域において設けられた柱状結晶構造体が放射する光のスペクトルの最大強度を示す波長は、CIE色度図における白色領域と交差する直線の両端に位置する色の波長となるように、前記第1及び第2領域において設けられた各柱状結晶構造体の長さと太さとの比がそれぞれ設定されていることが好ましい。
この構成によれば、1素子で略白色の光を出力することが可能となる。
また、前記基板には、前記第1及び第2領域を除く残余の領域の少なくとも一部であり、前記基板の前記他方の面において、前記第1及び第2領域と段差を有する第3領域が設けられ、前記第3領域における前記他方の面には、前記柱状結晶構造体の成長を制御する下地層が設けられ、前記第1、第2、及び第3領域において設けられた各柱状結晶構造体が放射する光のスペクトルの最大強度を示す波長は、CIE色度図における白色領域を包囲する三角形の頂点に位置する色の波長となるように、前記第1、第2、及び第3領域における各柱状結晶構造体の長さと太さとの比がそれぞれ設定されているようにしてもよい。
この構成によれば、1素子で、さらに白色に近い光を出力することが可能となる。
また、前記下地層は、化合物種結晶膜であることが好ましい。
この構成によれば、Ga,N,In,Alなどの化合物半導体材料やMg,Siなどの添加物材料に対して、AlNなどの化合物種結晶膜を下地層として用いることで、柱状結晶構造体の成長を促進することができる。
また、前記下地層は、カタリスト材料膜としてもよい。
この構成によれば、Ga,N,In,Alなどの化合物半導体材料やMg,Siなどの添加物材料に対して、これらの材料を溶解して取込み、かつ自身とは合成物を作らないNi,Cu,Fe,Auなどのカタリスト(触媒)材料膜を下地層として用いることで、柱状結晶構造体の成長を促進することができる。
また、前記第1領域は、複数、互いに間隔を空けて帯状に設けられ、前記間隔となる領域が、前記第2領域として用いられ、前記第1電極は、前記複数の第1領域に一括して電圧を供給するための第1領域用電極と、当該第1領域用電極とは分離され、前記第2領域に電圧を供給するための第2領域用電極とを含むことが好ましい。
この構成によれば、第1領域用電極と第2領域用電極とを用いることで、第1領域に形成された柱状結晶構造体と、第2領域に形成された柱状結晶構造体とに異なる電圧を供給することができるので、それぞれの領域の柱状結晶構造体に、その発光波長に適応した電圧を印加することができる。また、各電極に流す電流を変えることで、各スペクトルの強度を調整し、色味を調整(1チップ多色発光)することもできる。
また、前記第1領域用電極は、前記基板の前記一方の面に櫛形に形成され、当該櫛形における櫛の歯が前記帯状の第1領域に沿うように配設されて接続され、前記第2領域用電極は、前記基板の前記一方の面に櫛形に形成され、前記第1領域用電極と互いに櫛の歯がかみ合うように対向配置されて前記第2領域に接続されていることが好ましい。
この構成によれば、複数の第1領域に一括して電圧を供給するための第1領域用電極と、当該第1領域用電極とは分離され、前記第2領域に電圧を供給するための第2領域用電極とを形成することが容易である。
また、前記第1領域と前記第2領域との境界部に、絶縁領域を有することが好ましい。
上記の構成によれば、第1領域と第2領域との境界部を絶縁領域とすることで、各領域から他の領域へリークする電流を減少させることができる。その結果、1チップでの多色発光の制御が容易になる。
また、本発明に係る照明装置は、上述の化合物半導体発光素子を用いる。
上記の構成によれば、単一種類の化合物半導体発光素子を用いても、白色光などの所望の色味を高精度に実現する照明装置を得ることができる。
また、本発明に係る化合物半導体発光素子の製造方法は、基板の一方の面に第1電極を設ける工程と、前記基板の一部の領域である第1領域における他方の面側に、凹所を形成することで、前記第1領域を除く残余の領域の少なくとも一部である第2領域と当該第1領域との間に段差を形成する工程と、前記凹所の底部に柱状結晶構造体の成長を制御する下地層を形成する工程と、前記凹所の底部、及び前記第2領域における前記他方の面上に、n型半導体層と発光層とp型半導体層とを順に積層してナノスケールの柱状結晶構造体を複数、前記凹所の底部と前記第2領域における前記他方の面上とで略同じ高さになるまで成長させる工程と、前記複数の柱状結晶構造体の頂部に接続される第2電極を形成する工程とを含む。
この方法によれば、上述の化合物半導体発光素子を形成することが容易である。また、同一基板でかつ単一の成長工程で、したがって低コストで所望の色味を実現する固体光源を実現することができる。
また、前記凹所を形成した後、該凹所の底部の外周部分が開口されたマスクを形成する工程と、前記開口部分から前記第1領域にイオン注入することによって、SiOによる絶縁層を形成する工程と、前記マスクを除去する工程とをさらに含むことが好ましい。
この構成によれば、第1領域と第2領域との境界部を絶縁領域とすることが容易である。
また、前記複数の柱状結晶構造体の成長後に、後処理によって、選択的に、当該各柱状結晶構造体の有効径を細くする工程をさらに含むことが好ましい。
上記の構成によれば、各柱状結晶構造体の長さと太さとの比を後処理で変化させることができるので、さらに色味を調整することができる。
本発明の一局面に従う化合物半導体発光素子は、基板と、前記基板の一方の面に設けられた第1電極と、前記基板における他方の面上にn型半導体層と発光層とp型半導体層とが順に積層されたナノスケールの複数の柱状結晶構造体と、前記複数の柱状結晶構造体の頂部に接続された第2電極と、前記基板の一部の領域である第1領域における前記他方の面側に設けられ、前記柱状結晶構造体の成長を制御する下地層とを備え、前記基板における前記第1領域を除く残余の領域の少なくとも一部である第2領域と当該第1領域とには、前記他方の面において段差が設けられている。
上記の構成によれば、導電性基板或いは絶縁性の基板上に導電性のバッファ層を備えるなどして、一方の面に第1電極が形成された基板上に、n型半導体層と発光層とp型半導体層とが順に積層して成り、ナノコラムやナノロッドなどと称されるナノスケールの柱状結晶構造体が複数形成され、この柱状結晶構造体の頂部に第2電極が接続されている。また、第1領域には柱状結晶構造体の成長を制御する下地層が設けられているので、第1領域と第2領域とで柱状結晶構造体の成長速度を変えることができる。
そして、下地層によって第1領域と第2領域とで柱状結晶構造体の成長速度を変えることによって、第1領域と第2領域との間には段差を吸収して柱状結晶構造体を略同じ高さに成長させることができる。そうすると、第1領域に形成された柱状結晶構造体と第2領域に形成された柱状結晶構造体とは、段差の分だけ長さが異なり、長さと太さ(径)の比が異なるため、発光する光の波長が異なる。すなわちアスペクト比が異なり、放射する光のスペクトルの最大強度を示す波長が異なる柱状結晶構造体を少なくとも2種類以上形成することができる。
この場合、蛍光体や複数のチップを用いることなく多色発光させることができるので、低コストで所望の色味を実現することができる。また、蛍光体を用いないので、信頼性を向上したり長寿命化を図ることが容易である。また、成長ばらつきに頼ることなく第1領域と第2領域との段差、及び下地層の条件を設定することにより、各領域の柱状結晶構造体を複数の色に対応する所望の長さに設定することができるので、色味の調整精度を向上させることが容易である。さらに第1領域と第2領域との面積比率を変えることで色味を変化させることができるので、色味の調整の自由度が増大し、ユーザーニーズに合わせて色味を調整することが容易である。
また、本発明の一局面に従う照明装置は、上述の化合物半導体発光素子を用いる。
上記の構成によれば、単一種類の化合物半導体発光素子を用いても、白色光などの所望の色味を高精度に実現する照明装置を得ることができる。
また、本発明の一局面に従う化合物半導体発光素子の製造方法は、基板の一方の面に第1電極を設ける工程と、前記基板の一部の領域である第1領域における他方の面側に、凹所を形成することで、前記第1領域を除く残余の領域の少なくとも一部である第2領域と当該第1領域との間に段差を形成する工程と、前記凹所の底部に柱状結晶構造体の成長を制御する下地層を形成する工程と、前記凹所の底部、及び前記第2領域における前記他方の面上に、n型半導体層と発光層とp型半導体層とを順に積層してナノスケールの柱状結晶構造体を複数、前記凹所の底部と前記第2領域における前記他方の面上とで略同じ高さになるまで成長させる工程と、前記複数の柱状結晶構造体の頂部に接続される第2電極を形成する工程とを含む。
この方法によれば、上述の化合物半導体発光素子を形成することが容易である。また、同一基板でかつ単一の成長工程で、したがって低コストで所望の色味を実現する固体光源を実現することができる。
本発明の第1の実施形態に係る化合物半導体発光素子である発光ダイオードの構造を模式的に示す断面図である。 図1で示す発光ダイオードの具体的な製造工程を説明するための図である。 本願発明者の実験結果を示すナノコラムの高さの違いに対するピーク波長の違いを示すグラフである。 本発明の第2の実施形態に係る化合物半導体発光素子である発光ダイオードの構造を模式的に示す断面図である。 図4で示す発光ダイオードの底面図である。 図4および図5で示す発光ダイオードの具体的な製造工程を説明するための図である。 本発明の第3の実施形態に係る化合物半導体発光素子である発光ダイオードの製造工程を説明するための図である。 本発明の第4の実施形態に係る化合物半導体発光素子である発光ダイオードの製造工程を説明するための図である。 本発明の第5の実施形態に係る化合物半導体発光素子である発光ダイオードの製造工程を説明するための図である。
[実施の形態1]
図1は、本発明の第1の実施形態に係る化合物半導体発光素子である発光ダイオード1の構造を模式的に示す断面図である。本実施の形態では、ナノコラム2の材料としてGaNを例にとるが、これに限定されるものではなく、酸化物、窒化物、酸窒化物などを含む化合物半導体総てを対象とすることができる。また、ナノコラム2の成長は、分子線エピタキシー(MBE)装置によって行うことを前提としているが、有機金属気相成長(MOCVD)装置やハイドライド気相成長(HVPE)装置等を用いても、ナノコラム2が作成可能であることは公知である。以下、特に断らない限り、MBE装置を用いるものとする。
この発光ダイオード1は、Si基板4の、一方の表面(図1におけるSi基板4の底面)にn型電極3(第1電極)が形成され、他方の表面(図1におけるSi基板4の上面)に、垂直方向に延びるようにナノコラム2が複数形成されている。ナノコラム2は、ナノサイズの太さを有する柱状結晶構造体であり、Si基板4側からn型半導体層5と発光層6とp型半導体層7とが順に積層されて構成されている。そして、複数のナノコラム2群の頂部(p型半導体層7)が透明電極8で覆われ、さらに透明電極8の表面上にp型電極9(第2電極)が形成されて、GaNナノコラムLEDとして発光ダイオード1が構成されている。注目すべきは、本実施の形態では、前記Si基板4上の一部の領域に、凹所であるトレンチ11を形成し、さらにそのトレンチ11内に、ナノコラム2の成長を制御(促進)する下地層であるAlN層12を形成することである。
図2は、上述のような発光ダイオード1の具体的な製造工程を説明するための図である。先ず、面方位(111)のn型の前記Si基板4上に、RIE(Reactive Ion Etching)装置によって、図2(a)で示すように複数のトレンチ11を形成する。各トレンチ11の形状は、たとえば幅W1=20μm、壁13の厚さ、すなわちトレンチ間距離W2=40μm、深さH=300nmの帯状(溝)である。ただし、前述の図1およびこの図2ならびに以降の図でも、紙面の関係で、このスケールとは異なっている。
前記トレンチ11を形成したSi基板4の表面に、フォトレジストでパターンを形成し、各トレンチ11内のフォトレジストを除去する。そしてEB(電子ビーム)蒸着装置によって全面にAlを10nm蒸着し、フォトリソグラフィおよびRIE装置を用いたエッチングによって、図2(b)で示すように、トレンチ11外のAlを除去する。その後MBE装置内で、800℃程度で窒化することで、前記Alを前記AlN層12とする。或いは、Si基板4をMBE装置に入れ、温度400℃でAl分子線とNプラズマ源とによってAl原子およびNラジカルをSi基板4上に照射し、該Si基板4全面にAlN薄膜を10nm形成する。その後、AlN薄膜が形成されたSi基板4をMBE装置から取出し、各トレンチ11内にAlN薄膜を残すことで、前記AlN層12を形成することができる。
その後、前記MBE装置によって図2(c)で示すように、Si基板4の、トレンチ11が形成されている側の表面、すなわちトレンチ11内のAlN薄膜表面上、及び壁13の表面上に、基板と垂直方向に延びるようにナノコラム2を成長させる。詳しくは、真空度は2e−5torr、基板温度は750℃、プラズマ出力は450Wで、キャリアガスとして水素ガス(H)、Ga原料にはトリメチルガリウム(Ga(CH)、窒素原料にはアンモニア(NH)を供給する。さらに、n型伝導性を有するSiを不純物として添加するために、シラン(SiH)を供給する。Gaフラックスを3.4nm/minの流量で供給すると、前記n型半導体層5が、前記AlN層11上では壁13上の2倍以上の速度で柱状に成長し、1時間成長させることで、AlN層11上に形成されるn型半導体層5と壁13上に形成されるn型半導体層5との高さが略同一となる。
続いて、基板温度を650℃に下げ、不純物ガスを前記シラン(SiH)からIn原料となるトリメチルインジウム(In(CH)に変更し、そのInフラックスの流量を10nm/minとすることによって、n型半導体層5の上に、InGaN量子井戸から成る前記発光層6を成長させる。成長時間は1分間である。Gaフラックスの流量やプラズマ出力は、n型半導体層5の成長時と同じである。ここで重要なのは、InフラックスのレートはGaフラックスのそれよりはるかに大きく、かつGaフラックスのレートはNフラックスのレートより小さいことである。前記発光層6は、InGaN/GaN多重量子井戸構造に形成されてもよい。また、前記n型半導体層5内に、適宜反射膜が形成されてもよい。
さらに、基板温度を750℃に上げ、不純物ガスを前記トリメチルインジウム(In(CH)からp型伝導性を有するMgを含有するシクロペンタジエニルマグネシウム(Mg(C)に変更し、そのMgフラックスの流量を1nm/min、前記Gaフラックスの流量は5nm/minとすることによって、発光層6の上に前記p型半導体層7を成長させる。成長時間は4分間、プラズマ出力は、ナノコラム2の成長を通して、前記450Wで同じである。このp型半導体層7の成長時には、アンモニア(NH)の流量、キャリアガスHの流量、もしくは成長温度を徐々に変えてゆくことで、ナノコラム2の径を徐々に増加させることにより、各ナノコラム2のp型半導体層7を合体させて、プレーナータイプのp型層14を形成する。
その後、EB蒸着装置での蒸着によって、図1で示すように、前記p型層14の表面に、厚さ3nmのNiと厚さ100nmのITOとが積層されたNi3nm/ITO100nmの積層p型コンタクト層を前記透明電極8として形成し、その上にAu500nmから成るp型パッド電極を前記p型電極9として形成する。また同様に、EB蒸着装置での蒸着によって、Si基板4の裏面には、厚さ30nmのTiと厚さ500nmのAuとが積層されたTi30nm/Au500nmの積層n型コンタクト層およびn型パッド電極から成る前記n型電極3が形成されて、該発光ダイオード1が完成する。
このようにSi基板4の一部領域にトレンチ11を形成し、そのトレンチ11内にさらに前記ナノコラム2の化合物種結晶膜であるAlN層12を形成した後にナノコラム2を成長させることで、前記AlN層12の有る領域は、それが無い壁13上の領域に比べてナノコラム2の成長が速く(たとえば2倍程度)、所定の時間成長させると、前記トレンチ11と壁13との段差を吸収して、p型層14の表面が略同じ高さとなる。こうして、高さの異なる、すなわちアスペクト比(長さ/径)が異なり、放射する光のスペクトルの最大強度を示す波長が異なるナノコラム2を少なくとも2種類以上形成することができる。
この場合、図1に示すように、トレンチ11の底面とSi基板4の底面とで挟まれる領域が、第1領域Aに相当し、Si基板4から第1領域Aを除く残余の領域、すなわち壁13の上面とSi基板4の底面とで挟まれる領域が、第2領域Bに相当している。
ここで、図3に、本願発明者の実験結果を示す。この図3は、上記の組成で、300nm径のナノコラム2を成長させた場合の高さ(長さ)とピーク波長との関係を示すグラフである。ナノコラム2の高さが高くなる程、すなわちアスペクト比が大きくなる程、ピーク波長が長くなっていることが理解される。前記のようにアスペクト比が大きくなる程、ピーク波長が長くなる理由は、以下の通りである。先ず、GaNナノコラム成長のメカニズムに係わる原子の供給は、吸着離脱過程および表面拡散過程によって決定される。
以下、ナノコラム成長のメカニズムを粗い近似を用いて述べる。Ga原子は、ナノコラム成長の条件下においては、表面拡散過程が支配的であると考えられる。すなわちGa原子はナノコラムの根元から先端に向かって拡散しながら一定の確率で離脱する。この離脱する確率は拡散時間に比例すると仮定できる。一方、In原子は通常の結晶成長に従い、量子井戸層への吸着離脱過程が支配的となる。このため、ナノコラムの高さが高くなるにつれ、量子井戸層に到着するGa原子は減少し、一方、In原子はナノコラムの高さに関係なく一定の割合で量子井戸層に取り込まれる。結果として、量子井戸層のIn/Ga比率はナノコラムの高さ(長さ)に比例して増加し、上述のように発光波長はナノコラムが高くなるほど長波長側に変化することになる。
また、ナノコラムが同じ高さで径が異なる場合、量子井戸層に取り込まれるIn原子数はナノコラムの径の二乗に比例する。一方、Ga原子数はナノコラムの径に比例する。結果として、In/Ga比率は径に比例して増加する。以上のことから、波長を決定するIn/Ga比率はナノコラムのアスペクト比(高さ/径)に依存し、アスペクト比が大きい程、長波長側に変化する。
このようなメカニズムを応用することによって、同一の成長条件で、1チップ上に、前記AlN層12の有る領域と無い壁13上の領域とで、異なる波長を有するLEDチップを形成することができる。そして、CIE(Commission International de l'Eclairage)色度図における白色領域を交差する直線の長波長側の光と短波長側の光とをそれぞれ放射するようにナノコラム2の長さを設定しておくことで、白色光を作成することができる。また、前記段差を3段にしておき、それぞれの領域のナノコラム2が放射する光のスペクトルの最大強度を示す波長が、前記CIE色度図における白色領域を包囲する三角形の頂点にある波長の光を放射する長さに設定しておくことで、より忠実な白色光を作成することができる。
このようにして、同一のSi基板4を用いて、かつ単一の成長工程で簡単に、したがって低コストに、白色光などの所望の色味を実現する固体光源を実現することができる。また、蛍光体を用いずに所望の色味を実現できるので、高い信頼性および長寿命化を図ることができるとともに、前記AlN層12およびトレンチ11の面積を任意に調整できるので、ユーザーニーズに合わせて前記色味を細かく高精度に調整することができる。
[実施の形態2]
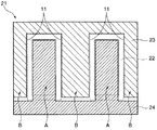
図4は本発明の第2の実施形態に係る化合物半導体発光素子である発光ダイオード21の構造を模式的に示す断面図である。図5はその発光ダイオード21の底面図である。この発光ダイオード21は、前述の発光ダイオード1に類似し、対応する部分には同一の参照符号を付して示し、その説明を省略する。注目すべきは、下記の点である。すなわち、本実施の形態では、各トレンチ11の底部の外周部分の下部、すなわち第1領域Aと第2領域Bとの境界部分に絶縁領域22を有するとともに、前記トレンチ11が(図4の奥行き方向に)帯状に延びて連続して形成されている。そして、それらに対応して、図5に示すように各トレンチ11の領域(各第1領域A)を連続させるように接続する櫛形のn型電極24(第1領域用電極)と、各壁13の領域(各第2領域B)を連続させるように接続する櫛型のn型電極23(第2領域用電極)とが形成されて、n型電極23,24に、個別の電圧および電流が印加されるようになっている。
すなわち、n型電極24によって、各トレンチ11内に形成された長いナノコラム2を発光させるための電圧、電流を一括して供給し、n型電極24によって、壁13に形成された短いナノコラム2を発光させるための電圧、電流を一括して供給することができるので、長いナノコラム2が発光する光の強度と、短いナノコラム2が発光する光の強度とを個別に調節して発光ダイオード21全体の発光色(色味)を調節することが可能となっている。
図6は、上述のような発光ダイオード21の具体的な製造工程を説明するための図である。前記図2(a)と同様に、図6(a)で示すように複数のトレンチ11を形成し、CVD装置によって、図6(b)で示すように、Si基板4上に、Si酸化膜25を100nm形成し、通常のフォトリソグラフィとRIEもしくはHF(フッ化水素:hydrogen fluoride)を用いたエッチングとによって、各トレンチ11の底部の外周部分に開口26を形成する。次に、このSi酸化膜25をマスク材として、イオン注入装置によって、参照符号27で示すようにOイオンを注入してアニール処理することで、SiOから構成される前記絶縁領域22とすることができる。
その後、図6(c)で示すように各トレンチ11内にAlN層12を形成し、ナノコラム2の成長を行わせた後、前記透明電極8およびp型電極9を形成するとともに、前記n型電極23,24が形成されて、該発光ダイオード21が完成する。このとき、図1に示す発光ダイオード1では、前記Si基板4の底面側で、Ti30nm/Au500nmの積層n型コンタクト層およびn型パッド電極から成る前記n型電極3が全面共通に形成されているのに対して、本実施の形態の発光ダイオード21では、図5で示すように、前記トレンチ11の領域(第1領域A)と壁13の領域(第2領域B)とが絶縁領域22で分離されて形成されている。
そして、Si基板4の底面において、n型電極23,24が形成されている。このn型電極23,24は、それぞれ櫛形状の形状とされている。そして、n型電極23,24が、Si基板4の底面において、互いに櫛の歯がかみ合うように対向配置され、かつn型電極24の櫛の歯部分が第1領域Aに接続され、n型電極23の櫛の歯部分が第2領域Bに接続されるように形成されている。このように互いに分離されたn型電極23,24は、前記Ti/Au層の形成の後に、通常のフォトリソグラフィ工程とエッチング工程とを実行するだけで、簡単に実現できる。
このようにSi基板4上で、各トレンチ11の領域を島状などに離散或いは分散配置するのではなく、各トレンチ11を帯状に形成し、各トレンチ11に形成されたナノコラム2に一括して電圧、電流を供給するn型電極24と、各壁13に形成されたナノコラム2に一括して電圧、電流を供給するn型電極23とを分離して形成することで、各トレンチ11に形成されたナノコラム2と、各壁13に形成されたナノコラム2とに、それぞれの発光波長に適応した電圧を印加することができる。また、n型電極23,24に流す電流をそれぞれ変えることで、各スペクトルの強度を調整し、色味を調整(1チップ多色発光)することもできる。
この場合、n型電極23,24と対になる電極としては、透明電極8およびp型電極9を共通に用いることができる。
また、前記トレンチ11の底部の外周部分の下部に絶縁領域22を形成することで、各領域での電流が他の領域へリークすることを防止し、前記1チップ多色発光の制御をより容易に行うことができる。
[実施の形態3]
図7は、本発明の第3の実施形態に係る化合物半導体発光素子である発光ダイオード31の製造工程を説明するための図である。この発光ダイオード31は、前述の発光ダイオード1に類似し、対応する部分には同一の参照符号を付して示し、その説明を省略する。注目すべきは、前述の発光ダイオード1,21では、トレンチ11内には、下地層として、化合物種結晶膜となるAlN層12を形成したけれども、この発光ダイオード31では、ナノコラム2の成長にあたって、前記のGa,N,In,Alなどの化合物半導体材料や、Mg,Siなどの添加物材料を溶解して取込み、かつ自身とは合成物を作らないカタリスト(触媒)材料膜であるNi薄膜32を下地層として形成することである。
すなわち、GaN基板34上に、RIE装置によって、図7(a)で示すように前記トレンチ11を形成する。トレンチ11の形状は、前述と同様に、幅W1=20μm、壁13の厚さ、すなわちトレンチ間距離W2=40μm、深さH=300nmである。前記トレンチ11を形成したGaN基板34の表面に、EB蒸着装置によって全面にNi薄膜32を5nm蒸着し、フォトリソおよびRIE装置を用いたエッチングによって、図7(b)で示すように、トレンチ11外および該トレンチ11内で余分なNi薄膜を除去し、将来、ナノコラム2を形成する部分にのみ前記Ni薄膜32を残す。
このような基板34を成長基板として、前記MBE装置でナノコラム2を成長させると、主として該ナノコラムを形成するGa、N、Inの原子の前記Ni薄膜32への吸着確率および拡散速度の違いによって、成長速度は、Ni薄膜32の有る部分が、無い部分に比べて、たとえば5倍程度速くなり、図7(c)で示すように、トレンチ11と壁13との段差を吸収して、p型層14の表面を略同じ高さにすることができる。
前記カタリスト材料を、Cu,Fe,Auなどの他の材料に変更することで、各原子の吸着確率および拡散速度の違いによって、成長速度を変更することができる。さらに、前記Ni薄膜32を、電子ビームリソグラフィやナノインプリントを用いてパターニングした場合は、ナノコラム2は同じ高さでも、径(太さ)、すなわちアスペクト比を変化することもできる。このように構成してもまた、低コストに所望の色味を実現する固体光源を実現することができるとともに、高い信頼性および長寿命化を図ることができる。
[実施の形態4]
図8は、本発明の第4の実施形態に係る化合物半導体発光素子である発光ダイオード41の製造工程を説明するための図である。この発光ダイオード41は、前述の発光ダイオード31に類似し、対応する部分には同一の参照符号を付して示し、その説明を省略する。注目すべきは、前述の発光ダイオード31では、カタリスト材料膜であるNi薄膜32がトレンチ11内のみに設けられていたのに対して、この発光ダイオード41では、壁13上にもNi薄膜43が設けられ、その厚さが、トレンチ11内のNi薄膜42よりも厚く形成されることである。
すなわち、GaN基板34上に、MBE装置によって、図8(a)で示すように、前記Ni薄膜43を3nm堆積させる。その後、フォトリソおよびRIE装置を用いたエッチングによってトレンチ11を形成する。トレンチ11の形状は、前述と同様に、幅W1=20μm、壁13の厚さ、すなわちトレンチ間距離W2=40μm、深さH=300nmである。その後さらに、EB蒸着装置によって全面にNi薄膜を2nm蒸着すると、前記壁13上のNi薄膜43は5nmとなり、トレンチ11内のNi薄膜42は2nmとなる。その後、GaN基板34全体を加熱すると、前記Ni薄膜42,43は島状に収縮して分離し、図8(b)で示すようになる。このとき、壁13上のNi薄膜43は大きな島になって高密度で点在し、トレンチ11内のNi薄膜42は小さな島になって低密度に散在する。
このような基板34を成長基板として、前記MBE装置でナノコラム2を成長させると、トレンチ11部分と壁13部分とで同じカタリスト材料を使用しているので、ナノコラムを形成するGa、N、Inの原子の前記Ni薄膜42,43への吸着確率および拡散速度は同じであるが、カタリスト島の密度がこのように或る程度高い場合、ナノコラム2のような表面拡散長の長い供給原子数の違いによって、成長速度は、低密度なトレンチ11部分で速くなり、図8(c)で示すように、トレンチ11と壁13との段差を吸収して、p型層14の表面を略同じ高さにすることができる。このように構成してもまた、低コストに所望の色味を実現する固体光源を実現することができるとともに、高い信頼性および長寿命化を図ることができる。
このような条件の異なる膜42,43をトレンチ11と壁13とに形成してナノコラム2の成長速度を変化させるのは、これらの膜42,43であるカタリスト材料膜に限らず、前述の化合物種結晶膜にも同様に適用することができることは言うまでもない。
[実施の形態5]
図9は、本発明の第5の実施形態に係る化合物半導体発光素子である発光ダイオード51の製造工程を説明するための図である。この発光ダイオード51は、前述の発光ダイオード1に類似し、対応する部分には同一の参照符号を付して示し、その説明を省略する。注目すべきは、この発光ダイオード51では、特定のナノコラム2aのアスペクト比を、後処理によって変更することである。この図9に示す例では、酸素雰囲気中で、その特定のナノコラム2aに、図9(a)で示すように、レーザ源52からレーザ光53を照射している。なお、前記アスペクト比を変更する処理としては、他にも酸化や硫化による不活性化等の後処理によっても同等の効果を得ることができる。
前記レーザ光53の照射によって、その特定のナノコラム2aだけが局所的に温度上昇し、ナノコラム2aの外周部分が酸化されて、図9(b)で示すように酸化膜2bが形成され、実質的に有効径が細くなることで、前記アスペクト比は大きくなる。ここで、レーザ光53の波長としては、GaNのバンドギャップ以下のピーク波長を用いることで、p型層14を通して、特定のナノコラム2a全体に照射する。そして、これによってp型層14上に形成されてしまった酸化膜は、軽くRIEエッチングすることで除去することができる。こうして、さらに色味を調整することができる。なお、全体のナノコラム2のアスペクト比を大きくするのであれば、局所加熱に代えて、電気炉などで全体を加熱すればよい。
上述のように構成される発光ダイオード1,21,31,41,51を照明装置に用いることで、単一種類の該発光ダイオード1,21,31,41,51を用いても、白色光などの所望の色味を高精度に実現する照明装置を実現することができる。
1,21,31,41,51 発光ダイオード
2,2a ナノコラム
2b 酸化膜
3 n型電極
4 Si基板
5 n型半導体層
6 発光層
7 p型半導体層
8 透明電極
9 p型電極
11 トレンチ
12 AlN層
13 壁
14 p型層
22 絶縁領域
23,24 n型電極
25 Si酸化膜
26 開口
32,42,43 Ni薄膜
34 GaN基板
52 レーザ源
53 レーザ光
A 第1領域
B 第2領域

Claims (15)

  1. 基板と、
    前記基板の一方の面に設けられた第1電極と、
    前記基板における他方の面上にn型半導体層と発光層とp型半導体層とが順に積層されたナノスケールの複数の柱状結晶構造体と、
    前記複数の柱状結晶構造体の頂部に接続された第2電極と、
    前記基板の一部の領域である第1領域における前記他方の面側に設けられ、前記柱状結晶構造体の成長を制御する下地層とを備え、
    前記基板における前記第1領域を除く残余の領域の少なくとも一部である第2領域と当該第1領域とには、前記他方の面において段差が設けられていること
    を特徴とする化合物半導体発光素子。
  2. 前記第2領域の前記他方の面には、前記第1領域の下地層とは条件の異なる下地層が形成されていること
    を特徴とする請求項1記載の化合物半導体発光素子。
  3. 前記第1領域の下地層と前記第2領域の下地層とは、
    層の厚さ、及び材料のうち少なくとも一つが互いに異なる条件にされていること
    を特徴とする請求項2記載の化合物半導体発光素子。
  4. 前記下地層は、複数の島に分離されて形成され、
    前記第1領域の下地層を構成する島の大きさと、前記第2領域の下地層を構成する島の大きさとが互いに異なる条件にされていること
    を特徴とする請求項2又は3記載の化合物半導体発光素子。
  5. 前記第1及び第2領域において設けられた柱状結晶構造体が放射する光のスペクトルの最大強度を示す波長は、CIE色度図における白色領域と交差する直線の両端に位置する色の波長となるように、前記第1及び第2領域において設けられた各柱状結晶構造体の長さと太さとの比がそれぞれ設定されていること
    を特徴とする請求項1〜4のいずれか1項に記載の化合物半導体発光素子。
  6. 前記基板には、前記第1及び第2領域を除く残余の領域の少なくとも一部であり、前記基板の前記他方の面において、前記第1及び第2領域と段差を有する第3領域が設けられ、
    前記第3領域における前記他方の面には、前記柱状結晶構造体の成長を制御する下地層が設けられ、
    前記第1、第2、及び第3領域において設けられた各柱状結晶構造体が放射する光のスペクトルの最大強度を示す波長は、CIE色度図における白色領域を包囲する三角形の頂点に位置する色の波長となるように、前記第1、第2、及び第3領域における各柱状結晶構造体の長さと太さとの比がそれぞれ設定されていること
    を特徴とする請求項1〜4のいずれか1項に記載の化合物半導体発光素子。
  7. 前記下地層は、化合物種結晶膜であること
    を特徴とする請求項1〜6のいずれか1項に記載の化合物半導体発光素子。
  8. 前記下地層は、カタリスト材料膜であること
    を特徴とする請求項1〜6のいずれか1項に記載の化合物半導体発光素子。
  9. 前記第1領域は、複数、互いに間隔を空けて帯状に設けられ、
    前記間隔となる領域が、前記第2領域として用いられ、
    前記第1電極は、
    前記複数の第1領域に一括して電圧を供給するための第1領域用電極と、
    当該第1領域用電極とは分離され、前記第2領域に電圧を供給するための第2領域用電極とを含むこと
    を特徴とする請求項1〜8のいずれか1項に記載の化合物半導体発光素子。
  10. 前記第1領域用電極は、
    前記基板の前記一方の面に櫛形に形成され、当該櫛形における櫛の歯が前記帯状の第1領域に沿うように配設されて接続され、
    前記第2領域用電極は、
    前記基板の前記一方の面に櫛形に形成され、前記第1領域用電極と互いに櫛の歯がかみ合うように対向配置されて前記第2領域に接続されていること
    を特徴とする請求項9記載の化合物半導体発光素子。
  11. 前記第1領域と前記第2領域との境界部に、絶縁領域を有すること
    を特徴とする請求項1〜10のいずれか1項に記載の化合物半導体発光素子。
  12. 前記請求項1〜11のいずれか1項に記載の化合物半導体発光素子を用いること
    を特徴とする照明装置。
  13. 基板の一方の面に第1電極を設ける工程と、
    前記基板の一部の領域である第1領域における他方の面側に、凹所を形成することで、前記第1領域を除く残余の領域の少なくとも一部である第2領域と当該第1領域との間に段差を形成する工程と、
    前記凹所の底部に柱状結晶構造体の成長を制御する下地層を形成する工程と、
    前記凹所の底部、及び前記第2領域における前記他方の面上に、n型半導体層と発光層とp型半導体層とを順に積層してナノスケールの柱状結晶構造体を複数、前記凹所の底部と前記第2領域における前記他方の面上とで略同じ高さになるまで成長させる工程と、
    前記複数の柱状結晶構造体の頂部に接続される第2電極を形成する工程と
    を含むことを特徴とする化合物半導体発光素子の製造方法。
  14. 前記凹所を形成した後、該凹所の底部の外周部分が開口されたマスクを形成する工程と、
    前記開口部分から前記第1領域にイオン注入することによって絶縁層を形成する工程と、
    前記マスクを除去する工程とをさらに含むこと
    を特徴とする請求項13記載の化合物半導体発光素子の製造方法。
  15. 前記複数の柱状結晶構造体の成長後に、後処理によって、選択的に、当該各柱状結晶構造体の有効径を細くする工程をさらに含むこと
    を特徴とする請求項13又は14記載の化合物半導体発光素子の製造方法。
JP2009060868A 2008-03-14 2009-03-13 化合物半導体発光素子およびそれを用いる照明装置ならびに化合物半導体発光素子の製造方法 Expired - Fee Related JP5227224B2 (ja)

Priority Applications (1)

Application Number Priority Date Filing Date Title
JP2009060868A JP5227224B2 (ja) 2008-03-14 2009-03-13 化合物半導体発光素子およびそれを用いる照明装置ならびに化合物半導体発光素子の製造方法

Applications Claiming Priority (5)

Application Number Priority Date Filing Date Title
JP2008065452 2008-03-14
JP2008065452 2008-03-14
JP2008137145 2008-05-26
JP2008137145 2008-05-26
JP2009060868A JP5227224B2 (ja) 2008-03-14 2009-03-13 化合物半導体発光素子およびそれを用いる照明装置ならびに化合物半導体発光素子の製造方法

Publications (2)

Publication Number Publication Date
JP2010010657A true JP2010010657A (ja) 2010-01-14
JP5227224B2 JP5227224B2 (ja) 2013-07-03

Family

ID=41065312

Family Applications (1)

Application Number Title Priority Date Filing Date
JP2009060868A Expired - Fee Related JP5227224B2 (ja) 2008-03-14 2009-03-13 化合物半導体発光素子およびそれを用いる照明装置ならびに化合物半導体発光素子の製造方法

Country Status (6)

Country Link
US (1) US8263990B2 (ja)
EP (1) EP2254164B1 (ja)
JP (1) JP5227224B2 (ja)
KR (1) KR101396679B1 (ja)
CN (1) CN101971369B (ja)
WO (1) WO2009113651A1 (ja)

Cited By (6)

* Cited by examiner, † Cited by third party
Publication number Priority date Publication date Assignee Title
JP2020161622A (ja) * 2019-03-26 2020-10-01 セイコーエプソン株式会社 発光装置およびプロジェクター
JP2020161621A (ja) * 2019-03-26 2020-10-01 セイコーエプソン株式会社 発光装置およびプロジェクター
JP2022152161A (ja) * 2021-03-29 2022-10-12 セイコーエプソン株式会社 発光装置、プロジェクター、およびディスプレイ
JP2022553236A (ja) * 2019-10-17 2022-12-22 コミッサリア ア レネルジー アトミーク エ オ ゼネルジ ザルタナテイヴ マグネシウム原子でPドープされたAlNに基づく半導体及びドープされたダイヤモンドの層を含む発光ダイオード
US11552216B2 (en) 2020-03-09 2023-01-10 Seiko Epson Corporation Light emitting apparatus and projector
JP2023041231A (ja) * 2021-09-13 2023-03-24 セイコーエプソン株式会社 発光装置、プロジェクター、およびディスプレイ

Families Citing this family (25)

* Cited by examiner, † Cited by third party
Publication number Priority date Publication date Assignee Title
KR101396679B1 (ko) * 2008-03-14 2014-05-16 파나소닉 주식회사 화합물 반도체 발광 소자 및 이를 이용하는 조명 장치 및 화합물 반도체 발광 소자의 제조 방법
JP5145120B2 (ja) * 2008-05-26 2013-02-13 パナソニック株式会社 化合物半導体発光素子およびそれを用いる照明装置ならびに化合物半導体発光素子の製造方法
KR101515100B1 (ko) * 2008-10-21 2015-04-24 삼성전자주식회사 발광 다이오드 및 그 제조 방법
CN102197299B (zh) 2008-10-29 2013-06-19 松下电器产业株式会社 检测元件、检测装置及氧浓度测试装置
FR2949278B1 (fr) * 2009-08-18 2012-11-02 Commissariat Energie Atomique Procede de fabrication d'un dispositif d'emission de lumiere a base de diodes electroluminescentes
KR101244926B1 (ko) * 2011-04-28 2013-03-18 피에스아이 주식회사 초소형 led 소자 및 그 제조방법
FR2983639B1 (fr) 2011-12-01 2014-07-18 Commissariat Energie Atomique Dispositif optoelectronique comprenant des nanofils de structure coeur/coquille
US8937297B2 (en) 2011-12-02 2015-01-20 Commissariat A L'energie Atomique Et Aux Energies Alternatives Optoelectronic device including nanowires with a core/shell structure
US9401453B2 (en) * 2012-05-24 2016-07-26 The University Of Hong Kong White nanoLED without requiring color conversion
KR101365229B1 (ko) * 2013-05-28 2014-02-19 부경대학교 산학협력단 백색 led와 그 제조방법
FR3011380B1 (fr) 2013-09-30 2017-01-13 Aledia Dispositif optoelectronique a diodes electroluminescentes
KR102285786B1 (ko) 2014-01-20 2021-08-04 삼성전자 주식회사 반도체 발광 소자
FR3023410A1 (fr) * 2014-07-02 2016-01-08 Aledia Dispositif optoelectronique a elements semiconducteurs et son procede de fabrication
KR102223036B1 (ko) 2014-08-18 2021-03-05 삼성전자주식회사 나노구조 반도체 발광소자
KR20160054073A (ko) 2014-11-05 2016-05-16 삼성전자주식회사 디스플레이 장치 및 디스플레이 패널
FR3029015B1 (fr) * 2014-11-24 2018-03-02 Commissariat A L'energie Atomique Et Aux Energies Alternatives Dispositif optoelectronique a elements semiconducteurs tridimensionnels et son procede de fabrication
CN104465925B (zh) * 2014-12-16 2017-04-12 聚灿光电科技股份有限公司 一种led芯片外延层的制作方法及led芯片结构
JP7147132B2 (ja) * 2017-05-31 2022-10-05 セイコーエプソン株式会社 発光装置、プロジェクター、および発光装置の製造方法
WO2020137470A1 (ja) * 2018-12-26 2020-07-02 豊田合成株式会社 半導体発光素子
CN111188027B (zh) * 2020-02-12 2021-08-03 南京大学 一种化学气相沉积设备和成膜方法
US11094846B1 (en) 2020-08-31 2021-08-17 4233999 Canada Inc. Monolithic nanocolumn structures
JP7613134B2 (ja) * 2021-01-28 2025-01-15 セイコーエプソン株式会社 発光装置、プロジェクター
JP7760879B2 (ja) * 2021-09-29 2025-10-28 セイコーエプソン株式会社 発光装置、プロジェクター及びディスプレイ
CN118922945A (zh) * 2022-03-21 2024-11-08 艾迈斯-欧司朗国际有限责任公司 光电子部件和用于产生光电子部件的方法
US11799054B1 (en) 2023-02-08 2023-10-24 4233999 Canada Inc. Monochromatic emitters on coalesced selective area growth nanocolumns

Citations (10)

* Cited by examiner, † Cited by third party
Publication number Priority date Publication date Assignee Title
JPH08330623A (ja) * 1995-05-29 1996-12-13 Oki Electric Ind Co Ltd 発光ダイオードアレイおよびその製造方法
JPH09223819A (ja) * 1995-12-15 1997-08-26 Toshiba Corp 半導体発光素子及びその製造方法
JP2002043624A (ja) * 2000-06-09 2002-02-08 Lg Electronics Inc 白色発光ダイオード及びその製造方法
JP2003124453A (ja) * 2001-10-11 2003-04-25 Japan Fine Ceramics Center 量子井戸構造を有するSi系半導体デバイスおよびその製造方法
JP2005228936A (ja) * 2004-02-13 2005-08-25 Dongguk Univ 発光ダイオードおよびその製造方法
JP2006506819A (ja) * 2002-11-20 2006-02-23 コーニンクレッカ フィリップス エレクトロニクス エヌ ヴィ 発光半導体素子と発光半導体素子の製造方法
JP2007123398A (ja) * 2005-10-26 2007-05-17 Matsushita Electric Works Ltd 半導体発光素子およびそれを用いる照明装置ならびに半導体発光素子の製造方法
JP2008034482A (ja) * 2006-07-26 2008-02-14 Matsushita Electric Works Ltd 化合物半導体発光素子およびそれを用いる照明装置ならびに化合物半導体素子の製造方法
JP2008034483A (ja) * 2006-07-26 2008-02-14 Matsushita Electric Works Ltd 化合物半導体素子およびそれを用いる照明装置ならびに化合物半導体素子の製造方法
JP2008169060A (ja) * 2007-01-09 2008-07-24 Sophia School Corp Iii族窒化物半導体微細柱状結晶の製造方法およびiii族窒化物構造体

Family Cites Families (12)

* Cited by examiner, † Cited by third party
Publication number Priority date Publication date Assignee Title
JPH06244457A (ja) * 1993-02-16 1994-09-02 Nisshin Steel Co Ltd 発光ダイオードの製造方法
US20040252737A1 (en) * 2003-06-16 2004-12-16 Gyu Chul Yi Zinc oxide based nanorod with quantum well or coaxial quantum structure
KR100644166B1 (ko) * 2004-02-12 2006-11-10 학교법인 포항공과대학교 질화물 반도체의 이종접합 구조체, 이를 포함하는나노소자 또는 이의 어레이
TWI442456B (zh) * 2004-08-31 2014-06-21 Sophia School Corp 發光元件
US20060223211A1 (en) * 2004-12-02 2006-10-05 The Regents Of The University Of California Semiconductor devices based on coalesced nano-rod arrays
US20060134392A1 (en) * 2004-12-20 2006-06-22 Palo Alto Research Center Incorporated Systems and methods for electrical contacts to arrays of vertically aligned nanorods
WO2007001098A1 (en) * 2005-06-25 2007-01-04 Seoul Opto Device Co., Ltd. Nanostructure having a nitride-based quantum well and light emitting diode employing the same
WO2007001099A1 (en) * 2005-06-27 2007-01-04 Seoul Opto Device Co., Ltd. Light emitting diode of a nanorod array structure having a nitride-based multi quantum well
JP4591276B2 (ja) 2005-08-12 2010-12-01 パナソニック電工株式会社 半導体発光素子の製造方法
CN100401544C (zh) * 2006-06-30 2008-07-09 中国科学院上海技术物理研究所 氮化镓基圆盘式单色光源列阵
KR100972842B1 (ko) * 2007-09-11 2010-07-28 포항공과대학교 산학협력단 나노막대를 포함하는 나노디바이스 및 그 제조 방법
KR101396679B1 (ko) * 2008-03-14 2014-05-16 파나소닉 주식회사 화합물 반도체 발광 소자 및 이를 이용하는 조명 장치 및 화합물 반도체 발광 소자의 제조 방법

Patent Citations (10)

* Cited by examiner, † Cited by third party
Publication number Priority date Publication date Assignee Title
JPH08330623A (ja) * 1995-05-29 1996-12-13 Oki Electric Ind Co Ltd 発光ダイオードアレイおよびその製造方法
JPH09223819A (ja) * 1995-12-15 1997-08-26 Toshiba Corp 半導体発光素子及びその製造方法
JP2002043624A (ja) * 2000-06-09 2002-02-08 Lg Electronics Inc 白色発光ダイオード及びその製造方法
JP2003124453A (ja) * 2001-10-11 2003-04-25 Japan Fine Ceramics Center 量子井戸構造を有するSi系半導体デバイスおよびその製造方法
JP2006506819A (ja) * 2002-11-20 2006-02-23 コーニンクレッカ フィリップス エレクトロニクス エヌ ヴィ 発光半導体素子と発光半導体素子の製造方法
JP2005228936A (ja) * 2004-02-13 2005-08-25 Dongguk Univ 発光ダイオードおよびその製造方法
JP2007123398A (ja) * 2005-10-26 2007-05-17 Matsushita Electric Works Ltd 半導体発光素子およびそれを用いる照明装置ならびに半導体発光素子の製造方法
JP2008034482A (ja) * 2006-07-26 2008-02-14 Matsushita Electric Works Ltd 化合物半導体発光素子およびそれを用いる照明装置ならびに化合物半導体素子の製造方法
JP2008034483A (ja) * 2006-07-26 2008-02-14 Matsushita Electric Works Ltd 化合物半導体素子およびそれを用いる照明装置ならびに化合物半導体素子の製造方法
JP2008169060A (ja) * 2007-01-09 2008-07-24 Sophia School Corp Iii族窒化物半導体微細柱状結晶の製造方法およびiii族窒化物構造体

Cited By (11)

* Cited by examiner, † Cited by third party
Publication number Priority date Publication date Assignee Title
JP2020161622A (ja) * 2019-03-26 2020-10-01 セイコーエプソン株式会社 発光装置およびプロジェクター
JP2020161621A (ja) * 2019-03-26 2020-10-01 セイコーエプソン株式会社 発光装置およびプロジェクター
JP7232465B2 (ja) 2019-03-26 2023-03-03 セイコーエプソン株式会社 発光装置およびプロジェクター
JP7232464B2 (ja) 2019-03-26 2023-03-03 セイコーエプソン株式会社 発光装置およびプロジェクター
JP2022553236A (ja) * 2019-10-17 2022-12-22 コミッサリア ア レネルジー アトミーク エ オ ゼネルジ ザルタナテイヴ マグネシウム原子でPドープされたAlNに基づく半導体及びドープされたダイヤモンドの層を含む発光ダイオード
US11552216B2 (en) 2020-03-09 2023-01-10 Seiko Epson Corporation Light emitting apparatus and projector
JP2022152161A (ja) * 2021-03-29 2022-10-12 セイコーエプソン株式会社 発光装置、プロジェクター、およびディスプレイ
US12349514B2 (en) 2021-03-29 2025-07-01 Seiko Epson Corporation Light emitting device, projector, and display
JP7707605B2 (ja) 2021-03-29 2025-07-15 セイコーエプソン株式会社 発光装置、プロジェクター、およびディスプレイ
JP2023041231A (ja) * 2021-09-13 2023-03-24 セイコーエプソン株式会社 発光装置、プロジェクター、およびディスプレイ
JP7776817B2 (ja) 2021-09-13 2025-11-27 セイコーエプソン株式会社 発光装置、プロジェクター、およびディスプレイ

Also Published As

Publication number Publication date
KR101396679B1 (ko) 2014-05-16
JP5227224B2 (ja) 2013-07-03
WO2009113651A1 (ja) 2009-09-17
US8263990B2 (en) 2012-09-11
US20110012168A1 (en) 2011-01-20
EP2254164A1 (en) 2010-11-24
KR20100118609A (ko) 2010-11-05
CN101971369A (zh) 2011-02-09
EP2254164B1 (en) 2012-05-16
EP2254164A4 (en) 2011-06-29
CN101971369B (zh) 2012-05-23

Similar Documents

Publication Publication Date Title
JP5227224B2 (ja) 化合物半導体発光素子およびそれを用いる照明装置ならびに化合物半導体発光素子の製造方法
JP5145120B2 (ja) 化合物半導体発光素子およびそれを用いる照明装置ならびに化合物半導体発光素子の製造方法
CN111048641B (zh) 一种单芯片白光发光二极管及其制备方法
JP2013512567A (ja) 注入効率が向上したled
JP2009111339A (ja) 発光ダイオードパッケージ
JP5306779B2 (ja) 発光素子及びその製造方法
JP2016508668A (ja) モノリシックな白色ダイオードを製造するための方法
CN108389941A (zh) 显指可调的无荧光粉单芯片白光led器件及其制备方法
CA2583504A1 (en) High efficiency light-emitting diodes
JP3498140B2 (ja) 半導体発光素子
JP2009140975A (ja) 半導体発光装置およびそれを用いる照明装置ならびに半導体発光装置の製造方法
JP7236078B2 (ja) 半導体発光素子および半導体発光素子の製造方法
WO2022249873A1 (ja) 半導体発光素子および半導体発光素子の製造方法
KR101581438B1 (ko) 나노막대를 이용한 백색 발광소자의 제조방법 및 그에 의해 제조된 나노막대를 이용한 백색 발광소자
CN112786762B (zh) 发光二极管外延片及其制备方法
CN108831878B (zh) 一种薄膜发光二极管的制造方法
CN115312559A (zh) 紫外和可见光的混合光源及其制备方法
CN120456678A (zh) 一种双波长发光的led外延结构及其制备方法
CN117673228A (zh) 一种改善侧壁非辐射复合的led芯片及其制备方法
CN117894896A (zh) 一种多色led及其制备方法
TWI249256B (en) Light emitting diode structure with multiple light emission layer
JPH0324775A (ja) ダイヤモンド電子装置
KR20060075646A (ko) 발광 소자 및 그의 제조 방법

Legal Events

Date Code Title Description
A621 Written request for application examination

Free format text: JAPANESE INTERMEDIATE CODE: A621

Effective date: 20110915

A711 Notification of change in applicant

Free format text: JAPANESE INTERMEDIATE CODE: A712

Effective date: 20120111

A977 Report on retrieval

Free format text: JAPANESE INTERMEDIATE CODE: A971007

Effective date: 20121226

TRDD Decision of grant or rejection written
A01 Written decision to grant a patent or to grant a registration (utility model)

Free format text: JAPANESE INTERMEDIATE CODE: A01

Effective date: 20130305

A61 First payment of annual fees (during grant procedure)

Free format text: JAPANESE INTERMEDIATE CODE: A61

Effective date: 20130315

R150 Certificate of patent or registration of utility model

Free format text: JAPANESE INTERMEDIATE CODE: R150

FPAY Renewal fee payment (event date is renewal date of database)

Free format text: PAYMENT UNTIL: 20160322

Year of fee payment: 3

LAPS Cancellation because of no payment of annual fees