JP2010010557A - 導電材料構造体の形成方法 - Google Patents

導電材料構造体の形成方法 Download PDF

Info

Publication number
JP2010010557A
JP2010010557A JP2008170361A JP2008170361A JP2010010557A JP 2010010557 A JP2010010557 A JP 2010010557A JP 2008170361 A JP2008170361 A JP 2008170361A JP 2008170361 A JP2008170361 A JP 2008170361A JP 2010010557 A JP2010010557 A JP 2010010557A
Authority
JP
Japan
Prior art keywords
plating
film
substrate
plating film
electrode
Prior art date
Legal status (The legal status is an assumption and is not a legal conclusion. Google has not performed a legal analysis and makes no representation as to the accuracy of the status listed.)
Granted
Application number
JP2008170361A
Other languages
English (en)
Other versions
JP2010010557A5 (ja
JP5281831B2 (ja
Inventor
Akira Fukunaga
明 福永
Mizuki Nagai
瑞樹 長井
Current Assignee (The listed assignees may be inaccurate. Google has not performed a legal analysis and makes no representation or warranty as to the accuracy of the list.)
Ebara Corp
Original Assignee
Ebara Corp
Priority date (The priority date is an assumption and is not a legal conclusion. Google has not performed a legal analysis and makes no representation as to the accuracy of the date listed.)
Filing date
Publication date
Application filed by Ebara Corp filed Critical Ebara Corp
Priority to JP2008170361A priority Critical patent/JP5281831B2/ja
Priority to KR1020080121666A priority patent/KR20090058462A/ko
Priority to US12/314,080 priority patent/US8784636B2/en
Priority to TW103126362A priority patent/TWI518213B/zh
Priority to TW097147072A priority patent/TWI451006B/zh
Publication of JP2010010557A publication Critical patent/JP2010010557A/ja
Publication of JP2010010557A5 publication Critical patent/JP2010010557A5/ja
Application granted granted Critical
Publication of JP5281831B2 publication Critical patent/JP5281831B2/ja
Priority to US14/299,306 priority patent/US20140287580A1/en
Priority to KR20140128587A priority patent/KR20140120878A/ko
Active legal-status Critical Current
Anticipated expiration legal-status Critical

Links

Images

Classifications

    • HELECTRICITY
    • H01ELECTRIC ELEMENTS
    • H01LSEMICONDUCTOR DEVICES NOT COVERED BY CLASS H10
    • H01L2924/00Indexing scheme for arrangements or methods for connecting or disconnecting semiconductor or solid-state bodies as covered by H01L24/00
    • H01L2924/0001Technical content checked by a classifier
    • H01L2924/0002Not covered by any one of groups H01L24/00, H01L24/00 and H01L2224/00

Landscapes

  • Electroplating Methods And Accessories (AREA)
  • Electrodes Of Semiconductors (AREA)
  • Internal Circuitry In Semiconductor Integrated Circuit Devices (AREA)

Abstract

【課題】実用化の障害となるめっきの長時間化を改善し、貫通電極による三次元実装を実現するのに好適な導電材料構造体をより短時間で形成できるようにする。
【解決手段】貫通電極用凹部12を形成した基板Wの表面の該凹部12表面を含む全表面に導電膜14を形成し、基板W表面の所定位置にレジストパターン30を形成し、導電膜14を給電層とした第1めっき条件で第1電解めっきを行って貫通電極用凹部12内に第1めっき膜36を埋込み、貫通電極用凹12部内への第1めっき膜36の埋込みが終了した後に、導電膜14及び第1めっき膜36を給電層とした第2めっき条件で第2電解めっきを行って、レジストパターン30のレジスト開口部32に露出した導電膜14及び第1めっき膜36上に第2めっき膜38を成長させる。
【選択図】図11

Description

本発明は、導電材料構造体の形成方法に係り、更に詳しくは、内部に上下に貫通する貫通電極を、表面に該貫通電極に連続する電極パッド及び/または再配線構造をそれぞれ有し、前記貫通電極を介した半導体チップ等の三次元積層を実現するのに使用される導電材料構造体を形成する導電材料構造体の形成方法に関する。
エレクトロニクス製品の更なる小型化、高性能化を実現するために、特にLSIの実装密度を高める手法として、複数の半導体チップを多層に積上げて1つのパッケージとする三次元実装技術が注目されている。既に、ワイアボンディングにより半導体チップを積層化する方法が実用化されており、大容量化という観点でフラッシュメモリの積層などに用いられている。しかしながら、ワイアボンディングにあっては、電極間の接続に用いられる配線長さがmmのオーダーとチップ内配線の長さに比べて非常に長く、DRAMやロジックなど高速信号を扱うデバイスへの適用においては、信号遅延などの観点から多くを期待できない。そこで、基板の内部に銅等の導電材料で上下に貫通する貫通電極を形成し、貫通電極を介して半導体チップ同士を最短距離で接合することにより、更なる高速化、小型化を実現する貫通電極型の三次元積層技術が検討されている。
ここで、基板の内部に貫通電極を設けただけではチップ同士を接合することができないので、基板表面の貫通電極直上に電極パッドを形成したり、或いは再配線層を形成して電極パッドの位置を再配置したりする必要がある。また電極パッド上に接合用の鉛フリーはんだ層を形成することも考えられる。
図1及び図2は、基板の内部に上下に貫通する銅からなる貫通電極を、基板の表面に銅からなる電極パッドをそれぞれ有する導電材料構造体の製造例を工程順に示す。先ず、図1(a)に示すように、例えばリソグラフィ・エッチング技術により、シリコン等からなる基材10の内部に上方に開口する複数の貫通電極用凹部12を形成した基板Wを用意し、この基板Wの表面の貫通電極用凹部12の表面を含む全表面に電解めっきの給電層としての銅等からなるシード膜(導電膜)14をスパッタリング等で形成する。
そして、基板Wの表面に電解銅めっきを施すことで、図1(b)に示すように、基板Wに設けた貫通電極用凹部12内に第1めっき膜16を埋込みながら、基板Wのシード膜14の表面に第1めっき膜16を堆積させる。そして、図1(c)に示すように、化学的機械的研磨(CMP)等により、貫通電極用凹部12内以外の基板W上の余剰な第1めっき銅16を研磨除去する。
次に、図2(a)に示すように、基板Wの表面の所定位置にフォトレジスト等によりレジストパターン18を形成する。この時、レジストパターン18のレジスト開口部20が電極パッドに対応した位置及び形状となるようにする。この状態で、基板Wの表面に電解銅めっきを施すことで、図2(b)に示すように、レジストパターン18のレジスト開口部20内に第2めっき膜22を形成する。そして、図2(c)に示すように、基板Wの表面の余剰なシード膜14及びレジストパターン18を除去し、同時に、貫通電極用凹部12内に充填した第1めっき膜16の底面が外部に露出するまで基板Wの裏面側を研磨除去する。これによって、貫通電極用凹部12内に埋込んだ第1めっき膜16で上下に貫通する銅からなる複数の貫通電極24を、レジストパターン18のレジスト開口部20内に成膜した第2めっき膜22で電極パッド26をそれぞれ形成した導電材料構造体を完成させる。
前述のように、貫通電極の形成には電解めっきを適用することが検討されているが、電解めっきで貫通電極を形成するためには、外径寸法が数〜100μmで、深さが数10〜数100μm程度の貫通電極用凹部を予め形成し、この貫通電極用凹部内に銅等からなるめっき膜を埋込むことが求められる。しかしながら、このように非常に大きな貫通電極用凹部内に従来の一般的な電解めっき方法で欠陥のないめっき膜の埋込みを行うには長時間を要し、生産性の観点から実用化の障害となっている。また、図1及び図2に示す工程で導電材料構造体を形成しようとすると、めっき→CMP→レジスト形成→めっきと多くの工程を経なければならず、製造コストが高くなる。そこで、貫通電極の直上に電極パッドや再配線層、更には接合用はんだ層などを電解めっきで連続的に形成しようという考え方も成立するが、それぞれの厚みも数μm以上あって、貫通電極とこれらを同一条件で連続的に電解めっきで成膜しようとすると、更に長時間を要することになる。
本発明は上記事情に鑑みて為されたもので、実用化の障害となるめっきの長時間化を改善し、貫通電極による三次元実装を実現するのに好適な導電材料構造体をより短時間で形成できるようにした導電材料構造体の形成方法を提供することを目的とする。
請求項1に記載の発明は、貫通電極用凹部を形成した基板の表面の該凹部表面を含む全表面に導電膜を形成し、前記導電膜上の所定の位置にレジストパターンを形成し、前記導電膜を給電層とした第1めっき条件で第1電解めっきを行って前記貫通電極用凹部内に第1めっき膜を埋込み、前記貫通電極用凹部内への前記第1めっき膜の埋込みが終了した後に、前記導電膜及び前記第1めっき膜を給電層とした第2めっき条件で第2電解めっきを行って、前記レジストパターンのレジスト開口部内に露出した導電膜及び前記第1めっき膜上に第2めっき膜を成長させることを特徴とする導電材料構造体の形成方法である。
基板にエッチング法等により形成された貫通電極用凹部内にめっき膜、例えば金属材料としての銅を電解めっきで埋込む場合(場合(1))と、基板表面にレジストパターンで形成されたレジスト開口部内にめっき膜、例えば金属材料としての銅を電解めっきで成膜して電極パッド等を形成する場合(場合(2))とでは、パターン形状や給電層の構造に大きな違いがある。場合(1)における貫通電極用凹部は、例えば外径が数〜数10μm、深さが10〜100μm程度でアスペクト比(孔径に対する深さの比)が1以上であるが、これに対して、場合(2)におけるレジストパターンは、例えば数〜数10μmの厚みで、レジスト開口部の外径または幅は数〜数10μm程度である。
場合(1)では、貫通電極用凹部のアスペクト比が1以上であり、貫通電極用凹部の側面にもシード膜(給電層)が存在するので、貫通電極用凹部の底部からのめっき膜の成長を優先するボトムアップ成長の条件でめっき膜を成膜しないと、貫通電極用凹部の入口でのめっき膜の成長が優先され、貫通電極用凹部内に埋込まれるめっき膜にボイドやシームなどのめっき欠陥を生じる。このため、例えば貫通電極用凹部の入口部分でのめっき膜の成長を抑制するための添加剤の性能を高めためっき液を用いるとともに、当初はある程度の電流でめっきを行った後、一旦電流値を下げて、貫通電極用凹部内部での銅イオンの消耗の回復を待つことを繰返すなど、いくつかの条件を最適化する必要がある。
場合(2)では、レジストパターンで囲まれたレジスト開口部の底部にのみ給電層が存在し、このためスルーマスクめっきとなり、そのまま電解めっきを行うとレジスト開口部の底部からめっき膜が成長する。このため、めっき膜にボイドやシームなどのような欠陥が生じる懸念は少ない。しかし、レジストパターン内部でのめっき液の流速分布により、めっき膜のパターン形状の偏りが生じる可能性がある。この現象は、めっき速度に対して必ずしも十分な銅イオンの供給が出来ない場合、即ち拡散律速領域でめっきする場合に起こりやすい。したがって、この場合は、めっき液の組成や電流密度よりも、機械的攪拌や空気攪拌などめっき液の流動条件の最適化が重要な要素となる。
なお、レジスト開口部の下にある貫通電極用凹部内にめっき膜を埋込む際には、レジスト開口部内にめっき膜を埋込む時以上にレジストパターン内に存在するめっき液の濃度分布の影響を受けるので、上記場合(1)におけるめっき液の添加剤ならびに電流条件の最適化に加え、めっきを液の流動条件の最適化が重要となる。
以上のように、それぞれの形状に好適なめっき条件、例えば電流値、めっき液、めっき液の攪拌条件などを最適化してめっきすることがめっき膜の完全性ならびに成膜効率を上げるために必要である。本発明によれば、第1めっき条件で第1電解めっきを行って貫通電極用凹部内に第1めっき膜を埋込み、しかる後、第2めっき条件で第2電解めっきを行って、導電膜上の所定位置に形成したレジストパターンのレジスト開口部に第2めっき膜を成長させることで、この要請に応えることができる。しかも、予めレジストパターンを形成しておいてから、貫通電極用凹部内に第1めっき膜を埋込む第1電解めっきと、レジストパターンのレジスト開口部内に第2めっき膜を成長させる第2電解めっきを連続して行うことで、めっき時間を短縮して、生産性を向上させることができる。
請求項2に記載の発明は、前記レジストパターンの高さは、5μm〜100μmであることを特徴とする請求項1記載の導電材料構造体の形成方法である。
基板表面のレジスト開口部内に成膜する第2めっき膜で再配線を形成する場合には、該再配線を流れる電気信号の周波数や供給する電流値などを考慮すると、第2めっき膜の膜厚を少なくとも5μm程度とする必要がある。基板表面のレジスト開口部内に成膜する第2めっき膜で電極パッドやポストを形成する場合には、その後の接合条件を勘案すると、第2めっき膜の膜厚を数10μmとすることが望ましい。更に、電極パッドの上に接合用のはんだ等の接合材料を電解めっきで載せようとすると、レジストパターンに更に数10μm程度の高さが加わる。このため、レジストパターンの高さは、少なくとも5μm以上で、100μm程度以下とすることが好ましい。
請求項3に記載の発明は、前記第1めっき膜及び前記第2めっき膜は、銅または銅合金からなることを特徴とする請求項1または2記載の導電材料構造体の形成方法である。
貫通電極用凹部内に埋込まれる第1めっき膜は、半導体チップ同士を最短距離で接合して更なる高速化、小型化を実現する貫通電極として使用される。このため、第1めっき膜は、導電性が高く電気抵抗の低いものであることが望まれる。そのようなものとしては、金、銀または銅などが考えられるが、ボトムアップめっきが工業的に可能なものは銅をベースとするめっきのみであり、またコスト的に見ても、少なくとも第1めっき条件で成膜する第1めっき膜は、銅または銅合金からなることが好適である。
また第2めっき条件で成膜される第2めっき膜については、第1めっき条件の第1電解めっきで成膜する第1めっき膜と同じ金属を連続して成膜できることが生産性の点から合理的であり、かつここでも出来るだけ導電性の高い金属であることが望ましい。従って、第2めっき膜も、銅または銅合金からなることが好適である。
請求項4に記載の発明は、前記第2めっき条件における平均電流値は、前記第1めっき条件における平均電流値よりも高いことを特徴とする請求項1乃至3のいずれかに記載の導電材料構造体の形成方法である。
貫通電極用凹部全体の面積は、デバイス部分の面積を確保するという観点から基板全体の面積のせいぜい1%程度であって数%を超えることはない。一方、再配線や電極パッドの面積は、基板全体の面積の数〜数10%になるのが一般的である。このため、第1めっき条件での第1電解めっきでは貫通電極用凹部を第1めっき膜で埋込むのに必要な電流のみを供給すればよいが、再配線や電極パッドとなる第2めっき膜を成膜する第2めっき条件での第2電解めっきを第1電解めっきと同じ電流で行うとめっき時間が長くなる。このため、第2めっき条件における平均電流値は、第1めっき条件における平均電流値よりも高いことが望ましい。
請求項5に記載の発明は、前記第2めっき条件による前記第2電解めっきで前記レジストパターンの高さの途中まで前記第2めっき膜を成長させた後、第3めっき条件での第3電解めっきを行って、前記第2めっき膜上に第3めっき膜を成長させることを特徴とする請求項1乃至4のいずれかに記載の導電材料構造体の形成方法である。
このように、第2めっき膜上に第3めっき膜を形成することで、この第3めっき膜を、チップ間を接合するための接合材料として使用することができる。この場合、電極パッドやポストを形成する第2めっき膜上に第3めっき膜を連続して形成することで、コストアップに繋がる新たなレジストパターンを設ける必要をなくすことができる。この第3めっき条件での第3電解めっきは、めっき液、電流密度その他のめっき条件をそれに好適なものとして、つまり第1めっき条件及び第2めっき条件とは異なるめっき条件で実施することが望ましい。
請求項6に記載の発明は、前記第3めっき膜は、前記第1めっき膜及び前記第2めっき膜とは異なる金属からなることを特徴とする請求項5記載の導電材料構造体の形成方法である。
第3めっき膜は、接合材料として使用され、導電性よりも接合性が優先される。このため、第1めっき膜や第2めっき膜に使われる銅などとは異なる材料、例えばスズやスズ合金などが好ましく用いられる。
請求項7に記載の発明は、前記貫通電極用凹部内への前記第1めっき膜の埋込みを該貫通電極用凹部内が第1めっき膜で完全に埋まる前に終了することを特徴とする請求項1乃至6のいずれかに記載の導電材料構造体の形成方法である。
このように、貫通電極用凹部内への第1めっき膜の埋込みを該貫通電極用凹部内が第1めっき膜で完全に埋まる前に終了することで、つまり貫通電極用凹部内が第1めっき膜で完全に埋まる前の第1めっき膜の上面に多少なりとも凹形状が残っている段階でめっき条件を第1めっき条件から第2めっき条件に変更することで、第1めっき膜の中央部分が盛り上がった形状になって、第2めっき条件による第2電解めっきで第2めっき膜を形成した時に、第2めっき膜の貫通電極用凹部の中心に相当する部位の膜厚のみが他の部分に比べて厚いものとなってしまうことを防止することができる。
請求項8に記載の発明は、前記貫通電極用凹部内が前記第1めっき膜で完全に埋まる前に、第1電流値より低い第2電流値よる所定時間のめっきを少なくとも1回行うことを特徴とする請求項1記載の導電材料構造体の形成方法である。
このように、貫通電極用凹部内が第1めっき膜で完全に埋まる前に、第1電流値より低い第2電流値よる所定時間のめっきを行うことで、貫通電極用凹部の内部でのイオンの消耗の回復を待つことができる。
請求項10に記載の発明は、めっき液を前記基板表面に対して略平行に移動する攪拌パドルで流動させつつめっきを行うことを特徴とする請求項1乃至8のいずれかに記載の導電材料構造体の形成方法である。
前述のように、レジストパターンで囲まれたレジスト開口部内をめっきする場合には、レジストパターン内部でのめっき液の流速分布により、めっき膜のパターン形状の偏りが生じ平坦な表面が得られない可能性が有る。そこで、例えば、縦型めっき装置において、めっき液を上向流で供給するとともに、攪拌用パドルを基板に対して略並行に高速に往復動させてめっき液をめっき中に移動させることで、レジスト開口部内へのめっき液供給を促進し、前記パターン形状の偏りを抑制することが出来る。なお、この往復動としては、単純に行き来する場合のほかに、往復動の中心を一方に少しずつ移動しつつ往復動する方法を採用しても良い。
請求項10に記載の発明は、めっき液を前記基板表面に対して回転する攪拌パドルによって流動させつつめっきを行うことを特徴とする請求項1乃至8のいずれかに記載の導電材料構造体の形成方法である。
レジスト開口部内へのめっき液の供給を促進する方法としては、前述のような往復動する攪拌パドルによる方法のほかに、例えば噴流形式めっき装置において、めっき液を上向流で供給するとともに、基板表面に対して回転する攪拌パドルによりめっき液をめっき中に流動させることで、レジスト開口部内へのめっき液供給を促進し、前記パターン形状の偏りを抑制することも出来る。この場合には、回転中心でのめっき液の流動が相対的に低いので、回転中心を基板中心から離し、且つ基板表面に対して回転中心を少しずつ移動させることを併用することにより、基板全面での均一な液の流動状態を達成することが出来る。
本発明によれば、貫通電極による三次元積層を実現するのに使用される導電材料構造体を、現実的なコストと時間で、しかもめっき膜の面内均一性も高く形成することが出来る。更に、チップ同士の接合に必要な接合材料を同時に成膜することもできる。
以下、本発明の実施の形態を図面を参照して説明する。
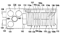
図3は、本発明の導電材料構造体の形成方法に使用されるめっき処理設備(電解銅めっき設備)の全体配置図を示す。このめっき処理設備は、基板の前処理、めっき処理及びめっきの後処理のめっき全工程を連続して自動的に行うようにしたもので、外装パネルを取付けた装置フレーム110の内部は、仕切板112によって、基板のめっき処理及びめっき液が付着した基板の処理を行うめっき空間116と、それ以外の処理、すなわちめっき液に直接には関わらない処理を行う清浄空間114に区分されている。そして、めっき空間116と清浄空間114とを仕切る仕切板112で仕切られた仕切り部には、基板ホルダ160(図4参照)を2枚並列に配置して、この各基板ホルダ160との間で基板の脱着を行う、基板受渡し部としての基板脱着台162が備えられている。清浄空間114には、基板を収納した基板カセットを載置搭載するロード・アンロードポート120が接続され、更に、装置フレーム110には、操作パネル121が備えられている。
清浄空間114の内部には、基板のオリフラやノッチなどの位置を所定方向に合わせるアライナ122と、めっき処理後の基板を洗浄し高速回転させてスピン乾燥させる2台の洗浄・乾燥装置124が配置されている。更に、これらの各処理装置、つまりアライナ122及び洗浄・乾燥装置124のほぼ中心に位置して、これらの各処理装置122,124、前記基板脱着台162及び前記ロード・アンロードポート120に搭載した基板カセットとの間で基板の搬送と受渡しを行う第1搬送ロボット128が配置されている。
清浄空間114内に配置されたアライナ122及び洗浄・乾燥装置124は、表面を上向きにした水平姿勢で基板を保持して処理する。搬送ロボット128は、表面を上向きにした水平姿勢で基板を保持して基板の搬送及び受渡しを行う。
めっき空間116内には、仕切板112側から順に、基板ホルダ160の保管及び一時仮置きを行うストッカ164、例えば基板の表面を純水で洗浄するとともに、純水で濡らして親水性を良くする水洗前処理を行う前処理装置126、例えば基板の表面に形成したシード層表面の電気抵抗の大きい酸化膜を硫酸や塩酸などの無機酸またはクエン酸やシュウ酸などの有機酸溶液でエッチング除去する活性化処理装置166、基板の表面を純水で水洗する第1水洗装置168a、めっき処理(電解銅めっき処理)を行うめっき装置(電解銅めっき装置)170、第2水洗装置168b及びめっき処理後の基板の水切りを行うブロー装置172が順に配置されている。そして、これらの装置の側方に位置して、2台の第2搬送ロボット174a,174bがレール176に沿って走行自在に配置されている。この一方の第2搬送ロボット174aは、基板脱着台162とストッカ164との間で基板ホルダ160の搬送を行う。他方の第2搬送ロボット174bは、ストッカ164、前処理装置126、活性化処理装置166、第1水洗装置168a、めっき装置170、第2水洗装置168b及びブロー装置172の間で基板ホルダ160の搬送を行う。
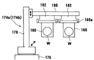
第2搬送ロボット174a,174bは、図4に示すように、鉛直方向に延びるボディ178と、このボディ178に沿って上下動自在でかつ軸心を中心に回転自在なアーム180を備えており、このアーム180に、基板ホルダ160を着脱自在に保持する基板ホルダ保持部182が2個並列に備えられている。基板ホルダ160は、表面を露出させ周縁部をシールした状態で基板Wを着脱自在に保持するように構成されている。
ストッカ164、前処理装置126、活性化処理装置166、水洗装置168a,168b及びめっき装置170は、基板ホルダ160の両端部に設けた外方に突出する突出部160aを上端部に引っ掛けて、基板ホルダ160を鉛直方向に吊り下げた状態で支持する。前処理装置126には、内部に純水を保持する2個の前処理槽127が備えられ、図4に示すように、基板Wを装着した基板ホルダ160を鉛直状態で保持した第2搬送ロボット174bのアーム180を下降させ、基板ホルダ160を前処理槽127の上端部に引っ掛けて吊下げ支持することで、基板ホルダ160を基板Wごと前処理槽127内の純水に浸漬させて前処理を行うように構成されている。活性化処理装置166には、内部に薬液を保持する2個の活性化処理槽183が備えられ、図4に示すように、基板Wを装着した基板ホルダ160を鉛直状態で保持した第2搬送ロボット174bのアーム180を下降させ、基板ホルダ160を活性化処理槽183の上端部に引っ掛けて吊下げ支持することで、基板ホルダ160を基板Wごと活性化処理槽183内の薬液に浸漬させて活性化処理を行うように構成されている。
同様に、水洗装置168a,168bには、内部に純水を保持した各2個の水洗槽184a,184bが、めっき装置170には、内部にめっき液を保持した複数のめっき槽186がそれぞれ備えられ、前述と同様に、基板ホルダ160を基板Wごとこれらの水洗槽184a,184b内の純水またはめっき槽186内のめっき液に浸漬させることで、水洗処理やめっき処理が行われるように構成されている。またブロー装置172は、基板Wを装着した基板ホルダ160を鉛直状態で保持した第2搬送ロボット174bのアーム180を下降させ、この基板ホルダ160に装着した基板Wにエアーや不活性ガスを吹きかけることで、基板のブロー処理を行うように構成されている。
めっき装置170は、図5に示すように、内部に一定量のめっき液Qを保持するめっき槽186が備えられ、このめっき液Q中に、基板ホルダ160で周縁部を水密的にシールし表面(被めっき面)を露出させて保持した基板Wを浸漬させて垂直に配置するようになっている。めっき液Qとして、この例では、銅イオン、支持電解質及びハロゲンイオンの他に、更に有機イオウ化合物、高分子化合物及び有機窒素化合物のうち少なくとも一つを含んだめっき液が使用される。支持電解質としては硫酸が、ハロゲンイオンとしては塩素が好ましく用いられる。
めっき槽186の上方外周には、めっき槽186の縁から溢れ出ためっき液Qを受け止めるオーバーフロー槽200が備えられている。オーバーフロー槽200の底部には、ポンプ202を備えた循環配管204の一端が接続され、循環配管204の他端は、めっき槽186の底部に設けられためっき液供給口186aに接続されている。これにより、オーバーフロー槽200内に溜まっためっき液Qは、ポンプ202の駆動に伴ってめっき槽186内に還流される。循環配管204には、ポンプ202の下流側に位置して、めっき液Qの温度を調節する恒温ユニット206と、めっき液内の異物をフィルタリング(除去)するフィルタ208が介装されている。
更に、めっき槽186の底部には、内部に多数のめっき液流通口を有する底板210が配置されている。これによって、めっき槽186の内部は、上方の基板処理室214と下方のめっき液分散室212に区画されている。更に、底板210には、下方に垂下する遮蔽板216が取付けられている。
これによって、この例のめっき装置170では、めっき液Qは、ポンプ202の駆動に伴ってめっき槽186のめっき液分散室212に導入され、底板210に設けられた多数のめっき液流通口を通過して基板処理室214内に流入し、基板ホルダ160で保持された基板Wの表面に対して略平行に上方に向けて流れてオーバーフロー槽200内に流出するようになっている。
めっき槽186の内部には、基板Wの形状に沿った円板状のアノード220がアノードホルダ222に保持されて垂直に設置されている。このアノード220は、めっき槽186内にめっき液Qを満たした時に、このめっき液Q中に浸漬され、基板ホルダ160で保持してめっき槽186内の所定の位置に配置される基板Wと対面する。更に、めっき槽186の内部には、アノード220とめっき槽186内の所定の位置に配置される基板ホルダ160との間に位置して、めっき槽186内の電位分布を調整する調整板(レギュレーションプレート)224が配置されている。調整板224は、この例では、筒状部226と矩形状のフランジ部228からなり、材質として、誘電体である塩化ビニールを用いている。筒状部226は、電場の拡がりを十分制限できるような開口の大きさ、及び軸心に沿った長さを有している。調整板224のフランジ部228の下端は、底板210に達している。
めっき槽186の内部には、めっき槽186内の所定の位置に配置される基板ホルダ160と調整板224との間に位置して、鉛直方向に延び、基板Wと平行に往復動して、基板ホルダ160と調整板224との間のめっき液Qを攪拌する攪拌パドル232が配置されている。このように、めっき液Qを攪拌パドル232で攪拌することで、十分な銅イオンを基板Wの表面に均一に供給することができる。攪拌パドル232と基板Wの表面との間隔は、攪拌パドル232による十分な撹拌効果を得るために、攪拌パドル232が基板ホルダ160と接触することなく、かつ、30mm以下であることが好ましく、15mm以下であることが更に好ましい。
攪拌パドル232は、図6及び図7に示すように、板厚tが3〜5mmの一定の厚みを有する矩形板状部材で構成され、内部に複数の長穴232aを平行に設けることで、鉛直方向に延びる複数の格子部232bを有するように構成されている。攪拌パドル232の材質は、例えばチタンにテフロン(登録商標)コートを施したものである。攪拌パドル232の垂直方向の長さL及び長孔232aの長さ方向の寸法Lは、基板Wの垂直方向の寸法よりも十分に大きくなるように設定されている。また、攪拌パドル232の横方向の長さHは、攪拌パドル232の往復運動の振幅(ストローク)と合わせた長さが基板Wの横方向の寸法よりも十分に大きくなるように設定されている。
長穴232aの幅及び数は、長穴232aと長孔232aの間の格子部232bが効率良くめっき液を攪拌し、長穴232aをめっき液が効率良く通り抜けるように、格子部232bが必要な剛性を有する範囲で格子部232bが可能な限り細くなるように決めることが好ましい。
この例では、図7に示すように、各格子部232bの横断面が長方形になるように長穴232aを垂直に開けている。図8(a)に示すように、格子部232bの横断面の四隅に面取りを施してもよく、また図8(b)に示すように、格子部232bの横断面が平行四辺形になるように格子部232bに角度を付けても良い。
図9に示すように、攪拌パドル232は、攪拌パドル232の上端に固着したクランプ236によって、水平方向に延びるシャフト238に固定され、シャフト238は、シャフト保持部240に保持されつつ左右に摺動できるようになっている。シャフト238の端部は、攪拌パドル232を左右に直進往復運動させるパドル駆動部242に連結され、パドル駆動部242は、モータ244の回転をクランク機構(図示せず)によりシャフト238の直進往復運動に変換する。この例では、パドル駆動部242のモータ244の回転速度を制御することにより、攪拌パドル232の移動速度を制御する制御部246が備えられている。なお、パドル駆動部の機構は、クランク機構だけでなく、ボールねじによりサーボモータの回転をシャフトの直進往復運動に変換するようにしたものや、リニアモータによってシャフトを直進往復運動させるようにしたものでも良い。攪拌パドル232の移動速度は、攪拌パドル232による十分な撹拌効果を得るために、0.2m/sec以上であることが好ましく、0.5以上であることが更に好ましい。攪拌パドル232の移動速度は、装置設計の観点から、一般的には2.0m/sec以下である。
めっき装置170には、めっき時に陽極が導線を介してアノード220に、陰極が導線を介して基板Wにそれぞれ接続されるめっき電源250が備えられている。この例では、めっき電源250として、供給電流として10倍以上のレンジを持つものが使用されている。
このめっき装置170によれば、先ず、めっき槽186の内部に所定の組成を有する所定量のめっき液Qを満たし循環させておく。そして、基板Wを保持した基板ホルダ160を下降させて、基板Wをめっき槽186内のめっき液Qに浸漬した所定の位置に配置し、めっき電源250の陽極をアノード220に、陰極を基板Wにそれぞれ接続する。この状態で、必要に応じて、攪拌パドル232を基板Wと平行に移動させて、調整板224と基板Wとの間のめっき液Qを攪拌パドル232で攪拌し、これによって、基板Wの表面にめっき膜を成長させる。また、必要に応じて循環配管204のポンプ202を駆動して、めっき槽186内のめっき液Qを循環させつつ冷却して所定の温度に維持する。そして、所定時間経過後、アノード220と基板Wとの間への電圧の印加を停止し、攪拌パドル232の往復動を停止させてめっきを終了する。
次に、本発明の実施の形態の導電材料構造体の形成方法を説明する。
図10及び図11は、基板の内部に上下に貫通する銅からなる貫通電極を、基板表面に銅からなる電極パッドをそれぞれ有する導電材料構造体の製造例を工程順に示す。先ず、図10(a)に示すように、例えばリソグラフィ・エッチング技術により、シリコン等からなる基材10の内部に上方に開口する複数の貫通電極用凹部12を形成した基板Wを用意し、この基板Wの表面の貫通電極用凹部12の表面を含む全表面に電解めっきの給電層としての銅からなるシード膜(導電膜)14をスパッタリング等で形成する。
次に、図10(b)に示すように、基板Wの表面の所定位置にフォトレジスト等によるレジストパターン30を形成する。この例にあっては、基板Wの表面に銅からなる電極パッド42(図11(b)参照)を形成するようにしている。このため、図12(a)に示すように、レジストパターン30のレジスト開口部32は、貫通電極用凹部12の直上方に位置し、該凹部12より大きな電極パッドの形状に沿った、例えば矩形状または円形状となる。
なお、基板Wの表面に電極パッドの位置を再配置する再配線を形成する場合には、図12(b)に示すように、レジストパターン30aのレジスト開口部32aは、貫通電極用凹部12の上方に位置する電極パッド部34aと該電極パッド部34aから延びる配線部34bを有する、再配線に沿った形状となる。
このレジストパターン30の高さhは、5μm〜100μmであることが好ましい。つまり、下記のように、レジスト開口部32内に成膜する第2めっき膜38で電極パッドや再配線を形成するのであるが、再配線の場合、信号の周波数や供給する電流値などを考慮すると、その厚さを少なくとも5μm程度とする必要があり、電極パッドやポストの場合、その後の接合条件を勘案すると、その厚さを数10μmとすることが望ましい。更に、下記のように、第2めっき膜の上に成膜した第3めっき膜で接合用のはんだ等の接合材料を形成しようとすると、レジストパターン30に更に数10μm程度の高さが加わる。このため、レジストパターン30の高さを、少なくとも5μm以上で、100μm程度以下とすることで、レジスト開口部32内に十分な膜厚を有する第2めっき膜38、更には第3めっき膜44を形成することができる。
次に、図10(c)に示すように、シード膜14を給電層として該シード層14とアノードとの間に所定のめっき電流を流す第1めっき条件で第1電解めっきを行って、貫通電極用凹部12内に第1めっき膜36を埋込む。この時、貫通電極用凹部12以外のレジスト開口部内に位置するシード膜14の表面にも第1めっき膜が成膜されても良い。
この場合、貫通電極用凹部12のアスペクト比は1以上であり、貫通電極用凹部12の側面にも給電層としてのシード膜14が存在するので、貫通電極用凹部12の底部からのめっき膜の成長を優先するボトムアップ成長の条件で第1めっき膜36を成膜しないと、貫通電極用凹部12の入口でのめっき膜の成長が優先され、貫通電極用凹部12内に埋込まれる第1めっき膜36にボイドやシームなどのめっき欠陥を生じる。このため、第1めっき条件での第1電解めっきに際しては、例えば貫通電極用凹部12の入口部分でのめっき膜の成長を抑制するための添加剤の性能を高めためっき液を用いるとともに、当初はある程度の電流でめっきを行った後、一旦電流値を下げて、貫通電極用凹部12の内部での銅イオンの消耗の回復を待つことを繰返すなど、いくつかの条件を最適化する必要がある。
この時、シード膜14とアノードとの間に、図13(a)に示すように、一定電流を流すようにしても、図13(b)に示すように、時間の経過と共に電流が大きくなるステップ電流と流すようにしてもよく、更に図13(c)に示すように、電流の供給と停止を繰返すパルス電流を流すようにしてもよい。
第1電解めっきの電流密度は、ボトムアップ成長を促すため、平均電流密度として、0.1mA/cm〜10mA/cmであることが好ましく、0.1mA/cm〜5mA/cmであることが更に好ましい。第1電解めっきの電流密度が0.1mA/cm以下になると貫通電極用凹部12内を第1めっき膜で埋めるためのめっき時間が長くなり、生産性が悪くなる。
そして、貫通電極用凹部12内への第1めっき膜36の埋込みが終了した後に、シード膜14及び第1めっき膜36を給電層とした第2めっき条件で第2電解めっきを行うのであるが、貫通電極用凹部12内への第1めっき膜36の埋込みを該貫通電極用凹部12内が第1めっき膜36で完全に埋まる前に終了することが好ましい。
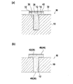
つまり、貫通電極用凹部12の第1めっき膜36による埋込みには、前述のように、いわゆるボトムアップめっきが適用されるが、ボトムアップめっきで貫通電極用凹部12内に第1めっき膜36を完全に埋込むと、図14(a)に示すように、第1めっき膜36は、一般に、その表面36aの中央部分が盛り上がった形状となる。これは貫通電極用凹部12の中心からのめっき膜の成長を促進する添加剤の効果によるところであるが、この効果は、第1電解めっきが終了した後、第2めっき条件による第2電解めっきを行っても、暫くの間に亘って継続する傾向にある。このため、貫通電極用凹部12に第1めっき膜36を完全に埋込んだ後に、下記のように、第2めっき条件による第2電解めっきで第2めっき膜38を形成すると、第2めっき膜38の貫通電極用凹部12の中心に相当する部位の膜厚のみが他の部分に比べて厚いものとなってしまう。このような局所的なめっき膜厚のばらつきは、その後の接合などに問題を生じるので、事前に矯正しておく必要がある。
このため、貫通電極用凹部12内への第1めっき膜36の埋込みを該貫通電極用凹部12内が第1めっき膜36で完全に埋まる前に終了することで、つまり、図14(b)に示すように、貫通電極用凹部12内が第1めっき膜36で完全に埋まる前の第1めっき膜36の表面36aに多少なりとも凹形状が残っている段階で、めっき条件を第1めっき条件から第2めっき条件に変更することで、第1めっき膜36がその中央部分が盛り上がった形状になることを防止することができる。
なお、下記のように、第2めっき条件での第2電解めっきで形成される第2めっき膜38は、電極パッドや再配線部分を形成するものであるので、基板全面で均一な膜厚のめっき膜を成膜するような条件で成膜される。従って、第1めっき膜36の表面36aに多少凹形状が残っている状態でも、レジスト開口部32のアスペクトが2以下、好ましくは1以下であれば、レジスト開口部32内に表面が平坦な第2めっき膜38を成膜することができる。
第2めっき条件による第2電解めっきでは、シード膜14及び第1めっき膜36を給電層として、図11(a)に示すように、レジストパターン30のレジスト開口部32内に露出したシード層14及び第1めっき膜36上に第2めっき膜38を成長させる。
この場合、レジストパターン30で囲まれたレジスト開口部32の底部にのみ給電層となるシード膜14及び第1めっき膜36が存在し、このためスルーマスクめっきとなり、そのまま電解めっきを行うとレジスト開口部32の底部から第2めっき膜38が成長する。このため、第2めっき膜38にボイドやシームなどのような欠陥が生じる懸念は少ない。しかし、レジストパターン30の内部でのめっき液の流速分布により、第2めっき膜38のパターン形状の偏りが生じる可能性がある。この現象は、めっき速度に対して必ずしも十分な銅イオンの供給が出来ない場合、即ち拡散律速領域でめっきする場合に起こりやすい。したがって、この場合は、めっき液の組成や電流密度よりも、機械的攪拌や空気攪拌などめっき液の流動条件の最適化が重要な要素となる。
空気攪拌とは、めっき処理中に攪拌パドルを基板と平行に移動させてめっき液を攪拌するのと同時に、例えば空気や窒素からなるバブルをめっき液中に供給して、めっき液中に供給されたバブルが基板表面の全域に沿って流れるようにすることである。
このため、この例では、めっき槽186内にめっき液を上向流で供給するとともに、攪拌用パドル232を基板Wに対して略並行に高速に往復動させてめっき液をめっき中に移動させることで、レジスト開口部32内へのめっき液供給を促進し、パターン形状の偏りを抑制することができる。なお、この攪拌パドル232の往復動としては、単純に行き来する場合のほかに、往復動の中心を一方に少しずつ移動しつつ往復動する方法を採用しても良い。
この例では、攪拌用パドル232を基板Wに対して略並行に高速に往復動させてめっき液をめっき中に移動させるようにしているが、例えば噴流形式めっき装置において、めっき液を上向流で供給するとともに、基板表面に対して回転する攪拌パドルによりめっき液をめっき中に流動させることで、レジスト開口部内へのめっき液供給を促進し、前記パターン形状の偏りを抑制するようにしてもよい。この場合には、回転中心でのめっき液の流動が相対的に低いので、回転中心を基板中心から離し、且つ基板表面に対して回転中心を少しずつ移動させることを併用することにより、基板全面での均一な液の流動状態を達成することが出来る。
以上のように、この例によれば、第1めっき条件で第1電解めっきを行って、貫通電極用凹部12内に第1めっき膜36を埋込み、しかる後、第2めっき条件で第2電解めっきを行って、基板表面の所定位置に形成したレジストパターン30のレジスト開口部32内に第2めっき膜38を成長させることで、それぞれの形状に好適なめっき条件、例えば電流値、めっき液、めっき液の攪拌条件などを最適化して、第1めっき膜36及び第2めっき膜38の完全性ならびに成膜効率を上げることができる。しかも、予め基板Wの表面にレジストパターン30を形成しておいてから、貫通電極用凹部12内に第1めっき膜36を埋込む第1電解めっきと、レジストパターン30のレジスト開口部32内に第2めっき膜38を成長させる第2電解めっきを連続して行うことで、めっき時間を短縮して、生産性を向上させることができる。
ここで、貫通電極用凹部12全体の面積は、デバイス部分の面積を確保するという観点から基板全体の面積のせいぜい1%程度であって数%を超えることはない。一方、再配線や電極パッドの面積は、基板全体の面積の数〜数10%になるのが一般的である。このため、第1めっき条件での第1電解めっきでは貫通電極用凹部12を第1めっき膜36で埋込むのに必要な電流のみを供給すればよいが、再配線や電極パッドとなる第2めっき膜38を成膜する第2めっき条件での第2電解めっきを第1電解めっきと同じ電流で行うとめっき時間が長くなる。このため、第2めっき条件における平均電流値は、第1めっき条件における平均電流値よりも高いことが望ましい。
一般的には、被めっき面積に応じて電流値を上げることが望まれるので、第2めっき条件の平均電流値は、第1めっき条件の平均電流値の少なくとも2倍以上、一般には10倍程度であることが望ましい。したがって、第1電解めっきと第2電解めっきを1つのめっき槽で連続的に行う場合、めっき装置に搭載するめっき電源は、供給電流として10倍以上のレンジを持つものであることが望まれる。なお、前述のように、第1めっき条件での第1電解めっきでは、ステップ電流やパルス電流を使用することも出来るが、その際にも、第2めっき条件での第2電解めっきにおける平均電流値は、第1めっき条件での第2電解めっきにおける平均電流値以上とすることが望まれる。
なお、貫通電極用凹部12内に埋込まれる第1めっき膜36は、下記のように、半導体チップ同士を最短距離で接合して更なる高速化、小型化を実現する貫通電極として使用される。このため、第1めっき膜36は、導電性が高く電気抵抗の低いものであることが望まれる。そのようなものとしては、金、銀または銅などが考えられるが、ボトムアップめっきが工業的に可能なものは銅をベースとするめっきのみであり、またコスト的に見ても、少なくとも第1めっき条件で成膜する第1めっき膜36は、銅または銅合金からなることが好適である。
また第2めっき条件で成膜される第2めっき膜38については、第1めっき条件の第1電解めっきで成膜する第1めっき膜36と同じ金属を連続して成膜できることが生産性の点から合理的であり、かつここでも出来るだけ導電性の高い金属であることが望ましい。従って、第2めっき膜38も、銅または銅合金からなることが好適である。
次に、図11(b)に示すように、基板Wの表面の余剰なシード膜14及びレジストパターン30を除去し、同時に、貫通電極用凹部12内に埋込んだ第1めっき膜36の底面が外部に露出するまで基板Wの裏面側を研磨除去する。これによって、貫通電極用凹部12内に埋込んだ第1めっき膜36で上下に貫通する銅からなる複数の貫通電極40を、レジストパターン30のレジスト開口部32内に成膜した第2めっき膜38で電極パッド42をそれぞれ形成した導電材料構造体を完成させる。この電極パッド42の厚さは、例えば数十μmである。
図15は、本発明の他の実施の形態における導電材料構造体の製造例を工程順に示す。前述の例と同様にして、図10(c)に示すように、第1めっき条件による第1電解めっきで貫通電極用凹部12内に第1めっき膜36を埋込む。そして、第2条件で第2電解めっきを行って、図15(a)に示すように、レジストパターン30の高さの途中まで第2めっき膜38を成長させ、更に、第3めっき条件での第3電解めっきを行って、第2めっき膜38上に第3めっき膜44を成長させる。
この第3めっき膜44は、下記のようにチップ間を接合するための接合材料としての接合層46として使用するものである。電極パッドやポストを形成する第2めっき膜38上に第3めっき膜44を連続して形成することで、コストアップに繋がる、接合層を形成するための新たなレジストパターンを設ける必要をなくすことができる。この第3めっき条件での第3電解めっきは、めっき液、電流密度その他のめっき条件をそれに好適なものとして、つまり第1めっき条件及び第2めっき条件とは異なるめっき条件で実施することが望ましい。
また、第3めっき膜44は、前述のように、接合材料として使用されるため、導電性よりも接合性が優先される。このため、第1めっき膜36や第2めっき膜38に使われる銅などとは異なる材料、例えばスズやスズ合金などが好ましく用いられる。
次に、図15(b)に示すように、基板Wの表面の余剰なシード膜14及びレジストパターン30を除去し、同時に、貫通電極用凹部12内に埋込んだ第1めっき膜36の底面が外部に露出するまで基板Wの裏面側を研磨除去する。これによって、貫通電極用凹部12内に埋込んだ第1めっき膜36で上下に貫通する銅からなる複数の貫通電極40を、レジストパターン30のレジスト開口部32内に成膜した第2めっき膜38で電極パッド42を、第2めっき膜38上に成膜した第3めっき膜44で接合材料としての接合層46をそれぞれ形成した導電材料構造体を完成させる。この接合層46の厚さは、例えば数十μmである。
次に、図3に示すめっき処理設備(電解銅めっき処理設備)を使用して、図10(c)に示す第1めっき膜36と図11(a)に示す第2めっき膜38を連続して形成する処理について説明する。
先ず、図10(b)に示すように、シリコン等からなる基材10内部に、上方に開口する複数の貫通電極用凹部12を形成し、更に全表面に電解めっきの給電層としてのシード層(導電膜)14を形成した基板Wを用意する。そして、この基板Wをその表面(被めっき面)を上にした状態で基板カセットに収容し、この基板カセットをロード・アンロードポート120に搭載する。
このロード・アンロードポート120に搭載した基板カセットから、第1搬送ロボット128で基板Wを1枚取出し、アライナ122に載せて基板Wのオリフラやノッチなどの位置を所定の方向に合わせる。一方、基板脱着台162にあっては、ストッカ164内に鉛直姿勢で保管されていた基板ホルダ160を第2搬送ロボット174aで取出し、これを90゜回転させた水平状態にして基板脱着台162に2個並列に載置する。
そして、アライナ122に載せてオリフラやノッチなどの位置を所定の方向に合わせた基板Wを第1搬送ロボット128で搬送し、基板脱着台162に載置された基板ホルダ160に周縁部をシールして装着する。そして、この基板Wを装着した基板ホルダ160を第2搬送ロボット174aで2基同時に把持し、上昇させた後、ストッカ164まで搬送し、90゜回転させて基板ホルダ160を垂直な状態となし、しかる後、下降させ、これによって、2基の基板ホルダ160をストッカ164に吊下げ保持(仮置き)する。これを順次繰返して、ストッカ164内に収容された基板ホルダ160に順次基板を装着し、ストッカ164の所定の位置に順次吊り下げ保持(仮置き)する。
一方、第2搬送ロボット174bにあっては、基板を装着しストッカ164に仮置きした基板ホルダ160を2基同時に把持し、上昇させた後、前処理装置126に搬送する。そして、この前処理装置126で、前処理槽127内に入れた純水等の前処理液に基板Wを浸漬させて前処理(水洗前処理)を施す。このとき使用する前処理液としての純水は、純水中の溶存酸素濃度を真空脱気装置や不活性ガスの導入により制御し、好ましくは2mg/L以下とする。次に、この基板を装着した基板ホルダ160を、前記と同様にして、活性化処理装置166に搬送し、活性化処理槽183に入れた硫酸や塩酸などの無機酸またはクエン酸やシュウ酸などの有機酸溶液に基板を浸漬させてシード層表面の電気抵抗の大きい酸化膜をエッチングし、清浄な金属面を露出させる。このときに使用する酸溶液は前記前処理用の純水と同様に酸溶液中の溶存酸素濃度を制御することができる。更に、この基板を装着した基板ホルダ160を、前記と同様にして、第1水洗装置168aに搬送し、この水洗槽184aに入れた純水で基板の表面を水洗する。
水洗が終了した基板を装着した基板ホルダ160を、前記と同様にしてめっき装置170に搬送し、めっき槽186内のめっき液188に浸漬させた状態でめっき槽186に吊り下げ支持することで、基板Wの表面にめっき処理を施す。
なお、基板ホルダ160で保持した基板Wをめっき液188に浸漬させた後、第1めっき条件で第1電解めっきを開始する前に、貫通電極用凹部12内部に残った水洗水とめっき液を置換させるための無通電浸漬時間を設けてもよい。但し、この無通電浸漬時間が長過ぎるとめっき液によってシード層が溶解されてしまうので、無通電浸漬時間は1分以下とするのが好ましい。
この時、前述のように、先ず第1めっき条件での第1電解めっきを行って、図10(c)に示すように、貫通電極用凹部12の内部に第1めっき膜36を埋込む。この第1めっき条件は、貫通電極用凹部12の底部からのめっき膜の成長を優先するボトムアップ成長の条件である。そして、貫通電極用凹部12内への第1めっき膜36の埋込みが終了した後に、第1めっき条件から第2めっき条件に代え、第2めっき条件で第2電解めっきを行って、図11(a)に示すように、レジストパターン30のレジスト開口部32内に露出した導電膜12及び第1めっき膜36上に第2めっき膜38を成長させる。この第2めっき条件は、例えば第1めっき条件よりも平均電流値が2倍以上、一般には10倍以上高く、めっき液Qを攪拌する攪拌パドル232の動きを最適化した条件である。
なお、組成の異なるめっき液を使用して、第1めっき条件での第1電解めっきと第2めっき条件での第2電解めっきを行うようにしてもよい。
そして、めっき終了後、基板を装着した基板ホルダ160を第2搬送ロボット174bで再度保持してめっき槽186から引き上げてめっき処理を終了する。
そして、前述と同様にして、基板ホルダ160を第2水洗装置168bまで搬送し、この水洗槽184bに入れた純水に浸漬させて基板の表面を純水洗浄する。しかる後、この基板を装着した基板ホルダ160を、前記と同様にして、ブロー装置172に搬送し、ここで、不活性ガスやエアーを基板に向けて吹き付けて、基板ホルダ160に付着しためっき液や水滴を除去する。しかる後、この基板を装着した基板ホルダ160を、前記と同様にして、ストッカ164の所定の位置に戻して吊下げ保持する。
第2搬送ロボット174bは、上記作業を順次繰り返し、めっきが終了した基板を装着した基板ホルダ160を順次ストッカ164の所定の位置に戻して吊下げ保持する。一方、第2搬送ロボット174aにあっては、めっき処理後の基板を装着しストッカ164に戻した基板ホルダ160を2基同時に把持し、前記と同様にして、基板脱着台162上に載置する。
そして、清浄空間114内に配置された第1搬送ロボット128は、この基板脱着台162上に載置された基板ホルダ160から基板を取出し、いずれかの洗浄・乾燥装置124に搬送する。そして、この洗浄・乾燥装置124で、表面を上向きにして水平に保持した基板を、純水等で洗浄し、高速回転させてスピン乾燥させた後、この基板を第1搬送ロボット128でロード・アンロードポート120に搭載した基板カセットに戻して、一連のめっき処理を完了する。これにより、図11(a)に示すように、貫通電極用凹部12内に貫通電極40を形成する第1めっき膜36を埋込み、レジストパターン30のレジスト開口部32内に電極パッド42を形成する第2めっき膜38を成膜した基板Wが得られる。
なお、図15に示すように、第3めっき条件での第3電解めっきで第2めっき膜38上に第3めっき膜44を成膜する場合には、前述のようにして第2めっき膜38を成膜した基板Wを他の電解めっき装置に搬送し、この他の電解めっき装置で第3めっき膜44を成膜する。
これまで本発明の実施の形態について説明したが、本発明は上述の実施形態に限定されず、その技術思想の範囲内において、種々の異なる形態で実施されてよいことは勿論である。
従来の内部に上下に貫通する貫通電極を有する導電材料構造体の製造例の研磨工程までを工程順に示す図である。 図1の研磨工程の後を工程順に示す図である。 本発明に使用されるめっき装置(電解めっき装置)を備えためっき処理設備の全体配置図である。 図3に示すめっき処理設備に備えられている搬送ロボットの概要図である。 図3に示すめっき処理設備に備えられているめっき装置の概略断面図である。 図5に示すめっき装置の攪拌パドルを示す平面図である。 図6のA−A線断面図である。 それぞれ異なる攪拌パドルの変形例を示す図7相当図である。 図5に示すめっき装置のパドル駆動機構をめっき槽と共に示す概略図である。 本発明の実施の形態における導電材料構造体の製造例の第1めっき膜成膜時までを工程順に示す図である。 図10の第1めっき膜成膜後を工程順に示す図である。 図12(a)は、図10(b)の平面図を示し、図12(b)は、異なるレジストパターンの平面図を示す。 第1めっき条件の第1電解めっき時に供給する電流値と時間とのそれぞれ異なる関係を示すグラフである。 図14(a)は、貫通電極用凹部内に第1めっき膜を完全に埋込んだ状態を示し、図14(b)は、貫通電極用凹部内が第1めっき膜で完全に埋まる前の状態を示す。 本発明の他の実施の形態における導電材料構造体の製造例の第1めっき膜成膜後を工程順に示す図である。
符号の説明
12 貫通電極用凹部
14 シード膜(導電膜)
30 レジストパターン
32 レジスト開口部
36 第1めっき膜
38 第2めっき膜
40 貫通電極
42 電極パッド
44 第3めっき膜
46 接合層
124 洗浄・乾燥装置
126 前処理装置
160 基板ホルダ
164 ストッカ
166 活性化処理装置
168a,168b 水洗装置
170 めっき装置
172 ブロー装置
186 めっき槽
220 アノード
224 調整板
232 攪拌パドル
250 めっき電源

Claims (10)

  1. 貫通電極用凹部を形成した基板の表面の該凹部表面を含む全表面に導電膜を形成し、
    基板表面の所定位置にレジストパターンを形成し、
    前記導電膜を給電層とした第1めっき条件で第1電解めっきを行って前記貫通電極用凹部内に第1めっき膜を埋込み、
    前記貫通電極用凹部内への前記第1めっき膜の埋込みが終了した後に、前記導電膜及び前記第1めっき膜を給電層とした第2めっき条件で第2電解めっきを行って、前記レジストパターンのレジスト開口部内に露出した導電膜及び前記第1めっき膜上に第2めっき膜を成長させることを特徴とする導電材料構造体の形成方法。
  2. 前記レジストパターンの高さは、5μm〜100μmであることを特徴とする請求項1記載の導電材料構造体の形成方法。
  3. 前記第1めっき膜及び前記第2めっき膜は、銅または銅合金からなることを特徴とする請求項1または2記載の導電材料構造体の形成方法。
  4. 前記第2めっき条件における平均電流値は、前記第1めっき条件における平均電流値よりも高いことを特徴とする請求項1乃至3のいずれかに記載の導電材料構造体の形成方法。
  5. 前記第2めっき条件による前記第2電解めっきで前記レジストパターンの高さの途中まで前記第2めっき膜を成長させた後、第3めっき条件での第3電解めっきを行って、前記第2めっき膜上に第3めっき膜を成長させることを特徴とする請求項1乃至4のいずれかに記載の導電材料構造体の形成方法。
  6. 前記第3めっき膜は、前記第1めっき膜及び前記第2めっき膜とは異なる金属からなることを特徴とする請求項5記載の導電材料構造体の形成方法。
  7. 前記貫通電極用凹部内への前記第1めっき膜の埋込みを該貫通電極用凹部内が第1めっき膜で完全に埋まる前に終了することを特徴とする請求項1乃至6のいずれかに記載の導電材料構造体の形成方法。
  8. 前記貫通電極用凹部内が前記第1めっき膜で完全に埋まる前に、第1電流より低い第2電流よる所定時間のめっきを少なくとも1回行うことを特徴とする請求項1記載の導電材料構造体の形成方法。
  9. めっき液を前記基板表面に対して略平行に移動する攪拌パドルで流動させつつめっきを行うことを特徴とする請求項1乃至8のいずれかに記載の導電材料構造体の形成方法。
  10. めっき液を前記基板表面に対して回転する攪拌パドルによって流動させつつめっきを行うことを特徴とする請求項1乃至8のいずれかに記載の導電材料構造体の形成方法。
JP2008170361A 2007-12-04 2008-06-30 導電材料構造体の形成方法 Active JP5281831B2 (ja)

Priority Applications (7)

Application Number Priority Date Filing Date Title
JP2008170361A JP5281831B2 (ja) 2008-06-30 2008-06-30 導電材料構造体の形成方法
US12/314,080 US8784636B2 (en) 2007-12-04 2008-12-03 Plating apparatus and plating method
KR1020080121666A KR20090058462A (ko) 2007-12-04 2008-12-03 도전재료 구조체의 형성방법 및 도금장치 및 도금방법
TW097147072A TWI451006B (zh) 2007-12-04 2008-12-04 導電性結構之形成方法、鍍覆裝置及鍍覆方法
TW103126362A TWI518213B (zh) 2007-12-04 2008-12-04 導電性結構之形成方法
US14/299,306 US20140287580A1 (en) 2007-12-04 2014-06-09 Method for forming conductive structure, and plating apparatus and plating method
KR20140128587A KR20140120878A (ko) 2007-12-04 2014-09-25 도전재료 구조체의 형성방법 및 도금장치 및 도금방법

Applications Claiming Priority (1)

Application Number Priority Date Filing Date Title
JP2008170361A JP5281831B2 (ja) 2008-06-30 2008-06-30 導電材料構造体の形成方法

Related Child Applications (1)

Application Number Title Priority Date Filing Date
JP2013110550A Division JP2013168679A (ja) 2013-05-27 2013-05-27 導電材料構造体の形成方法

Publications (3)

Publication Number Publication Date
JP2010010557A true JP2010010557A (ja) 2010-01-14
JP2010010557A5 JP2010010557A5 (ja) 2010-10-28
JP5281831B2 JP5281831B2 (ja) 2013-09-04

Family

ID=41590661

Family Applications (1)

Application Number Title Priority Date Filing Date
JP2008170361A Active JP5281831B2 (ja) 2007-12-04 2008-06-30 導電材料構造体の形成方法

Country Status (1)

Country Link
JP (1) JP5281831B2 (ja)

Cited By (9)

* Cited by examiner, † Cited by third party
Publication number Priority date Publication date Assignee Title
JP2012132058A (ja) * 2010-12-21 2012-07-12 Ebara Corp 電気めっき方法
JP2012231096A (ja) * 2011-04-27 2012-11-22 Elpida Memory Inc 半導体装置及びその製造方法
JP2013115350A (ja) * 2011-11-30 2013-06-10 Fujitsu Semiconductor Ltd 半導体装置の製造方法
KR20140105766A (ko) * 2011-11-18 2014-09-02 알쉬메 관통 비아 구조와 같은 반-도전성 또는 도전성 기판의 캐비티를 도금하기에 적합한 기계
JP2015532010A (ja) * 2012-09-07 2015-11-05 アール アンド ディー サーキッツインコーポレイテッドR & D Circuits Inc. 導体パッドをプリント回路基板にゼロ・アンダーカット技術を用いて形成するための方法及び構造
JP2016151028A (ja) * 2015-02-16 2016-08-22 株式会社村田製作所 電解めっき装置
JP2018127649A (ja) * 2017-02-06 2018-08-16 株式会社荏原製作所 パドル、該パドルを備えためっき装置、およびめっき方法
US10672659B2 (en) 2017-02-28 2020-06-02 Canon Kabushiki Kaisha Electronic component manufacturing method
JP2023523946A (ja) * 2020-04-30 2023-06-08 ラム リサーチ コーポレーション ウエハエッジにおける材料特性を維持するためのリップシールエッジエクスクルージョン処理

Citations (6)

* Cited by examiner, † Cited by third party
Publication number Priority date Publication date Assignee Title
JPH1171696A (ja) * 1997-08-29 1999-03-16 Yuken Kogyo Kk 二次成形品の電気亜鉛めっき法
JP2004349593A (ja) * 2003-05-26 2004-12-09 Sanyo Electric Co Ltd 半導体装置及びその製造方法
JP2005008911A (ja) * 2003-06-16 2005-01-13 Ebara Corp めっき用処理液の撹拌方法及びめっき用処理装置
JP2007023368A (ja) * 2005-07-21 2007-02-01 Tdk Corp 多層配線基板の製造に供せられるシート、及び該シートの製造に用いられるめっき方法及びめっき装置
JP2007242693A (ja) * 2006-03-06 2007-09-20 Canon Inc 半導体装置およびその製造方法
JP2007270313A (ja) * 2006-03-31 2007-10-18 Furukawa Electric Co Ltd:The 電気めっき装置

Patent Citations (6)

* Cited by examiner, † Cited by third party
Publication number Priority date Publication date Assignee Title
JPH1171696A (ja) * 1997-08-29 1999-03-16 Yuken Kogyo Kk 二次成形品の電気亜鉛めっき法
JP2004349593A (ja) * 2003-05-26 2004-12-09 Sanyo Electric Co Ltd 半導体装置及びその製造方法
JP2005008911A (ja) * 2003-06-16 2005-01-13 Ebara Corp めっき用処理液の撹拌方法及びめっき用処理装置
JP2007023368A (ja) * 2005-07-21 2007-02-01 Tdk Corp 多層配線基板の製造に供せられるシート、及び該シートの製造に用いられるめっき方法及びめっき装置
JP2007242693A (ja) * 2006-03-06 2007-09-20 Canon Inc 半導体装置およびその製造方法
JP2007270313A (ja) * 2006-03-31 2007-10-18 Furukawa Electric Co Ltd:The 電気めっき装置

Cited By (14)

* Cited by examiner, † Cited by third party
Publication number Priority date Publication date Assignee Title
US9376758B2 (en) 2010-12-21 2016-06-28 Ebara Corporation Electroplating method
JP2012132058A (ja) * 2010-12-21 2012-07-12 Ebara Corp 電気めっき方法
JP2012231096A (ja) * 2011-04-27 2012-11-22 Elpida Memory Inc 半導体装置及びその製造方法
US9543204B2 (en) 2011-04-27 2017-01-10 Longitude Semicondutor S.A.R.L. Method for manufacturing semiconductor device
KR20140105766A (ko) * 2011-11-18 2014-09-02 알쉬메 관통 비아 구조와 같은 반-도전성 또는 도전성 기판의 캐비티를 도금하기에 적합한 기계
JP2014533887A (ja) * 2011-11-18 2014-12-15 アルキメール 貫通ビア構造等の半導電性又は導電性基板の空洞を金属化する機械
KR102031817B1 (ko) * 2011-11-18 2019-10-14 아베니 관통 비아 구조와 같은 반-도전성 또는 도전성 기판의 캐비티를 도금하기에 적합한 기계
JP2013115350A (ja) * 2011-11-30 2013-06-10 Fujitsu Semiconductor Ltd 半導体装置の製造方法
JP2015532010A (ja) * 2012-09-07 2015-11-05 アール アンド ディー サーキッツインコーポレイテッドR & D Circuits Inc. 導体パッドをプリント回路基板にゼロ・アンダーカット技術を用いて形成するための方法及び構造
JP2016151028A (ja) * 2015-02-16 2016-08-22 株式会社村田製作所 電解めっき装置
JP2018127649A (ja) * 2017-02-06 2018-08-16 株式会社荏原製作所 パドル、該パドルを備えためっき装置、およびめっき方法
US10672659B2 (en) 2017-02-28 2020-06-02 Canon Kabushiki Kaisha Electronic component manufacturing method
JP2023523946A (ja) * 2020-04-30 2023-06-08 ラム リサーチ コーポレーション ウエハエッジにおける材料特性を維持するためのリップシールエッジエクスクルージョン処理
JP7741097B2 (ja) 2020-04-30 2025-09-17 ラム リサーチ コーポレーション ウエハエッジにおける材料特性を維持するためのリップシールエッジエクスクルージョン処理

Also Published As

Publication number Publication date
JP5281831B2 (ja) 2013-09-04

Similar Documents

Publication Publication Date Title
US8784636B2 (en) Plating apparatus and plating method
JP5281831B2 (ja) 導電材料構造体の形成方法
JP5504147B2 (ja) 電気めっき方法
US12424453B2 (en) Low temperature direct copper-copper bonding
JP4805141B2 (ja) 電気めっき装置
KR20210069118A (ko) 나노쌍정 (nanotwinned) 구리 구조체들의 전착 (electrodeposition)
KR20140120878A (ko) 도전재료 구조체의 형성방법 및 도금장치 및 도금방법
JP2014201835A (ja) 電気めっき方法
JP4624738B2 (ja) めっき装置
TWI541388B (zh) 電鍍方法
JP5232844B2 (ja) めっき装置
JP2012224944A (ja) 電気めっき方法
JP4365143B2 (ja) めっき用処理液の撹拌方法及びめっき用処理装置
US20060081478A1 (en) Plating apparatus and plating method
JP5749302B2 (ja) めっき方法
JP5385669B2 (ja) めっき方法及びめっき装置
JP2013168679A (ja) 導電材料構造体の形成方法
JP5564171B2 (ja) めっき装置及びめっき方法
JP2006152415A (ja) めっき装置及びめっき方法
JP2006225715A (ja) めっき装置及びめっき方法
JP2005281720A (ja) 湿式処理方法及び装置
JP2002332589A (ja) 電解銅メッキ方法

Legal Events

Date Code Title Description
A521 Request for written amendment filed

Free format text: JAPANESE INTERMEDIATE CODE: A523

Effective date: 20100914

A621 Written request for application examination

Free format text: JAPANESE INTERMEDIATE CODE: A621

Effective date: 20100914

A977 Report on retrieval

Free format text: JAPANESE INTERMEDIATE CODE: A971007

Effective date: 20121226

A131 Notification of reasons for refusal

Free format text: JAPANESE INTERMEDIATE CODE: A131

Effective date: 20130108

A521 Request for written amendment filed

Free format text: JAPANESE INTERMEDIATE CODE: A523

Effective date: 20130308

TRDD Decision of grant or rejection written
A01 Written decision to grant a patent or to grant a registration (utility model)

Free format text: JAPANESE INTERMEDIATE CODE: A01

Effective date: 20130430

A61 First payment of annual fees (during grant procedure)

Free format text: JAPANESE INTERMEDIATE CODE: A61

Effective date: 20130527

R150 Certificate of patent or registration of utility model

Free format text: JAPANESE INTERMEDIATE CODE: R150

Ref document number: 5281831

Country of ref document: JP

Free format text: JAPANESE INTERMEDIATE CODE: R150

R250 Receipt of annual fees

Free format text: JAPANESE INTERMEDIATE CODE: R250

R250 Receipt of annual fees

Free format text: JAPANESE INTERMEDIATE CODE: R250

R250 Receipt of annual fees

Free format text: JAPANESE INTERMEDIATE CODE: R250

R250 Receipt of annual fees

Free format text: JAPANESE INTERMEDIATE CODE: R250

R250 Receipt of annual fees

Free format text: JAPANESE INTERMEDIATE CODE: R250

R250 Receipt of annual fees

Free format text: JAPANESE INTERMEDIATE CODE: R250

R250 Receipt of annual fees

Free format text: JAPANESE INTERMEDIATE CODE: R250

R250 Receipt of annual fees

Free format text: JAPANESE INTERMEDIATE CODE: R250

R250 Receipt of annual fees

Free format text: JAPANESE INTERMEDIATE CODE: R250

R250 Receipt of annual fees

Free format text: JAPANESE INTERMEDIATE CODE: R250