JP2010010540A - 電気機器のケーブル取付け構造 - Google Patents

電気機器のケーブル取付け構造 Download PDF

Info

Publication number
JP2010010540A
JP2010010540A JP2008170151A JP2008170151A JP2010010540A JP 2010010540 A JP2010010540 A JP 2010010540A JP 2008170151 A JP2008170151 A JP 2008170151A JP 2008170151 A JP2008170151 A JP 2008170151A JP 2010010540 A JP2010010540 A JP 2010010540A
Authority
JP
Japan
Prior art keywords
cable
grommet
housing
electric device
connector
Prior art date
Legal status (The legal status is an assumption and is not a legal conclusion. Google has not performed a legal analysis and makes no representation as to the accuracy of the status listed.)
Granted
Application number
JP2008170151A
Other languages
English (en)
Other versions
JP5056619B2 (ja
Inventor
Koji Nagata
耕治 永田
Yoshitaka Azuma
義高 東
Current Assignee (The listed assignees may be inaccurate. Google has not performed a legal analysis and makes no representation or warranty as to the accuracy of the list.)
Meidensha Corp
Meidensha Electric Manufacturing Co Ltd
Original Assignee
Meidensha Corp
Meidensha Electric Manufacturing Co Ltd
Priority date (The priority date is an assumption and is not a legal conclusion. Google has not performed a legal analysis and makes no representation as to the accuracy of the date listed.)
Filing date
Publication date
Application filed by Meidensha Corp, Meidensha Electric Manufacturing Co Ltd filed Critical Meidensha Corp
Priority to JP2008170151A priority Critical patent/JP5056619B2/ja
Priority to CN200980124774.2A priority patent/CN102077702B/zh
Priority to US13/001,721 priority patent/US8497435B2/en
Priority to PCT/JP2009/061658 priority patent/WO2010001814A1/ja
Priority to DE112009001624.3T priority patent/DE112009001624B4/de
Publication of JP2010010540A publication Critical patent/JP2010010540A/ja
Application granted granted Critical
Publication of JP5056619B2 publication Critical patent/JP5056619B2/ja
Expired - Fee Related legal-status Critical Current
Anticipated expiration legal-status Critical

Links

Images

Classifications

    • HELECTRICITY
    • H02GENERATION; CONVERSION OR DISTRIBUTION OF ELECTRIC POWER
    • H02GINSTALLATION OF ELECTRIC CABLES OR LINES, OR OF COMBINED OPTICAL AND ELECTRIC CABLES OR LINES
    • H02G3/00Installations of electric cables or lines or protective tubing therefor in or on buildings, equivalent structures or vehicles
    • H02G3/22Installations of cables or lines through walls, floors or ceilings, e.g. into buildings
    • FMECHANICAL ENGINEERING; LIGHTING; HEATING; WEAPONS; BLASTING
    • F16ENGINEERING ELEMENTS AND UNITS; GENERAL MEASURES FOR PRODUCING AND MAINTAINING EFFECTIVE FUNCTIONING OF MACHINES OR INSTALLATIONS; THERMAL INSULATION IN GENERAL
    • F16JPISTONS; CYLINDERS; SEALINGS
    • F16J15/00Sealings
    • F16J15/02Sealings between relatively-stationary surfaces
    • F16J15/06Sealings between relatively-stationary surfaces with solid packing compressed between sealing surfaces
    • F16J15/10Sealings between relatively-stationary surfaces with solid packing compressed between sealing surfaces with non-metallic packing
    • F16J15/104Sealings between relatively-stationary surfaces with solid packing compressed between sealing surfaces with non-metallic packing characterised by structure
    • F16J15/106Sealings between relatively-stationary surfaces with solid packing compressed between sealing surfaces with non-metallic packing characterised by structure homogeneous
    • HELECTRICITY
    • H02GENERATION; CONVERSION OR DISTRIBUTION OF ELECTRIC POWER
    • H02GINSTALLATION OF ELECTRIC CABLES OR LINES, OR OF COMBINED OPTICAL AND ELECTRIC CABLES OR LINES
    • H02G15/00Cable fittings
    • H02G15/013Sealing means for cable inlets
    • HELECTRICITY
    • H02GENERATION; CONVERSION OR DISTRIBUTION OF ELECTRIC POWER
    • H02KDYNAMO-ELECTRIC MACHINES
    • H02K5/00Casings; Enclosures; Supports
    • H02K5/04Casings or enclosures characterised by the shape, form or construction thereof
    • H02K5/22Auxiliary parts of casings not covered by groups H02K5/06-H02K5/20, e.g. shaped to form connection boxes or terminal boxes
    • H02K5/225Terminal boxes or connection arrangements

Landscapes

  • Engineering & Computer Science (AREA)
  • General Engineering & Computer Science (AREA)
  • Architecture (AREA)
  • Civil Engineering (AREA)
  • Structural Engineering (AREA)
  • Mechanical Engineering (AREA)
  • Power Engineering (AREA)
  • Insertion, Bundling And Securing Of Wires For Electric Apparatuses (AREA)
  • Installation Of Indoor Wiring (AREA)
  • Connector Housings Or Holding Contact Members (AREA)
  • Motor Or Generator Frames (AREA)
  • Gasket Seals (AREA)

Abstract

【課題】防水性や防塵性などの密閉性を確保し、電気機器本体側に接続される、ケーブルの一方の端部側に取り付けられた接続具の大きさの制約を抑制しつつ、効果的に小型化に寄与できる電気機器のケーブル取付け構造を提供することにある。
【解決手段】筐体10に設けられた凹格納部15を閉塞する蓋体30を具備し、凹格納部が有底筒状であり、その周壁部15aに第一のケーブル11aおよび第二のケーブル11bに取付けられたグロメット20を固定するグロメット取付け穴が設けられると共に、蓋体に第一のケーブルおよび第二のケーブルが挿通する挿通部31が設けられ、第一のケーブルおよび第二のケーブルを前記電気機器本体と接続するときに、グロメット取付け穴にグロメットを固定する一方、第一のコネクタおよび第三のコネクタを凹格納部内に配置し、グロメットに挿通部を位置付けて、蓋体で凹格納部を閉塞した。
【選択図】図1

Description

本発明は、電気機器のケーブル取付け構造に関する。
電気機器において、その使用環境によって電気機器自体の故障や誤動作等を防止するために耐水性や防塵性が要求される。このような要求を満たす方法として、例えば、密閉された筐体内に電気機器本体を収納する手法が採られている。そして、このような手法であっても、電気機器本体へ外部からの電力の供給や、電気機器本体の制御信号およびデータ信号の送受信などを行うために、ケーブルを用いて筐体内に収容される電気機器本体と筐体の外部とを接続する必要がある。そのため、電気機器のケーブル取付け構造についても耐水性や防塵性が要求されており、前記ケーブルにグロメットを貫装し、このグロメットを筐体に密着して取り付ける技術などが開発されている(例えば、特許文献1,2など参照)。
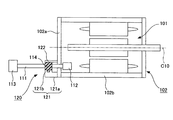
ここで特許文献1に記載の電気機器装置につき、モータ(回転電機)に適用した場合について図3を参照して具体的に説明する。
図3に示すように、電気機器本体であるモータ101が筐体102内に収容される。このように筐体102内にモータ101を収容する場合にあっては、筐体102内にて径方向に制約があり、この筐体102の一方の端部102aにケーブル111を取付けるための電気機器のケーブル取付け構造120が設けられる。このケーブル111の両端にはコネクタ112,113がそれぞれ取付けられ、ケーブル111にはグロメット114が貫装して設けられている。電気機器のケーブル取付け構造120は、筐体102の一方の端部102a側から突出して設けられた固定部121と、この固定部121を閉塞する蓋体122とを具備している。固定部121は、筐体102の周壁部102bに連続し、筐体102の軸心C10と同一の方向へ延在する突起部121aと、この突起部121aに連続し、筐体102の軸心C10へ向けて延在する側壁部121bとを有するものである。一方のコネクタ112を筐体102内に配置すると共に、他方のコネクタ113を筐体102の外部に配置している。そして、グロメット114を固定部121の側壁部121bに位置付けこのグロメット114を蓋体122で固定することで、電気機器のケーブル取付け構造120の耐水性や防塵性を確保している。
また、特許文献2に記載の電気部品の取付構造につき、図4を参照して具体的に説明する。
図4に示すように、筐体201内に、図示しない電気機器本体が収容される。この筐体201には貫通穴202が設けられており、この箇所にケーブル211が取り付けられている。このケーブル211の両端にはコネクタ212,213がそれぞれ取付けられ、ケーブル211にはゴムブッシング215が介装して設けられている。この貫通穴202を通じて一方のコネクタ212を筐体201内に配置すると共に、他方のコネクタ213を筐体201の外側に配置している。そして、ゴムブッシング215を貫通穴202に取付けることで、電気機器のケーブル取付け構造の耐水性や防塵性を確保している。
特開2002−369346号公報 特開平06−58537号公報
しかしながら、上述したモータに適用した場合の電気機器装置にあっては、蓋体122をケーブル111と平行に配置しなければならず、この蓋体122を固定する固定部121を筐体102の外側に設けているため、小型化を図ることが難しかった。
上述した電気部品の取付構造においては、筐体201内に配置できるコネクタ212の大きさが貫通穴202の大きさに制約される。すなわち、このコネクタ212を大きな形状のものとした場合にはその大きさに応じて貫通穴202が大きくなり、この貫通穴202を閉塞するゴムブッシング215も大きくなってしまう。その結果、小型化を図ることが難しかった。
そこで、本発明は、前述した問題に鑑み提案されたもので、防水性や防塵性などの密閉性を確保し、電気機器本体側に接続される、ケーブルの一方の端部側に取り付けられた接続具の大きさの制約を抑制しつつ、効果的に小型化に寄与できる電気機器のケーブル取付け構造を提供することを目的とする。
前述した課題を解決する第1の発明に係る電気機器のケーブル取付け構造は、
電気機器本体を収容する筐体と、前記電気機器本体と接続具を介して接続するケーブルと、前記筐体に設けられた凹み部を閉塞する蓋体とを具備し、
前記凹み部が有底筒状であり、その周壁部に前記ケーブルに取付けられたグロメットを固定する固定部が設けられると共に、前記蓋体に前記ケーブルが挿通する挿通部が設けられ、
前記ケーブルを前記電気機器本体と接続するときに、
前記固定部に前記グロメットを固定する一方、前記凹み部内に前記接続具を配置し、前記グロメットに前記挿通部を位置付けて、前記蓋体で前記凹み部を閉塞した
ことを特徴とする。
前述した課題を解決する第2の発明に係る電気機器のケーブル取付け構造は、第1の発明に係る電気機器のケーブル取付け構造であって、
前記挿通部が前記蓋体の縁部に連通した形状であり、
前記固定部が前記凹み部の周壁部に連通した形状である
ことを特徴とする。
前述した課題を解決する第3の発明に係る電気機器のケーブル取付け構造は、第2の発明に係る電気機器のケーブル取付け構造であって、
前記挿通部における連通部と前記固定部における連通部とがオフセットに形成されている
ことを特徴とする。
本発明に係る電気機器のケーブル取付け構造によれば、凹み部が有底筒状であり、その周壁部にケーブルに取付けられたグロメットを固定する固定部が設けられると共に、蓋体にケーブルが挿通する挿通部が設けられ、ケーブルを電気機器本体と接続するときに、固定部にグロメットを固定する一方、接続具を凹み部内に配置し、グロメットに挿通部を位置付けて、蓋体で凹み部を閉塞したことにより、防水性や防塵性などの密閉性を確保することができる。挿通部の大きさに関わらず接続具を凹み部内に配置でき、接続具の大きさの制約を抑制できる。さらに、筐体の凹み部内にグロメットおよび接続具を配置できるため、小型化に効果的に寄与できる。
本発明に係る電気機器のケーブル取付け構造によれば、挿通部が蓋体の縁部に連通した形状であり、固定部が凹み部の周壁部に連通した形状であることにより、蓋体による凹み部の密閉性をより確実に確保できる上に、固定部にグロメットを容易に固定することができると共に、グロメットに挿通部を容易に位置付けることができる。さらに、簡易な構造であり、製造コスト増を抑制できる。
本発明に係る電気機器のケーブル取付け構造によれば、挿通部における連通部と固定部における開放部とがオフセットに形成されていることにより、蓋体による凹み部の密閉性をより一層確実に確保できる。
本発明に係る電気機器のケーブル取付け構造を実施するための最良の形態について、実施例にて具体的に説明する。
本発明の第1の実施例に係る電気機器のケーブル取付け構造について、図1および図2(a)および図2(b)を参照して説明する。
図1は、本発明の第1の実施例に係る電気機器のケーブル取付け構造の概略図であり、図2(a)は、本発明の第1の実施例に係る電気機器のケーブル取付け構造の分解図であり、図2(b)は、本発明の第1の実施例に係る電気機器のケーブル取付け構造を組み立てた状態を示す図である。
本発明の第1の実施例に係る電気機器のケーブル取付け構造は、図1に示すように、電気機器本体(図示せず)と電気機器本体を収容する略円筒状の筐体10の外部とを接続するケーブル11を当該筐体10に取付ける電気機器のケーブル取付け構造であって、筐体10における一方の端部10a側に設けられている。なお、電気機器本体としては、その使用環境によっては耐水性や防塵性が要求されるもの、例えばモータ(回転電機)などが挙げられる。
ケーブル11は、第一のケーブル11aと第二のケーブル11bとを具備するものである。第一のケーブル11aは、一方の端部側(前記電気機器本体側)には第一のコネクタ12(接続具)が取り付けられ、他方の端部側には第二のコネクタ18(接続具)が取付けられる。第二のケーブル11bは、一方の端部側(前記電気機器本体側)には図示しない第三のコネクタ(接続具)が取付けられ、他方の端部側には第二のコネクタ18が取付けられる。第一のケーブル11aおよび第二のケーブル11bには、グロメット20がそれぞれ貫装して取付けられる。第一のケーブル11a、および第二のケーブル11bとしては、例えば、電気を前記電気機器本体へ供給する電源ケーブル、および前記電気機器本体と外部とで制御信号やデータ信号を送受信する信号ケーブルが挙げられる。
筐体10の一方の端部10a側には、第一のケーブル11aに取付けられた第一のコネクタ12、および、第二のケーブル11bに取付けられた前記第三のコネクタを格納する凹格納部15(凹み部)が設けられる。凹格納部15は有底筒状に形成されている。凹格納部15の周壁部15aには、図2に示すように、グロメット20を固定するグロメット取付け穴16(固定部)が設けられている。グロメット取付け穴16は、筐体10の軸心方向C1と同一の方向に延在し、周壁部15aに沿って延在する形状となっている。よって、図1に示すように、グロメット20の長尺物を筐体10の軸方向C1に向けて配置することができる。また、第一のケーブル11aおよび第二のケーブル11bを屈曲して配置でき、第一のコネクタ12の長尺物および前記第三のコネクタの長尺物を筐体10の径方向に向けて配置することができる。したがって、グロメット20よりも大きな第一のコネクタ12および前記第三のコネクタを凹格納部15内に配置することができる。
グロメット取付け穴16には、図1および図2に示すように、このグロメット取付け穴16を凹格納部15と連通する連通部17が設けられる。すなわち、グロメット取付け穴16は、凹格納部15の周壁部15aと連通した形状となっている。よって、この連通部17からグロメット取付け穴16内へ第一のケーブル11aおよび第二のケーブル11bを挿入させることができる。そして、第一のケーブル11aおよび第二のケーブル11bに取付けられた第二のコネクタ18は、凹格納部15の外側(筐体10の外側)に配置される。よって、第一のケーブル11aは、第一のコネクタ12を介して前記電気機器本体と接続され、前記第二のコネクタ18を介して筐体10の外側に配置される制御機器または電源と接続される。第二のケーブル11bは、前記第三のコネクタを介して前記電気機器本体と接続され、前記第二のコネクタ18を介して筐体10の外側に配置される制御機器または電源と接続される。
ここで、上述したグロメット20は、図2(a)に示すように、ケーブル11に沿って延在する略円筒状(チューブ状)に形成されたものであり、ケーブル11が挿通する挿通部21と、挿通部21の外側に設けられ、径方向へ延在するツバ部23とを具備する。ツバ部23は、グロメット20の先端部20aと後端部20bの略中間部に形成されている。さらに、グロメット20は、ツバ部23よりも後端部20b側に位置して形成され、外側に向かって突出するリブ部24を具備する。リブ部24は、径断面にてツバ部23よりも小さく形成されている。
前記グロメット取付け穴16には、グロメット20のリブ部24が密接するリブ密接部16aと、グロメット20のツバ部23が係止される段差部16bとが設けられている。グロメット取付け穴16のリブ密接部16aに連通してケーブル挿通部16cが設けられており、このケーブル挿通部16c内へケーブル11を挿入できるようになっている。リブ密接部16aと段差部16bとも連通している。よって、グロメット20をグロメット取付け穴16に挿入すると、図2(b)に示すように、グロメット20のリブ部24がグロメット取付け穴16のリブ密接部16aに接触して押し圧力が発生し、グロメット20のツバ部23が段差部16bに係止されて、グロメット20がグロメット取付け穴16に固定される。その結果、グロメット20に固定されたケーブル11も筐体10に固定される。
ここで、筐体10の一方の端部10a側には、図1に示すように、凹格納部15の外周に位置して段差部10bが形成されている。この段差部10bに蓋体30の縁部30aが位置付けられて凹格納部15が閉塞される。蓋体30はボルトなどの固定具33で筐体10の一方の端部10a側に固定される。蓋体30を筐体10の固定位置に位置付けたときに筐体10に設けられたグロメット取付け穴16に位置して、第一のケーブル11aおよび第二のケーブル11bが挿通する挿通部31がそれぞれ設けられている。具体的には、挿通部31は、図1に示すように、蓋体30の縁部30aに内接して設けられており、挿通部31には、挿通部31を蓋体30の縁部30aと連通する連通部32が設けられている。連通部32はグロメット20のツバ部23よりも径断面で小さく形成されている。よって、この連通部32から挿通部31へ第一のケーブル11aおよび第二のケーブル11bならびにグロメット20の先端部20a側を挿入することができる。筐体10のグロメット取付け穴16にグロメット20を取り付けた状態にて、グロメット20のツバ部23に蓋体30の挿通部31が位置付けられて、固定具33で筐体10における一方の端部10a側に固定される。このように蓋体30でグロメット30を筐体10に固定することにより、ツバ部23では押し圧力が発生している。
よって、径断面において、グロメット取付け穴16の連通部17と蓋体30の連通部32がオフセットに配置されることとなり、凹格納部15内の防水性や防塵性などの密閉性が向上する。
なお、グロメット20のツバ部23およびリブ部24には液状シール材(例えば、シリコン系シール材など)を塗布して、防水性をさらに向上させることも可能である。
したがって、本実施例に係る電気機器のケーブル取付け構造によれば、筐体10と、前記電気機器本体と第一のコネクタ12および前記第三のコネクタを介して接続する第一のケーブル11aおよび第二のケーブル11bと、筐体10に設けられた凹格納部15を閉塞する蓋体30とを具備し、凹格納部15が有底筒状であり、その周壁部15aに第一のケーブル11aおよび第二のケーブル11bに取付けられたグロメット20を固定するグロメット取付け穴16が設けられると共に、蓋体30に第一のケーブル11aおよび第二のケーブル11bが挿通する挿通部31が設けられ、第一のケーブル11aおよび第二のケーブル11bを前記電気機器本体と接続するときに、グロメット取付け穴16にグロメット20を固定する一方、凹格納部15内に第一のコネクタ12および前記第三のコネクタを配置し、グロメット20に挿通部31を位置付けて、蓋体30で凹格納部15を閉塞したことにより、防水性や防塵性などの密閉性を確保することができる。挿通部31の大きさに関わらず第一のコネクタ12および前記第三のコネクタを凹格納部15内に配置でき、第一のコネクタ12および第三のコネクタの大きさの制約を抑制できる。さらに、筐体11の凹格納部15内にグロメット20と第一のコネクタ12および第三のコネクタを配置できる上に、グロメット20と第一のコネクタ12および第三のコネクタとを同一直線状に配置せずに筐体10の凹格納部15内に配置できるため、小型化に効果的に寄与できる。
なお、上記では、電気機器本体としてモータを筐体10内に収容した電気機器のケーブル取付け構造を用いて説明したが、モータの代わりにコンバータなどを筐体内に収容した電気機器のケーブル取付け構造に適用することも可能である。
一方の端部側が二つに分かれた、第一のケーブル11aおよび第二のケーブル11bを具備するケーブル11を筐体10の一方の端部10a側に取付ける電気機器のケーブル取付け構造を用いて説明したが、1本のケーブルや多数本のケーブルを筐体の一方の端部側に取り付ける電気機器のケーブル取付け構造とすることも可能である。
本発明に係る電気機器のケーブル取付け構造は、防水性や防塵性などの密閉性を確保し、電気機器本体側に接続される、ケーブルの一方の端部側に取り付けられる接続具の大きさの制約を抑制しつつ、効果的に小型化に寄与できるため電気機器産業などにおいて、極めて有益に利用することができる。
本発明の第1の実施例に係る電気機器のケーブル取付け構造の概略図である。 本発明の第1の実施例に係る電気機器のケーブル取付け構造を説明するための図であり、図2(a)にそれを分解した状態を示し、図2(b)にそれを組み立てた状態を示す。 従来の電気機器のケーブルの取付け構造を説明するための図である。 従来の電気機器のケーブルの取付け構造を説明するための図である。
符号の説明
10 筐体
11 ケーブル
11a 第一のケーブル
11b 第二のケーブル
12 第一のコネクタ
15 凹格納部
15a 周壁部
16 グロメット取付け穴
17 連通部
18 第二のコネクタ
20 グロメット
23 ツバ部
24 リブ部
30 蓋体
31 挿通部
32 連通部

Claims (3)

  1. 電気機器本体を収容する筐体と、前記電気機器本体と接続具を介して接続するケーブルと、前記筐体に設けられた凹み部を閉塞する蓋体とを具備し、
    前記凹み部が有底筒状であり、その周壁部に前記ケーブルに取付けられたグロメットを固定する固定部が設けられると共に、前記蓋体に前記ケーブルが挿通する挿通部が設けられ、
    前記ケーブルを前記電気機器本体と接続するときに、
    前記固定部に前記グロメットを固定する一方、前記凹み部内に前記接続具を配置し、前記グロメットに前記挿通部を位置付けて、前記蓋体で前記凹み部を閉塞した
    ことを特徴とする電気機器のケーブル取付け構造。
  2. 請求項1に記載された電気機器のケーブル取付け構造であって、
    前記挿通部が前記蓋体の縁部に連通した形状であり、
    前記固定部が前記凹み部の周壁部に連通した形状である
    ことを特徴とする電気機器のケーブル取付け構造。
  3. 請求項2に記載された電気機器のケーブル取付け構造であって、
    前記挿通部における連通部と前記固定部における連通部とがオフセットに形成されている
    ことを特徴とする電気機器のケーブル取付け構造。
JP2008170151A 2008-06-30 2008-06-30 電気機器のケーブル取付け構造 Expired - Fee Related JP5056619B2 (ja)

Priority Applications (5)

Application Number Priority Date Filing Date Title
JP2008170151A JP5056619B2 (ja) 2008-06-30 2008-06-30 電気機器のケーブル取付け構造
CN200980124774.2A CN102077702B (zh) 2008-06-30 2009-06-25 电气设备的缆线安装构造
US13/001,721 US8497435B2 (en) 2008-06-30 2009-06-25 Cable mounting structure for electric apparatus
PCT/JP2009/061658 WO2010001814A1 (ja) 2008-06-30 2009-06-25 電気機器のケーブル取付け構造
DE112009001624.3T DE112009001624B4 (de) 2008-06-30 2009-06-25 Kabel-Anbringungsvorrichtung für elektrische Geräte

Applications Claiming Priority (1)

Application Number Priority Date Filing Date Title
JP2008170151A JP5056619B2 (ja) 2008-06-30 2008-06-30 電気機器のケーブル取付け構造

Publications (2)

Publication Number Publication Date
JP2010010540A true JP2010010540A (ja) 2010-01-14
JP5056619B2 JP5056619B2 (ja) 2012-10-24

Family

ID=41465911

Family Applications (1)

Application Number Title Priority Date Filing Date
JP2008170151A Expired - Fee Related JP5056619B2 (ja) 2008-06-30 2008-06-30 電気機器のケーブル取付け構造

Country Status (5)

Country Link
US (1) US8497435B2 (ja)
JP (1) JP5056619B2 (ja)
CN (1) CN102077702B (ja)
DE (1) DE112009001624B4 (ja)
WO (1) WO2010001814A1 (ja)

Cited By (4)

* Cited by examiner, † Cited by third party
Publication number Priority date Publication date Assignee Title
JP2011041457A (ja) * 2009-07-14 2011-02-24 Yaskawa Electric Corp 直流−交流電力変換装置およびその電力変換回路
JP2013074711A (ja) * 2011-09-27 2013-04-22 Toyota Motor Corp 電動機装置
JP2015154645A (ja) * 2014-02-17 2015-08-24 三菱電機株式会社 電動機、空気調和機、ヒートポンプ式給湯システム及びヒートポンプ式床暖房システム
CN113224709A (zh) * 2020-11-22 2021-08-06 马明珍 一种耐腐蚀的电力金具

Families Citing this family (32)

* Cited by examiner, † Cited by third party
Publication number Priority date Publication date Assignee Title
US8625290B2 (en) 2009-10-15 2014-01-07 Samsung Electronics Co., Ltd. Waterproof structure for portable terminal
JP5521777B2 (ja) * 2010-05-26 2014-06-18 住友電装株式会社 電線引出孔のシール構造
DE102011009861B4 (de) 2011-01-31 2012-09-20 Heraeus Precious Metals Gmbh & Co. Kg Verfahren zur Herstellung einer cermethaltigen Durchführung
DE102011009856B8 (de) 2011-01-31 2012-12-27 W.C. Heraeus Gmbh Elektrische Durchführung und Verfahren zur Herstellung einer cermethaltigen Durchführung für eine medizinisch implantierbare Vorrichtung
DE102011009859B4 (de) 2011-01-31 2012-09-20 Heraeus Precious Metals Gmbh & Co. Kg Keramikdurchführung mit Filter
DE102011009858B8 (de) 2011-01-31 2013-11-07 Heraeus Precious Metals Gmbh & Co. Kg Cermethaltige Durchführung für eine medizinisch inplantierbare Vorrichtung mit Verbindungsschicht
DE102011009855B8 (de) 2011-01-31 2013-01-03 Heraeus Precious Metals Gmbh & Co. Kg Keramikdurchführung mit induktivem Filter
DE102011009867B4 (de) 2011-01-31 2013-09-05 Heraeus Precious Metals Gmbh & Co. Kg Keramikdurchführung für eine medizinisch implantierbare Vorrichtung
DE102011009857B8 (de) 2011-01-31 2013-01-17 Heraeus Precious Metals Gmbh & Co. Kg Elektrische Durchführung mit cermethaltigem Verbindungselement für eine aktive, implantierbare, medizinische Vorrichtung
DE102011009860B4 (de) 2011-01-31 2013-03-07 Heraeus Precious Metals Gmbh & Co. Kg Implantierbare Vorrichtung mit integrierter Keramikdurchführung
DE102011009865B4 (de) * 2011-01-31 2012-09-20 Heraeus Precious Metals Gmbh & Co. Kg Kopfteil für eine medizinisch implantierbare Vorrichtung
DE102011119125B4 (de) 2011-11-23 2014-01-23 Heraeus Precious Metals Gmbh & Co. Kg Kontaktierungsanordnung mit Durchführung und Filterstruktur
US9478959B2 (en) 2013-03-14 2016-10-25 Heraeus Deutschland GmbH & Co. KG Laser welding a feedthrough
JP5765356B2 (ja) * 2013-03-19 2015-08-19 株式会社安川電機 筐体
US9431801B2 (en) 2013-05-24 2016-08-30 Heraeus Deutschland GmbH & Co. KG Method of coupling a feedthrough assembly for an implantable medical device
US9403023B2 (en) 2013-08-07 2016-08-02 Heraeus Deutschland GmbH & Co. KG Method of forming feedthrough with integrated brazeless ferrule
US20150138785A1 (en) * 2013-11-15 2015-05-21 Osram Sylvania Inc. Enclosure with grommetless strain relief
JP6061148B2 (ja) * 2013-11-28 2017-01-18 住友電装株式会社 コネクタ
US9610451B2 (en) 2013-12-12 2017-04-04 Heraeus Deutschland GmbH & Co. KG Direct integration of feedthrough to implantable medical device housing using a gold alloy
US9610452B2 (en) 2013-12-12 2017-04-04 Heraeus Deutschland GmbH & Co. KG Direct integration of feedthrough to implantable medical device housing by sintering
US9504841B2 (en) 2013-12-12 2016-11-29 Heraeus Deutschland GmbH & Co. KG Direct integration of feedthrough to implantable medical device housing with ultrasonic welding
US9876408B2 (en) 2014-07-30 2018-01-23 Regal Beloit America, Inc. Electric machine, sealing assembly and associated method
JP6620988B2 (ja) * 2016-03-22 2019-12-18 パナソニックIpマネジメント株式会社 配線器具
US10969037B2 (en) * 2016-12-08 2021-04-06 Hellermanntyton Corporation Protective bundle routing grommet for wide range panel thickness
WO2018138852A1 (ja) * 2017-01-27 2018-08-02 株式会社日立産機システム 回転電機
JP7056525B2 (ja) * 2018-11-15 2022-04-19 株式会社デンソー 防水筐体
EP4226968B1 (en) 2020-02-21 2025-04-30 Heraeus Medical Components, LLC Ferrule for non-planar medical device housing
EP3900782B1 (en) 2020-02-21 2023-08-09 Heraeus Medical Components, LLC Ferrule with strain relief spacer for implantable medical device
CN114696272A (zh) * 2020-12-31 2022-07-01 罗伯特·博世有限公司 密封件和电驱动装置
CN115707223B (zh) * 2021-08-10 2025-10-31 台达电子工业股份有限公司 挂接式接地结构
US12241632B2 (en) * 2022-02-01 2025-03-04 Haier Us Appliance Solutions, Inc. Concave recess for flush mount of a built-in appliance
TWI847709B (zh) * 2023-05-19 2024-07-01 天心工業股份有限公司 輪轂馬達

Citations (3)

* Cited by examiner, † Cited by third party
Publication number Priority date Publication date Assignee Title
JPS6437090U (ja) * 1987-08-31 1989-03-06
JP2003134643A (ja) * 2001-10-29 2003-05-09 Yazaki Corp 電気接続箱
JP2005142472A (ja) * 2003-11-10 2005-06-02 Yutaka Seisakusho:Kk 電気機器収納箱における電線貫通部の防水構造

Family Cites Families (16)

* Cited by examiner, † Cited by third party
Publication number Priority date Publication date Assignee Title
JPS5857792A (ja) * 1981-10-01 1983-04-06 松下電器産業株式会社 ケ−ブル保持装置
JP3063986B2 (ja) 1989-08-07 2000-07-12 ヤマハ発動機株式会社 自動二輪車の吸気装置
JPH0363986U (ja) * 1989-10-26 1991-06-21
US5378174A (en) * 1993-03-18 1995-01-03 The Whitaker Corporation Enclosure for variety of terminal blocks
US6265670B1 (en) * 1993-03-18 2001-07-24 The Whitaker Corporation Grommet for plurality of cable exits of an enclosure
JP2568973B2 (ja) * 1993-04-19 1997-01-08 リンナイ株式会社 器具前面に対する電気部品の取付構造
US6362421B1 (en) * 1999-04-27 2002-03-26 Trimble Navigation Limited Protective junction box
JP2002369346A (ja) * 2001-06-08 2002-12-20 Toyota Industries Corp 電気機器装置
DE20218228U1 (de) * 2002-11-25 2004-04-08 Hengstler Gmbh Winkeldrehgeber mit Zugentlastung im Deckel
US6867371B2 (en) * 2003-04-23 2005-03-15 Lucent Technologies Inc. Fiber closure sealing apparatus
US7355130B2 (en) * 2004-04-09 2008-04-08 Siemens Information And Communication Networks, Inc. Cable sealing device
DE202006017659U1 (de) * 2006-03-18 2007-08-02 Weidmüller Interface GmbH & Co. KG Dichtung für eine Gehäusedurchführung für ein Kabel
US7695041B2 (en) * 2006-03-31 2010-04-13 Honda Motor Company, Ltd. Grommet configured for supporting seal strip
FI119040B (fi) * 2006-05-15 2008-06-30 Ensto Control Oy Läpiviennillinen kotelo ja läpivientitiiviste
JP2008028267A (ja) * 2006-07-24 2008-02-07 Fanuc Ltd 電気回路ユニットのシール構造
JP5521777B2 (ja) * 2010-05-26 2014-06-18 住友電装株式会社 電線引出孔のシール構造

Patent Citations (3)

* Cited by examiner, † Cited by third party
Publication number Priority date Publication date Assignee Title
JPS6437090U (ja) * 1987-08-31 1989-03-06
JP2003134643A (ja) * 2001-10-29 2003-05-09 Yazaki Corp 電気接続箱
JP2005142472A (ja) * 2003-11-10 2005-06-02 Yutaka Seisakusho:Kk 電気機器収納箱における電線貫通部の防水構造

Cited By (5)

* Cited by examiner, † Cited by third party
Publication number Priority date Publication date Assignee Title
JP2011041457A (ja) * 2009-07-14 2011-02-24 Yaskawa Electric Corp 直流−交流電力変換装置およびその電力変換回路
JP2013074711A (ja) * 2011-09-27 2013-04-22 Toyota Motor Corp 電動機装置
JP2015154645A (ja) * 2014-02-17 2015-08-24 三菱電機株式会社 電動機、空気調和機、ヒートポンプ式給湯システム及びヒートポンプ式床暖房システム
CN113224709A (zh) * 2020-11-22 2021-08-06 马明珍 一种耐腐蚀的电力金具
CN113224709B (zh) * 2020-11-22 2022-04-12 胜利油田恒源电气有限责任公司 一种耐腐蚀的电力金具

Also Published As

Publication number Publication date
CN102077702A (zh) 2011-05-25
US20110180319A1 (en) 2011-07-28
CN102077702B (zh) 2014-08-13
WO2010001814A1 (ja) 2010-01-07
JP5056619B2 (ja) 2012-10-24
US8497435B2 (en) 2013-07-30
DE112009001624B4 (de) 2024-02-08
DE112009001624T5 (de) 2011-04-21

Similar Documents

Publication Publication Date Title
JP5056619B2 (ja) 電気機器のケーブル取付け構造
JP5077670B2 (ja) 機器用コネクタ
CN102405563B (zh) 防水结构
CN103119800B (zh) 端子板结构
JP2005019319A (ja) 機器用コネクタ
JP6550095B2 (ja) 樹脂入りパッキン及び防水コネクタ
JP2014038793A (ja) コネクタ
JP2011054393A (ja) コネクタ
JP2008301544A (ja) 回転電機用端子台
WO2012133460A1 (ja) シールドコネクタ
JP2023504421A (ja) 電動駆動車両のための変速機装置、電動駆動車両のための駆動装置及び車両
JP2009284660A (ja) モータユニットおよびモータユニットの製造方法
JP2012160355A (ja) 端子台のシールドシェル
JP2007044767A (ja) 産業用ロボット
WO2012111753A1 (ja) レバー式コネクタ
JP5539256B2 (ja) 電動モータ
JP5985971B2 (ja) 防水コネクタ
JP2020120039A (ja) 電力変換装置
JP5331082B2 (ja) コネクタ
JP4945804B2 (ja) コネクタ構造及び端末装置
JP2005327561A (ja) コネクタの嵌合構造
CN206546379U (zh) 加速度传感器组装体
CN206583929U (zh) 加速度传感器组装体
CN220640202U (zh) 一种用于海底勘察的水密机构及海底勘察装置
JP5828313B2 (ja) 電気機器ケース

Legal Events

Date Code Title Description
A621 Written request for application examination

Free format text: JAPANESE INTERMEDIATE CODE: A621

Effective date: 20110510

A131 Notification of reasons for refusal

Free format text: JAPANESE INTERMEDIATE CODE: A131

Effective date: 20120214

A521 Request for written amendment filed

Free format text: JAPANESE INTERMEDIATE CODE: A523

Effective date: 20120416

TRDD Decision of grant or rejection written
A01 Written decision to grant a patent or to grant a registration (utility model)

Free format text: JAPANESE INTERMEDIATE CODE: A01

Effective date: 20120703

A01 Written decision to grant a patent or to grant a registration (utility model)

Free format text: JAPANESE INTERMEDIATE CODE: A01

A61 First payment of annual fees (during grant procedure)

Free format text: JAPANESE INTERMEDIATE CODE: A61

Effective date: 20120716

FPAY Renewal fee payment (event date is renewal date of database)

Free format text: PAYMENT UNTIL: 20150810

Year of fee payment: 3

R150 Certificate of patent or registration of utility model

Ref document number: 5056619

Country of ref document: JP

Free format text: JAPANESE INTERMEDIATE CODE: R150

Free format text: JAPANESE INTERMEDIATE CODE: R150

LAPS Cancellation because of no payment of annual fees