JP2010010283A - オゾンガス利用表面処理方法とその装置 - Google Patents

オゾンガス利用表面処理方法とその装置 Download PDF

Info

Publication number
JP2010010283A
JP2010010283A JP2008165914A JP2008165914A JP2010010283A JP 2010010283 A JP2010010283 A JP 2010010283A JP 2008165914 A JP2008165914 A JP 2008165914A JP 2008165914 A JP2008165914 A JP 2008165914A JP 2010010283 A JP2010010283 A JP 2010010283A
Authority
JP
Japan
Prior art keywords
gas
ozone
surface treatment
ozone gas
oxygen
Prior art date
Legal status (The legal status is an assumption and is not a legal conclusion. Google has not performed a legal analysis and makes no representation as to the accuracy of the status listed.)
Granted
Application number
JP2008165914A
Other languages
English (en)
Other versions
JP5267980B2 (ja
Inventor
Kunihiko Koike
国彦 小池
Koichi Izumi
浩一 泉
Akira Kurokawa
明 黒河
Current Assignee (The listed assignees may be inaccurate. Google has not performed a legal analysis and makes no representation or warranty as to the accuracy of the list.)
National Institute of Advanced Industrial Science and Technology AIST
Iwatani Corp
Original Assignee
National Institute of Advanced Industrial Science and Technology AIST
Iwatani International Corp
Priority date (The priority date is an assumption and is not a legal conclusion. Google has not performed a legal analysis and makes no representation as to the accuracy of the date listed.)
Filing date
Publication date
Application filed by National Institute of Advanced Industrial Science and Technology AIST, Iwatani International Corp filed Critical National Institute of Advanced Industrial Science and Technology AIST
Priority to JP2008165914A priority Critical patent/JP5267980B2/ja
Publication of JP2010010283A publication Critical patent/JP2010010283A/ja
Application granted granted Critical
Publication of JP5267980B2 publication Critical patent/JP5267980B2/ja
Expired - Fee Related legal-status Critical Current
Anticipated expiration legal-status Critical

Links

Images

Landscapes

  • Drying Of Semiconductors (AREA)
  • Formation Of Insulating Films (AREA)
  • Cleaning Or Drying Semiconductors (AREA)

Abstract

【課題】 オゾンガスと紫外線とを併用する酸化による表面処理方法において、酸化効率を向上させることのできる手段を提供する。
【解決手段】 キセノンガス等の希ガスとオゾンガスとの混合ガスを被処理物に作用させ、その混合ガスに紫外光を照射作用させる。混合ガス中の酸素分子密度を減じることでオゾンガスの分解を促進して、酸化効率を向上させ、原子状酸素を有効に基板表面に到達させる。
【選択図】 図1

Description

本発明は、酸化に起因する表面処理技術に関し、特に酸化反応性ガス雰囲気中で被処理物の表面に酸化膜を形成したり、被処理物の表面をレジストアッシングしたりする表面処理技術に関する。
従来から、オゾンのもつ高い酸化力を利用して、基板等の被処理物の表面を酸化処理したり、レジストアッシング処理したりすることはよく知られている。例えばシリコン基板を酸化する場合に、酸素ガスで酸化処理をしようとすると、基板温度を900から1000℃以上の高温にする必要があったが、オゾンガスを使用する場合、基板温度を数百度下げても酸化することができる。
この場合、オゾンガス中のオゾン濃度は高いほど酸化反応が進むため、オゾン濃度が90 vol%以上のオゾン酸素混合ガスを発生する装置も開発されている。
また、オゾンガスを用いて基板温度をさらに下げた低温酸化も応用が進んでいる。この場合、基板温度を下げていくと基板の表面でのオゾンの熱分解速度が次第に減少するため、表面温度が500℃以下になると基板表面の酸化膜形成速度が大きく減少する。そこで、熱分解によるオゾン分解速度の減少を補うために、オゾンを強制的に分解する波長を持つ紫外線をオゾンガスに照射することにより、500℃以下の低温でも酸化膜形成処理を行うことも考えられる。
一般に、オゾンガスを用いた処理では、オゾンが分解してできる原子状酸素(あるいは酸素ラジカル)が酸化に最も有効に寄与し、原子状酸素が基板表面に多数到達できるほど酸化が進む。そのためには、a)オゾンガスの圧力を大きくするか、b)オゾンガス中のオゾン濃度を大きくするか、c)紫外光+オゾンでの酸化の場合には紫外線強度を高くする等の手法をとる必要がある。
また、原子状酸素は反応性が高い反面、酸素分子と反応して容易に反応性を失活する性質がある。そのため、オゾンガスの反応性を有効に利用するためには、酸素分子の密度を減らすことが有効である。一般にオゾンガスは酸素で希釈したオゾンー酸素混合ガスの形態で供給されるため、オゾン濃度を高くすることが有効である。
しかしながら、オゾンガスはそのオゾン濃度を高くした場合、境界圧力よりもガス圧力が高いと、オゾンガスが充満しているある箇所で何らかのきっかけで過剰分解が始まると、その分解がオゾン全体に爆発的に伝搬する性質がある。その境界圧力は例えばオゾン濃度20 vol%では1.5 kPa程度である。
そのため、高濃度オゾンガスはこの境界圧力以下の減圧領域で用いるか、あるいはオゾン酸素混合ガス中のオゾンガス濃度を小さくする必要があった。
さらに、オゾンガスの酸化反応性を有効に利用するためには、オゾンから生成された原子状酸素を有効に基板表面に到達させることが必要であり、そのためには、酸素分子の密度を下げること、若しくは原子状酸素の生成箇所を基板に近づける必要があった。
本発明は、このような点に鑑み提案されたもので、オゾンガスと紫外線とを併用する酸化による表面処理方法において、酸化効率を向上させることのできる手段を提供することを目的とする。
上述の目的を達成するために、本発明は、オゾンガスに希ガスを混合したガスを被処理物に作用させるとともに、該混合ガスに紫外光を照射作用させるようにしたことを特徴としている。
本発明では、オゾンガスに希ガスを混合したガスを被処理物に作用させるとともに、該混合ガスに紫外光を照射作用させているので、混合ガス中の酸素分子密度を減らすものでありながら、酸化効率を向上させるようにしたことを特徴としている。
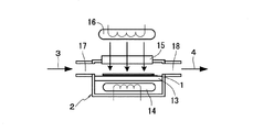
図1は本発明の一実施形態を示す酸化膜製造装置の概略構成図を示し、図2は酸化膜形成チャンバーの概略構成図である。
この酸化膜製造装置は、表面に酸化膜を形成するワーク(1)を収容保持する処理チャンバー(2)に酸素で希釈された高濃度オゾンガスとキセノンガスとの混合ガスを供給する処理ガス供給路(3)と、処理ガス排出路(4)とを連通接続してある。
処理ガス供給路(3)はオゾン生成装置(5)に連通を接続しているオゾン酸素混合ガス路(6)と、キセノンガス貯蔵容器(7)に連通接続している希ガス通路(8)とからなり、処理チャンバー(2)に入口側オゾン濃度計(9)を介して接続されている。
処理ガス排出路(4)には、処理チャンバー(2)側から、出口側オゾン濃度計(10)、オゾン分解器(11)、真空ポンプ(12)が順に配置してある。
処理チャンバー(2)は、その内部を赤外線透過隔壁(13)で区画してあり、この赤外線透過隔壁(13)の上面をワーク(1)の載置部に形成するとともに、赤外線透過隔壁(13)の下側に位置するチャンバー内空間にワーク加熱用ヒーター(14)が配置してある。また、処理チャンバー(2)のワーク載置部と対向する壁面には紫外線透過窓(15)が形成してあり、この紫外線透過窓(15)に対応して紫外線光源(16)が配置してある。そして、処理チャンバー(2)のワーク(1)の載置部形成空間の一側壁に処理ガス供給路(3)が接続する処理ガス導入口(17)が、また他側壁に処理ガス排出路(4)が接続する処理ガス導出口(18)が開口形成してある。
図1中、符号(19)はオゾン生成装置(5)に連通接続している酸素ガス供給源であり、このオゾン生成装置(5)はPSA装置などのオゾン濃縮手段でオゾン濃度10 vol%以上の高濃度オゾンガスを生成して供給できるようにしてある。また、図1中、(20)オゾン酸素混合ガス路(6)に介装した流量調整器、(21)はオゾン酸素混合ガス路(6)に介装した逆止弁、(22)は希ガス通路(8)に介装した流量調整器、(23)は希ガス通路(8)に介装した逆止弁、(24)は処理チャンバー(2)の内圧力を検出する圧力計である。
上記した酸化膜製造装置では、高濃度オゾンガスと希ガスとを流量調整器(20)(22)で流量調整を行って混合した状態で処理チャンバー(2)内にその混合ガスを供給し、処理チャンバー(2)内に配置されている基板等のワーク(1)に前記高濃度オゾンガスと希ガスとの混合ガスを紫外光を照射させながら作用させる。
紫外線の光源としては、キセノン−水銀ランプ、誘電体バリア放電ランプ、波長254nmのレーザーを用いることができる。また、基板等のワーク(1)と紫外線透過窓(15)との距離は、1mm程度に設定してあるが、この距離はさらに短くてもよい。
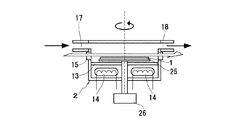
図3は、本発明の異なる実施形態を示し、これは、処理チャンバー(2)内に載置固定したワーク(1)に対して紫外線を平行に入射させるようにし、ワーク(1)を回転可能な支持台(25)に保持させ、この支持台(25)を回転駆動源(26)の作動で処理中に回転させるように構成してある。この場合、紫外光のビーム形状はシート状であり、ワーク(1)と紫外光ビーム面との距離は1mmである。そして、ワーク(1)が回転していることから一様な厚さの酸化膜を形成することができることになる。
このようにワーク(1)に対して紫外光を平行に照射する場合、紫外光はオゾン−希ガス混合ガス中を通過するため、オゾンガスに吸収されて下流側での強度が小さくなる。そのため、パルス幅がピコ秒からナノ秒のパルス状紫外レーザーを用いて高強度の光を供給するようにしてもよい。また、オゾン密度を減少させることで、紫外光を透過させるようにしてもよい。
なお、上記の各実施形態では、酸素希釈オゾンガスに混合する希ガスとして、キセノンガスを使用したが、この希ガスとしては、前述のキセノンガスのほかに、ヘリウムガス、ネオンガス、アルゴンガス、クリプトンガスを使用することができる。
図4は、紫外線照射を併用して、オゾンガスを酸素で希釈した場合と、アルゴンガスで希釈した場合での、ガスのトータル流量と酸化膜厚との関係を示す。この場合、紫外線は、水銀キセノンランプ光に含まれる波長254nm、紫外線強度は、仕様上31mW/cm2、実測値で60mW/cm2のものを使用した。
図4(A)は、直径50mm、厚さ370μmのシリコン基板を使用し、基板温度350℃、オゾン流量100sccmの状態で、希釈ガスとしての酸素ガスまたはアルゴンガスを100sccm添加した場合と、希釈ガスとしての酸素ガスまたはアルゴンガスを200sccm添加した場合での形成された二酸化珪素膜厚とガス流量との関係を示している。
図4(B)は、直径50mm、厚さ370μmのシリコン基板を使用し、基板温度450℃、オゾン流量150sccmの状態で、希釈ガスとしての酸素ガスまたはアルゴンガス145sccmを添加した場合と、希釈ガスとしての酸素ガスまたはアルゴンガスを290sccm添加した場合での形成された二酸化珪素膜厚とガス流量との関係を示している。
図5は、紫外線照射を併用して、オゾンガスを酸素で希釈した場合と、キセノンガスで希釈した場合での、ガスのトータル流量と酸化膜厚との関係を示す。紫外線は全式と同様、水銀キセノンランプ光に含まれる波長254nm、紫外線強度は、仕様上31mW/cm2、実測値で60mW/cm2のものを使用した。
図5(A)は、直径50mm、厚さ370μmのシリコン基板を使用し、基板温度350℃、オゾン流量150sccmの状態で、希釈ガスとしての酸素ガスまたはキセノンガス150sccmを添加した場合と、希釈ガスとしての酸素ガスまたはキセノンガスを290sccm添加した場合での形成された二酸化珪素膜厚とガス流量との関係を示している。
図5(B)は、直径50mm、厚さ370μmのシリコン基板を使用し、基板温度450℃、オゾン流量300sccmの状態で、希釈ガスとしての酸素ガスまたはキセノンンガスを150sccm添加した場合と、希釈ガスとしての酸素ガスまたはキセノンガスを300sccm添加した場合での形成された二酸化珪素膜厚とガス流量との関係を示している。
この結果、一般的に流量が大きくなると、冷却効果が大きくなり酸化速度が低下するが(酸素希釈の場合参照)、希ガスでの希釈の場合には、そのような傾向は見られない。
図6は、紫外線照射の有無による酸化膜厚変化を示す図である。この図は、直径50mm、厚さ370μmのシリコン基板をキセノンガスを5 vol%添加したオゾンガス290sccmを用いて酸化膜を形成する場合に紫外線照射を併用した場合と、併用しない場合での酸化膜厚の変化を示している。
この図によると、紫外線照射なしの場合の酸化膜厚は1.6nm程度であるのに対し、紫外線照射を伴う場合には、2.1nmまで酸化膜厚は増加していることが分かる。
図7は、キセノンガスを添加したオゾン酸素混合ガスと紫外線照射とを併用した場合のオゾン濃度とアッシング速度との関係を示す図である。
この場合、1cm×1cmのレジスト付きウエハを内容積300ccのチャンバー内に設置し、波長254nmの紫外光を照射した。処理条件としては、圧力27Torr、基板温度55℃であった。
図7から、同じオゾン濃度であっても、キセノンガスで希釈した場合のほうが酸素で希釈した場合よりもアッシング速度を大きくとることができることが分かる。
図8は、オゾン濃度15 vol%(残り酸素)、流量500sccm(オゾン75sccm+酸素425sccm)、基板温度55℃、圧力27Torrに固定した状態でキセノン添加量を変化させた場合のアッシング速度の変化を示す。このウエハに塗布したレジストは、べーク温度180℃、膜厚1.2μmであった。そしてアッシング速度は、処理前後のレジスト膜厚さを処理時間で除することにより得た。
図8(A)に示すように、キセノンガスを総流量に対して、0.2%、実流量1sccm添加しただけで、アッシング速度は約30%上昇した。しかし、1%程度以上添加してもアッシング速度はあまり変化せず、飽和する傾向が認められた。さらに、図8(B)に示すように、ガスの流れの多い個所が選択的にアッシングされる様子が確認できた。
上記処理に使用するキセノンガスを添加したオゾン酸素混合ガス中の酸素ガス成分は30vol%以下、好ましくは、10vol%以下であることが望ましい。また、処理チャンバーでの処理温度としては、ワークがシリコン基板の場合には、室温から1200℃までを使用することができるが、望ましくは500℃以下、さらに望ましくは、400℃以下であることが好ましい。
照射する紫外線としては、その波長が200〜300nmの範囲にある光を使用することができる。その紫外光は、連続波長であっても複数波長であってもよく、また、レーザー等を用いる単一波長であってもよい。さらに、紫外線はパルス状でも、連続照射でもよい。
本発明は、半導体製造部門での酸化膜形成処理やレジストアッシング処理等の酸化処理に利用することができる。
本発明の一実施形態を示す酸化膜製造装置の概略構成図である 酸化膜形成チャンバーの概略構成図である。 異なる実施形態を示す酸化膜形成チャンバーの概略構成図である。 紫外線照射を併用して、オゾンガスを酸素で希釈した場合と、アルゴンガスで希釈した場合での、ガスのトータル流量と酸化膜厚との関係を示す図である。 紫外線照射を併用して、オゾンガスを酸素で希釈した場合と、キセノンガスで希釈した場合での、ガスのトータル流量と酸化膜厚との関係を示す図である。 紫外線照射の有無による酸化膜厚の変化を示す図である。 キセノンガスを添加したオゾン酸素混合ガスと紫外線照射とを併用した場合でのオゾン濃度とアッシング速度との関係を示す図である。 オゾンガスに添加するキセノンガスの添加量を変化させた場合でのアッシング速度の変化を示す図である。
符号の説明
1…被処理物、2…処理チャンバー、15…紫外線透過窓、16…紫外線光源、17…混合ガス導入口、18…混合ガス導出口。

Claims (12)

  1. オゾンガスを使用して表面処理を行う表面処理方法であって、
    希ガスとオゾンガスとの混合ガスを被処理物に作用させるとともに、該混合ガスに紫外光を照射作用させることを特徴とするオゾンガス利用表面処理方法。
  2. 表面処理がシリコン酸化処理である請求項1に記載のオゾンガス利用表面処理方法。
  3. 表面処理がレジストアッシング処理である請求項1に記載のオゾンガス利用表面処理方法。
  4. 希ガスがキセノンである請求項1〜3のいずれか1項に記載のオゾンガス利用表面処理方法。
  5. 混合ガス中の酸素ガス混合割合が30 vol%以下である請求項1〜4のいずれか1項に記載のオゾンガス利用表面処理方法。
  6. 被処理物が加熱した状態にある請求項1〜5のいずれか1項に記載のオゾンガス利用表面処理方法。
  7. 被処理物を収容する処理チャンバー(2)にオゾンガスと希ガスとの混合ガスを導入する導入口(17)と、混合ガスの導出口(18)とを配置するとともに紫外線透過窓(15)を配置し、この紫外線透過窓(15)に対応させて紫外線光源(16)を位置させ、処理チャンバー(2)に収容された被処理物(1)の表面を処理するようにしたことを特徴とするオゾンガス利用表面処理装置。
  8. オゾンガスと希ガスとの混合ガスと紫外線光源(16)からの紫外光で被処理物(1)の表面を酸化処理する請求項7に記載のオゾンガス利用表面処理装置。
  9. オゾンガスと希ガスとの混合ガスと紫外線光源(16)からの紫外光で被処理物(1)の表面をレジストアッシング処理する請求項7に記載のオゾンガス利用表面処理装置。
  10. 希ガスがキセノンである請求項7〜9のいずれか1項に記載のオゾンガス利用表面処理装置。
  11. 混合ガス中の酸素ガス混合割合が30 vol%以下である請求項7〜10のいずれか1項に記載のオゾンガス利用表面処理装置。
  12. 処理室内の被処理物を加熱する加熱手段(14)が装備されている請求項7〜11のいずれか1項に記載のオゾンガス利用表面処理装置。
JP2008165914A 2008-06-25 2008-06-25 オゾンガス利用表面処理方法とその装置 Expired - Fee Related JP5267980B2 (ja)

Priority Applications (1)

Application Number Priority Date Filing Date Title
JP2008165914A JP5267980B2 (ja) 2008-06-25 2008-06-25 オゾンガス利用表面処理方法とその装置

Applications Claiming Priority (1)

Application Number Priority Date Filing Date Title
JP2008165914A JP5267980B2 (ja) 2008-06-25 2008-06-25 オゾンガス利用表面処理方法とその装置

Publications (2)

Publication Number Publication Date
JP2010010283A true JP2010010283A (ja) 2010-01-14
JP5267980B2 JP5267980B2 (ja) 2013-08-21

Family

ID=41590441

Family Applications (1)

Application Number Title Priority Date Filing Date
JP2008165914A Expired - Fee Related JP5267980B2 (ja) 2008-06-25 2008-06-25 オゾンガス利用表面処理方法とその装置

Country Status (1)

Country Link
JP (1) JP5267980B2 (ja)

Cited By (4)

* Cited by examiner, † Cited by third party
Publication number Priority date Publication date Assignee Title
JP2013178372A (ja) * 2012-02-28 2013-09-09 Hoya Corp 転写用マスク及びその製造方法、並びに、マスクブランク及びその製造方法
WO2015098387A1 (ja) * 2013-12-25 2015-07-02 ウシオ電機株式会社 光照射装置
JP2017163066A (ja) * 2016-03-11 2017-09-14 ウシオ電機株式会社 光処理装置、および被処理物体の表面と窓部材との間隔調整方法
US20200098556A1 (en) * 2018-09-24 2020-03-26 Applied Materials, Inc. Atomic oxygen and ozone device for cleaning and surface treatment

Citations (6)

* Cited by examiner, † Cited by third party
Publication number Priority date Publication date Assignee Title
JPH04246161A (ja) * 1990-10-24 1992-09-02 Internatl Business Mach Corp <Ibm> 基板表面を酸化処理するための方法及び半導体の構造
JPH09129632A (ja) * 1995-11-06 1997-05-16 Fujitsu Ltd 半導体装置の製造方法
JP2000133651A (ja) * 1998-10-26 2000-05-12 Fujitsu Ltd 半導体装置の製造方法
JP2001179079A (ja) * 1999-12-27 2001-07-03 Tokyo Electron Ltd オゾン処理装置及びオゾン処理方法
JP2007258096A (ja) * 2006-03-24 2007-10-04 Seiko Epson Corp プラズマ処理装置
JP2008251956A (ja) * 2007-03-30 2008-10-16 Meidensha Corp 酸化膜の形成方法及びその装置

Patent Citations (6)

* Cited by examiner, † Cited by third party
Publication number Priority date Publication date Assignee Title
JPH04246161A (ja) * 1990-10-24 1992-09-02 Internatl Business Mach Corp <Ibm> 基板表面を酸化処理するための方法及び半導体の構造
JPH09129632A (ja) * 1995-11-06 1997-05-16 Fujitsu Ltd 半導体装置の製造方法
JP2000133651A (ja) * 1998-10-26 2000-05-12 Fujitsu Ltd 半導体装置の製造方法
JP2001179079A (ja) * 1999-12-27 2001-07-03 Tokyo Electron Ltd オゾン処理装置及びオゾン処理方法
JP2007258096A (ja) * 2006-03-24 2007-10-04 Seiko Epson Corp プラズマ処理装置
JP2008251956A (ja) * 2007-03-30 2008-10-16 Meidensha Corp 酸化膜の形成方法及びその装置

Cited By (12)

* Cited by examiner, † Cited by third party
Publication number Priority date Publication date Assignee Title
JP2013178372A (ja) * 2012-02-28 2013-09-09 Hoya Corp 転写用マスク及びその製造方法、並びに、マスクブランク及びその製造方法
WO2015098387A1 (ja) * 2013-12-25 2015-07-02 ウシオ電機株式会社 光照射装置
JP2015120129A (ja) * 2013-12-25 2015-07-02 ウシオ電機株式会社 光照射装置
JP2017163066A (ja) * 2016-03-11 2017-09-14 ウシオ電機株式会社 光処理装置、および被処理物体の表面と窓部材との間隔調整方法
WO2017154634A1 (ja) * 2016-03-11 2017-09-14 ウシオ電機株式会社 光処理装置、および被処理物体の表面と窓部材との間隔調整方法
US20200098556A1 (en) * 2018-09-24 2020-03-26 Applied Materials, Inc. Atomic oxygen and ozone device for cleaning and surface treatment
CN112703588A (zh) * 2018-09-24 2021-04-23 应用材料公司 用于清洁和表面处理的原子氧和臭氧装置
JP2022502851A (ja) * 2018-09-24 2022-01-11 アプライド マテリアルズ インコーポレイテッドApplied Materials, Incorporated 洗浄および表面処理のための原子状酸素およびオゾン装置
JP7342112B2 (ja) 2018-09-24 2023-09-11 アプライド マテリアルズ インコーポレイテッド 洗浄および表面処理のための原子状酸素およびオゾン装置
JP2023168332A (ja) * 2018-09-24 2023-11-24 アプライド マテリアルズ インコーポレイテッド 洗浄および表面処理のための原子状酸素およびオゾン装置
US11908679B2 (en) * 2018-09-24 2024-02-20 Applied Materials, Inc. Atomic oxygen and ozone device for cleaning and surface treatment
JP7752663B2 (ja) 2018-09-24 2025-10-10 アプライド マテリアルズ インコーポレイテッド 洗浄および表面処理のための原子状酸素およびオゾン装置

Also Published As

Publication number Publication date
JP5267980B2 (ja) 2013-08-21

Similar Documents

Publication Publication Date Title
AU2015282298B2 (en) Method for manufacturing reaction product in which phase interface reaction is employed, phase interface reactor, and method for manufacturing secondary reaction product
CN108292100B (zh) 用于利用暴露于uv-辐射的含水液体介质处理衬底的方法
KR20010051163A (ko) 자외광 조사장치 및 방법
JP2001118818A (ja) 紫外線処理装置及び紫外線処理方法
US7214412B2 (en) Magenta toner and method for producing same
JP6948808B2 (ja) 基板の蒸気相ヒドロキシルラジカル処理のためのシステム及び方法
JP5267980B2 (ja) オゾンガス利用表面処理方法とその装置
JP6241384B2 (ja) 自己組織化単分子膜のパターニング装置、光照射装置及び自己組織化単分子膜のパターニング方法
CN110071035A (zh) 用于在清洗系统中清洗基板的方法
TW564480B (en) Method and apparatus for radical oxidation of silicon
JP2948110B2 (ja) 被処理物体表面または当該表面上の物質を減圧下で酸化する方法
JP2005217232A (ja) オゾン処理装置
Kubodera et al. Subpicosecond vacuum ultraviolet laser system for advanced materials processing
JP5193488B2 (ja) 酸化膜の形成方法及びその装置
JPH0612766B2 (ja) 光照射装置
JP2013158706A (ja) 水浄化装置
JP3392789B2 (ja) 熱酸化方法およびその装置
JP2588508B2 (ja) 処理装置
JP2002083803A (ja) エッチング装置やアッシング装置といったようなドライプロセッシング装置
JPH0429220B2 (ja)
JPS6320833A (ja) アツシング装置
WO2020183920A1 (ja) 基板処理方法および基板処理装置
JP2011251228A (ja) 表面改質処理装置
JP3815503B2 (ja) 誘電体バリヤ放電ランプを使用した処理方法
JPS62165330A (ja) 有機ホトレジスト膜の除去方法

Legal Events

Date Code Title Description
A621 Written request for application examination

Free format text: JAPANESE INTERMEDIATE CODE: A621

Effective date: 20100913

A521 Request for written amendment filed

Free format text: JAPANESE INTERMEDIATE CODE: A523

Effective date: 20100910

A977 Report on retrieval

Free format text: JAPANESE INTERMEDIATE CODE: A971007

Effective date: 20120216

A131 Notification of reasons for refusal

Free format text: JAPANESE INTERMEDIATE CODE: A131

Effective date: 20120221

A521 Request for written amendment filed

Free format text: JAPANESE INTERMEDIATE CODE: A523

Effective date: 20120423

A131 Notification of reasons for refusal

Free format text: JAPANESE INTERMEDIATE CODE: A131

Effective date: 20121225

A521 Request for written amendment filed

Free format text: JAPANESE INTERMEDIATE CODE: A523

Effective date: 20130222

A131 Notification of reasons for refusal

Free format text: JAPANESE INTERMEDIATE CODE: A131

Effective date: 20130319

A521 Request for written amendment filed

Free format text: JAPANESE INTERMEDIATE CODE: A523

Effective date: 20130325

TRDD Decision of grant or rejection written
A01 Written decision to grant a patent or to grant a registration (utility model)

Free format text: JAPANESE INTERMEDIATE CODE: A01

Effective date: 20130417

A61 First payment of annual fees (during grant procedure)

Free format text: JAPANESE INTERMEDIATE CODE: A61

Effective date: 20130426

R150 Certificate of patent or registration of utility model

Free format text: JAPANESE INTERMEDIATE CODE: R150

Ref document number: 5267980

Country of ref document: JP

Free format text: JAPANESE INTERMEDIATE CODE: R150

S533 Written request for registration of change of name

Free format text: JAPANESE INTERMEDIATE CODE: R313533

R350 Written notification of registration of transfer

Free format text: JAPANESE INTERMEDIATE CODE: R350

R250 Receipt of annual fees

Free format text: JAPANESE INTERMEDIATE CODE: R250

R250 Receipt of annual fees

Free format text: JAPANESE INTERMEDIATE CODE: R250

R250 Receipt of annual fees

Free format text: JAPANESE INTERMEDIATE CODE: R250

R250 Receipt of annual fees

Free format text: JAPANESE INTERMEDIATE CODE: R250

R250 Receipt of annual fees

Free format text: JAPANESE INTERMEDIATE CODE: R250

R250 Receipt of annual fees

Free format text: JAPANESE INTERMEDIATE CODE: R250

R250 Receipt of annual fees

Free format text: JAPANESE INTERMEDIATE CODE: R250

R250 Receipt of annual fees

Free format text: JAPANESE INTERMEDIATE CODE: R250

R250 Receipt of annual fees

Free format text: JAPANESE INTERMEDIATE CODE: R250

LAPS Cancellation because of no payment of annual fees