JP2009532905A - ナノFinトンネリング・トランジスタ - Google Patents
ナノFinトンネリング・トランジスタ Download PDFInfo
- Publication number
- JP2009532905A JP2009532905A JP2009504239A JP2009504239A JP2009532905A JP 2009532905 A JP2009532905 A JP 2009532905A JP 2009504239 A JP2009504239 A JP 2009504239A JP 2009504239 A JP2009504239 A JP 2009504239A JP 2009532905 A JP2009532905 A JP 2009532905A
- Authority
- JP
- Japan
- Prior art keywords
- forming
- source
- drain region
- fin
- crystalline
- Prior art date
- Legal status (The legal status is an assumption and is not a legal conclusion. Google has not performed a legal analysis and makes no representation as to the accuracy of the status listed.)
- Withdrawn
Links
- 230000005641 tunneling Effects 0.000 title abstract description 86
- 239000000758 substrate Substances 0.000 claims abstract description 135
- 238000000034 method Methods 0.000 claims abstract description 114
- SDGKUVSVPIIUCF-UHFFFAOYSA-N 2,6-dimethylpiperidine Chemical compound CC1CCCC(C)N1 SDGKUVSVPIIUCF-UHFFFAOYSA-N 0.000 claims abstract description 91
- 229950005630 nanofin Drugs 0.000 claims abstract description 91
- 238000001459 lithography Methods 0.000 claims abstract description 27
- 239000002070 nanowire Substances 0.000 claims abstract description 27
- 239000012212 insulator Substances 0.000 claims description 68
- 230000008569 process Effects 0.000 claims description 52
- 239000004065 semiconductor Substances 0.000 claims description 51
- 239000000463 material Substances 0.000 claims description 33
- 238000005530 etching Methods 0.000 claims description 30
- 229910052710 silicon Inorganic materials 0.000 claims description 27
- 239000010703 silicon Substances 0.000 claims description 27
- XUIMIQQOPSSXEZ-UHFFFAOYSA-N Silicon Chemical compound [Si] XUIMIQQOPSSXEZ-UHFFFAOYSA-N 0.000 claims description 26
- 229910021417 amorphous silicon Inorganic materials 0.000 claims description 20
- 229910052751 metal Inorganic materials 0.000 claims description 19
- 239000002184 metal Substances 0.000 claims description 19
- VYPSYNLAJGMNEJ-UHFFFAOYSA-N Silicium dioxide Chemical compound O=[Si]=O VYPSYNLAJGMNEJ-UHFFFAOYSA-N 0.000 claims description 15
- 229910052814 silicon oxide Inorganic materials 0.000 claims description 15
- 229910021420 polycrystalline silicon Inorganic materials 0.000 claims description 14
- 229920005591 polysilicon Polymers 0.000 claims description 14
- 238000000348 solid-phase epitaxy Methods 0.000 claims description 9
- 239000002019 doping agent Substances 0.000 claims description 8
- 239000013078 crystal Substances 0.000 claims description 7
- 229910021419 crystalline silicon Inorganic materials 0.000 claims description 6
- 108091006146 Channels Proteins 0.000 description 73
- 229910052581 Si3N4 Inorganic materials 0.000 description 14
- HQVNEWCFYHHQES-UHFFFAOYSA-N silicon nitride Chemical compound N12[Si]34N5[Si]62N3[Si]51N64 HQVNEWCFYHHQES-UHFFFAOYSA-N 0.000 description 14
- 238000010586 diagram Methods 0.000 description 13
- 230000000694 effects Effects 0.000 description 10
- 230000015572 biosynthetic process Effects 0.000 description 9
- 239000002073 nanorod Substances 0.000 description 8
- 125000006850 spacer group Chemical group 0.000 description 8
- KWYUFKZDYYNOTN-UHFFFAOYSA-M Potassium hydroxide Chemical compound [OH-].[K+] KWYUFKZDYYNOTN-UHFFFAOYSA-M 0.000 description 6
- 230000006399 behavior Effects 0.000 description 6
- 238000004891 communication Methods 0.000 description 6
- 230000009977 dual effect Effects 0.000 description 5
- 230000006870 function Effects 0.000 description 5
- 238000000151 deposition Methods 0.000 description 4
- 230000005684 electric field Effects 0.000 description 4
- 150000004767 nitrides Chemical class 0.000 description 4
- 230000003647 oxidation Effects 0.000 description 4
- 238000007254 oxidation reaction Methods 0.000 description 4
- 230000001360 synchronised effect Effects 0.000 description 4
- 238000007796 conventional method Methods 0.000 description 3
- 230000008021 deposition Effects 0.000 description 3
- 230000002093 peripheral effect Effects 0.000 description 3
- 239000011148 porous material Substances 0.000 description 3
- 230000004888 barrier function Effects 0.000 description 2
- 238000005229 chemical vapour deposition Methods 0.000 description 2
- 238000010276 construction Methods 0.000 description 2
- 238000002425 crystallisation Methods 0.000 description 2
- 230000008025 crystallization Effects 0.000 description 2
- 230000007423 decrease Effects 0.000 description 2
- 238000005516 engineering process Methods 0.000 description 2
- 230000010365 information processing Effects 0.000 description 2
- 238000004519 manufacturing process Methods 0.000 description 2
- 230000000873 masking effect Effects 0.000 description 2
- 230000001590 oxidative effect Effects 0.000 description 2
- 238000005498 polishing Methods 0.000 description 2
- 239000000126 substance Substances 0.000 description 2
- 102000004129 N-Type Calcium Channels Human genes 0.000 description 1
- 108090000699 N-Type Calcium Channels Proteins 0.000 description 1
- 238000000137 annealing Methods 0.000 description 1
- 238000013459 approach Methods 0.000 description 1
- 230000008901 benefit Effects 0.000 description 1
- 230000005540 biological transmission Effects 0.000 description 1
- 239000003990 capacitor Substances 0.000 description 1
- 230000009194 climbing Effects 0.000 description 1
- 239000003989 dielectric material Substances 0.000 description 1
- 238000009792 diffusion process Methods 0.000 description 1
- 230000005611 electricity Effects 0.000 description 1
- 230000001747 exhibiting effect Effects 0.000 description 1
- 238000010438 heat treatment Methods 0.000 description 1
- 238000002513 implantation Methods 0.000 description 1
- 230000006872 improvement Effects 0.000 description 1
- 239000011810 insulating material Substances 0.000 description 1
- 150000002500 ions Chemical class 0.000 description 1
- 230000014759 maintenance of location Effects 0.000 description 1
- 229910044991 metal oxide Inorganic materials 0.000 description 1
- 150000004706 metal oxides Chemical class 0.000 description 1
- 229910021421 monocrystalline silicon Inorganic materials 0.000 description 1
- 239000013307 optical fiber Substances 0.000 description 1
- 230000003068 static effect Effects 0.000 description 1
- 238000003860 storage Methods 0.000 description 1
Images
Classifications
-
- H—ELECTRICITY
- H10—SEMICONDUCTOR DEVICES; ELECTRIC SOLID-STATE DEVICES NOT OTHERWISE PROVIDED FOR
- H10D—INORGANIC ELECTRIC SEMICONDUCTOR DEVICES
- H10D84/00—Integrated devices formed in or on semiconductor substrates that comprise only semiconducting layers, e.g. on Si wafers or on GaAs-on-Si wafers
- H10D84/80—Integrated devices formed in or on semiconductor substrates that comprise only semiconducting layers, e.g. on Si wafers or on GaAs-on-Si wafers characterised by the integration of at least one component covered by groups H10D12/00 or H10D30/00, e.g. integration of IGFETs
-
- H—ELECTRICITY
- H10—SEMICONDUCTOR DEVICES; ELECTRIC SOLID-STATE DEVICES NOT OTHERWISE PROVIDED FOR
- H10B—ELECTRONIC MEMORY DEVICES
- H10B99/00—Subject matter not provided for in other groups of this subclass
-
- H—ELECTRICITY
- H10—SEMICONDUCTOR DEVICES; ELECTRIC SOLID-STATE DEVICES NOT OTHERWISE PROVIDED FOR
- H10D—INORGANIC ELECTRIC SEMICONDUCTOR DEVICES
- H10D10/00—Bipolar junction transistors [BJT]
- H10D10/231—Tunnel BJTs
-
- H—ELECTRICITY
- H10—SEMICONDUCTOR DEVICES; ELECTRIC SOLID-STATE DEVICES NOT OTHERWISE PROVIDED FOR
- H10D—INORGANIC ELECTRIC SEMICONDUCTOR DEVICES
- H10D30/00—Field-effect transistors [FET]
- H10D30/01—Manufacture or treatment
- H10D30/021—Manufacture or treatment of FETs having insulated gates [IGFET]
- H10D30/025—Manufacture or treatment of FETs having insulated gates [IGFET] of vertical IGFETs
-
- H—ELECTRICITY
- H10—SEMICONDUCTOR DEVICES; ELECTRIC SOLID-STATE DEVICES NOT OTHERWISE PROVIDED FOR
- H10D—INORGANIC ELECTRIC SEMICONDUCTOR DEVICES
- H10D30/00—Field-effect transistors [FET]
- H10D30/01—Manufacture or treatment
- H10D30/021—Manufacture or treatment of FETs having insulated gates [IGFET]
- H10D30/031—Manufacture or treatment of FETs having insulated gates [IGFET] of thin-film transistors [TFT]
-
- H—ELECTRICITY
- H10—SEMICONDUCTOR DEVICES; ELECTRIC SOLID-STATE DEVICES NOT OTHERWISE PROVIDED FOR
- H10D—INORGANIC ELECTRIC SEMICONDUCTOR DEVICES
- H10D30/00—Field-effect transistors [FET]
- H10D30/60—Insulated-gate field-effect transistors [IGFET]
- H10D30/63—Vertical IGFETs
-
- H—ELECTRICITY
- H10—SEMICONDUCTOR DEVICES; ELECTRIC SOLID-STATE DEVICES NOT OTHERWISE PROVIDED FOR
- H10D—INORGANIC ELECTRIC SEMICONDUCTOR DEVICES
- H10D30/00—Field-effect transistors [FET]
- H10D30/60—Insulated-gate field-effect transistors [IGFET]
- H10D30/67—Thin-film transistors [TFT]
- H10D30/6728—Vertical TFTs
-
- H—ELECTRICITY
- H10—SEMICONDUCTOR DEVICES; ELECTRIC SOLID-STATE DEVICES NOT OTHERWISE PROVIDED FOR
- H10D—INORGANIC ELECTRIC SEMICONDUCTOR DEVICES
- H10D30/00—Field-effect transistors [FET]
- H10D30/60—Insulated-gate field-effect transistors [IGFET]
- H10D30/67—Thin-film transistors [TFT]
- H10D30/6729—Thin-film transistors [TFT] characterised by the electrodes
- H10D30/673—Thin-film transistors [TFT] characterised by the electrodes characterised by the shapes, relative sizes or dispositions of the gate electrodes
- H10D30/6735—Thin-film transistors [TFT] characterised by the electrodes characterised by the shapes, relative sizes or dispositions of the gate electrodes having gates fully surrounding the channels, e.g. gate-all-around
-
- H—ELECTRICITY
- H10—SEMICONDUCTOR DEVICES; ELECTRIC SOLID-STATE DEVICES NOT OTHERWISE PROVIDED FOR
- H10D—INORGANIC ELECTRIC SEMICONDUCTOR DEVICES
- H10D62/00—Semiconductor bodies, or regions thereof, of devices having potential barriers
- H10D62/10—Shapes, relative sizes or dispositions of the regions of the semiconductor bodies; Shapes of the semiconductor bodies
- H10D62/117—Shapes of semiconductor bodies
- H10D62/118—Nanostructure semiconductor bodies
-
- H—ELECTRICITY
- H10—SEMICONDUCTOR DEVICES; ELECTRIC SOLID-STATE DEVICES NOT OTHERWISE PROVIDED FOR
- H10D—INORGANIC ELECTRIC SEMICONDUCTOR DEVICES
- H10D62/00—Semiconductor bodies, or regions thereof, of devices having potential barriers
- H10D62/10—Shapes, relative sizes or dispositions of the regions of the semiconductor bodies; Shapes of the semiconductor bodies
- H10D62/117—Shapes of semiconductor bodies
- H10D62/118—Nanostructure semiconductor bodies
- H10D62/119—Nanowire, nanosheet or nanotube semiconductor bodies
- H10D62/121—Nanowire, nanosheet or nanotube semiconductor bodies oriented parallel to substrates
-
- B—PERFORMING OPERATIONS; TRANSPORTING
- B82—NANOTECHNOLOGY
- B82Y—SPECIFIC USES OR APPLICATIONS OF NANOSTRUCTURES; MEASUREMENT OR ANALYSIS OF NANOSTRUCTURES; MANUFACTURE OR TREATMENT OF NANOSTRUCTURES
- B82Y10/00—Nanotechnology for information processing, storage or transmission, e.g. quantum computing or single electron logic
-
- H—ELECTRICITY
- H10—SEMICONDUCTOR DEVICES; ELECTRIC SOLID-STATE DEVICES NOT OTHERWISE PROVIDED FOR
- H10B—ELECTRONIC MEMORY DEVICES
- H10B12/00—Dynamic random access memory [DRAM] devices
- H10B12/01—Manufacture or treatment
- H10B12/02—Manufacture or treatment for one transistor one-capacitor [1T-1C] memory cells
- H10B12/05—Making the transistor
- H10B12/053—Making the transistor the transistor being at least partially in a trench in the substrate
-
- H—ELECTRICITY
- H10—SEMICONDUCTOR DEVICES; ELECTRIC SOLID-STATE DEVICES NOT OTHERWISE PROVIDED FOR
- H10D—INORGANIC ELECTRIC SEMICONDUCTOR DEVICES
- H10D30/00—Field-effect transistors [FET]
- H10D30/01—Manufacture or treatment
- H10D30/021—Manufacture or treatment of FETs having insulated gates [IGFET]
- H10D30/0411—Manufacture or treatment of FETs having insulated gates [IGFET] of FETs having floating gates
Landscapes
- Engineering & Computer Science (AREA)
- Chemical & Material Sciences (AREA)
- Nanotechnology (AREA)
- Theoretical Computer Science (AREA)
- Physics & Mathematics (AREA)
- Crystallography & Structural Chemistry (AREA)
- Mathematical Physics (AREA)
- Thin Film Transistor (AREA)
- Insulated Gate Type Field-Effect Transistor (AREA)
- Semiconductor Memories (AREA)
- Metal-Oxide And Bipolar Metal-Oxide Semiconductor Integrated Circuits (AREA)
- Non-Volatile Memory (AREA)
- Electrodes Of Semiconductors (AREA)
- Recrystallisation Techniques (AREA)
Abstract
本明細書では、フォトリソグラフィ基準寸法未満の巾を持つトランジスタボディを囲うゲートを具えた、垂直トンネリング・トランジスタを開示する。こうしたサラウンディングゲートを具えた薄型トンネリング・トランジスタを使って、閾値下漏洩を少なくできる。種々の実施形態群では、基板上に形成した非晶質構造体から結晶質ナノFinを成長させるか、結晶質基板をエッチングして結晶質基板から結晶質ナノFinを劃定するようにするか、あるいは、基板上に形成した非晶質構造体から結晶質ナノワイヤを成長させるか、のいずれかの手法により、リソグラフィ基準寸法以下の基板を得る。他の態様群および実施形態群についても本明細書に開示してある。
Description
〔関連出願へのクロスリファレンス〕
"Nanowire Transistor With Surrounding Gate" U.S.Application Serial No. 11/397,527(2006年04月04日出願)、 "Grown Nanofin Transistors" U.S.Application Serial No. 11/397,430(2006年04月04日出願)、 "Etched Nanofin Transistors" U.S.Application Serial No. 11/397,358(2006年04月04日出願)、 "DRAM With Nanofin Transistors" U.S.Application Serial No. 11/397,413(2006年04月04日出願)の優先日の利益を、ここに請求する。これらの出願はこの参照により本開示に含まれる。
"Nanowire Transistor With Surrounding Gate" U.S.Application Serial No. 11/397,527(2006年04月04日出願)、 "Grown Nanofin Transistors" U.S.Application Serial No. 11/397,430(2006年04月04日出願)、 "Etched Nanofin Transistors" U.S.Application Serial No. 11/397,358(2006年04月04日出願)、 "DRAM With Nanofin Transistors" U.S.Application Serial No. 11/397,413(2006年04月04日出願)の優先日の利益を、ここに請求する。これらの出願はこの参照により本開示に含まれる。
本出願はまた、以下に挙げる本発明の譲受人に譲渡された米国特許出願にも関係しており、これらの出願の全体はここでの参照により本開示に含まれる。 "Vertical Tunneling
Nano-Wire Transistor" U.S. Application Serial No. 11/210,374(2004年08月25日出願)、 "Ultra-Thin Body Vertical Tunneling Transistor" U.S.Application Serial No. 11/215,468(2005年08月29日出願)、および "DRAM Tunneling Access Transistor" U.S.Application Serial No. 11/219,085(2005年08月29日出願)。
Nano-Wire Transistor" U.S. Application Serial No. 11/210,374(2004年08月25日出願)、 "Ultra-Thin Body Vertical Tunneling Transistor" U.S.Application Serial No. 11/215,468(2005年08月29日出願)、および "DRAM Tunneling Access Transistor" U.S.Application Serial No. 11/219,085(2005年08月29日出願)。
〔技術分野〕
本開示は、半導体装置に全般的に関し、特にリソグラフィ基準寸法以下(sublithographic)であるチャネルを具えたトンネリング・トランジスタに関する。
本開示は、半導体装置に全般的に関し、特にリソグラフィ基準寸法以下(sublithographic)であるチャネルを具えたトンネリング・トランジスタに関する。
半導体産業市場は、トランジスタなどの装置の大きさを縮め、基板上の素子密度を高める要請に駆られている。製品の目標としては、消費電力の低減、性能の向上、小型化などがある。トランジスタをオフにしたときに電流が通せるようにしつつ、トランジスタの長さを縮めてゆくと、蓄電量が奪われて性能に影響が出てしまう。金属酸化膜半導体(MOS)トランジスタのゲート-ソース電圧が電圧閾値を下回ると、閾値下領域に入ってしまう。ゲート-ソース電圧に対するドレイン電流が指数関数的に変化することがその特徴である。技法が拡縮してゆくにつれ、閾値下漏洩電流が指数関数的に増加し、全電力消散量のうちの大部分を占めるようになってしまう。こうしたことは、携帯型装置では電池寿命が重要である携帯型(ハンドヘルド型)装置の設計者にとって大きな問題である。そして充分な性能を発揮させつつ電力消散量を最小限に抑えるという課題がますます重要視されるようになっている。またDRAMにおいても、漏洩電流はキャパシタセルでの電荷保持時間を減少させてしまうため、やはり深刻な問題である。
図1は、装置の種々のパラメータを、係数 k で拡縮するおおまかな傾向と相関を示したものである。一例として、旧来のトランジスタ構造体では、接合深さはチャネル長未満である必要がある。すると、図1に示したトランジスタ 100 では、チャネル長 102 の適切な長さが1000Åであることを考慮すると、接合深さ 101 は数百オングストロームの桁になるべきである。そうした浅い接合は、旧来の注入・拡散法ではつくることが難しい。また、チャネルへと超高濃度のドーピングを行うと、短チャネル効果をどうしても抑制してしまうことになる。こうした短チャネル効果には、ドレイン誘起障壁低下、閾値電圧のroll off(ロールオフ)、および閾値下伝達などがある。このような超高濃度ドープを行うと、漏洩が増してキャリア移動度が減少してしまう。閾値電圧が低いので、充分な増速駆動(overdrive)と妥当なスイッチング速度は実現できる。しかし図2に示したように、閾値が小さいと、閾値下漏洩電流がかなり大きくなってしまう。ゆえに、短かめのチャネルから得ようとしていた性能向上が、高濃度ドープに因るキャリア移動度の低さと漏洩の大きさに打ち消されてしまうのである。
図3には、旧来の平面型CMOSトランジスタについての理想的な60mV/decadeの閾値下勾配と、短チャネル効果を受けた旧来の平面型CMOSトランジスタ構造体についての120mV/decadeから80mV/decadeの桁の閾値下勾配との、比較を描いてある。この図を見れば、旧来のナノスケール平面型CMOSトランジスタ技法において、閾値下漏洩電流を制御して減らすということがいかに難しいかがわかる。この問題は、ナノスケールCMOS回路に使われている低電力供給電圧によってさらに亢進してしまう──そうした低電力供給電圧は今や2.5Vの桁に乗っており、いずれはさらに低く、1.2Vの範囲にまで向かっていくことになる。良好なIon/Ioff比を得るには、トランジスタをオンにした際に、閾値下漏洩電流が、トランジスタ電流量の八倍以上(8 decades)低くなるべきである。そうではあるのだが、旧来の平面型装置で大電流と低閾値下漏洩の双方を実現するために必要な電圧振幅が、1.2V電源では充分には得られないのである。トランジスタをオンにするには、閾値電圧 VT を超えるような充分な電圧の増速駆動(overdrive)が要る。そしてトランジスタの閾値下漏洩を切るには、閾値電圧勾配の数倍(図3に約100mV/decadeとして示した)もが必要になるのである。
こうした問題を狙って提案されたいくつかの設計では、超薄型基板(ultra-thin bodies)を持つトランジスタか、もしくは、トランジスタの他の寸法が縮小したのと同様にして表面空間電荷領域の寸法もとったようなトランジスタか、を用いている。また、デュアルゲート式もしくはダブルゲート式のトランジスタ構造体も、トランジスタの縮小のために提案されたものである。当該産業では通常、「デュアル(dual)ゲート」とは、別々の独立した電圧で駆動可能な前面ゲートと背面ゲートを具えたトランジスタのことを指す。そして「ダブル(double)ゲート」とは、両方のゲートが同じ電位で駆動されるような構造体のことを指す。ゲート基板を接続したトランジスタでは、動的な変動する閾値電圧が得られるので、トランジスタがオンのときには閾値が低く、トランジスタがオフのときには閾値が低くなるようにできる。ダブルゲート装置構造体の例としてはFinFETがある。「Triゲート」構造体およびサラウンディング(surrounding)ゲート構造体も提案されている。「Triゲート」構造体では、ゲートが、チャネルの三方の側に存在する。サラウンディングゲート構造体では、ゲートが、トランジスタチャネルをとりかこんでいる(囲繞している)。サラウンディングゲート構造体では、トランジスタチャネル全体に亙って望ましい制御ができるが、そうした構造体を実際につくるのはこれまでは難しかった。
図4には、ドレインと、ソースと、ゲート絶縁体で半導体基板から隔てられた前面ゲートおよび背面ゲートとを具えた、デュアルゲート式MOSFETを示してある。さらに図3には、ドレインから発生する電界も示してある。デュアルゲート式MOSFETおよび/もしくはダブルゲート式MOSFETの持つ特性群は、旧来のバルク珪素MOSFETよりは優れたものである。これは、単一ゲートに較べれば、二つのゲートが、ドレイン電極のチャネルのソース側端から発生する電界を能く遮蔽するからである。サラウンディングゲートは、ドレイン電極のソース側から発生する電界をもっと能く遮蔽できる。図5には、デュアルゲート式MOSFET、ダブルゲート式MOSFET、もしくはサラウンディングゲート式MOSFETの向上した閾値下特性を、旧来のバルク珪素MOSFETの閾値下特性と比較するかたちでおおまかに示してある。デュアルゲート式および/もしくはダブルゲート式のMOSFETがオフになる際には、閾値下電流はより高速に減少する。
リソグラフィ基準寸法以下のチャネル寸法を持つMOSFET(FinFETなど)では、閾値下勾配が60mV/decadeになるようにでき、これは大型且つ旧来の平面型MOSFETに関連する閾値下勾配よりも小さい。しかしながら、閾値下漏洩をさらに減らせるような新規な装置構造体の需要が依然存在している。
トンネリング・トランジスタの閾値下勾配は、ゼロ近傍にできる。本明細書では、フォトリソグラフィー基準寸法(photolithographic dimension)未満の巾を持つトランジスタボディを囲うゲートを具えた、垂直トンネリング・トランジスタを開示する。こうしたサラウンディングゲートを具えた薄型トンネリング・トランジスタを使って、CMOS回路での閾値下漏洩を少なくできる。種々の実施形態群では、基板上に形成した非晶質構造体から結晶質ナノFinを成長させるか、結晶質基板をエッチングして結晶質基板から結晶質ナノFinを劃定するようにするか、あるいは、基板上に形成した非晶質構造体から結晶質ナノワイヤを成長させるか、のいずれかの手法により、リソグラフィ基準寸法以下の基板を得る。種々の実施形態群では、側壁スペーサー法を使って、リソグラフィ基準寸法以下を実現する。
種々の態様群はトランジスタに関する。トランジスタに関する種々の実施形態群には、第一の方向についてリソグラフィ基準寸法以下である断面巾を有し且つ第一の方向に直交する第二の方向について最小フィーチャ寸法(minimum feature size)に対応する断面巾を有するようなナノFinと、そのナノFinの周りに在るサラウンディングゲート絶縁体と、ナノFinの周りにそのサラウンディングゲート絶縁体を間に挟んで在るサラウンディングゲートと、が含まれる。ナノFinの底端に在る第一の導電型を有する第一のソース/ドレイン領域、および、ナノFinの頂端に在る第二の導電型を有する第二のソース/ドレイン領域によって、その第一のソース/ドレイン領域と第二のソース/ドレイン領域との間を垂直方向に走るチャネル領域が劃定されている。種々のトランジスタにかかる実施形態には、基板表面上に形成され且つ少なくとも一方向についてリソグラフィ基準寸法以下である断面寸法を有するような結晶質柱と、その結晶質柱の周りに在るサラウンディングゲート絶縁体と、結晶質柱の周りにそのサラウンディングゲート絶縁体を間に挟んで在るサラウンディングゲートと、が含まれる。この結晶質柱を用いることで、第一の導電型を有する第一のソース/ドレイン領域と、第二の導電型を有する第二のソース/ドレイン領域との間を、垂直方向に走るチャネル領域が得られる。
種々の態様群は、トランジスタの形成方法に関する。この方法の種々の実施形態群では、第一の方向についてリソグラフィ基準寸法以下である断面巾を有し、且つ第一の方向に直交する第二の方向について最小フィーチャ寸法に対応する断面巾を有するようなナノFinを形成する。また、サラウンディングゲート絶縁体をそのナノFinの周りにつくり、そしてサラウンディングゲートをナノFinの周りにそのサラウンディングゲート絶縁体を間に挟むようにして形成する。このナノFinを用いることで、第一の導電型を有する第一のソース/ドレイン領域と、第二の導電型を有する第二のソース/ドレイン領域との間を、垂直方向に走るチャネル領域が得られる。種々の実施形態群では、非晶質半導体柱を基板上に形成してから再結晶することで、ナノFinを形成する。種々の実施形態群では、結晶質基板に複数の溝をエッチングすることで、その基板からナノFinを形成する。
本方法にかかる種々の実施形態群では、少なくとも一方向についてリソグラフィ基準寸法以下である断面寸法を有するような結晶質柱を形成する。この形成には、非晶質半導体柱を基板につくってから再結晶することでそうした結晶質柱を形成すること、が含まれる。サラウンディングゲート絶縁体をその結晶質柱の周りに形成してから、サラウンディングゲートを結晶質柱の周りにそのサラウンディングゲート絶縁体を間に挟むようにして形成する。こういった結晶質柱を用いることで、第一の導電型を有する第一のソース/ドレイン領域と、第二の導電型を有する第二のソース/ドレイン領域との間を、垂直方向に走るチャネル領域が得られる。
これらその他の態様、実施形態、効果、および特徴は、本主題についての以降の記載および参照図面から明らかとなってくるであろう。
以降の詳細な記載では、本主題を実施可能な特定の態様群および実施形態群を一例として示してある付随図面を参照している。これらの実施形態群は、当業者が本主題を実施できる程度に充分に詳細に記載してある。本主題の種々の実施形態同士が排他的である必然性はなく、或る実施形態の態様を別の実施形態の態様と組み合わせてもかまわない。他の実施形態を利用してもよく、また、構造的・論理的・電気的な変更を本主題の範囲から逸脱することなく加えることも可能である。以降の記載では、「ウェハ」("wafer")という語と「基板」("substrate")という語は同義であって、集積回路を作成可能な任意の構造体を一般に指し、集積回路製造中の種々の段階でのそうした構造体のことも指す。どちらの語にも、ドープ半導体および非ドープ半導体、支持半導体上もしくは絶縁材料上の半導体のエピタキシャル層、が含まれ、ひいては当該技術分野にて公知である他の構造体も包摂されている。「水平方向の」("horizontal")という語は本出願では、ウェハまたは基板の在来型の平面もしくは表面に対して平行な平面のことであると定義され、そのウェハもしくは基板の向きには依らない。「垂直方向の」("vertical")という語は、上記で定めた「水平方向」に直交する方向のことを指す。"on"(「上の」、「に付いた」)、"side"(「横の」)、"higher"(「高い」)、"lower"(「低い」)、"over"(「上の」、「被った」)、および"under"(「下の」、「下方の」)といった前置詞は、ウェハまたは基板の上面に位置する在来型の平面もしくは表面に対して定義されるものであって、そのウェハもしくは基板の向きには依らない。ゆえに以降の詳細な記載は、限定的な意味にとるべきものではない。そして本発明の範囲は、付随する請求項とその請求項が体現する均等な特徴の全範囲によってのみ定められる。
本主題は、サラウンディングゲートおよびリソグラフィ基準寸法以下であるチャネルを具えた、トンネリング・トランジスタに関する。トンネリング・トランジスタ構造体およびそれらの形成方法にかかる種々の実施形態群を、以下に述べてゆく。このような構造体としては、成長型ナノワイヤトンネリング・トランジスタ、成長型ナノFinトンネリング・トランジスタ、エッチング型ナノFinトランジスタ、がある。また以下では、ナノFinアレイのレイアウト、CMOS論理回路の例、ならびに高レベルの装置およびシステムについても述べる。
〔トンネリング・トランジスタ〕
図6にはトランジスタ構造体603 を描いてある。トランジスタ構造体 603 は、垂直式であり且つリソグラフィ基準寸法以下であるようなチャネル 604 と、サラウンディングゲート 605 と、同じ導電型であるソース/ドレイン領域 606 およびソース/ドレイン領域 607 と、を具えている。こうしたトランジスタとしては、U.S. Application Nos. 11/397,430(2006年04月04日出願)および11/397,358(2006年04月04日出願)に記載されたものなどのナノFinトランジスタを用いてもよい。あるいはこうしたトランジスタとして、U.S. Application No. 11/397,527(2006年04月04日出願)に記載されたものなどのナノワイヤ・トランジスタを用いてもかまわない。サラウンディングゲート 605 は、基板もしくはチャネル 604 の周りにサラウンディングゲート絶縁体 608 を間に挟むようにして在る。この基板にドープを施すことで、底部のソース/ドレイン領域 606 と導電的に接続する導電線 609 を基板につくることができる。
図6にはトランジスタ構造体603 を描いてある。トランジスタ構造体 603 は、垂直式であり且つリソグラフィ基準寸法以下であるようなチャネル 604 と、サラウンディングゲート 605 と、同じ導電型であるソース/ドレイン領域 606 およびソース/ドレイン領域 607 と、を具えている。こうしたトランジスタとしては、U.S. Application Nos. 11/397,430(2006年04月04日出願)および11/397,358(2006年04月04日出願)に記載されたものなどのナノFinトランジスタを用いてもよい。あるいはこうしたトランジスタとして、U.S. Application No. 11/397,527(2006年04月04日出願)に記載されたものなどのナノワイヤ・トランジスタを用いてもかまわない。サラウンディングゲート 605 は、基板もしくはチャネル 604 の周りにサラウンディングゲート絶縁体 608 を間に挟むようにして在る。この基板にドープを施すことで、底部のソース/ドレイン領域 606 と導電的に接続する導電線 609 を基板につくることができる。
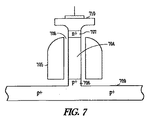
図7には、本主題の種々実施形態群にかかる、垂直式であり且つリソグラフィ基準寸法以下であるようなチャネルと、サラウンディングゲートと、異なる導電型である複数のソース/ドレイン領域と、を具えたトランジスタ構造体を描いてある。示した実施形態は、珪素基板内もしくはN+ウェル内に形成してある。別の実施形態では、他の導電型ドープを基板に施してもかまわない。
図6に示したトランジスタのように旧来は基板にN+ソース領域を形成していたが、そう
する代わりに、本主題の第一のソース/ドレイン領域 706 には、P+ドープを施す。さらには、その第一のソース/ドレイン領域 706 を回路内の他の素子に接続するソース配線 709 にも、P+ドープが施される。
する代わりに、本主題の第一のソース/ドレイン領域 706 には、P+ドープを施す。さらには、その第一のソース/ドレイン領域 706 を回路内の他の素子に接続するソース配線 709 にも、P+ドープが施される。
少なめにドープされた薄型p型基板 704 が、第一のソース/ドレイン領域 706 の上に形成される。或る実施形態では、この形成を行うに際して0.1ミクロン技法を用い、それによってトランジスタの高さが約100nm、厚さが25nmから50nmの範囲になるようにする。別の実施形態群では、他の高さおよび/もしくは他の厚さ範囲を用いてもかまわない。
N+ドープをされた第二のソース/ドレイン領域 707 を、珪素基板 704 の頂部に形成する。第二のソース/ドレイン領域 707 に接点 710 を形成することにより、トランジスタの第二のソース/ドレイン領域が、電子回路の他の素子に接続できるようになっている。この接続をする部位は、金属であってもよいし何か他の材料であってもよい。
ゲート絶縁体層 708 を、薄型基板 709 の周りに形成する。この絶縁体としては、酸化物を用いてもよいし何か他の種類の誘電材料を用いてもかまわない。いくつかの実施形態群では、半導体基板の酸化によってこうした絶縁体をつくる。例えば或る実施形態では、珪素柱を熱酸化する工程によって、その柱の周りに酸化珪素のゲート絶縁体を設ける。
制御ゲート 705 は、絶縁体層 708 の周りに形成する。当該技術分野で周知のように、制御ゲートに適切なバイアスをかけることで、第一のソース/ドレイン領域 706 と第二のソース/ドレイン領域との間のチャネル領域内にNチャネルを形成できる。
P+型である第一のソース/ドレイン領域を実施することも可能である。P+をドープする量は、N+よりもつねに少なくなるので、柱の頂部にはマスクをかける必要はなく、柱はN+のままになるであろう。得られる柱の側壁下にはP+領域が在り、頂部にはP+領域が在る。柱は薄いので、P+領域は柱の下で拡散し融合することになる。或る実施形態では、トランジスタ構造体が、成長式もしくは堆積式のゲート絶縁体と、側壁エッチング法でつくられたサラウンディングゲートと、を有する。
図8および図9には、図6のトランジスタの挙動についてのエネルギー帯(エネルギーバンド)図を描いてある。各図の上側の線は伝導帯のエネルギーを、下側の線は価電子帯のエネルギーを、それぞれ示している。図8は、本主題の種々の実施形態群にかかる、トランジスタゲートにバイアスをかけていないときの図7のトンネリング・トランジスタの電気的な挙動を、エネルギー帯図で示したものである。この図には、チャネルおよびN+である第二のソース/ドレイン領域811 、ならびにP+である第一のソース/ドレイン領域 812 が示されている。非導電性条件では、ソース/ドレイン領域間に大きな障壁 813 が存在する。図9は、本主題の種々の実施形態群にかかる、トランジスタゲートにバイアスをかけるときの図7のトンネリング・トランジスタの電気的な挙動を、エネルギー帯図で示したものである。トランジスタの電気的な挙動は、MOSでゲートされたpinダイオードに基づいたものである。ゲートにバイアスをかけることで、電子濃度がいったん減少すると、電子チャネルの形成が誘導されるような導電条件をつくりだせる。トンネル接合 914 を、このチャネルのP+側に形成する。ドレインにバイアスをかけることで、帯を曲げて、N型領域導電帯がソース領域の価電子帯のきわよりも下にくるようにできる。すると電子が、ソース価電子帯から、誘導されたn型チャネル領域へとトンネル移動し、そうしてドレイン電流が得られることになる。チャネルの導電帯のきわが、ソースの価電子帯の下へと引き下げられるまでは、トンネリングは起こりえない。このため、turn-on特性は非常に鋭く、図10に示すように、閾値下勾配が、トンネリング・トランジスタとしての理想値すなわち0mV/decadeに近づくことになる。
図10は、本主題の種々の実施形態群にかかる、図7のトンネリング・トランジスタについてのドレイン電流vs.トンネリング・トランジスタゲート-ソース電圧をプロットしたものであり、閾値下漏洩電流を示してある。このプロットでは、閾値下電流1015 が非常にきつい勾配 "S" を示しており、これはトンネリング・トランジスタの実施形態群でのバイアスかけに起因するものである。図10の縦軸のドレイン電流はlog scaleであり、横軸のVGSはlinearである。
〔垂直式であり且つリソグラフィ基準寸法以下であるチャネルを形成する方法〕
以下の記述では、珪素トランジスタの実施形態群を参照する。当業者は、本開示を通読し把握した上で、本明細書に教示したところをどのように用いれば、リソグラフィ基準寸法以下であるチャネルを具えたトンネリング・トランジスタを他の半導体を使って形成できるかについてを理解できるであろう。
以下の記述では、珪素トランジスタの実施形態群を参照する。当業者は、本開示を通読し把握した上で、本明細書に教示したところをどのように用いれば、リソグラフィ基準寸法以下であるチャネルを具えたトンネリング・トランジスタを他の半導体を使って形成できるかについてを理解できるであろう。
〔ナノワイヤ基板の成長方法〕
図11Aから図11Hには、本主題の種々の実施形態群にかかる、トンネリング・トランジスタのための垂直式チャネルを得るための、ナノワイヤ基板の成長工程を描いてある。示した工程では、サラウンディングゲートを具えた結晶質ナノロッドを形成する。示した工程については、 "Nanowire Transistor With Surrounding Gate" U.S. Application No. 11/397,527(2006年04月04日出願、この参照により本開示に含まれる)に記載されている。
図11Aから図11Hには、本主題の種々の実施形態群にかかる、トンネリング・トランジスタのための垂直式チャネルを得るための、ナノワイヤ基板の成長工程を描いてある。示した工程では、サラウンディングゲートを具えた結晶質ナノロッドを形成する。示した工程については、 "Nanowire Transistor With Surrounding Gate" U.S. Application No. 11/397,527(2006年04月04日出願、この参照により本開示に含まれる)に記載されている。
図11Aには、基板 1117 上の第一の層 1116 を示してある。第一の層 1116 には複数の孔 1118 がつくられている。この層に孔を劃定するにあたっては、第一の層をエッチングすることで行える。種々の実施形態群では、複数の孔 1118 を珪素基板 1117 上の窒化珪素層 1116 に穿つときに、それらの孔が窒化珪素層を貫通して珪素基板に届くようにする。示した実施形態では、それらの孔の寸法が、最小フィーチャ寸法に対応するようにつくる。各孔の中心は、ナノワイヤ・トランジスタの所望の位置に対応する。ナノワイヤ・トランジスタのアレイの、行と列についての中心間間隔を、2Fに設定できる。
孔を第一の層にエッチングして穿った後に、酸化物の層をその第一の層の上に設ける。種々の実施形態群では、窒化珪素層の上に酸化珪素を形成する。いくつかの実施形態群では、化学気相蒸着(CVD)工程により酸化珪素の堆積を行う。
図11Bには、酸化物を異方性エッチングして、孔の側部に付いた酸化物側壁 1119 を残すようにしたその後の、構造体を示してある。この酸化物側壁 1119 には、得られる孔の寸法を縮めるという効果がある。得られた構造体を平坦化する。100nm技法では例えば、酸化物側壁によって、孔の寸法を約30nmまで縮める。この例では、トランジスタの基板領域の厚さが、フィーチャ寸法の三分の一の値のorderになると考えられる。いくつかの実施形態群では、化学的・機械的研磨(CMP)工程を使って構造体を平坦化する。
図11Cには、得られた構造体の上に、非晶質半導体材料 1120 の厚い層を被せたさまを示してある。この非晶質材料が、側壁 1119 で劃定した孔を埋めている。種々の実施形態群では、非晶質材料として非晶質珪素を用いて堆積する。図11Dには、得られる構造体を(CMPなどで)平坦化したその後に、孔の中だけに非晶質半導体材料が残るようすを描いている。
図11Eには、側壁(酸化珪素でできた側壁など)を除去した後に得られる構造体を示してある。この構造体を加熱処理し、固相エピタキシー(SPE)などの公知の手法を使って、非晶質半導体 1120 (非晶質珪素など)を結晶化して結晶質ナノロッド( 1120-C を振って示した)をつくる。非晶質半導体柱 1120 は、半導体ウェハ(珪素ウェハなど)と
接続しており、したがって非晶質半導体柱 1120 の結晶成長は、そのウェハ中の結晶を種としたものとなる。SPE工程による結晶形成を、図11Eに矢印 1121 で示した。
接続しており、したがって非晶質半導体柱 1120 の結晶成長は、そのウェハ中の結晶を種としたものとなる。SPE工程による結晶形成を、図11Eに矢印 1121 で示した。
図11Fには、第一の層(窒化珪素など)を除去した後の構造体を描いており、ここでは結晶質ナノロッド 1120-C が基板表面からのびあがるようにして残っている。そしてその後にゲート絶縁体 1122 を得られる構造体に被せている。或る実施形態では、ゲート絶縁体の形成に熱酸化工程を使う。つまり、ウェハが珪素ウェハであって且つナノロッドが結晶質珪素ナノロッドであるような実施形態の場合には、ゲート絶縁体は酸化珪素となる。High K絶縁体などの他のゲート絶縁体を使ってもかまわない。
ゲート材料 1123 を結晶質ナノロッド 1120-C の側壁に付けてつくった後の構造体について、図11Gに側面図を、図11Hに図11Gの線11H-11H で切った断面図を、それぞれ示した。或る実施形態では、ゲート材料を堆積してから、得られる構造体をエッチングして、ナノロッドの側壁に付いた分だけしかゲート材料を残さないようにする。種々の実施形態群では、ポリシリコンをゲート材料として使う。柱の高さによってトランジスタのチャネル長が定まることになり、この柱の高さを最小リソグラフィ基準寸法(minimum lithographic dimensions)よりも小さくできる。種々の実施形態群では、チャネル長を約100nmのオーダー(order)にする。こうした巻きつき式(wraparound)ゲートを具えたナノロッドを用いて、surrounding式(巻きつき式)のゲートを具えたナノワイヤ・トランジスタを作成できる。単体のトランジスタもしくはトランジスタアレイを形成するには、 "Nanowire Transistor With Surrounding Gate" U.S. Application No. 11/397,527(2006年04月04日出願)に記載の手法に従えばよい。
〔ナノFin基板の成長方法〕
図12Aから図12Lには、本主題の種々の実施形態群にかかる、トンネリング・トランジスタのための垂直式チャネルを得るための、ナノFin基板の成長工程を描いてある。示した工程については、 "Grown Nanofin Transistors" U.S. Application No. 11/397,430(2006年04月04日出願、この参照により本開示に含まれる)に記載されている。
図12Aから図12Lには、本主題の種々の実施形態群にかかる、トンネリング・トランジスタのための垂直式チャネルを得るための、ナノFin基板の成長工程を描いてある。示した工程については、 "Grown Nanofin Transistors" U.S. Application No. 11/397,430(2006年04月04日出願、この参照により本開示に含まれる)に記載されている。
ここにて開示するのは、ナノFinトランジスタ、および、垂直方向の非晶質珪素ナノFinを基板上で再結晶させて単結晶珪素ナノFinトランジスタを作成するような構築法、である。本主題の態様群では、垂直チャネルを具えたナノFinトランジスタを提供し、こうしたトランジスタは、Finの底部に在る第一のソース/ドレイン領域と、Finの頂部に在る第二のソース/ドレイン領域とを有する。
半導体構造体 1224 の上面図を図12Aに、線 12B-12B に沿った断面図を図12Bに、それぞれ示してある。半導体構造体 1224 は、窒化珪素層 1225 と、窒化珪素層 122 に在る孔 1226 と、孔の壁に沿った非晶質珪素でできた側壁スペーサー 1227 と、を有する。孔を、窒化珪素層にエッチングして穿ってから、非晶質珪素を堆積させて異方性エッチングして側壁に付いたところだけに残す。孔 1226 をエッチングするときには、窒化珪素層 1225 を貫通して、珪素ウェハもしくは基板 1228 に届くようにする。
窒化珪素層を除去した後の構造体1224 の上面図を図12Cに、線 12D-12D に沿った断面図を図12Dに、それぞれ示してある。示しているように、窒化珪素層を除去した後に、側壁 1227 が、非晶質珪素の自立した細い領域として残ることになる。こうして得られる自立した珪素からなるパターンは、おおまかには細長い矩形なので、「競技路」("racetrack")パターンとも呼ばれている。線巾は、保護(マスキング)工程・リソグラフィ工程に依ってではなく、非晶質珪素の厚さに依って決まってくる。種々の実施形態群では例えば、非晶質珪素の厚さは、約20nmから50nmである。固相エピタキシャル(SPE)成長工程を使って、こうした非晶質珪素の自立した細い領域を再結晶させられる。SPE成長工
程には、アニーリング(加熱処理)が含まれ、これによって構造体中の非晶質珪素の結晶化を、珪素基板 1228 との界面から発動させる。この界面は結晶成長の種として機能し、珪素の自立した細い領域の残りの部分を這いのぼって結晶化が進行してゆくことになる。
程には、アニーリング(加熱処理)が含まれ、これによって構造体中の非晶質珪素の結晶化を、珪素基板 1228 との界面から発動させる。この界面は結晶成長の種として機能し、珪素の自立した細い領域の残りの部分を這いのぼって結晶化が進行してゆくことになる。
図12Eには、マスク層を塗布した後の構造体 1224 の上面図を描いてある。網かけしてあるところはエッチングされた部分であって、結晶質珪素からできた自立型Finが残っている。自立型Fin 1229 のなすパターンについて、図12Fに上面図を、図12Gに線 12G-12G に沿った断面図を、それぞれ示した。埋め込み式のドープ領域 1230 は、第一のソース/ドレイン領域として機能する。種々の実施形態群では、こうした埋め込み式のドープ領域をパターン化して、Finのアレイの行方向か列方向かに沿わせた導電線を作成可能である。
図12Hには構造体の上面図を示してあり、ここではFinがゲート絶縁体 1231 とゲート 1232 に囲まれている。このゲート絶縁体は、堆積してつくってもよいし、何らかの別の手法でつくってもかまわない。例えば酸化珪素を、珪素Finの上に熱酸化工程を用いて形成することもできる。ゲートとしては任意のゲート材料を使用でき、例えばポリシリコンもしくは金属を使用できる。ゲート材料を堆積して異方性エッチングすることで、ゲート材料を、ゲート絶縁体を具えたFin構造の側壁上にのみ残す。配線の向きは、「x方向」か「y方向」かのいずれかにできる。
図12Hの構造体
を絶縁体 1233 で埋め戻し、ゲート配線 1234 を「x方向」(Finの長手側に沿った方向)につくった状態に関して、図12Iに上面図を、図12Jに線 12J-12J に沿った断面図を、それぞれ示した。種々の実施形態群では、構造体を酸化珪素で埋め戻す。埋め戻した絶縁体に、Finの側部に沿って走らせるようにして溝をつくる。そしてゲート線をその溝の中につくる。種々の実施形態群では、ひとつのゲート線がFinの一方の側に沿って走っており、Fin構造体のサラウンディングゲートと接続している。いくつかの実施形態群では、第一のゲート線をFinの第一の側に、第二のゲート線をFinの第二の側に、それぞれつくる。ゲート配線材料(ポリシリコンもしくは金属など)を堆積して異方性エッチングし、側壁上にのみ残すようにできる。ゲート配線材料は、Finのサラウンディングゲートと接続しているのが好ましい。種々の実施形態群では、ゲート材料およびゲート配線材料をエッチングして、ゲートおよびゲート配線がFinの頂部の下にくるように凹ませる。構造体の全体を絶縁体(酸化珪素など)で埋め戻してから、平坦化して表面に酸化物だけが残るようにできる。こうした柱もしくはFinの頂部は、エッチングを使って露出させられる。旧来の技法を用いて、第二のソース/ドレイン領域を、Finの頂部に注入してつくり、また、ドレイン領域への金属接点を作成できる。例えば、金属配線を「x方向」に走らせ、埋め込み式ソース配線を図の紙面に垂直な方向に走らせるようにできる。
を絶縁体 1233 で埋め戻し、ゲート配線 1234 を「x方向」(Finの長手側に沿った方向)につくった状態に関して、図12Iに上面図を、図12Jに線 12J-12J に沿った断面図を、それぞれ示した。種々の実施形態群では、構造体を酸化珪素で埋め戻す。埋め戻した絶縁体に、Finの側部に沿って走らせるようにして溝をつくる。そしてゲート線をその溝の中につくる。種々の実施形態群では、ひとつのゲート線がFinの一方の側に沿って走っており、Fin構造体のサラウンディングゲートと接続している。いくつかの実施形態群では、第一のゲート線をFinの第一の側に、第二のゲート線をFinの第二の側に、それぞれつくる。ゲート配線材料(ポリシリコンもしくは金属など)を堆積して異方性エッチングし、側壁上にのみ残すようにできる。ゲート配線材料は、Finのサラウンディングゲートと接続しているのが好ましい。種々の実施形態群では、ゲート材料およびゲート配線材料をエッチングして、ゲートおよびゲート配線がFinの頂部の下にくるように凹ませる。構造体の全体を絶縁体(酸化珪素など)で埋め戻してから、平坦化して表面に酸化物だけが残るようにできる。こうした柱もしくはFinの頂部は、エッチングを使って露出させられる。旧来の技法を用いて、第二のソース/ドレイン領域を、Finの頂部に注入してつくり、また、ドレイン領域への金属接点を作成できる。例えば、金属配線を「x方向」に走らせ、埋め込み式ソース配線を図の紙面に垂直な方向に走らせるようにできる。
構造体を絶縁体で埋め戻して、ゲート配線を「y方向」(Finの短手側に沿った方向)につくった状態に関して、図12Kに上面図を、図12Lに線12L-12L に沿った断面図を、それぞれ示した。溝はFinの側部を「y方向に」沿って拓けている。ゲート配線材料 1234 (ポリシリコンもしくは金属など)を堆積して異方性エッチングし、側壁上にのみ残すようにしてFin上のゲートに接続させるようにできる。種々の実施形態群では、ゲート材料およびゲート配線材料をエッチングして、ゲートおよびゲート配線がFinの頂部の下にくるように凹ませる。構造体の全体を絶縁体 1233 (酸化珪素など)で埋め戻してから、平坦化して表面に埋め戻し絶縁体だけが残るようにできる。その後に、柱の頂部ならびに旧来の技法を用いてそこに注入されたドレイン領域1235およびドレイン領域への金属接点1236へと、接点開口部およびドレインドープ領域をエッチングしてつくることも可能である。例えば、金属配線を図の紙面に垂直な方向に走らせ、埋め込み式ソース配線 1230 を「x方向」に走らせるようにできる。非晶質珪素の堆積に先立って、埋め込み式ソース/ドレインをパターン化して注入する。図12Lには、仕上がったFin構造体のうちのひとつを提示しており、この構造体は、ドレイン/ソース領域と、凹んだゲートと、ソース/ドレイン領域配線と、を有している。こうしたナノFinFETでは、W/L比を大きくできるため、ナノワイヤFETに比して多量の電流を通すことが可能である。
〔ナノFin基板のエッチング方法〕
ここにて開示するのは、ナノFinトランジスタ、ならびに、基板もしくはウェハをエッチングしてナノFinを得てそのナノFinを使い単結晶ナノFinトランジスタを作成するような構築法、である。以降の詳細な説明では、付随する図面を参照して、本主題を実施可能な特定の態様群および実施形態群をあくまで例示として示す。当業者には、本開示を読んで理解した上で、他の半導体を用いてナノFinを作成する手法がわかるであろう。本主題の態様群では、垂直チャネルを具えたナノFinトランジスタを提供し、こうしたトランジスタは、Finの底部に在る第一のソース/ドレイン領域と、Finの頂部に在る第二のソース/ドレイン領域とを有する。
ここにて開示するのは、ナノFinトランジスタ、ならびに、基板もしくはウェハをエッチングしてナノFinを得てそのナノFinを使い単結晶ナノFinトランジスタを作成するような構築法、である。以降の詳細な説明では、付随する図面を参照して、本主題を実施可能な特定の態様群および実施形態群をあくまで例示として示す。当業者には、本開示を読んで理解した上で、他の半導体を用いてナノFinを作成する手法がわかるであろう。本主題の態様群では、垂直チャネルを具えたナノFinトランジスタを提供し、こうしたトランジスタは、Finの底部に在る第一のソース/ドレイン領域と、Finの頂部に在る第二のソース/ドレイン領域とを有する。
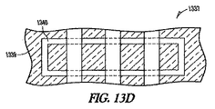
或る実施形態では、窒化珪素を珪素ウェハ上に堆積してから、この窒化珪素を非晶質珪素(a-silicon)の層で蔽う。図13Aには、孔1338 を非晶質珪素 1339 内に劃定して、側壁スペーサー 1340 を形成した後の、構造体 1337 の側面図を示してある。孔 1338 は窒化珪素層 1341 内に展延していて、窒化珪素層 1341 は基板 1342 (珪素ウェハなど)の上に位置している。種々の実施形態群では、非晶質珪素を酸化することで側壁スペーサーをつくる。図13Bには、非晶質珪素の厚い層 1339 で覆った後の、構造体 1337 の側面図を示してある。図13Cには、矢印 1344 に示したところで平坦化した後の構造体 1337 を示してある。こうした平坦化は、非晶質珪素の上部に載った酸化物を除去できる高さにまで、少なくとも行う。構造体の平坦化にあたっては、例えば化学的・機械的研磨(CMP)工程を使用できる。こうして、表面に露出した酸化物 1340 でできた細長い矩形のパターンか残る。このパターンのことを「競技路」("racetrack")パターンとも呼ぶ。このパターンの線巾は、保護(マスキング)工程・リソグラフィ工程に依ってではなく、酸化物の厚さに依って決まってくる。種々の実施形態群では例えば、酸化物の厚さは、約20nmから50nmである。
図13Dには、競技路パターンに被せたマスクを描いてあり、このマスクは酸化物の部分を選択的に蔽い、酸化物のその他の部分が露出するようにする。酸化物のこの露出した部分には斜線をかけてあり、ここが除去されることになる。エッチング工程(水酸化カリウム KOH エッチングなど)を施して、非晶質珪素を除去する。図13Dに示した、保護工程とエッチング工程の後に残る酸化物もしくは酸化物の一部が、エッチング工程中に窒化物を保護することになる。非晶質珪素を除去した後に窒化物 1341 をエッチングして、珪素異方性エッチングを使って、ウェハ 1342 を窒化物層下の所定の深さまでエッチングできる。窒化物パターンによって珪素の局部をエッチングから保護することで、珪素でできた珪素Fin 1343 を、珪素ウェハの今や低くなった表面から突き出したようなかたちで得ることができる(図13E参照)。Finの頂部とFinの底部に在る溝とにドーパントを注入した後の、構造体の上面図を図13Fに、側面図を図13Gに、それぞれ示した。図13Fに示したように、溝に注入したドーパントによって、導電線 1344 (ソース線など)ができている。また、Finの底もしくは底部に注入したドーパントによって、ソース/ドレイン領域ができている。Finは極薄なので、溝へのドープをするとFinの下部に完全に拡散させられる。こうした細片は行方向に並べてもよいし列方向に並べてもよい。
図13Hには、ゲート絶縁体1345 をFin 1343 の周りに形成して、ゲート材料 1346 をFin 1343 の周りにそのゲート絶縁体 1345 を間に挟んで形成した後の、構造体1337 を描いてある。或る実施形態では例えば、熱酸化工程を用いて珪素Finを酸化する。種々の実施形態群では、ゲート材料 1346 として、ポリシリコンもしくは金属を使用できる。
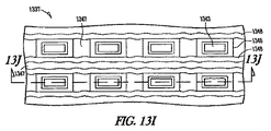
アレイの第一の実施形態に関して、図13Iに上面図を、図13Jに線 13J-13J に沿った断面図を、それぞれ示した。構造体 1337 を絶縁体 1347 (酸化物など)で埋め戻してから、溝をFinの脇につくる。ゲート配線材料 1348 (ポリシリコンもしくは金属など)を堆積して異方性エッチングし、側壁に付いたところだけに残して、Finのサラウンディングゲート1346 に接続するようにできる。ゲート材料およびゲート配線材料をエッチングして、Finの頂部の下にくるように凹ませることが可能である。構造体の全体を酸化物で埋め戻してから、平坦化して表面に酸化物だけが残るようにできる。その後に、柱の頂部ならびに旧来の技法を用いてそこに注入されたドレイン領域およびドレイン領域への金属接点へと、接点開口部およびドレインドープ領域をエッチングしてつくることも可能である。この場合、金属配線を「x方向」に走らせ、埋め込み式ソース配線 1349 を図の紙面に垂直な方向に走らせるようにできる。
アレイの第二の実施形態に関して、図13Kに上面図を、図13Lに線 13L-13L に沿った断面図を、それぞれ示した。構造体 1337 は絶縁体 1347 (酸化物など)で埋め戻されており、溝がFin 1343 の脇の「y方向」に沿ってつくられている。ゲート配線材料 1348 (ポリシリコンもしくは金属など)を堆積して異方性エッチングし、側壁に付いたところだけに残して、Fin上のゲートに接続するようにできる。ゲート材料およびゲート配線材料をエッチングして、Finの頂部の下にくるように凹ませることが可能である。構造体の全体を絶縁体(酸化物など)で埋め戻してから、平坦化して表面に酸化物だけが残るようにできる。その後に、柱の頂部ならびに旧来の技法を用いてそこに注入されたドレイン領域およびドレイン領域への金属接点へと、接点開口部およびドレインドープ領域をエッチングしてつくることも可能である。この場合、金属配線を図の紙面に垂直な方向に走らせ、埋め込み式ソース配線を「x方向」に走らせるようにできる。
アレイの第一の実施形態でも第二の実施形態でも、サラウンディングゲート絶縁体およびサラウンディングゲートの形成に先立って、埋め込み式ソース/ドレインをパターン化して注入できる。図13Lには、仕上がったFin構造体のうちのひとつを提示しており、この構造体は、ドレイン/ソース領域 1350 およびドレイン/ソース領域1351 と、凹んだゲート 1346 と、ソース/ドレイン領域配線 1349 と、を有している。こうしたナノFinFETでは、W/L比を大きくできるため、ナノワイヤFETに比して多量の電流を通すことが可能である。
図11Aから図11H、図12Aから図12L、および図13Aから図13Lに示した工程は、フロー図を以っておおまかに表すこともでき、その例が図14と図15である。図14には、本主題の種々の実施形態群にかかる、トンネリング・ナノFinトランジスタを形成する方法を示してある。示した実施形態では、 1452 にて、ナノFinの断面積がリソグラフィ基準寸法以下となるようにして形成する。垂直方向に走るチャネルが、ナノFin内に劃定されることになる。このナノFinの形成にあたっては、図12Aから図12Lに示したようにして結晶質ナノFinを成長させることで行うことができるし、あるいは、図13Aから図13Lに示したようにして結晶質基板をエッチングしてナノFinを劃定することで行ってもよい。1453 では、第一のソース/ドレイン領域を柱の底端に作成する。この第一のソース/ドレイン領域は第一の導電型を有し、例えばP+領域を有する。第一のソース/ドレイン領域の形成は、ナノFinの形成に先立って行うことが可能である。また、ナノFinの形成後に第一のソース/ドレイン領域をつくることもできる。その理由は、ナノFinが非常に薄いので、注入されたドーパントがナノFinの下方に完全に拡散できるからである。 1454 では、サラウンディングゲート絶縁体をナノFinの周りにつくってから、サラウンディングゲートをナノFinの周りにそのサラウンディングゲート絶縁体を間に挟むようにしてつくる。 1455 では、第二のソース/ドレイン領域をナノFinの頂端に形成する。この第二のソース/ドレイン領域は、第一の導電型とは異なる第二の導電型(例えばN+)を有する。なお、第一のソース/ドレイン領域が第二の導電型(N+)を有し、第二のソース/ドレイン領域が第一の導電型(P+)を有してもよい、ということに留意されたい。
図15には、本主題の種々の実施形態群にかかる、トンネリング・トランジスタのためのリソグラフィ基準寸法以下のトランジスタボディの成長方法を示してある。 1556 では、基板上の非晶質半導体から、結晶質柱を、その断面積がリソグラフィ基準寸法以下となるようにして成長させる。垂直方向に走るチャネルが、結晶質柱内に劃定されることになる。この柱は、図11Aから図11Hに示したようなナノワイヤであってもよいし、あるいは、図12Aから図12Lに示したようなナノFinであってもかまわない。 1557 では、第一のソース/ドレイン領域を、柱の底端に作成する。この第一のソース/ドレイン領域は第一の導電型を有し、例えばP+領域を有する。第一のソース/ドレイン領域の形成は、結晶質柱の形成に先立って行うことが可能である。また、結晶質柱の形成後に第一のソース/ドレイン領域をつくることもできる。その理由は、柱が非常に薄いので、注入されたドーパントが柱の下方に完全に拡散できるからである。 1558 では、サラウンディングゲート絶縁体を柱の周りにつくってから、サラウンディングゲートを柱の周りにそのサラウンディングゲート絶縁体を間に挟むようにしてつくる。 1559 では、第二のソース/ドレイン領域を柱の頂端に形成する。この第二のソース/ドレイン領域は、第一の導電型とは異なる第二の導電型(例えばN+)を有する。なお、第一のソース/ドレイン領域が第二の導電型(N+)を有し、第二のソース/ドレイン領域が第一の導電型(P+)を有してもよい、ということに留意されたい。単体のトランジスタ又はトランジスタアレイが形成される。
〔ナノFinアレイ〕
図16は、種々の実施形態群にかかる、トンネリング・ナノFinトランジスタのアレイのための、ナノFinの上面からみたレイアウトである。この図では、側壁スペーサー 1660
でできた二つの「競技路」を示しており、エッチングで側壁スペーサーの一部を取り除いたさまも描いてある。孔を使って、側壁スペーサー競技路が最小フィーチャ寸法(1F)となるようにつくってある。マスク片 1661 の巾は最小フィーチャ寸法(1F)であり、またマスク片 1661 同士の間隔も最小フィーチャ寸法(1F)になっている。示したレイアウトでは、ナノFinの列の中心間距離がほぼ2Fになっていて、またナノFinの行の中心間距離がほぼ1Fとなっている。また図16に示してあるように、ナノFinは、孔の壁に付いた側壁スペーサーからつくってあるので、第一の行と第二の行との中心間距離が、長さ1FからナノFinの厚みに応じた量だけ若干縮んだ長さ(1F-ΔT)となっている。そして、第二の行と第三の行との中心間距離が、長さ1FにナノFinの厚みに応じた量だけ若干足した長さ(1F+ΔT)となっている。一般に、第一の行と第二の行との中心間距離は、最小フィーチャ間隔(NF)からナノFinの厚みに応じた量だけ若干縮んだ長さ(NF-ΔT)となり、且つ、第二の行と第三の行との中心間距離が、最小フィーチャ間隔(NF)にナノFinの厚みに応じた量だけ若干足した長さ(NF+ΔT)となる。
図16は、種々の実施形態群にかかる、トンネリング・ナノFinトランジスタのアレイのための、ナノFinの上面からみたレイアウトである。この図では、側壁スペーサー 1660
でできた二つの「競技路」を示しており、エッチングで側壁スペーサーの一部を取り除いたさまも描いてある。孔を使って、側壁スペーサー競技路が最小フィーチャ寸法(1F)となるようにつくってある。マスク片 1661 の巾は最小フィーチャ寸法(1F)であり、またマスク片 1661 同士の間隔も最小フィーチャ寸法(1F)になっている。示したレイアウトでは、ナノFinの列の中心間距離がほぼ2Fになっていて、またナノFinの行の中心間距離がほぼ1Fとなっている。また図16に示してあるように、ナノFinは、孔の壁に付いた側壁スペーサーからつくってあるので、第一の行と第二の行との中心間距離が、長さ1FからナノFinの厚みに応じた量だけ若干縮んだ長さ(1F-ΔT)となっている。そして、第二の行と第三の行との中心間距離が、長さ1FにナノFinの厚みに応じた量だけ若干足した長さ(1F+ΔT)となっている。一般に、第一の行と第二の行との中心間距離は、最小フィーチャ間隔(NF)からナノFinの厚みに応じた量だけ若干縮んだ長さ(NF-ΔT)となり、且つ、第二の行と第三の行との中心間距離が、最小フィーチャ間隔(NF)にナノFinの厚みに応じた量だけ若干足した長さ(NF+ΔT)となる。
〔論理回路〕
図17は、本主題の種々の実施形態群にかかる、トンネリング・トランジスタを有するNORゲート論理回路を描いてある。入力A, B, C から、示したCMOS論理回路へと論理レベルを導入する。これらのうちのいずれかの入力からの論理low入力信号によって、PMOSトランジスタ 1772-1774 の対応するいずれかがONになり、トンネリング・トランジスタ 1775-1777 の対応するいずれかがOFFになる。論理high入力信号は逆の作用をする。トンネリング・トランジスタ 1775-1777 のいずれかがONになると、出力をground(すなわち論理0)にもってゆく作用が得られる。PMOSトランジスタ 1772-1774 のすべてがONになると、出力をVDD(すなわち論理1)につなぐ作用が得られる。
図17は、本主題の種々の実施形態群にかかる、トンネリング・トランジスタを有するNORゲート論理回路を描いてある。入力A, B, C から、示したCMOS論理回路へと論理レベルを導入する。これらのうちのいずれかの入力からの論理low入力信号によって、PMOSトランジスタ 1772-1774 の対応するいずれかがONになり、トンネリング・トランジスタ 1775-1777 の対応するいずれかがOFFになる。論理high入力信号は逆の作用をする。トンネリング・トランジスタ 1775-1777 のいずれかがONになると、出力をground(すなわち論理0)にもってゆく作用が得られる。PMOSトランジスタ 1772-1774 のすべてがONになると、出力をVDD(すなわち論理1)につなぐ作用が得られる。
図18は、本主題の種々の実施形態群にかかる、トンネリング・トランジスタを有するNANDゲート論理回路を描いてある。本出願では、トンネリング・トランジスタをNANDゲートCMOS論理回路内に組み込み、NMOSトランジスタがVssに最近接するようにしている。三つの入力 A, B, C のうちのいずれかからの論理low入力信号によって、PMOS装置 1878-1880 の対応するいずれかがONになり、そして出力を論理highへと押しやる。すべての入力で論理highになると、NMOSトランジスタ 1881-1882 のそれぞれがONになり、そしてトンネリング・トランジスタ 1883 もONになって出力を論理lowに押しやる。
本主題にかかるトンネリング・トランジスタによって、閾値下漏洩電流を実質的に減らすことが可能となり、ひいてはCMOS回路(図17に示したNORゲート論理回路および図18に示したNANDゲート論理回路など)の動作電力も低減できる。本主題にかかるトンネリング・トランジスタは任意のトランジスタ回路に使用できるので、これらの実施形態群は説明のみを目的としたものである。
〔高レベル装置/システム〕
図19は、本主題の種々の実施形態に係るメモリ装置の種々の実施形態を高度に組織化した、単純化したブロック図である。示したメモリ装置 1984 には、メモリアレイ 1985 、および、そのメモリアレイ上での動作を(ひとつもしくは複数の)通信線もしくはチャネル1987 を介して行うための読み込み/書き込み制御回路1986 、が含まれている。示したメモリ装置 1954 としては、メモリカードまたはメモリモジュールを用いることができ、例えばSIMM(single inline memory module)やDIMM(dual inline memory module)などを用いることができる。当業者には、本開示を読んで理解した上で、メモリアレイ内および/もしくは制御回路内の半導体部品を、上述したようなトンネリング・トランジスタを使って組み立てられる、ということがわかるであろう。構造体とこれらの装置の製造方法については上記してある。
図19は、本主題の種々の実施形態に係るメモリ装置の種々の実施形態を高度に組織化した、単純化したブロック図である。示したメモリ装置 1984 には、メモリアレイ 1985 、および、そのメモリアレイ上での動作を(ひとつもしくは複数の)通信線もしくはチャネル1987 を介して行うための読み込み/書き込み制御回路1986 、が含まれている。示したメモリ装置 1954 としては、メモリカードまたはメモリモジュールを用いることができ、例えばSIMM(single inline memory module)やDIMM(dual inline memory module)などを用いることができる。当業者には、本開示を読んで理解した上で、メモリアレイ内および/もしくは制御回路内の半導体部品を、上述したようなトンネリング・トランジスタを使って組み立てられる、ということがわかるであろう。構造体とこれらの装置の製造方法については上記してある。
メモリアレイ 1985 は、多数のメモリセル 1988 を有する。アレイになったメモリセルは、行と列をなすように配置される。種々の実施形態群では、ワード線 1989 を行に並んだメモリセルに接続し、またビット線 1990 を列に並んだメモリセルに接続する。読み込み/書き込み制御回路 1986 には、所望の行を選択する機能を持つワード線選択回路 1991 と、所望の列を選択する機能を持つビット線選択回路 1992 と、メモリアレイ 1985 中の選択したメモリセルについてのメモリ状態を検出する機能を持つ読み出し回路 1993 と、が含まれる。
図20には、種々の実施形態群にかかる、(一個もしくは複数個の)トンネリング・トランジスタを持つ電子システムの概要図を示してある。電子システム 2094 には、制御手段 2095 、バス 2096 、および電子装置 2097 が含まれており、このバス2096 が制御手段 2095 と電子装置 2097 との通信回線になっている。種々の実施形態群では、制御手段および/もしくは電子装置に、前述したようなトンネリング・トランジスタが含まれる。示した電子システム 2094 としては、情報処理装置、無線装置、遠隔通信装置、光ファイバー系、電気-光学系、およびコンピュータなどがあるが、これらに限定はされない。
図21は、制御手段 2102 とメモリ 2103 を有するシステム 2101 の或る実施形態の概要図である。この制御手段 2102 および/もしくはメモリ 2103 が、種々の実施形態群にかかるトンネリング・トランジスタを有してもよい。示したシステム 2101 にはまた、電子装置 2104 、ならびに、制御手段と電子装置との間および制御手段とメモリとの間の(ひとつもしくは複数の)通信回線となるバス 2105 、も含まれる。このようなバスとしては、それぞれが独立に構成された、アドレス、データバス、および制御バスを使用する。あるいは、アドレス、データ、かつ/または制御を提供する共通通信回線を使用してもよい。そして、その使用は制御手段によって制御される。或る実施形態では、電子装置 2104 が、メモリ 2103 と同様に構成された付加的なメモリであってもよい。或る実施形態では、バス 2105 に接続した(一個もしくは複数個の)周辺機器 2106 を含んでもよい。そうした周辺機器としては、ディスプレイ、付加的な記憶メモリ、または、制御手段および/もしくはメモリと協働できる他の制御機器、などがある。或る実施形態では、制御手段としてプロセッサを用いる。制御手段 2102 、メモリ 2103 、電子装置 2104 、および周辺機器 2106 のうちのどれでもが、種々の実施形態群に応じて形成されたトンネリング・トランジスタを含んでよい。こうしたシステム 2101 としては、情報処理装置、遠隔通信システム、およびコンピュータがあるが、これらに限定はされない。本開示に記載したトンネリング・トランジスタに関する用途としては、メモリモジュール、装置ドライバ、電力モジュール、通信モデム、プロセッサモジュール、および特定用途モジュールに使うための電子システムが含まれ、ひいては複数レイヤの、複数チップを含むモジュールを含んでもよい。こうした回路が、時計、テレビジョン、携帯電話、PC、自動車、産業用制御システム、飛行機、などのさまざまな電子システムの従属部品であってもよい。
こうしたメモリは、種々の実施形態群にかかる、トンネリング・トランジスタを内包するメモリ装置として実現可能である。実施形態群によって、任意の大きさと種類のメモリ回路と同等の効果が得られ、特定の種類のメモリ装置に限定することは企図していない。メモリの種類としては、DRAM、SRAM(Static Random Access Memory)、もしくはフラッシュメモリがある。さらに云えば、DRAMとして、シンクロナスDRAMを使ってもよいと考えられる。そうしたシンクロナスDRAMのことを、SGRAM(Synchronous Graphics Random Access Memory)、SDRAM(Synchronous Dynamic Random Access Memory)、SDRAM II、およびDDR SDRAM(Double Data Rate SDRAM)とも呼ぶ。さまざまな新興のメモリ技術で、トンネリング・トランジスタを具えたトランジスタを使うこともできる。
本開示には、いろいろな工程、回路図、およびセル構造体が入っている。本主題は、特定の工程順序もしくは論理配置に限定はされない。特定の実施形態群について本明細書にて図解したが、当業者には、同じ目的を達成するために考案された任意の配置を、示した特定の実施形態に代えて使用できる、ということが正しく理解できるだろう。本出願は、本主題の応用例もしくは変形例を包括せむとするものである。上述の記載は例示を目的としたものであって、限定をしようとするものではないことを理解されたい。上述した実施形態群を組み合わせたものや、その他の実施形態群についても、当業者には上述の記載を通読すれば自明のものとなる。付随する請求項を、その請求項が体現する均等な特徴の全範囲と併せて参照することによって、本主題の範囲を定めるべきである。
Claims (71)
- 第一の方向についてリソグラフィ基準寸法以下である断面巾を有し、且つ前記第一の方向に直交する第二の方向について最小フィーチャ寸法に対応する断面巾を有する、ナノFinと、
前記ナノFinの周りに在る、サラウンディングゲート絶縁体と、
前記ナノFinの周りに前記サラウンディングゲート絶縁体を間に挟んで在る、サラウンディングゲートと、
前記ナノFinの底端に在る第一の導電型を持つ第一のソース/ドレイン領域、および、前記ナノFinの頂端に在る第二の導電型を持つ第二のソース/ドレイン領域と
を含み、ここで、
前記第一のソース/ドレイン領域および前記第二のソース/ドレイン領域が、前記第一のソース/ドレイン領域と前記第二のソース/ドレイン領域との間を垂直方向に走るチャネル領域を劃定する
ことを特徴とする、トランジスタ。 - 前記ナノFinが結晶質基板から形成され、また、
複数の溝が前記結晶質基板にエッチングされて前記ナノFinを劃定する
ことを特徴とする、請求項1記載のトランジスタ。 - 前記ナノFinが、基板表面に形成される、請求項1記載のトランジスタ。
- 前記第一のソース/ドレイン領域が、P+導電型を有し、また、
前記第二のソース/ドレイン領域が、N+導電型を有する
ことを特徴とする、請求項1記載のトランジスタ。 - 前記結晶質基板中に在り、前記第一のソース/ドレイン領域に接続する、P+導電線
をさらに含む、請求項4記載のトランジスタ。 - 第一の方向についてリソグラフィ基準寸法以下である断面巾を有し且つ前記第一の方向に直交する第二の方向について最小フィーチャ寸法に対応する断面巾を有するナノFinを、形成するステップと、
前記ナノFinの周りにサラウンディングゲート絶縁体を形成するステップと、
前記ナノFinの周りに前記サラウンディングゲート絶縁体を間に挟んでサラウンディングゲート絶縁体を形成するステップと
を含む、トランジスタの形成方法であって、ここで、
前記ナノFinを用いることによって、第一の導電型を持つ第一のソース/ドレイン領域と、第二の導電型を持つ第二のソース/ドレイン領域との間を垂直方向に走るチャネルが得られる
ことを特徴とする、方法。 - ナノFinを形成するステップが、
基板上に非晶質の半導体柱を形成し、前記半導体柱を再結晶して前記ナノFinを形成するステップ
を含む、請求項6記載の方法。 - ナノFinを形成するステップが、
結晶質基板に複数の溝をエッチングすることで、前記結晶質基板から前記ナノFinを形成するステップ
を含む、請求項6記載の方法。 - 前記第一のソース/ドレイン領域がP+導電型を有し、また、
前記第二のソース/ドレイン領域が、N+導電型を有する
ことを特徴とする、請求項6記載の方法。 - P+導電線を基板に形成して、前記第一のソース/ドレイン領域に接続するステップ
をさらに含む、請求項9記載の方法。 - 基板表面上に形成され、且つリソグラフィ基準寸法以下である断面寸法を少なくとも一方に有する、結晶質柱と、
前記結晶質柱の周りに在る、サラウンディングゲート絶縁体と、
前記結晶質柱の周りに前記サラウンディングゲート絶縁体を間に挟んで在る、サラウンディングゲートと
を含み、ここで、
第一の導電型を持つ第一のソース/ドレイン領域と、第二の導電型を持つ第二のソース/ドレイン領域との間を垂直方向に走るチャネルを得るために、前記結晶質柱が用いられる
ことを特徴とする、トランジスタ。 - 前記第一のソース/ドレイン領域が、P+導電型を有し、また、
前記第二のソース/ドレイン領域が、N+導電型を有する
ことを特徴とする、請求項11記載のトランジスタ。 - 前記基板中に在り、前記第一のソース/ドレイン領域に接続する、P+導電線
をさらに含む、請求項12記載のトランジスタ。 - 前記結晶質柱が結晶質ナノワイヤであり、前記結晶質ナノワイヤは、第一の方向についてリソグラフィ基準寸法以下である断面巾を有し、且つ前記第一の方向に直交する第二の方向について最小フィーチャ寸法に対応する断面巾を有する、請求項11記載のトランジスタ。
- 前記結晶質柱が結晶質ナノFinであり、前記結晶質ナノFinは、第一の方向についてリソグラフィ基準寸法以下である断面巾を有し、且つ前記第一の方向に直交する第二の方向について最小フィーチャ寸法に対応する断面巾を有する、請求項11記載のトランジスタ。
- 少なくとも一方向についてリソグラフィ基準寸法以下である断面寸法を有する結晶質柱を形成するステップであって、
基板上に非晶質半導体柱を形成してから、前記非晶質半導体柱を再結晶することで、前記結晶質柱を形成するステップ
を含んだステップと、
サラウンディングゲート絶縁体を、前記結晶質柱の周りに形成するステップと、
サラウンディングゲートを、前記結晶質柱の周りに前記サラウンディングゲート絶縁体を間に挟んで形成するステップと
を含み、ここで、
第一の導電型を有する第一のソース/ドレイン領域と第二の導電型を有する第二のソース/ドレイン領域との間を垂直方向に走るチャネル領域が、前記結晶質柱を用いて得られる
ことを特徴とする、トランジスタの形成方法。 - 少なくとも一方向についてリソグラフィ基準寸法以下である断面寸法を有する結晶質柱
を形成するステップが、
第一の方向についてリソグラフィ基準寸法以下である断面巾を有し、且つ前記第一の方向に直交する第二の方向について最小フィーチャ寸法に対応する断面巾を有するような、結晶質ナノFinを形成するステップ
を含む、請求項16記載の方法。 - 少なくとも一方向についてリソグラフィ基準寸法以下である断面寸法を有する結晶質柱を形成するステップが、
第一の方向についてリソグラフィ基準寸法以下である断面巾を有し、且つ前記第一の方向に直交する第二の方向について最小フィーチャ寸法に対応する断面巾を有するような、結晶質ナノワイヤを形成するステップ
を含む、請求項16記載の方法。 - 前記第一のソース/ドレイン領域が、P+導電型を有し、
前記第二のソース/ドレイン領域が、N+導電型を有する
ことを特徴とする、請求項16記載の方法。 - 前記基板中に形成され、且つ前記第一のソース/ドレイン領域に接続した、P+導電線をさらに含む、請求項19記載の方法。
- トランジスタボディを形成するステップであって、
非晶質半導体材料でできており且つ厚さがリソグラフィ基準寸法以下である柱を、結晶質基板上に形成するステップと、
固相エピタキシー(SPE)工程を使って、前記結晶質基板を種とした結晶成長によって、前記非晶質半導体材料を結晶化するステップと
を含み、ここで前記トランジスタボディは、結晶化した半導体柱の第一の導電型を有する第一のソース/ドレイン領域と第二の導電型を有する第二のソース/ドレイン領域との間につくられる
というステップと、
サラウンディングゲート絶縁体を、前記半導体柱の周りに形成するステップと、
サラウンディングゲートを、前記半導体柱の周りに前記サラウンディングゲート絶縁体を間に挟んで形成するステップと
を含む、トランジスタの形成方法。 - 非晶質半導体材料でできている柱を結晶質基板上に形成するステップが、
非晶質珪素でできている柱を結晶質珪素基板上に形成するステップ
を含む、請求項21記載の方法。 - 前記サラウンディングゲート絶縁体を形成するステップが、
酸化珪素を形成するステップ
を含む、請求項21記載の方法。 - サラウンディングゲートを形成するステップが、
ポリシリコンゲートを形成するステップ
を含む、請求項21記載の方法。 - サラウンディングゲートを形成するステップが、
金属ゲートを形成するステップ
を含む、請求項21記載の方法。 - 前記サラウンディングゲートの高さが、前記柱の高さ未満となるように、前記サラウンディングゲートを凹ませるステップ
をさらに含む、請求項21記載の方法。 - 前記第一のソース/ドレイン領域を前記結晶質基板に形成し、前記第二のソース/ドレイン領域を前記柱の頂部に形成するステップ
をさらに含む、請求項21記載の方法。 - 結晶質基板と、
前記結晶質基板中に形成された、第一の導電型を有する第一のソース/ドレイン領域と、
前記結晶質基板上に、前記第一のソース/ドレイン領域と接続するようにして形成され、且つ断面寸法が最小フィーチャ寸法未満である、結晶質半導体柱と、
前記柱の頂部に形成された、第二の導電型を有する第二のソース/ドレイン領域と、
前記柱の周りに形成された、ゲート絶縁体と、
前記柱の周りに前記ゲート絶縁体を間に挟んで形成された、サラウンディングゲートと
を含む、トランジスタ。 - 前記半導体柱の断面寸法が、前記最小フィーチャ寸法未満の三分の一の値のorderである、請求項28記載のトランジスタ。
- 前記半導体柱の断面寸法が、30nmのorderである、請求項28記載のトランジスタ。
- 前記ゲート絶縁体が、酸化珪素を含む、請求項28記載のトランジスタ。
- 前記ゲートが、ポリシリコンゲートを含む、請求項28記載のトランジスタ。
- 前記ゲートが、金属ゲートを含む、請求項28記載のトランジスタ。
- トランジスタボディを形成するステップであって、
非晶質半導体材料でできており且つ断面厚さが最小フィーチャ寸法未満であるFinを、結晶質基板上に形成するステップと、
固相エピタキシー(SPE)工程を使って、前記結晶質基板を種とした結晶成長によって、前記非晶質半導体材料を結晶化するステップと
を含み、ここで前記トランジスタボディは、結晶化した半導体柱の第一の導電型を有する第一のソース/ドレイン領域と第二の導電型を有する第二のソース/ドレイン領域との間につくられる
というステップと、
サラウンディングゲート絶縁体を、前記半導体柱の周りに形成するステップと、
サラウンディングゲートを、前記半導体柱の周りに前記サラウンディングゲート絶縁体を間に挟んで形成するステップと
を含む、トランジスタの形成方法。 - 前記Finの第一の方向についての断面厚さが、最小フィーチャ長に対応し、また、
前記Finの前記第一の方向に直交する第二の方向についての断面厚さが、前記最小フィーチャ長未満である
ことを特徴とする、請求項34記載の方法。 - 非晶質半導体材料でできたFinを結晶質基板上に形成するステップが、
結晶質珪素基板上に非晶質珪素の柱を形成するステップ
を含む、請求項34記載の方法。 - 前記サラウンディングゲート絶縁体を形成するステップが、
酸化珪素を形成するステップ
を含む、請求項34記載の方法。 - サラウンディングゲートを形成するステップが、
ポリシリコンゲートを形成するステップ
を含む、請求項34記載の方法。 - 前記サラウンディングゲートの高さが、前記Finの高さ未満となるように、前記サラウンディングゲートを凹ませるステップ
をさらに含む、請求項34記載の方法。 - P+領域を具えた前記第一のソース/ドレイン領域を前記Finの第一の端に形成し、N+領域を具えた前記第二のソース/ドレイン領域を前記Finの第二の端に形成するステップ
をさらに含む、請求項34記載の方法。 - 前記第一のソース/ドレイン領域が前記第二のソース/ドレイン領域の下に在り、
チャネル領域が前記第一のソース/ドレイン領域と前記第二のソース/ドレイン領域との間を垂直方向に走っている
ことを特徴とする、請求項40記載の方法。 - 結晶質基板と、
前記結晶質基板上に在り、且つ断面寸法が最小フィーチャ寸法未満であり、且つ第一の導電型を有する下部ソース/ドレイン領域と第二の導電型を有する上部ソース/ドレイン領域との間を垂直に走るチャネルを与える、結晶質半導体Finと、
前記結晶質半導体Finの周りに形成された、ゲート絶縁体と、
前記結晶質半導体Finの周りに前記ゲート絶縁体を間に挟んで形成された、サラウンディングゲートと
を含む、トランジスタ。 - 前記結晶質基板が珪素ウェハである、請求項42記載のトランジスタ。
- 前記ゲート絶縁体が酸化珪素を含む、請求項42記載のトランジスタ。
- 前記ゲートがポリシリコンを含む、請求項42記載のトランジスタ。
- 前記ゲートが金属を含む、請求項42記載のトランジスタ。
- 前記下部ソース/ドレイン領域が、P+導電型を有し、
前記上部ソース/ドレイン領域が、N+導電型を有する
ことを特徴とする、請求項42記載のトランジスタ。 - 前記結晶質基板中に形成され、且つ前記下部ソース/ドレイン領域に接続した、P+導電線
をさらに含む、請求項47記載のトランジスタ。 - 結晶質基板からFinを形成するステップと、
第一の導電型を有する第一のソース/ドレイン領域を、前記結晶質基板内の前記Finの下方に形成するステップと、
サラウンディングゲート絶縁体を、前記Finの周りに形成するステップと、
サラウンディングゲートを、前記Finの周りに前記サラウンディングゲート絶縁体を間に挟んで形成するステップと、
第二の導電型を有する第二のソース/ドレイン領域を、前記Finの頂部に形成するステップと
を含む、トランジスタの形成方法。 - 前記第一のソース/ドレイン領域が、P+導電型を有し、
前記第二のソース/ドレイン領域が、N+導電型を有する
ことを特徴とする、請求項49記載の方法。 - 前記結晶質基板中に形成され、且つ前記第一のソース/ドレイン領域に接続した、P+導電線
をさらに含む、請求項50記載の方法。 - 前記Finの第一の方向についての断面厚さが、最小フィーチャ長に対応し、また、
前記Finの前記第一の方向に直交する第二の方向についての断面厚さが、前記最小フィーチャ長未満である
ことを特徴とする、請求項49記載の方法。 - 結晶質基板からFinを形成するステップが、
結晶質珪素基板からFinを形成するステップ
を含む、請求項49記載の方法。 - 結晶質基板からFinを形成するステップが、
前記結晶質基板をエッチングすることでFinを形成するステップ
を含む、請求項49記載の方法。 - 第一のソース/ドレイン領域を前記結晶質基板内の前記Finの下方に形成するステップが、
前記結晶質基板に隣接する溝へドーパントを注入し、前記ドーパントを前記Finの下部に拡散させるステップ
を含む、請求項49記載の方法。 - 拡散させるステップが、
前記ドーパントを前記Finの底部へと拡散させるステップ
を含む、請求項55記載の方法。 - サラウンディングゲート絶縁体を形成するステップが、
酸化珪素を形成するステップ
を含む、請求項49記載の方法。 - サラウンディングゲートを形成するステップが、
ポリシリコンゲートを形成するステップ
を含む、請求項49記載の方法。 - 前記サラウンディングゲートの高さが前記Finの高さ未満になるように、前記サラウンディングゲートを凹ませるステップ
をさらに含む、請求項49記載の方法。 - ゲート接点を、前記サラウンディングゲートに隣接して接続するように形成するステップ
をさらに含む、請求項49記載の方法。 - 少なくともひとつのゲート線を、前記サラウンディングゲートに隣接して接続するように形成するステップ
をさらに含む、請求項49記載の方法。 - 少なくともひとつのゲート線を前記サラウンディングゲートに隣接して接続するように形成するステップが、
第一のゲート線を前記サラウンディングゲートの第一の側に隣接して接続するように形成し、第二のゲート線を前記サラウンディングゲートの第二の側に隣接して接続するように形成し、ここで前記第一の側と前記第二の側が、前記Finの対向する側部にそれぞれ位置しているステップ
を含む、請求項61記載の方法。 - 前記Finの占有領域が、短辺と長辺を有する矩形であり、また、
少なくともひとつのゲート線を前記サラウンディングゲートに隣接して接続するように形成するステップが、
前記長辺上で前記サラウンディングゲートに接続するようにゲート線を形成するステップ
を含む
ことを特徴とする、請求項61記載の方法。 - 前記Finの占有領域が、短辺と長辺を有する矩形であり、また、
少なくともひとつのゲート線を前記サラウンディングゲートに隣接して接続するように形成するステップが、
前記短辺上で前記サラウンディングゲートに接続するようにゲート線を形成するステップ
を含む
ことを特徴とする、請求項61記載の方法。 - サラウンディングゲートを形成するステップが、
ポリシリコンサラウンディングゲートを形成するステップ
を含む、請求項49記載の方法。 - 溝がエッチングされたことにより、断面寸法が最小フィーチャ寸法未満であるような結晶質半導体Finがつくられている、結晶質基板と、
前記結晶質基板内の前記結晶質半導体Finの底部に形成された第一の導電型を有する第一のソース/ドレイン領域、および、前記結晶質半導体Finの頂部に形成された第二の導電型を有する第二のソース/ドレイン領域と、
前記結晶質半導体Finの周りに形成された、ゲート絶縁体と、
前記結晶質半導体Finの周りに前記ゲート絶縁体を間に挟んで形成された、サラウンディングゲートと
を含み、ここで、
前記第一のソース/ドレイン領域および前記第二のソース/ドレイン領域が、前記結晶質半導体Fin内の前記第一のソース/ドレイン領域と前記第二のソース/ドレイン領域との間に垂直方向に走るチャネル領域を劃定する
ことを特徴とする、トランジスタ。 - 前記結晶質基板が珪素を含む、請求項66記載のトランジスタ。
- 前記結晶質基板が、結晶質珪素ウェハである、請求項66記載のトランジスタ。
- 前記サラウンディングゲート絶縁体が、酸化珪素を含む、請求項66記載のトランジスタ。
- 前記サラウンディングゲートがポリシリコンを含む、請求項66記載のトランジスタ。
- 前記サラウンディングゲートが金属を含む、請求項66記載のトランジスタ。
Applications Claiming Priority (6)
| Application Number | Priority Date | Filing Date | Title |
|---|---|---|---|
| US11/397,358 US8354311B2 (en) | 2006-04-04 | 2006-04-04 | Method for forming nanofin transistors |
| US11/397,430 US8734583B2 (en) | 2006-04-04 | 2006-04-04 | Grown nanofin transistors |
| US11/397,406 US20070228491A1 (en) | 2006-04-04 | 2006-04-04 | Tunneling transistor with sublithographic channel |
| US11/397,527 US7425491B2 (en) | 2006-04-04 | 2006-04-04 | Nanowire transistor with surrounding gate |
| US11/397,413 US7491995B2 (en) | 2006-04-04 | 2006-04-04 | DRAM with nanofin transistors |
| PCT/US2007/008124 WO2007120493A1 (en) | 2006-04-04 | 2007-04-03 | Nanofin tunneling transistors |
Publications (1)
| Publication Number | Publication Date |
|---|---|
| JP2009532905A true JP2009532905A (ja) | 2009-09-10 |
Family
ID=38325217
Family Applications (4)
| Application Number | Title | Priority Date | Filing Date |
|---|---|---|---|
| JP2009504238A Active JP5229635B2 (ja) | 2006-04-04 | 2007-04-03 | サラウンディングゲートを有するナノワイヤ・トランジスタ |
| JP2009504239A Withdrawn JP2009532905A (ja) | 2006-04-04 | 2007-04-03 | ナノFinトンネリング・トランジスタ |
| JP2009504232A Active JP5229587B2 (ja) | 2006-04-04 | 2007-04-03 | 成長型ナノFinトランジスタ |
| JP2009504280A Active JP5234439B2 (ja) | 2006-04-04 | 2007-04-03 | エッチングで作成したナノFinトランジスタ |
Family Applications Before (1)
| Application Number | Title | Priority Date | Filing Date |
|---|---|---|---|
| JP2009504238A Active JP5229635B2 (ja) | 2006-04-04 | 2007-04-03 | サラウンディングゲートを有するナノワイヤ・トランジスタ |
Family Applications After (2)
| Application Number | Title | Priority Date | Filing Date |
|---|---|---|---|
| JP2009504232A Active JP5229587B2 (ja) | 2006-04-04 | 2007-04-03 | 成長型ナノFinトランジスタ |
| JP2009504280A Active JP5234439B2 (ja) | 2006-04-04 | 2007-04-03 | エッチングで作成したナノFinトランジスタ |
Country Status (5)
| Country | Link |
|---|---|
| EP (4) | EP2002468B1 (ja) |
| JP (4) | JP5229635B2 (ja) |
| KR (5) | KR20090007393A (ja) |
| SG (2) | SG170827A1 (ja) |
| WO (4) | WO2007114927A1 (ja) |
Cited By (6)
| Publication number | Priority date | Publication date | Assignee | Title |
|---|---|---|---|---|
| JP2014013893A (ja) * | 2012-06-15 | 2014-01-23 | Imec | トンネル電界効果トランジスタデバイスおよびそのデバイスの製造方法 |
| JP2014120777A (ja) * | 2012-12-17 | 2014-06-30 | Kyungpook National Univ Industry-Academic Cooperation Foundation | トンネリング電界効果トランジスタおよびトンネリング電界効果トランジスタの製造方法 |
| JP2015050196A (ja) * | 2013-08-29 | 2015-03-16 | 株式会社東芝 | 半導体装置 |
| JP2016534572A (ja) * | 2013-09-09 | 2016-11-04 | クアルコム,インコーポレイテッド | 縦型トンネル電界効果トランジスタ |
| JP2020519019A (ja) * | 2017-05-01 | 2020-06-25 | アドバンスト・マイクロ・ディバイシズ・インコーポレイテッドAdvanced Micro Devices Incorporated | 垂直ゲートオールアラウンドライブラリアーキテクチャ |
| JP2021507519A (ja) * | 2017-12-21 | 2021-02-22 | インターナショナル・ビジネス・マシーンズ・コーポレーションInternational Business Machines Corporation | 半導体デバイスを形成する方法および半導体デバイス |
Families Citing this family (22)
| Publication number | Priority date | Publication date | Assignee | Title |
|---|---|---|---|---|
| KR100790863B1 (ko) * | 2005-12-28 | 2008-01-03 | 삼성전자주식회사 | 나노 와이어 제조 방법 |
| US8734583B2 (en) | 2006-04-04 | 2014-05-27 | Micron Technology, Inc. | Grown nanofin transistors |
| US7425491B2 (en) | 2006-04-04 | 2008-09-16 | Micron Technology, Inc. | Nanowire transistor with surrounding gate |
| US7491995B2 (en) | 2006-04-04 | 2009-02-17 | Micron Technology, Inc. | DRAM with nanofin transistors |
| US8354311B2 (en) | 2006-04-04 | 2013-01-15 | Micron Technology, Inc. | Method for forming nanofin transistors |
| US8643087B2 (en) * | 2006-09-20 | 2014-02-04 | Micron Technology, Inc. | Reduced leakage memory cells |
| KR100945511B1 (ko) * | 2008-04-10 | 2010-03-09 | 주식회사 하이닉스반도체 | 반도체 소자 및 그의 제조방법 |
| US7897494B2 (en) * | 2008-06-24 | 2011-03-01 | Imec | Formation of single crystal semiconductor nanowires |
| DE102009024311A1 (de) * | 2009-06-05 | 2011-01-05 | Fraunhofer-Gesellschaft zur Förderung der angewandten Forschung e.V. | Halbleiterbauelement und Verfahren zu seiner Herstellung |
| KR101656970B1 (ko) | 2011-12-20 | 2016-09-12 | 인텔 코포레이션 | 분리된 바디 부분을 가지는 반도체 디바이스 및 그 형성방법 |
| KR20130131708A (ko) | 2012-05-24 | 2013-12-04 | 에스케이하이닉스 주식회사 | 메모리 셀 어레이 및 이를 포함하는 가변 저항 메모리 장치 |
| US9006810B2 (en) * | 2012-06-07 | 2015-04-14 | International Business Machines Corporation | DRAM with a nanowire access transistor |
| WO2014024266A1 (ja) * | 2012-08-08 | 2014-02-13 | ユニサンティス エレクトロニクス シンガポール プライベート リミテッド | 半導体装置の製造方法、及び、半導体装置 |
| KR20140040543A (ko) * | 2012-09-26 | 2014-04-03 | 삼성전자주식회사 | 핀 구조의 전계효과 트랜지스터, 이를 포함하는 메모리 장치 및 그 반도체 장치 |
| US10727339B2 (en) | 2014-03-28 | 2020-07-28 | Intel Corporation | Selectively regrown top contact for vertical semiconductor devices |
| US9941394B2 (en) | 2014-04-30 | 2018-04-10 | Taiwan Semiconductor Manufacturing Co., Ltd. | Tunnel field-effect transistor |
| US9673209B2 (en) * | 2014-05-16 | 2017-06-06 | Taiwan Semiconductor Manufacturing Company, Ltd. | Memory device and method for fabricating the same |
| EP3155643B1 (en) | 2014-06-13 | 2020-10-21 | Intel Corporation | Vertical channel transistors fabrication process by selective subtraction of a regular grid |
| US10559690B2 (en) | 2014-09-18 | 2020-02-11 | International Business Machines Corporation | Embedded source/drain structure for tall FinFET and method of formation |
| US9818877B2 (en) | 2014-09-18 | 2017-11-14 | International Business Machines Corporation | Embedded source/drain structure for tall finFET and method of formation |
| US9634084B1 (en) | 2016-02-10 | 2017-04-25 | Globalfoundries Inc. | Conformal buffer layer in source and drain regions of fin-type transistors |
| KR102593708B1 (ko) * | 2018-08-14 | 2023-10-26 | 삼성전자주식회사 | 반도체 장치 및 반도체 장치의 제조 방법 |
Family Cites Families (33)
| Publication number | Priority date | Publication date | Assignee | Title |
|---|---|---|---|---|
| US4941026A (en) * | 1986-12-05 | 1990-07-10 | General Electric Company | Semiconductor devices exhibiting minimum on-resistance |
| JPH07112067B2 (ja) * | 1990-01-24 | 1995-11-29 | 株式会社東芝 | 半導体装置 |
| US5013680A (en) * | 1990-07-18 | 1991-05-07 | Micron Technology, Inc. | Process for fabricating a DRAM array having feature widths that transcend the resolution limit of available photolithography |
| JP3202223B2 (ja) | 1990-11-27 | 2001-08-27 | 日本電気株式会社 | トランジスタの製造方法 |
| JP3219307B2 (ja) * | 1991-08-28 | 2001-10-15 | シャープ株式会社 | 半導体装置の構造および製造方法 |
| JPH05160408A (ja) * | 1991-12-04 | 1993-06-25 | Toshiba Corp | 電界効果トランジスタおよびこれを用いたダイナミック型半導体記憶装置 |
| JP3321788B2 (ja) * | 1994-05-06 | 2002-09-09 | ソニー株式会社 | Mis型半導体装置及びその製造方法 |
| JP3246196B2 (ja) * | 1994-07-13 | 2002-01-15 | ソニー株式会社 | 量子細線デバイスの形成方法 |
| JP4047098B2 (ja) * | 1994-09-13 | 2008-02-13 | 株式会社東芝 | 半導体装置及びその製造方法 |
| US5990509A (en) * | 1997-01-22 | 1999-11-23 | International Business Machines Corporation | 2F-square memory cell for gigabit memory applications |
| US6063688A (en) * | 1997-09-29 | 2000-05-16 | Intel Corporation | Fabrication of deep submicron structures and quantum wire transistors using hard-mask transistor width definition |
| US6747313B1 (en) * | 1997-12-17 | 2004-06-08 | Hyundai Electronics Industries Co., Ltd. | Thin film transistor |
| DE19943390A1 (de) * | 1999-09-10 | 2001-05-03 | Walter Hansch | Halbleiterbauelement |
| US6967140B2 (en) * | 2000-03-01 | 2005-11-22 | Intel Corporation | Quantum wire gate device and method of making same |
| US6413802B1 (en) * | 2000-10-23 | 2002-07-02 | The Regents Of The University Of California | Finfet transistor structures having a double gate channel extending vertically from a substrate and methods of manufacture |
| US6664143B2 (en) | 2000-11-22 | 2003-12-16 | North Carolina State University | Methods of fabricating vertical field effect transistors by conformal channel layer deposition on sidewalls |
| US6531727B2 (en) * | 2001-02-09 | 2003-03-11 | Micron Technology, Inc. | Open bit line DRAM with ultra thin body transistors |
| FR2823009B1 (fr) * | 2001-04-02 | 2004-07-09 | St Microelectronics Sa | Procede de fabrication d'un transistor vertical a grille isolee a faible recouvrement de la grille sur la source et sur le drain, et circuit integre comportant un tel transistor |
| US20030008515A1 (en) * | 2001-07-03 | 2003-01-09 | Tai-Ju Chen | Method of fabricating a vertical MOS transistor |
| US6815750B1 (en) * | 2002-05-22 | 2004-11-09 | Hewlett-Packard Development Company, L.P. | Field effect transistor with channel extending through layers on a substrate |
| US6821834B2 (en) * | 2002-12-04 | 2004-11-23 | Yoshiyuki Ando | Ion implantation methods and transistor cell layout for fin type transistors |
| US6794718B2 (en) * | 2002-12-19 | 2004-09-21 | International Business Machines Corporation | High mobility crystalline planes in double-gate CMOS technology |
| JP4108537B2 (ja) * | 2003-05-28 | 2008-06-25 | 富士雄 舛岡 | 半導体装置 |
| US6855582B1 (en) * | 2003-06-12 | 2005-02-15 | Advanced Micro Devices, Inc. | FinFET gate formation using reverse trim and oxide polish |
| JP2005116969A (ja) * | 2003-10-10 | 2005-04-28 | Toshiba Corp | 半導体装置及びその製造方法 |
| US7348243B2 (en) * | 2003-12-27 | 2008-03-25 | Dongbu Electronics Co., Ltd. | Semiconductor device and method for fabricating the same |
| US7683428B2 (en) * | 2004-01-22 | 2010-03-23 | International Business Machines Corporation | Vertical Fin-FET MOS devices |
| US7122425B2 (en) * | 2004-08-24 | 2006-10-17 | Micron Technology, Inc. | Methods of forming semiconductor constructions |
| US7242057B2 (en) * | 2004-08-26 | 2007-07-10 | Micron Technology, Inc. | Vertical transistor structures having vertical-surrounding-gates with self-aligned features |
| US7241655B2 (en) * | 2004-08-30 | 2007-07-10 | Micron Technology, Inc. | Method of fabricating a vertical wrap-around-gate field-effect-transistor for high density, low voltage logic and memory array |
| US7910288B2 (en) * | 2004-09-01 | 2011-03-22 | Micron Technology, Inc. | Mask material conversion |
| JP3764161B2 (ja) * | 2004-09-17 | 2006-04-05 | 株式会社半導体エネルギー研究所 | 半導体装置およびその作製方法 |
| DE102005045078B4 (de) * | 2004-09-25 | 2009-01-22 | Samsung Electronics Co., Ltd., Suwon | Feldeffekttransistor mit einer verspannten Kanalschicht an Seitenwänden einer Struktur an einem Halbleitersubstrat |
-
2007
- 2007-04-03 WO PCT/US2007/008400 patent/WO2007114927A1/en not_active Ceased
- 2007-04-03 EP EP07754621.6A patent/EP2002468B1/en not_active Not-in-force
- 2007-04-03 KR KR1020087026970A patent/KR20090007393A/ko not_active Withdrawn
- 2007-04-03 WO PCT/US2007/008124 patent/WO2007120493A1/en not_active Ceased
- 2007-04-03 KR KR1020147009477A patent/KR20140051463A/ko not_active Ceased
- 2007-04-03 KR KR1020087027075A patent/KR20090006169A/ko not_active Ceased
- 2007-04-03 JP JP2009504238A patent/JP5229635B2/ja active Active
- 2007-04-03 JP JP2009504239A patent/JP2009532905A/ja not_active Withdrawn
- 2007-04-03 JP JP2009504232A patent/JP5229587B2/ja active Active
- 2007-04-03 EP EP07809002.4A patent/EP2002470B1/en active Active
- 2007-04-03 SG SG201102381-9A patent/SG170827A1/en unknown
- 2007-04-03 SG SG2011038726A patent/SG172643A1/en unknown
- 2007-04-03 WO PCT/US2007/008084 patent/WO2007136461A2/en not_active Ceased
- 2007-04-03 EP EP07754850A patent/EP2008309A1/en not_active Ceased
- 2007-04-03 JP JP2009504280A patent/JP5234439B2/ja active Active
- 2007-04-03 WO PCT/US2007/008123 patent/WO2007120492A1/en not_active Ceased
- 2007-04-03 EP EP07754622A patent/EP2002469A1/en not_active Withdrawn
-
2008
- 2008-11-03 KR KR1020087026973A patent/KR101474028B1/ko active Active
- 2008-11-04 KR KR1020087027077A patent/KR101378256B1/ko active Active
Cited By (10)
| Publication number | Priority date | Publication date | Assignee | Title |
|---|---|---|---|---|
| JP2014013893A (ja) * | 2012-06-15 | 2014-01-23 | Imec | トンネル電界効果トランジスタデバイスおよびそのデバイスの製造方法 |
| JP2014120777A (ja) * | 2012-12-17 | 2014-06-30 | Kyungpook National Univ Industry-Academic Cooperation Foundation | トンネリング電界効果トランジスタおよびトンネリング電界効果トランジスタの製造方法 |
| JP2015050196A (ja) * | 2013-08-29 | 2015-03-16 | 株式会社東芝 | 半導体装置 |
| JP2016534572A (ja) * | 2013-09-09 | 2016-11-04 | クアルコム,インコーポレイテッド | 縦型トンネル電界効果トランジスタ |
| JP2020519019A (ja) * | 2017-05-01 | 2020-06-25 | アドバンスト・マイクロ・ディバイシズ・インコーポレイテッドAdvanced Micro Devices Incorporated | 垂直ゲートオールアラウンドライブラリアーキテクチャ |
| JP7343395B2 (ja) | 2017-05-01 | 2023-09-12 | アドバンスト・マイクロ・ディバイシズ・インコーポレイテッド | 垂直ゲートオールアラウンドライブラリアーキテクチャ |
| JP2021507519A (ja) * | 2017-12-21 | 2021-02-22 | インターナショナル・ビジネス・マシーンズ・コーポレーションInternational Business Machines Corporation | 半導体デバイスを形成する方法および半導体デバイス |
| JP7355393B2 (ja) | 2017-12-21 | 2023-10-03 | インターナショナル・ビジネス・マシーンズ・コーポレーション | 半導体デバイスを形成する方法および半導体デバイス |
| US11855149B2 (en) | 2017-12-21 | 2023-12-26 | International Business Machines Corporation | Field effect transistor with controllable resistance |
| US12015056B2 (en) | 2017-12-21 | 2024-06-18 | International Business Machines Corporation | Field effect transistor with controllable resistance |
Also Published As
| Publication number | Publication date |
|---|---|
| EP2002469A1 (en) | 2008-12-17 |
| EP2008309A1 (en) | 2008-12-31 |
| JP2009532904A (ja) | 2009-09-10 |
| JP5229587B2 (ja) | 2013-07-03 |
| KR101474028B1 (ko) | 2014-12-17 |
| WO2007120492A1 (en) | 2007-10-25 |
| WO2007114927A1 (en) | 2007-10-11 |
| EP2002470A2 (en) | 2008-12-17 |
| EP2002468A1 (en) | 2008-12-17 |
| SG170827A1 (en) | 2011-05-30 |
| EP2002470B1 (en) | 2016-03-09 |
| KR20090006169A (ko) | 2009-01-14 |
| KR20090007397A (ko) | 2009-01-16 |
| JP2009532907A (ja) | 2009-09-10 |
| KR20140051463A (ko) | 2014-04-30 |
| JP2009532903A (ja) | 2009-09-10 |
| KR20090007393A (ko) | 2009-01-16 |
| WO2007120493A1 (en) | 2007-10-25 |
| JP5229635B2 (ja) | 2013-07-03 |
| KR20090005149A (ko) | 2009-01-12 |
| SG172643A1 (en) | 2011-07-28 |
| WO2007136461A2 (en) | 2007-11-29 |
| KR101378256B1 (ko) | 2014-03-25 |
| WO2007136461A3 (en) | 2008-01-17 |
| EP2002468B1 (en) | 2013-07-24 |
| JP5234439B2 (ja) | 2013-07-10 |
Similar Documents
| Publication | Publication Date | Title |
|---|---|---|
| JP2009532905A (ja) | ナノFinトンネリング・トランジスタ | |
| CN101416317B (zh) | 蚀刻的纳米鳍晶体管 | |
| US9893072B2 (en) | DRAM with nanofin transistors | |
| US20070228491A1 (en) | Tunneling transistor with sublithographic channel | |
| US8823006B2 (en) | Nanofin transistors with crystalline semiconductor fins |
Legal Events
| Date | Code | Title | Description |
|---|---|---|---|
| A300 | Application deemed to be withdrawn because no request for examination was validly filed |
Free format text: JAPANESE INTERMEDIATE CODE: A300 Effective date: 20100706 |