JP2009061663A - インクジェットヘッド基板の製造方法 - Google Patents

インクジェットヘッド基板の製造方法 Download PDF

Info

Publication number
JP2009061663A
JP2009061663A JP2007231335A JP2007231335A JP2009061663A JP 2009061663 A JP2009061663 A JP 2009061663A JP 2007231335 A JP2007231335 A JP 2007231335A JP 2007231335 A JP2007231335 A JP 2007231335A JP 2009061663 A JP2009061663 A JP 2009061663A
Authority
JP
Japan
Prior art keywords
substrate
manufacturing
etching
head substrate
passivation layer
Prior art date
Legal status (The legal status is an assumption and is not a legal conclusion. Google has not performed a legal analysis and makes no representation as to the accuracy of the status listed.)
Granted
Application number
JP2007231335A
Other languages
English (en)
Other versions
JP5031492B2 (ja
Inventor
Kazuhiro Asai
和宏 浅井
Hirokazu Komuro
博和 小室
Satoshi Ibe
智 伊部
Takuya Hatsui
琢也 初井
Shinpei Otaka
新平 大▲高▼
Hirotaka Komiyama
裕登 小宮山
Keisuke Kishimoto
圭介 岸本
Current Assignee (The listed assignees may be inaccurate. Google has not performed a legal analysis and makes no representation or warranty as to the accuracy of the list.)
Canon Inc
Original Assignee
Canon Inc
Priority date (The priority date is an assumption and is not a legal conclusion. Google has not performed a legal analysis and makes no representation as to the accuracy of the date listed.)
Filing date
Publication date
Application filed by Canon Inc filed Critical Canon Inc
Priority to JP2007231335A priority Critical patent/JP5031492B2/ja
Priority to US12/203,612 priority patent/US8613862B2/en
Publication of JP2009061663A publication Critical patent/JP2009061663A/ja
Application granted granted Critical
Publication of JP5031492B2 publication Critical patent/JP5031492B2/ja
Expired - Fee Related legal-status Critical Current
Anticipated expiration legal-status Critical

Links

Images

Classifications

    • BPERFORMING OPERATIONS; TRANSPORTING
    • B41PRINTING; LINING MACHINES; TYPEWRITERS; STAMPS
    • B41JTYPEWRITERS; SELECTIVE PRINTING MECHANISMS, i.e. MECHANISMS PRINTING OTHERWISE THAN FROM A FORME; CORRECTION OF TYPOGRAPHICAL ERRORS
    • B41J2/00Typewriters or selective printing mechanisms characterised by the printing or marking process for which they are designed
    • B41J2/005Typewriters or selective printing mechanisms characterised by the printing or marking process for which they are designed characterised by bringing liquid or particles selectively into contact with a printing material
    • B41J2/01Ink jet
    • B41J2/135Nozzles
    • B41J2/16Production of nozzles
    • B41J2/1601Production of bubble jet print heads
    • B41J2/1603Production of bubble jet print heads of the front shooter type
    • BPERFORMING OPERATIONS; TRANSPORTING
    • B41PRINTING; LINING MACHINES; TYPEWRITERS; STAMPS
    • B41JTYPEWRITERS; SELECTIVE PRINTING MECHANISMS, i.e. MECHANISMS PRINTING OTHERWISE THAN FROM A FORME; CORRECTION OF TYPOGRAPHICAL ERRORS
    • B41J2/00Typewriters or selective printing mechanisms characterised by the printing or marking process for which they are designed
    • B41J2/005Typewriters or selective printing mechanisms characterised by the printing or marking process for which they are designed characterised by bringing liquid or particles selectively into contact with a printing material
    • B41J2/01Ink jet
    • B41J2/135Nozzles
    • B41J2/16Production of nozzles
    • B41J2/1621Manufacturing processes
    • B41J2/1623Manufacturing processes bonding and adhesion
    • BPERFORMING OPERATIONS; TRANSPORTING
    • B41PRINTING; LINING MACHINES; TYPEWRITERS; STAMPS
    • B41JTYPEWRITERS; SELECTIVE PRINTING MECHANISMS, i.e. MECHANISMS PRINTING OTHERWISE THAN FROM A FORME; CORRECTION OF TYPOGRAPHICAL ERRORS
    • B41J2/00Typewriters or selective printing mechanisms characterised by the printing or marking process for which they are designed
    • B41J2/005Typewriters or selective printing mechanisms characterised by the printing or marking process for which they are designed characterised by bringing liquid or particles selectively into contact with a printing material
    • B41J2/01Ink jet
    • B41J2/135Nozzles
    • B41J2/16Production of nozzles
    • B41J2/1621Manufacturing processes
    • B41J2/1626Manufacturing processes etching
    • B41J2/1628Manufacturing processes etching dry etching
    • BPERFORMING OPERATIONS; TRANSPORTING
    • B41PRINTING; LINING MACHINES; TYPEWRITERS; STAMPS
    • B41JTYPEWRITERS; SELECTIVE PRINTING MECHANISMS, i.e. MECHANISMS PRINTING OTHERWISE THAN FROM A FORME; CORRECTION OF TYPOGRAPHICAL ERRORS
    • B41J2/00Typewriters or selective printing mechanisms characterised by the printing or marking process for which they are designed
    • B41J2/005Typewriters or selective printing mechanisms characterised by the printing or marking process for which they are designed characterised by bringing liquid or particles selectively into contact with a printing material
    • B41J2/01Ink jet
    • B41J2/135Nozzles
    • B41J2/16Production of nozzles
    • B41J2/1621Manufacturing processes
    • B41J2/1626Manufacturing processes etching
    • B41J2/1629Manufacturing processes etching wet etching
    • BPERFORMING OPERATIONS; TRANSPORTING
    • B41PRINTING; LINING MACHINES; TYPEWRITERS; STAMPS
    • B41JTYPEWRITERS; SELECTIVE PRINTING MECHANISMS, i.e. MECHANISMS PRINTING OTHERWISE THAN FROM A FORME; CORRECTION OF TYPOGRAPHICAL ERRORS
    • B41J2/00Typewriters or selective printing mechanisms characterised by the printing or marking process for which they are designed
    • B41J2/005Typewriters or selective printing mechanisms characterised by the printing or marking process for which they are designed characterised by bringing liquid or particles selectively into contact with a printing material
    • B41J2/01Ink jet
    • B41J2/135Nozzles
    • B41J2/16Production of nozzles
    • B41J2/1621Manufacturing processes
    • B41J2/1631Manufacturing processes photolithography
    • BPERFORMING OPERATIONS; TRANSPORTING
    • B41PRINTING; LINING MACHINES; TYPEWRITERS; STAMPS
    • B41JTYPEWRITERS; SELECTIVE PRINTING MECHANISMS, i.e. MECHANISMS PRINTING OTHERWISE THAN FROM A FORME; CORRECTION OF TYPOGRAPHICAL ERRORS
    • B41J2/00Typewriters or selective printing mechanisms characterised by the printing or marking process for which they are designed
    • B41J2/005Typewriters or selective printing mechanisms characterised by the printing or marking process for which they are designed characterised by bringing liquid or particles selectively into contact with a printing material
    • B41J2/01Ink jet
    • B41J2/135Nozzles
    • B41J2/16Production of nozzles
    • B41J2/1621Manufacturing processes
    • B41J2/1632Manufacturing processes machining
    • B41J2/1634Manufacturing processes machining laser machining
    • BPERFORMING OPERATIONS; TRANSPORTING
    • B41PRINTING; LINING MACHINES; TYPEWRITERS; STAMPS
    • B41JTYPEWRITERS; SELECTIVE PRINTING MECHANISMS, i.e. MECHANISMS PRINTING OTHERWISE THAN FROM A FORME; CORRECTION OF TYPOGRAPHICAL ERRORS
    • B41J2/00Typewriters or selective printing mechanisms characterised by the printing or marking process for which they are designed
    • B41J2/005Typewriters or selective printing mechanisms characterised by the printing or marking process for which they are designed characterised by bringing liquid or particles selectively into contact with a printing material
    • B41J2/01Ink jet
    • B41J2/135Nozzles
    • B41J2/16Production of nozzles
    • B41J2/1621Manufacturing processes
    • B41J2/1635Manufacturing processes dividing the wafer into individual chips
    • BPERFORMING OPERATIONS; TRANSPORTING
    • B41PRINTING; LINING MACHINES; TYPEWRITERS; STAMPS
    • B41JTYPEWRITERS; SELECTIVE PRINTING MECHANISMS, i.e. MECHANISMS PRINTING OTHERWISE THAN FROM A FORME; CORRECTION OF TYPOGRAPHICAL ERRORS
    • B41J2/00Typewriters or selective printing mechanisms characterised by the printing or marking process for which they are designed
    • B41J2/005Typewriters or selective printing mechanisms characterised by the printing or marking process for which they are designed characterised by bringing liquid or particles selectively into contact with a printing material
    • B41J2/01Ink jet
    • B41J2/135Nozzles
    • B41J2/16Production of nozzles
    • B41J2/1621Manufacturing processes
    • B41J2/1637Manufacturing processes molding
    • B41J2/1639Manufacturing processes molding sacrificial molding
    • BPERFORMING OPERATIONS; TRANSPORTING
    • B41PRINTING; LINING MACHINES; TYPEWRITERS; STAMPS
    • B41JTYPEWRITERS; SELECTIVE PRINTING MECHANISMS, i.e. MECHANISMS PRINTING OTHERWISE THAN FROM A FORME; CORRECTION OF TYPOGRAPHICAL ERRORS
    • B41J2/00Typewriters or selective printing mechanisms characterised by the printing or marking process for which they are designed
    • B41J2/005Typewriters or selective printing mechanisms characterised by the printing or marking process for which they are designed characterised by bringing liquid or particles selectively into contact with a printing material
    • B41J2/01Ink jet
    • B41J2/135Nozzles
    • B41J2/16Production of nozzles
    • B41J2/1621Manufacturing processes
    • B41J2/164Manufacturing processes thin film formation
    • B41J2/1645Manufacturing processes thin film formation thin film formation by spincoating

Landscapes

  • Engineering & Computer Science (AREA)
  • Manufacturing & Machinery (AREA)
  • Physics & Mathematics (AREA)
  • Optics & Photonics (AREA)
  • Particle Formation And Scattering Control In Inkjet Printers (AREA)

Abstract

【課題】生産性や強度の低下を招くことなく、インク供給口の開口幅をより狭くする。
【解決手段】シリコン基板10の表面においてインク供給口が開口される領域に第一のパッシベイション層20を形成し、第一のパッシベイション層20の上に第二のパッシベイション層15を形成する。シリコン基板10の裏面においてインク供給口が開口される領域に開口部22を有するエッチングマスク21を形成し、開口部22の内側に、所定の深さの未貫通孔25を形成する。異方性ウエットエッチングにより、開口部22の内側に凹部を形成し、第一のパッシベイション層20をエッチングストップ層として、凹部の内面を基板表面に達するまで異方性ドライエッチングする。第一のパッシベイション層20を除去する。
【選択図】図3F

Description

本発明は、記録媒体に向けてインクを吐出して該記録媒体に対して記録を行うインクジェットヘッド基板(以下、「ヘッド基板」という。)の製造方法に関するものである。
一般的なインクジェットヘッドは、インクが吐出される吐出口と、該吐出口からインクを吐出させるためのエネルギーを発生するエネルギー発生素子と、インクが供給される供給口と、該供給口と吐出口とを連通させるインク流路とを有する基板を備えている。ここで、吐出口、エネルギー発生素子及びインク流路は、基板の表面側に設けられている。一方、供給口は基板の表裏面を貫通している。そして、基板の裏面側から供給口に供給されたインクは、該供給口を通って各インク流路に流入し、各インク流路内に設けられたエネルギー発生素子によって付与されたエネルギーによって吐出口から吐出される。
上記構造を有するヘッド基板では、小型化や安定した吐出性能確保のために、基板裏面における供給口の開口幅(以下「裏面開口幅」)を狭くすることが求められる。特に、一つの基板に複数の供給口を形成する場合には、各供給口の裏面開口幅を狭くすることが強く求められる。
しかし、基板を貫通する供給口は、結晶異方性ウエットエッチングによって形成される。結晶異方性ウエットエッチングでは、結晶方位に応じて、エッチングの深さ方向と幅方向との間に異方性が生じる。図11に従来の製造方法によって製造されたヘッド基板の模式的断面を示す。同図に示されている基板30に形成された供給口34の裏面開口幅は、基板表面における開口幅(「表面開口幅」)に応じて決定される。例えば、基板30がシリコン基板である場合、表面開口幅をW2、基板30の厚みをD、裏面開口幅をW1とした場合、裏面開口幅W1は、W1=W2+2D/tan54.7°の関係式によって決まる。
したがって、裏面開口幅W1を狭くするためには、表面開口幅W2を狭くするか、基板30の厚みDを薄くする必要があった。
そこで、表面開口幅を狭くしたり、基板の厚みを薄くしたりすることなく、裏面開口幅を狭くすることを目的としたヘッド基板の製造方法が特許文献1によって提案されている。
特許文献1に記載されている製造方法は、基板裏面に設けられたマスクを利用して異方性ドライエッチング方式にて未貫通穴を形成した後に、同一のマスクを用いて結晶異方性ウエットエッチング方式にて供給口を形成するものである。すなわち、異方性ドライエッチングと異方性ウエットエッチングの二段階の異方性エッチングによって供給口を形成するものである。
米国特許第6805432号明細書
確かに、特許文献1に開示された製造方法によれは、同一の表面開口幅を有する供給口を結晶異方性ウエットエッチングのみによって形成した場合に比べて、裏面開口幅を狭く抑えることができる。
しかし、裏面開口幅を変更することなく、表面開口幅をさらに拡大するためには、異方性ドライエッチングによる掘り込み量を増大させる必要がある。換言すれば、異方性ドライエッチングの深さをより深くしなければならない。しかしながら、異方性ドライエッチングによる掘り込み量を増大させると、エッチングに長時間を要し、ヘッド基板の生産性が低下する。一方、エッチングを短縮するために基板の厚みを薄くすると、強度低下などの問題が生じる。
本発明は、生産性や強度の低下を招くことなく、インク供給口の開口幅をより狭くすることを目的とする。
本発明のインクジェットヘッド基板の製造方法は、基板の表裏面に貫通するインク供給口を有するインクジェットヘッド基板の製造方法であって、少なくとも次の工程を有する。
(a)基板の表面において前記インク供給口が開口される領域に第一のパッシベイション層を形成する工程
(b)前記基板の表面に、前記第一のパッシベイション層を被覆する第二のパッシベイション層を形成する工程
(c)前記基板の裏面において前記インク供給口が開口される領域に開口部を有するエッチングマスクを形成する工程
(d)前記エッチングマスクの前記開口部の内側に、所定の深さの未貫通孔を形成する工程
(e)異方性ウエットエッチングにより、前記エッチングマスクの前記開口部の内側に、前記基板の裏面において開口する凹部を形成する工程
(f)前記第一のパッシベイション層をエッチングストップ層として、前記凹部の内面を前記基板の表面に達するまで異方性ドライエッチングする工程
(g)前記第一のパッシベイション層を除去する工程
本発明によれば、ヘッド基板のインク供給口の開口幅を狭くすることで、ヘッド基板を小型化でき、さらに安定した吐出性能を確保することができる。
本発明のヘッド基板の製造方法は、基板に未貫通孔を形成した上で、結晶異方性ウエットエッチングと結晶異方性ドライエッチングを段階的に実施して、基板の表裏面に貫通するインク供給口を形成することを特徴とする。
以下、本発明のヘッド基板の製造方法の実施形態の一例について図面を参照しながら詳細に説明する。
(実施形態1)
説明の便宜上、本実施形態に係るヘッド基板の製造方法によって製造されるヘッド基板の構造について予め概説する。図1は、本例の製造方法によって製造されたヘッド基板1の模式的斜視図であり、図2は同断面図である。尚、図2に示す断面は、図1に示すヘッド基板1を同図中のA−Aに沿って切断したときの断面である。
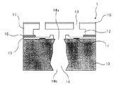
ヘッド基板1は、シリコン基板10を有する。シリコン基板10の表面側には、複数のエネルギー発生素子(例えばヒータ)11、インク流路12及び吐出口13が設けられている。シリコン基板10には、該基板10を貫通し、その表裏面において開口するインク供給口14が形成されている。
より具体的には、複数のエネルギー発生素子11がシリコン基板10の表面上に所定ピッチで配列されて、2列の素子列が形成されている。さらに、シリコン基板10の表面には、パッシベイション層(保護層)15が形成され、エネルギー発生素子11はパッシベイション層15に覆われている。また、パッシベイション層15の上には、ポリエーテルアミド層(密着層)16を介して感光性樹脂層17が形成され、この感光性樹脂層17によって、インク流路12及び吐出口13が形成されている。すなわち、感光性樹脂層17は、流路形成部材あるいはノズル形成部材としての役割を有する。さらに、感光性樹脂層17の上には、撥水層18が形成されている。尚、図示は省略したが、シリコン基板10の表面には、エネルギー発生素子11を駆動するための配線や回路なども形成されている。
上記構成を有するヘッド基板1では、インク供給口14を介してインク流路12内に充填された不図示のインクに、エネルギー発生素子11が発生するエネルギーが付与されることによって、吐出口13からインク滴が吐出される。当該ヘッド基板1は、プリンタ、複写機、通信システムを有するファクシミリ、プリンタ部を有するワードプロセッサなどの装置、さらに各種処理装置と複合的に組み合わされた産業記録装置に搭載されるインクジェット記録ヘッドに適用可能である。そして、当該ヘッド基板1が適用されたインクジェット記録ヘッドを用いることによって、紙、糸、繊維、皮革、金属、プラスチック、ガラス、木材、セラミックなど種々の被記録媒体に記録を行うことができる。尚、本発明において「記録」とは、文字や図形などの意味を持つ画像を被記録媒体に対して付与することだけでなく、パターンなどの意味を持たない画像を付与することも意味する。
次に、図1、図2に示すヘッド基板1の製造方法について説明する。図3Aに示すように、表面にエネルギー発生素子11及び該素子11を駆動するための配線や回路(不図示)などが形成されたシリコン基板10を用意する。
次いで、シリコン基板10の表面に、第一のパッシベイション層20を形成する。第一のパッシベイション層20は、図2に示すインク供給口14のシリコン基板表面における開口部(表面開口14a)に対応させて、シリコン基板表面の一部の領域にのみ形成する。また、第一のパッシベイション層20は、ハロゲン系ガスによる異方性ドライエッチング時にシリコンとのエッチング選択比がとれる材料、例えばAlなど用いて形成する。
その後、第一のパッシベイション層20を覆うように、シリコン基板1の表面全域に第二のパッシベイション層15を形成する。ここで、第二のパッシベイション層15は、図2に示すパッシベイション層15に相当する。第二のパッシベイション層15は、第一のパッシベイション層20との選択除去ができる材料、例えば窒化シリコンなどを用いて形成する。さらに、シリコン基板1の裏面全域に、SiO2膜(不図示)を形成する。もっとも、第二のパッシベイション層15とSiO2膜との形成順序は上記と逆であってもよい。
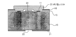
次に、図3Bに示すように、シリコン基板10の表裏面にポリエーテルアミド樹脂を塗布し、ベーク工程によりそれらを硬化させて、不図示のポリエーテルアミド樹脂層を形成する。そして、シリコン基板10の表面側に形成されたポリエーテルアミド樹脂層の上に、ポジ型レジストをスピンコート等により塗布、露光、現像し、ドライエッチング等によりパターニングした後にレジストを除去して、密着層16を形成する。また、シリコン基板10の裏面に形成されたポリエーテルアミド樹脂層の上に、ポジ型レジストをスピンコート等により塗布、露光、現像し、ドライエッチング等によりパターニングした後にレジストを除去して、エッチングマスク21を形成する。このエッチングマスク21の厚みは、後工程で行う結晶異方性ドライエッチングに対する耐性を考えた厚みとする。また、ここでのパターニングでは、エッチングマスク21に、図2に示すインク供給口14のシリコン基板裏面における開口部(裏面開口14b)に対応した開口部22を形成する。
次に、図3Cに示すように、シリコン基板10の表面側に、インク流路12(図2)の型材となるポジ型レジスト23をパターニングする。
次に、図3Dに示すように、ポジ型レジスト23の上に、被覆感光性樹脂をスピンコート等により塗布して流路形成部材となる感光性樹脂層17を形成する。さらに、被覆感光性樹脂層17の上に、ドライフィルム状にした撥水材をラミネートして撥水層18を形成する。その後、被覆感光性樹脂層17を紫外線やDeep-UV光等によって露光、現像してパターニングすることにより、吐出口13を形成する。
次に、図3Eに示すように、ポジ型レジスト23及び被覆感光性樹脂層17などが形成されたシリコン基板10の表面及び側面を、スピンコート等によって保護材24で覆う。
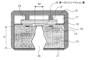
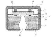
次に、図3Fに示すように、エッチングマスク21の開口部22の内側に、未貫通孔としての先導孔25を形成する。具体的には、開口部22において露出しているシリコン基板10の裏面から表面に向けて複数の先導孔25を形成する。尚、エッチングマスク21の開口部22は長方形であって、短手方向(幅方向)の寸法は100μmである。
図4Aは、上記のようにして未貫通孔(先導孔25)が形成されたシリコン基板10の裏面を示す模式的平面図である。同図に示すように、各先導孔25は、エッチングマスク21の開口部22の短手方向(幅方向)中心線上に100μmのピッチで1列に形成する。換言すれば、第一のパッシベイション層20の幅方向中心線上に、吐出口13の配列方向に沿って、複数の先導孔25を一列に形成する。
本実施形態では、レーザ加工によって先導孔25を上記のように形成した。具体的には、YAGレーザの3倍波(THG:波長355nm)のレーザ光を用い、そのレーザ光のパワーおよび周波数を適切な値に設定した。また、各先導孔25の径を約φ40μmとした。先導孔25の径は、約φ5〜約100μmの範囲内であることが望ましい。先導孔25の径が小さすぎると、この後に行われる結晶異方性ウエットエッチングの際にエッチング液が先導孔25内に進入し難くなる。逆に先導孔25の径が大きすぎると、所望の深さの先導孔25を形成するのに時間を要し、生産性が低下する。尚、先導孔25の径を大きくする場合には、それに応じて、隣接する先導孔25同士が重ならないように加工ピッチを設定する。
また、シリコン基板10の厚みは625μmであり、該基板10を貫通しない未貫通孔としての先導孔25の深さは420〜460μmの範囲が望ましい。
尚、本実施形態ではYAGレーザの3倍波(THG:波長355nm)のレーザ光を用いて先導孔25を形成したが、シリコン基板10の材料であるシリコンに対して穴開け加工ができる波長であれば、加工に用いることができるレーザ光はこれに限られない。例えば、YAGレーザの2倍波(SHG:波長532nm)のレーザ光も、THGと同様にシリコンに対する高い吸収率を有しており、かかるレーザ光によって先導孔25を形成してもよい。もっとも、先導孔25を形成するための穴開け加工の方法は、レーザ加工に限られるものではない。
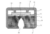
次に、シリコン基板10の裏面に形成されている不図示のSiO2膜のうち、エッチングマスク21の開口部22において露出している部分を除去し、シリコン基板10に対する結晶異方性ウエットエッチングの開始面となるSi面を露出させる。次いで、エッチングの開始面が露出されたシリコン基板10をエッチング液に浸し、図2に示すインク供給口14を形成するためのエッチングを開始する。
先導孔25が形成されたシリコン基板10をエッチング液に浸すと、エッチング液が先導孔25内に進入し、シリコン基板10の結晶方位に依存してエッチングが進行する。よって、シリコン基板10は、先導孔25の先端を頂点として側壁方向にエッチングされ、面方位<111>面が露出したところでエッチングが極端に進まなくなる。この結果、シリコン基板10には、図3Gに示すような“<>”形の凹部(未貫通口)26が形成される。このときのエッチング液にはTMAH(tetra methyl ammonium hydroxide)を用いる。また、凹部26の内面は、シリコン基板10の裏面に対して54.7°の角度を有する<111>面からなる。もっとも、エッチング液はTMAHに限られず、KOH(希釈水酸化カリウム)など、結晶異方性ウエットエッチングができるアルカリ水溶液を用いることができる。
次に、図3Hに示すように、結晶異方性ウエットエッチングにて形成された凹部26の内面(底面)をシリコン基板10の表面側に向けて結晶異方性ドライエッチングし、シリコン基板10の表面に貫通させる。ここでのエッチングでは、Deep-RIE(反応性イオンエッチング方式)などでハロゲン系ガスを用いてトレンチ構造を形成する。また、エッチングマスクには、結晶異方性ウエットエッチングの際にマスクとして用いたエッチングマスク21をそのまま利用する。
結晶異方性ドライエッチングによる加工の深さD2は、レーザ加工の深さ(未貫通孔25の深さ)D1との関係で次の条件を満たことが望ましい。すなわち、シリコン基板10の厚さをDとしたとき、D2>D−D1の関係を満たすことが望ましい。
上記の条件が満たされるように結晶異方性ドライエッチングを行うと、図3I及び図4Bに示すように、第一のパッシベイション層20でエッチングがストップする。すなわち、第一のパッシベイション層20はエッチングストップ層として機能する。既述のように、第一のパッシベイション層20には、アルミなどある程度の耐ドライエッチング性を持った材料を用いることが望ましい。
第一のパッシベイション層20の幅W1(図3I)と、インク供給口14の表面開口幅W2(図2)とがW1≦W2の関係であるとき、ドライエッチングの深さD2(図3H)は、レーザ加工の深さD1(図3F)との関係で次の条件を満たすことが望ましい。すなわち、シリコン基板10の厚さをDとしたとき、D2≦D−D1+W1・(tan54.7°)/2の関係を満たすことが望ましい。
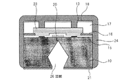
続いて、図3Jに示すように、第一のパッシベイション層20を硝酸、酢酸、リン酸を含有した混酸などの水溶液で除去するか、塩素系のガスを用いてドライエッチングすることによって除去する。
次に、図3Kに示すように、第二のパッシベイション層15のうち、少なくともインク供給口14の表面開口14a(図2)と重複する部分をドライエッチングにて除去し、凹部26内においてポジ型レジスト23を露出させる。
次に、図3Kに示すエッチングマスク21及び保護材24を除去し、ポジ型レジスト23を凹部26を介して溶出させる。すると、ポジ型レジスト23が除去された後の空間が図2に示すインク流路12となり、インク流路14と連通した凹部26が図2に示すインク供給口14となる。
以上の工程により、図1、図2に示すヘッド基板1が完成する。より正確には、複数のヘッド基板1が作り込まれたシリコンウエハが完成する。シリコンウエハ上に形成された各ヘッド基板1をダイシングソー等によって切断分離してチップ化し、各チップにおいて、エネルギー発生素子11を駆動させる電気配線の接合を行う。その後、各チップにインク供給用のチップタンク部材を接続することによって、インクジェット記録ヘッドが完成する。
尚、本実施形態では、厚さ625μmのシリコン基板を用いてヘッド基板を製造したが、これよりも薄い、もしくは厚い基板に対しても、本発明のヘッド基板の製造方法を適用することができる。
(実施形態2)
以下、本発明のヘッド基板の製造方法の他の実施形態について図5及び図6を参照して説明する。図5は、本実施形態に係る製造方法の一工程を示す模式的断面図である。図6は、本実施形態に係る製造方法によって製造されたヘッド基板の模式的断面図である。
本実施形態に係るヘッド基板の製造方法は、実施形態1に係る製造方法と基本的に同一の工程を有する。異なるのは、後にインク供給口14となる凹部(未貫通口)26を形成するための結晶異方性エッチングの時間のみである。具体的には、図5に示すように、凹部26を形成するための結晶異方性エッチングの時間を実施形態1の場合よりも短くした。この結果、図6に示すように、実施形態1に係る製造方法によって得られるインク供給口14(図2)に比べ、より垂直なトレンチ構造を有するインク供給口14が形成される。尚、実施形態1において既に説明した構成と同一の構成については、図5及び図6中に同一の符号を付して説明に代える。
(実施形態3)
以下、本発明のヘッド基板の製造方法の他の実施形態について図7及び図8を参照して説明する。図7は、本実施形態に係る製造方法の一工程を示す模式的断面図である。図8は、本実施形態に係る製造方法によって製造されたヘッド基板の模式的断面図である。
本実施形態に係るヘッド基板の製造方法は、実施形態1に係る製造方法と同一の工程を有する。異なるのは、後にインク供給口14となる凹部(未貫通口)26を三段階の結晶異方性エッチング処理によって形成する点である。
具体的には、実施形態1に係る製造方法では、シリコン基板10に対して、結晶異方性ウエットエッチングと結晶異方性ドライエッチングをそれぞれ一回ずつ、この順で行って凹部26を形成した。しかし、本実施形態に係る製造方法では、図7に示すように、結晶異方性ドライエッチングの後に、再度結晶異方性ウエットエッチングを行って凹部26を形成する。この結果、図8に示すように、<111>面が露出したインク供給口14が形成される。
尚、実施形態1において既に説明した構成と同一の構成については、図7及び図8中に同一の符号を付して説明に代える。
(実施形態4)
これまでは、インク供給口が一つの場合を例にとって本発明のヘッド基板の製造方法の実施形態について説明した。しかし、本発明のヘッド基板の製造方法によれば、複数のインク供給口を有するヘッド基板を製造することもできる。
図9に、実施形態1で説明した本発明のヘッド基板の製造方法を応用して製造したヘッド基板1の模式的断面図を示す。図示されているヘッド基板1には、六つのインク供給口14が形成されている。これら二つのインク供給口14は、実施形態1で説明した工程を経て形成されたものである。よって、図9に示すヘッド基板1の製造工程については、実施形態1に接した当業者であれば容易に理解することができるはずであるが、念のためインク供給口14の形成に関する工程についてのみ図10を参照して説明する。尚、実施形態1において既に説明した構成と同一の構成については、図9及び図10中に同一の符号を付して説明に代える。
図10(a)は、未貫通孔(先導孔25)が形成されたシリコン基板10の裏面を示す模式的平面図である。同図に示すように、シリコン基板10の裏面に形成されたエッチングマスク21には、図9に示す各インク供給口14の裏面開口14bに対応した複数の開口部22を形成する。この点、エッチングマスク21に長方形の開口部22を一つだけ形成した実施形態1と異なる。然る後、エッチングマスク21の各開口部22から露出しているシリコン基板10の裏面から表面側に向けて未貫通孔としての先導孔25を形成する。尚、各先導孔25は、各開口部22の中心に形成されている。
その後、先導孔25が形成されたシリコン基板10をエッチング液に浸して、凹部26を形成する。次に、形成された凹部26の内面(底面)をシリコン基板10の表面側に向けて結晶異方性ドライエッチングし、シリコン基板10の表面に貫通させる。このとき第一のパッシベイション層20がストップ層として機能することは既述のとおりである。図10(b)は、第一のパッシベイション層20をストップ層とする結晶異方性ドライエッチングが行われた後のシリコン基板10の裏面を示す模式的平面図である。
本実施形態のヘッド基板の製造方法によれば、同一のエネルギー発生素子11に対して、複数のインク供給口14を形成することができる。これにより、独立供給口や副流路など様々なノズル設計に対して供給口を形成できる。
さらに、隣接するインク供給口14同士の間に形成される色分離面の幅を従来よりも広く形成することができるので、同一基板で複数の色を使用するときの混色を抑えることもきる。
尚、本発明は、上記実施形態に限られず、特許請求の範囲に記載された本発明の概念に包含されるべき他の技術にも応用することができる。
実施形態1に係るヘッド基板の製造方法によって製造されたヘッド基板の一部を示す模式的斜視図である。 図1に示すヘッド基板の模式的断面図である。 実施形態1に係るヘッド基板の製造方法の一工程を示す模式的断面図である。 実施形態1に係るヘッド基板の製造方法の一工程を示す模式的断面図である。 実施形態1に係るヘッド基板の製造方法の一工程を示す模式的断面図である。 実施形態1に係るヘッド基板の製造方法の一工程を示す模式的断面図である。 実施形態1に係るヘッド基板の製造方法の一工程を示す模式的断面図である。 実施形態1に係るヘッド基板の製造方法の一工程を示す模式的断面図である。 実施形態1に係るヘッド基板の製造方法の一工程を示す模式的断面図である。 実施形態1に係るヘッド基板の製造方法の一工程を示す模式的断面図である。 実施形態1に係るヘッド基板の製造方法の一工程を示す模式的断面図である。 実施形態1に係るヘッド基板の製造方法の一工程を示す模式的断面図である。 実施形態1に係るヘッド基板の製造方法の一工程を示す模式的断面図である。 実施形態1に係るヘッド基板の製造方法の一工程を示す模式的平面図である。 実施形態1に係るヘッド基板の製造方法の一工程を示す模式的平面図である。 実施形態2に係るヘッド基板の製造方法によって製造されたヘッド基板の模式的断面図である。 実施形態2に係るヘッド基板の製造方法の一工程を示す模式的断面図である。 実施形態3に係るヘッド基板の製造方法によって製造されたヘッド基板の模式的断面図である。 実施形態3に係るヘッド基板の製造方法の一工程を示す模式的断面図である。 実施形態4に係るヘッド基板の製造方法によって製造されたヘッド基板の模式的断面図である。 (a)(b)は、実施形態4に係るヘッド基板の製造方法の一工程を示す模式的平面図である。 従来の製造方法によって製造されたヘッド基板の模式的断面図である。
符号の説明
1 ヘッド基板
10 シリコン基板
14 インク供給口
14a 表面開口
14b 裏面開口
15 第二のパッシベイション層
20 第一のパッシベイション層
21 エッチングマスク
22 開口部
25 先導孔
26 凹部

Claims (6)

  1. 基板の表裏面に貫通するインク供給口を有するインクジェットヘッド基板の製造方法であって、
    前記基板の表面において前記インク供給口が開口される領域に第一のパッシベイション層を形成する工程と、
    前記基板の表面に、前記第一のパッシベイション層を被覆する第二のパッシベイション層を形成する工程と、
    前記基板の裏面において前記インク供給口が開口される領域に開口部を有するエッチングマスクを形成する工程と、
    前記エッチングマスクの前記開口部の内側に、所定の深さの未貫通孔を形成する工程と、
    異方性ウエットエッチングにより、前記エッチングマスクの前記開口部の内側に、前記基板の裏面において開口する凹部を形成する工程と、
    前記第一のパッシベイション層をエッチングストップ層として、前記凹部の内面を前記基板の表面に達するまで異方性ドライエッチングする工程と、
    前記第一のパッシベイション層を除去する工程と、
    を有するインクジェットヘッド基板の製造方法。
  2. 前記異方性ドライエッチングによる加工の深さをD2、前記未貫通孔の深さをD1、前記基板の厚みをDとしたとき、
    D2>D−D1
    の関係が満たされることを特徴とする請求項1記載のインクジェットヘッド基板の製造方法。
  3. 前記異方性ドライエッチングによる加工の深さをD2、前記未貫通孔の深さをD1、前記基板の厚みをD、前記第一のパッシベイション層の幅方向の寸法をW1としたとき、
    D2≦D−D1+W1*(tan54.7°)/2
    の関係が満たされることを特徴とする請求項1又は請求項2記載のインクジェットヘッド基板の製造方法。
  4. 前記未貫通孔をレーザ加工によって形成することを特徴とする請求項1乃至請求項3のいずれかに記載のインクジェットヘッド基板の製造方法。
  5. 前記異方性ドライエッチングを反応性イオンエッチング方式によって行うことを特徴とする請求項1乃至請求項4のいずれかに記載のインクジェットヘッド基板の製造方法。
  6. 前記異方性ウエットエッチングをアルカリ水溶液を用いて前記基板の結晶方位に依存して行うことを特徴とする請求項1乃至請求項5のいずれかに記載のインクジェットヘッド基板の製造方法。
JP2007231335A 2007-09-06 2007-09-06 インクジェットヘッド基板の製造方法 Expired - Fee Related JP5031492B2 (ja)

Priority Applications (2)

Application Number Priority Date Filing Date Title
JP2007231335A JP5031492B2 (ja) 2007-09-06 2007-09-06 インクジェットヘッド基板の製造方法
US12/203,612 US8613862B2 (en) 2007-09-06 2008-09-03 Method for manufacturing liquid discharge head substrate

Applications Claiming Priority (1)

Application Number Priority Date Filing Date Title
JP2007231335A JP5031492B2 (ja) 2007-09-06 2007-09-06 インクジェットヘッド基板の製造方法

Publications (2)

Publication Number Publication Date
JP2009061663A true JP2009061663A (ja) 2009-03-26
JP5031492B2 JP5031492B2 (ja) 2012-09-19

Family

ID=40430733

Family Applications (1)

Application Number Title Priority Date Filing Date
JP2007231335A Expired - Fee Related JP5031492B2 (ja) 2007-09-06 2007-09-06 インクジェットヘッド基板の製造方法

Country Status (2)

Country Link
US (1) US8613862B2 (ja)
JP (1) JP5031492B2 (ja)

Cited By (2)

* Cited by examiner, † Cited by third party
Publication number Priority date Publication date Assignee Title
JP2013233795A (ja) * 2012-04-10 2013-11-21 Canon Inc 液体吐出ヘッド及びその製造方法
US8647896B2 (en) 2011-03-09 2014-02-11 Canon Kabushiki Kaisha Process for producing a substrate for a liquid ejection head

Families Citing this family (25)

* Cited by examiner, † Cited by third party
Publication number Priority date Publication date Assignee Title
JP2008179039A (ja) * 2007-01-24 2008-08-07 Canon Inc 液体吐出ヘッド及び液体吐出ヘッドの製造方法
JP5031493B2 (ja) * 2007-09-06 2012-09-19 キヤノン株式会社 インクジェットヘッド用基板の製造方法
JP2009061664A (ja) * 2007-09-06 2009-03-26 Canon Inc インクジェットヘッド用基板の製造方法
JP5219439B2 (ja) * 2007-09-06 2013-06-26 キヤノン株式会社 インクジェット記録ヘッド用基板の製造方法
US8197705B2 (en) * 2007-09-06 2012-06-12 Canon Kabushiki Kaisha Method of processing silicon substrate and method of manufacturing liquid discharge head
US20090136875A1 (en) * 2007-11-15 2009-05-28 Canon Kabushiki Kaisha Manufacturing method of liquid ejection head
KR20100081557A (ko) * 2009-01-06 2010-07-15 삼성전자주식회사 잉크젯 프린트헤드의 잉크피드홀 및 그 형성방법
US8012773B2 (en) * 2009-06-11 2011-09-06 Canon Kabushiki Kaisha Method for manufacturing liquid discharge head
JP5455461B2 (ja) * 2009-06-17 2014-03-26 キヤノン株式会社 シリコン基板の加工方法及び液体吐出ヘッド用基板の製造方法
JP5693068B2 (ja) 2010-07-14 2015-04-01 キヤノン株式会社 液体吐出ヘッド及びその製造方法
JP2012076439A (ja) * 2010-10-06 2012-04-19 Canon Inc シリコン基板の加工方法、および液体吐出ヘッドの製造方法
JP6039259B2 (ja) 2011-07-25 2016-12-07 キヤノン株式会社 液体吐出ヘッド、およびその製造方法
JP2013059904A (ja) 2011-09-13 2013-04-04 Canon Inc 液体記録ヘッド及びにその製造方法
JP2014046665A (ja) * 2012-09-04 2014-03-17 Canon Inc 液体吐出ヘッドの製造方法
JP6000831B2 (ja) * 2012-11-30 2016-10-05 キヤノン株式会社 液体吐出ヘッドの製造方法
EP2762864B1 (en) * 2013-01-31 2018-08-08 Sensirion AG Membrane-based sensor device and method for manufacturing the same
JP6223006B2 (ja) 2013-06-12 2017-11-01 キヤノン株式会社 液体吐出ヘッドチップ及びその製造方法
JP6223033B2 (ja) * 2013-07-17 2017-11-01 キヤノン株式会社 基板の加工方法
JP6192438B2 (ja) * 2013-08-28 2017-09-06 キヤノン株式会社 液体吐出ヘッドおよび記録装置
JP2015080918A (ja) 2013-10-23 2015-04-27 キヤノン株式会社 液体吐出ヘッドおよび該液体吐出ヘッドの製造方法
US10777839B2 (en) * 2014-03-28 2020-09-15 Infineon Technologies Ag Method for forming a battery element, a battery element and a battery
EP3001186B1 (en) 2014-09-26 2018-06-06 Sensirion AG Sensor chip
JP2018153978A (ja) 2017-03-16 2018-10-04 キヤノン株式会社 シリコン基板の加工方法および液体吐出ヘッドの製造方法
JP7166851B2 (ja) * 2018-09-07 2022-11-08 キヤノン株式会社 液体吐出ヘッドおよび液体吐出ヘッドの製造方法
JP2023108679A (ja) * 2022-01-26 2023-08-07 キヤノン株式会社 記録素子基板及びその製造方法

Citations (12)

* Cited by examiner, † Cited by third party
Publication number Priority date Publication date Assignee Title
JPH09123468A (ja) * 1995-09-22 1997-05-13 Lexmark Internatl Inc シリコン基板中にサーマル・インクジェット供給スロットを形成する方法
JP2000246474A (ja) * 1999-02-25 2000-09-12 Seiko Epson Corp レーザ光による加工方法
JP2001260355A (ja) * 2000-03-21 2001-09-25 Nec Corp インクジェットヘッドおよびその製造方法
JP2005169603A (ja) * 2003-12-15 2005-06-30 Canon Inc 梁、梁の製造方法、梁を備えたインクジェット記録ヘッド、および該インクジェット記録ヘッドの製造方法
JP3882936B2 (ja) * 2004-12-10 2007-02-21 セイコーエプソン株式会社 インクジェット式記録ヘッド及びインクジェット式記録装置
JP3888420B2 (ja) * 2001-03-08 2007-03-07 セイコーエプソン株式会社 インクジェット式記録ヘッドの製造方法
JP2007055240A (ja) * 2005-07-25 2007-03-08 Canon Inc 液体吐出ヘッドの製造方法
JP3937804B2 (ja) * 2001-10-30 2007-06-27 キヤノン株式会社 貫通孔を有する構造体の製造方法
JP2007182009A (ja) * 2006-01-10 2007-07-19 Seiko Epson Corp ノズル基板、液滴吐出ヘッド及び液滴吐出装置の製造方法
JP3984689B2 (ja) * 1996-11-11 2007-10-03 キヤノン株式会社 インクジェットヘッドの製造方法
JP4119379B2 (ja) * 2003-02-07 2008-07-16 三星電子株式会社 バブルインクジェットヘッドおよびその製造方法
JP4235420B2 (ja) * 2002-09-03 2009-03-11 キヤノン株式会社 基板加工方法

Family Cites Families (11)

* Cited by examiner, † Cited by third party
Publication number Priority date Publication date Assignee Title
JPH09318649A (ja) * 1996-05-30 1997-12-12 Texas Instr Japan Ltd 複合センサ
IT1320599B1 (it) * 2000-08-23 2003-12-10 Olivetti Lexikon Spa Testina di stampa monolitica con scanalatura autoallineata e relativoprocesso di fabbricazione.
US6805432B1 (en) 2001-07-31 2004-10-19 Hewlett-Packard Development Company, L.P. Fluid ejecting device with fluid feed slot
US6648454B1 (en) * 2002-10-30 2003-11-18 Hewlett-Packard Development Company, L.P. Slotted substrate and method of making
JP2005035281A (ja) 2003-06-23 2005-02-10 Canon Inc 液体吐出ヘッドの製造方法
JP4850637B2 (ja) 2006-09-04 2012-01-11 キヤノン株式会社 液体吐出ヘッドの製造方法および液体吐出ヘッド
US8267503B2 (en) 2006-10-16 2012-09-18 Canon Kabushiki Kaisha Ink jet recording head and manufacturing method therefor
JP5031493B2 (ja) 2007-09-06 2012-09-19 キヤノン株式会社 インクジェットヘッド用基板の製造方法
JP2009061664A (ja) 2007-09-06 2009-03-26 Canon Inc インクジェットヘッド用基板の製造方法
JP5219439B2 (ja) 2007-09-06 2013-06-26 キヤノン株式会社 インクジェット記録ヘッド用基板の製造方法
US8197705B2 (en) 2007-09-06 2012-06-12 Canon Kabushiki Kaisha Method of processing silicon substrate and method of manufacturing liquid discharge head

Patent Citations (12)

* Cited by examiner, † Cited by third party
Publication number Priority date Publication date Assignee Title
JPH09123468A (ja) * 1995-09-22 1997-05-13 Lexmark Internatl Inc シリコン基板中にサーマル・インクジェット供給スロットを形成する方法
JP3984689B2 (ja) * 1996-11-11 2007-10-03 キヤノン株式会社 インクジェットヘッドの製造方法
JP2000246474A (ja) * 1999-02-25 2000-09-12 Seiko Epson Corp レーザ光による加工方法
JP2001260355A (ja) * 2000-03-21 2001-09-25 Nec Corp インクジェットヘッドおよびその製造方法
JP3888420B2 (ja) * 2001-03-08 2007-03-07 セイコーエプソン株式会社 インクジェット式記録ヘッドの製造方法
JP3937804B2 (ja) * 2001-10-30 2007-06-27 キヤノン株式会社 貫通孔を有する構造体の製造方法
JP4235420B2 (ja) * 2002-09-03 2009-03-11 キヤノン株式会社 基板加工方法
JP4119379B2 (ja) * 2003-02-07 2008-07-16 三星電子株式会社 バブルインクジェットヘッドおよびその製造方法
JP2005169603A (ja) * 2003-12-15 2005-06-30 Canon Inc 梁、梁の製造方法、梁を備えたインクジェット記録ヘッド、および該インクジェット記録ヘッドの製造方法
JP3882936B2 (ja) * 2004-12-10 2007-02-21 セイコーエプソン株式会社 インクジェット式記録ヘッド及びインクジェット式記録装置
JP2007055240A (ja) * 2005-07-25 2007-03-08 Canon Inc 液体吐出ヘッドの製造方法
JP2007182009A (ja) * 2006-01-10 2007-07-19 Seiko Epson Corp ノズル基板、液滴吐出ヘッド及び液滴吐出装置の製造方法

Cited By (2)

* Cited by examiner, † Cited by third party
Publication number Priority date Publication date Assignee Title
US8647896B2 (en) 2011-03-09 2014-02-11 Canon Kabushiki Kaisha Process for producing a substrate for a liquid ejection head
JP2013233795A (ja) * 2012-04-10 2013-11-21 Canon Inc 液体吐出ヘッド及びその製造方法

Also Published As

Publication number Publication date
JP5031492B2 (ja) 2012-09-19
US8613862B2 (en) 2013-12-24
US20090065472A1 (en) 2009-03-12

Similar Documents

Publication Publication Date Title
JP5031492B2 (ja) インクジェットヘッド基板の製造方法
US7727411B2 (en) Manufacturing method of substrate for ink jet head and manufacturing method of ink jet recording head
JP4480182B2 (ja) インクジェット記録ヘッド用基板及びインクジェット記録ヘッドの製造方法
US8091234B2 (en) Manufacturing method for liquid discharge head substrate
JP5566130B2 (ja) 液体吐出ヘッドの製造方法
JP5028112B2 (ja) インクジェットヘッド用基板の製造方法およびインクジェットヘッド
US8449783B2 (en) Method of manufacturing liquid ejection head substrate
KR20080033111A (ko) 잉크 젯 프린트 헤드 및 잉크 젯 프린트 헤드의 제조 방법
US8597529B2 (en) Method for processing substrate and method for producing liquid ejection head and substrate for liquid ejection head
JP2011000755A (ja) シリコン基板の加工方法及び液体吐出ヘッド用基板の製造方法
EP2492096B1 (en) Liquid ejection head and process for producing the same
JPH11227208A (ja) 液体噴射記録装置およびその製造方法
JP4659898B2 (ja) 液体吐出ヘッド用基板の製造方法
JP5335396B2 (ja) インクジェット記録ヘッドの製造方法
US9669628B2 (en) Liquid ejection head substrate, method of manufacturing the same, and method of processing silicon substrate
JP4667008B2 (ja) インクジェット記録ヘッドの製造方法
JP2016221688A (ja) 液体吐出ヘッド及びシリコン基板の加工方法
JP2008126481A (ja) インクジェット記録ヘッド用基板の製造方法、およびインクジェット記録ヘッドの製造方法
JP4261904B2 (ja) インクジェット記録ヘッド用基板の製造方法、およびインクジェット記録ヘッドの製造方法
US20030197763A1 (en) Liquid discharge head and method of manufacturing the same
CN101568435A (zh) 在基材中形成开口的方法以及由此制造的喷墨打印头
JP2006218735A (ja) インクジェット記録ヘッドおよびその製造方法
JP2007021798A (ja) インクジェット記録ヘッド用基板の製造方法

Legal Events

Date Code Title Description
A621 Written request for application examination

Free format text: JAPANESE INTERMEDIATE CODE: A621

Effective date: 20100830

A977 Report on retrieval

Free format text: JAPANESE INTERMEDIATE CODE: A971007

Effective date: 20120327

TRDD Decision of grant or rejection written
A01 Written decision to grant a patent or to grant a registration (utility model)

Free format text: JAPANESE INTERMEDIATE CODE: A01

Effective date: 20120529

A01 Written decision to grant a patent or to grant a registration (utility model)

Free format text: JAPANESE INTERMEDIATE CODE: A01

A61 First payment of annual fees (during grant procedure)

Free format text: JAPANESE INTERMEDIATE CODE: A61

Effective date: 20120627

R151 Written notification of patent or utility model registration

Ref document number: 5031492

Country of ref document: JP

Free format text: JAPANESE INTERMEDIATE CODE: R151

FPAY Renewal fee payment (event date is renewal date of database)

Free format text: PAYMENT UNTIL: 20150706

Year of fee payment: 3

LAPS Cancellation because of no payment of annual fees