JP2008147152A - 電線の端子圧着装置及び電線の端子圧着方法 - Google Patents

電線の端子圧着装置及び電線の端子圧着方法 Download PDF

Info

Publication number
JP2008147152A
JP2008147152A JP2007072651A JP2007072651A JP2008147152A JP 2008147152 A JP2008147152 A JP 2008147152A JP 2007072651 A JP2007072651 A JP 2007072651A JP 2007072651 A JP2007072651 A JP 2007072651A JP 2008147152 A JP2008147152 A JP 2008147152A
Authority
JP
Japan
Prior art keywords
electric wire
wire
terminal
crimping
hand
Prior art date
Legal status (The legal status is an assumption and is not a legal conclusion. Google has not performed a legal analysis and makes no representation as to the accuracy of the status listed.)
Granted
Application number
JP2007072651A
Other languages
English (en)
Other versions
JP4934468B2 (ja
Inventor
Etsuro Kihara
悦郎 木原
Current Assignee (The listed assignees may be inaccurate. Google has not performed a legal analysis and makes no representation or warranty as to the accuracy of the list.)
Furukawa Electric Co Ltd
Furukawa Automotive Systems Inc
Original Assignee
Furukawa Electric Co Ltd
Furukawa Automotive Systems Inc
Priority date (The priority date is an assumption and is not a legal conclusion. Google has not performed a legal analysis and makes no representation as to the accuracy of the date listed.)
Filing date
Publication date
Application filed by Furukawa Electric Co Ltd, Furukawa Automotive Systems Inc filed Critical Furukawa Electric Co Ltd
Priority to JP2007072651A priority Critical patent/JP4934468B2/ja
Priority to EP07831755.9A priority patent/EP2088649B1/en
Priority to PCT/JP2007/072025 priority patent/WO2008059845A1/ja
Publication of JP2008147152A publication Critical patent/JP2008147152A/ja
Priority to US12/465,690 priority patent/US8266799B2/en
Application granted granted Critical
Publication of JP4934468B2 publication Critical patent/JP4934468B2/ja
Priority to US13/587,475 priority patent/US8671558B2/en
Active legal-status Critical Current
Anticipated expiration legal-status Critical

Links

Images

Classifications

    • HELECTRICITY
    • H01ELECTRIC ELEMENTS
    • H01RELECTRICALLY-CONDUCTIVE CONNECTIONS; STRUCTURAL ASSOCIATIONS OF A PLURALITY OF MUTUALLY-INSULATED ELECTRICAL CONNECTING ELEMENTS; COUPLING DEVICES; CURRENT COLLECTORS
    • H01R43/00Apparatus or processes specially adapted for manufacturing, assembling, maintaining, or repairing of line connectors or current collectors or for joining electric conductors
    • H01R43/04Apparatus or processes specially adapted for manufacturing, assembling, maintaining, or repairing of line connectors or current collectors or for joining electric conductors for forming connections by deformation, e.g. crimping tool
    • H01R43/048Crimping apparatus or processes
    • HELECTRICITY
    • H01ELECTRIC ELEMENTS
    • H01RELECTRICALLY-CONDUCTIVE CONNECTIONS; STRUCTURAL ASSOCIATIONS OF A PLURALITY OF MUTUALLY-INSULATED ELECTRICAL CONNECTING ELEMENTS; COUPLING DEVICES; CURRENT COLLECTORS
    • H01R43/00Apparatus or processes specially adapted for manufacturing, assembling, maintaining, or repairing of line connectors or current collectors or for joining electric conductors
    • H01R43/04Apparatus or processes specially adapted for manufacturing, assembling, maintaining, or repairing of line connectors or current collectors or for joining electric conductors for forming connections by deformation, e.g. crimping tool
    • H01R43/048Crimping apparatus or processes
    • H01R43/052Crimping apparatus or processes with wire-feeding mechanism
    • HELECTRICITY
    • H01ELECTRIC ELEMENTS
    • H01RELECTRICALLY-CONDUCTIVE CONNECTIONS; STRUCTURAL ASSOCIATIONS OF A PLURALITY OF MUTUALLY-INSULATED ELECTRICAL CONNECTING ELEMENTS; COUPLING DEVICES; CURRENT COLLECTORS
    • H01R43/00Apparatus or processes specially adapted for manufacturing, assembling, maintaining, or repairing of line connectors or current collectors or for joining electric conductors
    • H01R43/28Apparatus or processes specially adapted for manufacturing, assembling, maintaining, or repairing of line connectors or current collectors or for joining electric conductors for wire processing before connecting to contact members, not provided for in groups H01R43/02 - H01R43/26
    • YGENERAL TAGGING OF NEW TECHNOLOGICAL DEVELOPMENTS; GENERAL TAGGING OF CROSS-SECTIONAL TECHNOLOGIES SPANNING OVER SEVERAL SECTIONS OF THE IPC; TECHNICAL SUBJECTS COVERED BY FORMER USPC CROSS-REFERENCE ART COLLECTIONS [XRACs] AND DIGESTS
    • Y10TECHNICAL SUBJECTS COVERED BY FORMER USPC
    • Y10TTECHNICAL SUBJECTS COVERED BY FORMER US CLASSIFICATION
    • Y10T29/00Metal working
    • Y10T29/49Method of mechanical manufacture
    • Y10T29/49002Electrical device making
    • Y10T29/49117Conductor or circuit manufacturing
    • Y10T29/49174Assembling terminal to elongated conductor
    • YGENERAL TAGGING OF NEW TECHNOLOGICAL DEVELOPMENTS; GENERAL TAGGING OF CROSS-SECTIONAL TECHNOLOGIES SPANNING OVER SEVERAL SECTIONS OF THE IPC; TECHNICAL SUBJECTS COVERED BY FORMER USPC CROSS-REFERENCE ART COLLECTIONS [XRACs] AND DIGESTS
    • Y10TECHNICAL SUBJECTS COVERED BY FORMER USPC
    • Y10TTECHNICAL SUBJECTS COVERED BY FORMER US CLASSIFICATION
    • Y10T29/00Metal working
    • Y10T29/49Method of mechanical manufacture
    • Y10T29/49002Electrical device making
    • Y10T29/49117Conductor or circuit manufacturing
    • Y10T29/49174Assembling terminal to elongated conductor
    • Y10T29/49181Assembling terminal to elongated conductor by deforming
    • YGENERAL TAGGING OF NEW TECHNOLOGICAL DEVELOPMENTS; GENERAL TAGGING OF CROSS-SECTIONAL TECHNOLOGIES SPANNING OVER SEVERAL SECTIONS OF THE IPC; TECHNICAL SUBJECTS COVERED BY FORMER USPC CROSS-REFERENCE ART COLLECTIONS [XRACs] AND DIGESTS
    • Y10TECHNICAL SUBJECTS COVERED BY FORMER USPC
    • Y10TTECHNICAL SUBJECTS COVERED BY FORMER US CLASSIFICATION
    • Y10T29/00Metal working
    • Y10T29/49Method of mechanical manufacture
    • Y10T29/49002Electrical device making
    • Y10T29/49117Conductor or circuit manufacturing
    • Y10T29/49174Assembling terminal to elongated conductor
    • Y10T29/49181Assembling terminal to elongated conductor by deforming
    • Y10T29/49185Assembling terminal to elongated conductor by deforming of terminal
    • YGENERAL TAGGING OF NEW TECHNOLOGICAL DEVELOPMENTS; GENERAL TAGGING OF CROSS-SECTIONAL TECHNOLOGIES SPANNING OVER SEVERAL SECTIONS OF THE IPC; TECHNICAL SUBJECTS COVERED BY FORMER USPC CROSS-REFERENCE ART COLLECTIONS [XRACs] AND DIGESTS
    • Y10TECHNICAL SUBJECTS COVERED BY FORMER USPC
    • Y10TTECHNICAL SUBJECTS COVERED BY FORMER US CLASSIFICATION
    • Y10T29/00Metal working
    • Y10T29/49Method of mechanical manufacture
    • Y10T29/49002Electrical device making
    • Y10T29/49117Conductor or circuit manufacturing
    • Y10T29/49174Assembling terminal to elongated conductor
    • Y10T29/49181Assembling terminal to elongated conductor by deforming
    • Y10T29/49185Assembling terminal to elongated conductor by deforming of terminal
    • Y10T29/49192Assembling terminal to elongated conductor by deforming of terminal with insulation removal
    • YGENERAL TAGGING OF NEW TECHNOLOGICAL DEVELOPMENTS; GENERAL TAGGING OF CROSS-SECTIONAL TECHNOLOGIES SPANNING OVER SEVERAL SECTIONS OF THE IPC; TECHNICAL SUBJECTS COVERED BY FORMER USPC CROSS-REFERENCE ART COLLECTIONS [XRACs] AND DIGESTS
    • Y10TECHNICAL SUBJECTS COVERED BY FORMER USPC
    • Y10TTECHNICAL SUBJECTS COVERED BY FORMER US CLASSIFICATION
    • Y10T29/00Metal working
    • Y10T29/51Plural diverse manufacturing apparatus including means for metal shaping or assembling
    • Y10T29/5187Wire working
    • YGENERAL TAGGING OF NEW TECHNOLOGICAL DEVELOPMENTS; GENERAL TAGGING OF CROSS-SECTIONAL TECHNOLOGIES SPANNING OVER SEVERAL SECTIONS OF THE IPC; TECHNICAL SUBJECTS COVERED BY FORMER USPC CROSS-REFERENCE ART COLLECTIONS [XRACs] AND DIGESTS
    • Y10TECHNICAL SUBJECTS COVERED BY FORMER USPC
    • Y10TTECHNICAL SUBJECTS COVERED BY FORMER US CLASSIFICATION
    • Y10T29/00Metal working
    • Y10T29/51Plural diverse manufacturing apparatus including means for metal shaping or assembling
    • Y10T29/5193Electrical connector or terminal
    • YGENERAL TAGGING OF NEW TECHNOLOGICAL DEVELOPMENTS; GENERAL TAGGING OF CROSS-SECTIONAL TECHNOLOGIES SPANNING OVER SEVERAL SECTIONS OF THE IPC; TECHNICAL SUBJECTS COVERED BY FORMER USPC CROSS-REFERENCE ART COLLECTIONS [XRACs] AND DIGESTS
    • Y10TECHNICAL SUBJECTS COVERED BY FORMER USPC
    • Y10TTECHNICAL SUBJECTS COVERED BY FORMER US CLASSIFICATION
    • Y10T29/00Metal working
    • Y10T29/53Means to assemble or disassemble
    • Y10T29/5313Means to assemble electrical device
    • Y10T29/532Conductor
    • Y10T29/53209Terminal or connector
    • Y10T29/53213Assembled to wire-type conductor
    • YGENERAL TAGGING OF NEW TECHNOLOGICAL DEVELOPMENTS; GENERAL TAGGING OF CROSS-SECTIONAL TECHNOLOGIES SPANNING OVER SEVERAL SECTIONS OF THE IPC; TECHNICAL SUBJECTS COVERED BY FORMER USPC CROSS-REFERENCE ART COLLECTIONS [XRACs] AND DIGESTS
    • Y10TECHNICAL SUBJECTS COVERED BY FORMER USPC
    • Y10TTECHNICAL SUBJECTS COVERED BY FORMER US CLASSIFICATION
    • Y10T29/00Metal working
    • Y10T29/53Means to assemble or disassemble
    • Y10T29/5313Means to assemble electrical device
    • Y10T29/532Conductor
    • Y10T29/53209Terminal or connector
    • Y10T29/53213Assembled to wire-type conductor
    • Y10T29/53235Means to fasten by deformation
    • YGENERAL TAGGING OF NEW TECHNOLOGICAL DEVELOPMENTS; GENERAL TAGGING OF CROSS-SECTIONAL TECHNOLOGIES SPANNING OVER SEVERAL SECTIONS OF THE IPC; TECHNICAL SUBJECTS COVERED BY FORMER USPC CROSS-REFERENCE ART COLLECTIONS [XRACs] AND DIGESTS
    • Y10TECHNICAL SUBJECTS COVERED BY FORMER USPC
    • Y10TTECHNICAL SUBJECTS COVERED BY FORMER US CLASSIFICATION
    • Y10T29/00Metal working
    • Y10T29/53Means to assemble or disassemble
    • Y10T29/5313Means to assemble electrical device
    • Y10T29/53265Means to assemble electrical device with work-holder for assembly
    • YGENERAL TAGGING OF NEW TECHNOLOGICAL DEVELOPMENTS; GENERAL TAGGING OF CROSS-SECTIONAL TECHNOLOGIES SPANNING OVER SEVERAL SECTIONS OF THE IPC; TECHNICAL SUBJECTS COVERED BY FORMER USPC CROSS-REFERENCE ART COLLECTIONS [XRACs] AND DIGESTS
    • Y10TECHNICAL SUBJECTS COVERED BY FORMER USPC
    • Y10TTECHNICAL SUBJECTS COVERED BY FORMER US CLASSIFICATION
    • Y10T29/00Metal working
    • Y10T29/53Means to assemble or disassemble
    • Y10T29/5313Means to assemble electrical device
    • Y10T29/5327Means to fasten by deforming

Landscapes

  • Engineering & Computer Science (AREA)
  • Manufacturing & Machinery (AREA)
  • Manufacturing Of Electrical Connectors (AREA)

Abstract

【課題】電線の掴み損ねによる端子圧着不良の製品の発生を防止した電線の端子圧着装置及び電線の端子圧着方法を提供する。
【解決手段】端子圧着装置において、電線14は、両端末が電線搬送ハンド2の2つの電線把持ハンド3により把持されたまま状態で、皮剥ぎ部10から端子圧着部6に移動されると共に、端子圧着用プレス6aによる端子圧着処理が行われる。この端子圧着装置は、端子圧着部6で電線14を搬送する第2の電線搬送ハンド2を備え、電線搬送ハンド2は、複数の端子圧着用プレス6aの一方の側から他方の側に電線14を持ち替えを行うことなく搬送するので、端子圧着用プレス6aの数が増えたり、或いは電線14の搬送速度が高速になっても、電線14の掴み損ねの発生が抑制される。
【選択図】図1

Description

本発明は、自動車等の車両に用いるワイヤーハーネスの製造に使用される電線の端子圧着装置及び電線の端子圧着方法に関する。
一般に、自動車等の車両に用いるワイヤーハーネスの製造装置は、長尺の電線を一定の長さに切断する手段と、電線の両端末の被覆の剥ぎ取りを行う手段と、電線端末に端子を圧着する手段と、電線に圧着された端子をコネクタハウジングに挿入する手段と、を備えている(例えば、特許文献1乃至3参照)。
このような従来のワイヤーハーネスの製造装置は、例えば図10に示すような電線の端子圧着装置を備えている。
この電線の端子圧着装置は、電線の計尺を行う電線計尺部80と、電線の両端末の被覆の剥ぎ取りを行う皮剥ぎ部100と、電線の端末に端子を圧着する端子圧着部60と、端子の姿勢を規制する端子位置規制部70と、端子付き電線をコネクタハウジングに挿入する端子挿入部110とを備えている。
このような電線の端子圧着装置では、電線計尺部80にて電線140を一定量送り出し、Uターン機構(図示省略)の中に電線140を通すことにより、電線140の下流側端末をUターンさせて電線把持ハンド101に把持させる。この後、電線140は電線計尺部80で計尺と同時に繰り出され、計尺終了後、電線140はカッタ90により切断され、その上流側端末が電線把持ハンド101により把持される。この時点で計尺切断された電線140は両端末を電線把持ハンド101により把持されU字状となり、この状態で後述する電線搬送方法により各処理部へ搬送される。
U字状の電線140は、次の皮剥ぎ部100で両端末の被覆を剥ぎ取られ、この後、次の端子圧着部60で端末に端子が圧着される。この端子圧着部60には、ワイヤーハーネスを構成する複数種類の端子を圧着するため、プレス60aが複数台配置されている。なお、端子圧着を行う際、電線把持ハンド101は、図11(A),(B)に示すようにエアシリンダ150のストロークを調整する移動量調整機構160により、電線140の先端をプレス60a内部へ前進させて端子圧着を行うようになっている。図11(A)は電線140の先端が前進する前の状態を、図11(B)はその端が前進した後の状態をそれぞれ示している。
端子が圧着された端子付き電線140aは、次の端子位置規制部70で上下左右方向に位置決めされ、端子挿入ハンド110aに受け渡される。端子挿入ハンド110aは、X−Y−Z軸を有するロボットとなっており、端子挿入部110内に配置されたコネクタ受け治具120に納められたコネクタハウジング130に端子付き電線140aの端子を挿入する。
次に、上記各処理部への電線140の搬送方法について説明する。
電線把持ハンド101が把持する電線140を、電線計尺部80などの上記各処理部に対し平行に設けられた電線搬送ハンドユニット102上の電線搬送ハンド103が掴み、電線把持ハンド101が電線140を解放し、アクチュエータ(例えばエアシリンダ)50が処理部の設置ピッチ分の移動を行った後、電線把持ハンド101が電線140を再度掴み、電線搬送ハンド103が電線140を解放し、アクチュエータ50が元に戻る。この電線掴み替え動作とアクチュエータ50の間欠動作により電線140のピッチ搬送を行う。
特開平6−223646号公報 特開平7−29662号公報 特開平7−240121号公報
上記従来の電線の端子圧着装置では、端子圧着を行うプレス60aを複数台配置しており、電線を各プレス60aの配置間隔(1ピッチ)ずつ送るごとに電線の掴み替えをしている。そのため、プレス60aの数が増えるにつれ、また、電線の搬送速度が高速になるにつれて、複数台のプレス60aにより端子圧着を行う工程で電線の掴み損ねが発生する可能性が増え、電線の掴み損ねによる端子圧着不良の製品が発生してしまうという問題がある。
本発明は、このような従来の問題点に着目してなされたもので、その目的は、電線の掴み損ねによる端子圧着不良の製品の発生を防止した電線の端子圧着装置及び電線の端子圧着方法を提供することにある。
上記課題を解決するため、本発明の第1の態様に係る電線の端子圧着装置は、電線の端末へ端子を圧着する電線圧着手段と、前記電線の端末を把持し搬送する電線搬送手段と、を備えた電線の端子圧着装置において、前記電線圧着手段は前記電線の搬送方向に複数、互いに横並びに配置されており、前記電線搬送手段は、前記複数の電線圧着手段の一方の側から他方の側に前記電線を持ち替えを行うことなく搬送し、かつ前記複数の電線圧着手段のうち任意のもののところで電線の搬送を停止可能であることを特徴とする。
この態様によると、電線搬送手段は、複数の電線圧着手段の一方の側から他方の側に電線を持ち替えを行うことなく搬送するので、電線圧着手段の数が増えたり、或いは電線の搬送速度が高速になっても、電線の掴み損ねの発生が抑制され、電線の掴み損ねによる端子圧着不良の製品の発生を防止することができる。
本発明の他の態様に係る電線の端子圧着装置は、電線を計尺して一定の長さに切断する電線計尺手段と、電線の両端末の被覆の剥ぎ取りを行う皮剥ぎ手段とを有し、前記電線搬送手段は、前記電線計尺手段から皮剥ぎ手段へ電線を搬送する第1の電線搬送ハンドと、前記第1の電線搬送ハンドを前記電線計尺手段と皮剥ぎ手段の間で往復動させる第1の駆動手段と、前記複数の電線圧着手段の一方の側から他方の側へ前記電線を搬送する第2の電線搬送ハンドと、前記第2の電線搬送ハンドを前記複数の電線圧着手段の一方の側と他方の側との間で往復動させる第2の駆動手段と、を備えることを特徴とする。
この態様によると、第1の電線搬送ハンドが電線計尺手段から皮剥ぎ手段への電線の搬送を受け持ち、第2の電線搬送ハンドが複数の電線圧着手段の一方の側から他方の側への電線の搬送を受け持つので、端子圧着後の端子姿勢変化は生じない。
本発明の他の態様に係る電線の端子圧着装置は、前記第1の電線搬送ハンド及び第2の電線搬送ハンドには、前記電線の両端末を把持する2つの電線把持ハンドがそれぞれ設けられていることを特徴とする。この態様によると、電線把持ハンドは4つですむので、構造の簡略化と、簡略化による機械故障の低減とを図ることができる。
本発明の他の態様に係る電線の端子圧着装置は、前記第2の電線搬送ハンドに設けられた前記2つの電線把持ハンドには、該電線把持ハンドを前記電線圧着手段の圧着加工位置へ前記電線の搬送方向に対して垂直方向に移動させる第3の駆動手段がそれぞれ設けられていることを特徴とする。この態様によると、第2の電線搬送ハンドの2つの電線把持ハンドにそれぞれ設けた第3の駆動手段により電線圧着手段の圧着加工位置側への移動量を適宜設定することができるので、端子変更時の圧着加工位置側への前進移動量の変更が容易になる。
本発明の他の態様に係る電線の端子圧着装置は、前記皮剥ぎ手段と前記複数の電線圧着手段との間に配置され、被覆が剥ぎ取られた電線を前記第1の電線搬送ハンドから受け取り、前記第2の電線搬送ハンドへ受け渡す掴み替えハンドを備えることを特徴とする。この態様によると、電線計尺手段から電線圧着手段の間において、電線の掴み替えが掴み替えハンドでの1回のみとなるため、第1及び第2の電線搬送ハンドにそれぞれ設けた2つの電線把持ハンドによる電線の損傷が抑制される。
本発明の他の態様に係る電線の端子圧着装置は、少なくとも、前記電線が前記複数の電線圧着手段の一番目から最後まで移動する範囲全体にわたって前記電線の外側を覆う電線保護カバーを備えることを特徴とする。この態様によると、電線が複数の電線圧着手段の一番目から最後までの範囲で高速に搬送される際に生じる電線の反り上がりを電線保護カバーにより防止することができる。
本発明の他の態様に係る電線の端子圧着装置は、前記電線搬送手段は、前記複数の電線圧着手段の前工程から同電線圧着手段の後工程までの間で前記電線を搬送する一つの電線搬送ハンドを備えることを特徴とする。この態様によると、電線計尺手段から電線搬送手段までの間において電線を一つの電線搬送ハンドにより搬送するので、構造を更に簡略化することができる。
本発明の他の態様に係る電線の端子圧着装置は、前記第2の電線搬送ハンドの前記2つの電線把持ハンドにより両端末が把持されてループ状になった前記電線の外側にあって、前記2つの電線把持ハンドにより前記両端末が把持された位置から離れた位置で、前記ループ状になった電線の両側或いは片側の位置規制を行う電線振れ止め部と、前記電線振れ止め部を、前記複数の電線圧着手段の一方の側と他方の側との間で前記電線が搬送される際における前記電線の移動軌跡内に位置する第1位置と、前記移動軌跡から退避した第2位置との間で変位させる振れ止め部駆動手段と、を備えることを特徴とする。
この態様によれば、第2の電線搬送ハンドが、複数の電線圧着手段の一方の側から他方の側へ移動する際に、ループ状になった電線の両側或いは片側が電線振れ止め部により位置規制されていると共に、電線が曲がる支点は、2つの電線把持ハンドにより電線の両端末が把持された位置から離れた位置に配置された電線振れ止め部付近となっている。このため、電線が移動方向と反対方向へ振り上げられるのを抑制できる。これにより、振り上げられた電線が電線圧着手段やその他の機構部分に絡みつくのを防止できる。また、上記移動の際における電線の振り上げが小さくなるので、第2の電線搬送ハンドの移動速度を高く設定して電線の搬送速度を高めることが、効率的な装置稼動が可能になる。さらに、電線の癖の状態によっては、第2の電線搬送ハンドの移動速度が低い場合でも電線の振り上げの現象が発生する場合があるが、この場合における電線の振り上げも小さくすることができるので、電線損傷等の製品不良が減って歩留まりが向上すると共に、装置が故障する可能性も低減される。
本発明の他の態様に係る電線の端子圧着装置は、前記第2の電線搬送ハンドの内部構造と、前記電線振れ止め部と、前記振れ止め部駆動手段とを保護するカバーを備え、前記電線振れ止め部は、前記第1位置では前記カバーの内側から外側へ突出して前記ループ状になった電線の両側或いは片側の位置規制を行うように構成されていることを特徴とする。
この態様によれば、第2の電線搬送ハンドの内部構造と、前記電線振れ止め部と、前記振れ止め部駆動手段とをカバーにより保護することができる。
本発明の他の態様に係る電線の端子圧着装置は、前記カバー上に該カバーとの間に隙間を持って配置された電線ガイド部材を備え、前記電線が前記複数の電線圧着手段の一方の側と他方の側との間で搬送される際に、前記電線が前記カバーと前記電線ガイド部材との間の隙間を通るように構成されていることを特徴とする。
この態様によれば、上記移動の際に、電線がカバーと電線ガイド部材との間の隙間を通るようになっており、その隙間を電線が通過できる程度の狭い隙間にすることで、電線がカバーの上方へ跳ね上げられるのを電線ガイド部材でせき止めて抑制することができる。また、上記移動の際に、電線が電線振れ止め部を乗り越えてしまうのを電線ガイド部材により防止することができる。
本発明の他の態様に係る電線の端子圧着装置は、前記電線振れ止め部は、前記第1位置にあるとき、前記ループ状になった電線の両側或いは片側で前記電線の外側に当接可能なガイド棒であることを特徴とする。
この態様によれば、上記移動の際に、ループ状になった電線の両側或いは片側がガイド棒により位置規制されていると共に、電線が曲がる支点は、2つの電線把持ハンドにより電線の両端末が把持された位置から離れた位置に配置されたガイド棒付近となっている。このため、電線が移動方向と反対方向へ振り上げられるのをガイド棒により抑制できる。
本発明の他の態様に係る電線の端子圧着装置は、前記電線振れ止め部は、前記第1位置にあるとき前記ループ状になった前記電線を支持する底壁と、前記ループ状になった電線の両側或いは片側に当接可能な側壁とを有する皿状のガイド部材であることを特徴とする。
この態様によれば、電線振れ止め部として皿状のガイド部材を用いているので、電線が搬送される際における、電線との接触面積を増やすことができ、電線が移動方向と反対方向へ振り上げられるのをさらに抑制することができる。
本発明の他の態様に係る電線の端子圧着装置は、前記皿状のガイド部材の前記底壁上に、前記側壁と協働して前記電線の両側或いは片側の位置規制をする少なくとも一つの内壁が設けられていることを特徴とする。
この態様によれば、側壁と内壁が協働してループ状になった電線の両側或いは片側の位置規制をするので、電線が移動方向と反対方向へ振り上げられるのをさらに抑制することができる。
本発明の第2の態様に係る電線の端子圧着方法は、電線の切断と、電線の両端末への端子の圧着とを行う電線の端子圧着方法において、前記電線の搬送方向に互いに横並びに配置された複数の電線圧着手段の一方の側から他方の側に、前記電線を持ち替えを行うことなく搬送し、前記複数の電線圧着手段のうち任意のもののところで電線の搬送を停止し、端子の圧着を行う端子圧着工程を有する、ことを特徴とする。
この態様によると、複数の電線圧着手段の一方の側から他方の側に電線を持ち替えを行うことなく搬送するので、電線圧着手段の数が増えたり、或いは電線の搬送速度が高速になっても、電線の掴み損ねの発生が抑制され、電線の掴み損ねによる端子圧着不良の製品の発生を防止することができる。
本発明の他の態様に係る電線の端子圧着方法は、電線を計尺して一定の長さに切断する電線計尺工程と、電線の両端末の被覆の剥ぎ取りを行う皮剥ぎ工程と、電線端末へ端子を圧着する端子圧着工程と、端子付き電線の端子位置を規制する端子位置規制工程と、端子付き電線をコネクタハウジングに挿入する端子挿入工程とを順に行う、ことを特徴とする。
この態様によると、端子圧着工程で、電線の搬送方向に互いに横並びに配置された複数の電線圧着手段の一方の側から他方の側に電線を持ち替えを行うことなく搬送するので、電線圧着手段の数が増えたり、或いは電線の搬送速度が高速になっても、電線の掴み損ねの発生が抑制され、電線の掴み損ねによる端子圧着不良の製品の発生を防止することができる。また、端子圧着工程での電線の持ち替えが無いため、端子挿入工程へ安定した端子付き電線の供給が可能となり、端子の姿勢変化に起因する製品不良の発生を抑制することができる。
本発明の他の態様に係る電線の端子圧着方法は、前記電線計尺工程から前記皮剥ぎ工程への電線の搬送を第1の電線搬送ハンドにより行い、前記端子圧着工程での前記電線の搬送を第2の電線搬送ハンドにより行う、ことを特徴とする。この態様によると、第1の電線搬送ハンドが電線計尺工程から皮剥ぎ工程への電線の搬送を受け持ち、第2の電線搬送ハンドが端子圧着工程での電線の搬送を受け持つので、圧着工程では電線の持ち替えが無く、端子圧着後の端子姿勢変化は生じない。
本発明の他の態様に係る電線の端子圧着方法は、前記第1の電線搬送ハンド及び第2の電線搬送ハンドにそれぞれ設けられた2つの電線把持ハンドにより前記電線の両端末を把持する、ことを特徴とする。この態様によると、電線把持ハンドは4つですむので、構造の簡略化と、簡略化による機械故障の低減とを図ることができる。
本発明の他の態様に係る電線の端子圧着方法は、前記第2の電線搬送ハンドの前記2つの電線把持ハンドにそれぞれ設けられた第3の駆動手段により、前記電線把持ハンドを前記複数の電線圧着手段の圧着加工位置へ移動させる、ことを特徴とする。この態様によると、第2の電線搬送ハンドの2つの電線把持ハンドにそれぞれ設けた第3の駆動手段により端子圧着装置の圧着加工位置側への移動量を適宜設定することができるので、端子変更時の圧着加工位置側への前進移動量の変更が容易になる。
本発明の他の態様に係る電線の端子圧着方法は、前記皮剥ぎ工程と前記端子圧着工程との間に配置された掴み替えハンドにより、被覆が剥ぎ取られた電線を前記第1の電線搬送ハンドから受け取り、前記第2の電線搬送ハンドへ受け渡す、ことを特徴とする。この態様によると、電線計尺工程から端子圧着工程の間において、電線の掴み替えが掴み替えハンドでの1回のみとなるため、電線把持ハンドによる電線の損傷が抑制される。
以下、本発明に係る端子圧着装置の各実施形態を図面に基づいて説明する。
(第1実施形態)
第1実施形態に係る端子圧着装置を、図1乃至図5に基づいて説明する。
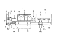
端子圧着装置は、図1に示すように、電線14を計尺して一定の長さに切断する電線計尺部8と、電線14の両端末の被覆の剥ぎ取りを行う皮剥ぎ部10と、電線14の端末に端子を圧着する端子圧着部6と、端子の姿勢を規制する端子位置規制部7と、端子付き電線をコネクタハウジング13に挿入する端子挿入部11とを備えている。
端子圧着部6には、電線圧着手段としての端子圧着用プレス6aが電線の搬送方向に複数、互いに横並びに配置されている。
また、この端子圧着装置は、複数の端子圧着用プレス6aの一方の側(図1の左側)から他方の側(図1の右側)に電線を持ち替えを行うことなく搬送し、かつ複数の端子圧着用プレス6aのうち任意のもののところで電線の搬送を停止可能である電線搬送手段18を備える。
電線搬送手段18は、電線計尺部8と皮剥ぎ部10との間で電線14を搬送する第1の電線搬送ハンド1と、端子圧着部6で電線14を搬送する第2の電線搬送ハンド2とを備えている。第1の電線搬送ハンド1は主に、電線計尺部8と皮剥ぎ部10との間で電線14を搬送する。第2の電線搬送ハンド2は、複数台の端子圧着用プレス6aの設置区間で電線14の搬送を行う。
電線搬送手段18はさらに、第1の電線搬送ハンド1を電線計尺部8と皮剥ぎ部10の間で往復動させる第1の駆動手段としての第1の搬送動作用アクチュエータ5aと、第2の電線搬送ハンド2を端子圧着部6で往復動させる第2の駆動手段としての第2の搬送動作用アクチュエータ5bとを備えている。
第1の搬送動作用アクチュエータ5aは、サーボモータとボールねじを備え、第1の電線搬送ハンド1を予め設定された位置に停止できるようになっている。同様に、第2の搬送動作用アクチュエータ5bは、サーボモータとボールねじを備え、第2の電線搬送ハンド2を予め設定された位置に停止できるようになっている。
第1の電線搬送ハンド1及び第2の電線搬送ハンド2には、電線14の両端末を把持する2つの電線把持ハンド3がそれぞれ設けられている。第1の搬送動作用アクチュエータ5aは、電線把持ハンド3で電線14の両端を把持した第1の電線搬送ハンド1を電線計尺部8の位置と皮剥ぎ部10の位置とにそれぞれ停止できるようになっている。また、第2の搬送動作用アクチュエータ5bは、両端末の被覆が剥ぎ取られた電線14の両端末を把持した第2の電線搬送ハンド2を複数台(本例では4台)の端子圧着用プレス6aのうちの指定されたひとつ(本例では1番目の端子圧着用プレス6a)の位置に停止できるようになっている。
第2の電線搬送ハンド2に設けられた2つの電線把持ハンド3,3にはそれぞれ、電線把持ハンド3を端子圧着用プレス6aの圧着加工位置へ電線14の搬送方向に対して垂直方向(図1の紙面内で上下方向)に移動させる第3の駆動手段としての前進用アクチュエータ15が設けられている(図2参照)。図2では、右側の電線把持ハンド3が前進用アクチュエータ15により端子圧着用プレス6aの圧着加工位置側へ前進した状態を、左側の電線把持ハンド3が前進用アクチュエータ15により圧着加工位置側から退避した状態をそれぞれ示してある。前進用アクチュエータ15は、サーボモータとボールねじを備えている。上記各アクチュエータ5a,5b,15は、それぞれサーボモータとボールねじを用いた構成に限らず、他の構成であってもよい。
また、端子圧着装置は、皮剥ぎ部10と端子圧着部6との間に配置され、両端末の被覆が剥ぎ取られた電線14を第1の電線搬送ハンド1から受け取り、第2の電線搬送ハンド2へ受け渡す掴み替えハンド4を備えている。この掴み替えハンド4は、端子圧着部6直前に設置されている。
また、端子圧着装置は、図1及び図3に示すように、少なくとも、電線14が4台の端子圧着用プレス6aの一番目から最後まで(本例では四番目まで)移動する範囲全体にわたって電線14の外側を覆う電線保護カバー20を備える。
また、端子圧着装置は、端子圧着部6で被覆が剥ぎ取られた両端末に端子がそれぞれ圧着された端子付き電線14a(図4参照)は、次工程の端子位置規制部7で上下左右方向に位置決めされ、端子挿入ハンド11aに受け渡されるようになっている。
端子挿入ハンド11aは、X−Y−Z軸を有するロボットとなっており、端子付き電線14aを上下左右方向に位置決めした後、その端子付き電線14aを把持したまま図4に示す位置から図5に示す位置まで搬送されるようになっている。また、端子挿入ハンド11aは、図4に示す位置にて、端子挿入部11内に配置されたコネクタ受け治具12に納められたコネクタハウジング13に端子付き電線14aの端子を挿入するようになっている。
このように構成された端子圧着装置では、電線計尺部8にて電線14を一定量送り出し、Uターン機構(図示省略)の中に電線14を通すことにより、電線14の下流側端末をUターンさせて電線把持ハンド1に把持させる。この後、電線14は電線計尺部8で計尺と同時に繰り出され、計尺終了後、電線14はカッタ9により切断され、その上流側端末が電線把持ハンド1により把持される。この時点で計尺切断された電線14は両端末を電線把持ハンド1により把持されU字状となり、この状態で各処理部へ搬送される。
U字状の電線14は、次の皮剥ぎ部10で両端末の被覆を剥ぎ取られ、この後、次工程の端子圧着部6において、4台の端子圧着用プレス6aのうちの1番目の端子圧着用プレス6aにより両端末に端子が圧着される。なお、端子圧着を行う際、前進用アクチュエータ15は、第2の電線搬送ハンド2に設けられた2つの電線把持ハンド3,3を端子圧着用プレス6aの圧着加工位置へ移動(前進)させて端子圧着を行うようになっている。
端子が圧着された端子付き電線14aは、次工程の端子位置規制部7で上下左右方向に位置決めされ、端子挿入ハンド11aに受け渡される。端子挿入ハンド11aは、図4に示す位置にて、端子位置規制部7で端子付き電線14aの上下左右方向の位置決めをした後、その端子付き電線14aを図5に示す端子挿入部11まで搬送され、コネクタ受け治具12に納められたコネクタハウジング13に端子付き電線14aの端子(例えば、端子の雌端子部)を挿入する。
図12及び図13は、電線14の両端末に端子200がそれぞれ圧着された一般的な端子付き電線14aを示している。図13において、符号14bは電線14の絶縁被覆であり、符号14cは皮剥ぎ部10で電線14の端末から一定の長さにわたって絶縁被覆14bが剥ぎ取られた複数の心線(導体露出部)である。また、図12及び図13において、符号201は端子200の雌端子部であり、符号202は端子圧着部6で絶縁被覆14bに圧着されたインシュレーションバレルであり、符号203は端子圧着部6で心線14cに圧着されたワイヤバレルである。端子200の雌端子部201は、コネクタハウジング13の雄端子部に挿入されてこの雄端子部と電気的に接続される。
このように本例の端子圧着装置では、2つの電線把持ハンド3で電線14の両端末をそれぞれ把持した第1の電線搬送ハンド1は、第1の搬送動作用アクチュエータ5aにより電線計尺部8から皮剥ぎ部10まで移動され、皮剥ぎ部10の後、図4のように端子圧着部6直前で掴み替えハンド4に電線14を受け渡し、第1の搬送動作用アクチュエータ5aにより駆動されて電線計尺部8へ戻る。第1の電線搬送ハンド1から受け渡されて掴み替えハンド4に把持された電線14は、図4の位置で第2の電線搬送ハンド2に受け渡される。つまり、電線14の両端末は、図4の位置で第2の電線搬送ハンド2の2つの電線把持ハンド3によりそれぞれ把持される。
2つの電線把持ハンド3で電線14の両端末をそれぞれ把持した第2の電線搬送ハンド2は、第2の搬送動作用アクチュエータ5bにより駆動されて、電線14の右端末が4台の端子圧着用プレス6aのうち指定された1番目の端子圧着用プレス6aの設置位置に位置するように移動される(図1参照)。この位置で、図2に示す右側の前進用アクチュエータ15は、電線14の右端末を把持した右側の電線把持ハンド3を1番目の端子圧着用プレス6aの圧着加工位置へ垂直方向に移動させる。この位置で、端子圧着用プレス6aにより電線14の右端末に端子が圧着される。この後、その右側の前進用アクチュエータ15は、右側の電線把持ハンド3を圧着加工位置から退避させる。
こうして電線14の右端末の端子圧着処理が行われた後、第2の電線搬送ハンド2は2つの電線把持ハンド3で電線14の両端末をそれぞれ把持したままの状態で、図1に示す位置から、第2の搬送動作用アクチュエータ5bにより駆動されて、電線14の左端末が1番目の端子圧着用プレス6aの設置位置に位置するように移動される。この位置で、図2に示す左側の前進用アクチュエータ15は、電線14の左端末を把持した左側の電線把持ハンド3を1番目の端子圧着用プレス6aの圧着加工位置へ垂直方向に移動させる。この位置で、端子圧着用プレス6aにより電線14の左端末に端子が圧着される。この後、その左側の前進用アクチュエータ15は、左側の電線把持ハンド3を圧着加工位置から退避させる。
このようにして端子圧着用プレス6aにより両端末に端子が圧着された端子付き電線14aは、電線14の左端末が1番目の端子圧着用プレス6aの設置位置にある位置から、図4に示す位置まで第2の搬送動作用アクチュエータ5bにより駆動されて移動する。
図4に示す位置まで搬送された端子付き電線14aは、第2の電線搬送ハンド2から端子挿入ハンド11aに受け渡される。端子付き電線14aの把持が解除された第2の電線搬送ハンド2は、図4に示す位置から図1に示す位置まで戻る。
このような動作を連続的に繰り返し行うことにより、電線計尺を行う上流工程(電線計尺部8)から端子付き電線14aをコネクタハウジング13に挿入する端子挿入部11の最終工程まで、電線が搬送される。
以上のように構成された第1実施形態によれば、以下の作用効果を奏する。
○電線搬送手段18は、複数の端子圧着用プレス6aの一方の側から他方の側に電線14の持ち替えを行うことなく搬送するので、端子圧着用プレス6aの数が増えたり、或いは電線14の搬送速度が高速になっても、電線14の掴み損ねの発生が抑制され、電線の掴み損ねによる端子圧着不良の製品の発生を防止することができる。
○上記従来の電線の端子圧着装置では、端子圧着を行うプレス60aを複数台配置しているため、電線把持ハンド101と電線搬送ハンド103との間での電線140の掴み替え回数は増加する。電線の掴み替えにより、電線が長手方向を中心に回転するなどの電線の姿勢変化が生じる。このように電線の姿勢変化が生じると、その後の工程に支障をきたすことがある。
例えば、電線の軸線方向自体が変わってしまい、端子の圧着そのものができなくなるような事態も起こり得る。また、例えば、コネクタハウジング130に端子付き電線140aの端子を挿入する直前で規制しきれない姿勢変化が生じてしまうことがある。このように端子の位置規制が不可能な状態まで姿勢変化が生じた端子は、端子挿入ハンド110aで正常に端子の把持ができず、コネクタハウジング130への端子の挿入が不可能となり、製品が不良となってしまう問題がある。
これに対して、本実施形態によれば、電線搬送手段18は、複数の端子圧着用プレス6aの一方の側から他方の側に電線14の持ち替えを行うことなく搬送するので、端子圧着後の端子姿勢変化が生じない。これにより、電線14の軸線方向自体が変わって端子の圧着そのものができなくなり、或いは、コネクタハウジングに端子付き電線14aの端子を挿入する直前で規制しきれない姿勢変化が生じてしまうのを防止することができる。これにより、端子挿入部11へ安定した端子付き電線14aの供給が可能となり、端子の姿勢変化に起因する製品不良の発生を抑制することができる。
○電線14は、その両端末が第2の電線搬送ハンド2の2つの電線把持ハンド3によりそれぞれ把持されたまま状態で、皮剥ぎ部10から端子圧着部6に移動されると共に、端子圧着用プレス6aによる端子圧着処理が行われる。また、端子圧着処理が行われた端子付き電線14aは、その両端末が第2の電線搬送ハンド2の2つの電線把持ハンド3によりそれぞれ把持されたまま状態で、図4に示す位置まで第2の搬送動作用アクチュエータ5bにより駆動されて移動し、この位置で端子付き電線14aは第2の電線搬送ハンド2から端子挿入ハンド11aに受け渡される。
このように、端子圧着部6での電線の持ち替えが無い。すなわち、電線搬送手段18の第2の電線搬送ハンド2は、複数の端子圧着用プレス6aの一方の側から他方の側に電線を持ち替えを行うことなく搬送するので、端子圧着後の端子姿勢変化が生じない。これにより、電線の軸線方向自体が変わって端子の圧着そのものができなくなり、或いは、コネクタハウジングに端子付き電線の端子を挿入する直前で規制しきれない姿勢変化が生じてしまうのを防止することができる。従って、端子挿入部へ安定した端子付き電線の供給が可能となり、端子の姿勢変化に起因する製品不良の発生を抑制することができる。
○端子圧着部6での電線の持ち替えが無いため、電線把持ハンドによる把持ミスが無くなる。
○第1の電線搬送ハンド1及び第2の電線搬送ハンド2には、電線14の両端末を把持する2つの電線把持ハンド3がそれぞれ設けられている構成により、電線把持ハンド3は4つですむので、構造の簡略化と、簡略化による機械故障の低減とを図ることができる。
○第2の電線搬送ハンド2に設けられた2つの電線把持ハンド3,3にはそれぞれ、電線把持ハンド3を端子圧着用プレス6aの圧着加工位置へ電線14の搬送方向に対して垂直方向に移動させる前進用アクチュエータ15が設けられている。この構成により、第2の電線搬送ハンド2の2つの電線把持ハンド3にそれぞれ設けた前進用アクチュエータ15により端子圧着用プレス6aの圧着加工位置側への移動量を適宜設定することができるので、端子変更時の圧着加工位置側への前進移動量の変更が容易になる。例えば、本装置で製造する製品仕様が複数存在し、段取り替えを行って製造する際に、圧着する端子を変更し、その変更に伴い電線の前進移動量が変わる場合にも、対応が容易になる。
○前進用アクチュエータ15は2つの電線把持ハンド3毎に一つずつ、すなわち全体で2つ設ければよい。これにより、前進用アクチュエータ15を複数台の端子圧着用プレス6a毎に設ける必要がなくなり、構造の簡略化を図ることができる。
○電線計尺部8から端子圧着部6の間において、電線14の掴み替えが掴み替えハンド4での1回のみとなるため、第1の電線搬送ハンド1及び第2の電線搬送ハンド2にそれぞれ設けた2つの電線把持ハンド3による電線14の損傷が抑制される。
○端子圧着装置は、電線14が4台の端子圧着用プレス6aの一番目から最後まで移動する範囲全体にわたって電線14の外側を覆う電線保護カバー20を備える。この構成により、端子圧着部6で電線14及び端子付き電線14aが高速に搬送される際に生じる電線14及び端子付き電線14aの反り上がりを電線保護カバー20により防止することができる。
(第2実施形態)
次に、本発明の第2実施形態に係る電線の端子圧着装置を、図6に基づいて説明する。
本実施形態に係る電線の端子圧着装置は、電線14及び電線付き電線14aを一つの電線搬送ハンド1´により電線計尺部8から端子位置規制部11までの間で搬送するように構成されている。そのために、本実施形態では、上記第1実施形態において、掴み替えハンド4を廃止すると共に、上記2つの電線搬送ハンド1,2に代えて一つの電線搬送ハンド1´を設けてある。また、2つの電線搬送ハンド1,2を駆動する2つの搬送動作用アクチュエータ5a,5bに代えて、電線搬送ハンド1´を電線計尺部8から端子位置規制部11までの間で往復動する一つの搬送動作用アクチュエータ5b´を設けてある。その他の構成は、上記第1実施形態と同様である。
以上のように構成された第2実施形態によれば、上記第1実施形態の奏する作用効果に加えて以下の作用効果を奏する。
○電線計尺部8から端子位置規制部11までの間において電線14及び電線付き電線14aを一つの電線搬送ハンド1´により搬送するので、構造を更に簡略化することができる。
○一つの搬送動作用アクチュエータ5b´を駆動制御することで、電線搬送ハンド1´を電線計尺部8から端子位置規制部11までの間で往復動させるので、搬送動作用アクチュエータ5b´の制御系は一つで良く、この点でも構造を更に簡略化することができる。
(第3実施形態)
次に、本発明の第3実施形態に係る電線の端子圧着装置を、図7に基づいて説明する。
本実施形態に係る電線の端子圧着装置は、上記第1実施形態において、電線計尺部8と皮剥ぎ部10の間に、防水ゴム栓挿入部30を設置したものである。この防水ゴム栓挿入部30には、ゴム栓挿入ユニット31とパーツフィーダ32とが設けられている。その他の構成は、上記第1実施形態と同様である。
この防水ゴム栓挿入部30では、電線14の両端末近傍にパーツフィーダ32から供給される防水ゴム栓をそれぞれ挿入する。この防水ゴム栓は、端子付き電線14aをコネクタハウジング13に挿入した際に、電線14aの両端末に圧着された端子付近の外周面とコネクタハウジング13の電線挿通孔の内周面との間を塞いで防水性能を向上させるものである。
以上のように構成された第3実施形態によれば、上記第1実施形態の奏する作用効果に加えて以下の作用効果を奏する。
○電線計尺部8と皮剥ぎ部10の間に設置した防水ゴム栓挿入部30により、電線14の両端末近傍に防水ゴム栓をそれぞれ挿入することができるので、防水性能を向上させたワイヤハーネスアセンブリを作製することができる。
(第4実施形態)
次に、本発明の第4実施形態に係る電線の端子圧着装置を、図8に基づいて説明する。
本実施形態に係る電線の端子圧着装置は、上記第1実施形態において、端子圧着部6と端子位置規制部7との間に、端子圧着状態を検査する画像検査部40を設置したものである。この画像検査部40には、端子付き電線14aの両端末をそれぞれ撮像する2台のカメラ41,41を備えた画像検査ユニット42が設けられている。
以上のように構成された第4実施形態によれば、上記第1実施形態の奏する作用効果に加えて以下の作用効果を奏する。
○端子圧着部6の後で、端子付き電線14aの両端末の端子圧着状態を2台のカメラ41,41により同時に検査することができる。
(第5実施形態)
次に、本発明の第5実施形態に係る電線の自動排出装置を、図9に基づいて説明する。
本実施形態に係る電線の自動排出装置は、電線14の切断と、電線14の両端末への端子の圧着と、端子付き電線14aの排出と、を行う電線の自動排出装置において、複数台の端子圧着用プレス6aが搭載された端子圧着部6の間で、電線14及び端子付き電線14aの持ち替えを行うことなく電線を搬送するようにしたものである。
この電線の自動排出装置は、上記第1実施形態に係る電線の端子圧着装置において、端子挿入部11を廃止し、電線排出部50を設置したものである。この電線排出部50には、上記第1実施形態の端子挿入ハンド11aの代わりに、端子付き電線14aをピックアップし、排出する電線排出ユニット51と排出トレイ52とが設けられている。
以上のように構成された第5実施形態によれば、以下の作用効果を奏する。
○端子圧着部6での電線の持ち替えが無いため、端子圧着後の端子姿勢変化は生じず、同じ姿勢の端子付き電線14aを排出トレイ52へ排出することができる。
(第6実施形態)
次に、本発明の第6実施形態に係る電線の端子圧着装置を、図14乃至図18に基づいて説明する。
上記第1実施形態で説明したように、第2の電線搬送ハンド2は、掴み替えハンド4にて電線14を受け取った後、端子圧着部6の4台の端子圧着用プレス6aのうち、圧着すべき端子が搭載されている端子圧着用プレス6aの位置まで停止すること無く移動する。そして、端子圧着の終了後、端子付き電線14aは、端子挿入ハンド11aにより上下左右方向を位置決めされた後、図4に示す位置から図5に示す位置まで搬送される。
このように電線14或いは端子付け電線14aが搬送される際、電線14或いは端子付け電線14aは両端末を第2の電線搬送ハンド2の電線把持ハンド3,3で把持されている状態で、4台の端子圧着用プレス6aの一方の側(左側)から他方の側(右側)へ移動する。図18(A)は電線14が前記一方の側から他方の側へ移動する(以下の説明では、この移動方向をx方向とする。)際における電線14の挙動を示している。この移動の際、電線14が比較的長尺である場合、U字状(ループ状)になった電線中央部分は第2の電線搬送ハンド2の移動についていけず、図18(A)の右側に示すよう移動方向xと反対方向に振り上げられる現象が生じる。この時、電線14は、電線把持ハンド3,3の把持部分を支点にして図18(A)の右側に示すように曲げられ、振り上げられる。この時、電線14は、第2の電線搬送ハンド2の移動速度が速い程、激しく振り上げられ、振り上げられた電線14が、端子圧着用プレス6aやその他の機構部分に絡みつく場合がある。
このため、電線14の振り上げが小さい状態となる範囲内でしか第2の電線搬送ハンド2の移動速度の設定ができないため、電線14の搬送速度を高めることができず、効率的な装置稼動ができないという問題が起こる可能性がある。また、電線14の癖の状態によっては、第2の電線搬送ハンド2の移動速度が低い場合でも同様の現象が発生する場合があり、電線損傷等の製品不良や装置の故障を引き起こす恐れがある。
このような問題を解決するために、本実施形態に係る電線の端子圧着装置は、次のような構成を有する点に特徴がある。
(1)本実施形態に係る電線の端子圧着装置は、図14乃至図17に示すように、U字状(ループ状)になった電線14の両側の位置規制を行う電線振れ止め部としてのガイド棒302,302と、ガイド棒302,302を駆動する振れ止め部駆動手段としてのアクチュエータ303,303と、を備える。
ガイド棒302,302は、第2の電線搬送ハンド2の2つの電線把持ハンド3により両端末が把持されてループ状になった電線14の外側にあって、2つの電線把持ハンド3により両端末が把持された位置から図14のy方向に離れた位置で、ループ状になった電線14の両側の位置規制を行う。
アクチュエータ303,303は、ガイド棒302,302を、複数の端子圧着用プレス6aの一方の側(左側)と他方の側(右側)との間で電線14が搬送される際における電線14の移動軌跡内に位置する第1位置(図16および図17に示す突出位置)と、その移動軌跡から退避した第2位置(図14および図15に示す退避位置)との間で変位させるようになっている。
(2)本実施形態に係る電線の端子圧着装置は、第2の電線搬送ハンド2の内部構造と、ガイド棒302,302と、アクチュエータ303,303とを保護するカバー304を備える。このカバー304には、ガイド棒302,302を前記第1位置と第2位置との間で変位可能にするための2つの貫通孔304a(図14参照)が形成されている。ガイド棒302,302はそれぞれ、前記第1位置ではカバー304の貫通孔304aを通って内側から外側へ突出し、ループ状になった電線14の両側の位置規制を行うように構成されている。
(3)本実施形態に係る電線の端子圧着装置は、カバー304上に該カバーとの間に隙間を持って配置された電線ガイド部材としての板状の電線ガイド305を備える。電線14が複数の端子圧着用プレス6aの一方の側(左側)と他方の側(右側)との間で搬送される際に、電線14がカバー304と電線ガイド305との間の隙間Dy(図14参照)を通るように構成されている。
(4)ガイド棒302,302は、前記第1位置にあるとき、ループ状になった電線14の両側で電線の外側に当接可能になっている。
このような構成を有する本実施形態に係る電線の端子圧着装置の動作を説明する。
電線14が計尺切断され、掴み替えハンド4に到達した後、第2の電線搬送ハンド2が掴み替えハンド4へ移動し、電線14を受け取る。この際、同時にガイド棒302,302がアクチュエータ303,303により駆動されて上昇し、カバー304の貫通孔304aを通ってカバー304より外側へそれぞれ突出し(図16および図17参照)、電線14の外側をガイドする。このとき、ガイド棒302,302は、図16に示すように、第2の電線搬送ハンド2の2つの電線把持ハンド3,3よりも電線14の長手方向に距離を置いた位置、つまり、図14で電線把持ハンド3,3よりもループ状になった電線14の中央部側である右側(z方向)へ離れた位置に配置される。
この後、第2の電線搬送ハンド2は、4台の端子圧着用プレス6aの一方の側(左側)から他方の側(右側)へ高速移動し、さらに端子圧着終了後、第2の電線搬送ハンド2は端子位置規制部7側へ高速移動する。このような高速移動の際、電線14は、ガイド棒302,302より上方(図14でy方向に離れた位置)に配置された電線ガイド305とカバー304との間の隙間Dy(図14でy方向の隙間)を通って移動する。第2の電線搬送ハンド2が端子位置規制部7に到着後、ガイド棒302,302は、アクチュエータ303,303により駆動されて前記第2位置へ下降し、カバー304の内側に位置する。この後、端子付き電線14aは端子挿入ハンド11aへ受け渡され、第2の電線搬送ハンド2はガイド棒302,302が前記第2位置まで下降した状態で、掴み替えハンド4へ戻る。
上述したように第2の電線搬送ハンド2が、4台の端子圧着用プレス6aの一方の側(左側)から他方の側(右側)へ、さらには端子圧着終了後に端子位置規制部7側へ高速移動する際に、電線14或いは端子付き電線14aは移動方向xと反対方向に振り上げられる。
しかし、U字状(ループ状)になった電線14の両側がガイド棒302,302により位置規制されていると共に、電線14が曲がる支点は、図18(B)の右側に示すように、2つの電線把持ハンド3により電線の両端末が把持された位置から図14のy方向に離れた位置に配置されたガイド棒302,302付近となっている。このため、電線が移動方向xと反対方向へ振り上げられるのを抑制できる。これにより、振り上げられた電線14或いは端子付き電線14aが端子圧着用プレス6aやその他の機構部分に絡みつくのを防止できる。
以上のように構成された第6実施形態によれば、上記第1実施形態の奏する作用効果に加えて以下の作用効果を奏する。
○第2の電線搬送ハンド2が、4台の端子圧着用プレス6aの一方の側(左側)から他方の側(右側)へ、さらには端子圧着終了後に端子位置規制部7側へ高速移動する際に、U字状になった電線14の両側がガイド棒302,302により位置規制されていると共に、電線14が曲がる支点は、図18(B)の右側に示すように、2つの電線把持ハンド3により電線の両端末が把持された位置から図14のy方向に離れた位置に配置されたガイド棒302,302付近となっている。このため、電線14或いは端子付き電線14aが移動方向xと反対方向へ振り上げられるのを抑制できる(図18(B)の右側参照)。これにより、振り上げられた電線14或いは端子付き電線14aが端子圧着用プレス6aやその他の機構部分に絡みつくのを防止できる。
○上記高速移動の際における電線14の振り上げが小さくなるので、第2の電線搬送ハンド2の移動速度を高く設定して電線14の搬送速度を高め、効率的な装置稼動が可能になる。
○電線14の癖の状態によっては、第2の電線搬送ハンド2の移動速度が低い場合でも電線14の振り上げの現象が発生する場合があるが、この場合における電線14の振り上げも小さくすることができるので、電線損傷等の製品不良が減って歩留まりが向上すると共に、装置が故障する可能性も低減される。
○第2の電線搬送ハンド2の内部構造と、ガイド棒302,302と、アクチュエータ303,303とを、カバー30により保護することができる。
○上記高速移動の際に、電線14がカバー304と電線ガイド305との間の隙間Dy(図14参照)を通るようになっており、その隙間Dyを電線14が通過できる程度の狭い隙間にすることで、電線14がカバー304の上方へ(y方向へ)跳ね上げられるのを電線ガイド305でせき止めて抑制することができる。
○上記高速移動の際に、電線がガイド棒302,302を乗り越えてしまうのを電線ガイド305により防止することができる。
(第7実施形態)
本発明の第7実施形態に係る電線の端子圧着装置を、図19および図20に基づいて説明する。
上記第6実施形態に係る電線の端子圧着装置は、カバー304上に該カバーとの間に隙間Dy(図14参照)を持って配置された電線ガイド部材としての板状の電線ガイド305を備え、電線14が複数の端子圧着用プレス6aの一方の側(左側)と他方の側(右側)との間で搬送される際に、電線14がその隙間Dyを通るように構成されている。これにより、電線14がカバー304の上方へ(y方向へ)跳ね上げられるのを電線ガイド305でせき止めて抑制することができるようになっている。
これに対して本実施形態に係る電線の端子圧着装置は、電線14が搬送される際に、電線14がカバー304Aの上方へ(y方向へ)跳ね上げられるのをさらに抑制するようにしている。そのために、カバー304A上に該カバーとの間に隙間Dz(図19参照)を持って配置された電線ガイド部材としての板状の電線ガイド305Aを備えている。
また、アクチュエータ303A,303Aは、ガイド棒302A,302Aを、複数の端子圧着用プレス6aの一方の側と他方の側との間で電線14が搬送される際における電線14の移動軌跡内に位置する第1位置(図20に示す突出位置)と、その移動軌跡から退避した第2位置(図19に示す退避位置)との間で、z方向に変位させるようになっている。
さらに、第2の電線搬送ハンド2の内部構造と、ガイド棒302A,302Aと、アクチュエータ303A,303Aとを保護するカバー304Aには、ガイド棒302A,302Aを前記第1位置と第2位置との間で変位可能にするための2つの貫通孔304bが形成されている。ガイド棒302A,302Aはそれぞれ、前記第1位置ではカバー304Aの貫通孔304bを通って内側から外側へ突出し、ループ状になった電線14の両側の位置規制を行うように構成されている。
以上のように構成された第7実施形態によれば、上記第6実施形態の奏する作用効果に加えて以下の作用効果を奏する。
○電線14が搬送される際に、電線14がカバー304Aの上方へ(y方向へ)跳ね上げられるのを、カバー304A上に該カバーとの間に隙間Dz(図19参照)を持って配置された板状の電線ガイド305Aによりさらに抑制することができる。
(第8実施形態)
本発明の第8実施形態に係る電線の端子圧着装置を、図21乃至23に基づいて説明する。
上記第7実施形態では、U字状(ループ状)になった電線14の両側の位置規制を行う電線振れ止め部としてのガイド棒302A,302Aと、ガイド棒302A,302Aを駆動する振れ止め部駆動手段としてのアクチュエータ303A,303Aと、を備える。
これに対して、本実施形態に係る電線の端子圧着装置は、上記第7実施形態に係る電線の端子圧着装置をさらに改良したもので、次のような構成を有する点に特徴がある。
・電線振れ止め部としてのガイド棒302A,302Aに代えて、ループ状になった電線14を支持する底壁308と、ループ状になった電線14の両側に当接可能な側壁309,310とを有する皿状のガイド部材307を用いている。この皿状のガイド部材307は、振れ止め部駆動手段としてのアクチュエータ303Bにより、電線14を底壁308で支持する突出位置と、この突出位置から退避した位置との間で駆動される。
・皿状のガイド部材307の底壁308上には、図22および図23に示すように、側壁309,310とそれぞれ協働して電線14の両側の位置規制をする内壁311,312が設けられている。
以上のように構成された第8実施形態によれば、上記第7実施形態の奏する作用効果に加えて以下の作用効果を奏する。
○電線振れ止め部として皿状のガイド部材307を用いているので、電線14が搬送される際における、電線14との接触面積を増やすことができ、電線14或いは端子付き電線14aが移動方向xと反対方向へ振り上げられるのをさらに抑制することができる。
○皿状のガイド部材307の底壁308上には、側壁309,310とそれぞれ協働して電線14の両側の位置規制をする内壁311,312が設けられている。この構成により、側壁309と内壁311とでループ状になった電線14の一方の側の位置規制がなされると共に、側壁310と内壁312とでループ状になった電線14の他方の側の位置規制がなされる。これによって、電線14或いは端子付き電線14aが移動方向xと反対方向へ振り上げられるのをさらに抑制することができる。
なお、この発明は以下のように変更して具体化することもできる。
・上記第各実施形態では、電線の端子圧着装置について説明したが、本発明は、次のような電線の端子圧着方法に広く適用可能である。
電線の切断と、電線の両端末への端子の圧着とを行う電線の端子圧着方法において、前記電線の搬送方向に互いに横並びに配置された複数の電線圧着手段の一方の側から他方の側に、前記電線を持ち替えを行うことなく搬送し、前記複数の電線圧着手段のうち任意のもののところで電線の搬送を停止可能とした、ことを特徴とする電線の端子圧着方法。
これによると、複数の電線圧着手段の一方の側から他方の側に電線を持ち替えを行うことなく搬送するので、電線圧着手段の数が増えたり、或いは電線の搬送速度が高速になっても、電線の掴み損ねの発生が抑制され、電線の掴み損ねによる端子圧着不良の製品の発生を防止することができる。また、複数の電線圧着手段の一方の側から他方の側に、電線を持ち替えを行うことなく搬送するため、端子圧着後の端子姿勢変化は生じず、コネクタハウジングに端子付き電線の端子を挿入する直前で規制しきれない姿勢変化が生じてしまうことは無くなる。これにより、端子挿入部へ安定した端子付き電線の供給が可能となり、端子の姿勢変化に起因する製品不良の発生を抑制することができる。
・また、本発明は、次のような電線の端子圧着方法にも適用可能である。
電線を計尺して一定の長さに切断する電線計尺工程と、電線の両端末の被覆の剥ぎ取りを行う皮剥ぎ工程と、電線端末へ端子を圧着する端子圧着工程と、端子付き電線の端子位置を規制する端子位置規制工程と、端子付き電線をコネクタハウジングに挿入する端子挿入工程とを順に行う電線の端子圧着方法において、前記端子圧着工程で、前記電線の搬送方向に互いに横並びに配置された複数の電線圧着手段の一方の側から他方の側に、前記電線を持ち替えを行うことなく搬送し、前記複数の電線圧着手段のうち任意のもののところで電線の搬送を停止可能とした、ことを特徴とする電線の端子圧着方法。
これによると、端子圧着工程で、電線の搬送方向に互いに横並びに配置された複数の電線圧着手段の一方の側から他方の側に電線を持ち替えを行うことなく搬送するので、電線圧着手段の数が増えたり、或いは電線の搬送速度が高速になっても、電線の掴み損ねの発生が抑制され、電線の掴み損ねによる端子圧着不良の製品の発生を防止することができる。また、端子圧着工程での電線の持ち替えが無いため、端子挿入工程へ安定した端子付き電線の供給が可能となり、端子の姿勢変化に起因する製品不良の発生を抑制することができる。
・上記第各実施形態では、4台の端子圧着用プレス6aを設置した構成について説明したが、本発明は、端子圧着用プレス6aは4台に限らず、複数台の端子圧着用プレス6aを設けた構成に広く適用可能である。
・上記第3実施形態の防水ゴム栓挿入部30において、ゴム栓挿入ユニット31とパーツフィーダ32を複数組配置し、第1の搬送動作用アクチュエータ5aを延長することにより、複数種類のゴム栓に対応させることが可能になる。
・上記第4実施形態では、端子圧着状態を検査する画像検査ユニット42は2台のカメラ41,41を備えているが、1台のカメラで端子付き電線14aの両端末を片方ずつ順次撮像して、片方の端末の端子圧着状態を順次検査するように構成しても良い。
・上記第1乃至第4実施形態では、電線14の両端末に、雌端子部(図12の雌端子部201参照)を有する端子を圧着し、その雌端子部をコネクタハウジング13に挿入することで、その雌端子部がコネクタハウジング内の雄端子部と電気的に接続される場合について説明したが、本発明はこのような構成に限定されない。すなわち、電線14の両端末に、雄端子部を有する端子を圧着し、その雄端子部をコネクタハウジング13に挿入することで、その雄端子部がコネクタハウジング内の雌端子部と電気的に接続される場合にも本発明は適用可能である。
・上記第6乃至第8実施形態では、ループ状になった電線の両側を電線振れ止め部で位置規制するようにしているが、ループ状になった電線の片側を電線振れ止め部で位置規制する構成の電線の端子圧着装置にも本発明は適用可能である。
・上記第6乃至第8実施形態に係る電線の端子圧着装置は、上記第1実施形態で説明した電線14及び端子付き電線14aの反り上がりを防止する電線保護カバー20が付いた構成、或いは電線保護カバー20が付いていない構成のいずれの電線の端子圧着装置にも適用可能である。
第1実施形態に係る電線の端子圧着装置を示す概略構成図。 同装置における端子圧着用プレス側への電線の移動機構を示す概略構成図。 同装置の電線カバーを示す断面図。 同装置の図1とは別の状態を示す工程説明図。 同装置の図4とは別の状態を示す工程説明図。 第2実施形態に係る電線の端子圧着装置を示す概略構成図。 第3実施形態に係る電線の端子圧着装置を示す概略構成図。 第4実施形態に係る電線の端子圧着装置を示す概略構成図。 第5実施形態に係る電線の自動排出装置を示す概略構成図。 従来の電線の端子圧着装置を示す概略構成図。 同装置における電線の移動機構を示す概略構成図で、(A)は電線先端が端子圧着用プレスから退避した位置にある状態を、(B)は電線先端部が同プレス側へ前進した状態をそれぞれ示している。 電線の両端末に端子が圧着された端子付き電線を示す斜視図。 同端子付き電線を示す側面図。 第6実施形態に係る電線の端子圧着装置の特徴部分を示す図で、ガイド棒が退避した状態を示す断面図。 図14に示す特徴部分を示す正面図。 図14と同様の図で、ガイド棒が突出した状態を示す断面図。 図15と同様の図で、ガイド棒が突出した状態を示す正面図。 (A)は電線の振り上げ現象を示す説明図、(B)は第6実施形態に係る電線の端子圧着装置における電線の挙動を示す説明図。 第7実施形態に係る電線の端子圧着装置の特徴部分を示す図で、ガイド棒が退避した状態を示す断面図。 図19と同様の図で、ガイド棒が突出した状態を示す断面図。 第8実施形態に係る電線の端子圧着装置の特徴部分を示す図で、皿状のガイド部材が突出した状態を示す断面図。 図21に示す特徴部分を示す正面図。 皿状のガイド部材を示す斜視図。
符号の説明
1:第1の電線搬送ハンド 1´:電線搬送ハンド
2:第2の電線搬送ハンド 3:電線把持ハンド
4:掴み替えハンド 5a:第1の搬送動作用アクチュエータ
5b:第2の搬送動作用アクチュエータ 5b´:搬送動作用アクチュエータ
6:端子圧着部 7:端子位置規制部
8:電線計尺部 10:皮剥ぎ部
11:端子挿入部 11a:端子挿入ハンド
12:コネクタ受け治具 13:コネクタハウジング
14:電線 14a:端子付き電線
15:前進用アクチュエータ 30:防水ゴム栓挿入部
18:電線搬送手段
40:画像検査部
302,302,302A,302A…ガイド棒
303,303,303A,303A,303B…アクチュエータ
304,304A…カバー
304a,303b…貫通孔
305,305A…電線ガイド
307…皿状のガイド部材
308…底壁
309,310…側壁
Dy,Dz…隙間

Claims (19)

  1. 電線の端末へ端子を圧着する電線圧着手段と、
    前記電線の端末を把持し搬送する電線搬送手段と、
    を備えた電線の端子圧着装置において、
    前記電線圧着手段は前記電線の搬送方向に複数、互いに横並びに配置されており、
    前記電線搬送手段は、前記複数の電線圧着手段の一方の側から他方の側に前記電線を持ち替えを行うことなく搬送し、かつ前記複数の電線圧着手段のうち任意のもののところで電線の搬送を停止可能であることを特徴とする電線の端子圧着装置。
  2. 電線を計尺して一定の長さに切断する電線計尺手段と、電線の両端末の被覆の剥ぎ取りを行う皮剥ぎ手段とを有し、
    前記電線搬送手段は、前記電線計尺手段から皮剥ぎ手段へ電線を搬送する第1の電線搬送ハンドと、
    前記第1の電線搬送ハンドを前記電線計尺手段と皮剥ぎ手段の間で往復動させる第1の駆動手段と、
    前記複数の電線圧着手段の一方の側から他方の側へ前記電線を搬送する第2の電線搬送ハンドと、
    前記第2の電線搬送ハンドを前記複数の電線圧着手段の一方の側と他方の側との間で往復動させる第2の駆動手段と、を備えることを特徴とする請求項1に記載の電線の端子圧着装置。
  3. 前記第1の電線搬送ハンド及び第2の電線搬送ハンドには、前記電線の両端末を把持する2つの電線把持ハンドがそれぞれ設けられていることを特徴とする請求項2に記載の電線の端子圧着装置。
  4. 前記第2の電線搬送ハンドに設けられた前記2つの電線把持ハンドには、該電線把持ハンドを前記電線圧着手段の圧着加工位置へ前記電線の搬送方向に対して垂直方向に移動させる第3の駆動手段がそれぞれ設けられていることを特徴とする請求項3に記載の電線の端子圧着装置。
  5. 前記皮剥ぎ手段と前記複数の電線圧着手段との間に配置され、被覆が剥ぎ取られた電線を前記第1の電線搬送ハンドから受け取り、前記第2の電線搬送ハンドへ受け渡す掴み替えハンドを備えることを特徴とする請求項2乃至4のいずれか一つに記載の電線の端子圧着装置。
  6. 少なくとも、前記電線が前記複数の電線圧着手段の一番目から最後まで移動する範囲全体にわたって前記電線の外側を覆う電線保護カバーを備えることを特徴とする請求項1乃至5のいずれか一つに記載の電線の端子圧着装置。
  7. 前記電線搬送手段は、前記複数の電線圧着手段の前工程から同電線圧着手段の後工程までの間で前記電線を搬送する一つの電線搬送ハンドを備えることを特徴とする請求項1に記載の電線の端子圧着装置。
  8. 前記第2の電線搬送ハンドの前記2つの電線把持ハンドにより両端末が把持されてループ状になった前記電線の外側にあって、前記2つの電線把持ハンドにより前記両端末が把持された位置から離れた位置で、前記ループ状になった電線の両側或いは片側の位置規制を行う電線振れ止め部と、
    前記電線振れ止め部を、前記複数の電線圧着手段の一方の側と他方の側との間で前記電線が搬送される際における前記電線の移動軌跡内に位置する第1位置と、前記移動軌跡から退避した第2位置との間で変位させる振れ止め部駆動手段と、を備えることを特徴とする請求項3又は4に記載の電線の端子圧着装置。
  9. 前記第2の電線搬送ハンドの内部構造と、前記電線振れ止め部と、前記振れ止め部駆動手段とを保護するカバーを備え、前記電線振れ止め部は、前記第1位置では前記カバーの内側から外側へ突出して前記ループ状になった電線の両側或いは片側の位置規制を行うように構成されていることを特徴とする請求項8に記載の電線の端子圧着装置。
  10. 前記カバー上に該カバーとの間に隙間を持って配置された電線ガイド部材を備え、前記電線が前記複数の電線圧着手段の一方の側と他方の側との間で搬送される際に、前記電線が前記カバーと前記電線ガイド部材との間の隙間を通るように構成されていることを特徴とする請求項9に記載の電線の端子圧着装置。
  11. 前記電線振れ止め部は、前記第1位置にあるとき、前記ループ状になった電線の両側或いは片側で前記電線の外側に当接可能なガイド棒であることを特徴とする請求項8乃至10のいずれか一つに記載の電線の端子圧着装置。
  12. 前記電線振れ止め部は、前記第1位置にあるとき前記ループ状になった前記電線を支持する底壁と、前記ループ状になった電線の両側或いは片側に当接可能な側壁とを有する皿状のガイド部材であることを特徴とする請求項8乃至11のいずれか一つに記載の電線の端子圧着装置。
  13. 前記皿状のガイド部材の前記底壁上に、前記側壁と協働して前記電線の両側或いは片側の位置規制をする少なくとも一つの内壁が設けられていることを特徴とする請求項12に記載の電線の端子圧着装置。
  14. 電線の切断と、電線の両端末への端子の圧着とを行う電線の端子圧着方法において、
    前記電線の搬送方向に互いに横並びに配置された複数の電線圧着手段の一方の側から他方の側に、前記電線を持ち替えを行うことなく搬送し、
    前記複数の電線圧着手段のうち任意のもののところで電線の搬送を停止し、端子の圧着を行う端子圧着工程を有する、ことを特徴とする電線の端子圧着方法。
  15. 電線を計尺して一定の長さに切断する電線計尺工程と、電線の両端末の被覆の剥ぎ取りを行う皮剥ぎ工程と、電線端末へ端子を圧着する端子圧着工程と、端子付き電線の端子位置を規制する端子位置規制工程と、端子付き電線をコネクタハウジングに挿入する端子挿入工程とを順に行う、ことを特徴とする請求項14に記載の電線の端子圧着方法。
  16. 前記電線計尺工程から前記皮剥ぎ工程への電線の搬送を第1の電線搬送ハンドにより行い、
    前記端子圧着工程での前記電線の搬送を第2の電線搬送ハンドにより行う、ことを特徴とする請求項15に記載の電線の端子圧着方法。
  17. 前記第1の電線搬送ハンド及び第2の電線搬送ハンドにそれぞれ設けられた2つの電線把持ハンドにより前記電線の両端末を把持する、ことを特徴とする請求項16に記載の電線の端子圧着方法。
  18. 前記第2の電線搬送ハンドの前記2つの電線把持ハンドにそれぞれ設けられた第3の駆動手段により、前記電線把持ハンドを前記複数の電線圧着手段の圧着加工位置へ移動させる、ことを特徴とする請求項17に記載の電線の端子圧着方法。
  19. 前記皮剥ぎ工程と前記端子圧着工程との間に配置された掴み替えハンドにより、被覆が剥ぎ取られた電線を前記第1の電線搬送ハンドから受け取り、前記第2の電線搬送ハンドへ受け渡す、ことを特徴とする請求項16乃至18のいずれか一つに記載の電線の端子圧着方法。
JP2007072651A 2006-11-17 2007-03-20 電線の端子圧着装置及び電線の端子圧着方法 Active JP4934468B2 (ja)

Priority Applications (5)

Application Number Priority Date Filing Date Title
JP2007072651A JP4934468B2 (ja) 2006-11-17 2007-03-20 電線の端子圧着装置及び電線の端子圧着方法
EP07831755.9A EP2088649B1 (en) 2006-11-17 2007-11-13 Device and method for crimping electric wire terminal
PCT/JP2007/072025 WO2008059845A1 (en) 2006-11-17 2007-11-13 Device and method for crimping electric wire terminal
US12/465,690 US8266799B2 (en) 2006-11-17 2009-05-14 Method for crimping electric wire terminal
US13/587,475 US8671558B2 (en) 2006-11-17 2012-08-16 Device for crimping electric wire terminal

Applications Claiming Priority (3)

Application Number Priority Date Filing Date Title
JP2006311439 2006-11-17
JP2006311439 2006-11-17
JP2007072651A JP4934468B2 (ja) 2006-11-17 2007-03-20 電線の端子圧着装置及び電線の端子圧着方法

Publications (2)

Publication Number Publication Date
JP2008147152A true JP2008147152A (ja) 2008-06-26
JP4934468B2 JP4934468B2 (ja) 2012-05-16

Family

ID=39401652

Family Applications (1)

Application Number Title Priority Date Filing Date
JP2007072651A Active JP4934468B2 (ja) 2006-11-17 2007-03-20 電線の端子圧着装置及び電線の端子圧着方法

Country Status (4)

Country Link
US (2) US8266799B2 (ja)
EP (1) EP2088649B1 (ja)
JP (1) JP4934468B2 (ja)
WO (1) WO2008059845A1 (ja)

Cited By (6)

* Cited by examiner, † Cited by third party
Publication number Priority date Publication date Assignee Title
JP2010251233A (ja) * 2009-04-20 2010-11-04 Furukawa Electric Co Ltd:The 電線端末処理装置
JP2012044166A (ja) * 2010-08-19 2012-03-01 Komax Holding Ag ワイヤループを形成するための装置および方法
JP2012124092A (ja) * 2010-12-10 2012-06-28 Yazaki Corp 電線搬送装置及び電線搬送方法
JP2013101910A (ja) * 2011-08-31 2013-05-23 Komax Holding Ag ワイヤ端部を加工ユニットに送り出す装置および方法
JP2013127894A (ja) * 2011-12-19 2013-06-27 Yazaki Corp 電線搬送方法
KR20230100040A (ko) * 2021-12-28 2023-07-05 주식회사 유라코퍼레이션 전선 압착용 장치

Families Citing this family (8)

* Cited by examiner, † Cited by third party
Publication number Priority date Publication date Assignee Title
ITUB20150163A1 (it) 2015-02-10 2016-08-10 4 Box Srl Dispositivo elettrico con morsetto e sede spellafili
EP3327879A1 (en) * 2016-11-23 2018-05-30 Airbus Defence and Space SA Device and method for processing electrical cables
CN107962366B (zh) * 2017-11-20 2023-05-09 采埃孚富奥底盘技术(长春)有限公司 一种防错装配工装
DE102018131439A1 (de) * 2018-05-04 2019-11-07 Weidmüller Interface GmbH & Co. KG Modulares Kabelverarbeitungscenter
JP7089118B2 (ja) * 2019-05-30 2022-06-21 新明和工業株式会社 電線処理装置
CN111029888B (zh) * 2019-12-25 2021-03-02 嘉兴君权自动化设备有限公司 一种电缆端头处理生产线
EP4255697A4 (en) * 2020-12-07 2024-11-13 Polygon T.R Ltd. SYSTEMS AND METHODS FOR AUTOMATIC ELECTRICAL WIRING
JP2024515442A (ja) 2021-03-17 2024-04-10 シュロニガー アーゲー 送り込みおよび送り出しを含むケーブル加工

Citations (4)

* Cited by examiner, † Cited by third party
Publication number Priority date Publication date Assignee Title
JPS5155980A (ja) * 1974-09-12 1976-05-17 Aluminum Co Of America Keeburukonekutayoshinsenguritsupu
JPH09161939A (ja) * 1995-12-13 1997-06-20 Yazaki Corp 電線処理装置における電線移送装置および電線移送方法
JPH10112229A (ja) * 1996-10-03 1998-04-28 Yazaki Corp ワイヤハーネスの製造方法及び製造装置
JP2000123944A (ja) * 1998-10-14 2000-04-28 Yazaki Corp 電線出寸法の調整装置及び調整方法

Family Cites Families (10)

* Cited by examiner, † Cited by third party
Publication number Priority date Publication date Assignee Title
US3707756A (en) * 1971-02-12 1973-01-02 Thomas & Betts Corp Wire positioner for terminal attaching machine
JPS5155980U (ja) * 1974-10-25 1976-04-30
JP3056353B2 (ja) 1992-12-04 2000-06-26 矢崎総業株式会社 ワイヤハーネスのセット式製造方法および製造装置
JP2830894B2 (ja) 1993-07-08 1998-12-02 矢崎総業株式会社 ハーネスサブアッシーの製造方法
JP2987542B2 (ja) 1994-02-25 1999-12-06 矢崎総業株式会社 Uターン検尺する長尺電線の処理方法及びその装置
JP3632937B2 (ja) * 1996-05-20 2005-03-30 矢崎総業株式会社 ハーネス製造方法と圧接機及びコネクタ保持竿並びに圧接装置
US6612026B1 (en) * 1999-05-24 2003-09-02 Sumitomo Wiring Systems, Ltd. Process for mounting terminals with electric wires in cavities of connector housings
US6961996B2 (en) * 2001-04-10 2005-11-08 Komax Holding Ag Method for installing cable ends in plug housings
EP1461179B1 (en) * 2001-11-24 2016-01-20 Delphi Technologies, Inc. Improvements in wire harnesses
JP5155980B2 (ja) 2009-10-23 2013-03-06 三菱重工業株式会社 ターボコンパウンドシステムおよびその運転方法

Patent Citations (4)

* Cited by examiner, † Cited by third party
Publication number Priority date Publication date Assignee Title
JPS5155980A (ja) * 1974-09-12 1976-05-17 Aluminum Co Of America Keeburukonekutayoshinsenguritsupu
JPH09161939A (ja) * 1995-12-13 1997-06-20 Yazaki Corp 電線処理装置における電線移送装置および電線移送方法
JPH10112229A (ja) * 1996-10-03 1998-04-28 Yazaki Corp ワイヤハーネスの製造方法及び製造装置
JP2000123944A (ja) * 1998-10-14 2000-04-28 Yazaki Corp 電線出寸法の調整装置及び調整方法

Cited By (7)

* Cited by examiner, † Cited by third party
Publication number Priority date Publication date Assignee Title
JP2010251233A (ja) * 2009-04-20 2010-11-04 Furukawa Electric Co Ltd:The 電線端末処理装置
JP2012044166A (ja) * 2010-08-19 2012-03-01 Komax Holding Ag ワイヤループを形成するための装置および方法
JP2012124092A (ja) * 2010-12-10 2012-06-28 Yazaki Corp 電線搬送装置及び電線搬送方法
JP2013101910A (ja) * 2011-08-31 2013-05-23 Komax Holding Ag ワイヤ端部を加工ユニットに送り出す装置および方法
JP2013127894A (ja) * 2011-12-19 2013-06-27 Yazaki Corp 電線搬送方法
KR20230100040A (ko) * 2021-12-28 2023-07-05 주식회사 유라코퍼레이션 전선 압착용 장치
KR102702844B1 (ko) * 2021-12-28 2024-09-04 주식회사 유라코퍼레이션 전선 압착용 장치

Also Published As

Publication number Publication date
JP4934468B2 (ja) 2012-05-16
US8671558B2 (en) 2014-03-18
US8266799B2 (en) 2012-09-18
US20120304461A1 (en) 2012-12-06
WO2008059845A1 (en) 2008-05-22
EP2088649B1 (en) 2017-05-10
EP2088649A1 (en) 2009-08-12
EP2088649A4 (en) 2012-06-06
US20090235522A1 (en) 2009-09-24

Similar Documents

Publication Publication Date Title
JP4934468B2 (ja) 電線の端子圧着装置及び電線の端子圧着方法
US11340575B2 (en) Apparatus, system, and method for picking, placing, and melting solder sleeves onto shielded electrical wires and cables
JP5817576B2 (ja) 電線移載装置
JP4933682B1 (ja) ワイヤーハーネスの製造装置及び製造方法
JP7399201B2 (ja) 端子圧着機、サーボプレス、端子圧着電線製造装置、及び、端子圧着電線の製造方法
JP2808976B2 (ja) ハーネス製造装置およびハーネス製造方法
US12155184B2 (en) Gripper for automated wiring
US20190296529A1 (en) Cut-away cutting tool
US8973802B2 (en) Wire-processing machine with length-compensating unit
CN113964621A (zh) 一种冰箱传感器线束的生产方法
JP6572875B2 (ja) ツイスト電線セット用治具および端子圧着装置
JP6282956B2 (ja) ツイストケーブル製造装置及びツイストケーブル製造方法
JP5811075B2 (ja) 電線の露出導体部配列装置及びワイヤーハーネス製造装置
JPH0648195U (ja) 連続状端子供給機構の供給姿勢矯正装置
JP2018185917A (ja) 端子付電線の端子へのケース装着装置及び端子付電線の端子へのケース装着方法
JP6572874B2 (ja) 端子保持具および端子圧着装置
CN108074679B (zh) 用于自动化导线加工系统和方法的旋转导线传送
CN113752195B (zh) 一种用于传感器线束生产的导正定位装置
JP6849027B2 (ja) 端子保持具および端子圧着装置
CN222463977U (zh) 加工设备
JPH0477431B2 (ja)
WO2024057796A1 (ja) 電線加工システムおよび電線製造方法
JP3301009B2 (ja) 電線移送装置と電線移送方法及び電線移載装置
JP2008011602A (ja) 電線チャック並びに電線加工装置及びその方法
CN113964626A (zh) 一种冰箱传感器线束生产用分线装置

Legal Events

Date Code Title Description
A621 Written request for application examination

Free format text: JAPANESE INTERMEDIATE CODE: A621

Effective date: 20080603

A131 Notification of reasons for refusal

Free format text: JAPANESE INTERMEDIATE CODE: A131

Effective date: 20101004

A521 Written amendment

Free format text: JAPANESE INTERMEDIATE CODE: A523

Effective date: 20101202

A131 Notification of reasons for refusal

Free format text: JAPANESE INTERMEDIATE CODE: A131

Effective date: 20110622

A521 Written amendment

Free format text: JAPANESE INTERMEDIATE CODE: A523

Effective date: 20110812

TRDD Decision of grant or rejection written
A01 Written decision to grant a patent or to grant a registration (utility model)

Free format text: JAPANESE INTERMEDIATE CODE: A01

Effective date: 20120127

A01 Written decision to grant a patent or to grant a registration (utility model)

Free format text: JAPANESE INTERMEDIATE CODE: A01

A61 First payment of annual fees (during grant procedure)

Free format text: JAPANESE INTERMEDIATE CODE: A61

Effective date: 20120220

R151 Written notification of patent or utility model registration

Ref document number: 4934468

Country of ref document: JP

Free format text: JAPANESE INTERMEDIATE CODE: R151

FPAY Renewal fee payment (event date is renewal date of database)

Free format text: PAYMENT UNTIL: 20150224

Year of fee payment: 3

S531 Written request for registration of change of domicile

Free format text: JAPANESE INTERMEDIATE CODE: R313531

R350 Written notification of registration of transfer

Free format text: JAPANESE INTERMEDIATE CODE: R350