JP2007511368A - 回転レーザビームを生成する装置 - Google Patents

回転レーザビームを生成する装置 Download PDF

Info

Publication number
JP2007511368A
JP2007511368A JP2006530193A JP2006530193A JP2007511368A JP 2007511368 A JP2007511368 A JP 2007511368A JP 2006530193 A JP2006530193 A JP 2006530193A JP 2006530193 A JP2006530193 A JP 2006530193A JP 2007511368 A JP2007511368 A JP 2007511368A
Authority
JP
Japan
Prior art keywords
laser beam
reflecting surface
rotating
optical system
rotating laser
Prior art date
Legal status (The legal status is an assumption and is not a legal conclusion. Google has not performed a legal analysis and makes no representation as to the accuracy of the status listed.)
Ceased
Application number
JP2006530193A
Other languages
English (en)
Inventor
ヘルツベリ,ジョアシャン
ピーター シュオブ,ハンス
ノーベル,ブルーノ
チュルシェ,ウォルター
デュラン,フリードリク
Original Assignee
ラザグ エージー
Priority date (The priority date is an assumption and is not a legal conclusion. Google has not performed a legal analysis and makes no representation as to the accuracy of the date listed.)
Filing date
Publication date
Application filed by ラザグ エージー filed Critical ラザグ エージー
Publication of JP2007511368A publication Critical patent/JP2007511368A/ja
Ceased legal-status Critical Current

Links

Images

Classifications

    • BPERFORMING OPERATIONS; TRANSPORTING
    • B23MACHINE TOOLS; METAL-WORKING NOT OTHERWISE PROVIDED FOR
    • B23KSOLDERING OR UNSOLDERING; WELDING; CLADDING OR PLATING BY SOLDERING OR WELDING; CUTTING BY APPLYING HEAT LOCALLY, e.g. FLAME CUTTING; WORKING BY LASER BEAM
    • B23K26/00Working by laser beam, e.g. welding, cutting or boring
    • B23K26/02Positioning or observing the workpiece, e.g. with respect to the point of impact; Aligning, aiming or focusing the laser beam
    • B23K26/06Shaping the laser beam, e.g. by masks or multi-focusing
    • B23K26/064Shaping the laser beam, e.g. by masks or multi-focusing by means of optical elements, e.g. lenses, mirrors or prisms
    • B23K26/0648Shaping the laser beam, e.g. by masks or multi-focusing by means of optical elements, e.g. lenses, mirrors or prisms comprising lenses
    • BPERFORMING OPERATIONS; TRANSPORTING
    • B23MACHINE TOOLS; METAL-WORKING NOT OTHERWISE PROVIDED FOR
    • B23KSOLDERING OR UNSOLDERING; WELDING; CLADDING OR PLATING BY SOLDERING OR WELDING; CUTTING BY APPLYING HEAT LOCALLY, e.g. FLAME CUTTING; WORKING BY LASER BEAM
    • B23K26/00Working by laser beam, e.g. welding, cutting or boring
    • B23K26/02Positioning or observing the workpiece, e.g. with respect to the point of impact; Aligning, aiming or focusing the laser beam
    • B23K26/03Observing, e.g. monitoring, the workpiece
    • B23K26/032Observing, e.g. monitoring, the workpiece using optical means
    • BPERFORMING OPERATIONS; TRANSPORTING
    • B23MACHINE TOOLS; METAL-WORKING NOT OTHERWISE PROVIDED FOR
    • B23KSOLDERING OR UNSOLDERING; WELDING; CLADDING OR PLATING BY SOLDERING OR WELDING; CUTTING BY APPLYING HEAT LOCALLY, e.g. FLAME CUTTING; WORKING BY LASER BEAM
    • B23K26/00Working by laser beam, e.g. welding, cutting or boring
    • B23K26/02Positioning or observing the workpiece, e.g. with respect to the point of impact; Aligning, aiming or focusing the laser beam
    • B23K26/06Shaping the laser beam, e.g. by masks or multi-focusing
    • B23K26/064Shaping the laser beam, e.g. by masks or multi-focusing by means of optical elements, e.g. lenses, mirrors or prisms
    • BPERFORMING OPERATIONS; TRANSPORTING
    • B23MACHINE TOOLS; METAL-WORKING NOT OTHERWISE PROVIDED FOR
    • B23KSOLDERING OR UNSOLDERING; WELDING; CLADDING OR PLATING BY SOLDERING OR WELDING; CUTTING BY APPLYING HEAT LOCALLY, e.g. FLAME CUTTING; WORKING BY LASER BEAM
    • B23K26/00Working by laser beam, e.g. welding, cutting or boring
    • B23K26/02Positioning or observing the workpiece, e.g. with respect to the point of impact; Aligning, aiming or focusing the laser beam
    • B23K26/06Shaping the laser beam, e.g. by masks or multi-focusing
    • B23K26/064Shaping the laser beam, e.g. by masks or multi-focusing by means of optical elements, e.g. lenses, mirrors or prisms
    • B23K26/0643Shaping the laser beam, e.g. by masks or multi-focusing by means of optical elements, e.g. lenses, mirrors or prisms comprising mirrors
    • BPERFORMING OPERATIONS; TRANSPORTING
    • B23MACHINE TOOLS; METAL-WORKING NOT OTHERWISE PROVIDED FOR
    • B23KSOLDERING OR UNSOLDERING; WELDING; CLADDING OR PLATING BY SOLDERING OR WELDING; CUTTING BY APPLYING HEAT LOCALLY, e.g. FLAME CUTTING; WORKING BY LASER BEAM
    • B23K26/00Working by laser beam, e.g. welding, cutting or boring
    • B23K26/08Devices involving relative movement between laser beam and workpiece
    • BPERFORMING OPERATIONS; TRANSPORTING
    • B23MACHINE TOOLS; METAL-WORKING NOT OTHERWISE PROVIDED FOR
    • B23KSOLDERING OR UNSOLDERING; WELDING; CLADDING OR PLATING BY SOLDERING OR WELDING; CUTTING BY APPLYING HEAT LOCALLY, e.g. FLAME CUTTING; WORKING BY LASER BEAM
    • B23K26/00Working by laser beam, e.g. welding, cutting or boring
    • B23K26/08Devices involving relative movement between laser beam and workpiece
    • B23K26/10Devices involving relative movement between laser beam and workpiece using a fixed support, i.e. involving moving the laser beam
    • B23K26/103Devices involving relative movement between laser beam and workpiece using a fixed support, i.e. involving moving the laser beam the laser beam rotating around the fixed workpiece
    • BPERFORMING OPERATIONS; TRANSPORTING
    • B23MACHINE TOOLS; METAL-WORKING NOT OTHERWISE PROVIDED FOR
    • B23KSOLDERING OR UNSOLDERING; WELDING; CLADDING OR PLATING BY SOLDERING OR WELDING; CUTTING BY APPLYING HEAT LOCALLY, e.g. FLAME CUTTING; WORKING BY LASER BEAM
    • B23K26/00Working by laser beam, e.g. welding, cutting or boring
    • B23K26/20Bonding
    • B23K26/21Bonding by welding
    • B23K26/24Seam welding
    • B23K26/28Seam welding of curved planar seams

Landscapes

  • Physics & Mathematics (AREA)
  • Optics & Photonics (AREA)
  • Engineering & Computer Science (AREA)
  • Plasma & Fusion (AREA)
  • Mechanical Engineering (AREA)
  • Laser Beam Processing (AREA)
  • Mechanical Optical Scanning Systems (AREA)
  • Laser Surgery Devices (AREA)
  • Lasers (AREA)

Abstract

溶接、切断、孔開け、研削等のさまざまなアプリケーションに用いることのできる回転レーザービーム(5)を生成する装置(1)を提供すること。
【課題】本発明の装置は、高速で回転し、正確なレーザービームを生成することができる。本発明の装置は、メインの回転可能な光学装置(100)を有し、これは、光学装置が交差する軸(X1)を中心に回転する反射面(102)を有する。
【選択図】図1

Description

本発明は、回転レーザビームを生成する装置に関し、特に正確且つ高速に環状に機械加工および/または溶接を行う装置に関する。このような装置は、環状に機械加工したり溶接する加工分野に適用可能である。
以下の説明は、特に、溶接装置に関するものであるが、レーザビームのパラメータによっては、本発明の装置は、切断、孔開け、材料の切り落とし等の機械加工にも用いられる。
レーザビームで環状に溶接するシステムは従来から公知である。
このようなシステムのあるものは、溶接装置は、溶接すべき被加工物に対し、固定する方式に基づいている。レーザビームは、被加工物の溶接領域に一定の方向で向けられ、そしてこの被加工物を、レーザ手段を有する支持部材で回転させている。
しかし、このようなシステムは欠点がある。例えば、レーザビームに対し、被加工物の位置を正確に調整/配置することが困難であり、特に、被加工物が高速回転している時には致命的である。
さらに、大量の被加工物を連続的に溶接する場合には、溶接作業は長時間に及ぶ。実際に、この溶接作業においては、被加工物は、被非加工物を支持する台を高速で回転させる前に、その支持台上に配置しなければならない。その後、溶接作業は、被加工物が所定の回転速度以上になった時点で行われる。溶接作業後、支持台は回転を停止し、被加工物が支持台から取り外され、次の被加工物がその台上に配置される。
他のシステムも公知である。例えば、被加工物は溶接作業の間静止状態にあり、レーザビームの方向が溶接領域全体を掃引するように変化するシステムである。レーザビームで溶接領域全体をカバーするために、2枚のミラーを、互いに独立に且つ2つの位置の間で傾斜させて、レーザビームの光学パスに配置する。かくして、第1ミラーは、第1方向X−X’に沿ってレーザビームの動きを制御し、第2ミラーは、第1方向X−X’に直交する第2方向Y−Y’に沿ってレーザビームの動きを制御する。かくして2枚のミラーのそれぞれの傾斜角を組み合わせることにより、被加工物の溶接領域全体をカバーしている。
しかし、このシステムの欠点は、溶接領域の寸法が大きくなるに連れて、各ミラーに対する端部位置の間が広がる。かくして、一方の端部から別の端部へミラーを傾斜させるのにかかる時間が長くなり、溶接作業の全体速度が低下することになる。
特開昭60−236482号
特許文献1に開示された回転レーザビームを生成する装置は、この装置に対して静止位置にある長焦点距離のレンズと、回転する支持台上に搭載される第1反射面とを有する。この第1反射面により反射された光は、第2反射面に向けられ、その後、第3反射面に向けられる。
しかし、この特許文献1に記載された3枚の全ての反射面は、断面が平面上であり、これらの反射面が長焦点レンズと組合わさった時には、溶接すべき被加工物上に形成される像焦点の形状に誤差を導入することになる。
本発明の第1目的は、従来技術のシステムを改善することであり、被加工物を環状に機械加工を高速且つ信頼性高く実行する装置を提供することである
本発明は、レーザビームを供給する手段を有する装置に関する。レーザビームは、レーザ装置の光学システムを通る光学パスに沿い、この装置の出力点から出射され、被加工物の衝突(例:溶接)領域即ち入射領域に入る。本発明の光学システムは、中心軸X1を有し、入射領域におけるレーザビームの像焦点(image focal point)の位置を調整する。
本発明の光学システムは、第1反射面と第2反射面とを有する。第1反射面は、中心軸X1に対して回転可能であり、且つレーザビームを第2反射面の方向に向け、第2反射面は、レーザビームを被加工物の方向に反射させる。本発明の装置は、第1反射面と回転中の光学システムとを駆動する手段を含む。本発明の装置は、光学システムは傾斜可能に配置された光学軸X2を有する回転レンズを含む。その結果、光学軸X2は、中心軸X1に対して傾斜可能である。これにより、被加工物上の像焦点の品質を向上させる。
かくして、例えば環状の機械加工/溶接が、反射面を単に回転動作させるだけで行うことができ、これにより、高速回転が可能となり、この回転速度は溶接の寸法とは無関係に設定できる。
傾斜可能レンズが第1反射面と共に回転するために、被加工物上の像焦点の品質を微細に調整できる。この最後の特徴は、上記の公知のシステムに対して重要な改善点である。従来システムは、レーザビームの品質の調整ができないのに対し、本発明の調整は、反射面の動きを考慮に入れている。
本発明の一実施例によれば、第1反射面は光学システム内で固定配置される。この光学システムは、中心軸X1に対してモータ手段で回転可能である。
図1に本発明のレーザビーム溶接装置1が示されている。レーザビーム溶接装置1はメインハウジング2を有し、その中にレーザビーム溶接装置1の構成要素の大部分が収納される。ハウジング2は、被加工物の上方に、作業台3上に配置されるツール(図示せず)を保持する手段、例えば脚を有する。
ハウジング2は側面開口4を有し、この側面開口4をレーザビーム5が水平方向に貫通する。前記レーザビームは、遠隔操作されるレーザソース(図示せず)から生成される。レーザビーム5は、入射レーザビームに対し45度の角度を向いた半透明ミラー6に向けられ、この半透明ミラー6がレーザビームをほぼ垂直方向に向ける。
上部開口7が、半透明ミラー6の後方に、従来と同様に、配置される。この開口は、光学センサー200(例えばCCDカメラ)を配置するための観測窓である。光学センサー200は、プロセッサを有する信号処理装置201に接続され、この信号処理装置201はディスプレイ202に接続される。
半透明ミラー6から下方向に向かうレーザビーム5の光学パスに沿って、チェンバ8が具備される。その中に可動ユニット9が中心軸X1の方向に直進できるよう、一部収納されている。可動ユニット9は、中心軸X1に平行な方向に延びる側面アーム10を介して、ハウジング2に接続され、ハウジング2の内側表面に配置された支持用延長部12の穴11と共働する。好ましくは、ボールベアリング13が、支持用延長部12の端部と穴11の間に挿入され、可動ユニット9が移動した時に、これら2つの要素の間のスライド動作を改善している。可動ユニット9の垂直方向の動きは、ハウジング2を介して調整される。これは、適宜の手段(例えば微細ネジ)で行われる。
可動ユニットは、中心に配置された光学システム100を有する。光学システム100は、スリーブ101により半径方向が規定される。スリーブ101は、離間した2つの環状ステップ部16を有し、その上にボールベアリング17が当接して、スリーブ101の位置を可動ユニット9に対して中心軸X1の方向に、且つ半径方向ではスリーブ101をガイドするように保持する。環状ネジ部材であるナット18が、スリーブ15のフロントエンド19のネジ部分と噛み合って、ボールベアリング17を対応する環状ステップ部16に対し、固定する。
ロータ20は、スリーブ101の周囲に直接配置される。このロータ20は2極の永久磁石の形態で形成される。
ステータ21は、ロータ20の周囲に同心上に配置される。ステータ21は、複数のコイル22を具備し、その内の2つが図に示されている。かくして、ロータ20とステータ21の組み合わせにより、モータを構成し、そのパワー供給手段が参照番号23として示されている。このモータの動作により、光学システム100が、スリーブ101の回転により回転動作を起こす。
可動ユニット9は、その下部部分にブロック24を有し、その中に中央空洞部25を具備する。この中央空洞部25は、第1の上部環状ミラー26と第2の下部環状ミラー27とを有する。図1に示されるように、両環状ミラー26、27は、断面が平面形状である。
従来手段が、ミラー26、27のそれぞれの位置を正確に調整するために具備される。例えば、対応するミラーから離間配置されたネジとスプリングの組(図示せず)である。かくして、ミラー26、27の軸の中心軸X1に対する傾斜を調整して、被加工物にレーザビームが入射する前のレーザビームの品質を制御する。
ブロック24は、装置のハウジング2に対し、複数のネジ部材28により保持される。
さらに、ブロック24は、カップ形状の保護窓30により閉じられた中央開口29を有する。この保護窓30は、レーザ装置の光学要素が溶接作業中にゴミあるいはプラズマにより汚染されるのを阻止する。中心軸X1とミラー26、27に対し、保護窓30の位置を正確に調整する手段が具備される。例えば、ネジ部材31である。
保護窓30は、レーザビーム5の光束に直交するという要件を満たす限り、さまざまな形態を採ることができる。保護窓30は、レーザビームの伝搬に対し、光学的機能をを負わない。言い換えると、保護窓30の形状は、本発明の範囲内において、保護窓30の領域におけるレーザビーム5の伝搬方向に依存して、すなわち反射表面構造に依存して、様々変形例が可能である。
図2を参照して光学システム100を詳述する。同図において、スリーブ101は、光学部分のみを記載するために、省いている。
図2を参照すると、第1管状要素32は、可動ユニット9に対し静止しており、サポートフレームを規定する複数の半径方向延長部33を有する。第1管状要素32の端部34の領域には、レンズ35が配置され、このレンズ35の主な機能は、レーザビーム5の分散を抑えることである。
第1管状要素32は、第2管状要素38により部分的に包囲されている。その機能は、後述する。
光学システム100は、スリーブ103を有する。このスリーブ103は、特に、光学装置104を有する。この光学装置104は、入力平面105と出力半球面106とを有する。
本発明の一実施例においては、光学装置104は、水晶体であり、その中に反射面102を形成する平面状のギャップが具備される。このギャップは、空気で満たされ、中心軸X1に対し、ある角度で方向付けられており、これにより、図1に示す入射レーザビームの方向を変える。光学装置104は、スリーブ103内で摩擦力により保持されている。
反射面102は、本発明の範囲内で当業者は適宜の形状にできる。しかし、ミラーを使用することは、レーザビームの高出力故に、過熱のリスクがあるために、ギャップを使用するほど効率的ではない。かくして、従来のミラーの使用も可能であり、特に、ハイパワーのレーザビームが必要でないようなアプリケーションではそうである。
別の観点からすると、光学装置104の開示された形状は、光学システムの回転中に発生する慣性の点で有利である。
さらに、スリーブ103は、支持部材108により支持されている収束レンズ107を収納する。支持部材108は、スリーブ103に、図2の面に直交する方向に互いに整合している2個のピボットピン(図示せず)により機械的に接続される。支持部材は、第1ピン109、第2ピン110を有し、これらは互いに且つ中心軸X1の方向に平行で、支持部材108の非貫通孔(blind hole)に入るよう配列される。
第1ピン109は、螺旋状のスプリング111により、その孔内に支持され、一方第2ピン110は、その孔に対し一定の位置に、挿入、ネジ込み(図示せず)により保持される。
管状要素112は、スリーブ103に通され、第1ピン109と第2ピン110にその下側表面で当接する。それ故に、図2から明らかなように、管状要素112が、支持部材108の方向の下側方向に挿入されると、力が第1ピン109と第2ピン110に掛かる。第2ピン110は支持部材108に固定されているために、第1ピン109にかかる力が増加しながら、支持部材108がピンを軸に回転運動(支軸動作)を引き起こす。従って、第1ピン109に掛かる力は、スプリング111に伝達され、さらに圧縮されて、力を吸収する。
その結果、収束レンズ107は傾斜する。言い換えると、光学軸X2は、中心軸X1に対して回転する。上記の例では、光学軸X2は時計方向に回転する(図2)。
第2管状要素38は、光学システム100の外部から管状要素112を操作するツールの役目をする。図2から分かるように、第2管状要素38は、複数の短いロッド39を有する。ロッド39は、第2管状要素38の下部表面から突出し、管状要素112の上部表面に具備された対応する非貫通孔113にはまる。第2管状要素38は、作業者が支持スプリング40を圧縮することにより、下方向に移動する。その結果、ロッド39が孔113に入る。その後、支持スプリング40が圧縮されながら、第2管状要素38が回転して管状要素112の回転運動を引き起こし、その結果、収束レンズ107を傾斜させる。第2管状要素38にかかる圧が解かれると、ロッド39は、孔113から解放され、管状要素112は一定の角度位置を保持する。
収束レンズ107の機能は、レーザビーム5に作用して、溶接領域の像焦点の形状の収差の発生を回避すること、すなわち像焦点の品質を改善することである。
同じ理由で、ミラー26、27のそれぞれの表面は、その伝搬プロセスの間、非常に注意深く取り扱わなければならない。ミラー表面の準備の高品質故に、像焦点の品質が向上する。
図1から明らかなように、本発明の装置を通過するレーザビーム5の光学パスは、光学システム100がモータにより回転駆動した時に、環状の溶接が可能となるようなものである。
図3を参照して、本発明による装置で行われる光学原理を説明する。
可動ユニット9が中間位置にある時には、被加工物の入射(衝突)領域の像焦点は、F0にある。
この状態からスタートして、ユーザは、可動ユニット9を上下に動かして、操作中にレーザビームにより走査される円の半径の値を、被加工物の寸法に応じて調整する。像焦点が、レーザビームの光学パスに沿って、可動ユニット9の移動と共に移動する。可動ユニット9がハウジング2に対し最高位置に配置された時には、像焦点はF1’にあり、可動ユニット9が最低位置に配置された時には、像焦点はF1にある。
焦点の位置の調整に関して説明した方法は、単なる例示で、限定的に解釈すべきものではない。異なる数のレンズあるいは異なる特性のレンズを選択することによりさまざまな変形例が可能である。
光学システム100の入力点から出射すると、レーザビーム5は、レンズ35に入射するときには若干分散している。このレンズ35の機能は、ビームの分散を減少させることである。光学パスは、その後、傾斜可能な収束レンズ107を通り収束し、その焦点距離は、適宜選択できる。より具体的には、収束レンズ107の焦点距離は、本発明の装置の寸法に合わせて、被加工物の表面上に像焦点が形成されるように合わせることができる。
前述したように、収束レンズ107は、第1反射面102に平行な軸の周囲で軸支可能である。その結果、光学軸X2は中心軸X1に対し傾斜する。かくして、被加工物の表面に形成された像焦点の品質は、例えば楕円状の焦点の形成を回避するために、収束レンズ107をピボット動作(軸支運動)させることにより微調整可能である。この最後の特徴は、傾斜可能な収束レンズ107と第1反射面102が一緒に回転し、その相互の方向が装置の動作中一定であるが故に、特に重要である。
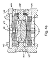
図4、4aを参照すると、本発明のスリーブ103の別の実施例が示されており、これは、図2の実施例を用いて以下説明する。
特に、本発明は、収束レンズ107を支持する構造体の変形例に関し、光学軸X2と中心軸X1の間の方向角の調整手段を具備する。
支持部材408は、スリーブ103に2個のピボットピン401、402の手段により機械的に固定される。このピボットピン401、402は、互いに図4の面に直交する方向、すなわち図4aの面に沿って整合している。
第1軟質リング403、404が、それぞれ、支持部材408の両側に具備される。これらの各リングは、平坦なリングを複数重ね合わせたものから形成される(図4,4a)。好ましくは、平坦なリングは、金属製で、それらの周囲で少なくとも部分的に溶接あるいは接着される。
各軟質リング403、404は、2個の孔405、406を有する。この孔405,406は、その厚み方向に貫通し、直径方向に対向して配置される。第1ネジ部材409、410が、各孔405,406内に配置される。
各軟質リングの第1ネジ部材409は、軟質リングを接続領域で支持部材408に締め付ける。それぞれの接続領域は、直径方向に向かい合っている。
各軟質リングの第2ネジ部材410は、平坦なリングが互いに結合した状態に保持するものであり、対応する第1ネジ部材409よりも短い。全てのネジの頭は、軟質リングから支持部材408に対向する側に突出する。
従って、第1軟質リング403からのネジ頭は、管状要素112に当接する(図2)。一方、第2軟質リング404からのネジ頭は、スリーブ103の内側に形成されたステップ411に当接する。
支持部材408により形成された組立体の機能は、2個の軟質リング403、404と共に以下説明する。
図2で説明したのと同様に、管状要素112は支持部材408の方向にねじ込まれ、あるいは挿入され、力が第1軟質リング403のネジ頭に掛かる。
力が掛かった状態で、第1軟質リング403は曲げられ、第2軟質リング404も曲げられる。支持部材408は、剛性があり曲げに強い。軟質リング403、404の両方が、それぞれ曲げられた結果、支持部材408と収束レンズ107の光学軸X2は、中心軸X1の方向に対して傾斜する。特に、管状要素112が、図4に示されるようにネジ込まれるあるは挿入されると、収束レンズ107は時計方向に回転する。
収束レンズ107の機能は、レーザビーム5に作用して、溶接領域の像焦点の形状の収差の発生を回避すること、すなわち像焦点の品質を改善することである。
より一般的には、本発明の装置の重要な態様は、収束レンズ107と第1反射面102が同時に回転することである。
本発明の装置は、さまざまなアプリケーションで用いることができる。例えば、上記したように、光学センサー200と組み合わせて観測窓を用いることにより検査装置としても用いることができる。この場合、ハウジング2の側面開口4は、装置に入力されるレーザビームがないために必要ない。しかし、この側面開口4をそのまま保持して光源の入力点として用いて、検査すべき被加工物の領域を照らして観測画像のコントラストを向上させてもよい。
本発明の他の態様は、一連の被加工物を処理する際に、光学システムが処理すべき2個の連続する間で回転を維持することである。レーザビーム供給手段は、処理された被加工物を取り除いたり、新たな被加工物を配置するのに必要な時間だけ停止するだけでよく、これによりユーザの加工時間を節約できる。
さらなる便利な特徴が上記の装置に本発明の範囲を離れることなく追加できる。例えば、冷却水供給回路をボールベアリング17を冷却するために具備することもできる。光学システムの回転速度を測定する装置も具備することができる。
以上の説明は、本発明の一実施例に関するもので、この技術分野の当業者であれば、本発明の種々の変形例を考え得るが、それらはいずれも本発明の技術的範囲に包含される。特許請求の範囲の構成要素の後に記載した括弧内の番号は、図面の部品番号に対応し、発明の容易なる理解の為に付したものであり、発明を限定的に解釈するために用いてはならない。また、同一番号でも明細書と特許請求の範囲の部品名は必ずしも同一ではない。これは上記した理由による。
本発明の一実施例によるレーザ溶接装置の断面図。 図1の装置の中央に配置された光学システムの拡大断面図。 図2の光学システム内を通るレーザビームの光学パスを表す図。 本発明の他の実施例による図2の下部部分の追加的スリーブの拡大断面図。 図4に直交する方向の追加的スリーブの拡大断面図。
符号の説明
1 レーザビーム溶接装置
2 メインハウジング
3 作業台
4 側面開口
5 レーザビーム
6 半透明ミラー
7 上部開口
8 メインチェンバ
9 可動ユニット
10 側面アーム
11 穴
12 支持用延長部
13 ボールベアリング
15 スリーブ
16 環状ステップ部
17 ボールベアリング
18 ナット
19 フロントエンド
20 ロータ
21 ステータ
22 コイル
23 レーザ
24 ブロック
25 中央空洞部
26 第1上部環状ミラー
27 第2下部環状ミラー
28 ネジ部材
29 中央開口
30 保護窓
31 ネジ部材
32 第1管状要素
33 半径方向延長部
34 端部
35 レンズ
38 第2管状要素
39 ロッド(棒)
X1 中心軸
X2 光学軸
被加工物
100 光学システム
101 スリーブ
102 反射面
103 スリーブ
104 光学装置
105 入力平面
106 出力半球面
107 収束レンズ
108 支持部材
109 第1ピン
110 第2ピン
111 スプリング
112 管状要素(環状?)
113 ブラインドホール
200 光学センサー
201 信号処理装置
202 ディスプレイ
401,402 ピボットピン
403 第1軟質リング
404 第2軟質リング
405,406 孔
408 支持部材
409 第1ネジ部材
410 第2ネジ部材
411 ステップ

Claims (19)

  1. 被加工物(W)を環状に溶接および/または機械加工をするために、回転レーザビーム(5)を生成する回転レーザビーム生成装置において、
    (A) レーザビームの入力手段(4)と、
    前記レーザビームは、前記回転レーザビーム生成装置の光学システム(100)を通る光学パスに従い、前記装置から出力点(29)を介して出力され、被加工物の入射領域に入り、
    前記光学システムは、中心軸(X1)を有し、前記入射領域の前記レーザビームの像焦点(F0、F1、F1’)の位置を調整し、
    前記光学システムは、前記中心軸(X1)を中心に回転可能な第1反射面(102)を有し、
    前記第1反射面(102)は、前記レーザビームを前記被加工物の方向に反射させるよう、第2反射面(26)の方向にレーザビームを方向付け、
    (B) 前記第1反射面(102)を前記光学システムと共に、相互方向は一定にしながら、回転させる手段(20、21、22)と
    を有し、
    前記光学システム(100)は、傾斜可能な光学軸(X2)を有する回転レンズ(107)を有し、
    前記光学軸(X2)は、前記中心軸(X1)に対し傾斜し、前記被加工物上の焦点の品質を向上させ、
    前記レーザビームの光学パスは、第1反射面(102)に入る前に、前記回転レンズ(107)を通る
    ことを特徴とする回転レーザビーム生成装置。
  2. 前記第1反射面(102)は、光学システム(100)に固定配置される
    ことを特徴とする請求項1記載の回転レーザビーム生成装置。
  3. 前記第2反射面は、前記レーザビームを前記中心軸(X1)の方向に反射させる
    ことを特徴とする請求項2記載の回転レーザビーム生成装置。
  4. 前記光学システム(100)は、第3反射面(26)をさらに有し、
    前記第2反射面と第3反射面とは、断面が平面形状である
    ことを特徴とする請求項2記載の回転レーザビーム生成装置。
  5. 前記第3反射面は、前記レーザビームを前記中心軸(X1)の方向に反射させる
    ことを特徴とする請求項4記載の回転レーザビーム生成装置。
  6. 前記光学システム(100)は、
    (X) 前記第1反射面(102)と前記回転レンズ(107)が配置されるスリーブ(103)と、
    前記回転レンズ(107)は、支持部材(108、408)により支持され、
    前記支持部材(108、408)は、前記スリーブに直径方向に対向した2本のピン(401、402)により傾斜可能に機械的に取り付けられ、
    (Y) 前記スリーブ(103)の内側で前記支持部材に当接して配置される環状要素(112)と
    これにより、前記光学軸(X2)と中心軸(X1)との間の角度を調整する
    を有し、
    ことを特徴とする請求項5記載の回転レーザビーム生成装置。
  7. 前記光学システム(100)は、2本のロッド(109、110)を有し、
    前記ロッドは、前記支持部材の上部表面から突出し、前記ピンの方向と直交する方向に沿って半径方向に対向して配置され、
    前記ロッドの内の第1ロッド(110)は、前記支持部材(108)に固定され、
    前記ロッドの内の第2ロッド(109)は、孔内に配置され、スプリング(111)により支持される
    ことを特徴とする請求項6記載の回転レーザビーム生成装置。
  8. 前記支持部材(108)は、前記支持部材(408)の両側にそれぞれ配置された2個の軟質リング(403、404)を有し、
    前記各軟質リングは、ある角度で前記支持部材の領域に結合され、
    前記軟質リングと支持部材とのそれぞれの接続領域は、半径方向に対向し、
    前記支持部材(408)と前記2個の軟質リング(403、404)とは、一方で環状要素(112)に当接し、他方で、スリーブ(103)に具備されたステップ(411)に当接する組立体を形成する
    ことを特徴とする請求項7記載の回転レーザビーム生成装置。
  9. 前記光学システム(100)は、管状要素(38)をさらに有し、
    前記管状要素(38)は、前記スリーブ(103)と部分的に係合し、前記環状要素(112)と共働する手段を具備し、
    前記環状要素(112)は、前記中心軸(X1)に対し、回転し、
    前記中心軸(X1)の方向に対する前記環状要素(112)の位置は、前記スリーブ(103)の外側から調整可能である
    ことを特徴とする請求項7記載の回転レーザビーム生成装置。
  10. 前記第1反射面(102)は、光学装置(104)内に配置され、
    前記光学装置(104)は、レーザビーム(5)の伝搬方向に沿って平面状入力表面(105)と半球状出力表面(106)とを有し、
    前記第1反射面(102)は、平面状のギャップで形成される
    ことを特徴とする請求項7記載の回転レーザビーム生成装置。
  11. 前記第1反射面(102)は、前記中心軸(X1)と、前記半球状出力表面(106)の湾曲の中心点で、交差する
    ことを特徴とする請求項10記載の回転レーザビーム生成装置。
  12. 前記光学システム(100)は、前記装置の出力(29)の領域で、保護窓(30)を有する
    ことを特徴とする請求項11記載の回転レーザビーム生成装置。
  13. 前記保護窓(30)は、前記レーザビーム(5)の中央光束が前記保護窓(30)と直交して交差するように配置された形状を有する
    ことを特徴とする請求項12記載の回転レーザビーム生成装置。
  14. 前記像焦点(F0、F1、F1’)の品質は、前記光学軸(X2)と中心軸(X1)との角度で調整される
    ことを特徴とする請求項5記載の回転レーザビーム生成装置。
  15. (C) ハウジング(2)と
    前記ハウジングは、前記レーザビーム入力手段(4)を有し、
    (F) 可動ユニット(9)と
    をさらに有し、
    前記可動ユニットは、前記ハウジング内に少なくとも部分的に収納され、少なくとも前記光学システム(100)と前記第2反射面(26)とを有し、
    前記可動ユニット(9)は、前記中心軸(X1)の方向に沿って、前記ハウジング(2)に対し、移動可能であり、これにより前記中心軸(X1)に沿って、その位置を調整する
    ことを特徴とする請求項1記載の回転レーザビーム生成装置。
  16. 前記駆動手段は、前記光学システム(100)の周囲に固定配置されるロータ(20)と、前記ロータ(20)の周囲で前記可動ユニット内に配置されるステータ(21)とを有する
    ことを特徴とする請求項1記載の回転レーザビーム生成装置。
  17. 前記入射領域を観測できる観測窓(7)をさらに有する
    ことを特徴とする請求項1記載の回転レーザビーム生成装置。
  18. 前記観測窓(7)は、可視装置(200、201、202)に接続されている
    ことを特徴とする請求項17記載の回転レーザビーム生成装置。
  19. 前記可視装置は、カメラ(200)と、画像処理回路(201)と、モニター(202)とを有する
    ことを特徴とする請求項18記載の回転レーザビーム生成装置。
JP2006530193A 2003-05-16 2004-05-13 回転レーザビームを生成する装置 Ceased JP2007511368A (ja)

Applications Claiming Priority (2)

Application Number Priority Date Filing Date Title
EP03011210A EP1477264A1 (en) 2003-05-16 2003-05-16 Apparatus for generating a rotating laser beam
PCT/EP2004/050799 WO2004101213A1 (en) 2003-05-16 2004-05-13 Apparatus for generating a rotating laser beam comprising a tiltable lens

Publications (1)

Publication Number Publication Date
JP2007511368A true JP2007511368A (ja) 2007-05-10

Family

ID=33016915

Family Applications (2)

Application Number Title Priority Date Filing Date
JP2006530192A Expired - Fee Related JP4748728B2 (ja) 2003-05-16 2004-05-13 回転レーザビームを生成する装置
JP2006530193A Ceased JP2007511368A (ja) 2003-05-16 2004-05-13 回転レーザビームを生成する装置

Family Applications Before (1)

Application Number Title Priority Date Filing Date
JP2006530192A Expired - Fee Related JP4748728B2 (ja) 2003-05-16 2004-05-13 回転レーザビームを生成する装置

Country Status (7)

Country Link
US (2) US7564006B2 (ja)
EP (3) EP1477264A1 (ja)
JP (2) JP4748728B2 (ja)
CN (2) CN100479973C (ja)
AT (2) ATE369935T1 (ja)
DE (2) DE602004008287T2 (ja)
WO (2) WO2004101213A1 (ja)

Cited By (2)

* Cited by examiner, † Cited by third party
Publication number Priority date Publication date Assignee Title
CN102079135A (zh) * 2010-12-24 2011-06-01 中国科学院长春光学精密机械与物理研究所 一种三维激光塑料焊接加工头
US9868179B2 (en) 2012-03-09 2018-01-16 TOYOKOH, Co., Ltd. Laser irradiation device, laser irradiation system, and method for removing coating or adhering matter

Families Citing this family (37)

* Cited by examiner, † Cited by third party
Publication number Priority date Publication date Assignee Title
EP1477264A1 (en) * 2003-05-16 2004-11-17 Lasag Ag Apparatus for generating a rotating laser beam
DE60305912T2 (de) 2003-08-05 2007-02-01 Lasag Ag Verfahren zur Herstellung einer medizinischen Nadel
WO2006133044A1 (en) * 2005-06-06 2006-12-14 Graham Packaging Company, L.P. System and method for laser trimming/scoring a plastic container with a rotatable and translatable axial beam guide
US8560047B2 (en) 2006-06-16 2013-10-15 Board Of Regents Of The University Of Nebraska Method and apparatus for computer aided surgery
KR20080077424A (ko) * 2007-02-20 2008-08-25 삼성에스디아이 주식회사 이차전지 및 그 제조방법
DE102007038502B4 (de) * 2007-08-14 2013-01-03 Fraunhofer-Gesellschaft zur Förderung der angewandten Forschung e.V. Verfahren zum Fügen von mindestens zwei Werkstücken mittels eines Laserstrahls
US8442661B1 (en) * 2008-11-25 2013-05-14 Anybots 2.0, Inc. Remotely controlled self-balancing robot including a stabilized laser pointer
IT1396262B1 (it) * 2009-09-21 2012-11-16 Enea Ente Nuove Tec Apparato di focalizzazione del fascio laser nd-yag ad alta potenza con rotazione ad aria compressa del punto focale.
US8788096B1 (en) 2010-05-17 2014-07-22 Anybots 2.0, Inc. Self-balancing robot having a shaft-mounted head
CN102476245B (zh) * 2010-11-23 2015-01-21 武汉楚天激光(集团)股份有限公司 用于激光切割机的切割头
US9168612B2 (en) * 2011-01-28 2015-10-27 Gas Technology Institute Laser material processing tool
US11911117B2 (en) 2011-06-27 2024-02-27 Board Of Regents Of The University Of Nebraska On-board tool tracking system and methods of computer assisted surgery
EP2723270B1 (en) 2011-06-27 2019-01-23 Board of Regents of the University of Nebraska On-board tool tracking system of computer assisted surgery
US9498231B2 (en) 2011-06-27 2016-11-22 Board Of Regents Of The University Of Nebraska On-board tool tracking system and methods of computer assisted surgery
US10201877B2 (en) 2011-10-26 2019-02-12 Titanova Inc Puddle forming and shaping with primary and secondary lasers
DE102011085761B4 (de) 2011-11-04 2016-03-24 Trimble Kaiserslautern Gmbh Lichtstrahl-Aussendevorrichtung für ein Messinstrument und Verfahren zum Ändern der optischen Eigenschaften eines Lichtstrahls
US10105149B2 (en) 2013-03-15 2018-10-23 Board Of Regents Of The University Of Nebraska On-board tool tracking system and methods of computer assisted surgery
EP2923792A1 (en) * 2014-03-27 2015-09-30 Continental Automotive GmbH Component, laser-welding apparatus and method for manufacturing a laser-welded joint
WO2016124656A1 (de) * 2015-02-03 2016-08-11 Mauser-Werke Oberndorf Maschinenbau Gmbh Laserbearbeitungseinheit
US10794523B2 (en) * 2015-12-14 2020-10-06 Wilmarc Holdings, Llc Laser induced sealing of concentrically layered materials
US9852997B2 (en) 2016-03-25 2017-12-26 Applied Materials, Inc. Hybrid wafer dicing approach using a rotating beam laser scribing process and plasma etch process
WO2018047823A1 (ja) * 2016-09-09 2018-03-15 三菱電機株式会社 レーザ加工装置
CN110167710B (zh) * 2017-01-05 2022-01-11 大众汽车有限公司 具有焦点调节单元的激光工具
DE102017200080A1 (de) * 2017-01-05 2018-07-05 Volkswagen Aktiengesellschaft Laserwerkzeug mit Hohlwellenantrieb und nicht-rotierender Linse
IT201700018859A1 (it) * 2017-02-20 2018-08-20 Innovative Welding Solutions Bv Dispositivo e metodo per unire tubolari metallici di pozzi di perforazione
WO2018150318A1 (en) * 2017-02-20 2018-08-23 Innovative Welding Solutions B.V. Device and method for joining metallic tubulars of drilling wells
JP2018207575A (ja) * 2017-05-30 2018-12-27 日本電産株式会社 回転駆動装置
JP6851000B2 (ja) * 2017-10-26 2021-03-31 パナソニックIpマネジメント株式会社 レーザ溶接装置およびレーザ溶接方法
DE102018107663A1 (de) * 2018-03-29 2019-10-02 Alpha Laser Gmbh Werkstückbearbeitung mittels Laserstrahlung
DE102018107662A1 (de) * 2018-03-29 2019-10-02 Alpha Laser Gmbh Werkstückbearbeitung mittels Laserstrahlung
US10926355B2 (en) 2019-02-05 2021-02-23 Dukane Ias, Llc Systems and methods for laser-welding tubular components using a single, fixed optical reflector with multiple reflecting surfaces
US11931823B2 (en) 2019-02-05 2024-03-19 Dukane Ias, Llc Systems and methods for laser-welding a workpiece with a laser beam that reaches inaccessible areas of the workpiece using multiple reflecting parts
US11819940B2 (en) 2019-02-05 2023-11-21 Dukane Ias, Llc Systems and methods for laser-welding a workpiece with a laser beam that reaches inaccessible areas of the workpiece using multiple reflecting parts
DE102019002600B4 (de) * 2019-04-09 2022-07-07 Bundesrepublik Deutschland, vertr. durch das Bundesministerium der Verteidigung, vertr. durch das Bundesamt für Ausrüstung, Informationstechnik und Nutzung der Bundeswehr Blend- und Irritatitionsvorrichtung
DE102020215129A1 (de) 2020-12-01 2022-06-02 Fraunhofer-Gesellschaft zur Förderung der angewandten Forschung eingetragener Verein Vorrichtung zur Ausrichtung, Rotation und/oder Formung eines Laserstrahls
CN118068592B (zh) * 2024-04-17 2024-07-16 浙江大学医学院附属邵逸夫医院 一种正视反射成像眼镜
CN119194051B (zh) * 2024-09-18 2025-04-04 上海东湖机械厂 一种筒壁内部激光冲击强化的装置及方法

Citations (4)

* Cited by examiner, † Cited by third party
Publication number Priority date Publication date Assignee Title
JPS60236482A (ja) * 1984-05-09 1985-11-25 三菱電機株式会社 レ−ザ加熱装置
JPH03128183A (ja) * 1989-10-13 1991-05-31 Toshiba Corp レーザ加工装置
JPH0433478U (ja) * 1990-07-13 1992-03-18
JPH11138284A (ja) * 1997-10-31 1999-05-25 Toshiba Corp Yagレーザ加工装置

Family Cites Families (31)

* Cited by examiner, † Cited by third party
Publication number Priority date Publication date Assignee Title
CH534570A (de) * 1967-09-25 1973-04-30 Laser Tech Sa Vorrichtung zum Bohren von Uhrensteinen mittels Laserstrahlung
US3981705A (en) * 1975-05-05 1976-09-21 Bell Telephone Laboratories, Incorporated Method of making optical waveguides from glass fibers
US4160894A (en) * 1975-05-14 1979-07-10 Winkler & Dunnebier Maschinenfabrik Und Eisengiesserei Kg Method and apparatus for the focal form cutting of a moving web of material by a laser beam
JPS614915U (ja) * 1984-06-14 1986-01-13 キヤノン株式会社 光学素子の保持装置
JPS6146080U (ja) * 1984-08-30 1986-03-27 日本電気株式会社 レ−ザマ−キング用光学装置
JPS6163387A (ja) * 1984-09-03 1986-04-01 Toshiba Corp レ−ザ加工装置
JPS6199622A (ja) * 1984-10-22 1986-05-17 Mitsubishi Electric Corp レ−ザビ−ム加工装置
DE3601442A1 (de) 1986-01-20 1987-07-23 Gebhard Birkle Vorrichtung zum optischen abtasten von objekten
US4827098A (en) * 1987-07-06 1989-05-02 Westinghouse Electric Corp. Flexible laser welding head for sleeve-to-tube welding
JPH0266382A (ja) * 1988-08-31 1990-03-06 Suzuki Motor Co Ltd ソレノイドアクチュエータ
DE3903616C1 (ja) * 1989-02-08 1990-08-02 Hpo Hanseatische Praezisions- Und Orbittechnik Gmbh, 2800 Bremen, De
US4940881A (en) 1989-09-28 1990-07-10 Tamarack Scientific Co., Inc. Method and apparatus for effecting selective ablation of a coating from a substrate, and controlling the wall angle of coating edge portions
DE3939866A1 (de) * 1989-12-01 1991-06-06 Baasel Carl Lasertech Vorrichtung zum beschriften einer zylindermantelflaeche mittels lasergravur
JPH03210990A (ja) * 1990-01-16 1991-09-13 Sumitomo Electric Ind Ltd レーザ加工方法
DE59006631D1 (de) 1990-06-05 1994-09-01 Audemars S A R Verfahren und Vorrichtung zum Schneiden von Material.
FR2667527B1 (fr) * 1990-10-08 1993-01-22 Fbfc Equipement de percage et/ou d'obturation au laser du trou de queusot d'un crayon combustible.
JPH05253680A (ja) * 1992-03-12 1993-10-05 Hitachi Ltd 管内表面の改質方法及び装置
JP2750293B2 (ja) * 1994-09-26 1998-05-13 トヨタ自動車株式会社 成形品の製造方法及び成形品
JP3293401B2 (ja) * 1995-03-20 2002-06-17 トヨタ自動車株式会社 レーザ溶接方法
JPH0966382A (ja) 1995-09-01 1997-03-11 Ishikawajima Harima Heavy Ind Co Ltd レーザ照射トーチ
JP3943190B2 (ja) * 1997-05-30 2007-07-11 株式会社アマダエンジニアリングセンター レーザー切断方法および同切断方法に使用するレーザー加工ヘッド
US6326585B1 (en) * 1998-07-14 2001-12-04 General Electric Company Apparatus for laser twist weld of compressor blisks airfoils
JP2000042772A (ja) * 1998-07-28 2000-02-15 Ishikawajima Harima Heavy Ind Co Ltd レーザクラッディング装置
US6204979B1 (en) * 1998-08-21 2001-03-20 Fuji Photo Optical Co., Ltd. Lens assembly and eccentricity adjustment apparatus thereof
JP2000089284A (ja) * 1998-09-09 2000-03-31 Asahi Optical Co Ltd アオリ機構を備えたアダプタ
DE10009122B4 (de) * 2000-02-26 2008-06-19 Volkswagen Ag Verfahren und Vorrichtung zum Bearbeiten einer Innenfläche einer zylinderförmigen Bohrung mittels Laser
US6362455B1 (en) 2000-03-07 2002-03-26 Corning Incorporated Spinning mirror laser system with focused beam
JP2001259877A (ja) * 2000-03-22 2001-09-25 Sumitomo Heavy Ind Ltd レーザ出射光学系及びレーザ加工方法
DE10124954C1 (de) 2001-05-21 2003-01-02 Lpkf Laser & Electronics Ag Vorrichtung zum Bearbeiten von Materialien mittels eines Laserstrahls
EP1477264A1 (en) * 2003-05-16 2004-11-17 Lasag Ag Apparatus for generating a rotating laser beam
US8103454B2 (en) * 2005-08-30 2012-01-24 International Business Machines Corporation Spatially heterogeneous stochastic petri-net modeling

Patent Citations (4)

* Cited by examiner, † Cited by third party
Publication number Priority date Publication date Assignee Title
JPS60236482A (ja) * 1984-05-09 1985-11-25 三菱電機株式会社 レ−ザ加熱装置
JPH03128183A (ja) * 1989-10-13 1991-05-31 Toshiba Corp レーザ加工装置
JPH0433478U (ja) * 1990-07-13 1992-03-18
JPH11138284A (ja) * 1997-10-31 1999-05-25 Toshiba Corp Yagレーザ加工装置

Cited By (4)

* Cited by examiner, † Cited by third party
Publication number Priority date Publication date Assignee Title
CN102079135A (zh) * 2010-12-24 2011-06-01 中国科学院长春光学精密机械与物理研究所 一种三维激光塑料焊接加工头
US9868179B2 (en) 2012-03-09 2018-01-16 TOYOKOH, Co., Ltd. Laser irradiation device, laser irradiation system, and method for removing coating or adhering matter
US11135681B2 (en) 2012-03-09 2021-10-05 TOYOKOH, Co., Ltd. Laser irradiation device, laser irradiation system, and method for removing coating or adhering matter
US12365050B2 (en) 2012-03-09 2025-07-22 Toyokoh Co., Ltd. Laser irradiation device, laser irradiation system, and method for removing coating or adhering matter

Also Published As

Publication number Publication date
EP1477264A1 (en) 2004-11-17
WO2004101212A1 (en) 2004-11-25
ATE342146T1 (de) 2006-11-15
CN1805817A (zh) 2006-07-19
US20070080147A1 (en) 2007-04-12
EP1626833A1 (en) 2006-02-22
CN1805818A (zh) 2006-07-19
US7399946B2 (en) 2008-07-15
CN100479973C (zh) 2009-04-22
US20070102404A1 (en) 2007-05-10
DE602004002775D1 (de) 2006-11-23
ATE369935T1 (de) 2007-09-15
DE602004002775T2 (de) 2007-08-16
EP1641592B1 (en) 2007-08-15
JP2007502712A (ja) 2007-02-15
CN100479972C (zh) 2009-04-22
JP4748728B2 (ja) 2011-08-17
EP1626833B1 (en) 2006-10-11
WO2004101213A1 (en) 2004-11-25
DE602004008287T2 (de) 2008-05-29
US7564006B2 (en) 2009-07-21
EP1641592A1 (en) 2006-04-05
DE602004008287D1 (de) 2007-09-27

Similar Documents

Publication Publication Date Title
JP4748728B2 (ja) 回転レーザビームを生成する装置
JP5267722B2 (ja) レーザレーダ装置
KR101236632B1 (ko) 스캐너 헤드 및 관련 공작 기계
JP3831271B2 (ja) 遠隔操作によるレーザ溶接システム及び溶接方法
JPS5952363B2 (ja) レ−ザ光線による水準測量装置
JPH07185866A (ja) レーザビーム振動装置およびそれを備えたレーザ加工装置
US3993402A (en) Apparatus for directing a laser beam
WO2017141852A1 (ja) レーザ加工機
EP0277444A1 (fr) Machine à micro faisceau laser d'intervention sur des objets à couches minces de matériau
KR20220036095A (ko) 레이저 가공 장치
TWI759091B (zh) 焦點距離調整裝置以及雷射加工裝置
JP3511049B2 (ja) レ−ザ加工装置
JP2004188525A (ja) バイトの刃先加工装置
JP3769105B2 (ja) レーザ装置
JP2001038484A (ja) レーザ加工装置用出射光学系
JP2002001565A (ja) レーザ加工装置
KR102001203B1 (ko) 광학부재 마운트 장치 및 이를 포함하는 레이저 장치
JPS62197289A (ja) レ−ザ加工装置
JPH05273455A (ja) レーザ加工機の光中継装置
WO2019044294A1 (ja) レーザー加工装置、レーザー加工システム
KR20250141606A (ko) 레이저 용접 장치
JP2019042743A (ja) レーザー加工装置、レーザー加工システム
JPH01258889A (ja) レーザ加工装置
JPH07185870A (ja) レーザ加工機における光路長一定保持方法及び装置
JPH02211992A (ja) レーザ加工機の光学ヘッド

Legal Events

Date Code Title Description
A621 Written request for application examination

Free format text: JAPANESE INTERMEDIATE CODE: A621

Effective date: 20070129

A521 Request for written amendment filed

Free format text: JAPANESE INTERMEDIATE CODE: A821

Effective date: 20070105

A072 Dismissal of procedure [no reply to invitation to correct request for examination]

Free format text: JAPANESE INTERMEDIATE CODE: A072

Effective date: 20070605

A131 Notification of reasons for refusal

Free format text: JAPANESE INTERMEDIATE CODE: A131

Effective date: 20090819

A521 Request for written amendment filed

Free format text: JAPANESE INTERMEDIATE CODE: A523

Effective date: 20091111

A01 Written decision to grant a patent or to grant a registration (utility model)

Free format text: JAPANESE INTERMEDIATE CODE: A01

Effective date: 20100201

A045 Written measure of dismissal of application [lapsed due to lack of payment]

Free format text: JAPANESE INTERMEDIATE CODE: A045

Effective date: 20100618