JP2005298740A - 金属酸化物表面処理粒子および樹脂組成物 - Google Patents
金属酸化物表面処理粒子および樹脂組成物 Download PDFInfo
- Publication number
- JP2005298740A JP2005298740A JP2004119398A JP2004119398A JP2005298740A JP 2005298740 A JP2005298740 A JP 2005298740A JP 2004119398 A JP2004119398 A JP 2004119398A JP 2004119398 A JP2004119398 A JP 2004119398A JP 2005298740 A JP2005298740 A JP 2005298740A
- Authority
- JP
- Japan
- Prior art keywords
- metal oxide
- particles
- powder
- treated
- silane coupling
- Prior art date
- Legal status (The legal status is an assumption and is not a legal conclusion. Google has not performed a legal analysis and makes no representation as to the accuracy of the status listed.)
- Granted
Links
Images
Landscapes
- Compositions Of Macromolecular Compounds (AREA)
- Pigments, Carbon Blacks, Or Wood Stains (AREA)
Abstract
【解決手段】 金属酸化物表面処理粒子1は、金属酸化物粒子2と表面処理層3とからなる。金属酸化物粒子2の表面をシランカップリング剤で処理して表面処理層3を形成する。表面処理層3は、該処理前の金属酸化物粒子2の表面に存在した全てのOH基と該シランカップリング剤との反応により形成され、有機溶剤に不溶な反応不溶化層4と、反応不溶化層4の表面に形成され、有機溶剤に可溶な可溶化層5と、のうち少なくとも反応不溶化層4を含む。また、この金属酸化物表面処理粒子1を含む金属酸化物粉体を樹脂に配合して樹脂組成物とする。
【選択図】 図1
Description
本発明の金属酸化物表面処理粒子は、金属酸化物粒子の表面がシランカップリング剤で処理された金属酸化物表面処理粒子であって、該金属酸化物粒子の表面に形成された表面処理層は、該処理前の該金属酸化物粒子の表面に存在した全てのOH基と該シランカップリング剤との反応により形成され、有機溶剤に不溶な反応不溶化層と、該反応不溶化層の表面に形成され、有機溶剤に可溶な可溶化層と、のうち少なくとも該反応不溶化層を含む。
本発明の金属酸化物粉体は、上記本発明の金属酸化物表面処理粒子を含む。本発明の金属酸化物粉体を配合することで、流動性が高く、硬化後の接着性、耐久性の良好な樹脂組成物等を構成することができる。
(1)実施例1
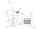
図2に示す表面処理装置を使用して、金属酸化物粒子の表面処理を行った。図2に示すように、表面処理装置6は、処理容器7と、リボン攪拌翼8と、処理剤蒸発器9とを備える。処理容器7には、金属酸化物粒子からなる被処理粉体10が収容される。リボン攪拌翼8は、処理容器7の中央部に配置される。処理剤蒸発器9は、処理容器7の内側上方の一端に設置される。図2中、円Aの部分を拡大して示すように、処理剤蒸発器9は、円筒状の金属容器90と、ヒーター91と、ガラスウール92とを備える。ヒーター91は、金属容器90の外周に巻回される。ガラスウール92は、金属容器90の中に充填される。
上記実施例1の表面処理において、被処理粉体を平均粒子径0.2μm、比表面積17m2/gのシリカ粉体(株式会社アドマテックス製:アドマファインSC1500−SQ)とし、シランカップリング剤の量を400gとし、処理時間を72時間とした以外は、実施例1と同様にして、シリカ粉体の表面処理を行った。得られた粉体を、実施例2の粉体とした。
上記実施例1の表面処理において、被処理粉体を平均粒子径1.0μm、比表面積4.5m2/gのシリカ粉体(株式会社アドマテックス製:アドマファインSC4500−SQ)とした以外は、実施例1と同様にして、シリカ粉体の表面処理を行った。得られた粉体を、実施例3の粉体とした。
上記実施例1の表面処理において、被処理粉体を平均粒子径1.5μm、比表面積4.5m2/gのシリカ粉体(株式会社アドマテックス製:アドマファインSC5500−SQ)とした以外は、実施例1と同様にして、シリカ粉体の表面処理を行った。得られた粉体を、実施例4の粉体とした。
上記実施例1の表面処理において、被処理粉体を平均粒子径2.0μm、比表面積2.0m2/gのシリカ粉体(株式会社アドマテックス製:アドマファインSC6500−SQ)とし、シランカップリング剤の量を100gとした以外は、実施例1と同様にして、シリカ粉体の表面処理を行った。得られた粉体を、実施例5の粉体とした。
上記実施例1の表面処理において、被処理粉体を平均粒子径0.5μm、比表面積5.5m2/gのシリカ粉体(株式会社アドマテックス製:アドマファインSC2500−SQ)とし、シランカップリング剤の量を104gとした以外は、実施例1と同様にして、シリカ粉体の表面処理を行った。得られた粉体を、実施例6の粉体とした。
上記実施例1の表面処理において、被処理粉体を平均粒子径0.5μm、比表面積5.5m2/gのシリカ粉体(株式会社アドマテックス製:アドマファインSC2500−SQ)とし、シランカップリング剤として100gのエポキシシラン(信越化学工業株式会社製:KBM−403)と、100gのフェニルシラン(前出表1中の「フェニルトリメトキシシラン」、信越化学工業株式会社製:KBM−103)とを用いた以外は、実施例1と同様にして、シリカ粉体の表面処理を行った。得られた粉体を、実施例7の粉体とした。
上記実施例1の表面処理において、被処理粉体を平均粒子径0.5μm、比表面積5.5m2/gのシリカ粉体(株式会社アドマテックス製:アドマファインSC2500−SQ)とし、シランカップリング剤として200gのアクリルシラン(前出表1中の「γ−アクリロキシプロピルトリメトキシシラン」、信越化学工業株式会社製:KBM−5103)を用いた以外は、実施例1と同様にして、シリカ粉体の表面処理を行った。得られた粉体を、実施例8の粉体とした。
上記実施例1の表面処理において、被処理粉体を平均粒子径0.5μm、比表面積5.5m2/gのシリカ粉体(株式会社アドマテックス製:アドマファインSC2500−SQ)とし、シランカップリング剤として100gのビニルシラン(前出表1中の「ビニルトリメトキシシラン」、信越化学工業株式会社製:KBM−1003)を用いた以外は、実施例1と同様にして、シリカ粉体の表面処理を行った。得られた粉体を、実施例9の粉体とした。
ミキサーを使用して、金属酸化物粒子の表面処理を行った。まず、ミキサー(太平洋機工株式会社製:プローシェアーミキサWB−75型、以下同じ。)に、被処理粉体として、VMC法で製造された平均粒子径0.5μm、比表面積5.5m2/gのシリカ粉体(株式会社アドマテックス製:アドマファインSO−C2)を20kg収容した。次に、シランカップリング剤として200gのエポキシシラン(信越化学工業株式会社製:KBM−403)を噴霧しながら、30rpmの回転速度で15分間攪拌した。得られた粉体を、比較例1の粉体とした。
上記比較例1の表面処理において、被処理粉体を平均粒子径0.2μm、比表面積17m2/gのシリカ粉体(株式会社アドマテックス製:アドマファインSO−C1)とした以外は、比較例1と同様にして、シリカ粉体の表面処理を行った。得られた粉体を、比較例2の粉体とした。
上記比較例1の表面処理において、被処理粉体を平均粒子径1.0μm、比表面積4.5m2/gのシリカ粉体(株式会社アドマテックス製:アドマファインSO−C3)とした以外は、比較例1と同様にして、シリカ粉体の表面処理を行った。得られた粉体を、比較例3の粉体とした。
上記比較例1の表面処理において、被処理粉体を平均粒子径1.5μm、比表面積4.5m2/gのシリカ粉体(株式会社アドマテックス製:アドマファインSO−C5)とした以外は、比較例1と同様にして、シリカ粉体の表面処理を行った。得られた粉体を、比較例4の粉体とした。
上記比較例1の表面処理において、被処理粉体を平均粒子径2.0μm、比表面積2.0m2/gのシリカ粉体(株式会社アドマテックス製:アドマファインSO−C6)とし、シランカップリング剤の量を100gとした以外は、比較例1と同様にして、シリカ粉体の表面処理を行った。得られた粉体を、比較例5の粉体とした。
上記比較例1の表面処理において、シランカップリング剤の量を104gとした以外は、比較例1と同様にして、シリカ粉体の表面処理を行った。得られた粉体を、比較例6の粉体とした。
上記比較例1の表面処理において、シランカップリング剤として100gのエポキシシラン(信越化学工業株式会社製:KBM−403)と、100gのフェニルシラン(信越化学工業株式会社製:KBM−103)との混合液を用いた以外は、比較例1と同様にして、シリカ粉体の表面処理を行った。得られた粉体を、比較例7の粉体とした。
上記比較例1の表面処理において、シランカップリング剤として200gのアクリルシラン(信越化学工業株式会社製:KBM−5103)を用いた以外は、比較例1と同様にして、シリカ粉体の表面処理を行った。得られた粉体を、比較例8の粉体とした。
上記比較例1の表面処理において、シランカップリング剤として100gのビニルシラン(信越化学工業株式会社製:KBM−1003)を用いた以外は、比較例1と同様にして、シリカ粉体の表面処理を行った。得られた粉体を、比較例9の粉体とした。
(1)評価方法
(a)FT−IRによる赤外吸収スペクトルを測定
製造した粉体を、それぞれイソプロピルアルコール(IPA)で洗浄、乾燥した。その後、希釈せずに4000〜2500cm-1の赤外吸収スペクトルを拡散反射法で測定し、3740cm-1付近のシラノール吸収の有無を調べた。
製造した粉体の6gをそれぞれ試料として用いた。各試料と、24gのIPAとを遠心分離機の遠心管に入れ、500Wの超音波を1分間照射した。その後、遠心分離により固液分離し、上澄み液を除去した。さらに、24gのIPAを足し、攪拌して固形分を懸濁させて、500Wの超音波を1分間照射した。その後、遠心分離により固液分離し、上澄み液を除去した。さらに、24gのIPAを足し、攪拌して固形分を懸濁させて、500Wの超音波を1分間照射した。その後、遠心分離により固液分離し、上澄み液を除去した。固形分を120℃で3時間乾燥させた後、重量を測定した。この時の重量を加熱前重量とした。そして、乾燥した固形分を800℃で1時間加熱して、その後再度重量を測定した。この時の重量を加熱後重量とした。加熱前重量と加熱後重量との差を、重量減少量とし、加熱前重量に対する加熱減少量の割合を求めた。
製造した各々の粉体18gと、液状エポキシ樹脂(東都化成株式会社製:ZX−1059、以下同じ。)13.33gと、潜在的硬化触媒の2PHZ(2−フェニル−4,5−ジヒドロキシメチルイミダゾール)0.67gとを、遊星型混合機(公転速度:2000rpm、自転速度:800rpm)で1分間混合し、混合物を得た。各混合物を500mlのMEK(メチルエチルケトン)で希釈して、20μmの篩を通した。篩残を回収し、110℃で2時間乾燥した。乾燥後の篩残を秤量し、凝集量とした。
製造した各々の粉体36gと、液状エポキシ樹脂26.67gと、潜在的硬化触媒の2PHZ1.33gとを、遊星型混合機(同上)で4.5分間混合し、混合物を得た。各混合物を三本ロールで分散させ、80℃で1時間エージングして、粘度測定用ワニスを得た。この粘度測定用ワニスの25℃の粘度を、E型粘度計で測定した。
上記(d)で製造した粘度測定用ワニスをワニス型に入れ、120℃で4時間、150℃で1時間加熱して硬化させ、硬化物を得た。この硬化物を破断して破断面をSEMで観察した。
各粉体について、加熱前重量に対する加熱減少量の割合(重量減少率)、シリカ粒子表面積1m2当たりの重量減少量、シラノール吸収の有無、凝集量を表2にまとめた。また、赤外吸収スペクトルの一例として、実施例6の粉体および比較例6の粉体の赤外吸収スペクトルを図3に示す。
4:反応不溶化層 5:可溶化層
6:表面処理装置 7:処理容器 8:リボン攪拌翼
9:処理剤蒸発器 90:金属容器 91:ヒーター 92:ガラスウール
10:被処理粉体
Claims (12)
- 金属酸化物粒子の表面がシランカップリング剤で処理された金属酸化物表面処理粒子であって、
該金属酸化物粒子の表面に形成された表面処理層は、
該処理前の該金属酸化物粒子の表面に存在した全てのOH基と該シランカップリング剤との反応により形成され、有機溶剤に不溶な反応不溶化層と、
該反応不溶化層の表面に形成され、有機溶剤に可溶な可溶化層と、
のうち少なくとも該反応不溶化層を含むことを特徴とする金属酸化物表面処理粒子。 - 前記表面処理層は、反応不溶化層のみからなる請求項1に記載の金属酸化物表面処理粒子。
- 前記金属酸化物粒子は、シリカを主成分とする請求項1に記載の金属酸化物表面処理粒子。
- 前記金属酸化物粒子は、金属を燃焼して得られる燃焼金属酸化物粒子、破砕した金属酸化物を溶融して得られる溶融金属酸化物粒子、金属酸化物を破砕した破砕金属酸化物粒子から選ばれる一種以上である請求項1に記載の金属酸化物表面処理粒子。
- 請求項1に記載の金属酸化物表面処理粒子を含む金属酸化物粉体。
- シランカップリング剤で表面処理されたシリカ粒子からなるシリカ粉体であって、
該シランカップリング剤は、上記表1に示されるものから選ばれる二種以上であり、
有機溶剤で洗浄後、赤外線分光分析により3740cm-1付近のシラノール吸収が検出されず、かつ、温度800℃で加熱した場合の加熱前後の重量減少量が、該表1において該シランカップリング剤に対して規定された反応不溶化層形成量から該シランカップリング剤の重量分率に応じて計算された反応不溶化層形成量の範囲内となるシリカ粉体。 - 熱可塑性あるいは熱硬化性の樹脂に、請求項5に記載の金属酸化物粉体を配合した樹脂組成物。
- 前記樹脂は、エポキシ樹脂を含む請求項8に記載の樹脂組成物。
- さらに、硬化剤、硬化触媒を含む請求項8に記載の樹脂組成物。
- 前記金属酸化物粉体は、当該樹脂組成物の全体を100重量%とした場合の70重量%以上配合される請求項8に記載の樹脂組成物。
- 織物クロス含浸用ワニスあるいはフィルム形成用ワニスに、請求項5に記載の金属酸化物粉体を配合したワニス組成物。
Priority Applications (1)
| Application Number | Priority Date | Filing Date | Title |
|---|---|---|---|
| JP2004119398A JP4516779B2 (ja) | 2004-04-14 | 2004-04-14 | 金属酸化物表面処理粒子、その製造方法および樹脂組成物の製造方法 |
Applications Claiming Priority (1)
| Application Number | Priority Date | Filing Date | Title |
|---|---|---|---|
| JP2004119398A JP4516779B2 (ja) | 2004-04-14 | 2004-04-14 | 金属酸化物表面処理粒子、その製造方法および樹脂組成物の製造方法 |
Publications (2)
| Publication Number | Publication Date |
|---|---|
| JP2005298740A true JP2005298740A (ja) | 2005-10-27 |
| JP4516779B2 JP4516779B2 (ja) | 2010-08-04 |
Family
ID=35330671
Family Applications (1)
| Application Number | Title | Priority Date | Filing Date |
|---|---|---|---|
| JP2004119398A Expired - Lifetime JP4516779B2 (ja) | 2004-04-14 | 2004-04-14 | 金属酸化物表面処理粒子、その製造方法および樹脂組成物の製造方法 |
Country Status (1)
| Country | Link |
|---|---|
| JP (1) | JP4516779B2 (ja) |
Cited By (13)
| Publication number | Priority date | Publication date | Assignee | Title |
|---|---|---|---|---|
| JP2008074668A (ja) * | 2006-09-21 | 2008-04-03 | Admatechs Co Ltd | 活性シリカ微粒子、その製造方法及び樹脂組成物 |
| JP2009040636A (ja) * | 2007-08-09 | 2009-02-26 | Mitsui Mining & Smelting Co Ltd | 黒色酸化物粒子粉末及びその製造方法 |
| WO2009101973A1 (ja) * | 2008-02-12 | 2009-08-20 | Hosokawa Powder Technology Research Institute | 樹脂材料用難燃剤及びその製造方法 |
| WO2010013741A1 (ja) * | 2008-07-31 | 2010-02-04 | 積水化学工業株式会社 | エポキシ樹脂組成物、プリプレグ、硬化体、シート状成形体、積層板及び多層積層板 |
| WO2010035452A1 (ja) * | 2008-09-24 | 2010-04-01 | 積水化学工業株式会社 | 樹脂組成物、硬化体及び積層体 |
| WO2015104917A1 (ja) * | 2014-01-08 | 2015-07-16 | 信越化学工業株式会社 | 半導体封止用液状エポキシ樹脂組成物及び樹脂封止半導体装置 |
| JP2015189638A (ja) * | 2014-03-28 | 2015-11-02 | 電気化学工業株式会社 | 表面改質シリカ粉末及びスラリー組成物 |
| JP2016008280A (ja) * | 2014-06-25 | 2016-01-18 | 味の素株式会社 | 樹脂組成物 |
| JP2017055069A (ja) * | 2015-09-11 | 2017-03-16 | 日立化成株式会社 | 絶縁樹脂フィルム及び多層プリント配線板 |
| WO2018070237A1 (ja) * | 2016-10-14 | 2018-04-19 | 日立化成株式会社 | 封止用樹脂組成物、電子部品装置及び電子部品装置の製造方法 |
| WO2019198242A1 (ja) * | 2018-04-13 | 2019-10-17 | 日立化成株式会社 | 封止用樹脂組成物、電子部品装置及び電子部品装置の製造方法 |
| US10851246B2 (en) | 2018-12-17 | 2020-12-01 | Admatechs Co., Ltd. | Electronic material filler, high-frequency substrate, and electronic material slurry |
| JP2024123721A (ja) * | 2023-03-01 | 2024-09-12 | 株式会社トラディショナルインテリジェンス | シリカ質コーティング層形成用シリカ質混合液 |
Citations (6)
| Publication number | Priority date | Publication date | Assignee | Title |
|---|---|---|---|---|
| JPH0688039A (ja) * | 1992-09-08 | 1994-03-29 | Terumo Corp | 表面処理フィラー |
| JPH1192685A (ja) * | 1997-09-24 | 1999-04-06 | Toshiba Ceramics Co Ltd | シリカフィラーの製造方法 |
| JP2003137530A (ja) * | 2001-11-02 | 2003-05-14 | Ge Toshiba Silicones Co Ltd | 微粉末シリカの表面処理方法およびポリオルガノシロキサン組成物 |
| JP2003176122A (ja) * | 2001-09-13 | 2003-06-24 | Wacker Chemie Gmbh | シリカのシラノール基含有率が低いシリカ |
| JP2004107458A (ja) * | 2002-09-18 | 2004-04-08 | Denki Kagaku Kogyo Kk | 超微粉シリカ分散スラリーの製造方法 |
| JP2004359963A (ja) * | 2004-07-29 | 2004-12-24 | Dow Corning Toray Silicone Co Ltd | 熱伝導性シリコーンゴムおよびその組成物 |
-
2004
- 2004-04-14 JP JP2004119398A patent/JP4516779B2/ja not_active Expired - Lifetime
Patent Citations (6)
| Publication number | Priority date | Publication date | Assignee | Title |
|---|---|---|---|---|
| JPH0688039A (ja) * | 1992-09-08 | 1994-03-29 | Terumo Corp | 表面処理フィラー |
| JPH1192685A (ja) * | 1997-09-24 | 1999-04-06 | Toshiba Ceramics Co Ltd | シリカフィラーの製造方法 |
| JP2003176122A (ja) * | 2001-09-13 | 2003-06-24 | Wacker Chemie Gmbh | シリカのシラノール基含有率が低いシリカ |
| JP2003137530A (ja) * | 2001-11-02 | 2003-05-14 | Ge Toshiba Silicones Co Ltd | 微粉末シリカの表面処理方法およびポリオルガノシロキサン組成物 |
| JP2004107458A (ja) * | 2002-09-18 | 2004-04-08 | Denki Kagaku Kogyo Kk | 超微粉シリカ分散スラリーの製造方法 |
| JP2004359963A (ja) * | 2004-07-29 | 2004-12-24 | Dow Corning Toray Silicone Co Ltd | 熱伝導性シリコーンゴムおよびその組成物 |
Cited By (29)
| Publication number | Priority date | Publication date | Assignee | Title |
|---|---|---|---|---|
| JP2008074668A (ja) * | 2006-09-21 | 2008-04-03 | Admatechs Co Ltd | 活性シリカ微粒子、その製造方法及び樹脂組成物 |
| JP2009040636A (ja) * | 2007-08-09 | 2009-02-26 | Mitsui Mining & Smelting Co Ltd | 黒色酸化物粒子粉末及びその製造方法 |
| WO2009101973A1 (ja) * | 2008-02-12 | 2009-08-20 | Hosokawa Powder Technology Research Institute | 樹脂材料用難燃剤及びその製造方法 |
| JPWO2009101973A1 (ja) * | 2008-02-12 | 2011-06-09 | ホソカワミクロン株式会社 | 樹脂材料用難燃剤及びその製造方法 |
| JP4782870B2 (ja) * | 2008-07-31 | 2011-09-28 | 積水化学工業株式会社 | 硬化体、シート状成形体、積層板及び多層積層板 |
| WO2010013741A1 (ja) * | 2008-07-31 | 2010-02-04 | 積水化学工業株式会社 | エポキシ樹脂組成物、プリプレグ、硬化体、シート状成形体、積層板及び多層積層板 |
| KR101383434B1 (ko) * | 2008-07-31 | 2014-04-08 | 세키스이가가쿠 고교가부시키가이샤 | 에폭시 수지 조성물, 프리프레그, 경화체, 시트상 성형체, 적층판 및 다층 적층판 |
| WO2010035452A1 (ja) * | 2008-09-24 | 2010-04-01 | 積水化学工業株式会社 | 樹脂組成物、硬化体及び積層体 |
| KR101051873B1 (ko) | 2008-09-24 | 2011-07-25 | 세키스이가가쿠 고교가부시키가이샤 | 경화체 및 적층체 |
| JP4686750B2 (ja) * | 2008-09-24 | 2011-05-25 | 積水化学工業株式会社 | 硬化体及び積層体 |
| WO2015104917A1 (ja) * | 2014-01-08 | 2015-07-16 | 信越化学工業株式会社 | 半導体封止用液状エポキシ樹脂組成物及び樹脂封止半導体装置 |
| JP6090614B2 (ja) * | 2014-01-08 | 2017-03-08 | 信越化学工業株式会社 | 半導体封止用液状エポキシ樹脂組成物及び樹脂封止半導体装置 |
| US9711378B2 (en) | 2014-01-08 | 2017-07-18 | Shin-Etsu Chemical Co., Ltd. | Liquid epoxy resin composition for semiconductor sealing and resin-sealed semiconductor device |
| JP2015189638A (ja) * | 2014-03-28 | 2015-11-02 | 電気化学工業株式会社 | 表面改質シリカ粉末及びスラリー組成物 |
| JP2016008280A (ja) * | 2014-06-25 | 2016-01-18 | 味の素株式会社 | 樹脂組成物 |
| TWI671352B (zh) * | 2014-06-25 | 2019-09-11 | Ajinomoto Co., Inc. | 樹脂組成物 |
| JP2017055069A (ja) * | 2015-09-11 | 2017-03-16 | 日立化成株式会社 | 絶縁樹脂フィルム及び多層プリント配線板 |
| JPWO2018070237A1 (ja) * | 2016-10-14 | 2019-09-05 | 日立化成株式会社 | 封止用樹脂組成物、電子部品装置及び電子部品装置の製造方法 |
| WO2018070237A1 (ja) * | 2016-10-14 | 2018-04-19 | 日立化成株式会社 | 封止用樹脂組成物、電子部品装置及び電子部品装置の製造方法 |
| US11186742B2 (en) | 2016-10-14 | 2021-11-30 | Showa Denko Materials Co., Ltd. | Sealing resin composition, electronic component device, and method of manufacturing electronic component device |
| KR20220152583A (ko) * | 2016-10-14 | 2022-11-16 | 쇼와덴코머티리얼즈가부시끼가이샤 | 밀봉용 수지 조성물, 전자 부품 장치 및 전자 부품 장치의 제조 방법 |
| JP7231821B2 (ja) | 2016-10-14 | 2023-03-02 | 株式会社レゾナック | 封止用樹脂組成物、電子部品装置及び電子部品装置の製造方法 |
| US11873414B2 (en) | 2016-10-14 | 2024-01-16 | Resonac Corporation | Sealing resin composition, electronic component device, and method of manufacturing electronic component device |
| KR102725565B1 (ko) | 2016-10-14 | 2024-11-05 | 가부시끼가이샤 레조낙 | 밀봉용 수지 조성물, 전자 부품 장치 및 전자 부품 장치의 제조 방법 |
| WO2019198242A1 (ja) * | 2018-04-13 | 2019-10-17 | 日立化成株式会社 | 封止用樹脂組成物、電子部品装置及び電子部品装置の製造方法 |
| JPWO2019198242A1 (ja) * | 2018-04-13 | 2021-05-13 | 昭和電工マテリアルズ株式会社 | 封止用樹脂組成物、電子部品装置及び電子部品装置の製造方法 |
| US10851246B2 (en) | 2018-12-17 | 2020-12-01 | Admatechs Co., Ltd. | Electronic material filler, high-frequency substrate, and electronic material slurry |
| US11001714B2 (en) | 2018-12-17 | 2021-05-11 | Admatechs Co., Ltd. | Production method for electronic material filler and production method for electronic material resin composition |
| JP2024123721A (ja) * | 2023-03-01 | 2024-09-12 | 株式会社トラディショナルインテリジェンス | シリカ質コーティング層形成用シリカ質混合液 |
Also Published As
| Publication number | Publication date |
|---|---|
| JP4516779B2 (ja) | 2010-08-04 |
Similar Documents
| Publication | Publication Date | Title |
|---|---|---|
| JP5227801B2 (ja) | アルミナ粉末及びその製造方法、並びにその用途 | |
| JP4516779B2 (ja) | 金属酸化物表面処理粒子、その製造方法および樹脂組成物の製造方法 | |
| JP4306951B2 (ja) | 表面処理された微細球状シリカ粉末および樹脂組成物 | |
| EP0685508B1 (en) | Curable resin compositions containing silica-coated microparticles of a cured organosiloxane composition | |
| TWI834900B (zh) | 含矽氧化物被覆氮化鋁粒子之製造方法及含矽氧化物被覆氮化鋁粒子 | |
| TWI538943B (zh) | Coated magnesium oxide particles, a method for producing the same, a heat-dissipating filler, and a resin composition | |
| JP6128256B2 (ja) | 窒化アルミニウム粒子、エポキシ樹脂組成物、半硬化樹脂組成物、硬化樹脂組成物、樹脂シート、及び発熱性電子部品 | |
| JP4279521B2 (ja) | 半導体封止用エポキシ樹脂組成物用金属酸化物粉体、その製造方法及び半導体封止用エポキシ樹脂組成物 | |
| JP4460968B2 (ja) | 樹脂組成物の製造方法 | |
| TW201723073A (zh) | 液狀環氧樹脂組成物 | |
| JP2005171208A (ja) | フィラー及び樹脂組成物 | |
| Gültekin et al. | Structural, thermal, and mechanical properties of silanized boron carbide doped epoxy nanocomposites | |
| JP4276423B2 (ja) | 塩基性シリカ粉体、その製造方法及び樹脂組成物 | |
| JP6347644B2 (ja) | 表面改質シリカ粉末及びスラリー組成物 | |
| JPH09100394A (ja) | エポキシ樹脂組成物及び樹脂封止型半導体装置 | |
| Daneshmehr et al. | The surface modification of boron nitride particles | |
| JP6605864B2 (ja) | チタン酸バリウム粉末及びその製造方法、用途 | |
| JP3694474B2 (ja) | 球状シリカ粉末の製造方法 | |
| JP2005171206A (ja) | 樹脂配合用粉体混合物及び樹脂組成物 | |
| JP2005171209A (ja) | フィラー含有樹脂組成物及びその製造方法 | |
| JP2002252314A (ja) | 球状無機質粉末及びその用途 | |
| JP2003171531A (ja) | 封止用樹脂組成物および樹脂封止型半導体装置 | |
| JP4529268B2 (ja) | エポキシ樹脂組成物、これを用いたプリプレグ及び銅張積層板 | |
| JPH0496929A (ja) | エポキシ樹脂組成物及び半導体装置 | |
| JP2000264619A (ja) | シリカ質粉末及びその製造方法 |
Legal Events
| Date | Code | Title | Description |
|---|---|---|---|
| A621 | Written request for application examination |
Free format text: JAPANESE INTERMEDIATE CODE: A621 Effective date: 20070227 |
|
| A977 | Report on retrieval |
Free format text: JAPANESE INTERMEDIATE CODE: A971007 Effective date: 20090924 |
|
| A131 | Notification of reasons for refusal |
Free format text: JAPANESE INTERMEDIATE CODE: A131 Effective date: 20090929 |
|
| A521 | Request for written amendment filed |
Free format text: JAPANESE INTERMEDIATE CODE: A523 Effective date: 20091130 |
|
| TRDD | Decision of grant or rejection written | ||
| A01 | Written decision to grant a patent or to grant a registration (utility model) |
Free format text: JAPANESE INTERMEDIATE CODE: A01 Effective date: 20100511 |
|
| A01 | Written decision to grant a patent or to grant a registration (utility model) |
Free format text: JAPANESE INTERMEDIATE CODE: A01 |
|
| A61 | First payment of annual fees (during grant procedure) |
Free format text: JAPANESE INTERMEDIATE CODE: A61 Effective date: 20100517 |
|
| R150 | Certificate of patent or registration of utility model |
Free format text: JAPANESE INTERMEDIATE CODE: R150 Ref document number: 4516779 Country of ref document: JP Free format text: JAPANESE INTERMEDIATE CODE: R150 |
|
| FPAY | Renewal fee payment (event date is renewal date of database) |
Free format text: PAYMENT UNTIL: 20130521 Year of fee payment: 3 |
|
| FPAY | Renewal fee payment (event date is renewal date of database) |
Free format text: PAYMENT UNTIL: 20130521 Year of fee payment: 3 |
|
| FPAY | Renewal fee payment (event date is renewal date of database) |
Free format text: PAYMENT UNTIL: 20140521 Year of fee payment: 4 |
|
| R250 | Receipt of annual fees |
Free format text: JAPANESE INTERMEDIATE CODE: R250 |
|
| R250 | Receipt of annual fees |
Free format text: JAPANESE INTERMEDIATE CODE: R250 |
|
| R250 | Receipt of annual fees |
Free format text: JAPANESE INTERMEDIATE CODE: R250 |
|
| R250 | Receipt of annual fees |
Free format text: JAPANESE INTERMEDIATE CODE: R250 |
|
| R250 | Receipt of annual fees |
Free format text: JAPANESE INTERMEDIATE CODE: R250 |
|
| R250 | Receipt of annual fees |
Free format text: JAPANESE INTERMEDIATE CODE: R250 |
|
| R250 | Receipt of annual fees |
Free format text: JAPANESE INTERMEDIATE CODE: R250 |
|
| R250 | Receipt of annual fees |
Free format text: JAPANESE INTERMEDIATE CODE: R250 |
|
| R250 | Receipt of annual fees |
Free format text: JAPANESE INTERMEDIATE CODE: R250 |
|
| R250 | Receipt of annual fees |
Free format text: JAPANESE INTERMEDIATE CODE: R250 |
|
| R250 | Receipt of annual fees |
Free format text: JAPANESE INTERMEDIATE CODE: R250 |
|
| EXPY | Cancellation because of completion of term |
