JP2005298314A - ガラス板表面のエッチング方法、ガラス板エッチング装置、フラットパネルディスプレイ用ガラス板及びフラットパネルディスプレイ - Google Patents

ガラス板表面のエッチング方法、ガラス板エッチング装置、フラットパネルディスプレイ用ガラス板及びフラットパネルディスプレイ Download PDF

Info

Publication number
JP2005298314A
JP2005298314A JP2004167969A JP2004167969A JP2005298314A JP 2005298314 A JP2005298314 A JP 2005298314A JP 2004167969 A JP2004167969 A JP 2004167969A JP 2004167969 A JP2004167969 A JP 2004167969A JP 2005298314 A JP2005298314 A JP 2005298314A
Authority
JP
Japan
Prior art keywords
glass plate
etching
etching solution
glass
masking agent
Prior art date
Legal status (The legal status is an assumption and is not a legal conclusion. Google has not performed a legal analysis and makes no representation as to the accuracy of the status listed.)
Granted
Application number
JP2004167969A
Other languages
English (en)
Other versions
JP4071220B2 (ja
Inventor
Toshihiro Nishiyama
智弘 西山
Current Assignee (The listed assignees may be inaccurate. Google has not performed a legal analysis and makes no representation or warranty as to the accuracy of the list.)
Nishiyama Stainless Chemical Co Ltd
Original Assignee
Nishiyama Stainless Chemical Co Ltd
Priority date (The priority date is an assumption and is not a legal conclusion. Google has not performed a legal analysis and makes no representation as to the accuracy of the date listed.)
Filing date
Publication date
Application filed by Nishiyama Stainless Chemical Co Ltd filed Critical Nishiyama Stainless Chemical Co Ltd
Priority to JP2004167969A priority Critical patent/JP4071220B2/ja
Priority to SG200404296A priority patent/SG115713A1/en
Priority to TW093123095A priority patent/TWI250136B/zh
Priority to CNB2004100641632A priority patent/CN100513340C/zh
Priority to KR1020040068837A priority patent/KR100725468B1/ko
Publication of JP2005298314A publication Critical patent/JP2005298314A/ja
Application granted granted Critical
Publication of JP4071220B2 publication Critical patent/JP4071220B2/ja
Anticipated expiration legal-status Critical
Expired - Fee Related legal-status Critical Current

Links

Images

Classifications

    • CCHEMISTRY; METALLURGY
    • C03GLASS; MINERAL OR SLAG WOOL
    • C03CCHEMICAL COMPOSITION OF GLASSES, GLAZES OR VITREOUS ENAMELS; SURFACE TREATMENT OF GLASS; SURFACE TREATMENT OF FIBRES OR FILAMENTS MADE FROM GLASS, MINERALS OR SLAGS; JOINING GLASS TO GLASS OR OTHER MATERIALS
    • C03C15/00Surface treatment of glass, not in the form of fibres or filaments, by etching

Landscapes

  • Chemical & Material Sciences (AREA)
  • Life Sciences & Earth Sciences (AREA)
  • Engineering & Computer Science (AREA)
  • Chemical Kinetics & Catalysis (AREA)
  • General Chemical & Material Sciences (AREA)
  • Geochemistry & Mineralogy (AREA)
  • Materials Engineering (AREA)
  • Organic Chemistry (AREA)
  • Surface Treatment Of Glass (AREA)

Abstract

【課題】 ガラス表面に均一にエッチング液を接触させ、ガラス表面を均一にエッチングすることが可能なエッチング方法及びこの方法に使用する装置の提供。
【解決手段】 エッチング方法としては、ガラス表面にエッチング液を吹き付け、その後エッチング液を除去することによってガラス板のエッチングを行う。このとき、水平にしたガラス板の底面にエッチング液を吹き付けることが好適である。エッチング装置は、ガラス板を支持する支持具と、ガラス表面にエッチング液を噴射するノズル8と、該エッチング液を貯留するエッチング液貯留槽とを備えたガラスエッチング装置である。この装置において、支持具はガラス板を水平にして支持するものであることが好適であり、ノズル8は、水平に支持したガラス板の底面に向けてエッチング液を吹き付け可能に配置することが好適である。
【選択図】 図1

Description

本発明は、ガラス板表面のエッチング方法、この方法に使用されるガラス板エッチング装置、フラットパネルディスプレイ用ガラス板、及び、フラットパネルディスプレイに関するものである。
映像を表示するためのディスプレイは、薄型化を図ることが進められている。薄型化を図ったディスプレイには、フラットパネルディスプレイ(FPD)があり、FPDには、例えば、エレクトロルミネッセンスディスプレイ(ELD)、液晶ディスプレイ(LCD)、プラズマディスプレイ(PDP)がある。
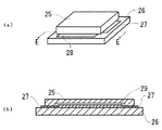
FPDに使用されているディスプレイパネルには、ガラス板が構成部材として使用されている。図9は、FPDの一つであるELDパネルの一例を表した図である。図9(a)は、ELDパネルの斜視図であり、図9(b)は、図9(a)のE−E間断面模式図である。図9のELDパネルは、画像表示面となる透明板26の表面上にEL素子29を積層した構造をとっている。このEL素子29には、外部電源と接続するための引き出しリード27、28が接続されている。そして、EL素子29がキャップ25によって、外部から封止された構造をとっている。
キャップ25には、金属、有機高分子やガラスを材料としたものが使用される。ガラスを使用したガラスキャップを用いて透明板26表面上のEL素子29を封止する場合、エッチングでガラス板表面に凹部を形成することによってガラスキャップを製造することが可能である。特許文献1には、ガラス板表面をエッチングすることによって、ガラスキャップを製造する方法が記載されている。
特開2004−22291号公報
特許文献1に記載されているガラスキャップを製造する方法は、ガラス板表面に所定のパターンでマスキング剤を被覆した後、このガラス板をエッチング液に浸漬してマスキング剤が被覆されていないガラス板表面に凹部を形成するエッチングを行うことによってガラスキャップを製造する方法である。
ガラス板をエッチングする場合において、ガラス板表面に安定した凹部形成を行うには、エッチング液の温度を一定温度に制御すると共に、エッチング液内の温度分布を均一にする必要がある。エッチング液内の温度分布を均一にするためには、例えば、機械的な攪拌やエッチング液内に気泡を発生させることによって攪拌する方法がとられる。特許文献1に記載された方法をエッチング液の攪拌を行いつつ使用すれば、以下に述べるガラス表面凹部の底面曲面化およびマスキング剤が剥離する2つの問題が生じやすくなる。
図10は、ガラス板をエッチング液に浸漬してエッチングする場合におけるガラス表面上の変化を表す断面模式図である。図10(a)は、エッチング液にマスキング剤31が被覆されたガラス板30を浸漬してガラス板30表面に凹部分が形成される過程を表した図であり、図10(b)は、表面に凹部を形成したガラス板30を表す図である。図11は、図10の破線部分の拡大図である。図11(a)は、図10(a)の破線部分の拡大図であり、図11(b)は、図10(b)の破線部分の拡大図である。
図11(a)に図示するように、マスキング剤31で表面を被覆したガラス板30をエッチング液に浸漬してガラス板30表面のエッチングを行う過程において、エッチング液の液流34は、形成途中の凹部側面を沿うように流動する。この液流34には、凹部の底面に対して垂直方向から衝突する液流がある一方で、エッチングされることのないマスキング剤が存在するために、なだらかな円弧を描くようにノ字状に流動する液流もある。
液流34がノ字状に流動すれば、形成途中におけるガラス表面上の凹部の底部の角32近傍に存在するエッチング液は、その他のエッチング液に比べて流動が遅く、その上、エッチングによって溶解したガラス濃度が高濃度化したものとなっている。その結果、凹部の角32のエッチング速度が低下する。この速度低下は、ガラス板表面に形成される凹部の形状が曲面化する問題を生じさせることになる。
一方、ガラス板30表面を被覆したマスキング剤31の剥離は、ガラス板30とマスキング剤31との間に存在する僅かな隙間33にエッチング液が進入することによって生じることになる。マスキング剤が剥離することによって、本来ならエッチングされる必要のないガラス板30の表面がエッチングされる問題を生じさせることになる。
このように攪拌したエッチング液にガラス板を浸漬してエッチングを行った場合、凹部底面の曲面化及びマスキング剤が剥離する2つの問題が生じやすくなる。これらの問題が生じた場合、ガラス板30表面上の凹部分の形状は、予測困難な形状となってしまうので、形成される凹部の形状均一性を悪化させることになる。
ところで、LCDパネルにおいてもガラス板が使用されている。このガラス板をエッチング液に浸漬して、LCDパネルの薄型化を図ることが可能である。図12は、ガラス板をエッチング液に浸漬した場合のエッチング進行状況を表したガラス板の断面模式図である。図12(a)は、エッチング液に浸漬した直後の平坦なガラス板35を表した図であり、ガラス表面上には、エッチング液の攪拌によって生じたノ字状及び反ノ字状の液流36が流動している。図12(b)は、図12(a)のガラス板35の表面をエッチングした状態を表した図であり、ガラス板35の表面には、液流が原因で、波打った凹凸が生じることになる。つまり、エッチング液に浸漬してガラス板表面のエッチングを行った場合、LCDパネル用ガラス板に要求されるガラス板表面の平坦性が損なわれることがあるので、平坦性を損なうことを抑制したエッチング技術が提供されることが期待されている。
上記のような事情に鑑み、本発明の第一の目的は、ガラス表面のエッチング過程においてエッチング液をガラス表面に均一に供給し、均一なエッチングを行うことが可能なエッチング方法及びこの方法の使用に適したエッチング装置を提供することである。
また、本発明の第二の目的は、所定のパターンでガラス板表面にマスキング剤を被覆した場合であっても、ガラス板とマスキング剤の隙間からエッチング液が進入することによってマスキング剤が剥離することを抑制することが可能なエッチング方法及びこの方法の使用に適したエッチング装置を提供することである。
本発明は、ガラス板の表面にエッチング液を吹き付けて前記ガラス板表面をエッチングするエッチング工程と、前記吹き付けたエッチング液を前記ガラス板から除去するエッチング液除去工程を備えることを特徴とするガラス板表面のエッチング方法である。エッチング液の吹き付けは、霧状のエッチング液を吹き付けることが好適である。
前記エッチング方法は、開口部を有し、かつ、ガラス板の端部を挟持固定して収納するガラス板収納ユニットに収納された前記ガラス板の表面をエッチングするものであることが好適である。このように端部が挟持固定されたガラス板収納ユニット内のガラス板をエッチングする方法によれば、ガラス板が外部接触することなくエッチングされるので、エッチング中でのガラス板の損傷を防止することができ、更には、ガラス板がガラス板収納ユニット内を移動することが防止されるので、ガラス板がガラス板収納ユニットと衝突して破損することが防止される。
前記エッチング方法は、前記エッチング工程前に、ガラス板表面に所定のパターンでマスキング剤を被覆するマスキング剤被覆工程を備えるエッチング方法であっても良い。この方法を使用した場合、マスキング剤が被覆されていないガラス表面が、エッチングによって凹部となる。
前記エッチング工程は、前記ガラス板を略水平にし、前記ガラス板の底面にエッチング液を吹き付けて前記ガラス板表面をエッチングすることが好適である。所定のパターンでマスキング剤を被覆している場合には、このマスキング剤が被覆されたガラス表面を底面として前記ガラス板を略水平にすることが好適である。また、前記ガラス板の底面の反対面にエッチング液を吹き付けて前記ガラス板表面をエッチングしても良い。前記ガラス板は、真に水平にすることが好適である。
また前記エッチング工程は、前記ガラス板を略鉛直にし、このガラス板の表面にエッチング液を吹き付けても良い。このとき、エッチングを行うエッチング対象面にエッチング液を吹き付けると良い。
また本発明は、ガラス板を支持可能なガラス板支持部と、前記支持部に支持されているガラス板に向けてエッチング液を噴射するエッチング液噴射ノズルと、前記エッチング液を該エッチング液の温度を制御して貯留するエッチング液貯留槽と、前記噴射されたエッチング液を回収するエッチング液回収装置を備えることを特徴とするガラス板エッチング装置である。
前記ガラス板支持部は、ガラス板を略水平に支持可能な支持部であって、前記エッチング液噴射ノズルは、前記ガラス板の下方からエッチング液を前記ガラス板の底面に向けて噴射することが好適である。さらに、前記ノズルは、前記ガラスの上方からエッチング液を前記ガラス板の底面の反対面に向けて噴射するものであっても良い。
前記支持部は、ガラス板の端部を支持するものであることが好適である。この場合、ガラス板にエッチング液の吹き付けを行うことの阻害防止になる。また前記支持部は、ガラス板を搬送可能な搬送装置であると良い。
前記搬送装置は、搬送する方向の左右からガラス板の両端を支持する搬送ローラーであることが好適である。この搬送ローラーであれば、安定してガラス板を搬送することができ、その上、エッチング液を吹き付け可能なガラス板の表面積を最大限に確保することができる。
前記搬送ローラーは、平面を有する基部とこの基部の平面径間よりも小径の略円柱形ローラーとを前記基部の平面と前記ローラーの平面で連結した形状の搬送ローラーであり、前記小径ローラーがガラス板を支持するものであることが好適である。このローラーによれば、搬送されるガラス板が左右に揺動しても、この揺動を最小限に抑えることができる。
また、前記ガラス板支持部は、ガラス板を略鉛直に支持可能な支持部であっても良い。この場合、ガラス板を搬送可能な搬送装置であっても良い。
前記回収装置は、回収したエッチング液を前記エッチング液貯留槽に送液するものであることが好ましい。また、前記回収装置は、スラッジ除去装置を一種以上備え、エッチング液中のスラッジを除去可能とすることが好適である。スラッジ除去装置としては、例えば、フィルター、フィルタープレス、液体サイクロン及び沈殿槽がある。
本発明は、前記エッチング方法によってエッチングしたフラットパネルディスプレイ用ガラス板である。このガラス板は、ガラス板のみからなるものだけを対象とするものではなく、ガラス表面上にフラットパネルディスプレイ構成部材を積層しているガラス板も含まれる。
また、本発明は、前記フラットパネルディスプレイ用ガラス板を使用したフラットパネルディスプレイである。
上記構成のエッチング方法に係る発明によれば、エッチング液にガラス板を浸漬することなくガラス板表面にエッチング液を均一に吹き付けることによってエッチングを行うので、均一性の高いガラス表面のエッチングを実現することができる。ガラス板にマスキング剤が被覆されている場合には、吹き付けられているエッチング液によってマスキング剤が押圧されているので、エッチング中におけるマスキング剤の剥離が抑制される。
また、上記構成のエッチング装置は、エッチング液にガラス板を浸漬することなくガラス板表面にエッチング液を均一に吹き付けることによってエッチングを行うので、高均一性のガラス表面のエッチングを実現することができるエッチング装置となる。ガラス板にマスキング剤が被覆されている場合には、エッチング液をガラス板に吹き付けることによる押圧によって、マスキング剤の剥離を抑制するエッチング装置となる。
本発明に係るガラス板表面のエッチング方法は、ガラス板表面に所定のパターンでマスキング剤を被覆するマスキング剤被覆工程と、前記所定のパターンでマスキング剤を被覆したガラス板表面にエッチング液を吹き付けて前記ガラス板表面をエッチングするエッチング工程と、前記吹き付けたエッチング液を前記ガラス板から除去するエッチング液除去工程と、前記ガラス板表面に被覆されたマスキング剤を除去するマスキング剤除去工程を経ることによって行われる。エッチング工程におけるエッチング液の吹き付けは、ガラス板表面に対して、略垂直方向からエッチング液を吹き付けることが好ましい。
図2は、マスキング剤20が被覆されたガラス板19を表す図である。図2(a)は、ガラス板19の平面図であり、図2(b)は、図2(a)のA−A間断面図である。図2のガラス板19は、マスキングされていない9つの矩形開口部が所定の位置に配置するようにマスキング剤19が被覆されたものとなっている。マスキング剤20が被覆されたガラス板19表面の反対面がエッチングされないようにする必要があれば、この反対面にマスキング剤を被覆しても良く、反対面に所定の凹部パターンを形成する場合には、この凹部パターンに対応したマスキング剤の被覆を行っても良い。
マスキング剤被覆工程におけるマスキング剤の被覆は、スクリーン印刷法、ラミネートフィルム法、レジスト塗布フォトリゾ法によって行うことができる。またその他、公知のマスキング剤被覆方法を採っても良い。
スクリーン印刷法は、マスキング剤の通過する部分と通過しない部分を備えたスクリーンをガラス板表面に当接し、このスクリーンのマスキング剤が通過可能な部分からマスキング剤を押し出してガラス板表面にマスキング剤の被覆を行う方法である。ラミネートフィルム法は、片面に粘着層を有するフィルムをマスキング剤として使用し、このフィルムをガラス表面に貼り付ける方法である。レジスト塗布フォトリソ法は、フォトレジストをガラス板表面に塗布後、塗布したフォトレジストに光を照射するマスキング方法である。スクリーン印刷法を使用してマスキング剤を被覆することが好適である。
エッチング工程は、マスキング剤20を被覆したガラス板19表面を底面にして、ガラス板19を略水平にし、このガラス板19の底面にエッチング液を吹き付けて前記ガラス板表面をエッチングすることが好適である。略水平にしたガラス板19の底面の反対面をエッチングする場合には、この反対面にエッチング液を吹き付けても良い。
またエッチング工程は、ガラス板19を略鉛直にし、このガラス板の表面にエッチング液を吹き付けても良い。このとき、エッチングは、エッチングを行うエッチング対象面にエッチング液を吹き付けることによって行われる。
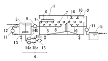
エッチング工程及びエッチング液除去工程は、本発明に係るエッチング装置を使用することが好適である。図1は、本発明に係るエッチング装置の概略図である。図1のエッチング装置は、ガラス板表面のエッチングを行うエッチング室1、エッチング室1内に送液されるエッチング液を貯留するエッチング液貯留槽3、使用後のエッチング液をエッチング室1から回収するエッチング液回収装置4、エッチング液除去室2、及びエッチング液除去室2内に送液される水を貯留する水貯留槽5を備えている。
エッチング室1内には、ガラス板支持部とエッチング液をガラス板に向けて噴射するエッチング液噴射ノズル8備えられている。さらにエッチング室1内の出口近傍には、エッチング液を脱液するためのエアナイフが、エッチングされたガラス板に空気を吹き付け可能なように配置されている。このエッチング室1内の底面は、ノズル8から噴射してガラス板に吹き付けられたエッチング液を効率よく回収するために傾斜した底面となっている。
ガラス板支持部は、ガラス板を固定又は移動可能な状態で、ガラス板を支持することができるものである。このガラス板支持部は、ガラス板を略水平又は略鉛直にして支持可能なものであることが好ましく。このうち略水平にして支持できるものであることが好適である。なお、ガラス板支持部は、後述するガラス板収納ユニット6にガラス板を収納して支持可能であると良い。本実施形態におけるエッチング室内1のガラス板支持部には、ガラス板搬送装置となるガラス板を収納したガラス板収納ユニット6を水平にして搬送することが可能な搬送ローラー7が備えられている。
ガラス板収納ユニット6を搬送方向の前後から搬送ローラーで支持するとガラス収納ユニット6が搬送ローラー間に落下するおそれがあり、その上、エッチング液を吹き付けることができるガラス板表面積を減少させることになるので、搬送ローラーは、ガラス板収納ユニット6の搬送方向の左右両端を支持することができるものとしている。本実施形態では、ガラス板収納ユニット6の底面端を支持しつつガラス板収納ユニット6を搬送することができるように、搬送ローラー7は、適宜な間隔をおいて配置している。この搬送ローラー7は、基部となる円柱形のローラーとこのローラーよりも小径の円柱形のローラーとを両ローラーの平面で連結した形状である。搬送ローラーを構成する2個の円柱形ローラーの中心軸は、一直線上に位置する。搬送ローラー7の小径ローラーでガラス板収納ユニット6を支持することになる。なお、本実施形態の搬送ローラー7は、ガラス収納ユニット6の底面端を支持するように配置されているが、ガラス収納ユニット6を挟持して搬送可能とするため、別の搬送ローラーをガラス収納ユニット6の底面端を支持する搬送ローラー7に対向させて設けても良い。この場合、ガラス収納ユニット6がエッチング液によって移動することを抑制することができる。
エッチング液噴射ノズル8は、エッチング液を霧状に噴射することが可能なノズルを選択すると良く、エッチング液だけを噴射する一流体ノズル又はエッチング液と気体を混合した後にこれを噴射する二流体ノズルの何れを使用しても良い。
ノズル8の配置は、搬送されているガラス板の下方からエッチング液をガラス板に向けて噴射可能なように配置されている。このノズルの配置は、ガラス板表面に対して略垂直方向からエッチング液がガラス板表面に吹き付けられるように配置されることが好ましい。そして、ガラス板のエッチング対象面全体にエッチング液を均一に吹き付けることができるように、ノズル8は、適宜配置されている。なお、ノズル8を搬送しているガラス板の上方からも噴射することができるように配置しても良く、略鉛直にしてガラス板を支持又は搬送する場合には、このガラス板の表面にエッチング液が均一に吹き付けられるようにノズル8の配置位置を変更しても良い。また、ノズル8をガラス板表面と平行に往復可動可能にして設けても良い。
ノズル8は、エッチング液貯留槽3と配管で接続される。このノズル8とエッチング液貯留槽3との配管途中には、エッチング液貯留槽3内のエッチング液をノズル8へ送液するためのポンプ9が備えられている。
エッチング液貯留槽3には、エッチング液貯留槽3内のエッチング液に生じたスラッジを除去するための貯留エッチング液内スラッジ除去装置となるポンプ11及びフィルター12が備えられている。なお、フィルター12は、スラッジを除去するものであるため、同じくスラッジを除去することが可能なフィルター、フィルタープレス、液体サイクロン及び沈殿槽等のスラッジ除去装置から一種以上を選択して、フィルター12と置換しても良い。
エッチング液貯留槽3には、さらに、エッチング液貯留槽3内部のエッチング液を攪拌可能な攪拌装置10が備えられている。そして、図示されていないエッチング液の温度を制御して一定に保つためのエッチング液の加熱装置及び冷却装置が備えられている。エッチング液の温度を一定に保つことによって、ガラス表面のエッチング速度を安定化させる。
ポンプ11及びフィルター12は、エッチング液を循環可能とするため、配管と共に、エッチング液貯留槽3に外設されている。貯留槽3内のエッチング液は、ポンプ11によって吸引及びフィルター12に向けて送液され、フィルター12を通じた後に貯留槽3に流入される。このようにエッチング液をフィルター12に通じさせることによって、エッチング貯留槽3内で事後的に析出したスラッジの除去を可能とする。
エッチング液貯留槽3には、ガラス溶解性の薬品を含有する水溶液がエッチング液として貯留されている。ガラス溶解性の薬品には、フッ化物を含有する水溶液を使用すると良く、フッ化物としては、フッ化水素、フッ化アンモニウム、フッ化カリウム、フッ化ナトリウムが例示される。またエッチング液に無機酸及び/又は有機酸を含有させても良い。無機酸としては、塩酸、硫酸、リン酸、硝酸等から一種又は二種以上を選択すると良く、有機酸としては、酢酸、コハク酸等から一種又は二種以上を選択すると良い。さらにエッチング液には、陰イオン系界面活性剤及び両性界面活性剤のうち一種以上添加しても良い。陰イオン系界面活性剤としては、スルホン酸塩系界面活性剤が例示される。両性界面活性剤としては、例えば、アミン系界面活性剤がある。このエッチング液は、10〜50℃の温度範囲における一定温度に保たれている。
エッチング液回収装置4は、エッチング液をエッチング室1から送液するためのポンプ13、開閉弁15a、15b及びフィルター14a、14bが配管によって接続されたものである。この配管の一端は、エッチング室1の底部に接続される。配管の他の一端は、エッチング液貯留槽3又は図示されていないエッチング液回収槽に接続され、本実施形態では、エッチング液貯留槽3に接続している。ポンプ13、開閉弁14及びフィルター15は、エッチング室1側からこの順序で配置されている。このエッチング装置によって、エッチング室1内のエッチング液をエッチング液貯留槽に送液回収する際に、このエッチング液内のスラッジをフィルター15a、15bで除去することができる。
エッチング装置における開閉弁及びフィルターは、複数の開閉弁及びフィルターが備えられ、本実施形態では、各2個の開閉弁15a、15b、フィルター14a、14bが備えられている。開閉弁15a、15b及びフィルター14a、14bは、一方の開閉弁15aと一方のフィルター14aが直列に接続され、他の開閉弁15bと他のフィルター14bが直列に接続されている。さらに、直列に接続された開閉弁15a及びフィルター14a並びに開閉弁15b及びフィルター14bは、並列に接続されている。本実施形態におけるエッチング装置を使用する場合、一方の開閉弁が開放されているときには、他方の開閉弁は閉鎖された状態で使用されるようにしている。そのため、エッチング室1内のエッチング液回収を中断なく行うことを可能としている。
なお、エッチング液回収装置4に使用されているフィルターは、使用後のエッチング液内に存在するスラッジを除去するものであるので、このフィルターを他のスラッジ除去装置と置換しても良い。スラッジ除去装置としては、例えば、フィルター、フィルタープレス、液体サイクロン及びスラッジ沈殿槽がある。
エッチング液除去室2には、エッチング室1から搬出されたガラス板収納ユニット6を水平にして搬送することが可能な搬送ローラー18が備えられている。また、搬送されているガラス板搬送ユニット6の上下から水を噴射して洗浄するためのノズル16が、ガラス板搬送ユニット6及びこのユニット内のガラス板に、均一に水を拭き付けられるように適宜配置されている。エッチング液除去室2内の底部は、ノズル16から噴射してガラス板に吹き付けられた水を効率よく回収するために傾斜した底部となっている。
エッチング液除去室2内の搬送ローラー18は、ガラス板収納ユニット6の搬送方向の左右両端を支持することができるものである。この搬送ローラー18は、収納ユニット6の底面から支持することが可能な配置がとられる。また、エッチング室1内の搬送ローラーと同様に、ガラス板収納ユニット6の端の上下を挟持しつつガラス板収納ユニット6を搬送することができるように、上下に対向して適宜な間隔をおいて搬送ローラーを配置していても良い。
エッチング液除去室2内のノズル16は、水貯留槽5と配管で接続されている。このノズル16と水貯留槽5との配管途中には、水貯留槽5内のエッチング液をノズル16へ送液するためのポンプ17が備えられている。
上記エッチング装置を使用して、ガラス板表面のエッチング及びガラス板からのエッチング液の除去が行われる。ガラス板表面のエッチングは、前記マスキング剤を施したガラス板を上記ガラスエッチング装置のエッチング室1内を搬送させることによって行われる。一方、ガラス板からのエッチング液の除去は、エッチング室1内を搬送した後のガラス板収納ユニット6を、エッチング液除去室2内を搬送させることによって行われる。本実施形態では、ガラス板収納ユニット6に収納したガラス板をエッチング室1及びエッチング液除去室2内を搬送することによってガラス板表面のエッチング及びガラス板からのエッチング液の除去が行われる。
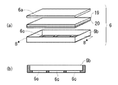
図3は、図2のマスキング剤20が被覆されたガラス板19を収納したガラス板収納ユニット6を説明するための図である。図3(a)は、図2のマスキング剤20が被覆されたガラス板19を収納したガラス板収納ユニット6の分解図であり、図3(b)は、図3(a)に示すガラス板収納ユニット6の容体6bのB−B間断面図である。ガラス板収納ユニット6は、マスキング剤20が被覆されたガラス板19の底部よりもやや大きな底部を有し、かつ、底部に開口部6cを有する容体6bと、この容体6bにガラス板19を収容した後にガラス板19を固定するための押さえ板6aからなる。この収納ユニット6に収納された状態でガラス板19が搬送ローラー7によって搬送され、ガラス板19の表面が搬送ローラー7に接することがないので、ガラス板19表面の損傷が防止される。また、容体6bにガラス板19を収容した後に押え板6aによってガラス板19の端部が挟持固定されるので、ガラス板6がガラス板収納ユニット6内で動じることが防止されることになり、その結果、ガラス板19の端部の破損も防止されることになる。
容体6bの底部の開口部6cは、マスキング剤が被覆されていないガラス板19の表面にエッチング液を吹き付け可能とするため、容体6bの底部を格子状の形状をとることによって形成されている。本実施形態では、マスキング剤19が被覆されていない部分がガラス板19表面上に9つ存在するため、容体6bの底面の開口部6cは、9つ均等に配置している。なお、ガラス板表面にマスキング剤20を被覆せずにガラス板表面のエッチングを行う場合、開口部6cは、ガラス板を支持することが可能な程度に、容体6b底面に広く設けられていれば良い。
押さえ板6aは、貫通した孔のない一枚板であるが、ガラス板19のマスキング剤20被覆面の反対面をエッチングする必要がある場合には、この反対面に開口部を設けても良い。
ガラス板収納ユニット6へのガラス板19の収納は、容体6bに、マスキング剤20被覆表面を底面としてガラス板19を嵌め込み、ガラス板19を押え板6aで押えることによってガラス板収納ユニットが組み立てられる。このガラス板収納ユニット6へのガラス板19の収納は、ガラス板がエッチング室1内を水平に搬送されるように行われる。
ガラス板は、次の動作が生じているエッチング装置のエッチング室1及びエッチング液除去室2内をガラス収納ユニット6が搬送されている間に、エッチング及びエッチング液の除去が行われる。
エッチング液貯留槽3に貯留されている一定温度に保たれたエッチング液がポンプ9によってエッチング室1内のノズル8に供給される。エッチング液が供給されたノズル8は、エッチング液をガラス板表面に対して略垂直、かつ、均一に吹き付ける。吹き付けられた後のエッチング液は、エッチング室1底部に集まり、この集まったエッチング液は、エッチング液回収装置4のポンプ13によってエッチング室1内から吸引され、ポンプ13から吐出したエッチング液はフィルター14a又は14bを通過した後、エッチング液貯留槽3に送液される。
水貯留槽5に貯留された水は、ポンプ17を通じてノズル16に供給される。供給された水は、ノズル16からガラス板に向けて吹き付けられる。吹き付けられた後の水は、エッチング液除去室2の底部に集まり、この底部に集まった水は、エッチング液除去室2の底部に設けられた弁を開放することによってエッチング液除去室から排出される。
図4は、ガラス板収納ユニット6が搬送ローラー7によってガラスエッチング室内を搬送される状態を表した平面図である。図5は、図4のC−C間断面模式図である。ガラス板収納ユニット6は、その底面が搬送ローラー7の小径の円柱形ローラーに支持されながら搬送される。このとき、ガラス板収納ユニット6が進行方向の左右に揺動することは、小径の円柱形ローラーに連結した円柱形ローラーがその左右の揺動範囲を制限することになるので、抑制されることになる。
また、ガラス板収納ユニット6が水平にして搬送することに伴い、ユニット6内のガラス板19も水平にして搬送される。搬送速度は、ガラス表面のエッチング量がガラス表面とエッチング液との接触時間に関係するため、目的とするガラス表面のエッチング量によって適宜変更されることになる。ガラス収納ユニット6は、エッチング室1内を搬送された後に、続いてエッチング液除去室2に搬送されることによって、エッチング液が除去されることになる。
図6は、ガラス板19表面がエッチングされる過程を説明するための図である。図6(a)は、図2(b)のマスキング剤20が被覆されたガラス板19の上下を逆にした図である。このガラス板19は、エッチング前の表面形状をとっている。
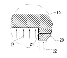
図6(b)は、マスキング剤20が被覆されたガラス板20にエッチング液が吹き付けられている状態を示した図である。マスキング剤20が被覆されていないガラス板19の表面にエッチング液を吹き付けることによって、エッチングされ、ガラス板表面19の表面には、凹状部分が形成する。図7は、図6の破線部分の拡大図である。ガラス板19にエッチング液の吹き付け22が行われているので、形成される凹部の角にまでエッチング液が行き渡り、凹部底面の曲面化が抑制された凹部形成が可能となる。また、ガラスとエッチング液との反応によって生じたスラッジが、形成される凹状部分に付着しても即座に除去されることになる。また、ガラス板19とマスキング剤20の隙間21があっても、マスキング剤20がエッチング液の吹き付け22によって押さえつけられることになり、隙間21にエッチング液が侵入して隙間21の拡大を抑制するので、マスキング剤20の剥離が抑制される。
図6(c)は、ガラス板19表面のエッチング終了後、エッチング液を除去及びマスキング剤20を除去したガラス板19を表す図である。
上記のようにエッチングしたガラス板19を、所定の切断パターンで切断して、ELDパネルのガラスキャップに使用することができる。また、このガラスキャップを使用したELDパネルを使用してELDを製造する事が可能である。
上記の実施形態では、ガラス板表面にマスキング剤を被覆した実施形態を示したものであるが、ガラス板にマスキング剤を被覆していない場合であっても良い。なお、マスキング剤が被覆されていないガラス板は、LCDパネルやPDPパネルに使用することができる。
図8は、マスキング剤が被覆されていないガラス板24を収納したガラス板収納ユニット23を説明するための図である。図8(a)は、ガラス板24を収納したガラス板収納ユニット23の分解図であり、図8(b)は、図8(a)に示すガラス板収納ユニット23の容体23bのD−D間断面図である。LCDパネルやPDPパネルに使用することができるガラス板は、例えば、図8に示したガラス板収納ユニットを使用してエッチングされる。ガラス板収納ユニット23は、図3に示した収納ユニット6と同じく、ガラス板24を収容できる容体23bと、この容体23bに収容されたガラス板24を押さえる押さえ板23aからなる。容体23bには、エッチング液をガラス板に吹き付けることができるように、開口部23cが設けられている。図8に示した収納ユニット23は、容体23bの開口部23cの形状が単一の矩形となっていることのみ図3に示した収納ユニット6と異なり、これ以外の点については、図3に示した収納ユニットと異なるところはない。
また、上記実施形態は、ELDパネルに使用するガラスキャップを製造することに利用することができるエッチング方法であるが、マスキング剤の被覆を行うパターンに応じて、種々の形状の凹部をガラス板表面上に形成することも可能である。例えば、円柱状の凹部分をガラス表面に形成することも可能であり、この凹部分をアライメントマークとして使用することも可能である。
以下、実施例に基づき本発明のエッチング方法によって形成される凹部について説明する。400mm×500mm×0.7mmのガラス板表面にマスキング剤を被覆した後、エッチング、エッチング液の除去、マスキング剤の除去操作を順次行うことによって、ガラス表面に凹部を形成した。マスキング剤の被覆及びエッチング操作の詳細は、以下の通りである。
(マスキング剤の被覆)
スクリーン印刷法を使用してマスキング剤をガラスの一表面に被覆した。このとき、マスキング剤が被覆されていない矩形の部分を形成した。
(エッチング)
開口部を有する容体と押さえ板からなるガラス板収納ユニットにマスキング剤を被覆したガラス板を収納した後、マスキング剤が被覆されていない矩形部分に霧状のエッチング液を吹き付けることによってエッチングを行った。
ガラス収納ユニットへのガラス板の収納は、開口部を有する容体にガラス板を収容し、押さえ板でガラス板を挟持固定することによって行った。容体へのガラス板の収容は、マスキング剤を被覆したガラス表面を、開口部側に向けて収容した。
マスキング剤が被覆されていない矩形部分への霧状エッチング液の吹き付けは、ガラス収納ユニットを水平かつ開口部が底面となるようにし、矩形部分に対してほぼ垂直にしてエッチング液を矩形部分に吹き付けた。矩形部分は、ガラス板表面が露呈しており、この露呈しているガラス板表面にエッチング液が完全に吹き付けられるようにした。
エッチング液の吹き付けは、エッチング液に、フッ化水素が4.0重量%、硝酸3.0%の水溶液を使用し、温度を25±1℃に保って、ノズルから3.2L/分でエッチング液を噴射することによってエッチング液の吹き付けを行った。このとき、ガラス板表面を約300μmエッチングした。
上記エッチングを行ったガラス表面には、凹部が形成されていることが目視で確認できた。また、目視で確認したところ、マスキング剤の剥離は認められず、形成された凹部の底部の角形状は、曲面化していることも確認されなかった。
本発明に係るエッチング装置の概略図である。 マスキング剤が被覆されたガラス板を表す図である。 図2のマスキング剤が被覆されたガラス板を収納したガラス板収納ユニットを説明するための図である。 ガラス板収納ユニットが搬送装置によってガラスエッチング室内を搬送される状態を表した平面図である。 図4のB−B間断面模式図である。 ガラス板表面がエッチングされる過程を説明するための図である。 図6の破線部分の拡大図である。 マスキング剤が被覆されていないガラス板を収納したガラス板収納ユニットを説明するための図である。 FPDの一つであるELDパネルの一例を表した図である。 ガラス板をエッチング液に浸漬してエッチングする場合におけるガラス表面上の変化を表す断面模式図である。 図10の破線部分の拡大図である。 ガラス板をエッチング液に浸漬した場合のエッチング進行状況を表したガラス板の断面模式図である。
符号の説明
1 エッチング室
2 エッチング液除去室
3 エッチング液貯留槽
4 エッチング液回収装置
5 水貯留槽
6、23 ガラス板収納ユニット
7、18 搬送ローラー
8、16 ノズル
9、11、13 ポンプ
12、14a、14b フィルター
15a、15b 開閉弁
19、24 ガラス板
20 マスキング剤

Claims (18)

  1. ガラス板の表面にエッチング液を吹き付けて前記ガラス板表面をエッチングするエッチング工程と、
    前記吹き付けたエッチング液を前記ガラス板から除去するエッチング液除去工程
    を備えることを特徴とするガラス板表面のエッチング方法。
  2. 前記エッチング方法は、開口部を有し、かつ、ガラス板の端部を挟持固定して収納するガラス板収納ユニットに収納された前記ガラス板の表面をエッチングするものである請求項1に記載のエッチング方法。
  3. 前記エッチング工程前に、ガラス板表面に所定のパターンでマスキング剤を被覆するマスキング剤被覆工程を備える請求項1又は2に記載のエッチング方法。
  4. 前記エッチング工程は、前記ガラス板を略水平にし、前記ガラス板の底面にエッチング液を吹き付けて前記ガラス板表面をエッチングする請求項1〜3のいずれかに記載のエッチング方法。
  5. 前記エッチング工程は、前記ガラス板の底面の反対面にエッチング液を吹き付けて前記ガラス板表面をエッチングする請求項4に記載のエッチング方法。
  6. 前記エッチング工程は、前記ガラス板を略鉛直にし、前記ガラス板の表面にエッチング液を吹き付けて前記ガラス板表面をエッチングする請求項1〜3のいずれかに記載のエッチング方法。
  7. ガラス板を支持可能なガラス板支持部と、
    前記支持部に支持されているガラス板に向けてエッチング液を噴射するエッチング液噴射ノズルと、
    前記エッチング液を該エッチング液の温度を制御して貯留するエッチング液貯留槽と、
    前記噴射されたエッチング液を回収するエッチング液回収装置
    を備えることを特徴とするガラス板エッチング装置。
  8. 前記ガラス板支持部は、ガラス板を略水平に支持可能な支持部であり、前記エッチング液噴射ノズルは、前記ガラスの下方からエッチング液を前記ガラス板の底面に向けて噴射するノズルである請求項7に記載のエッチング装置。
  9. 前記ガラス板支持部は、ガラス板を略鉛直に支持可能な支持部である請求項7に記載のエッチング装置。
  10. 前記支持部は、ガラス板の端部を支持するものである請求項8に記載のエッチング装置。
  11. 前記支持部は、ガラス板を搬送可能な搬送装置である請求項10に記載のエッチング装置。
  12. 前記搬送装置は、搬送する方向の左右からガラス板の両端を支持する搬送ローラーである請求項11に記載のエッチング装置。
  13. 前記搬送ローラーは、平面を有する基部とこの基部の平面径間よりも小径の略円柱形ローラーとを前記基部の平面と前記ローラーの平面で連結した形状の搬送ローラーであり、前記小径ローラーがガラス板を支持する請求項12に記載のエッチング装置。
  14. 前記エッチング液噴射ノズルは、前記ガラスの上方からエッチング液を前記ガラス板の底面の反対面に向けて噴射する請求項13に記載のエッチング装置。
  15. 前記回収装置は、回収したエッチング液を前記エッチング液貯留槽に送液するものである請求項7〜14のいずれかに記載のエッチング装置。
  16. 前記回収装置は、回収するエッチング液中に存在するスラッジ除去装置を備える請求項7〜15のいずれかに記載のエッチング装置。
  17. 請求項1〜6のいずれかに記載のエッチング方法によってエッチングしたフラットパネルディスプレイ用ガラス板。
  18. 請求項17に記載のガラス板を使用したフラットパネルディスプレイ。
JP2004167969A 2004-03-17 2004-06-07 ガラス基板の製造方法 Expired - Fee Related JP4071220B2 (ja)

Priority Applications (5)

Application Number Priority Date Filing Date Title
JP2004167969A JP4071220B2 (ja) 2004-03-17 2004-06-07 ガラス基板の製造方法
SG200404296A SG115713A1 (en) 2004-03-17 2004-07-30 Glass plate surface etching method, glass plate etching apparatus, glass plate for flat panel display, and flat panel display
TW093123095A TWI250136B (en) 2004-03-17 2004-08-02 Glass plate surface etching method, glass plate etching apparatus, glass plate for flat panel display, and flat panel display
CNB2004100641632A CN100513340C (zh) 2004-03-17 2004-08-20 玻璃板表面蚀刻方法和装置、及玻璃板和平面显示器
KR1020040068837A KR100725468B1 (ko) 2004-03-17 2004-08-31 유리판 표면의 에칭 방법, 유리판 에칭 장치, 평판디스플레이용 유리판 및 평판 디스플레이

Applications Claiming Priority (2)

Application Number Priority Date Filing Date Title
JP2004075585 2004-03-17
JP2004167969A JP4071220B2 (ja) 2004-03-17 2004-06-07 ガラス基板の製造方法

Related Child Applications (1)

Application Number Title Priority Date Filing Date
JP2007152268A Division JP2007284345A (ja) 2004-03-17 2007-06-08 フラットパネルディスプレイ用ガラス板の製造方法及びその装置

Publications (2)

Publication Number Publication Date
JP2005298314A true JP2005298314A (ja) 2005-10-27
JP4071220B2 JP4071220B2 (ja) 2008-04-02

Family

ID=35041438

Family Applications (1)

Application Number Title Priority Date Filing Date
JP2004167969A Expired - Fee Related JP4071220B2 (ja) 2004-03-17 2004-06-07 ガラス基板の製造方法

Country Status (5)

Country Link
JP (1) JP4071220B2 (ja)
KR (1) KR100725468B1 (ja)
CN (1) CN100513340C (ja)
SG (1) SG115713A1 (ja)
TW (1) TWI250136B (ja)

Cited By (8)

* Cited by examiner, † Cited by third party
Publication number Priority date Publication date Assignee Title
KR100824544B1 (ko) 2006-09-18 2008-04-23 (주)에스티아이 식각 장치 및 식각방법
JP2008146072A (ja) * 2006-12-08 2008-06-26 Lg Phillips Lcd Co Ltd 基板エッチング装置及びこれを利用した液晶表示素子製造ライン
JP2009249276A (ja) * 2008-04-10 2009-10-29 M M Tech Co Ltd 下向き式基板薄型化装置及びこれを用いた薄型化システム
KR100943321B1 (ko) 2008-03-03 2010-02-19 (주)세미로드 유리 식각 장치와 유리 기판의 슬러지 제거 방법
US7823595B2 (en) 2006-07-04 2010-11-02 Nec Corporation Apparatus for etching substrate and method of fabricating thin-glass substrate
WO2013061764A1 (ja) * 2011-10-28 2013-05-02 株式会社Nsc ガラス基板の製造方法
JP5761187B2 (ja) * 2010-06-21 2015-08-12 旭硝子株式会社 ガラス板の研磨方法、ガラス板の製造方法、およびガラス板の製造装置
CN117396447A (zh) * 2021-05-21 2024-01-12 康宁股份有限公司 基于坯棒的多纤芯光纤和形成方法

Families Citing this family (28)

* Cited by examiner, † Cited by third party
Publication number Priority date Publication date Assignee Title
KR100741291B1 (ko) * 2006-02-14 2007-07-23 에버테크노 주식회사 Lcd 유리 슬리밍장치
KR100732019B1 (ko) * 2006-02-17 2007-06-25 (주)지원테크 유리 기판의 박판화 장치
KR20070105699A (ko) * 2006-04-27 2007-10-31 삼성전자주식회사 기판 식각 장치 및 이를 이용한 기판 식각 방법
KR101300524B1 (ko) * 2006-09-19 2013-09-02 (주)에스티아이 식각장치 및 식각방법
KR100865767B1 (ko) * 2007-03-15 2008-10-28 우진선행기술 주식회사 기판 슬림화 장치 및 기판 슬림화 방법
KR100732016B1 (ko) * 2007-03-22 2007-06-25 (주)지원테크 유리 기판의 박판화 장치
KR100801957B1 (ko) * 2007-06-26 2008-02-12 이민철 에칭 키트
KR100943756B1 (ko) * 2007-10-15 2010-02-23 우진선행기술 주식회사 기판 슬림화 장치
KR100860294B1 (ko) * 2008-01-09 2008-09-25 주식회사 이코니 유리기판 에칭 장치와 상기 에칭 장치에 의하여 제조된유리박판
CN101630635B (zh) * 2009-08-25 2011-11-30 满纳韩宏电子科技(南京)有限公司 玻璃基板蚀刻装置
KR101007306B1 (ko) * 2010-02-23 2011-01-13 주식회사 엠엠테크 상부 하향 분사식 기판 에칭 장치
CN102653451A (zh) * 2011-03-01 2012-09-05 三福化工股份有限公司 玻璃基板连续结晶式化学蚀刻方法与设备
CN102730956B (zh) * 2011-04-11 2015-08-26 诺发光电股份有限公司 保护玻璃的加工方法
KR101277161B1 (ko) * 2011-07-08 2013-06-20 주식회사 엠엠테크 글라스 박형화 시스템
JP5317304B2 (ja) * 2012-01-31 2013-10-16 株式会社Nsc 化学研磨装置
KR20130092713A (ko) * 2012-02-13 2013-08-21 (주)미코씨엔씨 터치스크린용 강화 유리 기판의 가공방법
JP5340457B1 (ja) * 2012-06-06 2013-11-13 株式会社Nsc 化学研磨装置
KR101387058B1 (ko) * 2012-10-11 2014-04-21 주식회사 유플러스비젼 저반사 나노구조의 유리기판 제조방법 및 이를 위한 부식액 조성물
CN104176943A (zh) * 2013-05-24 2014-12-03 中国科学院微电子研究所 一种增加石英片表面刻蚀粗糙度的方法
CN104761150B (zh) * 2015-03-16 2017-09-22 南昌欧菲光学技术有限公司 玻璃蚀刻液、利用该蚀刻液蚀刻玻璃的方法、盖板玻璃及其制备方法
JP6651127B2 (ja) * 2015-09-11 2020-02-19 日本電気硝子株式会社 ガラス板の製造方法及びその製造装置
JP6283062B2 (ja) * 2016-05-31 2018-02-21 株式会社Nsc 表示装置製造方法
TWI649285B (zh) * 2016-06-07 2019-02-01 全鴻精研股份有限公司 水平式玻璃蝕刻的方法
TWI613167B (zh) * 2016-11-18 2018-02-01 宏益玻璃科技股份有限公司 一種抗眩光強化抗菌及抗指紋之玻璃面板製作方法
TWI829673B (zh) * 2018-03-07 2024-01-21 美商康寧公司 玻璃基板黏接控制
JP7708770B2 (ja) * 2020-01-17 2025-07-15 コーニング インコーポレイテッド 基板面を処理する方法、そのための装置、及び処理されたガラス物品
KR20240027709A (ko) * 2021-07-01 2024-03-04 코닝 인코포레이티드 유리-계 시트를 에칭하는 방법
KR102400576B1 (ko) * 2021-09-02 2022-05-19 오성수 유리판의 단면 가공 방법

Family Cites Families (9)

* Cited by examiner, † Cited by third party
Publication number Priority date Publication date Assignee Title
GB2103548B (en) * 1981-08-20 1985-01-30 Glaverbel Method of reducing light reflection from glass surfaces
JPS63121678A (ja) 1986-11-11 1988-05-25 Dainippon Screen Mfg Co Ltd クロム被膜のエツチング方法及びエツチング装置
KR0180850B1 (ko) * 1996-06-26 1999-03-20 구자홍 유리기판 에칭장치
JP3623094B2 (ja) 1998-01-30 2005-02-23 セントラル硝子株式会社 ガラス板面の酸処理方法およびその装置
JPH11307494A (ja) 1998-04-17 1999-11-05 Dainippon Screen Mfg Co Ltd 基板処理装置
JP2000323813A (ja) 1999-05-12 2000-11-24 Dainippon Screen Mfg Co Ltd 基板処理装置
CN1306912A (zh) * 2000-01-21 2001-08-08 张建华 玻璃本色砂面装饰制品及其化学生产方法
CN2492564Y (zh) * 2001-08-16 2002-05-22 铼宝科技股份有限公司 有机电致发光显示面板铟锡氧化物电极的电化学蚀刻平坦化装置
SG121817A1 (en) * 2002-11-22 2006-05-26 Nishiyama Stainless Chemical Co Ltd Glass substrate for flat planel display, and process for producing the same

Cited By (16)

* Cited by examiner, † Cited by third party
Publication number Priority date Publication date Assignee Title
US7823595B2 (en) 2006-07-04 2010-11-02 Nec Corporation Apparatus for etching substrate and method of fabricating thin-glass substrate
US8409451B2 (en) 2006-07-04 2013-04-02 Nec Corporation Apparatus for etching substrate and method of fabricating thin-glass substrate
US20100326953A1 (en) * 2006-07-04 2010-12-30 Nec Corporation Apparatus for etching substrate and method of fabricating thin-glass substrate
KR100824544B1 (ko) 2006-09-18 2008-04-23 (주)에스티아이 식각 장치 및 식각방법
US9411178B2 (en) 2006-12-08 2016-08-09 Lg Display Co., Ltd. Apparatus for etching substrate and fabrication line for fabricating liquid crystal display using the same
US8293065B2 (en) 2006-12-08 2012-10-23 Lg Display Co., Ltd. Apparatus for etching substrate and fabrication line for fabricating liquid crystal display using the same
JP2008146072A (ja) * 2006-12-08 2008-06-26 Lg Phillips Lcd Co Ltd 基板エッチング装置及びこれを利用した液晶表示素子製造ライン
KR100943321B1 (ko) 2008-03-03 2010-02-19 (주)세미로드 유리 식각 장치와 유리 기판의 슬러지 제거 방법
JP2009249276A (ja) * 2008-04-10 2009-10-29 M M Tech Co Ltd 下向き式基板薄型化装置及びこれを用いた薄型化システム
JP5761187B2 (ja) * 2010-06-21 2015-08-12 旭硝子株式会社 ガラス板の研磨方法、ガラス板の製造方法、およびガラス板の製造装置
WO2013061764A1 (ja) * 2011-10-28 2013-05-02 株式会社Nsc ガラス基板の製造方法
JP2013095617A (ja) * 2011-10-28 2013-05-20 Nsc:Kk ガラス基板の製造方法
KR20140093934A (ko) * 2011-10-28 2014-07-29 가부시키가이샤 엔에스씨 유리 기판의 제조방법
TWI601600B (zh) * 2011-10-28 2017-10-11 Nsc Co Ltd Method of manufacturing glass substrate
KR101988998B1 (ko) 2011-10-28 2019-06-13 가부시키가이샤 엔에스씨 유리 기판의 제조방법
CN117396447A (zh) * 2021-05-21 2024-01-12 康宁股份有限公司 基于坯棒的多纤芯光纤和形成方法

Also Published As

Publication number Publication date
KR20050093669A (ko) 2005-09-23
KR100725468B1 (ko) 2007-06-08
SG115713A1 (en) 2005-10-28
CN100513340C (zh) 2009-07-15
TWI250136B (en) 2006-03-01
TW200531945A (en) 2005-10-01
CN1669967A (zh) 2005-09-21
JP4071220B2 (ja) 2008-04-02

Similar Documents

Publication Publication Date Title
JP4071220B2 (ja) ガラス基板の製造方法
TWI421973B (zh) 基板處理裝置
JP4939545B2 (ja) 連続方法における平面状薄型基板の湿式化学処理のための装置
JP5345265B1 (ja) 電子機器用カバーガラスの製造方法および製造装置
JP2007284345A (ja) フラットパネルディスプレイ用ガラス板の製造方法及びその装置
CN101169599A (zh) 利用处理液除去基板的光刻胶并用臭氧处理处理液
WO2011142060A1 (ja) 洗浄方法及び洗浄装置
US20120312782A1 (en) Etching method and etching device
JP2007294606A (ja) パネルのエッチング製作プロセスの方法及びその装置
TWI239650B (en) Method for manufacturing the display device
CN102463237A (zh) 基底清洁系统和方法
JP2007217276A (ja) ガラス基板の薄板化装置
JP2014069126A (ja) 基板処理装置
JP2005244162A (ja) 基板処理装置
CN211828692U (zh) 基板处理装置以及吐出喷嘴
TWI391349B (zh) 基板薄型化裝置,基板薄型化方法以及基板薄型化組件
JP2005211718A (ja) 基板処理装置
JP2551123B2 (ja) 連続表面処理装置
JP2003142453A (ja) ウエット処理装置およびウエット処理方法
JP2007196094A (ja) 処理液供給ユニットおよびそれを備えた基板処理装置
JP5202400B2 (ja) 基板処理装置および基板処理方法
HK1081169A (en) Etching method and apparatus for glass plate for display, and said glass plate and display
JP4206372B2 (ja) 剥離装置
JP2013075794A (ja) ガラスカレットの除去方法
JP2006303042A (ja) 基板表面処理装置

Legal Events

Date Code Title Description
A977 Report on retrieval

Free format text: JAPANESE INTERMEDIATE CODE: A971007

Effective date: 20070208

A131 Notification of reasons for refusal

Free format text: JAPANESE INTERMEDIATE CODE: A131

Effective date: 20070410

A521 Written amendment

Free format text: JAPANESE INTERMEDIATE CODE: A523

Effective date: 20070608

A02 Decision of refusal

Free format text: JAPANESE INTERMEDIATE CODE: A02

Effective date: 20070904

A521 Written amendment

Free format text: JAPANESE INTERMEDIATE CODE: A523

Effective date: 20071003

A911 Transfer of reconsideration by examiner before appeal (zenchi)

Free format text: JAPANESE INTERMEDIATE CODE: A911

Effective date: 20071127

TRDD Decision of grant or rejection written
A01 Written decision to grant a patent or to grant a registration (utility model)

Free format text: JAPANESE INTERMEDIATE CODE: A01

Effective date: 20071225

A61 First payment of annual fees (during grant procedure)

Free format text: JAPANESE INTERMEDIATE CODE: A61

Effective date: 20080116

R150 Certificate of patent or registration of utility model

Free format text: JAPANESE INTERMEDIATE CODE: R150

Ref document number: 4071220

Country of ref document: JP

Free format text: JAPANESE INTERMEDIATE CODE: R150

FPAY Renewal fee payment (event date is renewal date of database)

Free format text: PAYMENT UNTIL: 20110125

Year of fee payment: 3

FPAY Renewal fee payment (event date is renewal date of database)

Free format text: PAYMENT UNTIL: 20110125

Year of fee payment: 3

FPAY Renewal fee payment (event date is renewal date of database)

Free format text: PAYMENT UNTIL: 20120125

Year of fee payment: 4

R250 Receipt of annual fees

Free format text: JAPANESE INTERMEDIATE CODE: R250

FPAY Renewal fee payment (event date is renewal date of database)

Free format text: PAYMENT UNTIL: 20120125

Year of fee payment: 4

S533 Written request for registration of change of name

Free format text: JAPANESE INTERMEDIATE CODE: R313533

FPAY Renewal fee payment (event date is renewal date of database)

Free format text: PAYMENT UNTIL: 20120125

Year of fee payment: 4

R350 Written notification of registration of transfer

Free format text: JAPANESE INTERMEDIATE CODE: R350

FPAY Renewal fee payment (event date is renewal date of database)

Free format text: PAYMENT UNTIL: 20130125

Year of fee payment: 5

R250 Receipt of annual fees

Free format text: JAPANESE INTERMEDIATE CODE: R250

FPAY Renewal fee payment (event date is renewal date of database)

Free format text: PAYMENT UNTIL: 20140125

Year of fee payment: 6

R250 Receipt of annual fees

Free format text: JAPANESE INTERMEDIATE CODE: R250

R250 Receipt of annual fees

Free format text: JAPANESE INTERMEDIATE CODE: R250

R250 Receipt of annual fees

Free format text: JAPANESE INTERMEDIATE CODE: R250

R250 Receipt of annual fees

Free format text: JAPANESE INTERMEDIATE CODE: R250

R250 Receipt of annual fees

Free format text: JAPANESE INTERMEDIATE CODE: R250

R250 Receipt of annual fees

Free format text: JAPANESE INTERMEDIATE CODE: R250

R250 Receipt of annual fees

Free format text: JAPANESE INTERMEDIATE CODE: R250

LAPS Cancellation because of no payment of annual fees