JP2005297963A - 電子検出器用保持ポケット - Google Patents

電子検出器用保持ポケット Download PDF

Info

Publication number
JP2005297963A
JP2005297963A JP2005117476A JP2005117476A JP2005297963A JP 2005297963 A JP2005297963 A JP 2005297963A JP 2005117476 A JP2005117476 A JP 2005117476A JP 2005117476 A JP2005117476 A JP 2005117476A JP 2005297963 A JP2005297963 A JP 2005297963A
Authority
JP
Japan
Prior art keywords
tire
layer
cavity
rubber
lip
Prior art date
Legal status (The legal status is an assumption and is not a legal conclusion. Google has not performed a legal analysis and makes no representation as to the accuracy of the status listed.)
Granted
Application number
JP2005117476A
Other languages
English (en)
Other versions
JP4884692B2 (ja
JP2005297963A5 (ja
Inventor
Martine Borot
ボロー マルティーヌ
Current Assignee (The listed assignees may be inaccurate. Google has not performed a legal analysis and makes no representation or warranty as to the accuracy of the list.)
Michelin Recherche et Technique SA Switzerland
Michelin Recherche et Technique SA France
Societe de Technologie Michelin SAS
Original Assignee
Michelin Recherche et Technique SA Switzerland
Michelin Recherche et Technique SA France
Societe de Technologie Michelin SAS
Priority date (The priority date is an assumption and is not a legal conclusion. Google has not performed a legal analysis and makes no representation as to the accuracy of the date listed.)
Filing date
Publication date
Application filed by Michelin Recherche et Technique SA Switzerland, Michelin Recherche et Technique SA France, Societe de Technologie Michelin SAS filed Critical Michelin Recherche et Technique SA Switzerland
Publication of JP2005297963A publication Critical patent/JP2005297963A/ja
Publication of JP2005297963A5 publication Critical patent/JP2005297963A5/ja
Application granted granted Critical
Publication of JP4884692B2 publication Critical patent/JP4884692B2/ja
Anticipated expiration legal-status Critical
Expired - Fee Related legal-status Critical Current

Links

Images

Classifications

    • BPERFORMING OPERATIONS; TRANSPORTING
    • B60VEHICLES IN GENERAL
    • B60CVEHICLE TYRES; TYRE INFLATION; TYRE CHANGING; CONNECTING VALVES TO INFLATABLE ELASTIC BODIES IN GENERAL; DEVICES OR ARRANGEMENTS RELATED TO TYRES
    • B60C23/00Devices for measuring, signalling, controlling, or distributing tyre pressure or temperature, specially adapted for mounting on vehicles; Arrangement of tyre inflating devices on vehicles, e.g. of pumps or of tanks; Tyre cooling arrangements
    • B60C23/02Signalling devices actuated by tyre pressure
    • B60C23/04Signalling devices actuated by tyre pressure mounted on the wheel or tyre
    • B60C23/0491Constructional details of means for attaching the control device
    • B60C23/0493Constructional details of means for attaching the control device for attachment on the tyre
    • BPERFORMING OPERATIONS; TRANSPORTING
    • B29WORKING OF PLASTICS; WORKING OF SUBSTANCES IN A PLASTIC STATE IN GENERAL
    • B29DPRODUCING PARTICULAR ARTICLES FROM PLASTICS OR FROM SUBSTANCES IN A PLASTIC STATE
    • B29D30/00Producing pneumatic or solid tyres or parts thereof
    • B29D30/06Pneumatic tyres or parts thereof (e.g. produced by casting, moulding, compression moulding, injection moulding, centrifugal casting)
    • B29D30/08Building tyres
    • B29D30/20Building tyres by the flat-tyre method, i.e. building on cylindrical drums
    • BPERFORMING OPERATIONS; TRANSPORTING
    • B29WORKING OF PLASTICS; WORKING OF SUBSTANCES IN A PLASTIC STATE IN GENERAL
    • B29DPRODUCING PARTICULAR ARTICLES FROM PLASTICS OR FROM SUBSTANCES IN A PLASTIC STATE
    • B29D30/00Producing pneumatic or solid tyres or parts thereof
    • B29D30/0061Accessories, details or auxiliary operations not otherwise provided for
    • B29D2030/0077Directly attaching monitoring devices to tyres before or after vulcanization, e.g. microchips

Landscapes

  • Engineering & Computer Science (AREA)
  • Mechanical Engineering (AREA)
  • Tyre Moulding (AREA)
  • Tires In General (AREA)
  • Measuring Fluid Pressure (AREA)
  • Fluid-Damping Devices (AREA)

Abstract

【課題】 電子監視モジュールを着脱自在に保持できるようにしたタイヤを提供する。
【解決手段】 着脱自在な電子監視モジュール(D)を受け入れるよう設計されたキャビティ(C)を有するタイヤ(P)であって、キャビティ(C)がタイヤ(P)の構成部品の内部に形成されているタイヤにおいて、キャビティ(C)の開口部(O)が、タイヤ(P)の内容積部内へ開口し、タイヤ(P)の内容積部に隣接したゴム異形要素の組立体により形成された第1の層(3)の突合せ継ぎ部(J)の一部上に位置していることを特徴とするタイヤ(P)。
【選択図】 図1

Description

本発明は、一般に電子素子から成る監視モジュールをタイヤの内面上に着脱自在に保持することができる装置に関する。
タイヤに電子モジュールを用いることにより、製造又は人員、機材等の配備を監視する目的でデータを収集し、蓄積し、そして伝送し、より一般的に、ユーザにタイヤの寿命全体を通じてタイヤの性能の変遷について知らせることから成る多くの用途が実行可能になる。
電子監視モジュールは、独立した電気エネルギ供給システム、例えばバッテリー又は誘導結合システムに接続された能動コンポーネントを有し、その目的は、本発明の要部をなさない。監視モジュールは、所望の情報を外部モジュールと交換するよう設計されており、外部モジュールは、高周波を介してユーザインタフェースとして働き、その周波数及び電力は、特定の伝送プロトコルによって定められる。モジュールは一般に、電子コンポーネントを衝撃並びにタイヤの内部雰囲気及びその周囲環境に関連した過酷さから保護するようになった可撓性又は剛性保護カバーの内部に配置される。
タイヤをいったん車輪に装着すると、タイヤによって形成されたキャビティ内部に位置決めされた監視モジュールは、多種多様な支持体上に配置できる。かくして、監視モジュールは、車輪リングに固定され、タイヤの内壁に固定され又は結合され、或いはタイヤのコンポーネント内に一体化された弁に固定できる。これら解決策の中の1つの選択は、タイヤの性状及びタイヤにおける力、電子モジュールのエネルギ源の性状、監視される情報及び保守目的で望ましい接近性で決まる。
米国特許第5,500,065号明細書 米国特許第6,244,104号明細書
弾性ポケットをタイヤの内壁に設ける解決策が、例えば米国特許第5,500,065号明細書に記載されている。しかしながら、かかる解決策は、タイヤを製造した後に位置決めされる必要があるという欠点を有している。これは、例えば米国特許第6,244,104号明細書に記載されているように、支持体又は弾性キャビティを受け入れる表面の部分を準備し、次に支持体を表面の上記一部上に結合し又は加硫することから成る特別な方法を実施することを必然的に伴う。
本発明の目的は、監視モジュールを受け入れるよう設計されたキャビティを有するタイヤを提案することにより状況を改善することにあり、その製造方法は、公知の方法と比較して顕著な利点を奏する。
上記キャビティは、上記タイヤのコンポーネント内に配置され、本発明のタイヤは、キャビティの開口部が、タイヤの内容積部内へ開口し、タイヤの内容積部に隣接したゴム異形要素の組立体により形成された第1の層の突合せ継ぎ部の一部上に位置していることを特徴とする。タイヤの内容積部は、圧縮空気を収容するよう設計されたタイヤの部分によって定められる。
この形態により、キャビティを第1の層と、第1の層とのゴム結合部を有するゴム異形要素により形成された第2の層との間に設けることができる。
キャビティは、第1の層と第2の層との間にゴム結合部が局所的に存在しないことにより形成される。
この場合、タイヤの成型作業中、着脱自在になっているにせよ永続的にとどまるようになっているにせよいずれにせよ、加硫時に第1の層と第2の層との間のゴム結合部の形成を阻止する少なくとも1つの粘着防止フェースを備えた中間要素を介在させれば十分である。
以下の説明は、添付の図面を参照して本発明のタイヤの非限定的な例示の実施形態を説明しようとするものである。
以下の説明において、図1〜図21に示されているように、同一の符号は同一の機能を有する要素を示すために用いられる。
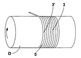
図1は、キャビティ(C)を備えたタイヤ(P)の部分斜視図であり、キャビティの開口部又は口(O)は、上記タイヤの内容積部内へ開口し、上記タイヤの内容積部に隣接した第1の層(3)を形成するゴム異形要素の突合せ継ぎ部(J)の一部上に位置決めされている。
電子デバイス(図示せず)が開口部(O)を通って直接挿入される。これは、第1の層によって及ぼされる弾性力によってキャビティ(C)内にしっかりと保持され、この第1の層は、上記デバイスをキャビティ内へ導入することにより張力が加えられる。
上記第1の層(3)の構成材料の弾性率及び厚さは、その機能を実行できるよう選択されたものでなければならない。当業者であれば、キャビティの位置及び第1の層をその正確な位置に構成する材料の性質に従ってこれらの値を決定することに困難はないであろう。
キャビティの寸法形状はこの中に挿入される電子デバイスの寸法形状に合わせて調節される。
図1は、第1の層(3)を構成する異形要素の突合せ継ぎ部(J)の向きが実質的に半径方向(ラジアル)であるタイヤを示している。本発明を第1の層(3)を形成するゴム異形要素の突合せ継ぎ部(J)の角度の向きが半径方向の向きとは異なり、円周方向に対し0゜〜90゜であるのがよい状態でちょうど良く実施できることに注目されたい。
これと同様に、キャビティの半径方向位置を、下方領域を補強するビードワイヤを含むビードヒール帯域とそのクラウンの下に位置した部品であるタイヤ(P)の内側クラウンとの間の任意の場所に選択するのがよい。それにもかかわらず、選択された位置は、タイヤの使用中、問題の領域に加わる機能的力と適合する必要がある。
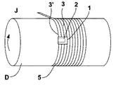
図2は、本発明のキャビティの単純化された実施形態の断面図であり、上記キャビティ(C)は、第1の層(3)と第2の層(4)との間のゴム結合部が局所的に無いことにより形成されている。キャビティ(C)の開口部(O)は、第1の層のリップ(3′),(3″)相互間の溶接継ぎ部の一部上に位置決めされている。
気密材料の数枚の層を必要とするタイヤに関する第1の例示の用途では、第1の層及び第2の層は、同一材料から成るのがよい。
第2の例示の用途では、第1の層は、気密材料から成り、第2の層は、補強プライから成る。
これらの条件下において、そして、タイヤの全体的な気密性を向上させるよう、第1の層(3)を構成する材料とほぼ同じ気密特性を備えた材料で作られていて、内側フェース及び外側フェースを備えた裏当て層(2)を設けると有利な場合があり、この裏当て層(2)は、第2の層(4)の内側フェース全体及びキャビティ(C)に隣接したその外側フェースの一部とゴム結合部を形成する。これら層の外側フェースは、タイヤの内容積部の方へ向けられたフェースとして定義され、外側フェースは、反対側の方へ向いたフェースである。
事実、キャビティ(C)に隣接していない裏当て層(2)の外側フェースの一部と第1の層(3)との間に形成されたゴム結合部により、キャビティ(C)の縁部のところの適正な気密性を保証するよう長さ及び幅がキャビティ(C)の長さ及び幅よりも僅かに大きな裏当て層(2)を設けることが推奨される。
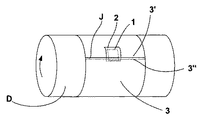
これと同様に、キャビティの表面の保護を強化すると共に検出器モジュールとキャビティの壁との間の摩擦により引き起こされる劣化を回避するために、図4に詳細に示すように、保護層(1)をキャビティ(C)の壁上に配置すると有用な場合がある。
この保護層は、延伸性材料の2つの層から成る。非限定的な例として、材料は、弾性材料の中から選択されたもの、例えばゴムであるのがよく、或いはこの目的に適した織編又は非織編織物ベースを選択することにより選択してもよい。延伸性材料は、第1の層(3)にくっつくと共に第2の層(4)又は裏当て層(2)にくっつくよう設計され、この場合、キャビティ(C)は、上記2つの保護層相互間に形成される。
図5及び図6は、長手方向(1′)又は横方向(1″)に折り返された織布から作られた保護層(1)の2つの特定の実施形態を示している。相当大きなサイズの検出器の場合、ベローを側方位置に又は開口部(O)と反対側の部分に設けてキャビティの内容積を増大させるのがよい。
上述のキャビティ(C)の形態の各々において、キャビティ(C)は、第1の層(3)と第2の層(4)又は裏当て層(2)との間又は保護層それ自体相互間にゴム結合部が局所的に無いことによって形成される。その特定の作用効果をタイヤ内のその正確な位置に得るためには、幾つかの技術を用いるのがよい。
第1の技術は、タイヤの成型中、ブラシ又はスプレーを用いて粘着防止製品を第1の層(3)及びリップ部分(3′)上で局所的に、キャビティ(C)及びその開口部(O)を配置するのが望ましい位置に被着させる工程から成る。この粘着防止製品は、例えば、シリコーンを主成分とする溶液から成るのがよく、その作用効果は、加硫時に、その領域にゴム結合部の形成を阻止することにある。
タイヤの製造は、次の工程、即ち、
−タイヤ(P)の内容積部に隣接したゴム異形要素の組立体から成り、縁部が突合せ継ぎ部(J)の第1のリップ(3′)を有する第1の層(3)の区分の第1部分を成型ドラム(D)上に配置する工程と、
−粘着防止製品をキャビティ(C)を境界付けるようになった第1の層の領域上及びリップ(3′)の隣接部分上に局所的に付着させる工程と、
−第2のリップ(3″)を有する区分の第2区分を定位置に置くことにより第1の層の区分の位置決めを完了させる工程と、
−突合せ継ぎ部(J)の第1のリップ(3′)と第2のリップ(3″)を互いに合わせる工程と、第1の層とのゴム結合部を形成するゴム異形要素の組立体から成る第2の層(4)を定位置に置く工程と、
−タイヤを形成するゴム異形要素の位置決めを続行して完了させる工程と、
−タイヤを硬化成型機で加硫する工程とから成る。
粘着防止製品があることにより、キャビティ(C)が形成される正確な場所で局所的に第1の層と第2の層との間のゴム結合部の形成が阻止され、上記粘着防止組成物をリップ上に被着させることにより、開口部(O)をキャビティ(C)の高さ位置に形成することができる。
粘着防止溶液の塗布に代わる手段は、ゴム結合部の局所的形成を阻止するよう設計された着脱自在な中間要素(M)をキャビティ(C)及びその開口部(O)の高さ位置に位置決めすることにあり、その使用方法が図7〜図10に示されている。この中間要素は、シリコーンを主成分とする材料から成っていてもよく、或いは、耐粘着性被膜、例えばデュ・ポン・ド・ヌムール社により市販されているテフロン(登録商標)タイプのポリテトラフルオロエチレンを主成分とする被膜で覆われたものであってもよい。
この場合、この方法は、次の工程、即ち、
−タイヤ(P)の内容積部に隣接したゴム異形要素の組立体から成り、縁部が突合せ継ぎ部(J)の第1のリップ(3′)を有する第1の層(3)の区分の第1部分を成型ドラム(D)上に配置する工程と、
−フェースの両方が粘着防止材料で被覆された着脱自在な中間要素(M)をキャビティ(C)を境界付けるようになった区分の第1部分の領域上及び隣接のリップ(3′)上に位置決めする工程と、
−第2のリップ(3″)を有する区分の第2区分を定位置に置くことにより第1の層の区分の位置決めを完了させる工程と、
−第1のリップ(3′)と第2のリップ(3″)を中間パッチ(M)により被覆されている部分を除き、突合せ継ぎ部(J)の長さに沿って互いに合わせる工程と、
−第1の層とのゴム結合部を形成するゴム異形要素の組立体から成る第2の層(4)を定位置に置く工程と、
−タイヤを形成するゴム異形要素の位置決めを続行する工程と、
−タイヤを加硫する工程と、
−中間要素(M)を開口部(O)から抜き取る工程とから成る。
もう1つの別法は、タイヤ内に永続的にとどまり、保護層(1)として役立つようになった中間要素を位置決めすることにある。上述したように、上記要素は、延伸性材料の2つの層又は折り返された1つの層から成るのがよく、かかる折返し層の接触状態にあるフェースは、粘着防止製品(1′,1″)で覆われている。
この場合、この方法は、次の工程、即ち、
−タイヤ(P)の内容積部に隣接したゴム異形要素の組立体から成り、縁部が突合せ継ぎ部(J)の第1のリップ(3′)を有する第1の層(3)の区分の第1部分を成型ドラム(D)上に配置する工程と、
−延伸性材料の2つの層から成っていて、フェースの両方が粘着防止材料で被覆された中間要素(1,1′,1″)をキャビティ(C)を境界付けるようになった区分の第1部分の領域上及び隣接のリップ(3′)上に位置決めする工程と、
−第2のリップ(3″)を有する区分の第2区分を定位置に置くことにより第1の層の区分の位置決めを完了させる工程と、
−第1のリップ(3′)と第2のリップ(3″)を中間パッチ(M)により被覆されている部分を除き、突合せ継ぎ部(J)の長さに沿って互いに合わせる工程と、
−第1の層とのゴム結合部を形成するゴム異形要素の組立体から成る第2の層(4)を定位置に置く工程と、
−タイヤを形成するゴム異形要素の位置決めを続行する工程と、
−タイヤを加硫する工程とから成る。
裏当て層(2)を構成するゴム異形要素を、図11〜図14に示すようにリップを互いに合わせる前であって中間要素を位置決めした直後、或いは、図7〜図10に示すようにリップを互いに合わせた後に位置決めするのがよく、この場合、裏当て層(2)を形成する異形要素と保護層及び裏当て層を形成する中間要素をあらかじめ組み立てることが提案される。
本発明のタイヤは一般に、タイヤを構成するゴム異形要素の区分を円周方向に堆積させる円筒形又はドーナツ形の金型で製造される。
例示の目的で、図15は、円筒形ドラム(D)上への、第1のリップ(3′)を備えた第1の層(3)を形成する区分の第1部分の位置決め工程を示す概略斜視図である。図16は、中間要素(1)及び裏当て層(2)の位置決め工程を示す図であり、図17は、2つのリップ(3′),(3″)を合わせることから成る工程の完了状態を示している。
しかしながら、本発明は、ゴム異形要素をコイル状ストリップの形態で位置決めする方法によっても実施できる。
かくして、図18は、円筒形ドラム(D)上への第1のリップ(3′)を備えた第1の層(3)を形成する区分の第1部分の位置決め工程を示す概略斜視図である。図19は、中間要素(1)及び裏当て層の位置決めから成る工程を示す図である。図20は、キャビティ(C)の開口部(O)を有するようになった継ぎ部を形成する2つの互いに接触したターンの2つのリップ(3′),(3″)を合わせた後のドラム(D)上への第1の層の堆積から成る工程の完了状態を示す図である。図18、図19及び図20は、円筒形ドラム上へのコイル状ストリップの位置決め工程を示している。
ドラムに代えてタイヤの内容積部の形状を有する支持体を用いてもよいことは言うまでもない。
図21は、検出器(S)がキャビティ(C)内に配置された状況の断面図である。
本発明は、その実施方法と関連した多くの特定の利点を奏することに注目されたい。
第1の利点は、タイヤの内面に直接設けられるポケットを形成した場合の利点のうちの幾つかが回避されるということにある。事実、まさにその場合において、上記ポケットは硬化メンブレンを成型機内で拡張させた場合に、メンブレンにより変位する傾向があり、その結果、粘着不良及び製造欠陥が生じることが判明している。
さらに、ポケットを受け入れるようになった表面を作製する工程が回避され、これにより、タイヤの製造中、相当な時間が節約される。
第2の利点は、本発明の方法により製造されたタイヤが着脱自在な監視装置を保持するよう内面に設けられた支持体を除去するようタイヤの内面を作製する必要無く、連続した再トレッド形成作業を受けることができる性能が高いということにある。なお、かかるタイヤ内面の作製を行うと、加硫作業中に硬化メンブレンが損傷する場合がある。
本発明のキャビティを備えたタイヤの部分断面図である。 特定のキャビティの形態及び対応の異形要素の積重ねの細部を示す図である。 特定のキャビティの形態及び対応の異形要素の積重ねの細部を示す図である。 特定のキャビティの形態及び対応の異形要素の積重ねの細部を示す図である。 タイヤ内にとどまるよう設計された中間要素の特定の構造の概略斜視図である。 タイヤ内にとどまるよう設計された中間要素の別の特定の構造の概略斜視図である。 キャビティが形成されるように異形要素を積み重ねる特定の工程順序のうちの一を示す略図である。 キャビティが形成されるように異形要素を積み重ねる特定の工程順序のうちの一を示す略図である。 キャビティが形成されるように異形要素を積み重ねる特定の工程順序のうちの一を示す略図である。 キャビティが形成されるように異形要素を積み重ねる特定の工程順序のうちの一を示す略図である。 キャビティが形成されるように異形要素を積み重ねる別の特定の工程順序のうちの一を示す略図である。 キャビティが形成されるように異形要素を積み重ねる別の特定の工程順序のうちの一を示す略図である。 キャビティが形成されるように異形要素を積み重ねる別の特定の工程順序のうちの一を示す略図である。 キャビティが形成されるように異形要素を積み重ねる別の特定の工程順序のうちの一を示す略図である。 キャビティが形成されるように第1のタイプの異形要素の積重ね中のタイヤの製造工程のうちの一を示す概略斜視図である。 キャビティが形成されるように第1のタイプの異形要素の積重ね中のタイヤの製造工程のうちの一を示す概略斜視図である。 キャビティが形成されるように第1のタイプの異形要素の積重ね中のタイヤの製造工程のうちの一を示す概略斜視図である。 キャビティが形成されるように第2のタイプの異形要素の積重ね中のタイヤの製造工程のうちの一を示す概略斜視図である。 キャビティが形成されるように第2のタイプの異形要素の積重ね中のタイヤの製造工程のうちの一を示す概略斜視図である。 キャビティが形成されるように第2のタイプの異形要素の積重ね中のタイヤの製造工程のうちの一を示す概略斜視図である。 本発明のキャビティ内に配置された監視モジュールの略図である。
符号の説明
1 保護層
2 裏当て層
3 第1の層
3′,3″ リップ
4 第2の層
C キャビティ
D 電子監視モジュール
J 突合せ継ぎ部
M 中間パッチ
O 開口部
P タイヤ
S 検出器

Claims (18)

  1. 着脱自在な電子監視モジュール(D)を受け入れるよう設計されたキャビティ(C)を有するタイヤ(P)であって、前記キャビティ(C)が前記タイヤ(P)の構成部品の内部に形成されているタイヤにおいて、キャビティ(C)の開口部(O)が、タイヤ(P)の内容積部内へ開口し、タイヤ(P)の内容積部に隣接したゴム異形要素の組立体により形成された第1の層(3)の突合せ継ぎ部(J)の一部上に位置していることを特徴とするタイヤ(P)。
  2. 前記キャビティは、前記第1の層(3)と、前記第1の層とのゴム結合部を有するゴム異形要素により形成された第2の層(4)との間に設けられていることを特徴とする請求項1記載のキャビティ(C)を有するタイヤ(P)。
  3. 前記キャビティは、前記第1の層(3)と前記第2の層(4)との間にゴム結合部が局所的に存在しないことにより形成されることを特徴とする請求項1記載のキャビティ(C)を有するタイヤ(P)。
  4. 前記第1の層(3)を形成するゴム材料は、気密性を備えていることを特徴とする請求項1〜3のうちいずれか一に記載のタイヤ(P)。
  5. 内側フェース及び外側フェースを備えた裏当て層(2)を有し、前記裏当て層(2)は、その内側フェース全体にわたり前記第2の層(4)とゴム結合部を形成し、その外側フェースの一部は、キャビティ(C)に隣接していることを特徴とする請求項1記載のタイヤ(P)。
  6. 裏当て層(2)は、前記第1の層(3)の材料と同一の性質のゴム材料から成ることを特徴とする請求項5記載のタイヤ(P)。
  7. 第1の層(3)を形成するゴム異形要素の突合せ継ぎ部(J)の向きは、本質的に半径方向であることを特徴とする請求項1〜6のうちいずれか一に記載のタイヤ(P)。
  8. 第1の層(3)を形成するゴム異形要素の突合せ継ぎ部(J)の向きは、本質的に円周方向であることを特徴とする請求項1〜6のうちいずれか一に記載のタイヤ(P)。
  9. 第1の層(3)を形成するゴム異形要素の突合せ継ぎ部(J)の角度の向きは、円周方向に対し、0゜〜90゜であることを特徴とする請求項1〜6のうちいずれか一に記載のタイヤ(P)。
  10. キャビティ(C)は、タイヤのビードヒールとその上部クラウンとの間に半径方向に配置されていることを特徴とする請求項1記載のタイヤ(P)。
  11. 電子監視デバイスに接触するようになった保持キャビティ(C)の壁は、延伸性材料から成る保護層(1,1′)によって被覆されていることを特徴とする請求項2〜10のうちいずれか一に記載のタイヤ(P)。
  12. 保護層(1,1′)を形成する延伸性材料は、織布ベース又は不織布ベースを有することを特徴とする請求項11記載のタイヤ(P)。
  13. 保護層(1,1′)を形成する延伸性材料は、ゴムの性質を持つ弾性材料から成ることを特徴とする請求項11記載のタイヤ(P)。
  14. タイヤ(P)の製造方法であって、
    −タイヤ(P)の内容積部に隣接したゴム異形要素の組立体から成り、縁部が突合せ継ぎ部(J)の第1のリップ(3′)を有する第1の層(3)の区分の第1部分を成型ドラム(D)上に配置する工程と、
    −粘着防止製品をキャビティ(C)を境界付けるようになった第1の層の領域上及びリップ(3′)の隣接部分上に局所的に付着させる工程と、
    −第2のリップ(3″)を有する前記区分の第2区分を定位置に置くことにより前記第1の層の区分の位置決めを完了させる工程と、
    −突合せ継ぎ部(J)の第1のリップ(3′)と第2のリップ(3″)を互いに合わせる工程と、前記第1の層とのゴム結合部を形成するゴム異形要素の組立体から成る第2の層(4)を定位置に置く工程と、
    −タイヤを形成するゴム異形要素の位置決めを続行する工程と、
    −タイヤを加硫する工程とから成ることを特徴とする方法。
  15. タイヤ(P)の製造方法であって、
    −タイヤ(P)の内容積部に隣接したゴム異形要素の組立体から成り、縁部が突合せ継ぎ部(J)の第1のリップ(3′)を有する第1の層(3)の区分の第1部分を成型ドラム(D)上に配置する工程と、
    −フェースのうちの少なくとも1つが粘着防止材料で被覆された中間要素(1,1′,1″,M)をキャビティ(C)を境界付けるようになった区分の第1部分の領域上及び隣接のリップ(3′)上に位置決めする工程と、
    −第2のリップ(3″)を有する前記区分の第2区分を定位置に置くことにより前記第1の層の区分の位置決めを完了させる工程と、
    −第1のリップ(3′)と第2のリップ(3″)を互いに合わせる工程と、
    −前記第1の層とのゴム結合部を形成するゴム異形要素の組立体から成る第2の層(4)を定位置に置く工程と、
    −タイヤを形成するゴム異形要素の位置決めを続行する工程と、
    −タイヤを加硫する工程とから成ることを特徴とする方法。
  16. 中間要素(M)の両方のフェースが粘着防止材料で被覆され、前記中間要素(M)は、加硫工程後、開口部(O)を通ってキャビティ(C)から抜き取られるようになっていることを特徴とする請求項15記載の方法。
  17. 第2の層(4)を位置決めする工程の実施前に、裏当て層(2)をキャビティ(C)を境界付けるようになった第1の層の領域上又は前記中間要素(1,1′,1″,M)上に位置決めする工程を実施することを特徴とする請求項14又は15記載の方法。
  18. 中間要素(1,1′,1″)は、保護層として役立つようタイヤ内に永続的にとどまるようになっており、前記中間要素は、それ自体折り返された延伸性材料から成り、その互いに接触しているフェースは、粘着防止製品で被覆されていることを特徴とする請求項15記載の方法。
JP2005117476A 2004-03-18 2005-03-18 電子検出器用保持ポケット Expired - Fee Related JP4884692B2 (ja)

Applications Claiming Priority (2)

Application Number Priority Date Filing Date Title
FR0402886A FR2867721A1 (fr) 2004-03-18 2004-03-18 Poche de maintien de detecteur electronique
FR0402886 2004-03-18

Publications (3)

Publication Number Publication Date
JP2005297963A true JP2005297963A (ja) 2005-10-27
JP2005297963A5 JP2005297963A5 (ja) 2008-04-24
JP4884692B2 JP4884692B2 (ja) 2012-02-29

Family

ID=34896666

Family Applications (1)

Application Number Title Priority Date Filing Date
JP2005117476A Expired - Fee Related JP4884692B2 (ja) 2004-03-18 2005-03-18 電子検出器用保持ポケット

Country Status (8)

Country Link
US (1) US7556074B2 (ja)
EP (1) EP1586468B1 (ja)
JP (1) JP4884692B2 (ja)
CN (1) CN100560388C (ja)
AT (1) ATE510709T1 (ja)
AU (1) AU2005201161A1 (ja)
BR (1) BRPI0500897B1 (ja)
FR (1) FR2867721A1 (ja)

Cited By (3)

* Cited by examiner, † Cited by third party
Publication number Priority date Publication date Assignee Title
WO2007114204A1 (ja) * 2006-03-29 2007-10-11 The Yokohama Rubber Co., Ltd. 空気入りタイヤの製造方法
JP2013508209A (ja) * 2009-10-21 2013-03-07 レマ ティプ トップ ゲーエムベーハー エラストマー部材へ保持器を取り付けるための締結システム
JP2018501366A (ja) * 2014-12-19 2018-01-18 コンパニー ゼネラール デ エタブリッスマン ミシュラン 表面上に要素を受け取る準備ができているタイヤ

Families Citing this family (20)

* Cited by examiner, † Cited by third party
Publication number Priority date Publication date Assignee Title
DE10243441B4 (de) * 2002-09-18 2004-12-30 Continental Aktiengesellschaft Transponder für Reifen
US7770444B2 (en) * 2005-12-13 2010-08-10 Michelin Recherche Et Technique S.A. Patch for fixing an electronic system to a tire
FR2902173B1 (fr) 2006-06-09 2008-12-05 Michelin Soc Tech Valve de pneumatique et procede pour son demontage
WO2008147409A1 (en) * 2007-05-25 2008-12-04 Societe De Technologie Michelin Method to protect tire electronics
FR2934967B1 (fr) * 2008-08-14 2010-08-13 Michelin Soc Tech Pneumatique sans chambre a air ayant une gomme interieure fendue, et procede pour sa fabrication
FR2937284B1 (fr) 2008-10-20 2010-11-19 Michelin Soc Tech Organe pour pneumatique et pneumatique instrumente
US8281827B2 (en) * 2008-11-06 2012-10-09 The Yokohama Rubber Co., Ltd. Pneumatic tire
FR2981010B1 (fr) * 2011-10-05 2014-06-13 Michelin Soc Tech Kit et procede pour la fixation temporaire d'un dispositif electronique sur un support d'une enveloppe pneumatique
US20130133800A1 (en) * 2011-11-29 2013-05-30 Jean-Claude Patrice Philippe Griffoin System for attaching an electronic device or other item to a pneumatic tire
KR101775797B1 (ko) * 2015-11-30 2017-09-06 한국타이어 주식회사 흡음재 고정밴드를 구비하는 타이어 흡음재고정구조 및 이의 포함하여 제조되는 타이어
FR3063041B1 (fr) * 2017-02-17 2019-05-03 Compagnie Generale Des Etablissements Michelin Dispositif de fixation a une enveloppe pneumatique d'un organe electronique.
JP6756004B1 (ja) * 2019-05-08 2020-09-16 Toyo Tire株式会社 タイヤおよびタイヤの製造方法
JP6756021B1 (ja) * 2019-08-23 2020-09-16 Toyo Tire株式会社 タイヤおよびタイヤの製造方法
DE102019215069A1 (de) * 2019-09-30 2021-04-01 Continental Reifen Deutschland Gmbh Reifen
IT202200015150A1 (it) * 2022-07-19 2024-01-19 Bridgestone Europe Nv Sa Pneumatico provvisto di un dispositivo elettronico
JP7323023B1 (ja) * 2022-08-03 2023-08-08 住友ゴム工業株式会社 タイヤ
CN116001339A (zh) * 2022-10-09 2023-04-25 厦门正新海燕轮胎有限公司 在轮胎的内表面形成可容装电子装置的袋型容器的方法
IT202300023487A1 (it) 2023-11-08 2025-05-08 Bridgestone Europe Nv Sa Pneumatico provvisto di un dispositivo elettronico
IT202300023481A1 (it) 2023-11-08 2025-05-08 Bridgestone Europe Nv Sa Pneumatico provvisto di un dispositivo elettronico
IT202300023475A1 (it) * 2023-11-08 2025-05-08 Bridgestone Europe Nv Sa Pneumatico provvisto di un dispositivo elettronico e corrispondente metodo di produzione

Citations (12)

* Cited by examiner, † Cited by third party
Publication number Priority date Publication date Assignee Title
JPH0713505U (ja) * 1993-08-18 1995-03-07 株式会社ブリヂストン 空気入りタイヤ
JPH0867117A (ja) * 1994-06-03 1996-03-12 Bridgestone Corp 車両用タイヤの状態の監視方法及び監視用デバイス内蔵のタイヤ
JPH11216781A (ja) * 1997-11-28 1999-08-10 Sumitomo Rubber Ind Ltd 空気入りタイヤおよび空気入りタイヤの製造方法
JPH11278021A (ja) * 1998-02-10 1999-10-12 Bridgestone Corp 監視装置を有するタイヤ
JP2000168321A (ja) * 1998-12-04 2000-06-20 Bridgestone Corp 電子式モニタ―装置の接合用に空気タイヤを調製するための方法
JP2001063325A (ja) * 1999-08-27 2001-03-13 Yokohama Rubber Co Ltd:The トランスポンダを埋め込んだ空気入りタイヤ及びその製造方法
JP2002214060A (ja) * 2001-01-12 2002-07-31 Yokohama Rubber Co Ltd:The タイヤ装着用トランスポンダ及びトランスポンダ装着タイヤ並びにその製造方法
JP2002541003A (ja) * 1999-11-24 2002-12-03 ミシュラン ルシェルシェ エ テクニク ソシエテ アノニム モニター付き自動車タイヤと、モニターの保持組立体
EP1318032A2 (de) * 2001-12-05 2003-06-11 Continental Aktiengesellschaft Verfahren zur Herstellung eines Fahrzeugreifens mit einer Transpondereinheit
WO2003070496A1 (en) * 2002-02-18 2003-08-28 Bridgestone/Firestone North American Tire, Llc Attachment method for tire tag
JP2003525804A (ja) * 2000-03-09 2003-09-02 ブリヂストン/フアイヤーストーン・ノース・アメリカン・タイヤ・エルエルシー タイヤモニターに給電する方法と装置
WO2003095243A1 (en) * 2002-05-07 2003-11-20 Bridgestone/Firestone North American Tire, Llc Monitoring device and patch assembly

Family Cites Families (5)

* Cited by examiner, † Cited by third party
Publication number Priority date Publication date Assignee Title
GB1434732A (en) * 1972-05-23 1976-05-05 Dunlop Ltd Pneumatic tyres and methods of manufacture thereof
EP0639472B1 (en) * 1993-08-18 1997-10-15 Bridgestone Corporation Pneumatic tire having a transponder therein, and a method of and a device for reading and writing of a transponder
DE10209580B4 (de) * 2002-03-05 2014-01-30 Goodyear Dunlop Tires Germany Gmbh Fahrzeugreifen mit integriertem Transponder
DE10243441B4 (de) * 2002-09-18 2004-12-30 Continental Aktiengesellschaft Transponder für Reifen
US6978669B2 (en) * 2003-12-22 2005-12-27 The Goodyear Tire & Rubber Company Method and assembly of sensor ready tires

Patent Citations (12)

* Cited by examiner, † Cited by third party
Publication number Priority date Publication date Assignee Title
JPH0713505U (ja) * 1993-08-18 1995-03-07 株式会社ブリヂストン 空気入りタイヤ
JPH0867117A (ja) * 1994-06-03 1996-03-12 Bridgestone Corp 車両用タイヤの状態の監視方法及び監視用デバイス内蔵のタイヤ
JPH11216781A (ja) * 1997-11-28 1999-08-10 Sumitomo Rubber Ind Ltd 空気入りタイヤおよび空気入りタイヤの製造方法
JPH11278021A (ja) * 1998-02-10 1999-10-12 Bridgestone Corp 監視装置を有するタイヤ
JP2000168321A (ja) * 1998-12-04 2000-06-20 Bridgestone Corp 電子式モニタ―装置の接合用に空気タイヤを調製するための方法
JP2001063325A (ja) * 1999-08-27 2001-03-13 Yokohama Rubber Co Ltd:The トランスポンダを埋め込んだ空気入りタイヤ及びその製造方法
JP2002541003A (ja) * 1999-11-24 2002-12-03 ミシュラン ルシェルシェ エ テクニク ソシエテ アノニム モニター付き自動車タイヤと、モニターの保持組立体
JP2003525804A (ja) * 2000-03-09 2003-09-02 ブリヂストン/フアイヤーストーン・ノース・アメリカン・タイヤ・エルエルシー タイヤモニターに給電する方法と装置
JP2002214060A (ja) * 2001-01-12 2002-07-31 Yokohama Rubber Co Ltd:The タイヤ装着用トランスポンダ及びトランスポンダ装着タイヤ並びにその製造方法
EP1318032A2 (de) * 2001-12-05 2003-06-11 Continental Aktiengesellschaft Verfahren zur Herstellung eines Fahrzeugreifens mit einer Transpondereinheit
WO2003070496A1 (en) * 2002-02-18 2003-08-28 Bridgestone/Firestone North American Tire, Llc Attachment method for tire tag
WO2003095243A1 (en) * 2002-05-07 2003-11-20 Bridgestone/Firestone North American Tire, Llc Monitoring device and patch assembly

Cited By (4)

* Cited by examiner, † Cited by third party
Publication number Priority date Publication date Assignee Title
WO2007114204A1 (ja) * 2006-03-29 2007-10-11 The Yokohama Rubber Co., Ltd. 空気入りタイヤの製造方法
US8900389B2 (en) 2006-03-29 2014-12-02 The Yokohama Rubber Co., Ltd. Method for producing pneumatic tire
JP2013508209A (ja) * 2009-10-21 2013-03-07 レマ ティプ トップ ゲーエムベーハー エラストマー部材へ保持器を取り付けるための締結システム
JP2018501366A (ja) * 2014-12-19 2018-01-18 コンパニー ゼネラール デ エタブリッスマン ミシュラン 表面上に要素を受け取る準備ができているタイヤ

Also Published As

Publication number Publication date
FR2867721A1 (fr) 2005-09-23
ATE510709T1 (de) 2011-06-15
AU2005201161A1 (en) 2005-10-06
JP4884692B2 (ja) 2012-02-29
BRPI0500897B1 (pt) 2014-12-02
US20050217774A1 (en) 2005-10-06
EP1586468A2 (fr) 2005-10-19
EP1586468A3 (fr) 2010-03-17
CN100560388C (zh) 2009-11-18
EP1586468B1 (fr) 2011-05-25
US7556074B2 (en) 2009-07-07
BRPI0500897A (pt) 2005-11-01
CN1669836A (zh) 2005-09-21

Similar Documents

Publication Publication Date Title
JP4884692B2 (ja) 電子検出器用保持ポケット
KR20000047777A (ko) 전자 모니터 장치의 신속한 접착을 위한 공기 타이어의내부라이너를 제조하는 방법
US6786990B1 (en) Method of manufacturing sealant-containing tires, and sealant-containing tire
JP2010514525A (ja) 呼吸マスク用の膨張可能な顔面シールおよびその製造方法
JPH10129380A (ja) 側部用エアバッグの製造方法
JP3567431B2 (ja) チューブレスタイヤ及びその製造方法
JPH0785915B2 (ja) タイヤ成形機用内側ブラダーの製造方法および内側ブラダー
JP2010158785A (ja) タイヤの製造方法
EP0458436A2 (en) Method for manufacturing curing envelope for use in tire retreading
JP6728947B2 (ja) ゴムテープ、ゴムテープ複合体及びその製造方法
JPH1034751A (ja) 大型ゴム製品の継ぎ加硫方法
JP2011224907A (ja) 空気入りタイヤの製造方法
JP2007050538A (ja) 補強層の製造方法、空気のうの製造方法、及び成型ドラム
JP6185762B2 (ja) プレキュアトレッド、プレキュアトレッドの製造方法及びタイヤの製造方法
JP2007160844A (ja) 円環状中空体の製造方法
WO2019124148A1 (ja) タイヤ、及び、多孔質体の固定方法
CN109109573A (zh) 一种具有钢丝圈/胎体编织骨架材料的橡胶轮胎结构及其制造方法
JP2007160833A (ja) 円環状中空体の製造方法
JP2007130798A (ja) 円環状中空体の製造方法
RU2452524C2 (ru) Надувной лицевой обтюратор для респираторной маски и способ изготовления такого обтюратора
JPH08107815A (ja) 気嚢体及びその製造方法
KR101414436B1 (ko) 타이어 제조방법 및 타이어 제조장치
JP2007050537A (ja) 補強層の製造方法及び空気のうの製造方法
KR101414339B1 (ko) 타이어 제조방법 및 타이어 제조장치
JPS63295243A (ja) 更生タイヤ用リング状プレキユアトレツド及びタイヤ更生方法

Legal Events

Date Code Title Description
A521 Request for written amendment filed

Free format text: JAPANESE INTERMEDIATE CODE: A523

Effective date: 20080307

A621 Written request for application examination

Free format text: JAPANESE INTERMEDIATE CODE: A621

Effective date: 20080307

A977 Report on retrieval

Free format text: JAPANESE INTERMEDIATE CODE: A971007

Effective date: 20101220

A131 Notification of reasons for refusal

Free format text: JAPANESE INTERMEDIATE CODE: A131

Effective date: 20101227

A521 Request for written amendment filed

Free format text: JAPANESE INTERMEDIATE CODE: A523

Effective date: 20110328

TRDD Decision of grant or rejection written
A01 Written decision to grant a patent or to grant a registration (utility model)

Free format text: JAPANESE INTERMEDIATE CODE: A01

Effective date: 20111107

A01 Written decision to grant a patent or to grant a registration (utility model)

Free format text: JAPANESE INTERMEDIATE CODE: A01

A61 First payment of annual fees (during grant procedure)

Free format text: JAPANESE INTERMEDIATE CODE: A61

Effective date: 20111207

FPAY Renewal fee payment (event date is renewal date of database)

Free format text: PAYMENT UNTIL: 20141216

Year of fee payment: 3

R150 Certificate of patent or registration of utility model

Ref document number: 4884692

Country of ref document: JP

Free format text: JAPANESE INTERMEDIATE CODE: R150

Free format text: JAPANESE INTERMEDIATE CODE: R150

R250 Receipt of annual fees

Free format text: JAPANESE INTERMEDIATE CODE: R250

R250 Receipt of annual fees

Free format text: JAPANESE INTERMEDIATE CODE: R250

R250 Receipt of annual fees

Free format text: JAPANESE INTERMEDIATE CODE: R250

R250 Receipt of annual fees

Free format text: JAPANESE INTERMEDIATE CODE: R250

LAPS Cancellation because of no payment of annual fees