JP2005296944A - 水質改質システム - Google Patents

水質改質システム Download PDF

Info

Publication number
JP2005296944A
JP2005296944A JP2005078487A JP2005078487A JP2005296944A JP 2005296944 A JP2005296944 A JP 2005296944A JP 2005078487 A JP2005078487 A JP 2005078487A JP 2005078487 A JP2005078487 A JP 2005078487A JP 2005296944 A JP2005296944 A JP 2005296944A
Authority
JP
Japan
Prior art keywords
water
filtration
sensor
flow rate
pressure
Prior art date
Legal status (The legal status is an assumption and is not a legal conclusion. Google has not performed a legal analysis and makes no representation as to the accuracy of the status listed.)
Pending
Application number
JP2005078487A
Other languages
English (en)
Inventor
Takeshi Yoneda
剛 米田
Atsuyuki Manabe
敦行 真鍋
Koichi Noguchi
康一 野口
Current Assignee (The listed assignees may be inaccurate. Google has not performed a legal analysis and makes no representation or warranty as to the accuracy of the list.)
Miura Co Ltd
Original Assignee
Miura Co Ltd
Priority date (The priority date is an assumption and is not a legal conclusion. Google has not performed a legal analysis and makes no representation as to the accuracy of the date listed.)
Filing date
Publication date
Application filed by Miura Co Ltd filed Critical Miura Co Ltd
Priority to JP2005078487A priority Critical patent/JP2005296944A/ja
Publication of JP2005296944A publication Critical patent/JP2005296944A/ja
Pending legal-status Critical Current

Links

Images

Landscapes

  • Separation Using Semi-Permeable Membranes (AREA)
  • Degasification And Air Bubble Elimination (AREA)
  • Physical Water Treatments (AREA)

Abstract

【課題】 腐食抑制と省エネ運転に寄与する水質改質システムを実現する。
【解決手段】 非不動態化金属体の腐食を引き起こす腐食促進成分を捕捉するとともに、前記腐食の抑制に寄与する腐食抑制成分を透過する濾過処理部35と、給水を前記濾過処理部35へ供給するポンプ36と、前記濾過処理部35からの透過水の流量を検知する流量センサ37と、前記ポンプ36の回転数を出力周波数に応じて可変させるインバータ38と、前記流量センサ37からの流量検知信号に基づいて、前記インバータ38へ指令信号を出力する制御部39とを備える。
【選択図】 図3

Description

この発明は、ボイラ等の熱機器への給水の水質を改質する水質改質システムに関する。
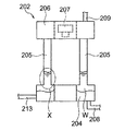
図10および図11において、引用符号201は貫流ボイラ202を含んで構成されるボイラシステムを示している。このボイラシステム201には、前記貫流ボイラ202の他に給水装置203が備えられている。前記貫流ボイラ202は、日本工業規格(JIS)に規定された特殊循環ボイラの範疇に属するボイラであって、前記貫流ボイラ202の下部に備えられ、前記給水装置203からの給水を貯留する給水貯留部204と、この給水貯留部204に立設される複数本の伝熱管205と、これらの伝熱管205の上端部に設けられるヘッダ206と、前記各伝熱管205内の給水を加熱して蒸気を生成するためのバーナ等の加熱装置207とを備えて構成されている。
前記給水貯留部204および前記ヘッダ206は、平面視の形状が環状となるように形成されている。前記給水貯留部204には、その内部に貯留された給水(図11中のW)を排出することが可能な排出路208が形成されている。前記各伝熱管205は、後述する非不動態化金属を用いて形成されている。すなわち、前記各伝熱管205は非不動態化金属体である。このような構成の前記貫流ボイラ202により生成された蒸気は、前記ヘッダ206と接続される蒸気供給路209を介して負荷装置(図示省略)へ供給されるようになっている。
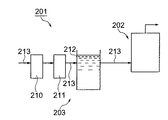
前記給水装置203は、前記貫流ボイラ202へ給水を供給するためのものであって、軟水化装置210と、脱酸素装置211と、給水タンク212と、給水ライン213とを備えて構成されている。前記軟水化装置210は、給水中に含まれる硬度成分をイオン交換樹脂によりナトリウムイオンへ置換して軟水へ変換するように構成されている。また、前記脱酸素装置211は、給水中に含まれる溶存酸素を機械的に除去するように構成されている。前記脱酸素装置211の下流側の給水ライン213には、前記給水タンク212へ一定流量で処理水を流すために、定流量弁(図示省略)が設けられている。
前記給水ライン213を通じて前記貫流ボイラ202へ供給される給水は、前記給水貯留部204に貯留された後、前記加熱装置207により加熱されながら前記各伝熱管205内を上昇し、徐々に蒸気になる。そして、この蒸気は、前記ヘッダ206に集められ、前記蒸気供給路209を介して前記負荷装置へ供給される。
前記非不動態化金属は、中性水溶液中において自然には不動態化しない金属を云い、通常は、ステンレス鋼,チタン,アルミニウム,クロム,ニッケルおよびジルコニウム等を除く金属である。具体的には、炭素鋼,鋳鉄,銅および銅合金等である。ここで、炭素鋼は、中性水溶液中においても、高濃度のクロム酸イオンの存在下では不動態化する場合があるが、この不動態化はクロム酸イオンの影響によるものであって、中性水溶液中での自然な不動態化とは言い難い。したがって、炭素鋼は、ここでの非不動態化金属の範疇に属する。また、銅および銅合金は、電気化学列(emf series)が貴な位置にあるため、通常は水分の影響による腐食が生じ難い金属と考えられているが、中性水溶液中において自然に不動態化するものではないので、ここでの非不動態化金属の範疇に属する。
前記構成において、複数の前記各伝熱管205は、図11中の一点鎖線で囲んだ円X内の部分,すなわち前記給水貯留部204と連続している下端部分が給水と継続的に接触するようになっている。このため、前記下端部分は、給水の影響を受けて腐食し易く、前記下端部分の内周面の減肉的な腐食や、肉厚方向に発生する微小な孔状の孔食が発生する。
ところで、腐食を引き起こす主な要因としては、給水の溶存酸素濃度が高い場合,あるいは塩化物イオン濃度や硫酸イオン濃度等が高い場合などが一般的に知られているが、本願出願人においては、長年にわたって研究を続けた結果、つぎのことを確認している。すなわち、給水中に含まれる硫酸イオンが腐食促進成分として前記各伝熱管205などに作用することを確認している(たとえば、特許文献1)。また、本願出願人においては、給水中に含まれるシリカ(二酸化ケイ素(SiO))が腐食を抑制する腐食抑制成分として前記各伝熱管205などに作用することも確認している(たとえば、特許文献2)。
特開2003−129263号公報 特開2001−336701号公報
腐食抑制方法として、薬剤を添加して対処する方法も数多く提案されているが、蒸気品質を高め、また排水処理の負荷を軽減する観点から、薬剤の使用量を削減しつつ腐食を抑制する方法の確立が望まれている。そこで、本願出願人においては、前記の研究結果から、給水中の腐食促進成分を捕捉し,かつ給水中の腐食抑制成分を透過する濾過部材,具体的にはナノ濾過膜(NF膜)を用いた従来にないシステムを提供しようとしている。
ところで、前記濾過部材にあっては、水温により水の粘性や膜特性が変化するため、濾過処理流量が大きく変化してしまう。濾過処理流量は、水温が低くなるほど低下するため、前記給水ラインに前記定流量弁を設ける場合には、低温時でも定格流量を確保することができるように、前記濾過部材へ給水を供給するための加圧ポンプの運転圧力を予め高く設定する必要がある。したがって、高温時には過剰な運転圧力になるため、年間を通じると、ほとんどがエネルギーロスになっている。
この発明は、前記の事情に鑑みてなされたもので、その解決しようとする課題は、腐食抑制と省エネ運転に寄与する水質改質システムを実現することにある。
この発明は、前記課題を解決するためになされたもので、請求項1に記載の発明は、熱機器への給水の水質を改質する水質改質システムであって、非不動態化金属体の腐食を引き起こす腐食促進成分を捕捉するとともに、前記腐食の抑制に寄与する腐食抑制成分を透過する濾過処理部と、給水を前記濾過処理部へ供給するポンプと、前記濾過処理部からの透過水の流量を検知する流量センサと、前記ポンプの回転数を出力周波数に応じて可変させるインバータと、前記流量センサからの流量検知信号に基づいて、前記インバータへ指令信号を出力する制御部とを備えることを特徴とする。
請求項1に記載の発明では、給水が前記ポンプにより前記濾過処理部へ供給される。前記濾過処理部へ供給された給水は、その中に含まれる腐食促進成分が捕捉されるとともに、腐食抑制成分が透過する。これにより、腐食促進成分が除去され,かつ腐食抑制成分が含まれる給水が生成され、この給水が前記熱機器へ供給される。ここに、前記熱機器としては、蒸気ボイラ,温水ボイラ,クーリングタワー,給湯器等が挙げられる。
前記ポンプの運転は、前記インバータにより行われる。前記インバータへは、前記流量センサからの流量検知信号が、前記制御部を介して指令信号の形でフィードバックされる。これにより、水温変動などで処理流量が変化するような場合であっても、前記ポンプの回転数が前記インバータにより自動的に調節され、常に所定の処理流量が得られるような運転が行われる。
請求項2に記載の発明は、請求項1において、前記制御部は、前記流量センサの異常有無を監視し、前記流量センサに異常があったとき、前記濾過処理部を通過する給水の所定透過流速と、前記濾過処理部への給水,前記濾過処理部からの透過水,または前記濾過処理部からの濃縮水のいずれかの水温を検知する温度センサの検出値とに基づいてポンプ運転圧力を算出し、このポンプ運転圧力に基づいてポンプ運転周波数を算出し、このポンプ運転周波数に基づいて前記インバータへ指令信号を出力することを特徴とする。
請求項2に記載の発明では、前記流量センサが異常となったときのバックアップ対応が可能になる。すなわち、前記流量センサが異常となったときは、前記制御部により、前記所定透過流束と前記温度センサの検出値とに基づいて前記ポンプ運転圧力が算出され、このポンプ運転圧力に基づいて算出された前記ポンプ運転周波数に基づき、前記インバータへ指令信号が出力される。これにより、水温変動などで処理流量が変化するような場合であっても、前記インバータにより前記ポンプの回転数が調節され、常に所定の処理流量が得られるような運転が行われる。
請求項3に記載の発明は、請求項1において、前記制御部は、前記流量センサの異常有無を監視し、前記流量センサに異常があったとき、前記濾過処理部への給水,前記濾過処理部からの透過水,または前記濾過処理部からの濃縮水のいずれかの水温を検知する温度センサからの温度検知信号に基づいて、前記インバータへ指令信号を出力することを特徴とする。
請求項3に記載の発明では、前記流量センサが異常となったときのバックアップ対応が可能になる。すなわち、前記流量センサが異常となったときは、前記温度センサからの温度検知信号が前記制御部で処理され、この制御部から前記インバータへ指令信号が出力される。これにより、水温変動などで処理流量が変化するような場合であっても、前記インバータにより前記ポンプの回転数が調節され、常に所定の処理流量が得られるような運転が行われる。
請求項4に記載の発明は、請求項1において、前記制御部は、前記流量センサの異常有無を監視し、前記流量センサに異常があったとき、前記濾過処理部への給水,前記濾過処理部からの透過水,または前記濾過処理部からの濃縮水のいずれかの水温を検知する温度センサからの温度検知信号と、給水の圧力または前記濾過処理部の濾過部材の有効圧力のいずれかを検知する圧力センサからの圧力検知信号とに基づいて、前記インバータへ指令信号を出力することを特徴とする。
請求項4に記載の発明では、前記流量センサが異常となったときのバックアップ対応が可能になる。すなわち、前記流量センサが異常となったときは、前記温度センサからの温度検知信号および前記圧力センサからの圧力検知信号の二つの検知信号が前記制御部で処理され、この制御部から前記インバータへ指令信号が出力される。これにより、水温変動などで処理流量が変化するような場合であっても、前記インバータにより前記ポンプの回転数が調節され、常に所定の処理流量が得られるような運転が行われる。
請求項5に記載の発明は、請求項2,3または4において、前記流量センサの異常を通報する通報手段を備えることを特徴とする。
請求項5に記載の発明では、前記通報手段を介して前記流量センサの異常が通報される。通報の後、前記流量センサが復旧するまでの間は、前記バックアップ対応が継続される。
請求項6に記載の発明は、熱機器への給水の水質を改質する水質改質システムであって、非不動態化金属体の腐食を引き起こす腐食促進成分を捕捉するとともに、前記腐食の抑制に寄与する腐食抑制成分を透過する濾過処理部と、給水を前記濾過処理部へ供給するポンプと、前記濾過処理部への給水,前記濾過処理部からの透過水,または前記濾過処理部からの濃縮水のいずれかの水温を検知する温度センサと、前記ポンプの回転数を出力周波数に応じて可変させるインバータと、前記温度センサからの温度検知信号に基づいて、前記インバータへ指令信号を出力する制御部とを備えることを特徴とする。
請求項6に記載の発明では、請求項1に記載の発明と同様、給水が前記ポンプにより前記濾過処理部へ供給される。前記濾過処理部へ供給された給水は、その中に含まれる腐食促進成分が捕捉されるとともに、腐食抑制成分が透過する。これにより、腐食促進成分が除去され,かつ腐食抑制成分が含まれる給水が生成され、この給水が前記熱機器へ供給される。
ここで、前記ポンプの運転は、前記インバータにより行われる。前記インバータへは、前記温度センサからの温度検知信号が前記制御部で処理されて、この制御部から出力された指令信号が入力される。これにより、水温変動などで処理流量が変化するような場合であっても、前記インバータにより前記ポンプの回転数が自動的に調節され、常に所定の処理流量が得られるような運転が行われる。
請求項7に記載の発明は、請求項6において、前記制御部は、前記濾過処理部を通過する給水の所定透過流束と前記温度センサの検出値とに基づいてポンプ運転圧力を算出し、このポンプ運転圧力に基づいてポンプ運転周波数を算出し、このポンプ運転周波数に基づいて前記インバータへ指令信号を出力することを特徴とする。
請求項7に記載の発明では、前記制御部による温度検知信号の処理として、前記所定透過流束と前記温度センサの検出値とに基づいて前記ポンプ運転圧力が算出され、このポンプ運転圧力に基づいて前記ポンプ運転周波数が算出される。そして、このポンプ運転周波数に基づいて前記制御部から出力された指令信号が前記インバータへ入力される。これにより、水温変動などで処理流量が変化するような場合であっても、前記インバータにより前記ポンプの回転数が調節され、常に所定の処理流量が得られるような運転が行われる。
請求項8に記載の発明は、請求項1において、前記制御部は、前記温度センサからの温度検知信号と、給水の圧力または前記濾過処理部の濾過部材の有効圧力のいずれかを検知する圧力センサからの圧力検知信号とに基づいて、前記インバータへ指令信号を出力することを特徴とする。
請求項8に記載の発明では、前記温度センサからの温度検知信号および前記圧力センサからの圧力検知信号の二つの検知信号が前記制御部で処理され、この制御部から前記インバータへ指令信号が出力される。これにより、水温変動などで処理流量が変化するような場合であっても、前記インバータにより前記ポンプの回転数が調節され、常に所定の処理流量が得られるような運転が行われる。
請求項9に記載の発明は、請求項6,7または8において、前記制御部は、前記温度センサおよび/または前記圧力センサの異常有無を監視し、前記温度センサおよび/または前記圧力センサに異常があったとき、前記濾過処理部からの透過水の流量を検知する流量センサからの流量検知信号に基づいて、前記インバータへ指令信号を出力することを特徴とする。
請求項9に記載の発明では、前記温度センサまたは前記圧力センサが異常となったときのバックアップ対応が可能になる。すなわち、前記温度センサまたは前記圧力センサが異常となったときは、前記流量センサからの流量検知信号が前記制御部を介して指令信号の形で前記インバータへフィードバックされる。これにより、水温変動などで処理流量が変化するような場合であっても、前記インバータにより前記ポンプの回転数が調節され、常に所定の処理流量が得られるような運転が行われる。
請求項10に記載の発明は、請求項9において、前記温度センサおよび/または前記圧力センサの異常を通報する通報手段を備えることを特徴とする。
請求項10に記載の発明では、前記通報手段を介して前記温度センサまたは前記圧力センサの異常が通報される。通報の後、前記温度センサが復旧するまでの間は、前記バックアップ対応が継続される。
請求項11に記載の発明は、請求項1,2,3,4,5,6,7,8,9または10において、給水に含まれる溶存気体を除去する溶存気体除去処理部を前記濾過処理部の下流側に接続することを特徴とする。
請求項11に記載の発明では、前記濾過処理部を通過した給水中に含まれる溶存気体が除去される。これにより、腐食促進成分と溶存気体とが除去され,かつ腐食抑制成分を含む給水が生成される。
請求項1に記載された発明によれば、腐食抑制と省エネ運転に寄与する水質改質システムを実現することができるという効果を奏する。
請求項2,3,4に記載された発明によれば、それぞれ前記流量センサ異常時のバックアップ対応をすることができるという効果を奏する。
請求項5に記載された発明によれば、異常となった前記流量センサを早い段階で復旧させることができるという効果を奏する。
請求項6,7,8に記載された発明によれば、それぞれ腐食抑制と省エネ運転に寄与する水質改質システムを実現することができるという効果を奏する。
請求項9に記載された発明によれば、前記温度センサ異常時のバックアップ対応をすることができるという効果を奏する。
請求項10に記載された発明によれば、異常となった前記温度センサを早い段階で復旧させることができるという効果を奏する。
請求項11に記載された発明によれば、給水中に含まれる溶存気体を除去し、一層、腐食抑制に寄与することができるという効果を奏する。
つぎに、この発明の実施の形態について、図面を参照して詳細に説明する。
図1は、この発明の水質改質システムの一実施形態を示す構成図である。また、図2は、図1の水質改質装置の装置筐体の上蓋を取って見たときの図であり、図3(a)は、図1の水質改質装置の構成図であり、図3(b)は、圧力センサに関する補足説明図であり、図4は、図1の水質改質装置の他の構成図であり、図5は、ポンプの制御に係る説明図であり、図6は、省エネ効果の説明用のグラフであり、さらに図7は、制御部の一処理を示すフローチャートである。
図1において、水質改質システム21は、熱機器22への給水の水質を改質するためのシステムであって、前記熱機器22へ給水を供給する給水ライン23と、この給水ライン23に接続される水処理装置24と、これらの水処理装置24で処理された給水を貯留する給水タンク25とを備えて構成されている。前記水処理装置24としては、とくに限定されないが、たとえば活性炭濾過装置26と、軟水装置27と、水質改質装置28と、複数の測定装置29(29a〜29h)とを備えている。前記水質改質装置28は、後述する装置筐体34内に組み込まれる装置主要部30により構成されている。そして、前記水質改質装置28の上流側には、プレフィルタ31が設けられている。
前記水処理装置24の配置についてもう少し詳しく説明すると、原水側に設けられた被処理水タンク(図示省略)と接続された前記給水ライン23には、原水硬度を測定するための測定装置29aと、原水の残留塩素濃度を測定するための測定装置29bとが接続されている。そして、これらの各測定装置29a,29bの下流側には、前記活性炭濾過装置26が接続されている。前記活性炭濾過装置26の下流側には、前記軟水装置27が接続されている。この軟水装置27の下流側の前記給水ライン23には、給水の硬度を測定するための測定装置29cが接続されている。
前記測定装置29cの下流側には、前記プレフィルタ31と前記水質改質装置28の前記装置主要部30とが順に接続されている。前記プレフィルタ31と前記装置主要部30との間には、給水の濁度を測定するための測定装置29dと、給水の残留塩素濃度を測定するための測定装置29eとが接続されている。また、前記装置主要部30からの排水ライン40(詳細は後述)には、排水の硬度を測定するための測定装置29fが接続されている。前記装置主要部30の下流側の前記給水ライン23には、水質が改質された給水のシリカ濃度を測定するための測定装置29gと、水質が改質された給水の溶存酸素濃度を測定するための測定装置29hが接続されている。そして、これらの各測定装置29g,29hの下流側には、前記給水タンク25が接続されている。
ここで、前記被処理水タンクには、水道水,工業用水,地下水等の水源から供給される被処理水が貯留されている。被処理水は、前記水質改質システム21によりその水質が改質され、前記熱機器22へ供給されるようになっている。
前記熱機器22は、蒸気ボイラ,温水ボイラ,クーリングタワー,給湯器等であって、ここでは水管ボイラと称される多管式の貫流ボイラを例に挙げて説明する。この貫流ボイラの缶体構造は、図11で説明した前記貫流ボイラ202と同様に構成されている。すなわち、前記熱機器22である前記貫流ボイラ202は、所定の間隔で上下に配置される環状の前記給水貯留部204(以下「下部ヘッダ204」と云う。)および環状の前記ヘッダ206(以下、「上部ヘッダ206」と云う。)と、これらの各ヘッダ204,206の間に配置される複数の前記各伝熱管205と、前記各伝熱管205により区画形成される燃焼室(符号省略)と、この燃焼室の上方に配置され、前記各伝熱管205内の給水,いわゆる缶水を加熱して蒸気を生成させる加熱装置207(たとえば、バーナ)とを備えて構成されている。
前記下部ヘッダ204には、前記給水タンク25からの前記給水ライン23(すなわち、図11の前記給水ライン213)が接続されている。また、前記下部ヘッダ204には、蒸気の生成にともなって濃縮する缶水を系外へ排出する(ブローする)ための前記排出路208が設けられている。前記上部ヘッダ206には、生成された蒸気を負荷装置(図示省略)へ供給するための前記蒸気供給路209が設けられている。この構成において、前記下部ヘッダ204,前記各伝熱管205および前記上部ヘッダ206は、非不動態化金属を用いて形成されている(非不動態化金属については背景技術の欄を参照)。
前記活性炭濾過装置26は、給水中に溶存する次亜塩素酸ソーダに由来する残留塩素などの酸化剤を吸着除去するために接続されている。たとえば、前記残留塩素は、前記活性炭濾過装置26の下流側に配置される前記軟水装置27内のイオン交換樹脂(図示省略)を酸化させてイオン交換能力を早期に低下させるおそれがあり、また下流側に配置された前記水質改質装置28の後述するナノ濾過膜(図示省略)を酸化させて濾過能力を早期に低下させるおそれがある。そこで、前記残留塩素を活性炭で吸着して除去することにより、前記イオン交換能力の早期低下を防止するとともに前記濾過能力の早期低下を防止し、給水の処理効率の向上,安定化等を図るようにしている。
前記活性炭濾過装置26のような給水中の残留塩素を除去する他の装置としては、とくに図示しないが、重亜硫酸ナトリウム(SBS)を添加する薬注装置もあり、この装置を前記活性炭濾過装置26の替わりに適用してもよい。
前記軟水装置27は、前記残留塩素が除去された給水中に含まれるカルシウムやマグネシウムの硬度成分をイオン交換樹脂(図示省略)により除去する装置として構成されている。すなわち、前記軟水装置27は、給水中に含まれる硬度成分をナトリウムイオンへ置換し、給水を軟水へ変換するために接続されている。
前記水質改質装置28は、図2に示されるごとく、前面にコントロールパネル32を有するとともに、このコントロールパネル32の裏側に制御ボックス33を有する装置筐体34の内部に、前記装置主要部30が収納される装置として構成されている(とくに限定するものではない。)。前記プレフィルタ31は、給水中のゴミ等を除去するためのものである。ここで、図2は、後述する筒状の濾過処理部35を3個連結した形態を概略的に図示している。前記濾過処理部35の設置方向は、図2に示す方向に限定されるものではなく、たとえばその軸方向が水平となる向きに設置されていてもよい。
図3(a)において、前記装置主要部30は、濾過処理部35と、この濾過処理部35の上流側に接続されるポンプ36と、前記濾過処理部35の下流側に接続される流量センサ37と、前記ポンプ36に接続されるインバータ38と、このインバータ38を介して前記ポンプ36の制御および装置全体の制御を行う制御部39とを備えて構成されている。以下、これらの各部材とその周辺部材とについて説明する。
前記濾過処理部35は、濾過部材,具体的には、ナノ濾過膜(NF膜,NF:Nanofiltration)を備えて構成されている。このナノ濾過膜は、ポリアミド系,ポリエーテル系等の合成高分子膜であり、2nm程度より小さい粒子や高分子(分子量が最大数百程度のもの)の透過を阻止することができる液体分離膜である。すなわち、前記ナノ濾過膜は、その濾過機能の点において、限外濾過膜(分子量が1,000〜300,000程度の物質を濾別可能な膜(UF膜))と、逆浸透膜(分子量が数十程度の物質を濾別可能な膜(RO膜))との中間に位置する液体分離膜として提供されている。前記ナノ濾過膜は、各社から市販されており、容易に入手することができる。前記ナノ濾過膜は、通常、濾過膜モジュールとして構成されている。この濾過膜モジュールの形態には、スパイラルモジュール,中空糸モジュール,平膜モジュール等がある。
さて、前記濾過処理部35の一側へは、前記ポンプ36から送り出された給水が流入するようになっている。前記濾過処理部35内へ流入した給水は、前記ナノ濾過膜により、腐食促進成分が捕捉されるとともに腐食抑制成分が透過されるようになっている。前記濾過処理部35の他側からは、透過水と濃縮水とがそれぞれ流出するようになっている。そして、透過水は、前記給水ライン23を流れて前記給水タンク25内に貯留されるようになっている。一方、濃縮水は、その一部が前記排水ライン40側へ流れるとともに、残部が循環水ライン41を流れて前記ポンプ36の上流側へ還流されるようになっている。
ここで、前記腐食促進成分および前記腐食抑制成分について説明する。まず、腐食促進成分とは、前記熱機器22,たとえば前記貫流ボイラ202の前記各伝熱管205の腐食が発生し易い部位,とくに内側に水分(ここでは缶水)が付着し,かつ外側から加熱される前記各伝熱管205の内面に作用してその腐食を促進するものを云い、通常、硫酸イオン(SO 2−),塩化物イオン(Cl)およびその他の成分を含んでいる。ちなみに、腐食促進成分として重要なものは、硫酸イオンおよび塩化物イオンの両者である。ところで、JIS B8223:1999は、前記貫流ボイラを含む特殊循環ボイラの腐食を抑制する観点から、当該ボイラの缶水の水質に関する各種の管理項目および推奨基準を規定している。この規定では、缶水の塩化物イオン濃度については管理値が設けられているものの、缶水の硫酸イオン濃度については言及していない。すなわち、このJISの規定は、硫酸イオンが腐食に関与するものとは認識していない。しかしながら、本願出願人においては、背景技術の欄でも説明したように、缶水に含まれる硫酸イオンが腐食促進成分として前記各伝熱管205などに作用していることを確認している。
つぎに、腐食抑制成分とは、前記貫流ボイラ202の前記各伝熱管205の腐食が発生し易い部位,とくに前記各伝熱管205の内面に作用し、そこに生じる腐食を抑制可能なものを云い、通常、シリカ(すなわち、二酸化ケイ素(SiO))を含んでいる。ところで、給水に含まれるシリカは、通常、前記各伝熱管205におけるスケール発生成分と認識されており、可能な限りその濃度を抑制することが好ましいと考えられている。しかしながら、本願出願人においては、背景技術の欄でも説明したように、缶水の水質と腐食との関係を長年にわたって研究した成果、缶水に含まれるシリカが腐食抑制成分として前記各伝熱管205などに作用していることを確認している。ここで、シリカは、給水として用いる水道水,工業用水,地下水等において、通常、含有されている成分である。
さて、前記ポンプ36は、前記プレフィルタ31の下流側の前記給水ライン23を流れる,ゴミ等が除去された給水を前記濾過処理部35へ供給するためのものであって、その回転数は、前記ポンプ36に接続された前記インバータ38から出力される出力周波数に応じて可変するように構成されている(定流量制御がなされる。定流量制御については後述する。)。前記インバータ38は、前記制御部39と接続されている。また、前記インバータ38は、前記制御部39からの指令信号により作動するように構成されている。
前記流量センサ37は、前記濾過処理部35を通過した透過水の流量を検知し、流量検知信号を前記制御部39へ出力するものであって、バルーンAで示される位置,すなわち前記濾過処理部35の下流側の前記給水ライン23に接続されている。前記流量センサ37からの流量検知信号は、前記インバータ38への指令信号の生成に用いられるようになっている。
前記濾過処理部35の上流側の前記給水ライン23,前記濾過処理部35の下流側の前記給水ライン23および前記排水ライン40に接続されるバルーンBは、温度センサ42の位置を示している。この温度センサ42は、これら三つの位置のいずれかに接続されており、給水,透過水または濃縮水の温度を検知して温度検知信号を前記制御部39へ出力するように構成されている。
前記濾過処理部35の上流側の前記給水ライン23に接続されるバルーンCは、圧力センサ(運転圧力センサ)43の位置を示している。この圧力センサ43は、前記濾過処理部35の上流側の給水の圧力を検知して圧力検知信号を前記制御部39へ出力するように構成されている。ここで、前記圧力センサ43は、図3(b)に示されるように、前記圧力センサ43と、前記濾過処理部35を通過した濃縮水の圧力を検知する圧力センサ43′(バルーンC′)とを設けるように構成してもよい。そして、これらの前記圧力センサ43,43′から出力される圧力検知信号に基づいて、前記制御部39で平均圧力[(給水の圧力+濃縮水の圧力)/2]を求め、この値を利用してもよい。また、前記濾過処理部35を通過した透過水の圧力を検知する圧力センサ43″(バルーンC″)を、前記圧力センサ43および前記圧力センサ43′の他にさらに設けるように構成してもよい。そして、前記平均圧力から透過水の圧力を差し引いて、前記濾過処理部35の前記濾過部材の有効圧力[{(給水の圧力+濃縮水の圧力)/2}−透過水の圧力]を求め、この値を利用してもよい。さらに、前記圧力センサ43および前記圧力センサ43″を設けるように構成し、給水の圧力から透過水の圧力を差し引いて前記濾過処理部35の前記濾過部材の有効圧力[給水の圧力−透過水の圧力]を求め、この値を利用してもよい。
前記温度センサ42および前記圧力センサ43は、この実施形態において、前記流量センサ37に異常があったときに、前記流量センサ37に代わってバックアップ対応をする重要な役割を有している(詳細は、後述する。)。
前記制御部39は、いわゆるマイクロコンピュータであって、前記制御ボックス33の内部に備えられている。具体的には、CPU,ROM,RAMおよびインターフェース(それぞれ図示省略)を備えて構成されている。前記ROMには、プログラムや固定データ等が格納されている。前記CPUは、中央演算処理装置であり、前記ROMに予め格納された制御プログラムにしたがって作動するようになっている。前記RAMは、前記CPUの処理の過程で利用する各種のデータを格納するデータエリアと、処理の際に使用するワークエリアとを有している。その他、各種の設定値情報等が格納される電気的消去/書換え可能な読み出し専用のメモリも備えられている。
前記インターフェースには、前記流量センサ37,前記インバータ38,前記温度センサ42および前記圧力センサ43がそれぞれ接続されている。また、前記インターフェースには、前記装置筐体34の前面に配置される前記コントロールパネル32も接続されている。さらに、前記インターフェースには、異常を通報するための通報手段44や、警報を発する警報手段(図示省略)も接続されている。その他、前記インターフェースには、前記活性炭濾過装置26からの通信線なども接続されている。
つぎに、図4を参照しながら前記装置主要部30の他の構成例を説明する。以下の説明では、前記と同じ構成部材については同一の符号を付してその説明を省略する。
図4において、前記装置主要部30は、前記濾過処理部35と、この濾過処理部35の上流側に接続される前記ポンプ36と、前記濾過処理部35の下流側に接続される溶存気体除去処理部45と、この溶存気体除去処理部45の下流側に接続される前記流量センサ37と、前記ポンプ36に接続される前記インバータ38と、このインバータ38を介しての前記ポンプ36の制御および装置全体の制御を行う前記制御部39と、バルーンBのいずれかの位置に接続される前記温度センサ42と、バルーンCの位置に接続される前記圧力センサ43とを備えて構成されている。
すなわち、図4の前記装置主要部30は、図3の前記装置主要部30に対して、前記溶存気体除去処理部45を増やした構成になっている。
前記溶存気体除去処理部45は、給水に含まれる溶存気体を除去することができるように構成されている。もう少し詳しく説明(図示省略)すると、たとえば中空糸状の気体濾過膜を筒状のハウジング内に収容した複数の脱気モジュールと、水封式真空ポンプと、前記脱気モジュールおよび前記水封式真空ポンプを繋ぐ真空ラインと、前記濾過処理部35から回収した濃縮水を貯留する封水タンクと、前記水封式真空ポンプおよび前記封水タンクを繋ぐ封水循環ラインとを備えて構成されている。
前記脱気モジュールには、前記給水ライン23が接続されており、また前記真空ラインが接続されている。前記水封式真空ポンプは、前記各脱気モジュールから溶存気体を吸引するためのものであって、前記真空ラインと前記封水循環ラインとが接続されている。前記封水循環ラインは、前記封水タンクから前記水封式真空ポンプへ封水を供給するとともに、吸引した気体と封水との混合流体を前記封水タンクへ排出することができるように構成されている。
前記流量センサ37は、ここでは溶存気体を除去した後の流量を検知し、流量検知信号を前記制御部39へ出力するように構成されている。ここにおいて、前記流量センサ37は、前記濾過処理部35と前記溶存気体除去処理部45との間に接続してもよい。
続いて、図5を参照しながら前記定流量制御(前記インバータ38によるPIDフィードバック制御)について説明する。この制御は、前記インバータ38のPID制御機能(P制御:比例制御,I制御:積分制御,D制御:微分制御)を使用し、実処理流量が目標値となるように、インバータ周波数を制御する機能である。前記ナノ濾過膜は、水温変動により水の粘性や膜特性が変化するため、処理流量が大きく変化する。具体的には、水温が低くなるほど処理流量は低下(約2.5%/1℃)するため、冬場など水温が10℃まで低下してしまうと、処理流量は、基準温度(たとえば、25℃)で設定した定格処理流量に比べて60%程度となる。処理流量と操作圧力は、ほぼ比例関係があり、水温による処理流量の低下分に応じて圧力を上げることで定格処理流量を得ることが可能になる。ところで、低温時に定格処理流量を得るように予め運転圧力を高く設定しておき、透過水の流れる側には定流量弁を設けることで一定流量を確保する方法が考えられる。しかしながら、この方法は冬場以外、過剰な運転となるためエネルギー的に非常にロスが大きくなる。そこで、前記水質改質システム21においては、設定した目標処理流量となるようにPID制御にて周波数を可変することで、常に理想的な運転を行い省エネを図っている。
PID制御は、図5に示されるように、前記流量センサ37からの流量検知信号を受けて前記制御部39が指令信号(たとえば、4〜20mAの電流値,もしくは1〜5Vの電圧値)を前記インバータ38へ出力する。前記インバータ38は、この指令信号をフィードバック値として目標値と比較を行い、その間に偏差があると、偏差をゼロにするように動作する(通常制御)。
この発明によれば、図6のグラフに示されるような省エネ効果が得られる。すなわち、前記のように、予め運転圧力を高く設定し、透過水の流れる側には定流量弁を設ける場合の電力を1(一点鎖線)とすると、この発明では実線で示される結果が得られる。たとえば、15℃のところで判断すると、35%の省エネ効果が得られる。
ところで、常に理想的な運転を行うために、前記制御部39は、つぎのような制御を行う必要がある。図7において、前記制御部39は、前記通常制御を行いつつ(ステップS1)、前記流量センサ37の異常有無を監視する(ステップS2)。この監視は、前記流量センサ37からの信号有無で判断する。前記流量センサ37からの信号があるときには、断線等の異常がないものと判断(ステップS2でN)し、通常制御を続ける。一方、前記流量センサ37からの信号が途絶えているときには、断線等の異常があるものと判断(ステップS2でY)し、ステップS3の処理へ移行する。このとき、異常があった旨を前記通報手段44を介して通報する(この時点で通報することにより復旧の作業が早まる。)。ステップS3の処理では、前記流量センサ37の故障等の異常時におけるバックアップ制御が行われる。
ステップS3におけるバックアップ制御の一例について、図8および図9を参照して具体的に説明する。図8は、バックアップ制御における前記ポンプ36の制御に係る説明図であり、また図9は、バックアップ制御における制御部の一処理を示すフローチャートである。
ステップS3のバックアップ制御において、前記温度センサ42からの温度検知信号が前記制御部39へ入力されると、この制御部39は、前記温度検知信号を処理し、前記インバータ38へ指令信号の出力を行う。前記インバータ38は、この指令信号に基づいて前記ポンプ36を制御する。
前記制御部39における前記温度検知信号の処理について、図9を参照して具体的に説明する。前記制御部39は、まず前記濾過処理部35を通過する給水の所定透過流束と前記温度センサ42の検出値とに基づいて前記ポンプ36の運転圧力(以下、「ポンプ運転圧力」と云う。)を算出する(ステップS10)。つぎに、このポンプ運転圧力に基づいて前記ポンプ36の運転周波数(以下、「ポンプ運転周波数」と云う。)を算出し(ステップS11)、さらにこのポンプ運転周波数に基づいて電流値を算出する(ステップS12)。そして、前記制御部39は、このポンプ運転周波数に対応した電流値を指令信号として前記インバータ38へ出力する(ステップS13)。これにより、目標処理流量となるように、前記ポンプ36が運転される。
前記ステップS10における前記ポンプ運転圧力の算出について具体的に説明する。このポンプ運転圧力は、{定格流量/(平均透過流束×温度補正係数)}+装置差圧+出口背圧+浸透圧−原水圧力で算出される。ここで、前記定格流量は、単位時間あたりに前記濾過処理部35を通過させようとする透過水の流量,すなわち前記目標処理流量であり、前記平均透過流束は、前記所定透過流束に相当するものであって、基準温度(たとえば、25℃)において、単位時間および単位圧力あたりに前記濾過処理部35を通過する透過水の流量の平均値である。また、前記温度補正係数は、前記温度センサ42の検出値に基づいて算出される所定の値である。そして、前記装置差圧は、前記水質改質装置28の稼動開始時における前記濾過処理部35の入口側と出口側との間の水圧差であり、前記出口背圧は、前記濾過処理部35の出口側の背圧であり、さらに前記浸透圧は、前記ナノ濾過膜の一次側にかかる給水の浸透圧である。
前記ステップS11における前記ポンプ運転周波数の算出について具体的に説明する。このポンプ運転周波数は、前記ステップS10において算出された前記ポンプ運転圧力をPとすると、A×P+B×P+Cで算出される。ここで、A,B,Cは所定の係数である。
前記ステップS12における前記電流値の算出について具体的に説明する。この電流値は、前記ステップS11で算出された前記ポンプ運転周波数をFとすると、(F/X)×Y+Zで算出される。ここで、X,Y,Zは所定の係数である。
以上、バックアップ制御の一例について説明したが、この発明においては、前記のようなバックアップ制御に限られるものではない。たとえば、前記制御部39は、前記温度センサ42からの温度検知信号に基づき(または、前記温度センサ42からの温度検知信号と前記圧力センサ43からの圧力検知信号とに基づき)、予め定めた,たとえば温度に対応する電流値(または、温度および圧力に対応する電流値)を指令信号として前記インバータ38へ出力し、このインバータ38によって前記ポンプ36を制御してもよい。
ここで、水温に対する処理流量の補正係数は、本願出願人における研究結果から、特定の前記ナノ濾過膜を使用した場合において、約2.5%/1℃であることが分かっているので、たとえば25℃を基準の前記ポンプ運転圧力(または、前記ポンプ運転周波数)に設定すると、水温が15℃まで低下すれば処理流量が約25%低下する。この場合、一定流量を確保するためには、前記ポンプ運転圧力をより高くすればよい。すなわち、単純に1/0.75=1.33倍の圧力をかければよく、このような前記ポンプ運転圧力となるような前記電流値が予め定められる。
続いて、前記の構成に基づきながら、前記熱機器22の一例である前記貫流ボイラ202の運転時の作用について説明する。前記貫流ボイラ202を運転する場合には、前記被処理水タンクから供給される被処理水(水質改質前の給水)の水質を改質して給水を生成し、この給水を前記給水タンク25に貯留する必要がある。ここまでの過程について説明すると、前記給水ライン23を流れる給水は、前記被処理水タンクから所定の吐出圧を有する給水ポンプ(図示省略)により所定の圧力で供給される。この給水の圧力は、下流側に配置された前記水処理装置24における圧損等を考慮して設定される。そして、前記被処理水タンクから供給された給水は、まず前記活性炭濾過装置26を通過し、残留塩素が除去された状態の給水となる。つぎに、この給水は、前記軟水装置27を通過して軟水となる。続いて、この軟水化された給水は、前記水質改質装置28において濾過処理(および脱気処理)がなされ、前記貫流ボイラ202へ供給可能な給水となる。具体的には、軟水化された給水が前記水質改質装置28の前記濾過処理部35において、前記ナノ濾過膜を通過する際に、硫酸イオン,塩化物イオン等の腐食促進成分が前記ナノ濾過膜により捕捉される。すなわち、前記腐食促進成分が軟水から除去される。一方、軟水に含まれるシリカ,すなわち腐食抑制成分は、軟水とともに前記ナノ濾過膜を透過する。濾過処理後の前記腐食抑制成分を含む軟水化された給水は、前記貫流ボイラ202へ供給可能な給水として前記給水タンク25内に貯留される。ここにおいて、図4の構成の場合は、つぎのようになる。すなわち、濾過処理後の軟水化された給水は、前記水質改質装置28の前記溶存気体除去処理部45において溶存気体が脱気処理される。脱気処理後の前記腐食抑制成分を含む軟水化された給水は、前記貫流ボイラ202へ供給可能な給水として前記給水タンク25内に貯留される。
前記給水タンク25内に貯留された給水は、前記給水タンク25および前記貫流ボイラ202の間に配置される給水ポンプ(図示省略)を介して前記貫流ボイラ202へ供給され、前記下部ヘッダ204内において缶水として貯留される。貯留された缶水は、前記加熱装置207により加熱されながら前記各伝熱管205内を上昇し、徐々に蒸気になる。そして、前記各伝熱管205内において生成された蒸気は、前記上部ヘッダ206内で集められ、前記蒸気供給路209から前記負荷装置へと供給される。
前記貫流ボイラ202の運転中において、前記各伝熱管205は、その下端部分,すなわち前記下部ヘッダ204との連続する部分が缶水と継続的に接触することになる。このため、前記各伝熱管205は、下端部分において、通常、缶水の影響を受け腐食し易くなる。とくに、前記各伝熱管205は、下端部分において、内周面の減肉的な腐食に加えて局部的な腐食が生じ易く、これが原因で微小な穴開きを起こして破損する場合がある。
前記の局部的な腐食とは、前記各伝熱管205の缶水との接触面側から厚さ方向の反対側へ向かう孔状の腐食,すなわち前記各伝熱管205の厚さ(肉厚)方向に発生する孔状の腐食を云う。以下、このような局部的腐食の発生現象を「孔食」と云い、この孔食により生じた孔状の腐食を「食孔」と云う。ちなみに、孔食は、通常、缶水中の溶存酸素の影響により発生するものと理解されている。
しかしながら、この発明によれば、前記貫流ボイラ202の運転中において、前記各伝熱管205に対し、前記腐食抑制成分を含む軟水が缶水として供給されることになるので、缶水に含まれる前記腐食抑制成分が前記各伝熱管205の下端部分に作用し、当該部分の腐食を抑制するようになる。より具体的には、前記腐食抑制成分は、前記各伝熱管205の缶水との接触部分における減肉的な腐食を抑制するとともに、食孔の発生および成長も抑制し、腐食による前記伝熱管205の破損を抑制する。この際、缶水は、前記水質改質装置28により前記腐食促進成分が除去されるため、前記腐食抑制成分による前記のような腐食抑制作用は、前記腐食促進成分により阻害され難く、効果的に発揮されるようになる。
さて、缶水に含まれる前記腐食抑制成分により、前記各伝熱管205の腐食が抑制されるのは、缶水に含まれる溶存酸素等(前記各伝熱管205の腐食促進成分)の影響により、前記各伝熱管205から溶出する成分に前記腐食抑制成分(とくに、シリカ)が作用し、前記各伝熱管205の内面に耐食性の皮膜(防食皮膜)が形成されるためと考えられる。とくに、溶存酸素は、前記各伝熱管205に局部的なアノードを発現させ、これにより孔食を進行させる場合があるが、缶水に含まれる前記腐食抑制成分(シリカ)は、アニオンまたは負電荷のミセルとして存在するため、前記アノードに吸着し易く、当該部分で選択的に防食皮膜を形成し易い。このため、缶水に含まれる前記腐食抑制成分(シリカ)は、前記各伝熱管205における孔食の進行をとくに効果的に抑制することができるものと考えられる。
以上、図1ないし図9を参照しながら説明してきたように、前記水質改質システム21は、薬剤を用いずに腐食を抑制することができる。また、前記水質改質システム21は、前記水質改質装置28において、前記インバータ38のPID制御機能を使用して、実処理流量が目標値となるようにインバータ周波数を制御することから、省エネ運転に寄与することができる。さらに、前記水質改質システム21は、熱機器用給水の処理効率を向上させることができるとともに、その処理の安定化を図ることができる。
この実施形態における前記水質改質システム21では、通常時には前記インバータ38のPID制御機能を使用した定流量制御を行い、バックアップ制御として、前記温度センサ42および/または前記圧力センサ43を使用した定流量制御を行うようにしているが、この発明はこのような構成に限定されるものではない。すなわち、通常時は、前記温度センサ42および/または前記圧力センサ43を使用した定流量制御を行い、バックアップ制御として前記インバータ38のPID制御機能を使用した定流量制御を行ってもよい。この場合、前記制御部39は、前記温度センサ42および/または前記圧力センサ43の異常有無を監視し、前記温度センサ42または前記圧力センサ43に異常があったときには、バックアップ制御として、前記流量センサ37からの流量検知信号に基づいて、前記インバータ38のPID制御機能を使用した定流量制御を行う。
その他、この発明は、その主旨を変えない範囲で種々変更実施可能なことは勿論である。
この発明の水質改質システムの一実施の形態を示す構成図である。 図1の水質改質装置の装置筐体の上蓋を取って見たときの図である。 (a)は、図1の水質改質装置の構成図であり、(b)は、圧力センサに関する補足説明図である。 図1の水質改質装置の他の構成図(溶存気体除去処理部あり)である。 ポンプの制御に係る説明図である。 省エネ効果の説明用のグラフである。 制御部の一処理を示すフローチャートである。 バックアップ制御におけるポンプの制御に係る説明図である。 バックアップ制御における制御部の一処理を示すフローチャートである。 従来例のボイラシステムの構成図である。 従来例のボイラの構成図である。
符号の説明
21 水質改質システム
22 熱機器
23 給水ライン
24 水処理装置
25 給水タンク
26 活性炭濾過装置
27 軟水装置
28 水質改質装置
29 測定装置
30 装置主要部
31 プレフィルタ
32 コントロールパネル
33 制御ボックス
34 装置筐体
35 濾過処理部
36 ポンプ
37 流量センサ
38 インバータ
39 制御部
40 排水ライン
41 循環水ライン
42 温度センサ
43 圧力センサ
44 通報手段
45 溶存気体除去処理部

Claims (11)

  1. 熱機器への給水の水質を改質する水質改質システムであって、
    非不動態化金属体の腐食を引き起こす腐食促進成分を捕捉するとともに、前記腐食の抑制に寄与する腐食抑制成分を透過する濾過処理部と、
    給水を前記濾過処理部へ供給するポンプと、
    前記濾過処理部からの透過水の流量を検知する流量センサと、
    前記ポンプの回転数を出力周波数に応じて可変させるインバータと、
    前記流量センサからの流量検知信号に基づいて、前記インバータへ指令信号を出力する制御部とを備える
    ことを特徴とする水質改質システム。
  2. 前記制御部は、前記流量センサの異常有無を監視し、前記流量センサに異常があったとき、前記濾過処理部を通過する給水の所定透過流速と、前記濾過処理部への給水,前記濾過処理部からの透過水,または前記濾過処理部からの濃縮水のいずれかの水温を検知する温度センサの検出値とに基づいてポンプ運転圧力を算出し、このポンプ運転圧力に基づいてポンプ運転周波数を算出し、このポンプ運転周波数に基づいて前記インバータへ指令信号を出力する
    ことを特徴とする請求項1に記載の水質改質システム。
  3. 前記制御部は、前記流量センサの異常有無を監視し、前記流量センサに異常があったとき、前記濾過処理部への給水,前記濾過処理部からの透過水,または前記濾過処理部からの濃縮水のいずれかの水温を検知する温度センサからの温度検知信号に基づいて、前記インバータへ指令信号を出力する
    ことを特徴とする請求項1に記載の水質改質システム。
  4. 前記制御部は、前記流量センサの異常有無を監視し、前記流量センサに異常があったとき、前記濾過処理部への給水,前記濾過処理部からの透過水,または前記濾過処理部からの濃縮水のいずれかの水温を検知する温度センサからの温度検知信号と、給水の圧力または前記濾過処理部の濾過部材の有効圧力のいずれかを検知する圧力センサからの圧力検知信号とに基づいて、前記インバータへ指令信号を出力する
    ことを特徴とする請求項1に記載の水質改質システム。
  5. 前記流量センサの異常を通報する通報手段を備える
    ことを特徴とする請求項2,3または4に記載の水質改質システム。
  6. 熱機器への給水の水質を改質する水質改質システムであって、
    非不動態化金属体の腐食を引き起こす腐食促進成分を捕捉するとともに、前記腐食の抑制に寄与する腐食抑制成分を透過する濾過処理部と、
    給水を前記濾過処理部へ供給するポンプと、
    前記濾過処理部への給水,前記濾過処理部からの透過水,または前記濾過処理部からの濃縮水のいずれかの水温を検知する温度センサと、
    前記ポンプの回転数を出力周波数に応じて可変させるインバータと、
    前記温度センサからの温度検知信号に基づいて、前記インバータへ指令信号を出力する制御部とを備える
    ことを特徴とする水質改質システム。
  7. 前記制御部は、前記濾過処理部を通過する給水の所定透過流束と前記温度センサの検出値とに基づいてポンプ運転圧力を算出し、このポンプ運転圧力に基づいてポンプ運転周波数を算出し、このポンプ運転周波数に基づいて前記インバータへ指令信号を出力する
    ことを特徴とする請求項6に記載の水質改質システム。
  8. 前記制御部は、前記温度センサからの温度検知信号と、給水の圧力または前記濾過処理部の濾過部材の有効圧力のいずれかを検知する圧力センサからの圧力検知信号とに基づいて、前記インバータへ指令信号を出力する
    ことを特徴とする請求項6に記載の水質改質システム。
  9. 前記制御部は、前記温度センサおよび/または前記圧力センサの異常有無を監視し、前記温度センサおよび/または前記圧力センサに異常があったとき、前記濾過処理部からの透過水の流量を検知する流量センサからの流量検知信号に基づいて、前記インバータへ指令信号を出力する
    ことを特徴とする請求項6,7または8に記載の水質改質システム。
  10. 前記温度センサおよび/または前記圧力センサの異常を通報する通報手段を備える
    ことを特徴とする請求項9に記載の水質改質システム。
  11. 給水に含まれる溶存気体を除去する溶存気体除去処理部を前記濾過処理部の下流側に接続する
    ことを特徴とする請求項1,2,3,4,5,6,7,8,9または10に記載の水質改質システム。
JP2005078487A 2004-03-19 2005-03-18 水質改質システム Pending JP2005296944A (ja)

Priority Applications (1)

Application Number Priority Date Filing Date Title
JP2005078487A JP2005296944A (ja) 2004-03-19 2005-03-18 水質改質システム

Applications Claiming Priority (2)

Application Number Priority Date Filing Date Title
JP2004079636 2004-03-19
JP2005078487A JP2005296944A (ja) 2004-03-19 2005-03-18 水質改質システム

Publications (1)

Publication Number Publication Date
JP2005296944A true JP2005296944A (ja) 2005-10-27

Family

ID=35329131

Family Applications (1)

Application Number Title Priority Date Filing Date
JP2005078487A Pending JP2005296944A (ja) 2004-03-19 2005-03-18 水質改質システム

Country Status (1)

Country Link
JP (1) JP2005296944A (ja)

Cited By (3)

* Cited by examiner, † Cited by third party
Publication number Priority date Publication date Assignee Title
JP2008000658A (ja) * 2006-06-21 2008-01-10 Miura Co Ltd 膜濾過システム
WO2022142723A1 (zh) * 2020-12-31 2022-07-07 广东美的白色家电技术创新中心有限公司 净水系统及净水设备
CN115180743A (zh) * 2022-07-27 2022-10-14 东莞市珀蓝特机电设备有限公司 一种冷却塔自动化清洗装置

Citations (11)

* Cited by examiner, † Cited by third party
Publication number Priority date Publication date Assignee Title
JPS60165002U (ja) * 1984-04-06 1985-11-01 栗田工業株式会社 逆浸透膜分離装置
JPS63270592A (ja) * 1987-04-30 1988-11-08 Ebara Corp 逆浸透膜モジユ−ルによる淡水化装置
JPH02174920A (ja) * 1988-12-27 1990-07-06 Nitto Denko Corp 膜分離装置の異常診断システム
JPH0380991A (ja) * 1989-08-25 1991-04-05 Takuma Co Ltd ボイラ給水処理方法とボイラ給水処理装置
JPH0366697U (ja) * 1989-10-25 1991-06-28
JPH09103770A (ja) * 1995-10-09 1997-04-22 Akihisa Minato 精製水製造装置
JPH11333267A (ja) * 1998-05-27 1999-12-07 Osaka Gas Co Ltd 液体濾過装置及びそれを用いた燃料電池発電装置
JP2000218135A (ja) * 1999-01-28 2000-08-08 Nitto Denko Corp 膜分離装置及び膜分離方法
JP2003136065A (ja) * 2001-11-05 2003-05-13 Kurita Water Ind Ltd ボイラ給水処理装置
JP2003157869A (ja) * 2001-11-22 2003-05-30 Kurita Water Ind Ltd 燃料電池用水処理装置
JP2004008934A (ja) * 2002-06-06 2004-01-15 Asahi Kasei Corp 膜分離装置の運転方法

Patent Citations (11)

* Cited by examiner, † Cited by third party
Publication number Priority date Publication date Assignee Title
JPS60165002U (ja) * 1984-04-06 1985-11-01 栗田工業株式会社 逆浸透膜分離装置
JPS63270592A (ja) * 1987-04-30 1988-11-08 Ebara Corp 逆浸透膜モジユ−ルによる淡水化装置
JPH02174920A (ja) * 1988-12-27 1990-07-06 Nitto Denko Corp 膜分離装置の異常診断システム
JPH0380991A (ja) * 1989-08-25 1991-04-05 Takuma Co Ltd ボイラ給水処理方法とボイラ給水処理装置
JPH0366697U (ja) * 1989-10-25 1991-06-28
JPH09103770A (ja) * 1995-10-09 1997-04-22 Akihisa Minato 精製水製造装置
JPH11333267A (ja) * 1998-05-27 1999-12-07 Osaka Gas Co Ltd 液体濾過装置及びそれを用いた燃料電池発電装置
JP2000218135A (ja) * 1999-01-28 2000-08-08 Nitto Denko Corp 膜分離装置及び膜分離方法
JP2003136065A (ja) * 2001-11-05 2003-05-13 Kurita Water Ind Ltd ボイラ給水処理装置
JP2003157869A (ja) * 2001-11-22 2003-05-30 Kurita Water Ind Ltd 燃料電池用水処理装置
JP2004008934A (ja) * 2002-06-06 2004-01-15 Asahi Kasei Corp 膜分離装置の運転方法

Cited By (3)

* Cited by examiner, † Cited by third party
Publication number Priority date Publication date Assignee Title
JP2008000658A (ja) * 2006-06-21 2008-01-10 Miura Co Ltd 膜濾過システム
WO2022142723A1 (zh) * 2020-12-31 2022-07-07 广东美的白色家电技术创新中心有限公司 净水系统及净水设备
CN115180743A (zh) * 2022-07-27 2022-10-14 东莞市珀蓝特机电设备有限公司 一种冷却塔自动化清洗装置

Similar Documents

Publication Publication Date Title
JP5158341B2 (ja) ボイラ給水の調製方法
JP2005296945A (ja) 水質改質システム
JP2006305499A (ja) 膜濾過システムの運転方法
JP2010120015A (ja) 膜濾過方法
JP5953726B2 (ja) 超純水製造方法及び装置
JP2009192193A (ja) ボイラシステム
JP2010131579A (ja) 水質改質システム
JP5240322B2 (ja) 水質改質システム
JP4687249B2 (ja) 水処理システム
JP4996812B2 (ja) 給水装置
JP2005288220A (ja) 水質改質システム
JP4165273B2 (ja) ボイラシステム
JP2005296944A (ja) 水質改質システム
JP2009192194A (ja) ボイラシステム
JP2016032810A (ja) 水処理システム
JP4650740B2 (ja) 水処理システムの運転方法
JP5013064B2 (ja) ボイラ給水用補給水の供給方法
JP4359879B2 (ja) 水質改質装置
JP5013063B2 (ja) ボイラ給水用補給水の供給方法
JP2005288218A (ja) 水質改質システム
JP4544020B2 (ja) 膜濾過システムの運転方法
JP2005013851A (ja) ボイラ用給水の処理方法および処理装置
JP2011050961A (ja) 軟水化装置
JP2005313034A (ja) 給水システム
JP5013062B2 (ja) ボイラ給水用補給水の供給方法

Legal Events

Date Code Title Description
A621 Written request for application examination

Free format text: JAPANESE INTERMEDIATE CODE: A621

Effective date: 20070918

A977 Report on retrieval

Free format text: JAPANESE INTERMEDIATE CODE: A971007

Effective date: 20091014

A131 Notification of reasons for refusal

Free format text: JAPANESE INTERMEDIATE CODE: A131

Effective date: 20091016

A521 Written amendment

Free format text: JAPANESE INTERMEDIATE CODE: A523

Effective date: 20091209

A131 Notification of reasons for refusal

Free format text: JAPANESE INTERMEDIATE CODE: A131

Effective date: 20101112

A02 Decision of refusal

Free format text: JAPANESE INTERMEDIATE CODE: A02

Effective date: 20110304