JP2005296612A - ミシンのパッカリング防止釜装置 - Google Patents

ミシンのパッカリング防止釜装置 Download PDF

Info

Publication number
JP2005296612A
JP2005296612A JP2004311467A JP2004311467A JP2005296612A JP 2005296612 A JP2005296612 A JP 2005296612A JP 2004311467 A JP2004311467 A JP 2004311467A JP 2004311467 A JP2004311467 A JP 2004311467A JP 2005296612 A JP2005296612 A JP 2005296612A
Authority
JP
Japan
Prior art keywords
hook
upper thread
inner hook
rotation
thread
Prior art date
Legal status (The legal status is an assumption and is not a legal conclusion. Google has not performed a legal analysis and makes no representation as to the accuracy of the status listed.)
Granted
Application number
JP2004311467A
Other languages
English (en)
Other versions
JP2005296612A5 (ja
JP3929458B2 (ja
Inventor
Koichi Sakuma
孝一 佐久間
Current Assignee (The listed assignees may be inaccurate. Google has not performed a legal analysis and makes no representation or warranty as to the accuracy of the list.)
Suzuki Manufacturing Co Ltd
Original Assignee
Suzuki Manufacturing Co Ltd
Priority date (The priority date is an assumption and is not a legal conclusion. Google has not performed a legal analysis and makes no representation as to the accuracy of the date listed.)
Filing date
Publication date
Priority to JP2004311467A priority Critical patent/JP3929458B2/ja
Application filed by Suzuki Manufacturing Co Ltd filed Critical Suzuki Manufacturing Co Ltd
Priority to CN200480033966XA priority patent/CN1882735B/zh
Priority to DE112004002680T priority patent/DE112004002680T5/de
Priority to PCT/JP2004/019550 priority patent/WO2005071153A1/ja
Priority to US10/571,921 priority patent/US7490567B2/en
Priority to KR1020067010213A priority patent/KR100907601B1/ko
Priority to TW094102039A priority patent/TWI290183B/zh
Publication of JP2005296612A publication Critical patent/JP2005296612A/ja
Publication of JP2005296612A5 publication Critical patent/JP2005296612A5/ja
Application granted granted Critical
Publication of JP3929458B2 publication Critical patent/JP3929458B2/ja
Anticipated expiration legal-status Critical
Expired - Lifetime legal-status Critical Current

Links

Images

Classifications

    • DTEXTILES; PAPER
    • D05SEWING; EMBROIDERING; TUFTING
    • D05BSEWING
    • D05B57/00Loop takers, e.g. loopers
    • D05B57/08Loop takers, e.g. loopers for lock-stitch sewing machines
    • D05B57/10Shuttles
    • DTEXTILES; PAPER
    • D05SEWING; EMBROIDERING; TUFTING
    • D05BSEWING
    • D05B57/00Loop takers, e.g. loopers
    • D05B57/08Loop takers, e.g. loopers for lock-stitch sewing machines
    • D05B57/10Shuttles
    • D05B57/14Shuttles with rotary hooks
    • D05B57/143Vertical axis type
    • DTEXTILES; PAPER
    • D05SEWING; EMBROIDERING; TUFTING
    • D05BSEWING
    • D05B57/00Loop takers, e.g. loopers
    • D05B57/08Loop takers, e.g. loopers for lock-stitch sewing machines
    • D05B57/10Shuttles
    • D05B57/14Shuttles with rotary hooks
    • DTEXTILES; PAPER
    • D05SEWING; EMBROIDERING; TUFTING
    • D05BSEWING
    • D05B57/00Loop takers, e.g. loopers
    • D05B57/26Bobbin holders or casings; Bobbin holder or case guards; Bobbin discharge devices
    • D05B57/265Bobbin holders or casings; Bobbin holder or case guards; Bobbin discharge devices for looptakers with vertical axis
    • DTEXTILES; PAPER
    • D05SEWING; EMBROIDERING; TUFTING
    • D05BSEWING
    • D05B29/00Pressers; Presser feet
    • D05B29/06Presser feet
    • DTEXTILES; PAPER
    • D05SEWING; EMBROIDERING; TUFTING
    • D05BSEWING
    • D05B57/00Loop takers, e.g. loopers
    • D05B57/26Bobbin holders or casings; Bobbin holder or case guards; Bobbin discharge devices

Landscapes

  • Engineering & Computer Science (AREA)
  • Textile Engineering (AREA)
  • Sewing Machines And Sewing (AREA)

Abstract

【課題】内釜の外周の上糸抜け抵抗を無くし、上糸張力を低張力にして上下糸のバランスを取ることができ、而も極薄地においても適正な糸締めを可能としパッカリングが発生することなく高品質な縫目を得る。
【解決手段】下糸を巻装したボビンを収容し機枠に対して取り外し自在に固定されるボビンケースを収容し機枠に対して内釜止め90により回転止めされる内釜80と、内釜80を内装し剣先75を有し下軸により回転される外釜70とからなり、外釜70の回転中心O1は下軸の回転中心に対して偏心して配置されることにより、回転駆動される外釜70の回転毎に剣先75で掬われた上糸のループが内釜80の外周にくぐり入れ、くぐり出す間隙を形成する周方向の異なる位置で内釜止め90及び内釜80間に上糸入口EN1、上糸出口EX1を設けている。
【選択図】図1

Description

本発明は、ミシンのパッカリング防止釜装置に関し、特に上糸を釜へくぐり入れ、釜からくぐり出す際の上糸の釜越しを抵抗無く円滑に行ってパッカリングを防止するミシンのパッカリング防止釜装置に係わる。
従来から、全回転釜を使用する工業用又は家庭用本縫いミシンは、下糸を巻装したボビン又はボビンを収容したボビンケースを内釜に内装し、内釜又は外釜に剣先を設けて、剣先を設けた釜を回転することにより針に刺通された上糸を釜の剣先で掬って上糸と下糸とを交叉させて被縫製体に本縫いを形成する。
例えば、外釜に剣先を設けた外釜回転型の場合、内釜は、内釜に設けた内釜溝と機枠に設けた内釜止めとの当接部により固定されていなければならない。外釜は高速回転しても内釜は固定されていることから内釜止めと内釜溝の当接部が高い回転摩擦トルクで当接するので、上糸が釜からくぐり出る際に、当該上糸は天秤引き上げ時に当接部を押し開いてくぐり出ることが強いられる。したがって、上糸には、天秤により本来必要な糸引き上げ張力よりも遥かに大きな内釜止め抜け張力がかかっており、これが原因で上糸と下糸とを交叉させて被縫製体に本縫いを形成する際に上糸と下糸との縫絡点を定位置に安定させることができず、大きな上糸張力により被縫製体にパッカリングが発生している。
そこで、外釜回転型水平釜の場合、外釜の回動に応じ所定のタイミングで揺動するオープナーを設け、オープナーに取り付けられて内釜に設けられたストッパ溝に交互に係合可能な止め板を備え、止め板を上糸が一方のストッパ溝を通過する時にストッパ溝から抜き出すと共に他方のストッパ溝を係合させて内釜の周り止めを行なう釜装置が提案されている(例えば、特許文献1参照。)。
また、上糸が外釜からくぐり出る際に、内釜止めと内釜溝の当接部を強制的に押し開いて上糸をくぐり出すオープナーが提案されている(例えば、特許文献2参照。)。
さらに、ミシンの汎用水平釜に取り付け可能とすると共に、中釜を外釜回転方向と反対方向に回転させるオープナーを設け、中釜の係合突起と針板の係止部材との衝突音の低減化を図るオープナー駆動機構が提案されている(例えば、特許文献3参照。)。
これらのオープナーを使用する釜装置は機構が複雑で、騒音が大きい等の不具合を持っているので、中釜に剣先を有し当該中釜回転中心よりドライバ駆動軸心が偏心している全回転釜が提案されている(例えば、特許文献4又は特許文献5参照。)。
また、針糸が釜を抜けて、内釜からくぐり出るとき、針糸があばれて針が針糸を刺し糸切れが発生するのを回避するためにささくれ糸切れ防止全回転釜装置が知られている(例えば、特許文献6又は特許文献7参照。)。
特開昭61−149196号公報 特開昭63−115591号公報 特開2002−143588号公報 特許再公表2000/73566号公報 特開平11−226284号公報 特開昭53−119153号公報 特開昭53−125151号公報
背景技術に記載した特許文献1に開示されたミシンの釜装置は、水平に枢支し回転する下軸からの回転運動を垂直方向に伝達変換した釜軸の一端に偏心カムを設け、そこから揺動運動をオープナーに伝達する装置なので、水平釜に限定されると共にオープナー駆動機構が複雑で高速運転に耐えられず、また、高価になるという難点があった。
また、背景技術に記載した特許文献2に開示されたミシンにおける釜のオープナーは、回転時の内釜止めと内釜溝の当接部を強制的に押し開くための機構が複雑となり、さらに、ミシンの変動する回転数に追従して隙間を形成することが難しいという欠点があった。
また、背景技術に記載した特許文献3に開示された水平釜のオープナー駆動機構は、釜軸から減速回転されるカム軸を設け、そのカム軸にて駆動するカムにより発生する揺動運動を回動軸とオープナーリンクとを介して伝達するものなので、水平釜に限定されると共にオープナー駆動機構が複雑で高速運転に耐えられず、また、高価になるという難点があった。
また、背景技術に記載した特許文献4に開示された全回転釜は、釜のドライバー回転軸線を中釜の回転軸線に対して偏心させて、ドライバーから中釜に伝達されるトルクを周期的に変化してトルクの低い時点で針糸をルーズに通過させているが、ばね部材の弾性変形動作によってドライバーを中釜と当接、離間させる構成なので、場合によっては針糸の釜抜け張力を完全には開放できないという難点があった。
背景技術に記載した特許文献5に開示された全回転釜は、釜のドライバー回転軸線を中釜の回転軸線に対して偏心させて、偏心方向が剣先側に寄った方向に設定されているので、ミシンの変動する回転数に追従して上糸抜けのための隙間が形成し難いという欠点があった。
さらに、背景技術に記載した特許文献6又は特許文献7に開示された全回転釜は、内釜と外釜の偏心によって芯ぶれによる上下左右に揺動するように運動し、内釜の係止部と釜支えの突起に隙間を形成し、この隙間を通って上糸が抜け出るというものであるが、内釜の係止部の位置が不適切であるため、上糸を内釜にくぐり入れることができず、かつ上糸を内釜から抵抗無く抜け出すことができないという欠点があった。
これらの回転釜においては、上糸には、天秤により本来必要な糸引き上げ張力よりも遥かに大きな内釜止め抜け張力がかかっており、これが原因で上糸と下糸とを交叉させて被縫製体に本縫いを形成する際に上糸と下糸との縫絡点を定位置に安定させることができない。特に、綿シャツ地や婦人服ジョーゼット地等の薄地布の被縫製体にあっては上糸と下糸との糸張力を弱く設定しなければ縫い縮み又は縫い皺によるパッカリング(seam puckering)が発生する。この場合、縫糸張力を内釜止め抜け張力以下にできず正常な縫目を構成できないと言う難点がある。本縫いミシンにおいて、このパッカリングの現象を防止することが永遠の課題とされてきたのである。
したがって、本発明はこのような従来の難点を解決するためになされたもので、本発明の第1の目的は、内釜を外釜回転駆動部に対して偏心させることにより、内釜の外周の上糸抜け抵抗を無くし、上糸張力を低張力にして上下糸のバランスを取ることができ、而も極薄地においても適正な糸締めを可能としパッカリングが発生することなく高品質な縫目を得ることができるミシンのパッカリング防止釜装置を提供することである。
本発明の第2の目的は、内釜従動部を内釜回転駆動部に対して偏心させることにより、内釜の外周の上糸抜け抵抗を無くし、上糸張力を低張力にして上下糸のバランスを取ることができ、而も極薄地においても適正な糸締めを可能としパッカリングが発生することなく高品質な縫目を得ることができるミシンのパッカリング防止釜装置を提供することを目的とする。
本発明の第3の目的は、ボビンを収容し機枠に対して内釜止めにより回転止めされる内釜を外釜回転駆動部に対して偏心させることにより、内釜の外周の上糸抜け抵抗を無くし、上糸張力を低張力にして上下糸のバランスを取ることができ、而も極薄地においても適正な糸締めを可能としパッカリングが発生することなく高品質な縫目を得ることができるミシンのパッカリング防止水平釜装置を提供することである。
本発明の第4の目的は、外釜を外釜回転駆動部に対して同心に配置し、内釜止めを回転駆動部の回転に同期して回転駆動部の軸芯方向の径方向に往復運動させ、内釜止めと内釜間に上糸出入口を設けることにより、上糸抜け抵抗を無くし、上糸張力を低張力にして上下糸のバランスを取ることができ、而も極薄地においても適正な糸締めを可能としパッカリングが発生することなく高品質な縫目を得ることができるミシンのパッカリング防止釜装置を提供することを目的とする。
本発明はこれらの目的を達成するためになされたもので、本発明のミシンのパッカリング防止釜装置は、針板に対し垂直方向に軌跡を描いて上下運動する針に刺し通された上糸と全回転釜に収納された下糸とによって針板に載置された被縫製体の一送り毎に被縫製体を貫通して垂直方向に往復運動する針に刺し通した上糸を針の下死点から上昇する際に、針板の下方にあって下糸を収納し且つ全回転釜の剣先で掬って上糸と下糸とを交叉させて被縫製体に本縫を形成するものである。
本発明のミシンのパッカリング防止釜装置における第1の形態によれば、全回転釜は、下糸を巻装し取り外し自在に固定されるボビンを収容し機枠に対して内釜止めにより回転止めされる内釜と、内釜を内装し剣先を有し回転駆動部により回転される外釜とからなり、内釜の回転中心は回転駆動部の回転中心に対して偏心して配置されることにより、回転駆動される外釜の所定回転毎に剣先で掬われた上糸のループが内釜の外周により最大に引き出された後で内釜の外周に上糸のループをくぐり入れ、内釜の外周から上糸のループをくぐり出す間隙を形成する周方向の異なる位置で内釜止め及び内釜間に上糸入口及び上糸出口を設け、上糸入口は剣先で掬われた上糸のループが内釜の外周にくぐり入れる位置に配設され、上糸出口は上糸のループが内釜の外周をくぐり抜け針板の上方へ引き上げられる位置に配設され、上糸入口及び上糸出口間の開角は120度〜160度、好ましくは120度〜180度の開角で配設され、内釜の回転中心は回転駆動部の回転中心に対して上糸入口及び上糸出口の開角の間の方向へ偏心されている。
本発明のミシンのパッカリング防止釜装置における第2の形態によれば、全回転釜は、下糸を巻装したボビンを収容し取り外し自在に固定されるボビンケースを収容し機枠に対して内釜止めにより回転止めされる内釜と、内釜を内装し剣先を有し回転駆動部により回転される外釜とからなり、内釜の回転中心は回転駆動部の回転中心に対して偏心して配置されることにより、回転駆動される外釜の所定回転毎に剣先で掬われた上糸のループが内釜の外周により最大に引き出された後で内釜の外周に上糸のループをくぐり入れ、内釜の外周から上糸のループをくぐり出す間隙を形成する周方向の異なる位置で内釜止め及び内釜間に上糸入口及び上糸出口を設け、上糸入口は剣先で掬われた上糸のループが内釜の外周にくぐり入れる位置に配設され、上糸出口は上糸のループが内釜の外周をくぐり抜け針板の上方へ引き上げられる位置に配設され、上糸入口及び上糸出口間の開角は120度〜160度、好ましくは120度〜180度の開角で配設され、内釜の回転中心は回転駆動部の回転中心に対して上糸入口及び上糸出口の開角の間の方向へ偏心されている。
第1及び第2の形態の全回転釜において、上糸入口及び上糸出口間の開角は、120〜160度、好ましくは120〜180度の開角に代えて、110度〜180度、好ましくは150度〜170度の開角で配設されている。
本発明のミシンのパッカリング防止釜装置における第3の形態によれば、全回転釜は、下糸を巻装し取り外し自在に固定されるボビンを収容し剣先を有し回転駆動部により従動回転される内釜と、内釜を回転自在に内装し機枠に対して回転止めされる外釜とからなり、内釜には周方向の異なる位置に配設された2個の従動部を有し、内釜を従動回転させるため従動部にそれぞれ遊嵌される2個の駆動部を備え、従動部の回転中心は回転駆動部の回転中心に対して偏心して配置されることにより、1対の駆動部、従動部が内釜を従動回転させるように駆動状態にあるときは他の対の駆動部、従動部は内釜の所定回転毎に剣先で掬われた上糸のループが内釜の剣先により最大に引き出される前で内釜の駆動部側に上糸のループをくぐり入れ、内釜の駆動部側から上糸のループをくぐり出す間隙を形成する上糸入口及び上糸出口を駆動部及び従動部間に設け、上糸入口は剣先で掬われた上糸のループが内釜の外周にくぐり入れる位相に配設され、上糸出口は上糸のループが内釜の外周をくぐり抜け針板の上方へ引き上げられる位相に配設され、上糸入口及び上糸出口の開角は剣先の上死点を挟んで周方向の異なる位置に90度〜130度の開角で配設され、従動部の回転中心は回転駆動部の回転中心に対して剣先の上死点の方向とは反対方向へ偏心されている。
本発明のミシンのパッカリング防止釜装置における第4の形態によれば、全回転釜は、下糸を巻装したボビンを収容し取り外し自在に固定されるボビンケースを収容し剣先を有し回転駆動部により従動回転される内釜と、内釜を回転自在に内装し機枠に対して回転止めされる外釜とからなり、内釜には周方向の異なる位置に配設された2個の従動部を有し、内釜を従動回転させるため従動部にそれぞれ遊嵌される2個の駆動部を備え、従動部の回転中心は回転駆動部の回転中心に対して偏心して配置されることにより、1対の駆動部、従動部が内釜を従動回転させるように駆動状態にあるときは他の対の駆動部、従動部は内釜の所定回転毎に剣先で掬われた上糸のループが内釜の剣先により最大に引き出される前で内釜の駆動部側に上糸のループをくぐり入れ、内釜の駆動部側から上糸のループをくぐり出す間隙を形成する上糸入口及び上糸出口を駆動部及び従動部間に設け、上糸入口は剣先で掬われた上糸のループが内釜の外周にくぐり入れる位相に配設され、上糸出口は上糸のループが内釜の外周をくぐり抜け針板の上方へ引き上げられる位相に配設され、上糸入口及び上糸出口の開角は剣先の上死点を挟んで周方向の異なる位置に90度〜130度の開角で配設され、従動部の回転中心は回転駆動部の回転中心に対して剣先の上死点の方向とは反対方向へ偏心されている。
第3及び第4の形態の全回転釜において、従動部は周方向及び径方向にそれぞれ所定の長さで伸びる溝又は孔から構成され、駆動部は周方向に所定の長さで伸びる突起から構成される。
本発明の第5の形態において、ミシンのパッカリング防止水平釜装置は、針板に対し垂直方向に軌跡を描いて上下運動する針に刺し通された上糸と全回転水平釜に収納された下糸とによって前記針板に載置された被縫製体の一送り毎に前記被縫製体を貫通して垂直方向に往復運動する前記針に刺し通した前記上糸を前記針の下死点から上昇する際に、前記針板の下方にあって下糸を収納し且つ全回転水平釜の剣先で掬って前記上糸と前記下糸とを交叉させて前記被縫製体に本縫を形成するものである。
本発明のミシンのパッカリング防止水平釜装置における第5の形態によれば、全回転水平釜は、下糸を巻装し取り外し自在に固定されるボビンを収容し機枠に対して内釜止めにより回転止めされる内釜と、内釜を内装し剣先を有し回転駆動部により回転される外釜とからなり、内釜の回転中心は回転駆動部の回転中心に対して偏心して配置されることにより、回転駆動される外釜の所定回転毎に剣先で掬われた上糸のループが内釜の外周により最大に引き出された後で内釜の外周に上糸のループをくぐり入れ、くぐり出す間隙を形成する周方向の異なる位置で内釜止め及び内釜間に上糸入口及び上糸出口を設け、上糸入口は針の針落点から剣先の回転方向に180度〜210度、好ましくは180度で剣先で掬われた上糸のループが内釜の外周にくぐり入れる位置に配設され、上糸出口は上糸入口点から90度〜180度、好ましくは110度で上糸のループが内釜の外周をくぐり抜け針板の上方へ引き上げられる位置に配設され、内釜の回転中心は回転駆動部の回転中心に対して上糸入口及び上糸出口の開角の間の方向へ偏心されている。
第5の形態の全回転水平釜において、内釜は、ボビンが内釜に内接して回転してボビンの下糸が巻戻されるのを防止するとともに、ボビンがボビンを収容する上広がりの収容部に内接して回転することによるボビンの浮上がり防止するために、収容部の中心に立設されボビンを保持するボビン支軸を有する。
本発明のミシンのパッカリング防止釜装置における第6の形態によれば、全回転釜は、下糸を巻装し取り外し自在に固定されるボビンを収容し内釜止めにより回転止めされる内釜と、内釜を内装し剣先を有し回転駆動部により回転される外釜とからなり、外釜は回転中心が回転駆動部に対して同心に配置し、内釜止めを回転駆動部の回転に同期して回転駆動部の軸芯方向の径方向に往復運動して内釜を押える内釜止め駆動部を備えることにより、回転駆動される外釜の所定回転毎に剣先で掬われた上糸のループが内釜の外周により最大に引き出された後で内釜の外周に上糸のループをくぐり入れ、内釜の外周から上糸のループをくぐり出す間隙を形成する周方向の異なる位置で内釜止め及び内釜間に2個の上糸入口及び上糸出口を設け、上糸入口は剣先で掬われた上糸のループが内釜の外周にくぐり入れる位置に配設され、上糸出口は上糸のループが内釜の外周をくぐり抜け針板の上方へ引き上げられる位置に配設され、上糸入口及び上糸出口間の開角は110度〜180度、好ましくは150度〜170度の開角で配設される。
本発明のミシンのパッカリング防止釜装置における第7の形態によれば、全回転釜は、下糸を巻装したボビンを収容し取り外し自在に固定されるボビンケースを収容し機枠に対して内釜止めにより回転止めされる内釜と、内釜を内装し剣先を有し回転駆動部により回転される外釜とからなり、外釜は回転中心が回転駆動部に対して同心に配置し、内釜止めを回転駆動部の回転に同期して回転駆動部の軸芯方向の径方向に往復運動して内釜を押える内釜止め駆動部を備えることにより、回転駆動される外釜の所定回転毎に剣先で掬われた上糸のループが内釜の外周により最大に引き出された後で内釜の外周に上糸のループをくぐり入れ、内釜の外周から上糸のループをくぐり出す間隙を形成する周方向の異なる位置で内釜止め及び内釜間に2個の上糸入口及び上糸出口を設け、上糸入口は剣先で掬われた上糸のループが内釜の外周にくぐり入れる位置に配設され、上糸出口は上糸のループが内釜の外周をくぐり抜け針板の上方へ引き上げられる位置に配設され、上糸入口及び上糸出口間の開角は110度〜180度、好ましくは150度〜170度の開角で配設される。
本発明のミシンのパッカリング防止釜装置における第1から第7の形態において、上糸の張力を全回転釜に収容されたボビンから繰り出される下糸の張力と均衡させて上糸と下糸との縫絡点を定位置に安定化させるにあたり、上糸を全回転釜にくぐり入れ、全回転釜からくぐり出すとき上糸を天秤によって繰り出し、引き上げることによる上糸の脈動を抑制するために上糸を、糸巻から糸振れ防止導管、糸調子器を介して針に刺し通して糸調子器の糸調子を一定にするものである。
本発明のミシンのパッカリング防止釜装置における第1から第7の形態において、被縫製体を針板上に布押えと送り歯で挟み、上糸を全回転釜にくぐり入れ、全回転釜からくぐり出すとき上糸を天秤によって繰り出し、引き上げるとき被縫製体を送り歯により被縫製体の一縫目毎に歩進させるにあたり、送り歯は、針の針落ち孔の中心を通り、縫目が形成された被縫製体を布押えで挟んで歩進させる送り歯であって、針の針落ち孔の直径の2倍から4倍、好ましくは2.5倍から3.5倍の横幅を有する。
本発明のミシンのパッカリング防止釜装置における第1から第7の形態において、被縫製体を針板上に布押えと送り歯で挟み、上糸を全回転釜にくぐり入れ、全回転釜からくぐり出し上糸を天秤によって繰り出し、引き上げるとき被縫製体を送り歯により被縫製体の一縫目毎に歩進させるにあたり、送り歯が縫目が形成された被縫製体を布押えで挟んで歩進させる送り速度から送り停止に減速する時点で慣性力によって被縫製体が、針板と送り歯により持ち上げられた布押えとの間に生じる隙間に滑込んで必要な布送り量以上の布送りによる被縫製体の弛みを防止するために、布押えは、被縫製体の入口部に縫製されていない被縫製体に常時接触する弾性部材を有する。
本発明のミシンのパッカリング防止釜装置によれば、内釜の回転中心を回転駆動部に対して偏心して配置すると共に、回転駆動される釜の回転毎に剣先で掬われた上糸のループを内釜の外側にくぐり入れ、くぐり出す間隙を全回転釜の周方向の異なる位置に配設した上糸出入口を設けたので、内釜の外周の上糸抜け抵抗を無くして上糸張力を低張力にすることができるので、上下糸のバランスを適切に取ることができてパッカリングを防止できる。
また、本発明のミシンのパッカリング防止釜装置によれば、内釜を外釜回転駆動部に対して同心に配置し、内釜止めを回転駆動部の回転に同期して回転駆動部の軸芯方向の径方向に往復運動させ、内釜止めと内釜間に上糸出入口を設けたので、内釜の外周の上糸抜け抵抗を無くして上糸張力を低張力にすることができるので、上下糸のバランスを適切に取ることができてパッカリングを防止できる。
また、本発明のミシンのパッカリング防止釜装置によれば、上糸を、糸巻から糸振れ防止導管、糸調子器を介して針に刺し通して糸調子器の糸調子を一定にすることにより、上糸を全回転釜にくぐり入れ、全回転釜からくぐり出すとき上糸を天秤によって繰り出し、引き上げることによる上糸の脈動を抑制する上糸の張力を全回転釜に収容されたボビンから繰り出される下糸の張力と均衡させて上糸と下糸との縫絡点を定位置に安定化させパッカリングを防止できる。
また、本発明のミシンのパッカリング防止釜装置によれば、送り歯は、針の針落ち孔の中心を通り、縫目が形成された被縫製体を布押えで挟んで歩進させる送り歯であって、針の針落ち孔の直径の所定倍の横幅を有することにより、被縫製体を針板上に布押えと送り歯で挟み、上糸を全回転釜にくぐり入れ、全回転釜からくぐり出すとき上糸を天秤によって繰り出し、引き上げるとき被縫製体を送り歯により被縫製体の一縫目毎に歩進させるにあたり安定した布送りが可能となり、パッカリングを防止できる。
また、本発明のミシンのパッカリング防止釜装置によれば、布押えは、被縫製体の入口部に縫製されていない被縫製体に常時接触する弾性部材を有することにより、被縫製体を針板上に布押えと送り歯で挟み、上糸を全回転釜にくぐり入れ、全回転釜からくぐり出し上糸を天秤によって繰り出し、引き上げるとき被縫製体を送り歯により被縫製体の一縫目毎に歩進させるにあたり、送り歯が縫目が形成された被縫製体を布押えで挟んで歩進させる送り速度から送り停止に減速する時点で慣性力によって被縫製体が、針板と、送り歯により持ち上げられた布押えとの間に生じる隙間に滑込んで必要な布送り量以上の布送りによる被縫製体の弛みを防止しパッカリングを防止できる。
したがって、本発明のミシンのパッカリング防止釜装置によれば、上糸の張力は全回転釜に収容されたボビンから繰り出される下糸の張力と均衡されるので、上糸と下糸との縫絡点を定位置に安定させることができ、特に綿シャツ地や婦人服ジョーゼット地等の薄地布の被縫製体が縫い縮み又は縫い皺によるパッカリングが発生することなく縫製できる。
本発明のミシンのパッカリング防止釜装置が全回転水平釜に適用された場合において、内釜は収容部の中心に立設されボビンを保持するボビン支軸を有することにより、ボビンが内釜に内接して回転してボビンの下糸が巻戻されるのを防止するとともに、ボビンがボビンを収容する上広がりの収容部に内接して回転することによるボビンの浮上がり防止することができる。
以下、本発明のミシンのパッカリング防止釜装置を実施するための最良の形態例について、図面を参照して説明する。
本発明の全回転釜装置が適用されるミシンには、被縫製体の面に平行な縫目と垂直の縫目とから成る本縫部を形成する本縫形成機構を備えている。
この本縫形成機構は、公知(周知)の構造である(特開昭49−117148号公報、特開昭52−154448号公報、特開昭53−108547号公報、特開昭54−60052号公報、特開昭54−110049号公報、特開昭55−35676号公報、特開昭55−113490号公報、特開昭55−146190号公報、特開昭56−3091号公報等)ので、その詳細な説明は省略する。
しかしながら、簡単に説明すれば図4に示すように、針棒5に固定され針板7に対し垂直方向に軌跡を描いて上下運動する針6と、針6の上下運動と連動し回転運動をしてその回転方向に軌跡を描く例えば垂直釜である全回転釜1とを備え、この針6に刺し通された上糸12と全回転釜1に収納された下糸(図示せず)とによって針板7に載置された被縫製体の一送り毎に被縫製体を貫通して垂直方向に往復運動する針6に刺し通した上糸12を針6の下死点から上昇する際に、針板7の下方にあって下糸を収納し且つ回転運動する全回転釜1の剣先(図示せず)で掬って上糸12と下糸とを交叉させて被縫製体に本縫を形成するものである。
〔実施例1〕・・・外釜剣先型全回転釜(内釜偏心)
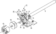
このような全回転釜1は、ミシン本体のベッド部3に設けられた針板7の下方に設けられ、例えば図1、図2、図3に示すような外釜剣先型全回転釜10で、下糸を巻装したボビン66を収容しミシン本体の機枠(図示せず)に対して取り外し自在に固定されるボビンケース65と、ボビンケース65を収容し機枠に対して内釜止め90により回転止めされる内釜80と、内釜80を内装すると共に剣先75を有し回転駆動部の一部品である下軸8により回転される外釜70とからなるものである。剣先75は外釜70が下軸8により図1中において反時計方向に回転されると、上糸12(図4、図5参照)のループを掬って当該ループを外釜70と内釜80との間にできる間隙を通して当該内釜80の外周を一周させることができるように形成されている。なお、図1においては、便宜上、ボビンケース65は収容されていない図を示している。
また、外釜剣先型全回転釜10は、内釜80の回転中心O1(図5(a))は回転駆動部の1部品である下軸8の回転中心O(図5(a))に対して偏心して配置することにより、回転駆動される外釜70の回転毎に剣先75で掬われた上糸12のループが内釜80の外周により最大に引き出された後で内釜80の外周に上糸12のループをくぐり入れ、内釜80の外周から上糸12のループをくぐり出す間隙を形成する周方向の異なる位置で内釜止め90及び内釜80間に上糸入口EN1、上糸出口EX1が形成されるようになっている。
この上糸入口EN1は剣先75で掬われた上糸12のループが内釜80の外周にくぐり入れる位置に配設され、上糸出口EX1は上糸12のループが内釜80の外周をくぐり抜け針板7の上方へ引き上げられる位置に配設される。
上糸入口EN1及び上糸出口9間の開角α1は120度〜160度、好ましくは120度〜180度の開角で配設される。図1に示す例では開角α1は140度に設定されている。なお、上糸入口EN1、上糸出口EX1は外釜70の回転に応じて変動する間隙によって形成されるものであって、内釜80の回転中心O1を中心点とする上糸入口EN1及び上糸出口EX1間の開角α1の意義は上糸入口EN1及び上糸出口EX1の間隙がそれぞれ糸通過時に最大になるときの開角値を表すものとする。また、この開角値は、120度〜160度に限らず、本発明者の動作試験においては、110度〜180度で外釜剣先型全回転釜10が釜として正常に動作することが確認されている。なお、ミシンの常用回転数を高速度、例えば4000〜5000rpmにする場合には、150度〜170度に設定することが好ましい。
内釜80の回転中心は回転駆動部である下軸8の回転中心に対して上糸入口EN1及び上糸出口EX1の開角α1の間の方向d1(図6参照)へ偏心されている。
内釜80は、有底円筒形に形成され内側にボビンケース収容部82を有し開口部側に鍔部80aが形成されている。この鍔部80aの表面には後述する内釜止め90に設けられた上内釜止め93及び下内釜止め95に係合する凹溝形状の上内釜止め溝85及び下内釜止め溝86が設けられている。下内釜止め溝86は外釜70の剣先75で掬われた上糸12のループが内釜80の外周にくぐり入れる位置に配置され、上内釜止め溝85は上糸12のループが内釜80の外周をくぐり出る位置に配設されている。また、上内釜止め溝85及び下内釜止め溝86は内釜80の周方向の異なる位置に内釜80の回転中心O1から上記の開角α1で配設されている(図1参照)。このように上内釜止め溝85及び下内釜止め溝86を配設することにより、上糸12のループを内釜80の外周でスムーズに移動させることができる。
また、内釜80のボビンケース収容部82の底部82aの回転中心O1にはボビンケース65を回転自在に装着するための中心軸となるスタッドピン83が突設され、このスタッドピン83の先端部の外周には、装着されたボビンケース65を内釜80内に固定するための溝83aが一周に亘って切り欠かれている。このスタッドピン83の溝83aには、ボビンケース65の下つまみ65aに形成された窓65a’が係止される。したがって、ボビンケース65の上つまみ65bを起こすと、下つまみ65aの窓65a’はスタッドピン83の溝83aには係止されないので、ボビンケース65の中心軸65cに穿孔された中心穴(図示せず)をスタッドピン83に嵌め込み、ボビンケース65を内釜80の底部82aに当接させる。ボビンケース65を内釜80に収容後、上つまみ65bから手を離すと、つまみばね(図示せず)によって下つまみ65aが元の位置に復帰して、スタッドピン83の溝83aに下つまみ65aの窓65a’が係止されるので、内釜80のスタッドピン83にボビンケース65を固定することができる。さらに、内釜80の鍔部80aには、ボビンケース65の下つまみ65aがつまみばねによって元の位置に復帰した際に、下つまみ65aの一端に形成されたツノ部に係合しボビンケース65が回転することを阻止するツノ溝84が切り欠かれている。なお、ボビン66は回転自在にボビンケース65の中心軸65cに嵌め込まれる。
また、内釜80の外周には、後述する外釜70に設けられたレース溝71aに嵌合させるための内釜レース81がその外周に沿って一部が切り欠かれて凸状に設けられている。このように内釜レース81が一部切り欠かれているのは、周知の外釜剣先型全回転釜と同様で、上糸のループを内釜80の外周にくぐり入れるためである。
外釜70は、周知の外釜剣先型全回転釜とほぼ同様の構成で、下軸8にねじなどの固定部材74で固定するための外釜ボス72を有し、外釜ボス72に設けられた下軸取付穴73の回転中心は下軸8の回転中心と同軸に穿孔されている。外釜70とその剣先75は回転駆動部である下軸8と同心に回転する。
このような外釜70の内側には内釜80を収容するための内釜収容部71を有しこの内釜収容部71の開口部側には、内釜80の内釜レース81が嵌合され摺動した状態で回転させるレース溝71aが回転駆動部である下軸8から偏心して設けられている。したがって、内釜80の内釜レース81を外釜70のレース溝71aに嵌合させると、外釜70に内装される内釜80の回転中心O1は、レース溝71aと内釜レース81の回転中心が同心となるので、回転駆動部である下軸8の回転中心に対して偏心することになる。このようにして内釜80はその回転中心O1が回転駆動部である下軸8から偏心するように設けられることになる。これにより、内釜80は下軸8の回転中心に対して偏心回転運動を行なう。
また、内釜80を外釜70の内釜収容部71に収容後、内釜80が抜け出ないように内釜押え76を外釜70にねじなどの固定部材77で固定する。この内釜押え76は、内釜80の内釜レース81を回転可能に挟持するものである。さらに、外釜70の外周に設けられた剣先75の近傍には剣先75で掬われた上糸12のループを内釜80の外周に案内するための糸案内ばね78がねじなどの固定部材79によって外釜70の外周に固定されている。
内釜止め90は、略二又形状に形成され、上腕部92に凸形状の上内釜止め93が、下腕部94に凸形状の下内釜止め95がそれぞれ設けられている。この内釜止め90は、内釜止め基部91が、ミシン本体のベッド部3内に位置する機枠の所定位置にねじなどの固定部材97によって固定された内釜止め取付台96に、ねじなどの固定部材99によって固定されている。なお、固定した際、上内釜止め93は針6の方向に配置され、下内釜止め95は内釜80の上内釜止め溝85及び下内釜止め溝86と実質的に同一の開角α1で配置されるようになっている。
このように構成された外釜70、内釜80及び内釜止め90を組み立てると、上内釜止め溝85及び上内釜止め93間と、下内釜止め溝86及び下内釜止め95間とには所定の幅の間隙ができるように設定され、この間隙が上糸出入口EN1、EX1として機能する。
次に、このような2個の上糸出入口EN1、EX1を設け内釜80に対して外釜70が針6に同期して回転運動する外釜剣先型全回転釜10の上糸12に対する釜動作について、図5に基づき説明する。この動作説明において、方向を示す場合には図5を正面から見た状態で説明する。
なお、この外釜剣先型全回転釜10は、針6の上下運動の1サイクルに対して2回転するものである。この釜動作の説明で使用する図5においては、下軸8が反時計方向に回転運動を行なうと外釜70は反時計方向に回転するものとする。また、便宜上、上糸12が挿通された針6が下死点から所定長さ、例えば2mm上昇した状態で、且つ外釜70の剣先75が上死点に位置している状態(図5(a))から動作説明を行なうものとする。この位置においては偏心運動する内釜80の上回転止め溝85と、内釜止め90の上内釜止め93の両側面との間にはそれぞれ上糸出口EX1となる間隙を有し、内釜止め90の下内釜止め95は内釜の下回転止め溝86の左方壁に当接している。さらに、図5中において、便宜上、内釜止め90の上内釜止め93及び下内釜止め95を円形で示している。
上述した状態から針6が上昇し始めると、針6に挿通された上糸12は、針板7の上面で針6と共に貫通した布に押えられて、針6と共に上昇せずに残り、ループを発生する。この上糸12のループを図5(b)、(c)に示すように、反時計方向に回転する外釜70の剣先75が掬って内釜80の外周に引き込む。この際、外釜70に偏心して収容された内釜80が内釜レース81と外釜レース溝71aとの僅かな摩擦によって反時計方向に偏心回転するので、内釜80の上回転止め溝85との間に間隙を有している内釜止め90の上内釜止め93が上回転止め溝85の右方壁に当接する(図5(c))。なお、内釜80の下回転止め溝86と内釜止め90の下内釜止め95とは当接したままである。
内釜80の外周に引き込まれた上糸12のループは図5(d)、(e)に示すように、外釜70の回転運動により移動する剣先75で下方に導かれ、この際、内釜80の下回転止め溝86の左方壁に当接している内釜止め90の下内釜止め95が下回転止め溝86の左方壁から徐々に離れていく。これは、内釜止め90によって偏心回転運動が規制されている内釜80が、外釜70の回転運動によって公転してその内釜80の偏心量だけ変位するからである。なお、上内釜止め93は上回転止め溝85の右方壁に当接したままである。
内釜80の外周の下方まで導かれた上糸12のループが図5(f)に示すように、外釜70の回転運動により移動する剣先75で、内釜止め90によって偏心回転運動が規制されている内釜80の下回転止め溝86まで導かれ、この下回転止め溝86と下内釜止め95との間にある間隙を通過する。この上糸入口EN1となる間隙から上糸12のループをスムーズに通過させることができる。このように上糸12のループが下回転止め溝86を抜けると、天秤14(図4参照)が内釜80をくぐり抜けた上糸12を引き上げる。このように天秤14が上糸12を引き上げている状態において、図5(g)、(h)に示すように、内釜止め90の下内釜止め95が内釜80の下回転止め溝86の左方壁に当接する。なお、内釜止め90の上内釜止め93も、内釜80の上回転止め溝85の右方壁に当接したままである。
図5(h)の状態から、さらに、外釜70が回転運動すると、図5(i)に示すように、内釜80の上回転止め溝85の右方壁に当接した内釜止め90の上内釜止め93は、偏心回転運動が規制されている内釜80の公転変位によって、上回転止め溝85の右方壁から徐々に離れていく。これにより、天秤14により引き上げられている上糸12は、上回転止め溝85と上内釜止め93との間にある上糸出口EX1となる間隙を通過すると共に、下糸13と交叉して被縫製体に本縫を形成することになる。この上糸出口EX1となる間隙から上糸12のループをスムーズに通過させることができる。また、この状態において、下内釜止め95は下回転止め溝86の左方壁に当接したままである。なお、外釜70は針6が図5(a)に示す位置まで戻る間にさらに1回転する。
このように、外釜70が回転運動で1回転する間に、内釜80は偏心回転運動によって公転してその内釜80の偏心量だけ変位するので、針6の上糸12が外釜70の剣先75によって掬われて上糸12のループが内釜80の外周にくぐり入れる時、下回転止め溝86と下内釜止め95との間に間隙を形成し上糸12をスムーズに内釜80の外周にくぐり入れることができ、また、外釜70が回転して上糸12が内釜80からくぐり出る時、天秤14が上糸12を手繰り上げる時点で上回転止め溝85と上内釜止め93との間に間隙を形成し上糸12に釜抜け時の抵抗を与えることなく無抵抗で上糸12を天秤14で引き上げることができるようになる。
このような外釜剣先型全回転釜10に関して、さらに具体例を挙げて説明する。
外釜剣先型全回転釜10は、一般的な釜の大きさで、図6に示すように、内釜80の回転中心O1の偏心方向d1は下軸8の回転中心Oに対して釜先75が上死点に位置する場合において、図6を正面から見て、下軸8の回転中心Oを軸としたY軸の正方向側から反時計方向に285度だけ回転した位置P1と下軸8の回転中心Oとを結ぶ直線L1上で、下軸8の回転中心Oから位置P1に向けて0.5mmだけ変位した位置である。また、図7に示すように、内釜80の上内釜止め溝85と下内釜止め溝86とは開角α1が140度で設定されている。さらに、図8に示すように、内釜止め90の上内釜止め93及び下内釜止め95は幅が2mmで、長さが2mmの正方形の凸状に形成され、また、内釜80の上内釜止め溝85及び下内釜止め溝86は幅が3.2mmに、溝深さは外釜剣先型全回転釜10をミシン本体のベッド3内に組み込んだときに上内釜止め93及び下内釜止め95の凸部の端面との隙間が0.5mmになるような矩形の凹状に形成されている。
また、外釜70は、針6が下死点から2.0mm上昇した時点で剣先75が針6の軸心位置に到達して上糸12のルーパを掬うように下軸8に固定されている。
このような外釜剣先型全回転釜10の釜動作を図9のミシンのモーションダイヤグラムに示した。このモーションダイヤグラムにおいて外釜剣先型全回転釜10は、外釜70の剣先75の回転角度が上死点0度では図5(a)に示す状態で、回転角度が96.755度では図5(c)に示す状態で、回転角度が278.157度では図5(h)に示す状態である。
外釜70の剣先75が上死点0度で上糸12のループを掬う時には、上糸出口EX1(内釜の上回転止め溝85と内釜止め90の上内釜止め93との間に生じる間隙)が開放され上糸入口EN1(内釜の下回転止め溝86と内釜止め90の下内釜止め95との間に生じる間隙)が閉塞されていることがわかる。外釜70が上死点0度から96.755度まで反時計方向に回転すると、上糸出入口EN1、EX1が同時に閉塞される。続いて外釜70が反時計方向に回転すると、下内釜止め95によって偏心回転運動を規制されている内釜80が、外釜70の回転運動によって公転してその内釜80の偏心量0.5mmだけ変位して、上糸入口EN1が開放されることがわかる。この上糸入口EN1が開放されている間(剣先の位置が剣先角度96.755度から278.157度までの間)に、外釜70の剣先75は上糸12をこの上糸入口EN1から上糸12のループをスムーズに通過させことができる。引き続き外釜70が96.755度から278.157°まで反時計方向に回転すると、上糸出入口EN1、EX1が同時に閉塞される。続いて外釜70が反時計方向に回転すると、下内釜止め95によって偏心回転運動を規制されている内釜80が、外釜70の回転運動によって公転してその内釜80の偏心量0.5mmだけ変位して、上糸出口EX1が開放されることがわかる。この上糸出口EX1が開放されている間(剣先の位置が剣先角度278.157度から456.755度までの間)に、外釜70の剣先75は上糸12をこの上糸出口EX1から上糸12のループをスムーズに通過させことができる。
なお、内釜80の上回転止め溝85及び下回転止め溝86の位置は、下回転止め溝86は外釜70の剣先75で掬われた上糸12のループが最大限引き込まれてから内釜80の外周にくぐり入れる位置に配設され、上回転止め溝85は上糸12のループが内釜80の外周をくぐり抜け針板7の上方へ引き上げられる位置に配設できるならば、開角α1は110度〜180度の範囲内で変更してもよい。この場合、内釜止め90の上内釜止め93及び下内釜止め95も実質的に同一の開角で配置されるのは言うまでもない。
例えば、開角α1が180度の場合、外釜70の剣先75が上死点0度から上糸12のループを掬って反時計方向に180度回転して最下点となる下死点に達したときには、上糸12は内釜80の外周をくぐるために最大限引き込まれているので、この時点を僅かに通過して上糸12に負荷された糸張力が解放される位置に内釜80の下回転止め溝86が設けられる。この位置に設けられた内釜80の下回転止め溝86においては、上糸12は内釜80の外周をくぐるために負荷されていた糸張力が解放されるので、内釜80の下回転止め溝86と内釜止め90の下内釜止め95との間に生じた間隙をくぐり抜けやすくなる。また、この内釜80の下回転止め溝86を外釜70の剣先75の下死点近傍に設けると、上内釜止め溝85に対して外釜70の回転中心O1を中心点として対向配置されるので、内釜80の上回転止め溝85及び下回転止め溝86と、これらに係合する内釜止め90の上内釜止め93及び下内釜止め95との間に生じる間隙が、上述した開角α1が180度よりも小さく配置された上回転止め溝85及び下回転止め溝86を有する内釜80を用いた場合と同じでも、下軸8の回転中心Oと外釜70の回転中心O1との変位量を開角α1の角度に応じて小さくできる。
一方、開角α1が180度の場合における上回転止め溝85は、上糸12のループが内釜80の外周をくぐり出て針糸7の上方へ引き上げられる位置に配設される。具体的には、上糸12が内釜80の外周をくぐり出た後、撚りの強い糸や滑りの悪い糸などでよく発生するルーピング(糸ねじれ)を防ぐために、内釜押え76に形成され糸離れに合わせて一時的に上糸と12のループを掛け留めて置く突起部76’の糸離れに合わせて、外釜70の剣先75の上死点0度近傍に設けられる。
このように、内釜80の上回転止め溝85及び下回転止め溝86の配設角度である開角α1を110度を超えて180度以内にするのは、高速回転ミシンにおいて、より安定した糸締りを提供するためである。即ち、外釜70の剣先75で掬われた上糸12のループを、最大限引き込まれてからできるだけ早いタイミングで内釜80の外周にくぐり入れた後に、上糸12の引き上げタイミングを早期にすると、上糸12の引き上げ時間をより多く取るようにできるので、内釜80の周りに余計な上糸12の遊びを極力なくすことができ、安定した糸締りを実現可能になる。
なお、外釜剣先型全回転釜10は、針6の上下運動の1サイクルに対して2回転するもので説明したが、これに限らず、針6の上下運動の1サイクルに対して1回転するものでも、同様の作用、効果を得ることができる。要するに、回転駆動される外釜70の所定回転毎に剣先75で掬われた上糸12のループが内釜80の外周により最大に引き出された後で内釜80の外周に上糸12のループをくぐり入れ、内釜80の外周から上糸12のループをくぐり出すことができれば、針6の上下運動の1サイクルに対して外釜剣先型全回転釜10はどのような回転数で回転してもよい。
また、内釜80には図10に示すように、ボビン66自体を収容するようにしてもよい。この構造は周知のもので、ボビン66を内釜80に収容後、ボビン押え爪67によって回転可能に内釜80内に固定するものである。
〔実施例2〕・・・内釜剣先型全回転釜(従動部偏心)
また、図4に示す全回転釜1は、図11、図12、図13に示すような内釜剣先型全回転釜11でもよく、下糸を巻装したボビン66を収容しミシン本体の機枠(図示せず)に対して取り外し自在に固定されるボビンケース60と、ボビンケース60を収容すると共に剣先45を有し回転駆動部の一部品である下軸8(図13参照)により従動回転される内釜40と、内釜40を回転自在に内装し機枠に対して回転止めされる外釜20とからなるものである。
剣先45は内釜40が下軸8により図11中において反時計方向に従動回転されると、上糸12のループを掬って当該ループを外釜20と内釜40との間にできる間隙を通して当該内釜40の外周を一周させることができるように形成されている。なお、図11においては、便宜上、ボビンケース60は収容されていない図を示している。
また、この内釜剣先型全回転釜11は、内釜40の周方向の異なる位置に配設された2個の第1従動部46、第2従動部47を有し、この内釜40を従動回転させるための従動部46、47にそれぞれ遊嵌される駆動部である2個の内釜駆動第1突起34、内釜駆動第2突起35を備えている。内釜40の第1従動部46、第2従動部47の回転中心O2(図14(a))は回転駆動部の1部品である下軸8の回転中心Oに対して偏心して配置され、内釜駆動第1突起34、内釜駆動第2突起35は回転中心が回転駆動部の1部品である下軸8の回転中心と同心で配置されている。
第1従動部46、第2従動部47の回転中心は回転駆動部である下軸8の回転中心に対して偏心して配置されることにより、一対の内釜駆動第1突起34、第1従動部46が内釜40を従動回転させるように駆動状態にあるときは、他の対の内釜駆動第2突起35、第2従動部47は内釜40の所定回転毎に剣先45で掬われた上糸12のループが内釜40の剣先45により最大に引き出される前で内釜40の駆動部側(内釜40の裏側)に上糸12のループをくぐり入れる上糸入口EN2を設け、一対の内釜駆動第2突起35、第2従動部47が内釜40を従動回転させるように駆動状態にあるときは、他の対の内釜駆動第1突起34、第1従動部46は内釜40の駆動部側(内釜40の裏側)から上糸12のループをくぐり出す上糸出口EX2を設けている。即ち、1対の内釜駆動第1突起34、第1従動部46が内釜40を従動回転させるように駆動状態にあるときは、1対の内釜駆動第2突起35、第2従動部47は内釜40の回転毎に剣先45で掬われた上糸12のループが内釜40の外周にくぐり入れる間隙を形成する上糸入口EN2が形成され、1対の内釜駆動第2突起35、第2従動部47が内釜40を従動回転させるように駆動状態にあるときは、1対の内釜駆動第1突起34、第1従動部46は内釜40の回転毎に剣先45で掬われた上糸12のループが内釜40の外周をくぐり出る間隙を形成する上糸出口EX2が形成されるようになっている。
この上糸入口EN2は剣先45で掬われた上糸12のループが内釜40の外周にくぐり入れる位相に配設され、上糸出口EX2は上糸12のループが内釜40の外周をくぐり抜け針板の上方へ引き上げられる位相に配設される。
上糸入口EN2及び上糸出口EX2の開角α2は90度〜130度の開角で配設される。図11に示す例では開角α2は110度に設定されている。なお、上糸入口EN2、上糸出口EX2は内釜40の回転に応じて変動する間隙によって形成されるものであって、内釜40の第1従動部46、第2従動部47の回転中心O2を中心点とする上糸入口EN2及び上糸出口EX2間の開角α2の意義は上糸入口EN2及び上糸出口EX2の間隙がそれぞれ糸通過時に最大になったときの開角値を表すものとする。また、この開角値は本発明者の動作試験においては、90度〜130度で内釜剣先型全回転釜11が釜として正常に動作することが確認されている。
第1従動部46、第2従動部47の回転中心は回転駆動部である下軸8の回転中心に対して剣先45の上死点と反対方向d2(図15参照)へ偏心されている。
内釜40は、有底円筒形に形成され内側にボビンケース収容部42を有し、第1従動部46、第2従動部47は内釜40の周方向及び径方向にそれぞれ所定の長さで伸びる長孔又は長溝から構成されている(本実施例においては長孔である)。ボビンケース収容部42の底部42aの回転中心O2(図11参照)にはボビンケース60を回転自在に装着するための中心軸となるスタッドピン43が突設され、このスタッドピン43の先端部の外周には、装着されたボビンケース60を内釜40内に固定するための溝43aが一周に亘って切り欠かれている。なお、ボビンケース60は外釜剣先型全回転釜10に使用されるボビンケース65と同様の構成であるが、後述する釜蓋50に設けられたツノ溝53に係合しボビンケース60が回転することを阻止するツノ62が突設されている。
また、内釜40の外周には、後述する外釜20に設けられたレース溝21に嵌合させるための内釜レース41がその外周に沿って一部が切り欠かれて凸状に設けられている。このように内釜レース41が一部切り欠かれているのは、周知の内釜剣先型全回転釜と同様で、上糸のループを内釜40の外周にくぐり入れるためである。
このような内釜40の第1従動部46、第2従動部47に遊嵌する内釜駆動第1突起34、内釜駆動第2突起35は、円板状の内釜駆動板32に設けられ、内釜駆動板32は、下軸8に嵌合させねじなどの固定部材36で固定するための下軸取付穴33が穿孔された内釜駆動体ボス部31を有している。内釜駆動板32の下軸取付穴33の回転中心は、下軸8の回転中心と同心である。また、内釜駆動第1突起34、内釜駆動第2突起35は、内釜駆動板32の周方向に所定の長さで伸びる突起から構成されている。
また、内釜40の第1従動部46、第2従動部47は、内釜40の周方向の異なる位置に内釜40の回転中心O2から上記の開角α2で配設されている。このように第1従動部46、第2従動部47を配設することにより、上糸12のループを内釜40の外周でスムーズに移動させることができる。
外釜20は、周知の内釜剣先型全回転釜と基本的には同様の構成で、有底円筒形に形成され内側に内釜40及び内釜駆動体30を収容する内釜収容部27を有し、開口部側に鍔部25が形成されている。外釜20には、下軸8を挿入するための下軸穴23が設けられた取付ボス部22を有し、下軸穴23及び内釜収容部27の円中心は、下軸8の回転中心と同心である。また、外釜20の内釜収容部27の開口部側には、内釜40の内釜レース41が嵌合され摺動した状態で当該内釜40を回転させるレース溝21が設けられている。レース溝21の円中心は下軸穴23の中心に対して偏心しているので、内釜40の内釜レース41がレース溝21内で摺動した状態で回転すると、内釜40は下軸8に対して偏心した位置で回転運動を行なう。
外釜20の内釜収容部27に内釜駆動体30は内釜駆動体ボス部31から挿入され、外釜20の取付ボス部22の下軸穴23に挿入された下軸8にねじなどの固定部材36で固定されている。なお、外釜20の内釜収容部27に収容された内釜駆動体30は、取付ボス部22の後端面22a側に配置され下軸8に固定されるスラストカラー9で位置調整することができるので、下軸8の軸方向にがたつくことなく下軸8の回転運動が伝達される。このように外釜20の内釜収容部27に収容された内釜駆動体30の内釜駆動第1突起34、内釜駆動第2突起35に内釜40の第1従動部46、第2従動部47が遊嵌するように、内釜40が外釜20の内釜収容部27に収容されている。また、外釜20の内釜収容部27に収容された内釜40が抜け出ないように、釜蓋50を外釜20の鍔部25にねじなどの固定部材56で固定する。この釜蓋50は外釜20の鍔部25を覆うようなリング状に形成され、鍔部25に固定した際に内釜40の内釜レース41を覆うので、内釜レース41を回転可能に挟持することができる。なお、釜蓋50の内周側には、ボビンケース60のツノ62を係合するツノ溝53が設けられている。
また、外釜20の開口部側には内釜収容部27まで切り欠かれた針落ち切欠部26が設けられ、内釜剣先型全回転釜20をミシン本体のベッド部3内に組み込んだ際、針6が入り込むことができる。さらに、外釜20の針落ち切欠部26の周囲には、上糸12を案内するための上ばね54がねじなどの固定部材55によって固定されている。
このように構成された外釜20、内釜駆動体30及び内釜40を組み立てると、内釜駆動体30の内釜駆動第1突起34及び内釜40の第1従動部46間と、内釜駆動体30の内釜駆動第2突起35及び内釜40の第2従動部47間とには、所定の幅の間隙ができるように設定され、この間隙が上糸出入口EN2、EX2として機能する。これらの上糸出入口EN2、EX2は、内釜40の第1従動部46及び第2従動部47の回転中心O2が内釜駆動体30の内釜駆動第1突起34及び内釜駆動第2突起35の回転中心に対して偏心しているので、内釜駆動体30の回転に伴って内釜40が回される時、一対となる組み合わせの内釜駆動第1突起34及び第1従動部46と、一対となる組み合わせの内釜駆動第2突起35及び第2従動部47とは、基本的にはそれぞれ一方の組み合わせが接触して内釜駆動体30の回転運動を伝達する時、他方の組み合わせは接触せず間隙が生じて内釜駆動体30の回転運動を伝達できない構成で、スロテッド・リンク・メカニズム(Slotted-link Mechanism)を応用したものである。また、内釜40の第1従動部46、第2従動部47は内釜40の周方向及び径方向にそれぞれ所定の長さで伸びる長孔又は長溝から構成され、内釜駆動体30の内釜駆動第1突起34、内釜駆動第2突起35は内釜駆動板32の周方向に所定の長さで伸びる突起から構成されているので、内釜40の第1従動部46、第2従動部47の偏心量だけ摺動可能に長手方向に余裕をもたせることができる。
次に、このような2個の上糸出入口EN2、EX2を設け内釜40が外釜20に対して針6に同期して回転運動する内釜剣先型全回転釜11の上糸12に対する釜動作について、図14に基づき説明する。この動作説明において、方向を示す場合には図14を正面から見た状態で説明する。
なお、この内釜剣先型全回転釜11は、針6の上下運動の1サイクルに対して2回転するものである。この釜動作の説明で使用する図14においては、下軸8を介して内釜駆動体30が回転運動を行なうと偏心回転運動を行なう内釜40は反時計方向に偏心回転するものとする。また、便宜上、上糸12が挿通された針6が下死点から所定長さ、例えば2mm上昇した状態で、且つ内釜40の剣先45が上死点に位置する状態(図14(a))から動作説明を行なうものとする。この位置においては内釜40の第1従動部46及び第2従動部47は針6側に針6の軸心方向に延びた軸線を中心にして実質的に左右対象の位置に配置され、内釜駆動体30の内釜駆動第1突起34は内釜40の第1従動部46の反回転方向側の壁側に偏った状態で第1従動部46の左右壁と間隙を有し、内釜駆動体30の内釜駆動第2突起35は内釜40の第2従動部47の回転方向側の壁に当接している。さらに、図14中において、便宜上、内釜駆動体30の内釜駆動第1突起34及び内釜駆動第2突起35を円形で示している。
上述した状態から針6が上昇し始めると、針6に挿通された上糸12は、針板7の上面で針6と共に貫通した布に押えられて、針6と共に上昇せずに残り、ループを発生する。この上糸12のループを図14(b)、(c)に示すように、反時計方向に偏心回転する内釜40の剣先45が掬って内釜40の外周に引き込む。この際、内釜40が内釜駆動体30の内釜駆動第2突起35によって反時計方向に偏心回転するので、内釜駆動体30の内釜駆動第1突起34は内釜40の第1従動部46の反回転方向側の壁から徐々に離れて回転方向側の壁に徐々に近づいていく。
内釜40の外周に引き込まれた上糸12のループは図14(d)、(e)に示すように、内釜40の偏心回転運動により移動する剣先45で下方に導かれるにしたがって、内釜駆動体30の内釜駆動第1突起34は内釜40の第1従動部46の回転方向側の壁に当接し、内釜40はこの内釜駆動第1突起34によって反時計方向に偏心回転する。また、内釜駆動体30の内釜駆動第2突起35は内釜40の第2従動部47の回転方向側の壁から徐々に離れていく。このように内釜40の第2従動部47と内釜駆動体30の内釜駆動第2突起35とに上糸入口EN2となる間隙が生じるのは、この一対の第2従動部47、内釜駆動第2突起35が下方側で回転移動しているときで、内釜40の剣先45で下方に導かれる上糸12のループを、この上糸入口EN2となる間隙から通過させることができる。なお、内釜駆動体30の内釜駆動第2突起35は、内釜駆動板32の周方向から回転中心に向かって下がるように傾斜する傾斜面35’が形成されている。この傾斜面35’上で上糸12を滑らせることができるので、この上糸入口EN2となる間隙をスムーズに通過させることができる。
内釜40の外周の下方まで導かれた上糸12のループが図14(f)、(g)に示すように、内釜40の偏心回転運動により移動する剣先45で右側に導かれていくと、内釜駆動体30の内釜駆動第2突起35は、内釜40の第2従動部47の反回転方向側の壁に当接することなく、再度、内釜40の第2従動部47の回転方向側の壁に徐々に近づいていく。なお、内釜駆動体30の内釜駆動第1突起34は内釜40の第1従動部46の回転方向側の壁に当接したままである。
そして図14(h)に示すように、天秤14(図4参照)が内釜40をくぐり抜けた上糸12を引き上げるが、この状態では、まだ、内釜駆動体30の内釜駆動第1突起34及び内釜駆動第2突起35はそれぞれ内釜40の第1従動部46及び第2従動部47の各回転方向側の壁に当接して内釜40を偏心回転させている。
図14(h)の状態から、さらに、内釜40が偏心回転運動すると、図14(i)に示すように、内釜駆動体30の内釜駆動第1突起34が内釜40の第1従動部46の回転方向側の壁から徐々に離れていく。したがって、内釜40の第1従動部46と内釜駆動体30の内釜駆動第1突起34とに上糸出口EX2となる間隙が生じるので、天秤14により引き上げられている上糸12は、この上糸出口EX2となる間隙を通過すると共に、下糸13と交叉して被縫製体に本縫を形成することになる。なお、内釜駆動体30の内釜駆動第1突起34は内釜駆動第2突起35と同様に、内釜駆動板32の周方向から回転中心に向かって下がるように傾斜する傾斜面34’が形成されている。この傾斜面34’上で上糸12を滑らせることができるので、この上糸出口EX2となる間隙をスムーズに通過させることができる。なお、内釜駆動体30及び内釜40は針6が図14(a)に示す位置まで戻る間にさらに1回転する。
このように、内釜駆動体30が回転運動で1回転する間に、内釜40は偏心量だけ変位して偏心回転運動するので、針6の上糸12が内釜40の剣先45によって掬われて上糸12のループを内釜40の外周にくぐり入れる時、内釜40の第2従動部47と内釜駆動体30の第2突起35との間に間隙を形成し上糸12をスムーズに内釜40の外周にくぐり入れることができ、また、内釜40が偏心回転して上糸12が内釜40からくぐり出る時、天秤14が上糸12を手繰り上げる時点で内釜40の第1従動部46と内釜駆動体30の第1突起34との間に間隙を形成し上糸12に釜抜け時の抵抗を与えることなく無抵抗で上糸12を天秤14で引き上げることができるようになる。
このような内釜剣先型全回転釜11に関して、さらに具体例を挙げて説明する。
内釜剣先型全回転釜11は、一般的な釜の大きさで、図15に示すように、上糸入口EN2は剣先45で掬われた上糸12のループが内釜40の外周にくぐり入れる位相に配設され、上糸出口EX2は上糸12のループが内釜40の外周をくぐり抜け針板7の上方へ引き上げられる位相に配設される。
上糸入口EN2及び上糸出口EX2の開角α2は剣先45の上死点を挟んで周方向の異なる位置に90度〜130度の開角で配設される。
第1従動部46、第2従動部47の回転中心O2は回転駆動部である下軸8の回転中心Oに対して剣先の上死点の方向とは反対方向へ偏心されている。
内釜40の回転中心O2の偏心方向d2は下軸8の回転中心Oに対して釜先45が上死点に位置する場合において、図15を正面から見て、下軸8の回転中心Oを軸としたY軸の正方向側から反時計方向に190度だけ回転した位置P2と下軸8の回転中心Oとを結ぶ直線L2上で、下軸8の回転中心OからP2に向けて0.5mmだけ変位した位置である。また、内釜40は図16(a)に示すように、図を正面から見て反時計方向に回転する釜先45が上死点に位置する場合において、内釜40の回転中心O2を軸としたY軸の正方向側から反時計方向側に50度だけ回転した位置P11と内釜40の回転中心O2とを結ぶ直線L11上に第1従動部46が設けられ、内釜40の回転中心O2を軸としたY軸の正方向側から時計方向側に60度だけ回転した位置P12と内釜40の回転中心O2とを結ぶ直線L12上に第2従動部47が設けられている。即ち、第1従動部46と第2従動部47とは開角α2が110度で設定されている。また、内釜駆動体30の内釜駆動第1突起34及び内釜駆動第2突起35も、内釜駆動体30の回転中心を軸にして開角が110度で設定されている。さらに、内釜40の第1従動部46及び第2従動部47は長孔の幅が3.5mmで(図16)、この第1従動部46及び第2従動部47に係合する内釜駆動体30の内釜駆動第1突起34及び内釜駆動第2突起35の幅が2.2mmに形成されている。なお、このような内釜駆動体30の内釜駆動第1突起34及び内釜駆動第2突起35は、内釜40の第1従動部46及び第2従動部47に1.5mm程度嵌まり込んで係合するようになっている。
また、針6が下死点から2.0mm上昇した時点で剣先45が針6の軸心位置に到達して上糸12のループを掬うように、下軸8に固定される内釜駆動体30の回転タイミングが設定されている。
このような内釜剣先型全回転釜11の釜動作を図17のミシンのモーションダイヤグラムに示した。このモーションダイヤグラムにおいて内釜剣先型全回転釜11は、内釜40の剣先45の回転角度が上死点0度では図14(a)に示す状態で、回転角度が108.98度では図14(d)に示す状態で、回転角度が286.54度では図14(h)に示す状態である。
内釜40の剣先45が上死点0度で上糸12のループを掬う時には、上糸出口EX2(内釜40の第1従動部46と内釜駆動体30の内釜駆動第1突起34との間に生じる間隙)が開放され上糸入口EN2(内釜40の第2従動部47と内釜駆動体30の内釜駆動第2突起35との間に生じる間隙)が閉塞されていることがわかる。内釜40が上死点0度から108.98度まで反時計方向に回転すると、上糸出入口EN2、EX2が同時に閉塞される。続いて内釜40が反時計方向に回転すると、内釜駆動体30が回転運動し内釜40が偏心量0.5mmだけ変位して偏心回転運動することにより、上糸入口EN2が開放されることがわかる。この上糸入口EN2が開放されている間(剣先45の位置が剣先角度108.98度から286.54度までの間)に、内釜40の剣先45は上糸12をこの上糸入口EN2から上糸12のループをスムーズに通過させことができる。引き続き内釜40が108.98度から286.54°まで反時計方向に回転すると、また、上糸出入口EN2、EX2が同時に閉塞される。続いて内釜40が反時計方向に回転すると、内釜駆動体30が回転運動し内釜40が偏心量0.5mmだけ変位して偏心回転運動することにより、上糸出口EX2が開放されることがわかる。この上糸出口EX2が開放されている間(剣先の位置が剣先角度286.54度から468.98度までの間)に、内釜40の剣先45は上糸12をこの上糸出口EX2から上糸12のループをスムーズに通過させことができる。
なお、内釜剣先型全回転釜11は、針6の上下運動の1サイクルに対して2回転するもので説明したが、これに限らず、針6の上下運動の1サイクルに対して1回転するものでも、同様の作用、効果を得ることができる。要するに、回転駆動される内釜40の所定回転毎に剣先45で掬われた上糸12のループが内釜45の外周により最大に引き出された後で内釜45の外周に上糸12のループをくぐり入れ、内釜45の外周から上糸12のループをくぐり出すことができれば、針6の上下運動の1サイクルに対して内釜剣先型全回転釜11の内釜40はどのような回転数で回転してもよい。
また、内釜40には図18に示すように、ボビン66自体を収容するようにしてもよい。この構造は周知のもので、ボビン66を内釜40に収容後、ボビン押え爪63によって回転可能に内釜40内に固定するものである。
このように実施例1−2で説明した外釜剣先型全回転釜10及び内釜剣先型全回転釜11の構成によれば、オープナー機構などの複雑な機構を用いなくとも上糸を釜にくぐり入れ、くぐり出すことができるので、垂直釜、水平釜の何れの釜でも使用することができる。また、下糸と交叉するために釜剣先によって掬われた上糸が、下糸を内装する内釜の外周にくぐり入れ、くぐり出る時に、何ら余計な糸抵抗を受けることなく上糸出入口を通過することができるので、従来の釜通過時に発生する糸抵抗に抗して上糸を引き抜くための上糸張力が不要になる。これにより、被縫製体の厚みの中心に上下糸の縫絡点が位置するように、下糸を被縫製体に引き込むに必要な僅かな糸張力を付与した値の上糸張力で縫うことができるようになる。例えば、極薄ガーゼ地などの合せ縫いでは、例えば下糸張力を10グラムで上糸張力を15グラムにして縫い合わせることが可能になる。
したがって、一般的に10グラム〜15グラムである下糸張力に対して縫絡点の糸締りに必要な5グラム程度の糸張力だけを加算した上糸張力は、縫い終わった1針前の縫目の上糸を引き戻さなくなることから、上糸が必要以上に布を引き締めなくなるので、布に発生するパッカリングが発生しなくなり、綺麗な縫目を提供できるようになる。
〔実施例3〕・・・外釜剣先型全回転水平釜(内釜偏心)
この実施例は、上述した実施例1−2における特徴である外釜と内釜の偏心関係を利用し、図19に示すような特に家庭用ミシンに適する全回転水平釜130に関する。なお、この全回転水平釜130の説明に使用する図面のうち、図22を除く図19〜図21、図23、図24は、便宜上、ボビン66は収容されていない図を示している。
全回転水平釜130は図19〜図22に示すように、ミシン本体のベッド部101に設けられた針板(図示せず)の下方に設けられ、下糸13(図23参照)を巻装しミシン本体の機枠(図示せず)に対して取り外し自在に固定されるボビン66(図22参照)を収容し機枠に対して内釜止め140により回転止めされる内釜135と、内釜135を内装すると共に剣先132を有し回転駆動部の一部品である下軸102により回転される外釜131とからなるものである。内釜135は内釜押え142により外釜131から外れないように組み込まれている。剣先132は本実施例においては反時計方向に回転する。
内釜135の回転中心は回転駆動部の運動変換機構である後述する釜駆動ねじ歯車(図示せず)の従動側歯車131aの回転中心に対して偏心して配置されることにより、回転駆動される外釜131の回転毎に剣先132で掬われた上糸12(図23参照)のループが内釜135の外周により最大に引き出された後で内釜135の外周に上糸12のループをくぐり入れ、くぐり出す間隙を形成する周方向の異なる位置で内釜止め140及び内釜135間に上糸入口EN3及び上糸出口EX3が形成されるようになっている。
この上糸入口EN3は針6の針落点NPから剣先132の回転方向に180度〜210度で剣先132で掬われた上糸12のループが内釜135の外周にくぐり入れる位置に配設され、上糸出口EX3は上糸入口EN3の上糸入口点から90度〜180度の開角α3で上糸12のループが内釜135の外周をくぐり抜け針板の上方へ引き上げられる位置に配設される。図20に示す例では上糸入口EN3の配設位置は185度に設定され、上糸出口EX3の開角α3は110度に設定されている。なお、上糸入口EN3、上糸出口EX3は外釜131の回転に応じて変動する間隙によって形成されるものであって、内釜135の回転中心O3を中心点とする上糸入口EN3及び上糸出口EX3間の開角α3の意義は上糸入口EN3及び上糸出口EX3における当接点の開角値を表わすものとする。また、上糸入口EN3の上糸入口点とは、後述する内釜止め140の内釜止め部140aが当接して上糸入口EN3の間隙を塞ぐための第1の内釜止め凹部135eの回転止め壁135fのことを意味するものである。さらに、上糸出口EX3においても、後述する内釜止め140の内釜止め部140bが当接して上糸出口EX3の間隙を塞ぐための第2の内釜止め凹部135cの回転止め壁135dは上糸出口点となる。また、この開角値は本発明者の作動試験においては、90度〜180度で全回転水平釜130が釜として正常に動作することが確認されている。なお、外釜剣先型全回転水平釜130が一般的な釜の構成を採るならば糸案内などを考慮すると、開角値は110度に設定することが好ましい。
内釜135の回転中心O3は回転駆動部である従動側歯車131aの回転中心Oに対して上糸入口EN3及び上糸出口EX3の開角α3の間の方向d3(図24参照)へ偏心されている。
外釜131は、下軸102から回転駆動部の運動変換機構である釜駆動ねじ歯車を介して水平回転される。釜駆動ねじ歯車は、下軸102からの回転運動を垂直方向へ方向変換してから外釜131へ伝達するもので、従動側歯車131aは外釜131に固定され、ミシン本体のベッド部101に設けられた針板(図示せず)の下方に設けられ、原動側歯車(図示せず)は下軸102に嵌め込み固定されている。
剣先132は外釜131が下軸102により図20において反時計方向に回転されると、上糸12(図23(b)参照)のループを掬って当該ループを外釜131と内釜135との間にできる間隙を通して当該内釜135の外周を一周させることができるように形成されている。
内釜135は、有底円筒形に形成され内側にボビン収容部135aを有し開口部側に後述する内釜押え142の内釜押え部142aに係合する内釜押え受部135bと、内釜止め140の2つの内釜止め部140a、140bに係合する内釜止め凹部135c、135eとが形成されている。なお、内釜止め140は、略コの字形状に形成され、一方の腕部に第1の釜止め部140aが、他方の腕部に第2の釜止め部140bがそれぞれ設けられている。この内釜止め140は、内釜止め基部140cがミシン本体のベッド部101内に位置する機枠の所定位置にねじなどの固定部材141によって固定されている。
第1の内釜止め凹部135eには第1の内釜止め部140aに当接して上糸入口EN3の間隙を塞ぐための回転止め壁135fが形成され、第2の内釜止め凹部135cには第2の内釜止め部140bに当接して上糸出口EX3の間隙を塞ぐための回転止め壁135dが形成されている。第1の内釜止め凹部135eは外釜131の剣先132で掬われた上糸12のループが内釜135の外周にくぐり入れる位置に配置され、第2の内釜止め凹部135cは上糸12のループが内釜135の外周をくぐり出る位置に配設されている。また、第1の内釜止め凹部135eの回転止め壁135f及び第2の内釜止め凹部135cの回転止め壁135dは内釜135の周方向の異なる位置に内釜135の回転中心O3から上記の開角α3で配設されている。このように第1の内釜止め凹部135e及び第2の内釜止め凹部135cを配設することにより、上糸12のループを内釜135の外周でスムーズに移動させることができる。
また、内釜135の外周には、後述する外釜131に設けられたレース溝131cに嵌合させるための内釜レース135gがその外周に沿って一部が切り欠かれて凸状に設けられている。このように内釜レース135gが一部切り欠かれているのは、周知の外釜剣先型全回転水平釜と同様で、上糸のループを内釜135の外周にくぐり入れるためである。
外釜131は、周知の外釜剣先型全回転水平釜とほぼ同様の構成で、回転中心が回転駆動部の1部品である従動側歯車131aの回転中心Oと同心である。したがって、外釜131とその剣先132は従動側歯車131aと同心で回転する。
このような外釜131の内側には内釜135を収容するための内釜収容部131bを有しこの内釜収容部131bの開口部側には、内釜135の内釜レース135gが嵌合され摺動した状態で回転させるレース溝131cが回転駆動部の1部品である従動側歯車131aから偏心して設けられている。したがって、内釜135の内釜レース135gを外釜131のレース溝131cに嵌合させると、外釜131に内装される内釜135の回転中心O3は、レース溝131cと内釜レース135gの回転中心が同心となるので、回転駆動部の1部品である従動側歯車131aの回転中心に対して偏心することになる。このようにして内釜135はその回転中心O3が回転駆動部の1部品である従動側歯車131aから偏心するように設けられることになる。これにより、内釜135は従動側歯車131aの回転中心に対して偏心回転運動を行なう。
また、内釜135を外釜131の内釜収容部131bに収容後、内釜135が抜け出ないように内釜押え142をミシン本体のベッド部101内に位置する機枠の所定位置にねじなどの固定部材143で固定する。この内釜押え142は、内釜135の内釜レース135gが外釜131のレース溝131cから離脱することなく回転させることができる。
このように構成された外釜131、内釜135、内釜止め140及び内釜押え142を組み立てると、第1の内釜止め凹部135e及び第1の釜止め部140a間と、第2の内釜止め凹部135c及び第2の釜止め部140b間には所定の間隙ができるように設定され、この間隙が上糸出入口EN3、EX3として機能する。したがって、上糸入口EN3は剣先132で掬われた上糸12のループが内釜135の外周にくぐり入れる位置に配設され、上糸出口EX3は上糸12のループが内釜135の外周をくぐり抜け針板7の上方へ引き上げられる位置に配設されることになる。また、上糸入口EN3及び上糸出口EX3間の開角α3は110度の開角で配設されることになる。
なお、内釜135の内釜押え受部135bと内釜押え142の内釜押え部142aとの間にも所定の間隙ができるように設定されている。
また、内釜135のボビン収容部135aの内壁には糸調子案内板136を固定ねじ138によって配置されており、この糸調子案内板136は糸調子ばね137と調節ねじ139によって下糸13の糸張力を調整するとともにボビン66より引き出された下糸13を針落ち部へ案内している。
次に、このような2個の上糸出入口EN3、EX3を設け内釜135に対して外釜131が針6に同期して回転運動する外釜剣先型全回転水平釜130の上糸12に対する釜動作について、図23に基づき説明する。図23は外釜剣先型全回転水平釜130を垂直方向上方から見た平面図である。この動作説明において、方向を示す場合には図23を正面から見た状態で説明する。
なお、この釜動作の説明で使用する図23においては、外釜131は反時計方向に回転するものとする。また、外釜131の剣先132の上死点とは、剣先132が針6の針落点NP方向に位置している点をいうものとする。また、剣先132の下死点とは、剣先132が上死点から180度だけ回転した位置をいうものとする。また、便宜上、上糸12が挿通された針6が下死点から2.0mm上昇し上糸12のループを掬う時点で、且つ外釜131の剣先132が上死点に位置して針6の軸心位置に到達している状態(図23(a))から動作説明を行なうものとする。この位置においては偏心運動する内釜135の第1の内釜止め凹部135eの回転止め壁135fには内釜止め140の第1の釜止め部140aが当接し、内釜135の第2の内釜止め凹部135cの回転止め壁135dと、内釜止め140の第2の釜止め部140bとの間には間隙を有している。また、内釜押え142の内釜押え部142aと内釜135の内釜押え受部135bとの間には通常は間隙を有している。さらに、この外釜剣先型全回転水平釜130の内釜135の回転中心O3の偏心回転軌跡(公転)は、図5に示す実施例1の外釜剣先型全回転釜10の内釜80の回転中心O1の偏心回転軌跡(公転)と同様で、従動側歯車131aの回転中心Oに対して偏心回転運動を行なう。
上述した状態から針6が上昇し始めると、針6に挿通された上糸12は、針板の上面で針6と共に貫通した布に押えられて、針6と共に上昇せずに残り、ループを発生する。この上糸12のループを図23(b、c)に示すように、反時計方向に回転する外釜131の剣先132が掬って内釜135の外周に引き込む。この際、外釜131に偏心して収容された内釜135が内釜レース135gと外釜131のレース溝131cとの僅かな摩擦によって反時計方向に偏心回転するので、内釜135の第2の内釜止め凹部135cの回転止め壁135dと内釜止め140の第2の釜止め部140bの間の間隙が徐々に小さくなり、内釜止め140の第2の釜止め部140bが、当該内釜止め凹部135cの回転止め壁135dに当接する。
なお、内釜押え142の内釜押え部142aと内釜135の内釜押え受部135bとの間には通常は間隙を有したままなので、外釜131の剣先132が掬って内釜135の外周に引き込んだ上糸のループはこの間隙をスムーズに通過することができる。
内釜135の外周に引き込まれた上糸12のループは図23(d、e)に示すように、外釜131の回転運動により移動する剣先132で内釜135の外周に導かれるにしたがって、内釜135の第1の内釜止め凹部135eの回転止め壁135fに当接している内釜止め140の第1の釜止め部140aが内釜止め凹部135eの回転止め壁135fから徐々に離れていく。これは、内釜止め140によって偏心回転運動が規制されている内釜135が、外釜131の回転運動によって公転してその内釜135の偏心量だけ変位するからである。なお、内釜止め140の第2の釜止め部140bは内釜135の内釜止め凹部135cの回転止め壁135dに当接したままである。
内釜135の外周の下方まで導かれた上糸12のループは図23(f)に示すように、外釜131の回転運動により移動する剣先132で、内釜止め140によって偏心回転運動が規制されている内釜135の第1の内釜止め凹部135eまで導かれ、この第1の内釜止め凹部135eの回転止め壁135fと内釜止め140の第1の釜止め部140aとの間にある間隙を通過する。この上糸入口EN3となる間隙から上糸12のループをスムーズに通過させることができる。このように上糸12のループが上糸入口EN3を抜けると、天秤14(図19参照)が内釜135をくぐり抜けた上糸12を引き上げる。このように天秤14が上糸12を引き上げている状態において、図23(g)に示すように、内釜止め140の第1の釜止め部140aが内釜135の第2の内釜止め凹部135eの回転止め壁135fに当接する。なお、内釜止め140の第2の釜止め部140bも、内釜135の第2の内釜止め凹部135cの回転止め壁135dに当接したままである。
図23(g)の状態から、さらに、外釜131が回転運動すると、図23(h)に示すように、内釜135の第2の内釜止め凹部135cの回転止め壁135dに当接した内釜止め140の第2の釜止め部140bは、偏心回転運動が規制されている内釜135の公転変位によって、第2の内釜止め凹部135cの回転止め壁135dから徐々に離れていく。これにより、天秤14により引き上げられている上糸12は、第2の内釜止め凹部135cの回転止め壁135dと内釜止め140の第2の釜止め部140bとの間にある間隙を通過すると共に、下糸13と交叉して被縫製体に本縫を形成することになる。この上糸出口EX3となる間隙から上糸12のループをスムーズに通過させることができる。なお、この状態において、内釜止め140の第1の釜止め部140aは内釜135の第1の内釜止め凹部135eの回転止め壁135fに当接したままである。なお、外釜131は針6が図23(a)に示す位置まで戻る間にさらに1回転する。
このように、外釜131が回転運動で1回転する間に、内釜135は偏心回転運動によって公転してその内釜135の偏心量だけ変位するので、針6の上糸12が外釜131の剣先132によって掬われて上糸12のループが内釜135の外周にくぐり入れる時、内釜135の第1の内釜止め凹部135eの回転止め壁135fと内釜止め140の第1の釜止め部140aとの間に間隙を形成し上糸12をスムーズに内釜135の外周にくぐり入れることができ、また、外釜131が回転して上糸12が内釜135からくぐり出る時、天秤14が上糸12を手繰り上げる時点で内釜135の第2の内釜止め凹部135cの回転止め壁135dと内釜止め140の第2の釜止め部140bとの間に間隙を形成し上糸12に釜抜け時の抵抗を与えることなく無抵抗で上糸12を天秤14で引き上げることができるようになる。
このような外釜剣先型全回転水平釜130に関して、さらに具体例を挙げて説明する。
外釜剣先型全回転水平釜130は、一般的な釜の大きさで、図24に示すように、外釜131の回転中心O3の偏心方向d3は従動歯車131aの回転中心Oに対して剣先132が上死点に位置する場合において、図24を正面から見て、従動歯車131aの回転中心Oを軸としたY軸の正方向側から反時計方向に225度だけ回転した位置P3と従動歯車131aの回転中心Oとを結ぶ直線L3上で、従動歯車131aの回転中心Oから位置P3に向けて0.7mmだけ変位した位置である。図24は外釜剣先型全回転水平釜130を垂直方向上方から見た平面図である。
また、図20に示すように、内釜135の第1の内釜止め凹部135eの回転止め壁135fと第2の内釜止め凹部135c回転止め壁135dとは開角α3が110度で設定されている。さらに、内釜135の第1の内釜止め凹部135eの底面と、内釜止め140の第1の釜止め部140aの下面との間隙、及び内釜135の第2の内釜止め凹部135cの底面と、内釜止め140の第2の釜止め部140bの下面との間隙は、それぞれ0.5mmと成るように形成されている。さらに、外釜131は、針6が下死点から2.0mm上昇した時点で剣先132が針6の軸心位置に到達して上糸12のループを掬うように回転駆動部の一部品である下軸102により回転されるものである。
このような外釜剣先型全回転水平釜130の釜動作を図25のミシンのモーションダイヤグラムに示した。このモーションダイヤグラムにおいて外釜剣先型全回転水平釜130は、外釜131の剣先132の回転角度が上死点0度では図23(a)に示す状態で、回転角度が40度では図23(b)に示す状態で、回転角度が84.410度では図23(c)に示す状態で、回転角度が130度では図23(d)に示す状態で、回転角度が170度では図23(e)に示す状態で、回転角度が215度では図23(f)に示す状態で、回転角度が266.656度では図23(g)に示す状態で、回転角度が315度では図23(h)に示す状態で、回転角度が345度では図23(i)に示す状態である。
外釜131の剣先132が上死点0度で上糸12のループを掬う時には、上糸出口EX3(内釜135の第2の内釜止め凹部135cの回転止め壁135dと、内釜止め140の第2の釜止め部140bとの間に生じる間隙)が開放され、上糸入口EN3(内釜135の第1の内釜止め凹部135eの回転止め壁135fと、内釜止め140の第1の釜止め部140aとの間に生じる間隙)が閉塞されていることがわかる。外釜131が上死点0度から84.410度まで反時計方向に回転すると、上糸出入口EN3、EX3が同時に閉塞される。続いて外釜131が反時計方向に回転すると、内釜止め140によって偏心回転運動を規制されている内釜135が、外釜131の回転運動によって公転してその外釜131の偏心量0.7mmだけ変位して、上糸入口EN3が開放されることがわかる。この上糸入口EN3が開放されている間(剣先の位置が剣先角度84.410度から266.656度までの間)に、外釜131の剣先132は上糸12のループをこの上糸入口EN3からスムーズに通過させことができる。引き続き外釜131が266.656度まで反時計方向に回転すると、上糸出入口EN3、EX3が同時に閉塞される。続いて外釜131が反時計方向に回転すると、内釜止め140によって偏心回転運動を規制されている内釜135が、外釜131の回転運動によって公転してその内釜135の偏心量0.7mmだけ変位して、上糸出口EX3が開放されることがわかる。この上糸出口EX3が開放されている間(剣先の位置が剣先角度266.656度から444.410度までの間)に、外釜131の剣先132は上糸12のループを上糸出口EX3からスムーズに通過させことができる。
なお、外釜剣先型全回転水平釜130は、針6の上下運動の1サイクルに対して2回転するもので説明したが、これに限らず、針6の上下運動の1サイクルに対して1回転するものでも、同様の作用、効果を得ることができる。要するに、回転駆動される外釜131の所定回転毎に剣先132で掬われた上糸12のループが内釜135の外周により最大に引き出された後で内釜135の外周に上糸12のループをくぐり入れ、内釜135の外周から上糸12のループをくぐり出すことができれば、針6の上下運動の1サイクルに対して外釜剣先型全回転水平釜130はどのような回転数で回転してもよい。
また、図19に示すように、本発明のミシンのパッカリング防止釜装置が全回転水平釜に適用された場合において、内釜135は収容部135aの中心に立設されボビン66を保持するボビン支軸135hを有するようにしてもよい。
このように内釜135はボビン支軸135hを有してボビン66を保持することにより、ボビン66が内釜135の内壁に内接して回転しボビン66の下糸13が巻戻されるのを防止するとともに、ボビン66がボビン66を収容する上広がりの収容部135a(図22参照)の内壁に内接して回転することによるボビンの浮上がり防止することができる。
〔実施例4〕・・・外釜剣先型全回転釜(内釜止め往復運動)
この実施例は内釜、外釜に偏心関係をもたせることなく同心に配置し、内釜を押える内釜止めに往復運動を与える全回転釜に関する。
このような図4に示す全回転釜1は、ミシン本体のベッド部3に設けられた針板7の下方に設けられ、例えば図26、図27、図28に示すような外釜剣先型全回転釜100で、下糸を巻装したボビン(図26〜図28には示されていないが図2に示すボビン66と同様のものが収容されるので、以下「ボビン66」という。)を収容しミシン本体の機枠(図示せず)に対して取り外し自在に固定されるボビンケース(図26〜図28には示されていないが図2に示すボビン66と同様のものが収容されるので、以下「ボビンケース65」という。)と、ボビンケース65を収容し機枠に対して内釜止め90′により回転止めされる内釜80と、内釜80を内装すると共に剣先75を有し回転駆動部の一部品である下軸8により回転される外釜70′とからなるものである。剣先75は外釜70′が下軸8により図26中において反時計方向に回転されると、上糸12(図4参照)のループを掬って当該ループを外釜70′と内釜80との間にできる間隙を通して当該内釜80の外周を一周させることができるように形成されている。
外釜70′は回転中心が回転駆動部の一部品である下軸8に対して同心に配置し、外釜70′の剣先75が上死点に位置している状態で下軸8の軸芯方向に対して直交する径方向に偏心して下軸8に固定され下軸8の回転を水平運動に変換する釜止め駆動カム111により内釜止め90′を下軸8の回転に同期して往復運動して内釜80を回転止めする内釜止め駆動部110を備えている。この内釜止め駆動部110は水平往復運動を行なうことで、回転駆動される外釜70′の回転毎に剣先75で掬われた上糸のループが内釜80の外周により最大に引き出された後で内釜80の外周に上糸のループをくぐり入れ、内釜80の外周から上糸のループをくぐり出す間隙を形成する周方向の異なる位置で内釜止め90′及び内釜80間に2個の上糸入口EN4及び上糸出口EX4が形成されている。
上糸入口EN4は剣先75で掬われた上糸のループが内釜80の外周にくぐり入れる位置に配設され、上糸出口EX4は上糸のループが内釜80の外周をくぐり抜け針板の上方へ引き上げられる位置に配設されている。
上糸入口EN4及び上糸出口EX4間の開角α4は110度〜180度、好ましくは150度〜170度の開角で配設される。図26に示す例では開角α4は180度に設定されている。なお、上糸入口EN4、上糸出口EX4は外釜70′の回転に応じて変動する間隙によって形成されるものであって、上糸入口EN4及び上糸出口EX4間の開角α4の意義は上糸入口EN4及び上糸出口EX4の間隙がそれぞれ糸通過時に最大になるときの開角値を表すものとする。本発明者の動作試験においては、110度〜180度で外釜剣先型全回転釜100が釜として正常に動作することが確認されている。
内釜80は、構成が上記した全回転釜1の内釜80と同一なので、同一符号を付すことにより説明を省略するが、上内釜止め溝85及び下内釜止め溝86は内釜80の周方向の異なる位置に内釜80の回転中心O4から上記の開角α4で配設されている。
また、外釜70′も、構成が上記した全回転釜1の外釜70とほぼ同様の構成であるので、同一符号を付して説明を省略するが、内釜80の内釜レース81に嵌合させるレース溝が下軸8と同心になるように設けられているので、このレース溝の符号を171にしている。したがって、内釜80の内釜レース81を外釜70′のレース溝171に嵌合させると、外釜70′に内装される内釜80の回転中心O4は、レース溝171の回転中心と同心になるので、回転駆動部である下軸8の回転中心と同心になる。
内釜止め90′は全回転釜1の外釜70の内釜止め90と同様に、略二又形状に形成され、上腕部92に凸形状の上内釜止め93が、下腕部94に凸形状の下内釜止め95がそれぞれ設けられている。この内釜止め90′は、内釜止め基部97が全回転釜10の外釜70の内釜止め90の内釜止め基部91とは異なり図28中、横方向に延びている。この内釜止め90′を回転駆動部の一部品である下軸8の回転に同期して往復運動し内釜80を回転止めする内釜止め駆動部110を備えている。
また、この内釜止め駆動部110で内釜止め90′を下軸8の径方向d4に往復運動することにより、回転運動される外釜70′の回転毎に剣先75で掬われた上糸12のループが内釜80の外周により最大に引き出された後で内釜80の外周に上糸12のループをくぐり入れ、内釜80の外周から上糸12のループをくぐり出すための間隙を形成する上糸入口EN4及び上糸出口EX4が、内釜80の周方向の異なる位置で内釜止め90′及び内釜80間に形成されることになる。
このような内釜止め駆動部110は下軸8から水平往復運動を作る機構から成り、下軸8に固定され当該下軸8の回転を水平運動に変換する偏心カムである釜押え駆動カム111と、この釜押え駆動カム111に嵌合する釜押え駆動ロッド112とを備えている。釜押え駆動ロッド112は、一端に釜押え駆動カム111のカム部に回動可能に嵌合する駆動ロッド穴112aが、他端に内釜止め90′を固定する駆動ロッド腕112bがそれぞれ設けられている。下軸8に固定された釜押え駆動カム111に釜押え駆動ロッド112の駆動ロッド穴112aを嵌合後、釜押え駆動ロッド112が釜押え駆動カム111から外れないようにカム座金113が釜押え駆動ロッド112側に配置されねじなどの固定部材114によって釜押え駆動カム111に固定される。なお、釜押え駆動ロッド112は釜押え駆動カム111とカム座金113で挟持されてもその間には隙間があるので、下軸8の回転を水平運動に変換することができる。
また、釜押え駆動ロッド112の駆動ロッド腕112bには駆動ロッド連結穴112cが穿孔され、内釜止め90′の内釜止め基部97の下部に穿孔された連結駆動穴90bを介して連結軸116を挿入後、駆動ロッド腕112bにねじなどの固定部材115によって連結軸116を固定する。これにより連結軸116の頭部に形成された鍔部が内釜止め基部97に圧着させることができる。さらに、内釜止め90′の内釜止め基部97には摺動角穴90aが穿設され、例えば鍔部を有する2つの角駒117をその摺動角穴90aに移動可能に嵌め込み後、ミシン本体の機枠の所定位置に固定された内釜止め土台98に固定する。なお、2つの角駒117と内釜止め90′の摺動角穴90aの両端面との間には所定の空間があり、また、内釜止め90′は内釜止め土台98と角駒117の鍔部で挟持されてもその間には隙間があるので、内釜止め90′を水平往復運動させることができる。
このように、内釜止め90′を内釜止め駆動部110に設置すると、上内釜止め93は針板7の方向に配置され、上内釜止め93及び下内釜止め95は内釜80の上内釜止め溝85及び下内釜止め溝86と実質的に同一の開角α4で配置されるようになっている。
このように構成された外釜70′、内釜80、内釜止め90′及び内釜止め駆動部110を組み立てると、上内釜止め溝85及び上内釜止め93間と、下内釜止め溝86及び下内釜止め95間とには所定の幅の間隙ができるように設定され、この間隙が上糸出入口EN4、EX4として機能する。
次に、このような上糸入口EN4、上糸出口EX4を設け内釜80に対して外釜70′が針6に同期して回転運動する外釜剣先型全回転釜100の上糸12に対する釜動作について、図29に基づき説明する。この動作説明において、方向を示す場合には図29を正面から見た状態で説明する。
なお、この外釜剣先型全回転釜100は、針6の上下運動の1サイクルに対して2回転するものである。この釜動作の説明で使用する図29においては、下軸8が反時計方向に回転運動を行なうと外釜70′は反時計方向に回転するものとする。また、便宜上、上糸12が挿通された針6が下死点から2.0mm上昇した時点で剣先75が針6の軸心位置に到達して且つ外釜70′の剣先75が上死点に位置している状態(図29(a))から動作説明を行なうものとする。この位置においては内釜80の上回転止め溝85と、下軸8の径方向d4に所定の長さで水平往復運動する内釜止め90′の上内釜止め93の両側面との間にはそれぞれ間隙を有し、内釜止め90′の下内釜止め95は内釜の下回転止め溝86の左方壁に当接している。さらに、図29中において、便宜上、内釜止め90′の上内釜止め93及び下内釜止め95を円形で示している。
上述した状態から針6が上昇し始めると、針6に挿通された上糸12は、針板7の上面で針6と共に貫通した布に押えられて、針6と共に上昇せずに残り、ループを発生する。この上糸12のループを図29(b)、(c)に示すように、下軸8の回転駆動により反時計方向に回転する外釜70′の剣先75が掬って内釜80の外周に引き込む。この際、外釜70′に収容された内釜80が内釜レース81と外釜レース溝171との僅かな摩擦によって反時計方向に回転すると、内釜止め90′が下軸8の回転に同期して右方向に移動するので、内釜80の上回転止め溝85との間に間隙を有している内釜止め90′の上内釜止め93が上回転止め溝85の右方壁に当接する(図29(c))。なお、内釜80の下回転止め溝86と内釜止め90′の下内釜止め95とは当接したままである。この状態で内釜80の回転中心O4と、内釜止め90′の上内釜止め93及び下内釜止め95の中心位置とがY軸上で一致している。
内釜80の外周に引き込まれた上糸12のループは図29(d)、(e)に示すように、外釜70′の回転運動により移動する剣先75で下方に導かれ、且つ内釜止め90′が下軸8の回転に同期して右方向に移動するにしたがって、内釜80の下回転止め溝86の左方壁に当接している内釜止め90′の下内釜止め95が下回転止め溝86の左方壁から徐々に離れていく。これは、内釜80の回転中心を越えて内釜止め90′が右方向へ変位したからである。なお、上内釜止め93は上回転止め溝85の右方壁に当接したままである。
内釜80の外周の下方まで導かれた上糸12のループが図29(f)に示すように、外釜70′の回転運動により移動する剣先75で、内釜止め90′によって回転運動が規制されている内釜80の下回転止め溝86まで導かれ、この下回転止め溝86と下内釜止め95との間にある間隙を通過する。この上糸入口EN4となる間隙から上糸12のループをスムーズに通過させることができる。このように上糸12のループが下回転止め溝86を抜けると、天秤14(図4参照)が内釜80をくぐり抜けた上糸12を引き上げる。このように天秤14が上糸12を引き上げている状態において、図29(g)に示すように、内釜止め90′が下軸8の回転に同期して左方向に移動するにしたがって、内釜止め90′の下内釜止め95が内釜80の下回転止め溝86の左方壁に当接する。なお、内釜止め90′の上内釜止め93も、内釜80の上回転止め溝85の右方壁に当接したままである。この状態で内釜80の回転中心O4と、内釜止め90′の上内釜止め93及び下内釜止め95の中心位置とがY軸上で一致している。
図29(g)の状態から、さらに、外釜70′が回転運動すると、図29(h,i)に示すように、内釜80の上回転止め溝85の右方壁に当接した内釜止め90′の上内釜止め93は、当該内釜止め90′が下軸8の回転に同期して左方向に移動することによって、上回転止め溝85の右方壁から徐々に離れていく。これにより、天秤14により引き上げられている上糸12は、上回転止め溝85と上内釜止め93との間にある間隙を通過すると共に、下糸13と交叉して被縫製体に本縫を形成することになる。この上糸出口EX4となる間隙から上糸12のループをスムーズに通過させることができる。なお、この状態において、下内釜止め95は下回転止め溝86の左方壁に当接したままである。
このように、外釜70′が回転運動で1回転する間に、内釜止め90′が下軸8の回転に同期して下軸8の径方向d4に水平往復運動するので、針6の上糸12が外釜70′の剣先75によって掬われて上糸12のループが内釜80の外周にくぐり入れる時、下回転止め溝86と下内釜止め95との間に間隙を形成し上糸12をスムーズに内釜80の外周にくぐり入れることができ、また、外釜70′が回転して上糸12が内釜80からくぐり出る時、天秤14が上糸12を手繰り上げる時点で上回転止め溝85と上内釜止め93との間に間隙を形成し上糸12に釜抜け時の抵抗を与えることなく無抵抗で上糸12を天秤14で引き上げることができるようになる。
このような外釜剣先型全回転釜100に関して、さらに具体例を挙げて説明する。
外釜剣先型全回転釜100は、一般的な釜の大きさで、図26に示すように、釜止め駆動カム111は外釜70′の剣先75が位置している上死点0度から反時計方向に90度の取付角度で且つ0.3mmの偏心量に偏心して下軸8に固定されている。したがって、内釜止め90′は内釜80の回転中心O4の位置から下軸8の径方向d4に0.3mmの位置までの間で水平往復運動するようになっている。
また、図26に示すように、内釜80の上内釜止め溝85と下内釜止め溝86とは開角α4が180度で設定されている。
さらに、実施例1の外釜剣先型全回転釜10と同様に、内釜止め90′の上内釜止め93及び下内釜止め95は幅が2mmで、長さが2mmの正方形の凸状に形成され、また、内釜80の上内釜止め溝85及び下内釜止め溝86は幅が3.2mmに、溝深さは外釜剣先型全回転釜100をミシン本体のベッド3内に組み込んだときに上内釜止め93及び下内釜止め95の凸部の端面との隙間が0.5mmになるような矩形の凹状に形成されている。
また、外釜70′は、針6が下死点から2.0mm上昇した時点で剣先75が針6の軸心位置に到達して上糸12のルーパを掬うように下軸8に固定されている。
このような外釜剣先型全回転釜100の釜動作を図30のミシンのモーションダイヤグラムに示した。このモーションダイヤグラムにおいて外釜剣先型全回転釜100は、外釜70′の剣先75の回転角度が上死点0度では図29(a)に示す状態で、回転角度が50度では図29(b)に示す状態で、回転角度が98.096度では図29(c)に示す状態で、回転角度が140度では図29(d)に示す状態で、回転角度が160度では図29(e)に示す状態で、回転角度が190度では図29(f)に示す状態で、回転角度が238.829度では図29(g)に示す状態で、回転角度が300度では図29(h)に示す状態で、回転角度が340度では図29(i)に示す状態である。
外釜70′の剣先75が上死点0度で上糸12のループを掬う時には、上糸出口EX4(内釜の上回転止め溝85と内釜止め90の上内釜止め93との間に生じる間隙)が開放され上糸入口EN4(内釜の下回転止め溝86と内釜止め90の下内釜止め95との間に生じる間隙)が閉塞されていることがわかる。外釜70′が上死点0度から98.096度まで反時計方向に回転すると、両方の上糸出入口EN4、EX4が同時に閉塞される。続いて外釜70′が反時計方向に回転すると、上内釜止め93及び下内釜止め95によって回転運動を規制されている内釜80が、外釜70′の回転運動によって公転して、上糸入口EN4が開放されることがわかる。この上糸入口EN4が開放されている間(剣先の位置が剣先角度98.096度から238.829度までの間)に、外釜70′の剣先75は上糸12をこの上糸入口EN4から上糸12のループをスムーズに通過させことができる。引き続き外釜70′が98.096度から238.829度まで反時計方向に回転すると、また、上糸出入口EN4、EX4が同時に閉塞される。続いて外釜70′が反時計方向に回転すると、内釜止め90′が下軸8の回転に同期して左方向に移動するので、上糸出口EX4が開放されることがわかる。この上糸出口EX4が開放されている間(剣先の位置が剣先角度238.829度から458.096度までの間)に、外釜70′の剣先75は上糸12をこの上糸出口EX4から上糸12のループをスムーズに通過させことができる。
なお、内釜80の上回転止め溝85及び下回転止め溝86の位置は、下回転止め溝86は外釜70の剣先75で掬われた上糸12のループが最大限引き込まれてから内釜80の外周にくぐり入れる位置に配設され、上回転止め溝85は上糸12のループが内釜80の外周をくぐり抜け針板7の上方へ引き上げられる位置に配設できるならば、開角α4は110度〜180度の範囲内で変更してもよい。この場合、内釜止め90′の上内釜止め93及び下内釜止め95も実質的に同一の開角で配置されるのは言うまでもない。
なお、外釜剣先型全回転釜100は、針6の上下運動の1サイクルに対して2回転するもので説明したが、これに限らず、針6の上下運動の1サイクルに対して1回転するものでも、同様の作用、効果を得ることができる。要するに、回転駆動される外釜70′の所定回転毎に剣先75で掬われた上糸12のループが内釜80の外周により最大に引き出された後で内釜80の外周に上糸12のループをくぐり入れ、内釜80の外周から上糸12のループをくぐり出すことができれば、針6の上下運動の1サイクルに対して外釜剣先型全回転釜100はどのような回転数で回転してもよい。
また、内釜80には実施例1の外釜剣先型全回転釜10と同様に、図10に示すようなボビン66自体を収容するようなものでもよい。この構造は周知のもので、ボビン66を内釜80に収容後、ボビン押え爪67によって回転可能に内釜80内に固定するものである。
〔実施例5〕
図4に示すように、本発明のミシンのパッカリング防止釜装置において、布の堅さや布の織り方、又は糸の太さ、強さによる縫目の乱れを調整する糸調子器15の糸調子を安定化させ、上糸12の張力を全回転釜1に収容されたボビンから繰り出される下糸13の張力と均衡させて上糸12と下糸13との縫絡点を定位置に安定化させるにあたり、上糸12を全回転釜1にくぐり入れ、全回転釜1からくぐり出すとき上糸12を天秤14によって繰り出し、引き上げることによる上糸12の脈動を抑制するために上糸12を、糸巻から糸振れ防止導管16、17、糸調子器15を介して針6に刺し通すものである。この糸振れ防止導管16、17を糸調子器15の前段に備えることで、糸調子器15の糸調子を一定にすることができるので、上糸と下糸との縫絡点を定位置に安定化させることができる。したがって、上糸12を、特に、糸巻から糸振れ防止導管16(及び/又は17)、糸調子器15を介して針6に刺し通して糸調子器15の糸調子を一定にすることにより、上糸12を全回転釜にくぐり入れ、全回転釜からくぐり出すとき上糸12を天秤14によって繰り出し、引き上げることによる上糸12の脈動を抑制する上糸12の張力を全回転釜に収容されたボビンから繰り出される下糸の張力と均衡させて上糸12と下糸13との縫絡点を定位置に安定化させパッカリングを防止できる。
また、上述した各全回転釜が適用されるミシン本体のアーム部2に、アーム糸案内19、第1の糸振れ防止導管16、糸整流器である小糸調子器18、第2の糸振れ防止導管17、糸掛(図示せず)及び糸調子器15を設けてもよい。第1の糸振れ防止導管16は小糸調子器18に対して上糸12が入り込む位置を規制するために小糸調子器18の前段に設けられ、また、第2の糸振れ防止導管17は糸調子器15に対して上糸12が入り込む位置を規制するために糸調子器15の前段に設けられ、それぞれ各糸調子器に対して上糸12が入り込む位置を実質的に一定にすることができる。したがって、上糸12を、糸巻からアーム糸案内19、第1の糸振れ防止導管16、小糸調子器18、第2の糸振れ防止導管17、糸掛(図示せず)及び糸調子器15を介して針に刺し通して各糸調子器18、15の糸調子を一定にすることができるので、上糸と下糸との縫絡点を定位置に安定化させることができる。したがって、上糸12を、特に、糸巻から糸振れ防止導管16(及び/又は17)、糸調子器15を介して針6に刺し通して糸調子器15の糸調子を一定にすることにより、上糸12を全回転釜にくぐり入れ、全回転釜からくぐり出すとき上糸12を天秤14によって繰り出し、引き上げることによる上糸12の脈動を抑制する上糸12の張力を全回転釜に収容されたボビンから繰り出される下糸の張力と均衡させて上糸12と下糸13との縫絡点を定位置に安定化させパッカリングを防止できる。
また、本発明のミシンのパッカリング防止釜装置(パッカリング防止水平釜装置)は図31(a)、(b)に示すように、被縫製体200を針板7上に布押え201と送り歯202で挟み、上糸12を全回転釜1(図4参照)にくぐり入れ、全回転釜1からくぐり出すとき上糸12を天秤14(図4参照)によって繰り出し、引き上げるとき被縫製体200を送り歯202により被縫製体200の一縫目毎に歩進させるにあたり、送り歯202は、針板7の針6の針落ち孔7aの中心を通り、縫目が形成された被縫製体200を布押え201で挟んで歩進させている。この送り歯202は、針板7の針落ち孔7aの直径の2倍から4倍、好ましくは2.5倍から3.5倍の横幅Wを有している。この実施例によれば、送り歯202は、針板7の針落ち孔7aの直径の所定倍の横幅Wを有することにより、被縫製体200を針板7上に布押え201と送り歯202で挟み、上糸12を全回転釜1にくぐり入れ、全回転釜1からくぐり出すとき上糸12を天秤14によって繰り出し、引き上げるとき被縫製体200を送り歯202により被縫製体200の一縫目毎に歩進させるにあたり送り歯202が被縫製体200と縫った縫目を一緒に挟持して送りズレの無い安定した布送りが可能となり、パッカリングを防止できる。
また、本発明のミシンのパッカリング防止釜装置(パッカリング防止水平釜装置)は図33(a)、(b)に示すように、被縫製体200を針板7上に布押え201と送り歯202で挟み、上糸12を全回転釜1(図4参照)にくぐり入れ、全回転釜1からくぐり出し上糸12を天秤14(図4参照)によって繰り出し、引き上げるとき被縫製体200を送り歯202により被縫製体200の一縫目毎に歩進させるにあたり、送り歯202が縫目が形成された被縫製体200を布押え201で挟んで歩進させる送り速度から送り停止に減速する時点で慣性力によって被縫製体200が、針板7と送り歯202により持ち上げられた布押え201との間に生じる隙間Sに滑込んで必要な布送り量以上の布送りによる被縫製体200の弛みを防止するために、布押え201は、被縫製体200の入口部201aに縫製されていない被縫製体200に常時接触する弾性部材203を有する。この弾性部材203は弾発力のある例えば板ばね材等が好適である。なお、布押え201の入口部201aは、針6の針落ち位置に対して被縫製体200が送られてくる側に位置する。
このような弾性部材203が設けられていない従来の布押えは、通常、パッカリングが発生しやすい。具体的には図32に示すように、被縫製体200に針6が刺さった状態、即ち、針6が下死点に位置していると、送り歯202は針板4の下方に位置している(図32(a))。この状態から、上糸12を全回転釜にくぐり入れ、全回転釜からくぐり出し上糸12を天秤によって引き上げるとき針6が上昇し、送り歯202は楕円運動をしながら上昇して布押え201と共に被縫製体200を挟んで、被縫製体200を一縫目分だけ歩進させる。この時、送り歯202の送り速度は加速状態になっている。また、送り歯202は針板4上に突出するので、針板7と布押え201との間に隙間Sが生じている(図32(b))。そして、所定の布送りピッチに近づくと、送り歯202の送り速度は減速する。この際、被縫製体200は送り歯202で針板7の上面から持ち上げられていて針板7と布押え201との間に隙間Sが生じているので、被縫製体200はその隙間Sに加速された被縫製体200が滑込んで必要な布送り量以上の布送りされてしまう。そして、この時点においては、布押え201と送り歯202とは被縫製体200を針中心から見て縫い終わった側のみ挟んでいる状態なので、被縫製体200の布送り慣性により必要な布送り量以上の布送りがされた被縫製体200に皺が発生する(図32(c))。したがって、この状態のまま被縫製体200に針6が刺さるので、パッカリングが発生することになる。
これに対して弾性部材203を有する布押え201では図33に示すように、被縫製体200に針6が刺さった状態、即ち、針6が下死点に位置していると、送り歯202は針板4の下方に位置している(図33(a))。この状態から、上糸12を全回転釜にくぐり入れ、全回転釜からくぐり出し上糸12を天秤によって引き上げるとき針6が上昇し、送り歯202は楕円運動をしながら上昇して布押え201と共に被縫製体200を挟んで、被縫製体200を一縫目分だけ歩進させる。この時、送り歯202の送り速度は加速状態になっている。また、送り歯202は針板7上に突出するので、針板7と布押え201との間に隙間Sが生じている(図33(b))。そして、所定の布送りピッチに近づくと、送り歯202の送り速度は減速する。この際、針板7と布押え201との間に隙間Sが生じて、被縫製体200はその隙間Sに滑込んで必要な布送り量以上の布送りされるが、布押え201の入口部201aに縫製されていない被縫製体200に常時接触する弾性部材203を有していることから、その弾性部材203の弾発力により被縫製体200が針板7に押圧されるので、被縫製体200は針板7と布押え201との間に生じる隙間Sに滑込まなくなる。したがって、針6が刺さる被縫製体200には皺が発生しなくなり、被縫製体200にパッカリングを発生させることなく縫製することができる(図33(c))。
この実施例によれば、布押え201は、被縫製体200の入口部201aに縫製されていない被縫製体200に常時接触する弾性部材203を有することにより、被縫製体200を針板7上に布押えと送り歯202で挟み、上糸12を全回転釜にくぐり入れ、全回転釜からくぐり出し上糸12を天秤によって引き上げるとき被縫製体200を送り歯202により被縫製体200の一縫目毎に歩進させるにあたり、送り歯202が縫目が形成された被縫製体200を布押え201で挟んで歩進させる送り速度から送り停止に減速する時点で慣性力によって被縫製体200が、針板7と送り歯202により持ち上げられた布押え201との間に生じる隙間Sに滑込んで必要な布送り量以上の布送りによる被縫製体200の弛みを防止しパッカリングを防止できる。特に、被縫製体200の布送り慣性によるパッカリングの発生は高速縫いにおいて顕著であるが、この弾性部材203を布押え201の被縫製体200の入口部201aに設けることにより防止できる。
これまで本発明について図面に示した特定の実施の形態をもって説明してきたが、本発明は図面に示したこれらの実施の形態に限定されるものではなく、本発明の効果を奏する限りこれまで知られたいかなる構成であっても採用することができることはいうまでもないことである。例えば、釜の回転方向は反時計方向ではなく時計方向でもよい。また、釜が二回転釜以外でもよい。
本発明のミシンのパッカリング防止釜装置を外釜剣先型全回転釜に適用したその好ましい実施の一形態例を示す説明図。 図1の外釜剣先型全回転釜を示す斜視図。 図1の外釜剣先型全回転釜を示す分解斜視図。 本発明のミシンのパッカリング防止釜装置を適用するミシンの全体を示す斜視図。 図1の外釜剣先型全回転釜の動作状態を示す動作説明図。 図1の外釜剣先型全回転釜の動作状態を示す動作説明図。 図1の外釜剣先型全回転釜の動作状態を示す動作説明図。 図1の外釜剣先型全回転釜の動作状態を示す動作説明図。 図1の外釜剣先型全回転釜の動作状態を示す動作説明図。 図1の外釜剣先型全回転釜の動作状態を示す動作説明図。 図1の外釜剣先型全回転釜の動作状態を示す動作説明図。 図1の外釜剣先型全回転釜の動作状態を示す動作説明図。 図1の外釜剣先型全回転釜の動作状態を示す動作説明図。 図1の外釜剣先型全回転釜に使用される外釜の具体例を示す説明図。 図1の外釜剣先型全回転釜に使用される外釜の上回転止め溝及び下回転止め溝の配設状態の具体例を示す説明図。 図1の外釜剣先型全回転釜に使用される外釜の各回転止め溝と内釜止めの各内釜止めとの具体的な関係を示す説明図。 図1の外釜剣先型全回転釜が適用されるミシンの針棒、天秤及び釜の上糸出入口の動作状態を示す動作説明図(モーションダイヤグラム)。 図1の外釜剣先型全回転釜の内釜に直接収容されるボビンの状態を示す説明図。 本発明のミシンのパッカリング防止釜装置を内釜剣先型全回転釜に適用したその好ましい実施の一形態例を示す説明図。 図11の内釜剣先型全回転釜を示す斜視図。 図11の内釜剣先型全回転釜を示す分解斜視図。 図11の内釜剣先型全回転釜の動作状態を示す動作説明図。 図11の内釜剣先型全回転釜の動作状態を示す動作説明図。 図11の内釜剣先型全回転釜の動作状態を示す動作説明図。 図11の内釜剣先型全回転釜の動作状態を示す動作説明図。 図11の内釜剣先型全回転釜の動作状態を示す動作説明図。 図11の内釜剣先型全回転釜の動作状態を示す動作説明図。 図11の内釜剣先型全回転釜の動作状態を示す動作説明図。 図11の内釜剣先型全回転釜の動作状態を示す動作説明図。 図11の内釜剣先型全回転釜の動作状態を示す動作説明図。 図11の内釜剣先型全回転釜に使用される内釜の具体例を示す説明図。 図11の内釜剣先型全回転釜の具体例を示す図で、(a)は内釜の内釜第1従動部及び内釜第2従動部の配設状態の説明図、(b)は内釜駆動体の内釜駆動第1突起及び内釜駆動第2突起の配設状態の説明図。 図11の内釜剣先型全回転釜が適用されるミシンの針棒、天秤及び釜の上糸出入口の動作状態を示す動作説明図(モーションダイヤグラム)。 図11の内釜剣先型全回転釜の内釜に直接収容されるボビンの状態を示す説明図。 本発明のミシンのパッカリング防止釜装置に外釜剣先型全回転水平釜を適用するミシンの全体を示す斜視図。 本発明のミシンのパッカリング防止釜装置を外釜剣先型全回転水平釜に適用したその好ましい実施の一形態例を示す説明図。 図20の外釜剣先型全回転水平釜を示す斜視図。 図20の外釜剣先型全回転水平釜を示す分解斜視図。 図20の外釜剣先型全回転水平釜の動作状態を示す動作説明図。 図20の外釜剣先型全回転水平釜の動作状態を示す動作説明図。 図20の外釜剣先型全回転水平釜の動作状態を示す動作説明図。 図20の外釜剣先型全回転水平釜の動作状態を示す動作説明図。 図20の外釜剣先型全回転水平釜の動作状態を示す動作説明図。 図20の外釜剣先型全回転水平釜の動作状態を示す動作説明図。 図20の外釜剣先型全回転水平釜の動作状態を示す動作説明図。 図20の外釜剣先型全回転水平釜の動作状態を示す動作説明図。 図20の外釜剣先型全回転水平釜の動作状態を示す動作説明図。 図20の外釜剣先型全回転水平釜の具体例を示す説明図。 図20の外釜剣先型全回転水平釜が適用されるミシンの針棒、天秤及び釜の上糸出入口の動作状態を示す動作説明図(モーションダイヤグラム)。 本発明のミシンのパッカリング防止釜装置を外釜剣先型全回転釜(内釜止め往復運動)に適用したその好ましい実施の一形態例を示す説明図。 図26の外釜剣先型全回転釜を示す斜視図。 図26の外釜剣先型全回転釜を示す分解斜視図。 図26の外釜剣先型全回転釜の動作状態を示す動作説明図。 図26の外釜剣先型全回転釜の動作状態を示す動作説明図。 図26の外釜剣先型全回転釜の動作状態を示す動作説明図。 図26の外釜剣先型全回転釜の動作状態を示す動作説明図。 図26の外釜剣先型全回転釜の動作状態を示す動作説明図。 図26の外釜剣先型全回転釜の動作状態を示す動作説明図。 図26の外釜剣先型全回転釜の動作状態を示す動作説明図。 図26の外釜剣先型全回転釜の動作状態を示す動作説明図。 図26の外釜剣先型全回転釜の動作状態を示す動作説明図。 図26の外釜剣先型全回転釜が適用されるミシンの針棒、天秤及び釜の上糸出入口の動作状態を示す動作説明図(モーションダイヤグラム)。 (a)はミシンの縫製状態を示す説明図、(b)は針、針板、送り歯の関係を示す説明図。 ミシンの縫製状態を示す図で、(a)は送り歯が針板の下方に位置している時の説明図、(b)は送り歯が布押えと共に被縫製体を挟んで送り速度が最も加速された状態の説明図、(c)は送り歯が(b)の状態で送り速度を減速した状態の説明図。 本発明のミシンのパッカリング防止釜装置を布押えに適用したその好ましい実施の一形態例を示す図で、(a)は送り歯が針板の下方に位置している時のミシンの縫製状態の説明図、(b)は送り歯が布押えと共に被縫製体を挟んで送り速度が最も加速された状態におけるミシンの縫製状態の説明図、(c)は送り歯が(b)の状態で送り速度を減速した状態におけるミシンの縫製状態の説明図。
符号の説明
1……全回転釜
6……針
7……針板
7a……針の針落ち孔
8、102……下軸(回転駆動部)
12……上糸
13……下糸
15……糸調子器
16……第1の糸振れ防止導管
17……第2の糸振れ防止導管
66……ボビン
65……ボビンケース
201……布押え
202……送り歯
203……弾性部材

10……外釜剣先型全回転釜
70……外釜
75……剣先
80……内釜
90……内釜止め
EN1……上糸入口
EX1……上糸出口

11……内釜剣先型全回転釜
20……外釜
34……内釜駆動第1突起(駆動部)
35……内釜駆動第2突起(駆動部)
40……内釜
45……剣先
46……内釜第1従動部(従動部)
47……内釜第2従動部(従動部)
EN2……上糸入口
EX2……上糸出口

100……外釜剣先型全回転釜
70′……外釜
75……剣先
80……内釜
90′……内釜止め
110……内釜止め駆動部
EN4……上糸入口
EX4……上糸出口

130……外釜剣先型全回転水平釜
131……外釜
132……剣先
135……内釜
135h……ボビン支軸
140……内釜止め
EN3……上糸入口
EX3……上糸出口
NP……針落点

Claims (13)

  1. 針板に対し垂直方向に軌跡を描いて上下運動する針に刺し通された上糸と全回転釜に収納された下糸とによって前記針板に載置された被縫製体の一送り毎に前記被縫製体を貫通して垂直方向に往復運動する前記針に刺し通した前記上糸を前記針の下死点から上昇する際に、前記針板の下方にあって下糸を収納し且つ全回転釜の剣先で掬って前記上糸と前記下糸とを交叉させて前記被縫製体に本縫を形成するミシンのパッカリング防止釜装置であって、
    前記全回転釜は、前記下糸を巻装し取り外し自在に固定されるボビンを収容し機枠に対して内釜止めにより回転止めされる内釜と、前記内釜を内装し前記剣先を有し回転駆動部により回転される外釜とからなり、
    前記内釜の回転中心は前記回転駆動部の回転中心に対して偏心して配置されることにより、回転駆動される前記外釜の所定回転毎に前記剣先で掬われた前記上糸のループが前記内釜の外周により最大に引き出された後で前記内釜の外周に前記上糸のループをくぐり入れ、前記内釜の外周から前記上糸のループをくぐり出す間隙を形成する周方向の異なる位置で前記内釜止め及び前記内釜間に上糸入口及び上糸出口を設け、
    前記上糸入口は前記剣先で掬われた前記上糸のループが前記内釜の外周にくぐり入れる位置に配設され、前記上糸出口は前記上糸のループが前記内釜の外周をくぐり抜け前記針板の上方へ引き上げられる位置に配設され、
    前記上糸入口及び前記上糸出口間の開角は120度〜160度、好ましくは120度〜180度の開角で配設され、
    前記内釜の回転中心は前記回転駆動部の回転中心に対して前記上糸入口及び前記上糸出口の開角の間の方向へ偏心されていることを特徴とするミシンのパッカリング防止釜装置。
  2. 針板に対し垂直方向に軌跡を描いて上下運動する針に刺し通された上糸と全回転釜に収納された下糸とによって前記針板に載置された被縫製体の一送り毎に前記被縫製体を貫通して垂直方向に往復運動する前記針に刺し通した前記上糸を前記針の下死点から上昇する際に、前記針板の下方にあって下糸を収納し且つ全回転釜の剣先で掬って前記上糸と前記下糸とを交叉させて前記被縫製体に本縫を形成するミシンのパッカリング防止釜装置であって、
    前記全回転釜は、前記下糸を巻装したボビンを収容し取り外し自在に固定されるボビンケースを収容し機枠に対して内釜止めにより回転止めされる内釜と、前記内釜を内装し前記剣先を有し回転駆動部により回転される外釜とからなり、
    前記内釜の回転中心は前記回転駆動部の回転中心に対して偏心して配置されることにより、回転駆動される前記外釜の所定回転毎に前記剣先で掬われた前記上糸のループが前記内釜の外周により最大に引き出された後で前記内釜の外周に前記上糸のループをくぐり入れ、前記内釜の外周から前記上糸のループをくぐり出す間隙を形成する周方向の異なる位置で前記内釜止め及び前記内釜間に上糸入口及び上糸出口を設け、
    前記上糸入口は前記剣先で掬われた前記上糸のループが前記内釜の外周にくぐり入れる位置に配設され、前記上糸出口は前記上糸のループが前記内釜の外周をくぐり抜け前記針板の上方へ引き上げられる位置に配設され、
    前記上糸入口及び前記上糸出口間の開角は120度〜160度、好ましくは120度〜180度の開角で配設され、
    前記内釜の回転中心は前記回転駆動部の回転中心に対して前記上糸入口及び前記上糸出口の開角の間の方向へ偏心されていることを特徴とするミシンのパッカリング防止釜装置。
  3. 前記上糸入口及び前記上糸出口間の開角は、前記120〜160度、好ましくは前記120〜180度の開角に代えて、110度〜180度、好ましくは150度〜170度の開角で配設されていることを特徴とする請求項1又は請求項2記載のミシンのパッカリング防止釜装置。
  4. 針板に対し垂直方向に軌跡を描いて上下運動する針に刺し通された上糸と全回転釜に収納された下糸とによって前記針板に載置された被縫製体の一送り毎に前記被縫製体を貫通して垂直方向に往復運動する前記針に刺し通した前記上糸を前記針の下死点から上昇する際に、前記針板の下方にあって下糸を収納し且つ全回転釜の剣先で掬って前記上糸と前記下糸とを交叉させて前記被縫製体に本縫を形成するミシンのパッカリング防止釜装置であって、
    前記全回転釜は、前記下糸を巻装し取り外し自在に固定されるボビンを収容し剣先を有し回転駆動部により従動回転される内釜と、前記内釜を回転自在に内装し機枠に対して回転止めされる外釜とからなり、
    前記内釜には周方向の異なる位置に配設された2個の従動部を有し、前記内釜を従動回転させるため前記従動部にそれぞれ遊嵌される2個の駆動部を備え、
    前記従動部の回転中心は前記回転駆動部の回転中心に対して偏心して配置されることにより、1対の駆動部、従動部が前記内釜を従動回転させるように駆動状態にあるときは他の対の駆動部、従動部は前記内釜の所定回転毎に前記剣先で掬われた前記上糸のループが前記内釜の剣先により最大に引き出される前で前記内釜の駆動部側に前記上糸のループをくぐり入れ、前記内釜の駆動部側から前記上糸のループをくぐり出す間隙を形成する上糸入口及び上糸出口を前記駆動部及び前記従動部間に設け、
    前記上糸入口は前記剣先で掬われた前記上糸のループが前記内釜の外周にくぐり入れる位相に配設され、前記上糸出口は前記上糸のループが前記内釜の外周をくぐり抜け前記針板の上方へ引き上げられる位相に配設され、
    前記上糸入口及び前記上糸出口の開角は前記剣先の上死点を挟んで周方向の異なる位置に90度〜130度の開角で配設され、
    前記従動部の回転中心は前記回転駆動部の回転中心に対して前記剣先の上死点の方向とは反対方向へ偏心されていることを特徴とするミシンのパッカリング防止釜装置。
  5. 針板に対し垂直方向に軌跡を描いて上下運動する針に刺し通された上糸と全回転釜に収納された下糸とによって前記針板に載置された被縫製体の一送り毎に前記被縫製体を貫通して垂直方向に往復運動する前記針に刺し通した前記上糸を前記針の下死点から上昇する際に、前記針板の下方にあって下糸を収納し且つ全回転釜の剣先で掬って前記上糸と前記下糸とを交叉させて前記被縫製体に本縫を形成するミシンのパッカリング防止釜装置であって、
    前記全回転釜は、前記下糸を巻装したボビンを収容し取り外し自在に固定されるボビンケースを収容し前記剣先を有し回転駆動部により従動回転される内釜と、前記内釜を回転自在に内装し機枠に対して回転止めされる外釜とからなり、
    前記内釜には周方向の異なる位置に配設された2個の従動部を有し、前記内釜を従動回転させるため前記従動部にそれぞれ遊嵌される2個の駆動部を備え、
    前記従動部の回転中心は前記回転駆動部の回転中心に対して偏心して配置されることにより、1対の駆動部、従動部が前記内釜を従動回転させるように駆動状態にあるときは他の対の駆動部、従動部は前記内釜の所定回転毎に前記剣先で掬われた前記上糸のループが前記内釜の剣先により最大に引き出される前で前記内釜の駆動部側に前記上糸のループをくぐり入れ、前記内釜の駆動部側から前記上糸のループをくぐり出す間隙を形成する上糸入口及び上糸出口を前記駆動部及び前記従動部間に設け、
    前記上糸入口は前記剣先で掬われた前記上糸のループが前記内釜の外周にくぐり入れる位相に配設され、前記上糸出口は前記上糸のループが前記内釜の外周をくぐり抜け前記針板の上方へ引き上げられる位相に配設され、
    前記上糸入口及び前記上糸出口の開角は前記剣先の上死点を挟んで周方向の異なる位置に90度〜130度の開角で配設され、
    前記従動部の回転中心は前記回転駆動部の回転中心に対して前記剣先の上死点の方向とは反対方向へ偏心されていることを特徴とするミシンのパッカリング防止釜装置。
  6. 前記従動部は周方向及び径方向にそれぞれ所定の長さで伸びる溝又は孔から構成され、前記駆動部は周方向に所定の長さで伸びる突起から構成されることを特徴とする請求項4又は請求項5記載のミシンのパッカリング防止釜装置。
  7. 針板に対し垂直方向に軌跡を描いて上下運動する針に刺し通された上糸と全回転水平釜に収納された下糸とによって前記針板に載置された被縫製体の一送り毎に前記被縫製体を貫通して垂直方向に往復運動する前記針に刺し通した前記上糸を前記針の下死点から上昇する際に、前記針板の下方にあって下糸を収納し且つ全回転水平釜の剣先で掬って前記上糸と前記下糸とを交叉させて前記被縫製体に本縫を形成するミシンのパッカリング防止水平釜装置であって、
    前記全回転水平釜は、前記下糸を巻装し取り外し自在に固定されるボビンを収容し機枠に対して内釜止めにより回転止めされる内釜と、前記内釜を内装し前記剣先を有し回転駆動部により回転される外釜とからなり、
    前記内釜の回転中心は前記回転駆動部の回転中心に対して偏心して配置されることにより、回転駆動される前記外釜の所定回転毎に前記剣先で掬われた前記上糸のループが前記内釜の外周により最大に引き出された後で前記内釜の外周に前記上糸のループをくぐり入れ、くぐり出す間隙を形成する周方向の異なる位置で前記内釜止め及び前記内釜間に上糸入口及び上糸出口を設け、
    前記上糸入口は前記針の針落点から前記剣先の回転方向に180度〜210度、好ましくは180度で前記剣先で掬われた前記上糸のループが前記内釜の外周にくぐり入れる位置に配設され、前記上糸出口は前記上糸入口点から90度〜180度、好ましくは110度で前記上糸のループが前記内釜の外周をくぐり抜け前記針板の上方へ引き上げられる位置に配設され、
    前記内釜の回転中心は前記回転駆動部の回転中心に対して前記上糸入口及び前記上糸出口の開角の間の方向へ偏心されていることを特徴とするミシンのパッカリング防止水平釜装置。
  8. 前記内釜は、前記ボビンが前記内釜に内接して回転して前記ボビンの前記下糸が巻戻されるのを防止するとともに、前記ボビンが前記ボビンを収容する上広がりの収容部に内接して回転することによる前記ボビンの浮上がり防止するために、前記収容部の中心に立設され前記ボビンを保持するボビン支軸を有することを特徴とする請求項7記載のミシンのパッカリング防止釜装置。
  9. 針板に対し垂直方向に軌跡を描いて上下運動する針に刺し通された上糸と全回転釜に収納された下糸とによって前記針板に載置された被縫製体の一送り毎に前記被縫製体を貫通して垂直方向に往復運動する前記針に刺し通した前記上糸を前記針の下死点から上昇する際に、前記針板の下方にあって下糸を収納し且つ全回転釜の剣先で掬って前記上糸と前記下糸とを交叉させて前記被縫製体に本縫を形成するミシンのパッカリング防止釜装置であって、
    前記全回転釜は、前記下糸を巻装し取り外し自在に固定されるボビンを収容し内釜止めにより回転止めされる内釜と、前記内釜を内装し前記剣先を有し回転駆動部により回転される外釜とからなり、
    前記外釜は回転中心が前記回転駆動部に対して同心に配置し、前記内釜止めを前記回転駆動部の回転に同期して前記回転駆動部の軸芯方向の径方向に往復運動して前記内釜を回転止めする内釜止め駆動部を備えることにより、回転駆動される前記外釜の所定回転毎に前記剣先で掬われた前記上糸のループが前記外釜の前記剣先により最大に引き出された後で前記内釜の外周に前記上糸のループをくぐり入れ、前記内釜の外周から前記上糸のループをくぐり出す間隙を形成する周方向の異なる位置で前記内釜止め及び前記内釜間に2個の上糸入口及び上糸出口を設け、
    前記上糸入口は前記剣先で掬われた前記上糸のループが前記内釜の外周にくぐり入れる位置に配設され、前記上糸出口は前記上糸のループが前記内釜の外周をくぐり抜け前記針板の上方へ引き上げられる位置に配設され、
    前記上糸入口及び前記上糸出口間の開角は110度〜180度、好ましくは150度〜170度の開角で配設されることを特徴とするミシンのパッカリング防止釜装置。
  10. 針板に対し垂直方向に軌跡を描いて上下運動する針に刺し通された上糸と全回転釜に収納された下糸とによって前記針板に載置された被縫製体の一送り毎に前記被縫製体を貫通して垂直方向に往復運動する前記針に刺し通した前記上糸を前記針の下死点から上昇する際に、前記針板の下方にあって下糸を収納し且つ全回転釜の剣先で掬って前記上糸と前記下糸とを交叉させて前記被縫製体に本縫を形成するミシンのパッカリング防止釜装置であって、
    前記全回転釜は、前記下糸を巻装したボビンを収容し取り外し自在に固定されるボビンケースを収容し前記機枠に対して内釜止めにより回転止めされる内釜と、前記内釜を内装し前記剣先を有し回転駆動部により回転される外釜とからなり、
    前記外釜は回転中心が前記回転駆動部に対して同心に配置し、前記内釜止めを前記回転駆動部の回転に同期して前記回転駆動部の軸芯方向の径方向に往復運動して前記内釜を回転止めする内釜止め駆動部を備えることにより、回転駆動される前記外釜の所定回転毎に前記剣先で掬われた前記上糸のループが前記内釜の外周により最大に引き出された後で前記内釜の外周に前記上糸のループをくぐり入れ、前記内釜の外周から前記上糸のループをくぐり出す間隙を形成する周方向の異なる位置で前記内釜止め及び前記内釜間に2個の上糸入口及び上糸出口を設け、
    前記上糸入口は前記剣先で掬われた前記上糸のループが前記内釜の外周にくぐり入れる位置に配設され、前記上糸出口は前記上糸のループが前記内釜の外周をくぐり抜け前記針板の上方へ引き上げられる位置に配設され、
    前記上糸入口及び前記上糸出口間の開角は110度〜180度、好ましくは150度〜170度の開角で配設されることを特徴とするミシンのパッカリング防止釜装置。
  11. 前記上糸の張力を前記全回転釜に収容されたボビンから繰り出される前記下糸の張力と均衡させて前記上糸と前記下糸との縫絡点を定位置に安定化させるにあたり、前記上糸を前記全回転釜にくぐり入れ、前記全回転釜からくぐり出すとき前記上糸を天秤によって繰り出し、引き上げることによる前記上糸の脈動を抑制するために前記上糸を、糸巻から糸振れ防止導管、糸調子器を介して前記針に刺し通して前記糸調子器の糸調子を一定にすることを特徴とする請求項1乃至請求項10何れか1項記載のミシンのパッカリング防止釜装置。
  12. 前記被縫製体を前記針板上に布押えと送り歯で挟み、前記上糸を前記全回転釜にくぐり入れ、前記全回転釜からくぐり出すとき前記上糸を天秤によって繰り出し、引き上げるとき前記被縫製体を前記送り歯により前記被縫製体の一縫目毎に歩進させるにあたり、
    前記送り歯は、前記針の針落ち孔の中心を通り、縫目が形成された被縫製体を布押えで挟んで歩進させる送り歯であって、前記針の針落ち孔の直径の2倍から4倍、好ましくは2.5倍から3.5倍の横幅を有することを特徴とする請求項1乃至請求項11何れか1項記載のミシンのパッカリング防止釜装置。
  13. 前記被縫製体を前記針板上に布押えと送り歯で挟み、前記上糸を前記全回転釜にくぐり入れ、前記全回転釜からくぐり出し前記上糸を天秤によって繰り出し、引き上げるとき前記被縫製体を前記送り歯により前記被縫製体の一縫目毎に歩進させるにあたり、
    前記送り歯が縫目が形成された被縫製体を布押えで挟んで歩進させる送り速度から送り停止に減速する時点で慣性力によって前記被縫製体が、前記針板と、前記送り歯により持ち上げられた前記布押えとの間に生じる隙間に滑込んで一縫目に必要な布送り量以上の布送りによる前記被縫製体の弛みを防止するために、
    前記布押えは、前記被縫製体の入口部に縫製されていない被縫製体に常時接触する弾性部材を有することを特徴とする請求項1乃至請求項12何れか1項記載のミシンのパッカリング防止釜装置。

JP2004311467A 2004-01-26 2004-10-26 ミシンのパッカリング防止釜装置 Expired - Lifetime JP3929458B2 (ja)

Priority Applications (7)

Application Number Priority Date Filing Date Title
JP2004311467A JP3929458B2 (ja) 2004-01-26 2004-10-26 ミシンのパッカリング防止釜装置
DE112004002680T DE112004002680T5 (de) 2004-01-26 2004-12-27 Schiffchenvorrichtung einer Nähmaschine zum verhindern von Nahtkräuselung
PCT/JP2004/019550 WO2005071153A1 (ja) 2004-01-26 2004-12-27 ミシンのパッカリング防止釜装置
US10/571,921 US7490567B2 (en) 2004-01-26 2004-12-27 Seam puckering preventing shuttle device of sewing machine
CN200480033966XA CN1882735B (zh) 2004-01-26 2004-12-27 缝纫机的防止线缝皱褶的梭子装置
KR1020067010213A KR100907601B1 (ko) 2004-01-26 2004-12-27 재봉기의 주름 방지 셔틀장치
TW094102039A TWI290183B (en) 2004-01-26 2005-01-24 Puckering preventing shuttle device of sewing machine

Applications Claiming Priority (3)

Application Number Priority Date Filing Date Title
JP2004017648 2004-01-26
JP2004072293 2004-03-15
JP2004311467A JP3929458B2 (ja) 2004-01-26 2004-10-26 ミシンのパッカリング防止釜装置

Publications (3)

Publication Number Publication Date
JP2005296612A true JP2005296612A (ja) 2005-10-27
JP2005296612A5 JP2005296612A5 (ja) 2006-05-25
JP3929458B2 JP3929458B2 (ja) 2007-06-13

Family

ID=34811794

Family Applications (1)

Application Number Title Priority Date Filing Date
JP2004311467A Expired - Lifetime JP3929458B2 (ja) 2004-01-26 2004-10-26 ミシンのパッカリング防止釜装置

Country Status (7)

Country Link
US (1) US7490567B2 (ja)
JP (1) JP3929458B2 (ja)
KR (1) KR100907601B1 (ja)
CN (1) CN1882735B (ja)
DE (1) DE112004002680T5 (ja)
TW (1) TWI290183B (ja)
WO (1) WO2005071153A1 (ja)

Cited By (1)

* Cited by examiner, † Cited by third party
Publication number Priority date Publication date Assignee Title
KR101317435B1 (ko) 2005-07-27 2013-10-10 쥬키 가부시키가이샤 재봉기의 밑실 유지장치

Families Citing this family (10)

* Cited by examiner, † Cited by third party
Publication number Priority date Publication date Assignee Title
JP5051888B2 (ja) 2007-09-25 2012-10-17 株式会社廣瀬製作所 ミシンの全回転釜
JP5197197B2 (ja) * 2008-07-04 2013-05-15 Juki株式会社 ミシンのボビンケース
KR101239312B1 (ko) * 2010-08-25 2013-03-05 강소대 재봉기기 밑실공급장치
CN102277697A (zh) * 2011-08-05 2011-12-14 中屹机械工业有限公司 无限量供线旋梭
CH706089A8 (de) * 2012-02-02 2013-10-31 Bernina Int Ag Greiferanordnung für eine Nähmaschine.
KR101395267B1 (ko) * 2012-11-16 2014-05-27 (주)신진스틸 재봉틀 밑실공급장치
JP6556997B2 (ja) * 2014-10-29 2019-08-07 蛇の目ミシン工業株式会社 ミシンおよびミシンの制御方法
JP6395864B2 (ja) * 2015-01-13 2018-09-26 株式会社廣瀬製作所 垂直全回転かま
ITUA20161942A1 (it) * 2016-03-23 2017-09-23 Cm Cerliani S R L Calibro per la messa in fase angolare e/o il posizionamento assiale del crochet durante la sua installazione sulla macchina per cucire
KR101828483B1 (ko) * 2017-06-14 2018-02-12 허필호 재봉틀의 밑실 공급장치

Family Cites Families (32)

* Cited by examiner, † Cited by third party
Publication number Priority date Publication date Assignee Title
JPS4919427B1 (ja) * 1968-05-09 1974-05-17
US3693566A (en) * 1971-04-23 1972-09-26 Singer Co Bobbin thread replenishing mechanism for sewing machines
JPS5843605B2 (ja) 1972-06-15 1983-09-28 豊田工機株式会社 分流制御装置
JPS5525896Y2 (ja) * 1973-12-11 1980-06-21
JPS53119153A (en) 1977-03-28 1978-10-18 Janome Sewing Machine Co Ltd Pan for sewing machine
JPS53125151A (en) 1977-04-08 1978-11-01 Janome Sewing Machine Co Ltd Pan for sewing machine
JPS5498358A (en) 1978-01-19 1979-08-03 Toppan Printing Co Ltd Method of preserving fruit freshness
US4142475A (en) * 1977-12-22 1979-03-06 The Singer Company Bobbin thread case opener
JPS5498358U (ja) * 1978-12-21 1979-07-11
US4527494A (en) * 1979-01-17 1985-07-09 The Singer Company Bobbin case position plate adjustment mechanism
ATE10320T1 (de) 1980-06-16 1984-11-15 The Post Office Digitale uebertragungssysteme.
JPS5713316A (en) 1980-06-28 1982-01-23 Denshi Kagaku Kk Method and device for measurement of sample flowing at low speed
US4483264A (en) * 1980-07-21 1984-11-20 The Singer Company Hanging bobbin case
JPS61149196A (ja) 1984-12-25 1986-07-07 三菱電機株式会社 ミシンのカマ装置
JPS63115591A (ja) 1986-10-31 1988-05-20 ブラザー工業株式会社 ミシンにおける釜のオ−プナ−
JP2603135B2 (ja) 1989-06-14 1997-04-23 横河電機株式会社 可変インダクタ
JPH0327470A (ja) 1989-06-23 1991-02-05 Nec Corp 電子ファイルのデータ格納方式
JPH0354704A (ja) 1989-07-24 1991-03-08 Victor Co Of Japan Ltd 磁気ヘッドとその製造方法
JPH0327470U (ja) * 1990-08-07 1991-03-19
JP2655623B2 (ja) 1991-01-29 1997-09-24 株式会社 廣瀬製作所 本縫ミシン用全回転かま
JPH05269283A (ja) 1992-03-26 1993-10-19 Hirose Mfg Co Ltd 垂直全回転かま
JP2603135Y2 (ja) * 1993-04-21 2000-02-28 シンガー日鋼株式会社 水平釜の中釜支持装置
KR0138920B1 (ko) * 1996-02-29 1998-05-15 진용언 천의 보조이송장치를 이용한 재봉방법
JPH11107157A (ja) 1997-08-05 1999-04-20 Tokai Ind Sewing Mach Co Ltd 多針ミシンの上糸供給構造
JPH11226284A (ja) 1998-02-16 1999-08-24 Tokai Ind Sewing Mach Co Ltd 垂直回転釜装置
JP4261698B2 (ja) * 1999-01-21 2009-04-30 Juki株式会社 ミシンの布送り機構
JP4272735B2 (ja) * 1999-01-27 2009-06-03 Juki株式会社 ミシンの釜
DE19983955T1 (de) * 1999-05-28 2002-09-19 Hirose Mfg Co Ltd Umlaufender Greifer
WO2000073556A1 (fr) 1999-05-31 2000-12-07 Ueda Textile Science Foundation Fibres synthetiques tres resistantes, leur procede de traitement et dispositif de traitement connexe
JP2002143588A (ja) * 2000-11-14 2002-05-21 Juki Corp 水平釜のオープナー駆動機構
JP4069270B2 (ja) * 2001-10-05 2008-04-02 Juki株式会社 本縫い2本針ミシンの釜装置
JP3965359B2 (ja) * 2002-12-24 2007-08-29 株式会社バルダン ミシン釜

Cited By (1)

* Cited by examiner, † Cited by third party
Publication number Priority date Publication date Assignee Title
KR101317435B1 (ko) 2005-07-27 2013-10-10 쥬키 가부시키가이샤 재봉기의 밑실 유지장치

Also Published As

Publication number Publication date
CN1882735A (zh) 2006-12-20
US7490567B2 (en) 2009-02-17
KR20070013258A (ko) 2007-01-30
CN1882735B (zh) 2011-07-13
DE112004002680T5 (de) 2007-11-08
JP3929458B2 (ja) 2007-06-13
TW200528602A (en) 2005-09-01
KR100907601B1 (ko) 2009-07-14
US20070095263A1 (en) 2007-05-03
WO2005071153A1 (ja) 2005-08-04
TWI290183B (en) 2007-11-21

Similar Documents

Publication Publication Date Title
JP3929458B2 (ja) ミシンのパッカリング防止釜装置
JP2005296612A5 (ja)
JP3872487B2 (ja) 間歇ステッチ縫いミシン
US5660127A (en) Thread end cutting and holding in a sewing machine
US5433159A (en) Horizontal rotating hook for sewing machine
US2173320A (en) Thread-controlling mechanism for sewing machines
US4691650A (en) Lockswitch sewing machine having a rotary hook
JPH0268096A (ja) 本縫いミシンの全回転かま
JPH05317560A (ja) ミシンのルーパー糸案内装置
US4926770A (en) Needle hole guide mechanism for zigzag sewing machine
US287576A (en) Sewing machine
US103745A (en) Improvement in button-holing and overseaming attachment for sewing-machine
US399949A (en) James tripp
JP5828884B2 (ja) 本縫い回転ルーパーを備えた単頭または多頭刺繍機
US669327A (en) Looper for sewing-machines.
US286336A (en) Sewing-machine tension
JPH11226284A (ja) 垂直回転釜装置
US161534A (en) Improvement in sewing-machines for stitching button-holes
JPH0748234Y2 (ja) 複合縫いミシンの縫い針保持装置
KR100710518B1 (ko) 재봉기의 윗실 안내장치
US990131A (en) Sewing-machine.
US1085801A (en) Looper mechanism for sewing-machines.
US613472A (en) Sewing-machine
US547632A (en) Sewing machine
US196210A (en) Improvement in take-up mechanisms for sewing-machines

Legal Events

Date Code Title Description
A621 Written request for application examination

Free format text: JAPANESE INTERMEDIATE CODE: A621

Effective date: 20060113

A521 Request for written amendment filed

Free format text: JAPANESE INTERMEDIATE CODE: A523

Effective date: 20060405

A871 Explanation of circumstances concerning accelerated examination

Free format text: JAPANESE INTERMEDIATE CODE: A871

Effective date: 20060824

A131 Notification of reasons for refusal

Free format text: JAPANESE INTERMEDIATE CODE: A131

Effective date: 20060912

A975 Report on accelerated examination

Free format text: JAPANESE INTERMEDIATE CODE: A971005

Effective date: 20060831

A521 Request for written amendment filed

Free format text: JAPANESE INTERMEDIATE CODE: A523

Effective date: 20061113

A131 Notification of reasons for refusal

Free format text: JAPANESE INTERMEDIATE CODE: A131

Effective date: 20061212

A521 Request for written amendment filed

Free format text: JAPANESE INTERMEDIATE CODE: A523

Effective date: 20070124

TRDD Decision of grant or rejection written
A01 Written decision to grant a patent or to grant a registration (utility model)

Free format text: JAPANESE INTERMEDIATE CODE: A01

Effective date: 20070213

A61 First payment of annual fees (during grant procedure)

Free format text: JAPANESE INTERMEDIATE CODE: A61

Effective date: 20070306

R150 Certificate of patent or registration of utility model

Ref document number: 3929458

Country of ref document: JP

Free format text: JAPANESE INTERMEDIATE CODE: R150

Free format text: JAPANESE INTERMEDIATE CODE: R150

FPAY Renewal fee payment (event date is renewal date of database)

Free format text: PAYMENT UNTIL: 20100316

Year of fee payment: 3

FPAY Renewal fee payment (event date is renewal date of database)

Free format text: PAYMENT UNTIL: 20130316

Year of fee payment: 6

R250 Receipt of annual fees

Free format text: JAPANESE INTERMEDIATE CODE: R250

FPAY Renewal fee payment (event date is renewal date of database)

Free format text: PAYMENT UNTIL: 20160316

Year of fee payment: 9

R250 Receipt of annual fees

Free format text: JAPANESE INTERMEDIATE CODE: R250

FPAY Renewal fee payment (event date is renewal date of database)

Free format text: PAYMENT UNTIL: 20160316

Year of fee payment: 9

S531 Written request for registration of change of domicile

Free format text: JAPANESE INTERMEDIATE CODE: R313532

R350 Written notification of registration of transfer

Free format text: JAPANESE INTERMEDIATE CODE: R350

FPAY Renewal fee payment (event date is renewal date of database)

Free format text: PAYMENT UNTIL: 20160316

Year of fee payment: 9

R250 Receipt of annual fees

Free format text: JAPANESE INTERMEDIATE CODE: R250

R250 Receipt of annual fees

Free format text: JAPANESE INTERMEDIATE CODE: R250

R250 Receipt of annual fees

Free format text: JAPANESE INTERMEDIATE CODE: R250

R250 Receipt of annual fees

Free format text: JAPANESE INTERMEDIATE CODE: R250

R250 Receipt of annual fees

Free format text: JAPANESE INTERMEDIATE CODE: R250

R250 Receipt of annual fees

Free format text: JAPANESE INTERMEDIATE CODE: R250

R250 Receipt of annual fees

Free format text: JAPANESE INTERMEDIATE CODE: R250

EXPY Cancellation because of completion of term