JP2005294871A - 半導体装置 - Google Patents

半導体装置 Download PDF

Info

Publication number
JP2005294871A
JP2005294871A JP2005195940A JP2005195940A JP2005294871A JP 2005294871 A JP2005294871 A JP 2005294871A JP 2005195940 A JP2005195940 A JP 2005195940A JP 2005195940 A JP2005195940 A JP 2005195940A JP 2005294871 A JP2005294871 A JP 2005294871A
Authority
JP
Japan
Prior art keywords
tab
semiconductor chip
semiconductor device
lead
sealing body
Prior art date
Legal status (The legal status is an assumption and is not a legal conclusion. Google has not performed a legal analysis and makes no representation as to the accuracy of the status listed.)
Granted
Application number
JP2005195940A
Other languages
English (en)
Other versions
JP4252563B2 (ja
Inventor
Yukihiro Sato
幸弘 佐藤
Tadatoshi Danno
忠敏 団野
Takashi Imai
俊 今井
Current Assignee (The listed assignees may be inaccurate. Google has not performed a legal analysis and makes no representation or warranty as to the accuracy of the list.)
Renesas Technology Corp
Original Assignee
Renesas Technology Corp
Priority date (The priority date is an assumption and is not a legal conclusion. Google has not performed a legal analysis and makes no representation as to the accuracy of the date listed.)
Filing date
Publication date
Application filed by Renesas Technology Corp filed Critical Renesas Technology Corp
Priority to JP2005195940A priority Critical patent/JP4252563B2/ja
Publication of JP2005294871A publication Critical patent/JP2005294871A/ja
Application granted granted Critical
Publication of JP4252563B2 publication Critical patent/JP4252563B2/ja
Anticipated expiration legal-status Critical
Expired - Fee Related legal-status Critical Current

Links

Images

Classifications

    • HELECTRICITY
    • H01ELECTRIC ELEMENTS
    • H01LSEMICONDUCTOR DEVICES NOT COVERED BY CLASS H10
    • H01L2224/00Indexing scheme for arrangements for connecting or disconnecting semiconductor or solid-state bodies and methods related thereto as covered by H01L24/00
    • H01L2224/01Means for bonding being attached to, or being formed on, the surface to be connected, e.g. chip-to-package, die-attach, "first-level" interconnects; Manufacturing methods related thereto
    • H01L2224/02Bonding areas; Manufacturing methods related thereto
    • H01L2224/04Structure, shape, material or disposition of the bonding areas prior to the connecting process
    • H01L2224/05Structure, shape, material or disposition of the bonding areas prior to the connecting process of an individual bonding area
    • H01L2224/0554External layer
    • H01L2224/0555Shape
    • H01L2224/05552Shape in top view
    • H01L2224/05554Shape in top view being square
    • HELECTRICITY
    • H01ELECTRIC ELEMENTS
    • H01LSEMICONDUCTOR DEVICES NOT COVERED BY CLASS H10
    • H01L2224/00Indexing scheme for arrangements for connecting or disconnecting semiconductor or solid-state bodies and methods related thereto as covered by H01L24/00
    • H01L2224/01Means for bonding being attached to, or being formed on, the surface to be connected, e.g. chip-to-package, die-attach, "first-level" interconnects; Manufacturing methods related thereto
    • H01L2224/26Layer connectors, e.g. plate connectors, solder or adhesive layers; Manufacturing methods related thereto
    • H01L2224/31Structure, shape, material or disposition of the layer connectors after the connecting process
    • H01L2224/32Structure, shape, material or disposition of the layer connectors after the connecting process of an individual layer connector
    • H01L2224/321Disposition
    • H01L2224/32151Disposition the layer connector connecting between a semiconductor or solid-state body and an item not being a semiconductor or solid-state body, e.g. chip-to-substrate, chip-to-passive
    • H01L2224/32221Disposition the layer connector connecting between a semiconductor or solid-state body and an item not being a semiconductor or solid-state body, e.g. chip-to-substrate, chip-to-passive the body and the item being stacked
    • H01L2224/32245Disposition the layer connector connecting between a semiconductor or solid-state body and an item not being a semiconductor or solid-state body, e.g. chip-to-substrate, chip-to-passive the body and the item being stacked the item being metallic
    • HELECTRICITY
    • H01ELECTRIC ELEMENTS
    • H01LSEMICONDUCTOR DEVICES NOT COVERED BY CLASS H10
    • H01L2224/00Indexing scheme for arrangements for connecting or disconnecting semiconductor or solid-state bodies and methods related thereto as covered by H01L24/00
    • H01L2224/01Means for bonding being attached to, or being formed on, the surface to be connected, e.g. chip-to-package, die-attach, "first-level" interconnects; Manufacturing methods related thereto
    • H01L2224/42Wire connectors; Manufacturing methods related thereto
    • H01L2224/47Structure, shape, material or disposition of the wire connectors after the connecting process
    • H01L2224/48Structure, shape, material or disposition of the wire connectors after the connecting process of an individual wire connector
    • H01L2224/4805Shape
    • H01L2224/4809Loop shape
    • H01L2224/48091Arched
    • HELECTRICITY
    • H01ELECTRIC ELEMENTS
    • H01LSEMICONDUCTOR DEVICES NOT COVERED BY CLASS H10
    • H01L2224/00Indexing scheme for arrangements for connecting or disconnecting semiconductor or solid-state bodies and methods related thereto as covered by H01L24/00
    • H01L2224/01Means for bonding being attached to, or being formed on, the surface to be connected, e.g. chip-to-package, die-attach, "first-level" interconnects; Manufacturing methods related thereto
    • H01L2224/42Wire connectors; Manufacturing methods related thereto
    • H01L2224/47Structure, shape, material or disposition of the wire connectors after the connecting process
    • H01L2224/48Structure, shape, material or disposition of the wire connectors after the connecting process of an individual wire connector
    • H01L2224/481Disposition
    • H01L2224/48151Connecting between a semiconductor or solid-state body and an item not being a semiconductor or solid-state body, e.g. chip-to-substrate, chip-to-passive
    • H01L2224/48221Connecting between a semiconductor or solid-state body and an item not being a semiconductor or solid-state body, e.g. chip-to-substrate, chip-to-passive the body and the item being stacked
    • H01L2224/48245Connecting between a semiconductor or solid-state body and an item not being a semiconductor or solid-state body, e.g. chip-to-substrate, chip-to-passive the body and the item being stacked the item being metallic
    • H01L2224/48247Connecting between a semiconductor or solid-state body and an item not being a semiconductor or solid-state body, e.g. chip-to-substrate, chip-to-passive the body and the item being stacked the item being metallic connecting the wire to a bond pad of the item
    • HELECTRICITY
    • H01ELECTRIC ELEMENTS
    • H01LSEMICONDUCTOR DEVICES NOT COVERED BY CLASS H10
    • H01L2224/00Indexing scheme for arrangements for connecting or disconnecting semiconductor or solid-state bodies and methods related thereto as covered by H01L24/00
    • H01L2224/01Means for bonding being attached to, or being formed on, the surface to be connected, e.g. chip-to-package, die-attach, "first-level" interconnects; Manufacturing methods related thereto
    • H01L2224/42Wire connectors; Manufacturing methods related thereto
    • H01L2224/47Structure, shape, material or disposition of the wire connectors after the connecting process
    • H01L2224/48Structure, shape, material or disposition of the wire connectors after the connecting process of an individual wire connector
    • H01L2224/481Disposition
    • H01L2224/48151Connecting between a semiconductor or solid-state body and an item not being a semiconductor or solid-state body, e.g. chip-to-substrate, chip-to-passive
    • H01L2224/48221Connecting between a semiconductor or solid-state body and an item not being a semiconductor or solid-state body, e.g. chip-to-substrate, chip-to-passive the body and the item being stacked
    • H01L2224/48245Connecting between a semiconductor or solid-state body and an item not being a semiconductor or solid-state body, e.g. chip-to-substrate, chip-to-passive the body and the item being stacked the item being metallic
    • H01L2224/48257Connecting between a semiconductor or solid-state body and an item not being a semiconductor or solid-state body, e.g. chip-to-substrate, chip-to-passive the body and the item being stacked the item being metallic connecting the wire to a die pad of the item
    • HELECTRICITY
    • H01ELECTRIC ELEMENTS
    • H01LSEMICONDUCTOR DEVICES NOT COVERED BY CLASS H10
    • H01L2224/00Indexing scheme for arrangements for connecting or disconnecting semiconductor or solid-state bodies and methods related thereto as covered by H01L24/00
    • H01L2224/73Means for bonding being of different types provided for in two or more of groups H01L2224/10, H01L2224/18, H01L2224/26, H01L2224/34, H01L2224/42, H01L2224/50, H01L2224/63, H01L2224/71
    • H01L2224/732Location after the connecting process
    • H01L2224/73251Location after the connecting process on different surfaces
    • H01L2224/73265Layer and wire connectors
    • HELECTRICITY
    • H01ELECTRIC ELEMENTS
    • H01LSEMICONDUCTOR DEVICES NOT COVERED BY CLASS H10
    • H01L2924/00Indexing scheme for arrangements or methods for connecting or disconnecting semiconductor or solid-state bodies as covered by H01L24/00
    • H01L2924/15Details of package parts other than the semiconductor or other solid state devices to be connected
    • H01L2924/181Encapsulation
    • HELECTRICITY
    • H01ELECTRIC ELEMENTS
    • H01LSEMICONDUCTOR DEVICES NOT COVERED BY CLASS H10
    • H01L2924/00Indexing scheme for arrangements or methods for connecting or disconnecting semiconductor or solid-state bodies as covered by H01L24/00
    • H01L2924/30Technical effects
    • H01L2924/301Electrical effects
    • H01L2924/30107Inductance
    • HELECTRICITY
    • H01ELECTRIC ELEMENTS
    • H01LSEMICONDUCTOR DEVICES NOT COVERED BY CLASS H10
    • H01L2924/00Indexing scheme for arrangements or methods for connecting or disconnecting semiconductor or solid-state bodies as covered by H01L24/00
    • H01L2924/30Technical effects
    • H01L2924/301Electrical effects
    • H01L2924/3011Impedance

Landscapes

  • Lead Frames For Integrated Circuits (AREA)

Abstract

【課題】 接地インダクタンスを低減し、高周波特性の良好なパッケージング技術を提供する。
【解決手段】 タブの半導体チップ搭載領域に搭載した半導体チップと、このタブの周囲に配置され封止体外に露出して外部端子となるリードとを電気的に接続した半導体装置において、前記タブのボンディング領域と半導体チップの電源回路用のパッドとを電気的に接続し、前記タブの一部を前記封止体外に露出させ、このタブの露出部分を半導体装置の電源用外部端子とする。
タブの露出部分を接地電源用外部端子として用いるため、リードを外部端子として用いていた従来の半導体装置と比較して、伝送経路が短縮され、その断面積が増加するため、低インダクタンス・低インピーダンス化を図ることが可能となる。
【選択図】 図2

Description

本発明は、半導体装置及びその製造方法に関し、特に、半導体装置の高周波特性の向上に適用して有効な技術に関するものである。
半導体装置として、製造が比較的容易で低コストであることから、樹脂を用いた封止体によって半導体チップを覆い、封止体から延在するリードを外部端子とするSOP型、SOJ型或いはQFP型等の半導体装置が広く用いられている。
これらQFP型等の半導体装置では、半導体装置の外部端子となるリードが封止体側面から延在しているために、実装状態では、リードと配線基板との接続領域が半導体装置の周囲に必要となる。このため、半導体装置周囲の前記接続領域の面積を縮小して電子装置を小型化するために、前記封止体の底面外周部にてリード底面を封止体から露出させて半導体装置の外部端子とする底面端子型の半導体装置が考えられた。底面端子型の半導体装置としては、QFN(Quad Flat Nonlead)型或いはSON(Small Outline Nonlead)型等の半導体装置が知られている。
また、前述したQFP型或いはQFN型等の半導体装置の組立てにはリードフレームが用いられており、半導体チップをレジン又は銀ペーストによってタブに固定し、半導体チップのパッドとリードとがボンディングワイヤによって電気的に接続されている。このボンディング後に、半導体チップ、タブ、ボンディングワイヤが例えばエポキシ樹脂からなる封止体によって封止され、ダムバー及びタイバーが切断されて各リードは機械的・電気的に分離され、分離されたリードを所定形状に成形して、半導体装置が完成する。
こうした底面端子型の半導体装置については、下記特許文献に開示されている。
特開昭63‐296252号公報 特開平9‐162327号公報
半導体装置では、携帯電話等の移動体通信に代表されるように、播送される情報量の飛躍的な増加によって高速通信網の整備が必須となり、使用周波数の高速化が進められ、このような高周波信号を処理するための半導体装置には高周波RF特性の向上が求められている。このため、高周波信号を処理する半導体チップを搭載した半導体装置では、パッケージングの技術についても、半導体チップと実装基板との伝送系となるリード等にも高周波特性を活かした構造とすることが求められ、接地インダクタンスを低減することが必要となっている。
本発明の課題は、接地インダクタンスを低減し、高周波特性の良好なパッケージング技術を提供することにある。
本発明の前記ならびにその他の課題と新規な特徴は、本明細書の記述及び添付図面から明らかになるであろう。
本願において開示される発明のうち、代表的なものの概要を簡単に説明すれば下記の通りである。
タブの半導体チップ搭載領域に搭載した半導体チップと、このタブの周囲に配置され封止体外に露出して外部端子となるリードとを電気的に接続した半導体装置において、前記タブのボンディング領域と半導体チップの電源回路用のパッドとを電気的に接続し、前記タブの一部を前記封止体外に露出させ、このタブの露出部分を半導体装置の電源用外部端子とする。
また、タブの半導体チップ搭載領域に搭載した半導体チップと、このタブの周囲に配置され封止体外に露出して外部端子となるリードとを電気的に接続した半導体装置において、前記タブのボンディング領域と半導体チップの接地電源用のパッドとを電気的に接続し、前記タブの底面を前記封止体の底面から露出させ、この露出しているタブの底面を半導体装置の接地電源用外部端子とする。
更に、タブの半導体チップ搭載領域に搭載した半導体チップと、このタブの周囲に配置され封止体外に露出して外部端子となるリードとを電気的に接続する半導体装置の製造方法において、タブの半導体チップ搭載領域に半導体チップを搭載する工程と、前記半導体チップのパッドとリードとをボンディングし、前記半導体チップの接地電源用のパッドとタブのボンディング領域とをボンディングする工程と、前記タブの底面を露出させて封止体を形成する工程とを有する。
(作用)
タブの露出部分を接地電源用外部端子として用いるため、リードを外部端子として用いていた従来の半導体装置と比較して、伝送経路が短縮され、その断面積が増加するため、低インダクタンス・低インピーダンス化を図ることが可能となる。なお、従来の半導体装置にも、半導体チップを搭載するタブを封止体から露出させているものがあるが、それらの半導体装置ではタブを放熱板としても利用しているに過ぎず、単に放熱性を考慮しているに留まり、高周波特性の点は考慮されていない。
本願において開示される発明のうち代表的なものによって得られる効果を簡単に説明すれば、下記の通りである。
(1)本発明によれば、伝送経路が短縮され、その断面積が増加するため、接地伝送経路の低インダクタンス・低抵抗化を図ることが可能となるという効果がある。
(2)本発明によれば、ボンディングワイヤの短縮によって低インピーダンス化を図ることが可能となるという効果がある。
(3)本発明によれば、上記効果(1)(2)により、アイソレーション特性が向上するという効果がある。
(4)本発明によれば、上記効果(2)(1)により、RF特性が格段に向上するという効果がある。
以下、本発明の実施の形態を説明する。
なお、実施の形態を説明するための全図において、同一機能を有するものは同一符号を付け、その繰り返しの説明は省略する。
(実施の形態1)
図1は本発明の一実施の形態であるQFP型半導体装置を封止体を透過して示す平面図であり、図1中のa‐a線に沿った縦断面図を基板実装状態として図2に示してある。
本実施の形態の半導体装置では、単結晶シリコン等の半導体基板に所定の素子を形成した半導体チップ1を、レジン又は銀ペースト等の接合剤2によってタブ3の半導体チップ搭載領域3aに固定し、半導体チップ1のパッド1aとリード4のインナーリード4aの内端とをボンディングワイヤ5によって電気的に接続してある。半導体チップ1の電源回路の接地用パッド1aは接地用のリード4と接続するが、並列して接地用のパッド1aとタブ3のボンディング領域3bとをボンディングワイヤ5によって接続する。
半導体チップ1、タブ3、リード4のインナーリード4a、ボンディングワイヤ5は、例えばエポキシ樹脂にフィラを混入させた封止樹脂を用いた封止体6によってタブ3の一部である底面を露出させて封止する。リード4のアウターリード4bは、封止体6の側面から露出し、実装状態では、アウターリード4bの外端が配線基板に接続固定される。
配線基板は、配線層7がガラスエポキシ或いはムライトセラミック等の絶縁性材料を板状に成形した基体8の表面或いは内部に形成されており、最上層に形成された配線層7が部分的に、半導体装置の外部端子であるアウターリード4bとの接続端子7aとなっており、実装状態では、接続端子7aとアウターリード4bとを接合剤であるハンダ9によって接続する。そして、本実施の形態の半導体装置では、封止体6から露出しているタブ3の露出部分を半導体装置の接地電源用外部端子として用い、その底面を接地電位の配線層7の接続端子7bに接合剤であるハンダ9によって接続する。
このように、タブ3の露出部分を接地電源用外部端子として用いるため、リード4を外部端子として用いていた従来の半導体装置と比較して、伝送経路が短縮され、その断面積が増加するため、接地伝送経路の低インダクタンス・低抵抗化を図ることが可能となり、ボンディングワイヤの短縮によって低インピーダンス化を図ることが可能となる。これによって、アイソレーション特性が向上し、RF特性が格段に向上する。
また、タブ3の露出部分を接地電源用外部端子として用いるので、電源供給の問題だけを考えた場合には、半導体チップ1の電源回路の接地用パッド1aを接地用のリードVccと接続しなくてもよい。しかし、接地用パッド1aと接続した接地用のリードVccを、高周波信号の入出力リードRFin,RFoutに隣接させて配置することによって、高周波信号を安定化させることができる利点がある。加えて、接地用のリードVccを設けておくことによって、従来の半導体装置のピン配置と互換性をもたせることが可能になる。これらの利点が必要とされない場合であれば、接地用のリードVccと半導体チップ1とをボンディング接続しない構成、更に接地用のリードVccを設けずに少ピン化する構成とすることも可能である。
ところで、封止体6の樹脂とタブ3或いはリード4の金属とでは、熱膨張係数に違いがある。フィラ等により調整して熱膨張係数を近付けたとしても、熱による収縮・膨張の過渡的な特性は変えることができず、この相違から収縮・膨張の速度が異なり、熱による収縮・膨張の際に前記樹脂と金属との界面にずれが生じる。こうしたずれは、半導体装置の中心から遠ざかるに連れて大きくなるため、タブ3の周縁に位置するボンディング領域3bでは、このずれによってボンディングワイヤ5に剪断応力が働き、ボンディングワイヤ5が外れて導通が絶たれてしまうことがある。こうした断線は単に電源供給の問題に留まらず、例えば高周波信号の配線と隣接して設けられた接地配線が断線した場合には、伝送される高周波信号に影響を与えることになる。
このような断線を防止するためには、図3に部分平面図を示し、図3中のa‐a線に沿った縦断面図を図4に示しているように、収縮前記タブのボンディング領域と半導体チップ搭載領域との間に孔或いはスリットからなる分離部10を設けることが有効である。この分離部10によって半導体チップ搭載領域3aとボンディング領域3bとが分断されているため、半導体チップ搭載領域3aの熱応力はボンディング領域3bには伝わりにくくなる。加えて、この分離部10に充填された樹脂によってタブ3の上下に位置する樹脂が一体化され、ボンディング領域3bは近傍の樹脂と挙動をともにすることとなり、樹脂とボンディング領域3bとの間に生じるずれが小さくなるため、ボンディングワイヤ5に大きな剪断応力が加えられることがなくなる。
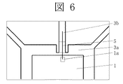
また、図5は本発明の一実施の形態の変形例を封止体を透過して示す平面図である。この例では、接地用のリード4をタブに直接接続して一体化してある。このため半導体チップ1とのボンディングを1本のボンディングワイヤで行なうことができる。この場合に、インナーリード4aがタブ3に近接しているために、ボンディング領域3bの段上げが難しくなることがある。こうした場合には、図6に部分平面図を示すようにタブ3に切り込みを設けて、この部分で段上げを行なう構成とすることが可能である。
続いて、本実施の形態の半導体装置の製造方法について説明する。本実施の形態の半導体装置は、個々の半導体装置に用いられるタブ及びリードの組がタイバー或いはダムバーによって一体化されたタブ及びリードの組が連続して複数組形成され、夫々のリードフレームを用いており、リードフレームとしては、例えばFe‐Ni系合金或いはCu系合金等からなり、半導体チップ1が搭載されるタブ3の全周囲にわたって複数の信号用のリード4が配置されており、タブ3はリード4の間に設けられたタブ吊りリード11によってタブ3をフレームに支持している。
そして、このリードフレームの夫々のタブ3の半導体チップ搭載領域3aに夫々半導体チップ1をレジン又は銀ペーストによって固定し、半導体チップ1のパッド1a電極とインナーリード4aとをボンディングワイヤ5によって接続し、半導体チップ1をリードフレームに実装する。半導体チップ1とインナーリード4aとのボンディングの際に、半導体チップ1の接地電源用のパッド1aとタブ3のボンディング領域3bとをボンディングする。
次に、半導体チップ1を実装したリードフレームを、金型のキャビデイ内に半導体チップ1、タブ3、リード4、ボンディングワイヤ5を収容して、封止樹脂を注入して封止体6を形成する。この時、タブ3の下面は金型に密着させているため、封止樹脂が付着せずに封止体6の底面にタブ3の底面が露出することとなる。この後、タイバー或いはダムバーを切断し、個々の半導体装置に分離して、アウターリード4bをガルウイング等に成形する。
(実施の形態2)
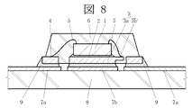
図7は本発明の他の実施の形態であるQFN型半導体装置を封止体を透過して示す平面図であり、図7中のa‐a線に沿った縦断面図を基板実装状態として図8に示してある。
本実施の形態の半導体装置では、単結晶シリコン等の半導体基板に所定の素子を形成した半導体チップ1を、レジン又は銀ペースト等の接合剤2によってタブ3の半導体チップ搭載領域3aに固定し、半導体チップ1のパッド1aとリード4のインナーリード4aの内端とをボンディングワイヤ5によって電気的に接続してある。半導体チップ1の電源回路の接地用パッド1aは接地用のリード4と接続するが、並列して接地用のパッド1aとタブ3のボンディング領域3bとをボンディングワイヤ5によって接続する。
半導体チップ1、タブ3、リード4の上面及び側面、ボンディングワイヤ5は、例えばエポキシ樹脂にフィラを混入させた封止樹脂を用いた封止体6によってタブ3の一部である底面及びリード4の底面を露出させて封止する。実装状態では、このリード4の底面が配線基板に接続固定される。こうした底面端子型の半導体装置では、半導体チップを封止する封止体の底面に夫々複数のリードが設けられているために、半導体装置を配線基板に実装する場合に、その周囲に接続領域を設ける必要がないため半導体装置の実装状態での占有面積が減少し、周囲のスペースを有効に利用することができるという利点がある。
配線基板は、配線層7がガラスエポキシ或いはムライトセラミック等の絶縁性材料を板状に成形した基体8の表面或いは内部に形成されており、最上層に形成された配線層7が部分的に、半導体装置の外部端子であるリード4の底面との接続端子7aとなっており、実装状態では、接続端子7aとリード4の底面とを接合剤であるハンダ9によって接続する。そして、本実施の形態の半導体装置では、封止体6から露出しているタブ3の露出部分を半導体装置の接地電源用外部端子として用い、その底面を接地電位の配線層7の接続端子7bに接合剤であるハンダ9によって接続する。
なお、ボンディング領域3bは、ハーフエッチングによってその底面側を除去し、この部分に封止体6が形成してある。これは、ボンディング領域3bの底面が露出していると、配線基板に実装する際にタブ3を接続するハンダ9が隣接するリード4を接続するハンダ9と一体化してしまうハンダブリッジが生じるのを防止するためである。
このように、タブ3の露出部分を接地電源用外部端子として用いるため、リード4を外部端子として用いていた従来の半導体装置と比較して、伝送経路が短縮され、その断面積が増加するため、接地伝送経路の低インダクタンス・低抵抗化を図ることが可能となり、ボンディングワイヤの短縮によって低インピーダンス化を図ることが可能となる。これによって、アイソレーション特性が向上し、RF特性が格段に向上する。
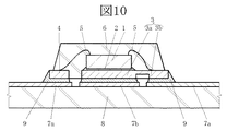
また、図9に封止体を透過して平面図を示し、図9中のa‐a線に沿った縦断面図を図10に示す本実施の形態の変形例では、接地用のリード4をタブに直接接続して一体化し、リード4の一部をボンディング領域3bとしている。このため半導体チップ1とのボンディングを1本のボンディングワイヤで行なうことができる。この場合に、タブ3とリード4との間をハーフエッチングしてあるが、この構成によって、前述したハンダブリッジを防止するとともに、前述した実施の形態の分離部10に相当する機能を発揮する。即ち、ハーフエッチングされた部分に充填された樹脂によってリード4の上に位置する樹脂がリード4と一体化されて近傍の樹脂と挙動をともにすることとなり、樹脂とリード4のボンディング領域3bとの間に生じるずれが小さくなるため、ボンディングワイヤ5に大きな剪断応力が加えられることがなくなる。
また本実施の形態は、図9に封止体を透過して平面図を示し、図9中のa‐a線に沿った縦断面図を図10に示す本実施の形態の変形例のように、通常のタブ3の周縁部をボンディング領域3bとして実施することもできる。従来のリードフレームをそのまま流用することも可能となり、本発明の実施が容易となる。
以上、本発明者によってなされた発明を、前記実施の形態に基づき具体的に説明したが、本発明は、前記実施の形態に限定されるものではなく、その要旨を逸脱しない範囲において種々変更可能であることは勿論である。
例えば、以上の説明では、主として本発明者によってなされた発明をその背景となった利用分野であるQFP型或いはQFN型半導体装置に適用した場合について説明したが、それに限定されるものではなく、本発明は、他の形式の表面実装型半導体装置にも広く適用が可能である。
本発明の一実施の形態である半導体装置を示す平面図である。 図1中のa‐a線に沿った縦断面図である。 本実施の形態の分離部を示す部分平面図である。 図3中のa‐a線に沿った縦断面図である。 本発明の一実施の形態の変形例を示す平面図である。 本例の段上げ部分を示す部分平面図である。 本発明の他の実施の形態である半導体装置を示す平面図である。 図7中のa‐a線に沿った縦断面図である。 本発明の他の実施の形態の変形例である半導体装置を示す平面図である。 図9中のa‐a線に沿った縦断面図である。 本発明の一実施の形態である半導体装置の変形例を示す縦断面図である。 図11中のa‐a線に沿った縦断面図である。
符号の説明
1…半導体チップ、2…接合剤、3…タブ、3a…半導体チップ搭載領域、3b…ボンディング領域、4…リード、4a…インナーリード、4b…アウターリード、5…ボンディングワイヤ、6…封止体、7…配線層、8…基体、9…ハンダ、10…分離部、11…タブ吊りリード。

Claims (2)

  1. タブの半導体チップ搭載領域に搭載した半導体チップと、このタブの周囲に配置され封止体外に露出して外部端子となる複数のリードとを電気的に接続した半導体装置において、
    前記複数のリードの一部は前記タブに接続一体化され、前記タブに接続一体化されたリードの裏面側は部分的にエッチングされた構造であり、
    前記半導体チップの接地電源用のパッドと前記タブに接続一体化されたリードの表面側とが電気的に接続され、前記タブの底面を前記封止体の底面から露出させ、この露出しているタブの底面を半導体装置の接地電源用外部端子としたことを特徴とする半導体装置。
  2. 前記半導体チップの接地電源用のパッドに接続される部分のリードと前記タブとの間が前記の部分的にエッチングされた構造であることを特徴とする請求項1に記載の半導体装置。
JP2005195940A 2005-07-05 2005-07-05 半導体装置 Expired - Fee Related JP4252563B2 (ja)

Priority Applications (1)

Application Number Priority Date Filing Date Title
JP2005195940A JP4252563B2 (ja) 2005-07-05 2005-07-05 半導体装置

Applications Claiming Priority (1)

Application Number Priority Date Filing Date Title
JP2005195940A JP4252563B2 (ja) 2005-07-05 2005-07-05 半導体装置

Related Parent Applications (1)

Application Number Title Priority Date Filing Date
JP2000296380A Division JP2002110889A (ja) 2000-09-28 2000-09-28 半導体装置及びその製造方法

Publications (2)

Publication Number Publication Date
JP2005294871A true JP2005294871A (ja) 2005-10-20
JP4252563B2 JP4252563B2 (ja) 2009-04-08

Family

ID=35327379

Family Applications (1)

Application Number Title Priority Date Filing Date
JP2005195940A Expired - Fee Related JP4252563B2 (ja) 2005-07-05 2005-07-05 半導体装置

Country Status (1)

Country Link
JP (1) JP4252563B2 (ja)

Cited By (4)

* Cited by examiner, † Cited by third party
Publication number Priority date Publication date Assignee Title
JP2009060093A (ja) * 2007-08-06 2009-03-19 Seiko Instruments Inc 半導体装置
KR100939153B1 (ko) 2007-12-11 2010-01-28 주식회사 하이닉스반도체 반도체 소자 및 그 제조 방법
JP2012227347A (ja) * 2011-04-19 2012-11-15 Toyota Central R&D Labs Inc 高周波装置
JP2013508974A (ja) * 2009-10-19 2013-03-07 ナショナル セミコンダクター コーポレーション 向上した接地ボンド信頼性を有するリードフレーム・パッケージ

Citations (4)

* Cited by examiner, † Cited by third party
Publication number Priority date Publication date Assignee Title
JPH05291483A (ja) * 1992-04-10 1993-11-05 Toshiba Corp 半導体装置
JPH1174404A (ja) * 1997-08-28 1999-03-16 Nec Corp ボールグリッドアレイ型半導体装置
JPH11233683A (ja) * 1998-02-10 1999-08-27 Dainippon Printing Co Ltd 樹脂封止型半導体装置とそれに用いられる回路部材および樹脂封止型半導体装置の製造方法
JPH11260990A (ja) * 1998-03-12 1999-09-24 Matsushita Electron Corp リードフレーム,樹脂封止型半導体装置及びその製造方法

Patent Citations (4)

* Cited by examiner, † Cited by third party
Publication number Priority date Publication date Assignee Title
JPH05291483A (ja) * 1992-04-10 1993-11-05 Toshiba Corp 半導体装置
JPH1174404A (ja) * 1997-08-28 1999-03-16 Nec Corp ボールグリッドアレイ型半導体装置
JPH11233683A (ja) * 1998-02-10 1999-08-27 Dainippon Printing Co Ltd 樹脂封止型半導体装置とそれに用いられる回路部材および樹脂封止型半導体装置の製造方法
JPH11260990A (ja) * 1998-03-12 1999-09-24 Matsushita Electron Corp リードフレーム,樹脂封止型半導体装置及びその製造方法

Cited By (4)

* Cited by examiner, † Cited by third party
Publication number Priority date Publication date Assignee Title
JP2009060093A (ja) * 2007-08-06 2009-03-19 Seiko Instruments Inc 半導体装置
KR100939153B1 (ko) 2007-12-11 2010-01-28 주식회사 하이닉스반도체 반도체 소자 및 그 제조 방법
JP2013508974A (ja) * 2009-10-19 2013-03-07 ナショナル セミコンダクター コーポレーション 向上した接地ボンド信頼性を有するリードフレーム・パッケージ
JP2012227347A (ja) * 2011-04-19 2012-11-15 Toyota Central R&D Labs Inc 高周波装置

Also Published As

Publication number Publication date
JP4252563B2 (ja) 2009-04-08

Similar Documents

Publication Publication Date Title
CN101207117B (zh) 系统级封装体及其制造方法
US6703696B2 (en) Semiconductor package
CN100416815C (zh) 包括无源器件的引线框架及其形成方法
JP2001313363A (ja) 樹脂封止型半導体装置
KR100369907B1 (ko) 반도체 패키지와 그 반도체 패키지의 기판 실장 구조 및적층 구조
JPH09312375A (ja) リードフレーム、半導体装置及び半導体装置の製造方法
CN100463169C (zh) 混合集成电路装置及其制造方法
US7875968B2 (en) Leadframe, semiconductor package and support lead for bonding with groundwires
JP2000294715A (ja) 半導体装置及び半導体装置の製造方法
JP3839178B2 (ja) 半導体装置
US6774464B2 (en) Semiconductor device and method of manufacturing the same
US7102211B2 (en) Semiconductor device and hybrid integrated circuit device
CN114068468A (zh) 引线框架及封装结构
JP2004349397A (ja) 半導体装置およびそれに用いられるリードフレーム
KR100248035B1 (ko) 반도체 패키지
JP4252563B2 (ja) 半導体装置
US20040159929A1 (en) Semiconductor die package having two die paddles
JP4652281B2 (ja) 樹脂封止型半導体装置
JP2002110889A (ja) 半導体装置及びその製造方法
JP3913228B2 (ja) 樹脂封止型半導体装置及びその製造方法
JP2005191158A (ja) 半導体装置及びその製造方法
JP2006222471A5 (ja)
JPH11340405A (ja) リードフレーム、半導体装置およびその製造方法
JP5145596B2 (ja) 半導体装置
JP4651218B2 (ja) 半導体装置の製造方法

Legal Events

Date Code Title Description
A977 Report on retrieval

Free format text: JAPANESE INTERMEDIATE CODE: A971007

Effective date: 20070411

A131 Notification of reasons for refusal

Free format text: JAPANESE INTERMEDIATE CODE: A131

Effective date: 20080610

A521 Request for written amendment filed

Free format text: JAPANESE INTERMEDIATE CODE: A523

Effective date: 20080808

A131 Notification of reasons for refusal

Free format text: JAPANESE INTERMEDIATE CODE: A131

Effective date: 20080930

A521 Request for written amendment filed

Free format text: JAPANESE INTERMEDIATE CODE: A523

Effective date: 20081128

TRDD Decision of grant or rejection written
A01 Written decision to grant a patent or to grant a registration (utility model)

Free format text: JAPANESE INTERMEDIATE CODE: A01

Effective date: 20090120

A01 Written decision to grant a patent or to grant a registration (utility model)

Free format text: JAPANESE INTERMEDIATE CODE: A01

A61 First payment of annual fees (during grant procedure)

Free format text: JAPANESE INTERMEDIATE CODE: A61

Effective date: 20090121

R150 Certificate of patent or registration of utility model

Free format text: JAPANESE INTERMEDIATE CODE: R150

FPAY Renewal fee payment (event date is renewal date of database)

Free format text: PAYMENT UNTIL: 20120130

Year of fee payment: 3

FPAY Renewal fee payment (event date is renewal date of database)

Free format text: PAYMENT UNTIL: 20120130

Year of fee payment: 3

S111 Request for change of ownership or part of ownership

Free format text: JAPANESE INTERMEDIATE CODE: R313111

FPAY Renewal fee payment (event date is renewal date of database)

Free format text: PAYMENT UNTIL: 20120130

Year of fee payment: 3

R350 Written notification of registration of transfer

Free format text: JAPANESE INTERMEDIATE CODE: R350

FPAY Renewal fee payment (event date is renewal date of database)

Free format text: PAYMENT UNTIL: 20130130

Year of fee payment: 4

FPAY Renewal fee payment (event date is renewal date of database)

Free format text: PAYMENT UNTIL: 20130130

Year of fee payment: 4

FPAY Renewal fee payment (event date is renewal date of database)

Free format text: PAYMENT UNTIL: 20140130

Year of fee payment: 5

S531 Written request for registration of change of domicile

Free format text: JAPANESE INTERMEDIATE CODE: R313531

R350 Written notification of registration of transfer

Free format text: JAPANESE INTERMEDIATE CODE: R350

LAPS Cancellation because of no payment of annual fees