JP2005294639A - フレックスリジッド配線板 - Google Patents

フレックスリジッド配線板 Download PDF

Info

Publication number
JP2005294639A
JP2005294639A JP2004109237A JP2004109237A JP2005294639A JP 2005294639 A JP2005294639 A JP 2005294639A JP 2004109237 A JP2004109237 A JP 2004109237A JP 2004109237 A JP2004109237 A JP 2004109237A JP 2005294639 A JP2005294639 A JP 2005294639A
Authority
JP
Japan
Prior art keywords
flex
pattern
wiring board
rigid
thickness
Prior art date
Legal status (The legal status is an assumption and is not a legal conclusion. Google has not performed a legal analysis and makes no representation as to the accuracy of the status listed.)
Granted
Application number
JP2004109237A
Other languages
English (en)
Other versions
JP4437051B2 (ja
Inventor
Yukinobu Mikado
幸信 三門
Katsumi Kosaka
克巳 匂坂
Katsuo Kawaguchi
克雄 川口
Tetsuya Muraki
哲也 村木
Current Assignee (The listed assignees may be inaccurate. Google has not performed a legal analysis and makes no representation or warranty as to the accuracy of the list.)
Ibiden Co Ltd
Original Assignee
Ibiden Co Ltd
Priority date (The priority date is an assumption and is not a legal conclusion. Google has not performed a legal analysis and makes no representation as to the accuracy of the date listed.)
Filing date
Publication date
Application filed by Ibiden Co Ltd filed Critical Ibiden Co Ltd
Priority to JP2004109237A priority Critical patent/JP4437051B2/ja
Publication of JP2005294639A publication Critical patent/JP2005294639A/ja
Application granted granted Critical
Publication of JP4437051B2 publication Critical patent/JP4437051B2/ja
Anticipated expiration legal-status Critical
Expired - Fee Related legal-status Critical Current

Links

Images

Landscapes

  • Structure Of Printed Boards (AREA)
  • Combinations Of Printed Boards (AREA)

Abstract


【課題】 屈曲部付近で生じやすい基材の変形や、導体回路の断線、ウネリ形成等を防止できる接続信頼性に優れるフレックスリジット配線板を提案すること。
【課題を解決するための手段】 絶縁性基板上に導体回路を設けてなる硬質のリジッド基板と、絶縁性基材上に導体回路を設け、その導体回路を被覆するようにカバーレイを設けてなる屈曲可能なフレキシブル基板とが接続されてなるフレックスリジッド配線板において、フレキシブル基板の絶縁性基材として、ガラスクロスに樹脂を含浸、乾燥させてなる屈曲可能な基材を採用し、フレキシブル基板の一方の表面には導体回路を形成し、他方の表面には、屈曲部付近にダミーパターンを形成したことを特徴とする。
【選択図】 図9

Description

本発明は、折り曲げ可能な可撓性を有するフレックス部と硬質材料からなるリジッド部とからなるフレックスリジッドプリント配線板に関する。
近年、折りたたみ式の携帯電話等の携帯用電子機器には、フレックスリジッド多層配線板が使用されている。このような配線板は、図11に示すように柔軟性がないリジッド部500、520と、柔軟性のあるフレキシブル部510とをフレキシブル基板544を介して連結するとともに、リジッド部500においては、積層するフレキシブル基板544およびリジッド基板500、520表面のパターン層504、506を、めっきスルーホール502の導体層を介して電気的に接続するものが一般的である(例えば、特許文献1参照)。
特開平5−90756号公報
上記従来技術にかかるフレックスリジッド多層配線板は、ガラスエポキシ樹脂や、ガラスポリイミド樹脂等の硬質基材上に回路形成されてなるリジッド基板の間に、ポリイミド樹脂フィルムやポリエステル樹脂フィルム等の屈曲性能に優れた基材上に回路形成されてなるフレキシブル基板をプリプレグあるいは接着シート等を介して熱圧着し、その後、穴あけ、スルーホールメッキ、レジスト塗布、エッチングといった多くの工程を経て製造されている。
上記フレキシブル基板は、自由に折り曲げられることが要求されるため、リジット基板で使用されているような紙や、ガラス繊維等の強化材は使用されず、絶縁材として屈曲性に優れた薄いポリイミド樹脂やポリエステル樹脂などのベースフィルムが採用され、そのベースフィルムに対して柔軟な銅箔を貼り合せたものが基板材料として使用されている。
このベースフィルムとして用いられるポリイミドフィルムは、フィルム単体では400℃以上の耐熱性があり、部品実装時の250℃以上の半田付け温度にも十分耐える上、実際に機器組み込み後の環境変化に対しても安定した性能が発揮できるため、ポリエステルフィルムよりも圧倒的に多く使用されている。
また、ベースフィルム上に貼付された柔軟な銅箔をエッチングして形成される導体回路を保護するためのカバーレイは、屈曲性を考慮して、接着剤付きのポリイミドフィルムが使用されることが多い。
ところで、携帯用電子機器の高機能化および高密度化という社会的要請に応じて、実装部品のより一層の小型化が図られると共に、それに伴なって、実装される基板の配線幅の一層の微細化が求められているのが現状である。
とくに、折り曲げ可能なフレックスリジッド配線板においても、それを構成するフレキシブル基板に形成される配線パターンの微細化および高密度化(単位面積辺りの配線の本数を増やす)が求められている。
しかしながら、フレキシブル基板の絶縁性基材として用いられているポリイミドフィルムは、吸水性が高く、しかも寸法変化が大きいため、ランド径のサイズを予め大きく形成しなければならない等の設計デザイン的な制約を受け、更に、合せ精度を向上させるためにワークサーズを小さくして製造する必要があった。そのため、優れた接続信頼性を得ることができないという問題があり、また、ヒートサイクル等の信頼性試験においても同様の問題があった。
また、フレキシブル基板の絶縁性基材として用いられるポリイミド等の樹脂フィルムは、フィルム単体で形成されたもので、芯材に樹脂含浸させたものではないため、(1)十分な強度を確保できない、(2)屈曲部の曲率を一定に保持できない、(3)前記(1)、(2)の故に、屈曲部付近でフレキシブル基材が変形したり、導体回路が断線したりするという問題があった。特に、フレキシブル基材の折り曲げを繰り返したり、導体回路が微細な配線パターンにより形成されているとき場合には、それらの問題が顕著となる。
また、フレキシブル基板の屈曲部分や、リジット部形成領域付近でウネリ(波状)が形成されることがあり、このウネリが形成されると、基材のうねり形成部分に亀裂が生じたり、導体回路が断線するというダメージを受けることがある。
さらに、フレキシブル基板に設けた導体回路を保護するためのカバーレイを、接着剤付きポリイミドフィルムから形成する場合に、スルーホールの接続信頼性や絶縁信頼性が低下するおそれがあるので、穴明け、デスミア、めっき条件等を特別に管理する必要があると共に、他の材料との組み合わせ構成をする上で制約を受けるという問題もあった。
そこで、本発明の目的は、従来技術が抱える上述した問題を解消し、屈曲部での強度を十分に確保しつつ、そこでの屈曲具合を大きく、かつ一定に保持できるようなフレックスリジット配線板を提案することにある。
本発明の他の目的は、フレキシブル基板の屈曲部付近で生じやすい基材の変形や、導体回路の断線、ウネリ形成等を防止できる接続信頼性に優れるフレックスリジット配線板を提案することにある。
発明者らは、上記目的を実現するために鋭意研究を重ねた結果、フレキシブル基板を、従来技術のようなポリイミド等の樹脂フィルム単体ではなく、ガラスクロスに樹脂を含浸、乾燥させてなる屈曲可能な複合基材、特に、ガラスクロスにエポキシ樹脂を含浸、乾燥させてなる屈曲可能な複合基材から形成すれば、基板の剛性を高め、寸法変化を小さくでき、そのような基材の一方の表面に導体回路を設け、他方の表面に屈曲部付近にダミーパターンを形成すれば、屈曲を助成できるので屈曲具合を大きくでき、しかもその大きな屈曲状態を一定に維持できることを知見し、そのような知見に基づいて本発明を完成した。
すなわち、本発明は、
絶縁性基板上に導体回路を設けてなる硬質のリジッド基板と、絶縁性基材上に導体回路を設け、その導体回路を被覆するようにカバーレイを設けてなる屈曲可能なフレキシブル基板とが接続されてなるフレックスリジッド配線板において、
前記フレキシブル基板の絶縁性基材は、ガラスクロスに樹脂を含浸、乾燥させてなる屈曲可能な基材であり、
前記フレキシブル基板の一方の表面には導体回路を形成し、他方の表面には、屈曲部付近にダミーパターンを形成したことを特徴とするフレックスリジッド配線板である。
本願発明における「ダミーパターン」とは、フレキシブル基板の導体回路が形成された表面と反対側の表面に形成される電気的な接続を行わない導体層または絶縁層を意味しており、主としてフレキシブル基板の折り曲げ部分(屈曲部)を中心とした領域に形成される。
上記ダミーパターンは、導体層または絶縁層中に、単一あるいは複数種類の形状の開口を有し、それらの複数の開口が少なくとも導体回路の線状パターンに交差するような方向に、規則正しく配置された形態(以下、「格子状パターン」という)に形成されていることが望ましい。
上記格子状パターンをなす開口の形状としては、三角形、四角形、五角形以上の多角形等の角形状、それらの角部にR部を設けた形状(面取り形状)、あるいは円形、楕円形等の曲線形状、もしくは角形状と曲線形状との組合せ形状を用いることができ、円形の開口や四角形がより望ましい形態である。
また、上記格子状パターンをなす開口は、同一形状および同一面積に形成してもよいし、異なる形状もしくは異なる面積の組み合わせにより形成してもよい。
また、上記各パターンを形成する複数の開口間の距離(ピッチ)は、一定であってもよいし、不均一であってもよく、さらに、屈曲部付近だけ開口形状の大きさやピッチを変化させてもよい。
上記各パターンを形成する各開口の面積は、10000〜200000μmであることが望ましい。その理由は、10000mm未満では、フレキシブル部自体が強固になりすぎてしまって、屈曲部の折り曲げを助長することができないと共に、ヒートサイクルなどの信頼性試験においても、発生した応力が伝達しやすくなり、その応力が緩衝されないので、基材や導体回路にダメージを与えてしまうからである。一方、200000mmを超えると、屈曲部において基材のウネリが形成されるので、導体回路の位置ズレを生じたり、屈曲部分の屈曲具合(曲率半径)を大きく、かつ一定に維持しにくくなるからである。
また、上記各パターンを形成する各開口の面積の総和と、残りのパターン部分の面積との比が、1:9〜9:1の範囲であることが望ましい。その理由は、1:9未満では、フレキシブル部自体が強固になりすぎ、屈曲部の折り曲げを助長することができないと共に、ヒートサイクルなどの信頼性試験においても、発生した応力が伝達しやすくなり、その応力が緩衝されないので、基材や導体回路にダメージを与えてしまうからである。一方、9:1を越えると、屈曲部に基材のウネリが形成されるので、屈曲具合(曲率半径)を大きく、かつ一定に維持しにくくなるからである。
上記各パターンを形成する各開口の面積の総和と、残りのパターン部分の面積との比が、2:8〜8:2の範囲であることがより望ましい。その範囲であれば、部分的に開口面積の総和と残りのパターン部分の面積との比にバラツキを生じたとしても、ヒートサイクルなどの信頼性試験においても、前述のような問題を引き起こさないし、屈曲部のウネリが形成されることがないので、屈曲具合(曲率半径)を大きく、かつ一定に維持することができるのである。
また、上記各パターンを形成する各開口の面積の総和と、残りのパターン部分の面積との比が、9:10〜11:10の範囲であることがより望ましい。その範囲であれば、開口面積の総和と残りのパターン部分の面積との比にバラツキが生じたり、フレキシブル基板におけるバラツキが生じたとしても、確実に信頼性試験に耐えることができるので、屈曲具合(曲率半径)を一様に大きくし、かつ一定に維持することができるのである。
上記各開口の面積は、10000〜126000μmであることがより望ましく、かつ、各開口の面積の総和と、開口が形成されていない残りのパターン部分の面積との比が、1:9〜9:1の範囲であることがより望ましい。この範囲であれば、形成される形状などに関わらず、フレキシブル部に対する屈曲部の屈曲具合(曲率半径)を大きく、かつ一定に維持することが容易となる。また、位置ズレなどによる電気的な接続不良を低減し、ヒートサイクルなどの信頼性試験においても、応力が緩衝されるので、基材や導体回路にダメージを与えることがなく、信頼性を大幅に向上させることができるからである。
また、上記各開口の面積は、10000〜126000μmであることがより望ましく、かつ、各開口の面積の総和と、開口が形成されていない残りのパターン部分の面積との比が、9:10〜11:10の範囲であることがより望ましい。この範囲であれば、開口などのバラツキや材料のバラツキによる因子の影響を受けることがなく、信頼性などの面でも安定させることができるからである。
本発明において、上記ダミーパターンは、導体回路の線状パターンに対して交差するような方向に延設されたパターンであることが望ましい。そのダミーパターンは、フレキシブル基板の屈曲部付近に配設され、少なくとも3本以上の線状パターンからなり、その線幅は150μm以上であることが望ましい。3本以上であると、屈曲部での屈曲具合(曲率半径)を大きく、かつ一定に維持しやすく、線幅が150μm未満であると、屈曲部における屈曲具合(曲率半径)が一定に維持できなくなるからである。
また、上記交差方向に延設された線状パターンは、その線間距離が30μm以上であることが望ましく、それによって、フレキシブル基板の屈曲部に沿って延設された線状パターンを並置することができる。30μm未満では、延設されたパターン同士が重なりあうことがあり、それによって、局所的にウネリが形成されるので、導体回路の線状パターンが断線し、接続信頼性を低下させてしまうからである。
また、上記交差方向に延設された線状パターンは、厚みが導体回路の線状パターンの厚みと同等、あるいはそれよりも厚いことが望ましい。その理由は、線状パターンの厚みが導体回路の線状パターンの厚みよりも薄い場合には、フレキシブル基板の屈曲時の曲率半径が小さくなってしまうことがある。また、フレキシブル基板の頻繁な屈曲により、導体回路の配線パターンが破断することがあるからである。
また、上記交差方向に延設された線状パターンは、その断面形状が台形であることが望ましい。その理由は、交差方向に延設された線状パターンは、断面形状が台形であると、ダミーパターンが折り曲げられた場合に、パターン部分が重なりあうことがないので、屈曲部において、段差が形成されることがなく、導体回路の線状パターンの断線が防止されるからである。
さらに、上記台形部分の裾角度は、45〜90°であることが望ましい。屈曲部において延設されたパターンを並置することが容易になるからである。
本発明において、フレキシブル基板を形成する屈曲可能な基材をなすガラスクロスは、厚さが30μm以下であり、それを構成するガラス繊維の太さが、1.5〜7.0μmであることが望ましい。その理由は、ガラスクロスの厚みが30μmを越えると、フレキシブル基板が屈曲できなくなるからである。また、ガラス繊維の太さが1.5μm未満であると、屈曲具合(曲率半径)を大きくすることが困難になることがあり、一方、7.0μmを越えると、屈曲自体が阻害されてしまうからである。
また、前記ガラスクロスに含浸されて、屈曲可能な基材をなす樹脂としては、エポキシ系樹脂や、ポリイミド系樹脂、アクリル系樹脂、液晶ポリマー、フェノール系樹脂等を用いることができ、その中でもエポキシ系樹脂がもっとも望ましい。
さらに、前記屈曲可能な基材は、板厚が100μm以下であることが望ましい。その理由は、100μmを超えると、ガラスクロスが厚くなりすぎ、屈曲性が低下するからである。すなわち、フレキシブル基板の屈曲部での屈曲具合(曲率半径)を大きく一定に維持することが難しいからである。
本発明において、屈曲可能なフレキシブル基板上に形成した導体回路を被覆するカバーレイは、可撓性を有する樹脂付き銅箔、可撓性を有するソルダーレジスト層、またはガラスクロスにエポキシ系樹脂を含浸、乾燥させた後、半硬化させてなるプリプレグから形成されることが望ましい。その理由は、絶縁信頼性、接続信頼性がポリイミドフィルム(例えば、接着剤付きポリイミド)を使用する場合よりも向上するからである。
なお、本発明におけるダミーパターンは、フレキシブル基板の屈曲部における内側表面に形成されることが望ましい。それにより、屈曲具合(屈曲時に折り曲げられた部分の曲率半径)を大きくすることを支え、その反対側の表面に形成されている導体回路の断線などの発生を防止することができるからである。また、内側表面に形成されているので、繰り返しの折り曲げに対する耐性(耐折性)が大きく、ダミーパターンがフレキシブル基板の基材や導体回路への損傷を低下させることができるのである。
本発明のフレックスリジッド配線板によれば、フレキシブル基板を、ガラスクロスに樹脂を含浸、乾燥させてなる屈曲可能な基材から形成したので、基材の剛性が高まり、基板の寸法変化も小さくなる。そのため、従来技術のような導体回路形成における制約を受けることがなくなるので、基板材料に起因する導体回路の断線を阻止することができる。また、フレキシブル基板とリジット基板の接続部における寸法変化による配線の位置ズレも生じないので、電気的接続性を低下させることがない。さらに、フレキシブル基板において、導体回路形成面と反対側の表面にダミーパターンを形成させることにより、屈曲部における曲げが助長されるので、屈曲部の曲がり具合(曲率)を一定にすることができ、バラツキがなくなる。
特に、ガラスクロスにエポキシ系樹脂を含浸、乾燥させてなる屈曲可能な基材を用いることによって、基材の剛性をより高めることができるので、基板の寸法変化もより小さくすることができる。
すなわち、上記ガラスクロスに樹脂を含浸、乾燥させてなる基材は、従来技術のようなポリイミド等の樹脂フィルム単体からなるフレキシブル基材に比べて、曲げにくいし、繰り返しの曲げに対する柔軟性が劣っているが、導体回路形成面と反対側の表面にダミーパターンを形成させることにより、屈曲に対する曲がり具合を安定化させ、繰り返し行なわれる曲げに対する柔軟性を向上させることができる。その結果、折り曲げを起因とする導体回路の配線パターンの断線をなくして、接続信頼性の低下を阻止し、ヒートサイクル条件下等の信頼性試験においても、従来よりも長時間にわたって良好な電気的接続性を維持し、外形が損傷を受けることがなくなる。また、ウネリが形成されないので、基材に亀裂が生じたり、導体回路の配線パターンの断線等が発生しにくくなる。
本発明にかかるフレックスリジッド配線板の構成上の特徴は、リジッド部およびフレキシブル部を構成するフレキシブル基板の絶縁性基材として、従来技術のようなポリイミド等の樹脂フィルム単体を用いないで、ガラスクロスに樹脂を含浸、乾燥させてなる屈曲可能な基材から形成し、その絶縁性基材の一方の表面には導体回路を形成し、他方の表面には、屈曲部付近にダミーパターンを形成したことである。
前記屈曲可能な絶縁性基材を構成するガラスクロスは、厚さが30μm以下であり、それを構成するガラス繊維の太さが、1.5〜7.0μmであることが望ましい。ガラスクロスの厚みが30μmを越えると、フレキシブル基板の折り曲げを阻害してしまうからである。また、ガラス繊維の太さが1.5μm未満であると、屈曲具合(曲率半径)を大きくすることができないからであり、一方、7.0μmを越えると屈曲自体を阻害してしまうからである。
また、前記ガラスクロスに含浸されて、屈曲可能な絶縁性基材をなす樹脂としては、エポキシ系樹脂や、ポリイミド系樹脂、アクリル系樹脂、液晶ポリマー、フェノール系樹脂等を用いることができ、その中でもエポキシ系樹脂がもっとも望ましい。
前記屈曲可能な絶縁性基材の厚さは、10〜100μm程度とすることが好ましい。その理由は、10μm未満の厚さでは、電気的絶縁性が低下するからであり、一方、100μmを超えると、基材を構成するガラスクロスが厚くなりすぎ、屈曲性が低下するからである。
前記絶縁性基材の一方の表面には、接続用電極パッドを含んだ導体回路の配線パターンが形成される。この配線パターンは、絶縁性基材の表面にめっき処理によって形成するか、絶縁性基材の表面に金属箔を貼付し、その金属箔をエッチング処理して形成され、前記接続用電極パッドは、配線パターンの一部として形成される。
前記フレキシブル基板に形成した接続用電極パッドは、その形状、大きさ、および個数は、たとえば、直径が50〜500μm程度の円形とし、100〜700μm程度のピッチで複数配設したものが好適である。
その理由は、50μm未満では高密度実装に対して、接続信頼性を低下させる要因となり得るからであり、一方、500μmを越えると、高密度実装に対する配線密度を高めにくくなるからである。
本発明にかかるフレックスリジッド配線板を構成するフレキシブル基板には、図1および図2に示すように、その屈曲部付近において、導体回路パターンが形成された表面と反対側の表面に電気的接続を行う機能を有しないダミーパターンが形成されている。
このダミーパターンは、電気的な接続を行なう機能を有していないので、必ずしも導体回路パターンと同様の材料から形成される必要がなく、樹脂、セラミック等の絶縁材料から形成してもよい。加工性、形状の均一性保持、折り曲げに対する耐性(耐折性)という観点から、金属からなる材料を用いることが望ましい。
前記ダミーパターンは、主として、フレキシブル基板の屈曲部を中心としてその周辺に形成することが望ましく、フレキシブル基板を折り曲げた際に、内側となるような表面に形成することがより望ましい。その理由は、屈曲部における屈曲具合(曲率半径)を大きくすることができ、導体回路の断線等を引き起こしにくくして、接続信頼性やヒートサイクル条件下における信頼性低下を防止できるからである。
このように、フレキシブル基板をガラスクロスに樹脂(特に、エポキシ系樹脂)を含浸、乾燥させてなる屈曲可能な基材から形成し、その屈曲部周辺にダミーパターンを配設することによって、前記基材からなるフレキシブル基板に対して、適度な剛性(強度)を付与するだけでなく、屈曲部においては適度な柔軟性を付加することができるので、屈曲部の屈曲具合(曲率半径)を大きくすることができる共に、その屈曲具合を一定に維持することができる。
前記ダミーパターンは、図3に示すように、導体層または絶縁層中に、単一あるいは複数種類の形状の開口を有し、それらの複数の開口が少なくとも一列に、規則正しく格子状に配置された格子状パターンに形成されていることが望ましい。
なお、ここでいう「格子状」とは、複数の開口が碁盤目状に配列されている状態(図3(a)〜(c)参照)だけでなく、千鳥状に配列されている状態(図3(d)参照)を含む概念である。
また、本発明におけるダミーパターンとしては、複数の開口を有しないベタパターンも含まれるが、フレキシブル基板の屈曲部付近において折り曲げ難くなることが有るし、ヒートサイクルなどの信頼性試験においても、発生した応力が緩衝されないまま伝達される場合があるので、基材や導体回路にダメージを与える場合がある。そのため、ダミーパターンはベタではなく、少なくとも一列に規則正しく配列された複数の開口を有する格子状パターンに形成されることが望ましいのである。
前記格子状パターンをなす開口の形状は、三角形、四角形、五角形以上の多角形等の角形状、それらの角部にR部を設けた、即ち、角部を面取りした形状、あるいは円形、楕円形等の曲線形状、もしくは角形状と曲線形状との組合せ形状とすることができる。
また、前記格子状パターンをなす開口は、同一形状および同一面積に形成してもよいし、異なる形状もしくは異なる面積の組合せにより形成してもよい(図3(e)参照)。
また、各パターンを形成する複数の開口間の距離(ピッチ)は、一定であってもよいし、不均一であってもよく、さらに、屈曲部付近だけ開口形状の大きさやピッチを変化させてもよい。
図3(a)〜(e)に示すようなパターンにより形成することがより望ましい。
前記各パターンを形成する各開口の面積は、10000〜200000μmであることが望ましい。その理由は、10000mm未満では、フレキシブル部自体が強固になりすぎてしまって、屈曲部の折り曲げを助長することができないと共に、ヒートサイクルなどの信頼性試験においても、発生した応力が伝達しやすくなり、その応力が緩衝されないので、基材や導体回路にダメージを与えてしまうからであり、一方、200000mmを超えると、屈曲部において基材のウネリが形成され、導体回路が位置ズレしたり、屈曲部分の屈曲具合(曲率半径)を大きく、かつ一定に維持しにくくなるからである。
また、上記各パターンを形成する各開口の面積の総和と、残りのパターン部分の面積との比が、1:9〜9:1の範囲であることが望ましい。その理由は、1:9未満では、フレキシブル部自体が強固になりすぎ、屈曲部の折り曲げを助長することができないと共に、ヒートサイクルなどの信頼性試験においても、発生した応力が伝達しやすくなり、その応力が緩衝されないので、基材や導体回路にダメージを与えてしまうからである。一方、9:1を越えると、屈曲部に基材のウネリが形成されるので、屈曲具合(曲率半径)を大きく、かつ一定に維持しにくくなるからである。
上記各パターンを形成する各開口の面積の総和と、残りのパターン部分の面積との比が、2:8〜8:2の範囲であることがより望ましい。その範囲であれば、部分的に開口面積の総和と残りのパターン部分の面積との比にバラツキを生じたとしても、ヒートサイクルなどの信頼性試験においても、前述のような問題を引き起こさないし、屈曲部のウネリが形成されることがないので、屈曲具合(曲率半径)を大きく、かつ一定に維持することができるのである。
また、上記各パターンを形成する各開口の面積の総和と、残りのパターン部分の面積との比が、9:10〜11:10の範囲であることがより望ましい。その範囲であれば、開口面積の総和と残りのパターン部分の面積との比にバラツキが生じたり、フレキシブル基板におけるバラツキが生じたとしても、確実に信頼性試験に耐えることができるので、屈曲具合(曲率半径)を一様に大きくし、かつ一定に維持することができるのである。
上記各開口の面積が、10000〜126000μmであることがより望ましく、かつ、各開口の面積の総和と、開口が形成されていない残りのパターン部分の面積との比が、1:9〜9:1の範囲であることがより望ましい。この範囲であれば、形成される形状などに関わらず、フレキシブル部に対する屈曲部の屈曲具合(曲率半径)を大きく、かつ一定に維持することが容易となる。また、位置ズレなどによる電気的な接続不良を低減し、ヒートサイクルなどの信頼性試験においても、応力が緩衝されるので、基材や導体回路にダメージを与えることがなく、信頼性を大幅に向上させることができるからである。
また、上記各開口の面積は、10000〜126000μmであり、かつ、各開口の面積の総和と、開口が形成されていない残りのパターン部分の面積との比が、9:10〜11:10の範囲であることがより望ましい。この範囲であれば、開口などのバラツキや材料のバラツキによる因子の影響を受けることがなく、信頼性などの面でも安定させることができるからである。
本発明において、ダミーパターンは、図4に示すように、導体回路の配線パターンに対して交差するような方向に延設されたパターンであることが望ましく、そのダミーパターンは、図5(a)および(b)に示すように、フレキシブル基板の屈曲部付近に配設され、少なくとも3本以上の線状パターンからなり、その線幅は150μm以上であることが望ましい。3本以上であると、屈曲部での屈曲具合(曲率半径)を大きく、かつ一定に維持しやすく、線幅が150μm未満であると、屈曲部における屈曲具合(曲率半径)が一定に維持できなくなるからである。
また、前記線状パターンは、その線間距離が30μm以上であることが望ましく、それによって、フレキシブル基板の屈曲部に沿って延設された線状パターンを並置することができる。30μm未満では、延設されたパターン同士が重なりあうことがあり、それによって、局所的にウネリが形成されるので、導体回路の配線パターンが断線し、接続信頼性を低下させてしまうからである。
また、前記線状パターンは、厚みが導体回路の配線パターンの厚みと同等、あるいはそれよりも厚いことが望ましい。その理由は、線状パターンの厚みが導体回路の配線パターンの厚みよりも薄い場合には、フレキシブル基板の屈曲時の屈曲具合(曲率半径)が小さくなってしまう。また、フレキシブル基板の頻繁な屈曲により、導体回路の配線パターンが破断することがあるからである。
また、前記線状パターンは、図5(c)に示すように、その断面形状が台形であることが望ましい。その理由は、断面形状が台形であると、ダミーパターンが折り曲げられた場合に、パターン部分が重なりあうことがないので、屈曲部において、段差が形成されることがなく、導体回路の配線パターンの断線が防止されるからである(図5(d)参照)。
さらに、図5(e)に示すような断面台形であるダミーパターンの台形部分の裾角度は、45〜90°であることが望ましい。屈曲部において延設されたパターンを並置することが容易になるからである。台形部分の裾角度45°未満の場合には、折り曲げた際、延設されたパターンが重なりにくくなる。つまり、隣り合う延設されたパターンの隙間が形成されやすくなるために、屈曲率を一定にし難くなることがある。90°を越えた場合には、隣り合う延設されたパターンの重なりやすくなるために、屈曲率を一定にし難くなることがある。また、それを回避するために、配線同士の距離を大きくさせると、延設されたパターンの隙間が形成されやすくなるために、屈曲率を一定にし難くなることがある。
なお、上記「線状パターン」の概念としては、導体回路の配線パターンと交差するような方向、言い換えれば、フレキシブル基板の屈曲部の屈曲線に沿った方向に設けられた連続した線状パターンだけでなく、四角形、円形、楕円形等の小パターンが所定の間隔をおいて、フレキシブル基板の屈曲部の屈曲線に沿った方向に列設され、全体として線状パターンと同様の機能を果たすようなドットパターンを含んでいる。
本発明において、屈曲可能なフレキシブル基板上に形成した導体回路を被覆するカバーレイは、可撓性を有する樹脂付き銅箔、可撓性を有するソルダーレジスト層、またはガラスクロスにエポキシ系樹脂を含浸、乾燥させた後、半硬化させてなるプリプレグから形成されることが望ましい。その理由は、絶縁信頼性、接続信頼性がポリイミドフィルム(例えば、接着剤付きポリイミド)を使用する場合よりも向上するからである。
前記可撓性を有する樹脂付き銅箔は、それを形成する樹脂自体の厚みが50μm前後であることが望ましい。その理由は、絶縁信頼性を確保するためである。
また、前記可撓性を有するソルダーレジスト層は、主として、熱硬化性樹脂、熱可塑性樹脂、感光性を有する樹脂、熱硬化性樹脂の一部分に(メタ)アクリル基を有する樹脂などを用いて形成することができ、ソルダーレジスト層の厚みは、20〜50μmであることが望ましい。その理由は、絶縁信頼性を確保するためである。
さらに、前記ガラスクロスにエポキシ系樹脂を含浸、乾燥させた後、半硬化させてなるプリプレグは、厚みが20〜50μmであることが望ましい。その理由は、絶縁信頼性を確保するためである。
本発明を構成するリジット基板は、柔軟性のあるフレキシブル基板と反対に、柔軟性のない基板であり、その形態、層数、形成方法等には関係なく、硬質で容易に変形しないような基板である。
このリジッド基板において、基板を形成する絶縁性樹脂基材としては、ガラス布エポキシ樹脂基材、ガラス布ビスマレイミドトリアジン樹脂基材、ガラス布ポリフェニレンエーテル樹脂基材、アラミド不織布−エポキシ樹脂基材、アラミド不織布−ポリイミド樹脂基材から選ばれる硬質基材が用いることが好ましく、ガラス布エポキシ樹脂基材がより好ましい。
前記絶縁性樹脂基材の厚さは、20〜600μm程度とする。その理由は、20μm未満の厚さでは、強度が低下して取扱が難しくなるとともに、電気的絶縁性に対する信頼性が低くなり、600μmを超えると微細なビア形成および導電性物質の充填が難しくなるとともに、基板そのものが厚くなるためである。
かかる絶縁性樹脂基材の片面または両面には銅箔が貼付され、その厚さは、5〜18μm程度とする。その理由は、後述するようなレーザ加工を用いて、絶縁性樹脂基材にビア形成用の開口を形成する際に、薄すぎると貫通してしまうからであり、逆に厚すぎるとエッチングにより、微細な線幅の導体回路パターンを形成し難いからである。
前記絶縁性樹脂基材および銅箔にて構成されるリジッド基板は、特に、エポキシ樹脂をガラスクロスに含浸させてBステージとしたプリプレグと、銅箔とを積層して加熱プレスすることにより得られる片面銅張積層板を用いることができる。このようなリジッド基板は、銅箔がエッチングされた後の取扱中に、配線パターンやビア位置がずれることがなく、位置精度に優れている。
なお、このリジッド基板の片面または両面に形成される前記導体回路は、厚さが5〜18μm程度の銅箔を、半硬化状態を保持された樹脂接着剤層を介して加熱プレスした後、適切なエッチング処理をすることによって形成されたものが好ましい。
そして、その導体回路は、基材表面に貼り付けられた銅箔上に、エッチング保護フィルムを貼付けて、所定の回路パターンのマスクで披覆した後、エッチング処理を行って、電極パッド(ビアランド)を含んで形成されたものが好適である。
こうした導体回路形成工程においては、先ず、銅箔の表面に感光性ドライフィルムレジストを貼付した後、所定の回路パターンに沿って露光、現像処理してエッチングレジストを形成し、エッチングレジスト非形成部分の金属層をエッチングして、電極パッドを含んだ導体回路パターンとする。
前記処理工程において、エッチング液としては、硫酸一過酸化水素、過硫酸塩、塩化第二銅、塩化第二鉄の水溶液から選ばれる少なくとも1種の水溶液を用いることができる。
また、前記銅箔をエッチングして導体回路を形成する前処理として、ファインパターンを形成しやすくするため、あらかじめ、銅箔の表面全面をエッチングして厚さを1〜10μm、より好ましくは2〜8μm程度まで薄くすることができる。
前記リジッド基板に形成される接続用電極パッドは、その形状、大きさ、および個数は、特に限定されないが、たとえば、直径が50〜500μm程度の円形とし、100〜700μm程度のピッチで複数配設することが望ましい。その理由は、50μm未満では、接続信頼性に不安があり、500μmを超えると、高密度実装に不利であるからである。
前記絶縁性樹脂基材に、ビアホール形成用の開口(以下、「ビア開口」という)を設ける。このビア開口は、レーザ照射によって形成することができる。特に、絶縁性樹脂基材の表面に透明な保護フィルム、たとえばPETフィルムを貼付し、そのPETフィルムの上方から炭酸ガスレーザ照射を行ない、PETフィルムを貫通して、絶縁性樹脂基材の表面から銅箔に達する開口を形成する。このような加工条件によるビア開口径は、50〜250μm程度であることが望ましい。
なお、レーザ照射によって形成されたビア開口の側面および底面に残留する樹脂残滓を除去するために、デスミア処理を行う。このデスミア処理は、酸素プラズマ放電処理、コロナ放電処理、紫外線レーザ処理またはエキシマレーザ処理等によって行う。
前記ビア開口には導電性物質が充填されて、充填ビアホールが形成されるが、その導電性物質としては、導電性ペーストや電解めっき処理によって形成される金属めっきが好ましい。
前記充填ビアホールの形成工程をシンプルにして、製造コストを低減させ、歩留まりを向上させる点では、導電性ペーストの充填が好ましく、接続信頼性の点では電解めっき処理によって形成される金属めっきが好ましく、とくに、電解銅めっきが好適である。
前記導電性物質は、絶縁性基材を貫通し導体回路に達するビア開口内に充填されるだけでなく、ビア開口の外側に所定の高さまで突出形成することもでき、その突出高さは5〜30μm程度の範囲が望ましい。
その理由は、5μm未満では、接続不良を招きやすく、30μmを越えると抵抗値が高くなると共に、加熱プレス工程において熱変形した際に、絶縁性基板の表面に沿って拡がりすぎるので、ファインパターンが形成できなくなるからである。
本発明において、リジッド基板とフレキシブル基板との電気的接続は、以下の(1)〜(4)のような種々の形態を採用することができ、これらの接続形態を任意に組合せることによって、基板材料を有効に使用することができると共に、自由な配線接続構造とすることができる。
(1) リジッド基板の片面にフレキシブル基板を接続する場合、すなわち、リジッド基板の片方の最外層の表面に接続用電極パッドを形成すると共に、フレキシブル基板の片方の表面にも接続用電極パッドを形成し、各基板の電極パッド同士を、塊状導電体などを介して接続させる。
(2) リジッド基板の両面に、異なるフレキシブル基板をそれぞれ接続する場合、すなわち、リジッド基板の両方の最外層の表面に接続用電極パッドをそれぞれ形成すると共に、各フレキシブル基板をリジッド基板の両方の最外層に形成した接続用電極パッドに対面して配置させ、それらの対面配置された接続用電極パッド同士を塊状導電体を介して接続させる。
(3) フレキシブル基板の両面に、異なるリジッド基板をそれぞれ接続する場合、すなわち、フレキシブル基板の両面に接続用電極パッドを形成すると共に、それらの接続用電極パッドに対して、片方の最外層の表面に接続用電極パッドがそれぞれ形成された異なるリジッド基板を、それらの基板の各接続用電極パッドがそれぞれ対面するように配置させ、対面配置された接続用電極パッド同士を塊状導電体を介して接続させる。
(4) フレキシブル基板の複数箇所において、リジッド基板の複数が電気的接続される形態であり、複数のリジッド基板は、それらを構成する導体層および樹脂絶縁層の層数が任意であるように予め形成され、それらの個別に形成されたリジッド基板とフレキシブル基板の接続用電極パッドを対向して配置し、それらの対向配置された接続用電極パッド同士を、塊状導電体を介して接続させる。
ここで、前記(1)〜(4)の種々の接続形態の中で、特に、(4)に記載されたような、リジッド基板の片方の最外層表面においてフレキシブル基板が接続される形態について、説明する。
たとえば、フレキシブル基板の一方の端部において、その片面あるいは両面に対して予め層間接続されたリジッド基板が接合され(一方の「リジッド部」という)、フレキシブル基板の片方の端部においても、その片面あるいは両面に対して、予め層間接続された他のリジッド基板が接合されている(他方の「リジッド部」という)形態が代表的である。
このような接続形態では、フレキシブル基板の両端部間の部分は、リジッド基板との接触がない部分(「フレキシブル部」という)であり、このフレキシブル部には、一方のリジッド部と他方のリジッド部とを電気的接続する導体回路が設けられており、このような導体回路は通常、カバーレイと呼ばれる絶縁層によって被覆されている。
各リジッド部を構成するフレキシブル基板の片面の所定領域、たとえば、細長い矩形状の基板の短辺に沿った表面領域には、導体回路の一部として複数の接続用電極パッドが予め形成されるとともに、導体回路や絶縁層が予め積層形成され、かつ層間接続されたリジッド基板の外側表面の所定領域にも、フレキシブル基板に設けた接続用電極パッドに対応した複数の接続用電極パッドが予め形成される。
各リジッド部におけるこれらの複数の接続用電極パッド対は、リジッド基板とフレキシブル基板との間に介在させた塊状導電体によって電気的に接続されると共に、接続用電極パッド以外の表面領域においては、接着剤によって接着されるように一体形成される。
前記接続用電極パッドは、リジッド基板の最外層を構成する回路基板の一つあるいは二つに対して、めっき処理またはエッチング処理によって導体回路を形成する際に、その導体回路の一部として形成されることができるが、最外層を構成する回路基板の絶縁樹脂層上に単独で形成されてもよいし、その絶縁樹脂層を貫通して下層の導体回路との電気的接続を行なうバイアホールランドとして形成することもできる。
本発明において、前記リジッド基板に形成される接続用電極パッドの形成領域は、必ずしもリジッド基板の最外層の絶縁樹脂層表面の全域である必要はなく、十分な接続強度が得られるような任意の位置であればよい。
たとえば、矩形状の基板の短辺あるいは長辺に沿った周縁の表面領域や、基板の周縁から中央に向う表面領域であってもよい。
このような接続用電極パッドの形成領域を任意の位置とすることができるので、電子機器筐体のデザインや、その筐体内に収容される他のリジッド基板や電子部品等のレイアウトに応じて、所望の方向に配線の引き出しが可能となり、極めて有利な配線接続構造を得ることができる。
さらに、前記リジッド基板とフレキシブル基板とは、リジッド基板側あるいはフレキシブル基板側の接続用電極パッドが形成されていない表面領域に貼付または塗布形成された絶縁性接着剤層によって接着される。
本発明において、リジッド基板の層間接続部の位置とフレキシブル基板の層間接続部の位置とを一致させ、これらの層間接続部同士を塊状導電体を介して重ね合わせて導通させたスタック構造部を形成することが、より好ましい実施の形態であり、そのようなスタック構造の採用によって、配線長の短縮化を実現して、大電力が必要な電子部品の実装に好適なフレックスリジッド配線板を提供することができる。
前記リジッド基板およびフレキシブル基板に設けた接続用電極パッド同士を接続する塊状導電体は、リジッド基板もしくはフレキシブル基板のいずれか一方の接続用電極パッド上に突設した形態であることが好ましい。リジッド基板とフレキシブル基板とを重ね合わせる際に、絶縁性接着剤層を貫通しやすいからである。
前記塊状導電体としては、銅、金、銀、スズ等の金属、それらの合金、あるいは種々の半田等を用いて、めっきや、印刷法、転写法、埋め込み法(インプラント)、電着等の手法によって、球状や半球状等の滑らかな凸曲面形状、角柱や円柱等の柱状、あるいは角錐や円錐等の錐状に形成されたバンプ(ポスト)やボール、あるいはピン形状に形成されたものが代表的であるが、これらに限定されるべきものではなく、リジッド基板に設けた接続用電極パッドとフレキシブル基板に設けた接続用電極パッドとを十分な接続強度で接続し、かつ電気的接続できる手段であればよい。
前記バンプ(ポスト)をめっきによって形成する場合には、銅めっきにより形成したものであってもよく、そのような塊状導電体は、フレキシブル基板に設けた接続用電極パッドに対して半田層を介して接続されることが好ましく、それによって優れた電気的接続性が得られる。
また、前記バンプ(ポスト)やボールを形成する半田としては、Sn/Pb、Sn/Sb、Sn/Ag、Sn/Ag/Cu、Sn/Cu、Sn/Zn、Sn/Ag/In/Cuから選ばれる少なくとも一種の半田から形成することができる。
すなわち、前記金属あるいは各種半田の中から選ばれる1種類で形成してもよいし、2種類以上を混合して用いてもよい。
特に、自然環境を汚染しないという社会的要請に応じて、鉛を含有しない、いわゆる鉛フリー半田を用いたバンプが好ましい。そのような半田として、たとえばSn/Sb、Sn/Ag、Sn/Ag/Cu、Sn/Cu、Sn/Zn、Sn/Ag/In/Cuからなる半田が挙げられる。リジッド基板やフレキシブル基板の材料を考慮して、融点が183℃であるSn−37Pb半田や、融点が217℃であるSn−35Ag−0.7Cu半田が、より好ましい。
さらに、Sn/Ag半田めっきによって形成したバンプは、展性に優れて冷熱サイクルで発生する応力を緩和するのに有効であるため、より好ましい。
前記半田バンプは、その高さが10〜150μm程度であることが好ましく、めっき、印刷法、転写法、埋め込み法(インプラント)、電着等によって形成することができる。
たとえば、印刷法による場合には、接続用電極パッドを有するリジッド基板またはフレキシブル基板の接続用電極パッドに相当する基板上の箇所に、円形の開口を設けた印刷マスク(メタルマスク)を載置し、そのマスクを用いて半田ペーストを印刷し、加熱処理することによって半田バンプを形成する。
また、転写法による場合には、たとえば、水平面を有する水平治具板の当該水平面上に、接続用電極パッドを有するリジッド基板またはフレキシブル基板、半田キャリアおよび荷重用の押さえ治具を順次載置して、水平治具板と押さえ治具とにより基板および半田キャリアを挟持し、両者を平行に保持し、その後、リフローにより半田キャリアの半田パターンを接続用電極パッド上に転写し、その後、半田キャリアを取り除くことで、接続用電極パッド上に半田バンプを形成する。
さらに、前記半田ボールは、たとえば、直径が100〜800μm程度の銅球と、その銅球を被覆する厚み150μm以下の半田層とから形成してもよい。
前記リジッド基板とフレキシブル基板との電気的および物理的接続は、フレキシブル基板の接続用電極パッドをリジッド基板の接続用電極パッド上の半田バンプあるいは半田ボールに対して加圧、加熱して半田を溶融・固化させることによって行なわれることが好ましい。
本発明において、リジッド基板とフレキシブル基板とを相互に接着、固定し、かつ前記塊状導電体が貫挿する絶縁性接着剤層をなす樹脂としては、例えば、ポリビニルブチラール樹脂、フェノール樹脂、ニトリルラバー、ポリイミド樹脂、フェノキシ樹脂、キシレン樹脂もしくはこれらの2種以上の混合物、ポリカーボネート樹脂、ポリスルホン樹脂、ポリエーテルイミド樹脂、液晶ポリマー、ポリアミド樹脂なども使用することが可能である。また、前記樹脂にガラスマット、無機充填剤、ガラスクロスなどを配合したもの(プリプレグ)でもよい。
例えば、プリプレグを用いる場合には、リジッド基板とフレキシブル基板との間にプリプレグ等を介在させた状態で、熱プレスすることによって絶縁性接着剤層を形成する。
前記プリプレグを用いる場合には、接続用電極パッド上に形成するバンプとしては、金属ペーストを所定の形状に成形した後、硬化して形成したバンプであることが好ましく、所定の位置に精度よく貫通型の導体路を形成するために、その先端部が絶縁性接着剤層を容易に貫挿し得るような円錐型、角錐型など好ましいが、半球状、台形などでもよい。
前記金属ペーストは、たとえば銀、金、銅、半田粉、炭素粉などの導電性粉末、これらの合金粉末もしくは複合(混合)金属粉末と、たとえばポリカーボネート樹脂、ポリスルホン樹脂、ポリエステル樹脂、フェノキシ樹脂、メラミン樹脂、フェノール樹脂、ポリイミド樹脂などのバインダー成分とを混合して調製された導電性組成物で構成することができる。
そして、前記金属バンプは、例えば、比較的厚いメタルマスクを用いた印刷法により、アスペクト比の高い導電性バンプとして形成でき、そのバンプの高さは、絶縁性接着剤層の厚さの1.3倍程度以上が好ましい。例えば、絶縁性接着剤層の厚さを50μmとすると、65〜150μm 程度に設定される。
なお、フレキシブル基板とリジット基板との電気的な接続は、上述したような、各基板に設けた接続用電極パッド同士を塊状導電体を介して接続させる形態以外にも、フレキシブル基板とリジット基板の重ね合う部分を貫通しためっきスルーホールを形成し、そのめっきスルーホールを介して電気的な接続を行なうような形態でもよい。フレキシブル基板とリジット基板との電気的接続をめっきスルーホールを介して行う形式のフレックスリジッド配線板を製造する方法の一例を、以下に説明する。
まず、ガラスクロスにエポキシ系樹脂を含浸、乾燥させてなる絶縁性基材の一方の表面に導体回路の配線パターンを形成し、その配線パターン形成面と反対側の表面には、屈曲部周辺にダミーパターンを形成してなるフレキシブル基板を用意する。
次に、配線パターンおよびダミーパターンが形成された基板の両面を被覆するカバー層を形成し、その基板の両面に対して、屈曲が必要な箇所を開口したプリプレグと、銅箔とを積層した後、加熱プレスすることによって積層体を形成する。
その積層体表面の銅箔にレーザ照射用開口を形成すると共に、所定の照射条件でレーザ照射を行って、基板を貫通する貫通孔を形成した後、貫通孔の内壁を含んだ基板表面に銅めっき層を形成し、めっきスルーホールを形成する。
次いで、銅めっき層を形成した基板の表面および裏面に、エッチング処理により配線パターンを形成すると、めっきスルーホールを介してフレキシブル基板に形成された配線パターンに電気的に接続されることになる。
さらに、ソルダーレジスト層を形成した後、ルーターによる外形加工を行なうことによって、一方の表面に配線パターンが形成され、他方の表面にダミーパターンが形成されてなるフレキシブル部を有するフレックスリジッド配線板を製造することができる。
以下、本発明のフレックスリジッド配線板について、実施例に基づいてさらに詳細に説明する。
(A)フレキシブル基板の製造工程
(1) 本発明にかかるフレックスリジッド配線板を製造するに当たって、それを構成するフレキシブル基板100Aを作製する出発材料として、厚さ20μm(厚さ30μm以下のものを用いることができる)のガラスクロス(ガラス繊維の太さ平均4.0μm)にエポキシ系樹脂を含浸、乾燥させてなる絶縁性基材11の両面に、厚さが18μmの銅箔12がラミネートされた厚さ50μmである両面銅張積層板(日立化成:製品名「E−67」)を用いた(図6(a))。
(2) 前記絶縁性基材11の両面にラミネートされた銅箔12に対して、塩化第二銅水溶液を用いてエッチング処理を施して、片面に線幅が300μmの導体回路パターン13および直径250μmの接続用電極パッド16を形成し、その導体回路の配線パターン形成面と反対側の表面には、屈曲部周辺に、格子状のダミーパターン18(開口形状が矩形、各開口面積が10000μm、開口面積の総和:パターン残部面積=10:10)を形成した(図6(b)参照)。
(3) 前記配線パターン13を覆って、ソルダーレジスト(日本ポリテック社製:製品名「NPR−90」)をスクリーン印刷により塗布し、乾燥させた後、露光量400mj/cmで露光し、さらに150℃/1時間の条件で乾燥させることによって、配線パターン13を保護する厚さ20μmの樹脂製カバー層14を形成した(図6(c)参照)。
なお、このカバー層14には、接続用電極パッド16に達する直径300μmの開口15が設けられ、この開口15を介して後述するようなリジッド基板の接続用電極パッドに設けた塊状導電体が、接続用電極パッド16に電気的に接続されるようになっている。
(B)リジッド基板の製造工程
(1) ガラスエポキシ樹脂からなる基板21の両面に、12μmの銅箔22がラミネートされた厚さ0.11mmの両面銅張積層板(松下電工製:R−1766、図7(a)参照)の片面に塩化第二銅水溶液を用いて、レーザ照射用開口24を形成し、さらに炭酸ガスレーザを用いて直径250μmの銅めっき充填用開口26を設けた(図7(b)、(c)参照)。
(2) さらに、貫通孔26の内壁にPd触媒を付与し、以下のような組成および条件のもとで無電解銅めっき処理を施した後、さらに電解銅めっき処理を施すことによって、開口26の内部を銅めっき28で充填した(図7(d)参照)。
(無電解銅めっき溶液)
硫酸銅 10g/リトッル
HCHO 8g/リットル
NaOH 5g/リットル
ロッシェル塩 45g/リットル
温度 30℃
(電解銅めっき溶液)
硫酸 180g/リットル
硫酸銅 80g/リットル
アトテックジャパン製 商品名 カパラシドGL
1ml/リットル
(めっき条件)
電流密度 2A/dm
時間 30分
温度 25℃
(3) 前記銅めっき28で充填した基板の両面を塩化第二銅水溶液を用いてエッチングして、表面および裏面にそれぞれパターン32、34を形成すると共に、パターン34の一部を接続用電極パッド36に形成した。さらに、基板をルータで加工した(図7(e)参照)。
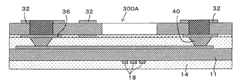
(4) 次いで、円錐形状の開口を設けたメタルマスクを用いて、銀ペースト(DU PONT社製:商品名 SOLAMET)をスキージを用いて充填し、接続用電極パッド36上に円錐形状の突起40、すなわち半田バンプを形成した。さらに、これを150℃で1時間加熱して硬化させ、リジッド基板200Aを製造した(図7(f)参照)。
(C)積層工程
(1) 前記(B)で製造したリジッド基板200Aの円錐形突起40に対して、プリプレグ42(日立化成製:GIA−671N)を10kg/cmの圧力で突き刺して、貫通させた(図8参照)。
(2) つぎに、前記(A)で製造したフレキシブル基板100Aとリジッド基板200Aとを積層し、180℃、40kg/cmで加熱プレスし(図3(b)参照)、半田バンプ40によって接続されたフレックスリジッド配線板300Aを得た(図9参照)。
フレキシブル基板の屈曲部周辺に、各開口面積が40000μm、開口面積の総和:パターン残部面積=9:10であるような矩形の開口を有する格子状のダミーパターン18を形成した以外は、実施例1と同様にして、フレックスリジッド配線板300Aを製造した。
フレキシブル基板の屈曲部周辺に、各開口面積が90000μm、開口面積の総和:パターン残部面積=11:10であるような矩形の開口を有する格子状のダミーパターン18を形成した以外は、実施例1と同様にして、フレックスリジッド配線板300Aを製造した。
フレキシブル基板の屈曲部周辺に、各開口面積が90000μm、開口面積の総和:パターン残部面積=1:9であるような矩形の開口を有する格子状のダミーパターン18を形成した以外は、実施例1と同様にして、フレックスリジッド配線板300Aを製造した。
フレキシブル基板の屈曲部周辺に、各開口面積が90000μm、開口面積の総和:パターン残部面積=2:8であるような矩形の開口を有する格子状のダミーパターン18を形成した以外は、実施例1と同様にして、フレックスリジッド配線板300Aを製造した。
フレキシブル基板の屈曲部周辺に、各開口面積が90000μm、開口面積の総和:パターン残部面積=8:2であるような矩形の開口を有する格子状のダミーパターン18を形成した以外は、実施例1と同様にして、フレックスリジッド配線板300Aを製造した。
フレキシブル基板の屈曲部周辺に、各開口面積が90000μm、開口面積の総和:パターン残部面積=9:1であるような矩形の開口を有する格子状のダミーパターン18を形成した以外は、実施例1と同様にして、フレックスリジッド配線板300Aを製造した。
フレキシブル基板の屈曲部周辺に、各開口面積が7850μm、開口面積の総和:パターン残部面積=10:10であるような円形の開口を有するダミーパターン18を形成した以外は、実施例1と同様にして、フレックスリジッド配線板300Aを製造した。
フレキシブル基板の屈曲部周辺に、各開口面積が49087μm、開口面積の総和:パターン残部面積=10:9であるような円形の開口を有するダミーパターン18を形成した以外は、実施例1と同様にして、フレックスリジッド配線板300Aを製造した。
フレキシブル基板の屈曲部周辺に、各開口面積が125600μm、開口面積の総和:パターン残部面積=11:10であるような円形の開口を有するダミーパターン18を形成した以外は、実施例1と同様にして、フレックスリジッド配線板300Aを製造した。
フレキシブル基板の屈曲部周辺に、各開口面積が125600μm、開口面積の総和:パターン残部面積=1:9であるような円形の開口を有する格子状のダミーパターン18を形成した以外は、実施例1と同様にして、フレックスリジッド配線板300Aを製造した。
フレキシブル基板の屈曲部周辺に、各開口面積が125600μm、開口面積の総和:パターン残部面積=2:8であるような円形の開口を有する格子状のダミーパターン18を形成した以外は、実施例1と同様にして、フレックスリジッド配線板300Aを製造した。
フレキシブル基板の屈曲部周辺に、各開口面積が125600μm、開口面積の総和:パターン残部面積=8:2であるような円形の開口を有する格子状のダミーパターン18を形成した以外は、実施例1と同様にして、フレックスリジッド配線板300Aを製造した。
フレキシブル基板の屈曲部周辺に、各開口面積が125600μm、開口面積の総和:パターン残部面積=9:1であるような円形の開口を有する格子状のダミーパターン18を形成した以外は、実施例1と同様にして、フレックスリジッド配線板300Aを製造した。
フレキシブル基板の屈曲部周辺に、各開口面積が10025μm、開口面積の総和:パターン残部面積=10:10であるような、角部がアール形状をなす開口を有するダミーパターン18を形成した以外は、実施例1と同様にして、フレックスリジッド配線板300Aを製造した。
フレキシブル基板の屈曲部周辺に、各開口面積が40090μm、開口面積の総和:パターン残部面積=9:10であるような、角部がアール形状をなす開口を有するダミーパターン18を形成した以外は、実施例1と同様にして、フレックスリジッド配線板300Aを製造した。
フレキシブル基板の屈曲部周辺に、各開口面積が90123μm、開口面積の総和:パターン残部面積=11:10であるような、角部がアール形状をなす開口を有するダミーパターン18を形成した以外は、実施例1と同様にして、フレックスリジッド配線板300Aを製造した。
フレキシブル基板の屈曲部周辺に、各開口面積が90123μm、開口面積の総和:パターン残部面積=1:9であるような角部がアール形状をなす開口を有する格子状のダミーパターン18を形成した以外は、実施例1と同様にして、フレックスリジッド配線板300Aを製造した。
フレキシブル基板の屈曲部周辺に、各開口面積が90123μm、開口面積の総和:パターン残部面積=2:8であるような角部がアール形状をなす開口を有する格子状のダミーパターン18を形成した以外は、実施例1と同様にして、フレックスリジッド配線板300Aを製造した。
フレキシブル基板の屈曲部周辺に、各開口面積が90123μm、開口面積の総和:パターン残部面積=8:2であるような角部がアール形状をなす開口を有する格子状のダミーパターン18を形成した以外は、実施例1と同様にして、フレックスリジッド配線板300Aを製造した。
フレキシブル基板の屈曲部周辺に、各開口面積が90123μm、開口面積の総和:パターン残部面積=9:1であるような角部がアール形状をなす開口を有する格子状のダミーパターン18を形成した以外は、実施例1と同様にして、フレックスリジッド配線板300Aを製造した。
フレキシブル基板の屈曲部周辺に、各開口面積が49087μm、開口面積の総和:パターン残部面積=10:10であるような円形開口が千鳥状に配列されてなるダミーパターン18を形成した以外は、実施例1と同様にして、フレックスリジッド配線板300Aを製造した。
フレキシブル基板の屈曲部周辺に、各開口面積が49087μm、開口面積の総和:パターン残部面積=1:9であるような円形開口が千鳥状に配列されてなるダミーパターン18を形成した以外は、実施例1と同様にして、フレックスリジッド配線板300Aを製造した。
フレキシブル基板の屈曲部周辺に、各開口面積が49087μm、開口面積の総和:パターン残部面積=9:1であるような円形開口が千鳥状に配列されてなるダミーパターン18を形成した以外は、実施例1と同様にして、フレックスリジッド配線板300Aを製造した。
フレキシブル基板の屈曲部周辺に、開口面積が49087μmである円形開口と、開口面積が10000μmである円形開口とが交互に配列され、それらの開口面積の総和:パターン残部面積=10:10であるような円形開口を有するダミーパターン18を形成した以外は、実施例1と同様にして、フレックスリジッド配線板300Aを製造した。
フレキシブル基板の屈曲部周辺に、開口面積が49087μmである円形開口と、開口面積が10000μmである円形開口とが交互に配列され、それらの開口面積の総和:パターン残部面積=1:9であるような円形開口を有するダミーパターン18を形成した以外は、実施例1と同様にして、フレックスリジッド配線板300Aを製造した。
フレキシブル基板の屈曲部周辺に、開口面積が49087μmである円形開口と、開口面積が10000μmである円形開口とが交互に配列され、それらの開口面積の総和:パターン残部面積=9:1であるような円形開口を有するダミーパターン18を形成した以外は、実施例1と同様にして、フレックスリジッド配線板300Aを製造した。
フレキシブル基板の屈曲部周辺に、開口を有しないベタパターン(15mm×15mm)を形成した以外は、実施例1と同様にして、フレックスリジッド配線板300Aを製造した。
比較例1
ダミーパターンを形成しなかったこと以外は、実施例1と同様にして、フレックスリジッド配線板を製造した。
屈曲部周辺に、断面形状が矩形で、線幅が150μmである線状のダミーパターンを、隣接するパターン間の距離を30μmとして6本形成した以外は、実施例1と同様にして、フレックスリジッド配線板300Aを製造した。
屈曲部周辺に、断面形状が矩形で、線幅が200μmである線状のダミーパターンを、隣接するパターン間の距離を150μmとして6本形成した以外は、実施例1と同様にして、フレックスリジッド配線板300Aを製造した。
屈曲部周辺に、断面形状が矩形で、線幅が200μmである線状のダミーパターンを、隣接するパターン間の距離を100μmとして6本形成した以外は、実施例1と同様にして、フレックスリジッド配線板300Aを製造した。
屈曲部周辺に、断面形状が裾角度75°の台形で、線幅が150μmである線状のダミーパターンを、隣接するパターン間の距離を300μmとして6本形成した以外は、実施例1と同様にして、フレックスリジッド配線板300Aを製造した。
屈曲部周辺に、断面形状が裾角度60°の台形で、線幅が250μmである線状のダミーパターンを、隣接するパターン間の距離を50μmとして6本形成した以外は、実施例1と同様にして、フレックスリジッド配線板300Aを製造した。
屈曲部周辺に、断面形状が裾角度45°の台形で、線幅が250μmである線状のダミーパターンを、隣接するパターン間の距離を50μmとして6本形成した以外は、実施例1と同様にして、フレックスリジッド配線板300Aを製造した。
参考例1
屈曲部周辺に、断面形状が矩形で、線幅が150μmである線状のダミーパターンを、隣接するパターン間の距離を300μmとして6本形成した以外は、実施例1と同様にして、フレックスリジッド配線板300Aを製造した。
参考例2
屈曲部周辺に、断面形状が裾角度75°の台形で、線幅が150μmである線状のダミーパターンを、隣接するパターン間の距離を300μmとして6本形成した以外は、実施例1と同様にして、フレックスリジッド配線板300Aを製造した。
フレキシブル基板を作製する出発材料として、厚さ20μmのガラスクロス(ガラス繊維の太さ平均1.5μm)にエポキシ系樹脂を含浸、乾燥させてなる絶縁性基材11の両面に、厚さが18μmの銅箔12を加熱プレスして、エポキシ系樹脂を硬化させてなる、厚さ50μmの両面銅張積層板を用い、屈曲部周辺に、断面形状が矩形で、線幅が100μmである線状のダミーパターンを、隣接するパターン間の距離を40μmとして6本形成した以外は、実施例1と同様にして、フレックスリジッド配線板300Aを製造した。
フレキシブル基板を作製する出発材料として、厚さ20μmのガラスクロス(ガラス繊維の太さ平均3.0μm)にエポキシ系樹脂を含浸、乾燥させてなる絶縁性基材11の両面に、厚さが18μmの銅箔12を加熱プレスして、エポキシ系樹脂を硬化させてなる厚さ50μmの両面銅張積層板を用い、屈曲部周辺に、断面形状が矩形で、線幅が100μmである線状のダミーパターンを、隣接するパターン間の距離を40μmとして6本形成した以外は、実施例1と同様にして、フレックスリジッド配線板300Aを製造した。
フレキシブル基板を作製する出発材料として、厚さ20μmのガラスクロス(ガラス繊維の太さ平均4.0μm)にエポキシ系樹脂を含浸、乾燥させてなる絶縁性基材11の両面に、厚さが18μmの銅箔12を加熱プレスして、エポキシ系樹脂を硬化させてなる、厚さ50μmの両面銅張積層板を用い、屈曲部周辺に、断面形状が矩形で、線幅が100μmである線状のダミーパターンを、隣接するパターン間の距離を40μmとして6本形成した以外は、実施例1と同様にして、フレックスリジッド配線板300Aを製造した。
フレキシブル基板を作製する出発材料として、厚さ30μmのガラスクロス(ガラス繊維の太さ平均5.0μm)にエポキシ系樹脂を含浸、乾燥させてなる絶縁性基材11の両面に、厚さが18μmの銅箔12を加熱プレスして、エポキシ系樹脂を硬化させてなる厚さ60μmの両面銅張積層板を用い、屈曲部周辺に、断面形状が矩形で、線幅が100μmである線状のダミーパターンを、隣接するパターン間の距離を40μmとして6本形成した以外は、実施例1と同様にして、フレックスリジッド配線板300Aを製造した。
フレキシブル基板を作製する出発材料として、厚さ60μmのガラスクロス(ガラス繊維の太さ平均5.0μm)にエポキシ系樹脂を含浸、乾燥させてなる絶縁性基材11の両面に、厚さが18μmの銅箔12を加熱プレスして、エポキシ系樹脂を硬化させてなる厚さ100μmの両面銅張積層板を用い、屈曲部周辺に、断面形状が矩形で、線幅が100μmである線状のダミーパターンを、隣接するパターン間の距離を40μmとして6本形成した以外は、実施例1と同様にして、フレックスリジッド配線板300Aを製造した。
フレキシブル基板を作製する出発材料として、厚さ20μmのガラスクロス(ガラス繊維の太さ平均1.5μm)にエポキシ系樹脂を含浸、乾燥させてなる絶縁性基材11の両面に、厚さが18μmの銅箔12を加熱プレスして、エポキシ系樹脂を硬化させてなる厚さ50μmの両面銅張積層板を用い、屈曲部周辺に、断面形状が裾角度70°の台形で、線幅が100μmである線状のダミーパターンを、隣接するパターン間の距離を40μmとして6本形成した以外は、実施例1と同様にして、フレックスリジッド配線板300Aを製造した。
フレキシブル基板を作製する出発材料として、厚さ20μmのガラスクロス(ガラス繊維の太さ平均3.0μm)にエポキシ系樹脂を含浸、乾燥させてなる絶縁性基材11の両面に、厚さが18μmの銅箔12を加熱プレスして、エポキシ系樹脂を硬化させてなる厚さ50μmの両面銅張積層板を用い、屈曲部周辺に、断面形状が裾角度70°の台形で、線幅が100μmである線状のダミーパターンを、隣接するパターン間の距離を40μmとして6本形成した以外は、実施例1と同様にして、フレックスリジッド配線板300Aを製造した。
フレキシブル基板を作製する出発材料として、厚さ20μmのガラスクロス(ガラス繊維の太さ平均4.0μm)にエポキシ系樹脂を含浸、乾燥させてなる絶縁性基材11の両面に、厚さが18μmの銅箔12を加熱プレスして、エポキシ系樹脂を硬化させてなる厚さ50μmの両面銅張積層板を用い、屈曲部周辺に、断面形状が裾角度70°の台形で、線幅が100μmである線状のダミーパターンを、隣接するパターン間の距離を40μmとして6本形成した以外は、実施例1と同様にして、フレックスリジッド配線板300Aを製造した。
フレキシブル基板を作製する出発材料として、厚さ30μmのガラスクロス(ガラス繊維の太さ平均5.0μm)にエポキシ系樹脂を含浸、乾燥させてなる絶縁性基材11の両面に、厚さが18μmの銅箔12を加熱プレスして、エポキシ系樹脂を硬化させてなる厚さ60μmの両面銅張積層板を用い、屈曲部周辺に、断面形状が裾角度70°の台形で、線幅が100μmである線状のダミーパターンを、隣接するパターン間の距離を40μmとして6本形成した以外は、実施例1と同様にして、フレックスリジッド配線板300Aを製造した。
フレキシブル基板を作製する出発材料として、厚さ60μmのガラスクロス(ガラス繊維の太さ平均5.0μm)にエポキシ系樹脂を含浸、乾燥させてなる絶縁性基材11の両面に、厚さが18μmの銅箔12を加熱プレスして、エポキシ系樹脂を硬化させてなる厚さ100μmの両面銅張積層板を用い、屈曲部周辺に、断面形状が裾角度70°の台形で、線幅が100μmである線状のダミーパターンを、隣接するパターン間の距離を40μmとして6本形成した以外は、実施例1と同様にして、フレックスリジッド配線板300Aを製造した。
参考例3
フレキシブル基板を作製する出発材料として、厚さ15μmのガラスクロス(ガラス繊維の太さ平均4.0μm)にエポキシ系樹脂を含浸、乾燥させてなる絶縁性基材11の両面に、厚さが18μmの銅箔12を加熱プレスして、エポキシ系樹脂を硬化させてなる厚さ50μmの両面銅張積層板を用い、屈曲部周辺に、断面形状が矩形で、線幅が100μmである線状のダミーパターンを、隣接するパターン間の距離を40μmとして6本形成した以外は、実施例1と同様にして、フレックスリジッド配線板300Aを製造した。
参考例4
フレキシブル基板を作製する出発材料として、厚さ100μmのガラスクロス(ガラス繊維の太さ平均7.0μm)にエポキシ系樹脂を含浸、乾燥させてなる絶縁性基材11の両面に、厚さが18μmの銅箔12を加熱プレスして、エポキシ系樹脂を硬化させてなる厚さ150μmの両面銅張積層板を用い、屈曲部周辺に、断面形状が矩形で、線幅が100μmである線状のダミーパターンを、隣接するパターン間の距離を40μmとして6本形成した以外は、実施例1と同様にして、フレックスリジッド配線板300Aを製造した。
参考例5
フレキシブル基板を作製する出発材料として、厚さ15μmのガラスクロス(ガラス繊維の太さ平均4.0μm)にエポキシ系樹脂を含浸、乾燥させてなる絶縁性基材11の両面に、厚さが18μmの銅箔12を加熱プレスして、エポキシ系樹脂を硬化させてなる厚さ50μmの両面銅張積層板を用い、屈曲部周辺に、断面形状が裾角度70°の台形で、線幅が100μmである線状のダミーパターンを、隣接するパターン間の距離を40μmとして6本形成した以外は、実施例1と同様にして、フレックスリジッド配線板300Aを製造した。
参考例6
フレキシブル基板を作製する出発材料として、厚さ100μmのガラスクロス(ガラス繊維の太さ平均7.0μm)にエポキシ系樹脂を含浸、乾燥させてなる絶縁性基材11の両面に、厚さが18μmの銅箔12を加熱プレスして、エポキシ系樹脂を硬化させてなる厚さ150μmの両面銅張積層板を用い、屈曲部周辺に、断面形状が裾角度70°の台形で、線幅が100μmである線状のダミーパターンを、隣接するパターン間の距離を40μmとして6本形成した以外は、実施例1と同様にして、フレックスリジッド配線板300Aを製造した。
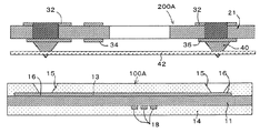
(1) 本発明にかかるフレックスリジッド配線板を製造するに当たって、それを構成するフレキシブル基板100Bを作製する出発材料として、厚さ20μm(厚さが30μm以下)のガラスクロス(ガラス繊維の太さ平均4.0μm)にエポキシ系樹脂を含浸、乾燥させてなる絶縁性基材52の両面に、厚さが18μmの銅箔がラミネートされた厚さ50μmである両面銅張積層板(日立化成:製品名「E−67」)を用いた。
(2) まず、厚さ0.05mmの両面銅張積層板の両面にドライフィルムレジストをラミネートし、露光、現像によりエッチングレジストを形成した後、塩化第二銅水溶液を用いたエッチング処理によって、一方の表面には、線幅が300μmである導体回路の配線パターン54を形成し、その配線パターン形成面と反対側の表面には、屈曲部周辺に、格子状のダミーパターン56(開口形状が矩形、各開口面積が10000μm、開口面積の総和:パターン残部面積=10:10)を形成した(図10(a)参照)。
(3) 上記(2)により配線パターン54およびダミーパターン56を形成した基板の両面に、スクリーン印刷によってソルダーレジスト(日本ポリテック製:NPR-90)を塗布し、400mj/cm2の条件下で露光し、150℃、1時間の条件下で乾燥させることによって、カバー層58を形成した(図10(b)参照)。
(4) 上記カバー層58を形成した基板の両面に対して、屈曲が必要な箇所を開口(符号62で示す)したプリプレグ60(松下電工製:R-1661)と、厚さ12μmの銅箔64とを積層し(図10(c)参照)、その積層体を圧力35kg/cm2 、温度180℃で加熱プレスした(図10(d)参照)。
(5) 上記(4)で得た積層体の表面に、所定の照射条件にて炭酸ガスレーザ照射を行って、銅箔64に直径100μmの開口66を形成すると共に、その開口66から更に照射条件を変えた炭酸ガスレーザ照射を行って、基板を貫通する直径300μmの貫通孔68を形成した(図10(e)参照)。
レーザ照射の後、過マンガン酸溶液を用いて、貫通孔68内に残存する樹脂残さ(スミア)を除去するためにデスミア処理を行なった。
(6) 上記(5)で形成した貫通孔68の内壁にPd触媒を付与し、以下のような組成および条件のもとで無電解銅めっき処理を施した後、さらに電解銅めっき処理を施すことによって、貫通孔68の内壁を含んだ基板全体に銅めっき層70を形成した(図10(f)参照)。
これによって、めっきスルーホール76が形成された。
(無電解銅めっき溶液)
硫酸銅 10g/リトッル
HCHO 8g/リットル
NaOH 5g/リットル
ロッシェル塩 45g/リットル
温度 30℃
(電解銅めっき溶液)
硫酸 180g/リットル
硫酸銅 80g/リットル
アトテックジャパン製 商品名 カパラシドGL
1ml/リットル
(めっき条件)
電流密度 2A/dm
時間 30分
温度 25℃
(7) 次いで、上記(6)にて銅めっき層70を形成した基板の表面および裏面にドライフィルムレジストをラミネートし、露光、現像によりエッチングレジストを形成した後、塩化第二銅水溶液を用いたエッチング処理を施して、基板の表面および裏面にそれぞれ配線パターン72、74を形成した。
前記配線パターン72および74は、めっきスルーホール76を介してフレキシブル基板52上に形成された配線パターン54に電気的に接続される(図10(g)参照)。
(8)さらに、ソルダーレジスト層を形成した後、ルーターにて外形加工を行って、表面に配線パターン54が有し、裏面にダミーパターン56を有するフレックスリジッド配線板300Bを製造した。
フレキシブル基板の屈曲部周辺に、各開口面積が40000μm、開口面積の総和:パターン残部面積=9:10であるような矩形の開口を有する格子状のダミーパターン56を形成した以外は、実施例45と同様にして、フレックスリジッド配線板300Bを製造した。
フレキシブル基板の屈曲部周辺に、各開口面積が90000μm、開口面積の総和:パターン残部面積=11:10であるような矩形の開口を有する格子状のダミーパターン56を形成した以外は、実施例45と同様にして、フレックスリジッド配線板300Bを製造した。
フレキシブル基板の屈曲部周辺に、各開口面積が90000μm、開口面積の総和:パターン残部面積=1:9であるような矩形の開口を有する格子状のダミーパターン18を形成した以外は、実施例45と同様にして、フレックスリジッド配線板300Bを製造した。
フレキシブル基板の屈曲部周辺に、各開口面積が90000μm、開口面積の総和:パターン残部面積=2:8であるような矩形の開口を有する格子状のダミーパターン18を形成した以外は、実施例45と同様にして、フレックスリジッド配線板300Bを製造した。
フレキシブル基板の屈曲部周辺に、各開口面積が90000μm、開口面積の総和:パターン残部面積=8:2であるような矩形の開口を有する格子状のダミーパターン18を形成した以外は、実施例45と同様にして、フレックスリジッド配線板300Bを製造した。
フレキシブル基板の屈曲部周辺に、各開口面積が90000μm、開口面積の総和:パターン残部面積=9:1であるような矩形の開口を有する格子状のダミーパターン18を形成した以外は、実施例45と同様にして、フレックスリジッド配線板300Bを製造した。
フレキシブル基板の屈曲部周辺に、各開口面積が7850μm、開口面積の総和:パターン残部面積=10:10であるような円形の開口を有するダミーパターン56を形成した以外は、実施例45と同様にして、フレックスリジッド配線板300Bを製造した。
フレキシブル基板の屈曲部周辺に、各開口面積が49087μm、開口面積の総和:パターン残部面積=9:10であるような円形の開口を有するダミーパターン56を形成した以外は、実施例45と同様にして、フレックスリジッド配線板300Bを製造した。
フレキシブル基板の屈曲部周辺に、各開口面積が125600μm、開口面積の総和:パターン残部面積=11:10であるような円形の開口を有するダミーパターン56を形成した以外は、実施例45と同様にして、フレックスリジッド配線板300Bを製造した。
フレキシブル基板の屈曲部周辺に、各開口面積が125600μm、開口面積の総和:パターン残部面積=1:9であるような円形の開口を有する格子状のダミーパターン18を形成した以外は、実施例45と同様にして、フレックスリジッド配線板300Bを製造した。
フレキシブル基板の屈曲部周辺に、各開口面積が125600μm、開口面積の総和:パターン残部面積=2:8であるような円形の開口を有する格子状のダミーパターン18を形成した以外は、実施例45と同様にして、フレックスリジッド配線板300Bを製造した。
フレキシブル基板の屈曲部周辺に、各開口面積が125600μm、開口面積の総和:パターン残部面積=8:2であるような円形の開口を有する格子状のダミーパターン18を形成した以外は、実施例45と同様にして、フレックスリジッド配線板300Bを製造した。
フレキシブル基板の屈曲部周辺に、各開口面積が125600μm、開口面積の総和:パターン残部面積=9:1であるような円形の開口を有する格子状のダミーパターン18を形成した以外は、実施例45と同様にして、フレックスリジッド配線板300Bを製造した。
フレキシブル基板の屈曲部周辺に、各開口面積が10025μm、開口面積の総和:パターン残部面積=10:10であるような、角部がアール形状をなす開口を有するダミーパターン56を形成した以外は、実施例45と同様にして、フレックスリジッド配線板300Bを製造した。
フレキシブル基板の屈曲部周辺に、各開口面積が40090μm、開口面積の総和:パターン残部面積=9:10であるような、角部がアール形状をなす開口を有するダミーパターン56を形成した以外は、実施例45と同様にして、フレックスリジッド配線板300Bを製造した。
フレキシブル基板の屈曲部周辺に、各開口面積が90123μm、開口面積の総和:パターン残部面積=11:10であるような、角部がアール形状をなす開口を有するダミーパターン56を形成した以外は、実施例45と同様にして、フレックスリジッド配線板300Bを製造した。
フレキシブル基板の屈曲部周辺に、各開口面積が90123μm、開口面積の総和:パターン残部面積=1:9であるような角部がアール形状をなす開口を有する格子状のダミーパターン18を形成した以外は、実施例45と同様にして、フレックスリジッド配線板300Bを製造した。
フレキシブル基板の屈曲部周辺に、各開口面積が90123μm、開口面積の総和:パターン残部面積=2:8であるような角部がアール形状をなす開口を有する格子状のダミーパターン18を形成した以外は、実施例45と同様にして、フレックスリジッド配線板300Bを製造した。
フレキシブル基板の屈曲部周辺に、各開口面積が90123μm、開口面積の総和:パターン残部面積=8:2であるような角部がアール形状をなす開口を有する格子状のダミーパターン18を形成した以外は、実施例45と同様にして、フレックスリジッド配線板300Bを製造した。
フレキシブル基板の屈曲部周辺に、各開口面積が90123μm、開口面積の総和:パターン残部面積=9:1であるような角部がアール形状をなす開口を有する格子状のダミーパターン18を形成した以外は、実施例45と同様にして、フレックスリジッド配線板300Bを製造した。
フレキシブル基板の屈曲部周辺に、各開口面積が49087μm、開口面積の総和:パターン残部面積=10:10であるような円形開口が千鳥状に配列されてなるダミーパターン56を形成した以外は、実施例45と同様にして、フレックスリジッド配線板300Bを製造した。
フレキシブル基板の屈曲部周辺に、各開口面積が49087μm、開口面積の総和:パターン残部面積=1:9であるような円形開口が千鳥状に配列されてなるダミーパターン18を形成した以外は、実施例45と同様にして、フレックスリジッド配線板300Bを製造した。
フレキシブル基板の屈曲部周辺に、各開口面積が49087μm、開口面積の総和:パターン残部面積=9:1であるような円形開口が千鳥状に配列されてなるダミーパターン18を形成した以外は、実施例45と同様にして、フレックスリジッド配線板300Bを製造した。
フレキシブル基板の屈曲部周辺に、開口面積が49087μmである円形開口と、開口面積が10000μmである円形開口とが交互に配列され、それらの開口面積の総和:パターン残部面積=10:10であるような円形開口を有するダミーパターン56を形成した以外は、実施例45と同様にして、フレックスリジッド配線板300Bを製造した。
フレキシブル基板の屈曲部周辺に、開口面積が49087μmである円形開口と、開口面積が10000μmである円形開口とが交互に配列され、それらの開口面積の総和:パターン残部面積=1:9であるような円形開口を有するダミーパターン18を形成した以外は、実施例45と同様にして、フレックスリジッド配線板300Bを製造した。
フレキシブル基板の屈曲部周辺に、開口面積が49087μmである円形開口と、開口面積が10000μmである円形開口とが交互に配列され、それらの開口面積の総和:パターン残部面積=9:1であるような円形開口を有するダミーパターン18を形成した以外は、実施例45と同様にして、フレックスリジッド配線板300Bを製造した。
フレキシブル基板の屈曲部周辺に、開口を有しないベタパターン(15mm×15mm)を形成した以外は、実施例45と同様にして、フレックスリジッド配線板300Bを製造した。
比較例2
ダミーパターンを形成しなかったこと以外は、実施例45と同様にして、フレックスリジッド配線板を製造した。
屈曲部周辺に、断面形状が矩形で、線幅が150μmである線状のダミーパターンを、隣接するパターン間の距離を30μmとして6本形成した以外は、実施例45と同様にして、フレックスリジッド配線板300Bを製造した。
屈曲部周辺に、断面形状が矩形で、線幅が200μmである線状のダミーパターンを、隣接するパターン間の距離を150μmとして6本形成した以外は、実施例45と同様にして、フレックスリジッド配線板300Bを製造した。
屈曲部周辺に、断面形状が矩形で、線幅が200μmである線状のダミーパターンを、隣接するパターン間の距離を100μmとして6本形成した以外は、実施例45と同様にして、フレックスリジッド配線板300Bを製造した。
屈曲部周辺に、断面形状が裾角度75°の台形で、線幅が150μmである線状のダミーパターンを、隣接するパターン間の距離を300μmとして6本形成した以外は、実施例45と同様にして、フレックスリジッド配線板300Bを製造した。
屈曲部周辺に、断面形状が裾角度60°の台形で、線幅が250μmである線状のダミーパターンを、隣接するパターン間の距離を50μmとして6本形成した以外は、実施例45と同様にして、フレックスリジッド配線板300Bを製造した。
屈曲部周辺に、断面形状が裾角度45°の台形で、線幅が250μmである線状のダミーパターンを、隣接するパターン間の距離を50μmとして6本形成した以外は、実施例45と同様にして、フレックスリジッド配線板300Bを製造した。
参考例7
屈曲部周辺に、断面形状が矩形で、線幅が150μmである線状のダミーパターンを、隣接するパターン間の距離を300μmとして6本形成した以外は、実施例45と同様にして、フレックスリジッド配線板300Bを製造した。
参考例8
屈曲部周辺に、断面形状が裾角度75°の台形で、線幅が150μmである線状のダミーパターンを、隣接するパターン間の距離を300μmとして6本形成した以外は、実施例45と同様にして、フレックスリジッド配線板300Bを製造した。
フレキシブル基板を作製する出発材料として、厚さ20μmのガラスクロス(ガラス繊維の太さ平均1.5μm)にエポキシ系樹脂を含浸、乾燥させてなる絶縁性基材11の両面に、厚さが18μmの銅箔12を加熱プレスして、エポキシ系樹脂を硬化させてなる、厚さ50μmの両面銅張積層板を用い、屈曲部周辺に、断面形状が矩形で、線幅が100μmである線状のダミーパターンを、隣接するパターン間の距離を40μmとして6本形成した以外は、実施例45と同様にして、フレックスリジッド配線板300Bを製造した。
フレキシブル基板を作製する出発材料として、厚さ20μmのガラスクロス(ガラス繊維の太さ平均3.0μm)にエポキシ系樹脂を含浸、乾燥させてなる絶縁性基材11の両面に、厚さが18μmの銅箔12を加熱プレスして、エポキシ系樹脂を硬化させてなる厚さ50μmの両面銅張積層板を用い、屈曲部周辺に、断面形状が矩形で、線幅が100μmである線状のダミーパターンを、隣接するパターン間の距離を40μmとして6本形成した以外は、実施例45と同様にして、フレックスリジッド配線板300Bを製造した。
フレキシブル基板を作製する出発材料として、厚さ20μmのガラスクロス(ガラス繊維の太さ平均4.0μm)にエポキシ系樹脂を含浸、乾燥させてなる絶縁性基材52の両面に、厚さが18μmの銅箔を加熱プレスして、エポキシ系樹脂を硬化させてなる厚さ50μmの両面銅張積層板を用い、屈曲部周辺に、断面形状が矩形で、線幅が100μmである線状のダミーパターンを、隣接するパターン間の距離を40μmとして6本形成した以外は、実施例45と同様にして、フレックスリジッド配線板300Bを製造した。
フレキシブル基板を作製する出発材料として、厚さ30μmのガラスクロス(ガラス繊維の太さ平均5.0μm)にエポキシ系樹脂を含浸、乾燥させてなる絶縁性基材52の両面に、厚さが18μmの銅箔を加熱プレスして、エポキシ系樹脂を硬化させてなる厚さ60μmの両面銅張積層板を用い、屈曲部周辺に、断面形状が矩形で、線幅が100μmである線状のダミーパターンを、隣接するパターン間の距離を40μmとして6本形成した以外は、実施例45と同様にして、フレックスリジッド配線板300Bを製造した。
フレキシブル基板を作製する出発材料として、厚さ60μmのガラスクロス(ガラス繊維の太さ平均5.0μm)にエポキシ系樹脂を含浸、乾燥させてなる絶縁性基材52の両面に、厚さが18μmの銅箔を加熱プレスして、エポキシ系樹脂を硬化させてなる厚さ100μmの両面銅張積層板を用い、屈曲部周辺に、断面形状が矩形で、線幅が100μmである線状のダミーパターンを、隣接するパターン間の距離を40μmとして6本形成した以外は、実施例45と同様にして、フレックスリジッド配線板300Bを製造した。
フレキシブル基板を作製する出発材料として、厚さ20μmのガラスクロス(ガラス繊維の太さ平均1.5μm)にエポキシ系樹脂を含浸、乾燥させてなる絶縁性基材11の両面に、厚さが18μmの銅箔12を加熱プレスして、エポキシ系樹脂を硬化させてなる厚さ50μmの両面銅張積層板を用い、屈曲部周辺に、断面形状が裾角度70°の台形で、線幅が100μmである線状のダミーパターンを、隣接するパターン間の距離を40μmとして6本形成した以外は、実施例45と同様にして、フレックスリジッド配線板300Bを製造した。
フレキシブル基板を作製する出発材料として、厚さ20μmのガラスクロス(ガラス繊維の太さ平均3.0μm)にエポキシ系樹脂を含浸、乾燥させてなる絶縁性基材11の両面に、厚さが18μmの銅箔12を加熱プレスして、エポキシ系樹脂を硬化させてなる厚さ50μmの両面銅張積層板を用い、屈曲部周辺に、断面形状が裾角度70°の台形で、線幅が100μmである線状のダミーパターンを、隣接するパターン間の距離を40μmとして6本形成した以外は、実施例45と同様にして、フレックスリジッド配線板300Bを製造した。
フレキシブル基板を作製する出発材料として、厚さ20μmのガラスクロス(ガラス繊維の太さ平均4.0μm)にエポキシ系樹脂を含浸、乾燥させてなる絶縁性基材52の両面に、厚さが18μmの銅箔を加熱プレスして、エポキシ系樹脂を硬化させてなる厚さ50μmの両面銅張積層板を用い、屈曲部周辺に、断面形状が裾角度70°の台形で、線幅が100μmである線状のダミーパターンを、隣接するパターン間の距離を40μmとして6本形成した以外は、実施例45と同様にして、フレックスリジッド配線板300Bを製造した。
フレキシブル基板を作製する出発材料として、厚さ30μmのガラスクロス(ガラス繊維の太さ平均5.0μm)にエポキシ系樹脂を含浸、乾燥させてなる絶縁性基材52の両面に、厚さが18μmの銅箔を加熱プレスして、エポキシ系樹脂を硬化させてなる厚さ60μmの両面銅張積層板を用い、屈曲部周辺に、断面形状が裾角度70°の台形で、線幅が100μmである線状のダミーパターンを、隣接するパターン間の距離を40μmとして6本形成した以外は、実施例45と同様にして、フレックスリジッド配線板300Bを製造した。
フレキシブル基板を作製する出発材料として、厚さ60μmのガラスクロス(ガラス繊維の太さ平均5.0μm)にエポキシ系樹脂を含浸、乾燥させてなる絶縁性基材52の両面に、厚さが18μmの銅箔を加熱プレスして、エポキシ系樹脂を硬化させてなる厚さ100μmの両面銅張積層板を用い、屈曲部周辺に、断面形状が裾角度70°の台形で、線幅が100μmである線状のダミーパターンを、隣接するパターン間の距離を40μmとして6本形成した以外は、実施例45と同様にして、フレックスリジッド配線板300Bを製造した。
参考例9
フレキシブル基板を作製する出発材料として、厚さ15μmのガラスクロス(ガラス繊維の太さ平均4.0μm)にエポキシ系樹脂を含浸、乾燥させてなる絶縁性基材52の両面に、厚さが18μmの銅箔を加熱プレスして、エポキシ系樹脂を硬化させてなる厚さ50μmの両面銅張積層板を用い、屈曲部周辺に、断面形状が矩形で、線幅が100μmである線状のダミーパターンを、隣接するパターン間の距離を40μmとして6本形成した以外は、実施例45と同様にして、フレックスリジッド配線板300Bを製造した。
参考例10
フレキシブル基板を作製する出発材料として、厚さ100μmのガラスクロス(ガラス繊維の太さ平均7.0μm)にエポキシ系樹脂を含浸、乾燥させてなる絶縁性基材52の両面に、厚さが18μmの銅箔を加熱プレスして、エポキシ系樹脂を硬化させてなる厚さ150μmの両面銅張積層板を用い、屈曲部周辺に、断面形状が矩形で、線幅が100μmである線状のダミーパターンを、隣接するパターン間の距離を40μmとして6本形成した以外は、実施例45と同様にして、フレックスリジッド配線板300Bを製造した。
参考例11
フレキシブル基板を作製する出発材料として、厚さ15μmのガラスクロス(ガラス繊維の太さ平均4.0μm)にエポキシ系樹脂を含浸、乾燥させてなる絶縁性基材52の両面に、厚さが18μmの銅箔を加熱プレスして、エポキシ系樹脂を硬化させてなる厚さ50μmの両面銅張積層板を用い、屈曲部周辺に、断面形状が裾角度70°の台形で、線幅が100μmである線状のダミーパターンを、隣接するパターン間の距離を40μmとして6本形成した以外は、実施例45と同様にして、フレックスリジッド配線板300Bを製造した。
参考例12
フレキシブル基板を作製する出発材料として、厚さ100μmのガラスクロス(ガラス繊維の太さ平均7.0μm)にエポキシ系樹脂を含浸、乾燥させてなる絶縁性基材52の両面に、厚さが18μmの銅箔を加熱プレスして、エポキシ系樹脂を硬化させてなる厚さ150μmの両面銅張積層板を用い、屈曲部周辺に、断面形状が裾角度70°の台形で、線幅が100μmである線状のダミーパターンを、隣接するパターン間の距離を40μmとして6本形成した以外は、実施例45と同様にして、フレックスリジッド配線板300Bを製造した。
以上説明したように、フレキシブル基板とリジッド基板との電気的接続が塊状導電体を介して行われる形態の実施例1〜44、参考例1〜6、比較例1およびフレキシブル基板とリジッド基板との電気的接続がめっきスルーホールを介して行われる形態の実施例45〜88、参考例7〜12、比較例2について、それぞれ以下の(1)および(2)のような評価試験を行った。
(1)導通試験
フレキシブル基板の折り曲げを3回繰り返した後に、フレキシブル基板の導体回路の配線パターンの電気的導通の有無を調べた。それらの導通試験の結果を、表1〜3および表4〜6に示す。
なお、電気的導通が有れば○とし、無ければ×とした。
(2)信頼性(耐折性)評価試験
JIS C5016に準拠するMIT testを実施した。この試験は、フレキシブル基板の折り曲げを繰り返し行い、フレキシブル基板の導体回路の配線パターンが断線するまでの回数を測定したもので、それらの試験結果を、表1〜3および表4〜6に示す。
なお、断線までの折り曲げ回数が50以上である場合には、◎とし、30以上である場合には、○とし、29以下である場合には、△とし、15以下の場合には、×とした。
Figure 2005294639
Figure 2005294639
Figure 2005294639
Figure 2005294639
Figure 2005294639
Figure 2005294639
以上の試験結果から、実施例1〜28(実施例45〜72)については、開口総面積/パターン面積が1/9〜9/1であるような格子状のダミーパターンが、電気的接続性および屈曲性(耐折性)に優れており、特に、開口パターンが円形で開口総面積/パターン面積が11/10であるようなダミーパターンや、大小の円形からなる組合せパターンからなり、開口総面積/パターン面積が10/10であるようなダミーパターンが優れていることがわかる。
また、実施例29〜34(実施例73〜78)および参考例1,2(参考例7、8)については、線幅が150〜250μm、線間距離が30μm以上である線状のダミーパターンが、電気的接続性および屈曲性(耐折性)に優れており、特に、線幅が200μm以上、線間距離が100μm以下であるようなダミーパターンがより優れており、さらに、線幅が200μm、線間距離が50μmであるようなダミーパターンが最も優れていることがわかった。
また、線状のダミーパターンの断面形状が台形である場合には、その裾角度が45°以上であるダミーパターンが、電気的接続性および屈曲性(耐折性)に優れ、特に、裾角度75°であるようなパターンが最も優れていることがわかった。
さらに、実施例35〜44(実施例79〜88)および参考例3〜6(参考例9〜12)は、フレキシブル基板の絶縁性基材の厚さが、100μm以下であり、ガラスクロスの厚さが30μm以下であるようなフレキシブル基板にダミーパターンを設けた場合に、電気的接続性および屈曲性(耐折性)に優れており、特に、絶縁性基材の厚さが50μmであり、ガラスクロスの厚さが20μmであるようなフレキシブル基板に設けたダミーパターンが最も優れていることがわかった。
また、上記各実施例1〜88および参考例1〜12にかかるフレックスリジッド配線板は、フレキシブル基板の屈曲部における屈曲具合が、曲率半径で表すとき、0.1〜0.25mmの範囲内であり、ダミーパターンを形成しない比較例1(曲率半径:0.05mm)にかかるフレックスリジッド配線板に比して、大幅にその屈曲具合を大きくすることができることがわかる。
以上のように、本発明にかかるフレックスリジッド配線板は、折りたたみ式の携帯電話等の携帯用電子機器に好適に用いられる。
本発明にかかるフレックスリジッド配線板を説明するための概略図である。 (a)は、ダミーパターンの配置される個所を示す概略図、(b)は、フレキシブル基板が屈曲された状態を示す概略図である。 (a)は、同一サイズの矩形開口を複数有する格子状のダミーパターンの概略図、(b)は、同一サイズの円形開口を複数有する格子状のダミーパターンの概略図、(c)は、同一サイズの矩形開口の角部を面取りした形状の開口を複数有する格子状のダミーパターンの概略図、(d)は、同一サイズの円形開口が千鳥配列された形状の開口を複数有する格子状のダミーパターンの概略図、(e)は、大小の円形開口を組合せた形状の開口を複数有する格子状のダミーパターンの概略図である。 線状のダミーパターンの概略図である。 (a)は、断面矩形であるような線状のダミーパターンと導体回路パターンとの配置関係を示す概略図、(b)は、フレキシブル基板が屈曲された状態を示す概略図、 (c)は、断面台形であるような線状のダミーパターンと導体回路パターンとの配置関係を示す概略図、(d)は、フレキシブル基板が屈曲された状態を示す概略図、(e)は、断面台形であるような線状のダミーパターンの裾角度を説明するための概略図である。 (a)〜(c)は、本発明の実施例1にかかるフレックスリジッド配線板のフレキシブル基板を製造する工程を示す図である。 (a)〜(f)は、同じく、実施例1にかかるフレックスリジッド配のリジッド基板を製造する工程を示す図である。 (a)〜(b)は、同じく、実施例1にかかるフレックスリジッド配線板を構成するフレキシブル基板とリジッド基板とを積層する工程を示す図である。 本発明の実施例1にかかるフレックスリジッド配線基板を示す図である。 (a)〜(g)は、本発明の実施例2にかかるフレックスリジッド配線板を製造する工程を示す図である。 従来のフレックスリジッド配線板の断面構造を示す概略図である。
符号の説明
11 絶縁性基材(ガラスクロス+樹脂)
12 銅箔
13 導体回路の配線パターン
14 カバー層
15 開口
16 接続用電極パッド
18 ダミーパターン
21 絶縁性基材
22 銅箔
24、26 開口
28 銅めっき層
32、34 導体回路の配線パターン
36 接続用電極パッド
40 コーン形状突起(半田バンプ)
52 絶縁性基材
54 導体回路の配線パターン
56 ダミーパターン
58 カバー層
60 プリプレグ
64 銅箔
66 貫通孔
70 銅めっき層
72、74 導体回路の配線パターン
76 めっきスルーホール
100A フレキシブル基板
200A リジッド基板
300A フレックスリジッド配線板
300B フレックスリジッド配線板

Claims (14)

  1. 絶縁性基板上に導体回路を設けてなる硬質のリジッド基板と、絶縁性基材上に導体回路を設け、その導体回路を被覆するようにカバーレイを設けてなる屈曲可能なフレキシブル基板とが接続されてなるフレックスリジッド配線板において、
    前記フレキシブル基板の絶縁性基材は、ガラスクロスに樹脂を含浸、乾燥させてなる屈曲可能な基材であり、
    前記フレキシブル基板の一方の表面には導体回路を形成し、他方の表面には、屈曲部付近にダミーパターンを形成したことを特徴とするフレックスリジッド配線板。
  2. 前記ダミーパターンは、複数の開口が少なくとも一列に配列されてなる格子状パターンであることを特徴とする請求項1に記載のフレックスリジッド配線板。
  3. 前記格子状パターンを形成する複数の開口の面積の総和と、残りのパターン部分の面積との比率は、1:9〜9:1の範囲であることを特徴とする請求項2に記載のフレックスリジッド配線板。
  4. 前記ダミーパターンは、前記導体回路の配線パターンに対して交差するような方向に延設されていることを特徴とする請求項1に記載のフレックスリジッド配線板。
  5. 前記交差方向に延設されたダミーパターンは、屈曲部付近に配設された少なくとも3本以上の線状パターンからなり、その線状パターンの線幅が150μm以上であることを特徴とする請求項4に記載のフレックスリジッド配線板。
  6. 前記ダミーパターンを形成する線状パターンは、隣接する線状パターン間の距離が30μm以上、厚みが前記導体回路の厚みと同等、あるいはそれよりも厚いことを特徴とする請求項4または5に記載のフレックスリジッド配線板。
  7. 前記ダミーパターンは、断面形状が台形であるようなパターンであることを特徴とする請求項4に記載のフレックスリジッド配線板。
  8. 前記ダミーパターンは、屈曲部付近に配設された少なくとも3本以上の線状パターンからなり、その線状パターンの線幅が150μm以上であることを特徴とする請求項7に記載のフレックスリジッド配線板。
  9. 前記ダミーパターンを形成する線状パターンは、隣接する線状パターン間の距離が30μm以上、厚みが前記導体回路の厚みと同等、あるいはそれよりも厚いことを特徴とする請求項8に記載のフレックスリジッド配線板。
  10. 前記ダミーパターンは、裾角度が45°〜90°であるような台形断面を有していることを特徴とする請求項7〜9のいずれか1項に記載のフレックスリジッド配線板。
  11. 前記屈曲可能な基材は、厚さが100μm以下の板状基材であることを特徴とする請求項1〜10のいずれか1項に記載のフレックスリジッド配線板。
  12. 前記屈曲可能な基材を構成するガラスクロスは、厚さが30μm以下であり、それを構成するガラス繊維の太さが、1.5〜7.0μmであることを特徴とする請求項1〜11のいずれか1項に記載のフレックスリジッド配線板。
  13. 前記カバーレイは、可撓性を有する樹脂付き銅箔、可撓性を有するソルダーレジスト層、またはガラスクロスにエポキシ系樹脂を含浸、乾燥させた後、半硬化させてなるプリプレグのいずれか1から形成されることを特徴とする請求項1〜12のいずれか1項に記載のフレックスリジッド配線板。
  14. 前記ダミーパターンは、フレキシブル基板を折り曲げたときに内側となる表面に形成されること特徴とする請求項1〜13のいずれか1項に記載のフレックスリジッド配線板。
JP2004109237A 2004-04-01 2004-04-01 フレックスリジッド配線板 Expired - Fee Related JP4437051B2 (ja)

Priority Applications (1)

Application Number Priority Date Filing Date Title
JP2004109237A JP4437051B2 (ja) 2004-04-01 2004-04-01 フレックスリジッド配線板

Applications Claiming Priority (1)

Application Number Priority Date Filing Date Title
JP2004109237A JP4437051B2 (ja) 2004-04-01 2004-04-01 フレックスリジッド配線板

Publications (2)

Publication Number Publication Date
JP2005294639A true JP2005294639A (ja) 2005-10-20
JP4437051B2 JP4437051B2 (ja) 2010-03-24

Family

ID=35327212

Family Applications (1)

Application Number Title Priority Date Filing Date
JP2004109237A Expired - Fee Related JP4437051B2 (ja) 2004-04-01 2004-04-01 フレックスリジッド配線板

Country Status (1)

Country Link
JP (1) JP4437051B2 (ja)

Cited By (11)

* Cited by examiner, † Cited by third party
Publication number Priority date Publication date Assignee Title
JP2007123735A (ja) * 2005-10-31 2007-05-17 Kyocera Chemical Corp 配線基板用基材、配線基板用積層基材の製造方法及び配線基板
JP2007324236A (ja) * 2006-05-30 2007-12-13 Nof Corp プリント配線板用フィルムに用いる樹脂組成物及びその用途
WO2008087851A1 (ja) * 2007-01-19 2008-07-24 Sharp Kabushiki Kaisha フレキシブル基板及び半導体装置
JP2012015322A (ja) * 2010-06-30 2012-01-19 Toshiba Corp 電子機器
US8344486B2 (en) 2008-07-16 2013-01-01 Sharp Kabushiki Kaisha Semiconductor device and display apparatus
JP2015138876A (ja) * 2014-01-22 2015-07-30 株式会社デンソー 可撓性回路基板
JP2018063383A (ja) * 2016-10-14 2018-04-19 株式会社ジャパンディスプレイ 表示装置、および表示装置の作製方法
WO2018212089A1 (ja) * 2017-05-18 2018-11-22 シャープ株式会社 表示モジュールの製造方法、及び表示モジュールの検査方法
KR20190045693A (ko) * 2017-10-24 2019-05-03 삼성전자주식회사 인쇄회로기판 및 그를 포함하는 반도체 패키지
JP2020013904A (ja) * 2018-07-18 2020-01-23 キオクシア株式会社 半導体記憶装置
JP2023111743A (ja) * 2022-01-31 2023-08-10 富士電機株式会社 配線基板、電力変換装置

Citations (7)

* Cited by examiner, † Cited by third party
Publication number Priority date Publication date Assignee Title
JPS593567U (ja) * 1982-06-29 1984-01-11 松下電器産業株式会社 両面フレキシブルプリント基板
JPS60124056U (ja) * 1984-01-31 1985-08-21 パイオニア株式会社 フレキシブルプリント基板
JPH03109368U (ja) * 1990-02-23 1991-11-11
JPH0541171U (ja) * 1991-11-06 1993-06-01 オリンパス光学工業株式会社 フレキシブルプリント基板
JPH06314862A (ja) * 1993-04-28 1994-11-08 Nitto Denko Corp フレキシブル回路基板
JPH07106728A (ja) * 1993-10-04 1995-04-21 Mitsui Toatsu Chem Inc リジッドフレックスプリント配線板およびその製造方法
JPH07183663A (ja) * 1993-12-24 1995-07-21 Mitsubishi Gas Chem Co Inc リジッドフレキシブル多層プリント板

Patent Citations (7)

* Cited by examiner, † Cited by third party
Publication number Priority date Publication date Assignee Title
JPS593567U (ja) * 1982-06-29 1984-01-11 松下電器産業株式会社 両面フレキシブルプリント基板
JPS60124056U (ja) * 1984-01-31 1985-08-21 パイオニア株式会社 フレキシブルプリント基板
JPH03109368U (ja) * 1990-02-23 1991-11-11
JPH0541171U (ja) * 1991-11-06 1993-06-01 オリンパス光学工業株式会社 フレキシブルプリント基板
JPH06314862A (ja) * 1993-04-28 1994-11-08 Nitto Denko Corp フレキシブル回路基板
JPH07106728A (ja) * 1993-10-04 1995-04-21 Mitsui Toatsu Chem Inc リジッドフレックスプリント配線板およびその製造方法
JPH07183663A (ja) * 1993-12-24 1995-07-21 Mitsubishi Gas Chem Co Inc リジッドフレキシブル多層プリント板

Cited By (17)

* Cited by examiner, † Cited by third party
Publication number Priority date Publication date Assignee Title
JP2007123735A (ja) * 2005-10-31 2007-05-17 Kyocera Chemical Corp 配線基板用基材、配線基板用積層基材の製造方法及び配線基板
JP2007324236A (ja) * 2006-05-30 2007-12-13 Nof Corp プリント配線板用フィルムに用いる樹脂組成物及びその用途
WO2008087851A1 (ja) * 2007-01-19 2008-07-24 Sharp Kabushiki Kaisha フレキシブル基板及び半導体装置
JP2008177402A (ja) * 2007-01-19 2008-07-31 Sharp Corp フレキシブル基板及び半導体装置
TWI396266B (zh) * 2008-07-16 2013-05-11 夏普股份有限公司 半導體裝置及顯示裝置
US8344486B2 (en) 2008-07-16 2013-01-01 Sharp Kabushiki Kaisha Semiconductor device and display apparatus
KR101234461B1 (ko) * 2008-07-16 2013-02-18 샤프 가부시키가이샤 반도체 장치 및 표시 장치
US8593820B2 (en) 2010-06-30 2013-11-26 Kabushiki Kaisha Toshiba Flexible printed wiring board and electronic apparatus
JP2012015322A (ja) * 2010-06-30 2012-01-19 Toshiba Corp 電子機器
JP2015138876A (ja) * 2014-01-22 2015-07-30 株式会社デンソー 可撓性回路基板
JP2018063383A (ja) * 2016-10-14 2018-04-19 株式会社ジャパンディスプレイ 表示装置、および表示装置の作製方法
WO2018212089A1 (ja) * 2017-05-18 2018-11-22 シャープ株式会社 表示モジュールの製造方法、及び表示モジュールの検査方法
KR20190045693A (ko) * 2017-10-24 2019-05-03 삼성전자주식회사 인쇄회로기판 및 그를 포함하는 반도체 패키지
KR102437245B1 (ko) 2017-10-24 2022-08-30 삼성전자주식회사 인쇄회로기판 및 그를 포함하는 반도체 패키지
JP2020013904A (ja) * 2018-07-18 2020-01-23 キオクシア株式会社 半導体記憶装置
JP7141877B2 (ja) 2018-07-18 2022-09-26 キオクシア株式会社 半導体記憶装置
JP2023111743A (ja) * 2022-01-31 2023-08-10 富士電機株式会社 配線基板、電力変換装置

Also Published As

Publication number Publication date
JP4437051B2 (ja) 2010-03-24

Similar Documents

Publication Publication Date Title
JP4536430B2 (ja) フレックスリジッド配線板
KR100987619B1 (ko) 다층 프린트 배선판
KR100865060B1 (ko) 플렉스 리지드 배선판
JP5006035B2 (ja) フレックスリジッド配線板とその製造方法
US8383948B2 (en) Flex-rigid wiring board and method for manufacturing the same
KR19990006770A (ko) 복합배선기판, 플렉시블기판, 반도체장치 및 복합배선기판의 제조방법
KR20070070224A (ko) 다층 프린트 배선판
JP4437051B2 (ja) フレックスリジッド配線板
TW200412205A (en) Double-sided printed circuit board without via holes and method of fabricating the same
CN101406112A (zh) 电路板和连接基板
CN101959376A (zh) 多层柔性印刷布线板的制造方法及多层电路基体材料
JP2015038908A (ja) フレックスリジッド配線板
KR20070073730A (ko) 배선 기판, 배선 재료 및 동장 적층판 및 배선 기판의 제조방법
JP2013030811A (ja) 多層フレキシブルプリント配線板を用いた表示素子モジュール
KR20070017577A (ko) 플렉스 리지드 배선판 및 그 제조 방법
KR101231522B1 (ko) 인쇄회로기판 및 그의 제조 방법
JP2005109188A (ja) 回路基板、多層基板、回路基板の製造方法および多層基板の製造方法
KR101776299B1 (ko) 인쇄회로기판 및 그 제조방법
JP2009043917A (ja) 多層配線板及びその製造方法
JP2004111758A (ja) 多層フレキシブル配線板及びその製造方法
JP2015038907A (ja) フレックスリジッド配線板
JP2005353861A (ja) フレックスリジッド配線板
JP2005183944A (ja) 多層基板および多層基板の製造方法
JP2003124585A (ja) ユニバーサルプリント配線基板
JPH06164145A (ja) 多層配線板

Legal Events

Date Code Title Description
A621 Written request for application examination

Free format text: JAPANESE INTERMEDIATE CODE: A621

Effective date: 20070319

A977 Report on retrieval

Free format text: JAPANESE INTERMEDIATE CODE: A971007

Effective date: 20090430

A131 Notification of reasons for refusal

Free format text: JAPANESE INTERMEDIATE CODE: A131

Effective date: 20090609

A521 Written amendment

Free format text: JAPANESE INTERMEDIATE CODE: A523

Effective date: 20090807

TRDD Decision of grant or rejection written
A01 Written decision to grant a patent or to grant a registration (utility model)

Free format text: JAPANESE INTERMEDIATE CODE: A01

Effective date: 20091215

A01 Written decision to grant a patent or to grant a registration (utility model)

Free format text: JAPANESE INTERMEDIATE CODE: A01

A61 First payment of annual fees (during grant procedure)

Free format text: JAPANESE INTERMEDIATE CODE: A61

Effective date: 20100104

R150 Certificate of patent or registration of utility model

Free format text: JAPANESE INTERMEDIATE CODE: R150

FPAY Renewal fee payment (event date is renewal date of database)

Free format text: PAYMENT UNTIL: 20130108

Year of fee payment: 3

FPAY Renewal fee payment (event date is renewal date of database)

Free format text: PAYMENT UNTIL: 20130108

Year of fee payment: 3

LAPS Cancellation because of no payment of annual fees